JP2010021559A - 真空プロセッサのワークピースのチャック解除方法および装置 - Google Patents
真空プロセッサのワークピースのチャック解除方法および装置 Download PDFInfo
- Publication number
- JP2010021559A JP2010021559A JP2009184433A JP2009184433A JP2010021559A JP 2010021559 A JP2010021559 A JP 2010021559A JP 2009184433 A JP2009184433 A JP 2009184433A JP 2009184433 A JP2009184433 A JP 2009184433A JP 2010021559 A JP2010021559 A JP 2010021559A
- Authority
- JP
- Japan
- Prior art keywords
- chuck
- workpiece
- voltage
- force
- processing
- Prior art date
- Legal status (The legal status is an assumption and is not a legal conclusion. Google has not performed a legal analysis and makes no representation as to the accuracy of the status listed.)
- Granted
Links
Images
Classifications
-
- H10P72/06—
-
- H—ELECTRICITY
- H02—GENERATION; CONVERSION OR DISTRIBUTION OF ELECTRIC POWER
- H02N—ELECTRIC MACHINES NOT OTHERWISE PROVIDED FOR
- H02N13/00—Clutches or holding devices using electrostatic attraction, e.g. using Johnson-Rahbek effect
-
- H10P72/72—
-
- H10P72/722—
Landscapes
- Container, Conveyance, Adherence, Positioning, Of Wafer (AREA)
- Drying Of Semiconductors (AREA)
- Chemical Vapour Deposition (AREA)
Abstract
【解決手段】真空プラズマ処理チャンバ内で処理されているガラスワークピース32は、ワークピースを締め付けるのに十分なほどの高さに電圧を維持しつつ、処理中にチャック電圧を徐々に削減することによりモノポール静電チャックからチャック解除される。処理の最後にチャックに印加される逆の極性電圧が、チャック解除を補助する。ワークピース温度は、チャック解除を補助するために処理の最後で高い値で維持される。ワークピースをチャックから持ち上げる間にチャックを通って流れるピーク電流が、次のチャック解除動作の間の逆極性電圧の振幅および/または期間を制御する。
【選択図】図1
Description
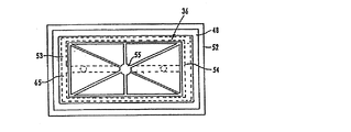
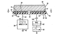
ガラスシートは、典型的には、1.1mmという名目厚さ、±0.1mmという厚さ公差、および非常に滑らかな表面を有し、最大ピーク間荒さは0.02ミクロンである。ガラスシートは、生産時、わずかに曲がっていたり、波状になっている場合がある。多様なプロセスステップ、特に付着を経過した後に、ガラスシートは大幅にさらに曲がったり、波状となり、チャンバ10内でのそのプラズマ処理中に基板シート32を平らにするさらに大きな必要性を生じさせる。
VESC=(V0+VG+VA+Vplasma)
であり、この場合Vplasmaは、プラズマがガラス絶縁基板32の上部露呈面に加える電圧である。
F=εoK2 AV2 A(t)A/2d2 A …… (1)
であり、この場合kAは絶縁物層59の誘電定数であり、εoは自由空間の誘電率であり、Aは絶縁物層59の上面の面積に実質的に等しいガラスワークピース32の底面の面積である。
VA(t)=CA +exp(−A+t)+CA -exp(−A-t)+VA∞ …(2)
であり、この場合、
A±=(fGrG+fArA±s)/2
CA±=[A±(VA∞−VAo)+fA(rAVAo+VGo−VESC+Vplasma)]/(±s)
fG=1/(CGRo)、fA=1/(CARo)、rG=(1+Ro/RG)、rA=(1+Ro/RA)
s=sqrt((fGrG−fArA)2+4fGfA)、 (sqrtは、平方根を示す。)
VA∞=V2(t→∞)、VAo=VA(t=0)、VGo=VG(t=0)
時間定数τ+=1/A+は、典型的には1秒未満であり、外部抵抗R0を通して直列組み合わせキャパシタンス(CG+CA)/(CG+CA)を充電することに対応する。時間定数τ+は、(VG+VA)によって定められる同等な回路の総電圧の変化を支配し、ワークピース32に対するチャック30の適切なオン時間である。時間定数τ+に伴い発生する変化は、キャパシタンスCAとCGの両方を通した変位電荷の等しい量の動きを含む。
Claims (90)
- 真空プロセッサのチャックからワークピースを取外すことを可能にする方法で、チャックは、ワークピースの処理中にチャックの上にシトゥでワークピースを保持するようにワークピースにチャック力を加えるようになっており、この方法はワークピースが処理されている間にチャックによってワークピースに加えられる力を効果的にモニターすることと、モニターされた力に応じてチャック力を制御することを含んでいる。
- 請求項1に記載の方法であって、チャックはDCチャック電圧源に応答する電極を備えた静電チャックであり、チャック力は、チャックによって得られる性電力であり、また、モニターされた力に応じてチャック電圧源を制御することによってコントロールされる。
- 請求項2に記載の方法であって、チャックを通って流体がワークピースに向かって流れ、流体はチャックに対してワークピースを移動させる傾向を有し、チャックによってワークピースに加えられる力は流体の力と静電力との組合せであり、前記力は、ワークピースに作用する流体の流量をモニターすることにより効果的にモニターされる。
- 請求項2に記載の方法であって、流体は、ワークピースの温度を制御する熱交換流体である。
- 請求項2に記載の方法であって、チャックとワークピースは、前記DC伝達が一定の場合は静電力が時間の経過とともに増加する傾向を有し、静電力がワークピースの処理中に実質的に一定であるように、ワークピースの処理中にDCチャック電力を低減させることを含む。
- 請求項5に記載の方法であって、チャックを通って流体がワークピースに向かって流れ、流体はチャックに対してワークピースを移動させる傾向を有し、チャックによってワークピースに加えられる力は流体の力と静電力との組合せであり、前記力は、ワークピースに作用する流体の流量をモニターすることにより効果的にモニターされる。
- 請求項6に記載の方法であって、流体は、ワークピースの温度を制御する熱交換流体である。
- 請求項6に記載の方法であって、ワークピースの処理が終わっている時に、静電チャックに印加されているDC電圧の極性を逆にすることをさらに含んでおり、該逆極性の電圧は、チャックがワークピースに加える静電力を実質的に取り去るものであり、その後にワークピースをチャックから取外すことを含む。
- 請求項8に記載の方法であって、ワークピースがワークピースから取外される時にチャック内に流れる電流をモニターすることと、モニターされた電流に応じて、続いて処理される少なくとも1つのワークピースのために、チャックに印加される逆極性の電圧を制御すること、をさらに含む。
- 請求項9に記載の方法であって、逆極性の電圧の大きさと印加される長さはモニターされる電流に応じて制御され、その逆極性の電圧の大きさ及び印加される長さはワークピースがチャックから取外され且つ再びチャックされないようなものである。
- 請求項2に記載の方法であって、ワークピースの処理が終わっている時に、静電チャックに印加されているDC電圧の極性を逆にすることをさらに含んでおり、該逆極性の電圧は、チャックがワークピースに加える静電力を実質的に取り去るものであり、その後にワークピースをチャックから取外すことを含む。
- 請求項2に記載の方法であって、ワークピースがワークピースから取外される時にチャック内に流れる電流をモニターすることと、モニターされた電流に応じて、続いて処理される少なくとも1つのワークピースのために、チャックに印加される逆極性の電圧を制御すること、をさらに含む。
- 請求項12に記載の方法であって、逆極性の電圧の大きさと印加される長さはモニターされる電流に応じて制御され、その逆極性の電圧の大きさ及び印加される長さはワークピースがチャックから取外され且つ再びチャックされないようなものである。
- 請求項12に記載の方法であって、少なくとも1つの続いて処理されるワークピースのためにチャックに印加される逆極性の電圧を制御するモニターされた電流は、ワークピースがチャックから取外される時にチャック内を流れるピーク電流である。
- 請求項12に記載の方法であって、少なくとも1つの続いて処理されるワークピースのためにチャックに印加される逆極性の電圧を制御するモニターされた電流は、ワークピースがチャックから取外される間の所定の期間の間にチャック内を流れる電流の積分値である。
- ワークピースをチャックから取り外すための装置を備えた真空プラズマプロセッサであって、ワークピースの処理中にチャックの上にシトゥでワークピースを保持するようにワークピースに力を加えるようになっており、ワークピースが処理されている間にチャックがワークピースに加える力を効果的にモニタリングすることのできるモニターと、モニターされた力に応じて加える力を制御するコントローラーとを備えている。
- 請求項16に記載の装置であって、チャックはDCチャック電圧源に応答する電極を備えた正殿チャックであり、モニターされた力に応じてチャック電圧源を制御するコントローラーが備えられている。
- 請求項17に記載の装置であって、チャックを通って流体がワークピースに向かって流れるための溝を備え、流体はチャックに対してワークピースを移動させる傾向を有し、チャックからワークピースに加えられる力は流体の力と静電力との組み合わせであり、ワークピースに作用する流体の流量をモニタリングするための力モニターが備えられている。
- 請求項18に記載の装置であって、熱交換流体源を備えており、熱交換流体源から流れる流体はワークピースに向かって流れる。
- 請求項18に記載の装置であって、チャック及びワークピースは、DC電圧が一定の場合は静電力が時間の経過とともに増加する傾向を有し、静電力がワークピースの処理中に実質的に一定であるように、ワークピースの処理中にDCチャック電圧を低減するためのコントローラーを備えている。
- 請求項20に記載の装置であって、ワークピースの処理が終わっている時に、静電チャックに印加されているDC電圧の極性を逆にするためのコントローラーを備え、該逆極性の電圧は、チャックがワークピースに加える静電気を実質的に取り去る。
- 請求項21に記載の装置であって、ワークピースがチャックから取り外される時にチャック内を流れる電流をモニタリングするモニターと、モニターされた電圧に応じて、続いて処理される少なくとも1つのワークピースのために、チャックが印加される逆極性の電圧を制御するコントローラーとを備えている。
- 請求項22に記載の装置であって、モニターされた電圧に応じて、逆極性の電圧の大きさと印加される長さを制御するコントローラーを備え、逆極性の電圧の大きさと印加される長さは、ワークピースがチャックから取り外され且つ再びチャックされないようなものである。
- 請求項22に記載の装置であって、少なくとも1つの続いて処理されるワークピースのためにチャックに印加される逆極性の電圧を制御するモニターされた電圧は、ワークピースがチャックから取り外された時にチャック内を流れるピーク電流である。
- 請求項22に記載の装置であって、少なくとも1つの続いて処理されるワークピースのためにチャックに印加される逆極性の電圧を制御するモニターされた電圧は、ワークピースがチャックから取り外され始めた時から所定の期間の間にチャック内を流れる電流の積分値である。
- 請求項17に記載の装置であって、チャック及びワークピースは、DC電圧が一定の場合は静電力が時間の経過とともに増加する傾向を有し、静電力がワークピースの処理中に実質的に一定であるように、ワークピースの処理中にDCチャック電圧を低減するためのコントローラーを備えている。
- 請求項26に記載の装置であって、ワークピースの処理が終了した後に、静電チャックに印加されているDC電圧の極性を逆にすることためのコントローラーを備え、該逆極性の電圧は、チャックがワークピースに加える静電気を実質的に取り去る。
- 真空プラズマ処理室を備えたワークピースを処理するための真空プラズマプロセッサであって、ワークピースを取り外すための静電チャックと、静電チャックのチャック電圧源と、ワークピースが処理される間にチャックに加えられる力を効果的にモニタリングするモニターと、モニターされた力に応じてチャック電圧を制御するコントローラーとを備えている。
- 請求項28に記載のチャックは、DCチャック電圧源に応答する電極を備えた静電チャックであり、モニターされた力に応じてチャック電圧源を制御するためのコントローラーを備えている。
- 真空プラズマ処理室でワークピースを処理する方法であって、真空プラズマ処理室は電極を有する静電チャックを備えており、DCチャック電圧を電極に加えることにより、チャックがチャックの上でワークピースを保持できるようになっており、(a)チャック電圧が電極に加えられ、(b)ワークピースがチャックの上にあり、さらに、(c)ワークピースがプラズマによって処理されている時に、真空プラズマ処理室でプラズマを用いてワークピースを処理し、ワークピースの処理が終わると電極に印加されている電圧の極性を逆にし、電極に逆極性の電圧が印加された後、チャックがワークピースに対して連続した力が加えられていない間に、チャックからワークピースを取り外し、モニタリングの段階が終了すると、チャックからワークピースを取り外す時にチャック内を流れたチャック電流をモニタリングし、モニターされた電流に応じて、続いて処理される少なくとも1つのワークピースのために、チャックに加えられる逆極性の電圧を制御する。
- 請求項30に記載の方法であって、制御の段階には、逆極性の電圧の大きさの制御も含まれる。
- 請求項30に記載の方法であって、制御の段階には、逆極性の電圧が印加される長さの制御も含まれる。
- 請求項32に記載の方法であって、制御の段階には、逆極性の電圧の大きさの制御も含まれる。
- 真空プラズマプロセッサの静電チャックからワークピースを取り外すことが可能な装置であって、プラズマ処理室を含み、プラズマ処理室はワークピースを固定する静電チャックを有し、チャックはDCチャック電圧源に応答する電極を備え、チャック電圧はワークピースをチャックの上に保持するチャック力を生じさせる値を有し、該装置は、ワークピースがチャックから取り外された時にチャックの中を流れる電流をモニタリングするモニターと、電極に加えられるDC電圧を制御するコントローラーとを備え、コントローラーは、(a)ワークピースの処理が終了した時に電極に印加される電圧の極性を逆にし、且つ、(b) モニタリングの段階が終了すると、チャックからワークピースを取り外す時にチャック内を流れたチャック電流をモニタリングし、モニターされた電流に応じて、続いて処理される少なくとも1つのワークピースのために、チャックに加えられる逆極性の電圧を制御するために設けられている。
- 請求項34に記載の装置であって、コントローラーは、逆極性の電圧の大きさを制御する。
- 請求項34に記載の装置であって、コントローラーは、逆極性の電圧が印加される長さを制御する。
- 請求項36に記載の装置であって、コントローラーは、逆極性の電圧の大きさを制御する。
- ワークピースを処理するための真空プラズマプロセッサであって、真空プラズマ処理室を備え、真空プラズマ処理室は静電チャックを有し、チャックは電極を含み、電極はDCチャック電圧源に接続され、該処理室のためのプラズマ源を備え、チャックの上にシトゥでワークピースが保持されている間に、ワークピースは該処理室でプラズマによって処理され、真空プラズマプロセッサは、チャックの上にシトゥでワークピースを保持するためにワークピースに加えるチャック力を生じさせる値を有したチャック電圧と、コントローラーとを備え、コントローラーは、(a)ワークピースの処理が終わった時に電極に印加される電圧の極性を逆にし、(b)電極に印加される電圧の極性が逆になった後、チャックからワークピースに加えられる力が実質的にゼロになっている間に、チャックからワークピースを取り外すことを制御し、且つ、(c)チャックに加えられる逆極性の電圧を制御するために備えられ、チャックの中を流れる電流のモニターを備え、モニターされた電圧の誘電が終了すると、チャックからワークピースを取り外す時にチャック内を流れたチャック電流をモニタリングし、モニターされた電流に応じて、続いて処理される少なくとも1つのワークピースのために、チャックに加えられる逆極性の電圧を制御するために設けられている。
- 請求項38に記載の装置であって、コントローラーは、逆極性の電圧の大きさを制御する。
- 請求項38に記載の装置であって、コントローラーは、逆極性の電圧が印加される長さを制御する。
- 請求項40に記載の装置であって、コントローラーは、逆極性の電圧の大きさを制御する。
以下は19条補正後の請求の範囲である。 - チャックを通ってワークピースまで流れる流体を有し、チャックは、ワークピース処理中にワークピースをインシトゥで保持するためにチャック力をワークピースにかけ、チャックによりワークピースにかけられる力は、流体力およびチャック力の組み合わせを含み、真空プロセッサのチャックからのワークピースのチャック解除を容易にするための方法であって、ワークピースに作用する流体の流量をモニタリングすることにより、ワークピース処理中にチャックによってワークピースにかけられる力を効果的にモニタリングすること、モニタリングされた力に応えてワークピース処理中にチャック力を制御することとを備える方法。
- チャックが、DCチャック電圧源に応える電極を含む静電チャックであり、チャック力が、チャックによって引き出される静電力であり、モニタリングされた力に応えてチャック電圧源を制御することによって制御される、請求項1に記載の方法。
- 流体が、ワークピース温度を制御する熱交換流体である、請求項1または2に記載の方法。
- チャックおよびワークピースは、DC電圧が一定である場合に、時間の進むにつれて静電力が増加する傾向を有するようなものであり、ワークピース処理中に、静電力が実質的に一定となるようにワークピース処理中にDCチャック電圧を低下させる、請求項1から3のいずれかに記載の方法。
- ワークピースの処理が完了されるにつれて、静電チャックに印加されるDC電圧の極性を逆にすることをさらに含み、逆の極性電圧が実質的に、チャックがワークピースに適用する静電力を除去してから、チャックをワークピースから取り外す、請求項1から4のいずれかに記載の方法。
- ワークピースがチャックから取り外されるにつれてチャック内を流れる電流をモニタリングすること、モニタリングされた電流に応えて少なくとも1つのそれ以降処理されるワークピースのためにチャックに印加される逆の電圧を制御することをさらに含む、請求項5に記載の方法。
- 逆の電圧規模および期間が、モニタリングされた電流に応えて制御され、逆の電圧規模および期間が、ワークピースがチャックからチャック解除され、再びチャックされないようになる、請求項6に記載の方法。
- 少なくとも1つのそれ以降に処理されるワークピースのためにチャックに印加される逆の電圧を制御するモニタリングされる電流が、ワークピースがチャックから取り外されるときにチャック内を流れるピーク電流である、請求項6または7に記載の方法。
- 真空プロセッサのチャックからワークピースをチャック解除することを容易にするための装置であって、チャックは、ワークピース処理中にチャック上の所定の場所にワークピースを保持するためにワークピースにチャック力を適用するための源に応え、装置が、ワークピースにチャックを通る流体を結合するための導管を備え、流体はチャックを基準にしてワークピースを移動させる傾向を有し、チャックによってワークピースにかけられる力は、流体力およびチャック力の組み合わせを含み、ワークピースが処理中にチャックによってワークピースにかけられる力を効果的にモニタリングするためのモニタ、およびモニタリングされる力に応えてワークピースが処理されている間にかけられる力を制御するための制御装置を備え、力モニタが、ワークピースに作用する流体の流量をモニタリングするために配列されている装置。
- チャックが、DCチャック電圧源に応える電極、モニタリングされる力に応えてチャック電圧源を制御することによってチャック力を制御するように配列される制御装置を含む静電チャックである、請求項9に記載の装置。
- 熱交換流体の源をさらに含み、熱交換流体の源からの流体がワークピースに対して流れる流体である、請求項9または10に記載の装置。
- チャックおよびワークピースは、DC電圧が一定である場合に時間が進むにつれて静電力が増加する傾向にあるようなものであり、制御装置が、静電力がワークピース処理中に実質的に一定のままとなるようにワークピース処理中にDCチャック電圧を低下させるために配列される、請求項9から11のいずれかに記載の装置。
- 制御装置が、ワークピースの処理が完了されるにつれて、静電チャックに印加されるDC電圧の極性を逆にするために配列され、逆の極性電圧が、チャックがワークピースに適用する静電力を実質的に除去するようである、請求項9から12のいずれかに記載の装置。
- さらに、ワークピースがチャックから取り外されるときにチャック内を流れる電流をモニタリングするためのモニタと、モニタリングされる電流に応えて少なくとも1つのそれ以降処理されるワークピースに対してチャックに印加される逆の電圧を制御するために配列されている制御装置を含む、請求項13に記載の装置。
- 制御装置が、モニタリングされる電流に応えて逆の電圧の大きさおよび期間を制御するために配列され、逆の電圧の大きさおよび期間が、ワークピースがチャックからチャック解除され、再びチャックされないようである、請求項14に記載の装置。
- 少なくとも1つのそれ以降処理されたワークピースに印加される逆の電圧を制御するモニタリングされる電流が、ワークピースがチャックから取り外されるときにチャックの中を流れるピーク電流である、請求項12から15のいずれかに記載の装置。
- 真空プラズマ処理チャンバを備えたワークピースを処理するための真空プラズマプロセッサであって、前記チャンバが、ワークピースをチャックするための静電チャックと、静電チャック用のチャック電圧源とを備え、前記チャックおよびワークピースは、DC電圧が一定である場合は静電力が時間の経過とともに増加する傾向を有し、チャック電圧を制御するための制御装置を含み、前記制御装置が、ワークピースを処理する間静電力が実質的に一定のままとなるように、ワークピースを処理する間に、ある一定範囲の値の全範囲に亘ってDCチャック電圧を低下させるように構成されている真空プラズマプロセッサ。
- 前記ある一定範囲の値は、連続的に低下するある指数関数に近似している、請求項17に記載の真空プラズマプロセッサ。
- 前記ある一定範囲の値は、ある指数関数に近似するように段階的に低下する複数のステップから成る、請求項17に記載の真空プラズマプロセッササ。
- 前記ある一定範囲の値を格納しているメモリをさらに含む、請求項17から19のいずれかに記載の真空プラズマプロセッサ。
- ワークピースが処理されている間にチャックによってワークピースに加えられる力をモニターするためのモニターをさらに含み、前記ある一定範囲の値を導出するために前記モニターが前記制御装置に接続されている、請求項17に記載の真空プラズマプロセッサ。
- 電極を備える静電チャックを有する真空プラズマプロセッサ内でワークピースを処理する方法であって、
DCチャック電圧を電極に印加することによってチャックの上にワークピースを保持してチャックにワークピースを適用すること、(a)チャック電圧が電極に印加され、(b)ワークピースがチャック上にあり、および(c)ワークピースがプラズマによって処理されている間に、チャンバ内のプラズマによりワークピースを処理されること、ワークピース処理が完了するにつれて電極に印加される電圧の極性を逆転すること、逆の電圧が電極に印加された後およびチャックが実質的な力をワークピースにかけない間にチャックをワークピースから取り外すこと、ワークピースがチャックから取り外されるときにチャック内を流れるチャック電流をモニタリングすること、およびモニタリングステップを生じさせたワークピースに対してそれ以降処理される少なくとも1つのワークピースのためにモニタリングされた電流に応えてチャックに印加される逆の電圧を制御することを備える方法。 - 制御ステップが、逆の電圧の大きさを制御することを含む、請求項22に記載の方法。
- 制御ステップが、逆の電圧の期間を制御することを含む、請求項22または23に記載の方法。
- 真空プラズマプロセッサチャンバを含む真空プラズマプロセッサ内で静電チャックからのワークピースのチャック解除を容易にするための装置であって、プロセッサチャンバが、ワークピースをチャックするための静電チャックを含み、チャックが、DCチャック電圧源に応える電極を含み、チャック電圧が、ワークピースをチャック上に保持するためのチャック力を生じさせる値を有し、装置が、ワークピースがチャックから取り外されているときにチャックの中を流れる電流をモニタリングするためのモニタと、電極に印加されるDC電圧を制御するための制御装置とを備え、制御装置が、(a)ワークピースの処理が完了されているときに電極に印加される電圧を逆転するために、(b)モニタリングされている電流を生じさせるワークピースに対しそれ以降処理される少なくとも1つのワークピースのために、モニタリングされる電流に応えてチャックに印加される逆の電圧を制御するために配列される装置。
- 真空プラズマプロセッサが、真空プラズマプロセッサチャンバと、チャンバ内の静電チャックとを備え、チャックが電極、電極に接続されているDCチャック電圧源、チャンバ用のプラズマ源を含み、ワークピースが、ワークピースがチャック上の所定の場所に保持される間にチャンバ内のプラズマによって処理され、チャック電圧が、チャック上の所定の場所にワークピースを保持するためのワークピースに対するチャック力を生じさせるための値を有し、制御装置とを備え、制御装置が、(a)ワークピースの処理が完了されているときに電極に印加される電圧を逆転するため、(b)逆の電圧が電極に印加された後、およびチャックによってワークピースにかけられる力が実質的にゼロである間に、チャックからのワークピースの取外しを制御するため、および(c)チャックに印加される逆の電圧を制御するために配列され、チャック内を流れる電流用のモニタとを備え、制御装置が、ワークピースが、モニタリングされた電流の導出を生じさせたワークピースに対しそれ以降処理される少なくとも1つのワークピースのためにチャックに印加される逆の電圧を制御するためにチャックから取り外されている間にモニタリングされる電流に応えるように配列される真空プラズマプロセッサ。
- 制御装置が、逆の電圧の大きさを制御するために配列される、請求項25に記載の装置または請求項26に記載のプロセッサ。
- 制御装置が、逆の電圧の期間を制御するために配列される、請求項25または27に記載の装置。
以下は34条補正後の請求の範囲である。 - ワークピースをチャックに適用すること、DCチャック電圧(38)を電極に適用することによってチャック上にワークピースを保持すること、(a)チャック電圧が電極に印加される、および(b)ワークピースがチャック上にある間にチャンバ内のプラズマでワークピースを処理すること、ワークピースの処理が完了した後、およびチャックがワークピースに実質的に力をかけない間にチャックからワークピースを取り外すこと、ワークピースがチャックから取り外されるときにチャック内を流れるチャック電流(61)をモニタリングすることを備える、電極(36)付きの静電チャック(30)を有する真空プラズマプロセッサチャンバ(10)でワークピース(32)を処理する方法。
- ワークピースへチャックを通って流れる流体(34)を有する真空プロセッサ(10)のチャックからのワークピースのチャック解除を容易にする方法であって、チャックが、ワークピース処理中にチャック上の所定の場所にワークピースを保持するためにワークピースにチャック力をかけ、チャックによってワークピースにかけられる正味力が流体力およびチャック力の組み合わせを含み、ワークピースが、ワークピースに作用する流体の流量(70)をモニタリングすることによって処理されている間にチャックによってワークピースにかけられる正味力を効果的にモニタリングすることを備える方法。
- モニタリングされる力に応えてワークピース処理中にチャック力を制御する(66,38)をさらに含む、請求項2に記載の方法。
- チャックが、DCチャック電圧源(38)に応える電極(36)を含む静電チャックであり、チャック力が、チャックによって導出され、モニタリングされる力に応えてチャック電圧源を制御することによって制御される静電力である、請求項3に記載の方法。
- 真空プラズマ処理チャンバ(10)でワークピース(32)を処理する方法であって、チャンバは、ワークピースをチャックするための静電チャック(30)、静電チャックに接続されているDCチャック電圧源(38)を含み、チャックおよびワークピースは、一定のDC電圧がチャックに印加される場合に時間が進むにつれて増加する傾向を有するようであり、傾向が克服され、静電力がワークピース処理中に実質的に一定となるように、ワークピース処理中の値の全範囲を通してDCチャック電圧を低下させる(64)ことを備える方法。
- さらに、ワークピースがチャックから取り外されるときにチャック内を流れるチャック電流(61)をモニタリングすることを含む、請求項2から5のいずれかに記載の方法。
- モニタリングステップを生じさせたワークピースに対しそれ以降処理される少なくとも1つのワークピースのためにモニタリングされる電流(61)に応えてチャックに印加されるDC電圧を制御する(64)ことをさらに含む、請求項1または6に記載の方法。
- チャックに印加されるチャック電圧(38)が、第1極性を有し、チャックに印加されるDC電圧が、取外しステップ前に第2極性に逆転され、制御ステップが逆の電圧用である、請求項7に記載の方法。
- 制御ステップが、逆の電圧の大きさを制御することを含む、請求項8に記載の方法。
- 制御ステップが、逆の電圧の期間を制御することを含む、請求項8または9に記載の方法。
- モニタリングされる電流が、ワークピースがチャックから削除されるときにチャックを流れる電流パルスのピーク値である、請求項1および請求項6から10のいずれかに記載の方法。
- モニタリングされる電流が、ワークピースのチャックからの取り外しの間の所定期間中、チャック内を流れる電流の総体である、請求項1および請求項6から10のいずれかに記載の方法。
- 逆の電圧が、ワークピースがチャックからチャック解除され、再びチャックされないようである、請求項8から12のいずれかに記載の方法。
- チャックおよびワークピースが、チャックがワークピースにかける静電力が、DC電圧が一定である場合に時間が進むにつれて増加し、静電力がワークピース処理中に実質的に一定のままとなるように、ワークピース処理中にDCチャック電圧を低下する(64)傾向を有するようである、請求項1から4、および請求項6から13のいずれかに記載の方法。
- ワークピース処理中にチャックを通る流体(34)をワークピースに対し適用することをさらに含み、流体がチャックを基準にしてワークピースを移動させる傾向を有し、チャックによってワークピースに印加される正味の力が、流体力と静電力の組み合わせであり、ワークピースに作用する流体の流量をモニタリングすることにより正味力を効果的にモニタリングすることを含む、請求項1および請求項3から14のいずれかに記載の方法。
- 流体が、ワークピース温度を制御する熱交換流体である、請求項15に記載の方法。
- DCチャック電圧が、ワークピース処理中値の全範囲を通して低下する、請求項1および請求項4から16のいずれかに記載の方法。
- 値の全範囲が、ほぼ連続して低下する指数関数である、請求項17に記載の方法。
- 値の全範囲が指数関数を近似する低下ステップの級数である、請求項17に記載の方法。
- さらに、ワークピース処理中にチャックがワークピースにかける力をモニタリングすること(70、64)、およびモニタリングされる力に応えて値の全範囲を導出する(64,38)ことを含む、請求項17から19のいずれかに記載の方法。
- 請求項1から20のどれかのステップを実行するための装置。
Applications Claiming Priority (2)
| Application Number | Priority Date | Filing Date | Title |
|---|---|---|---|
| US09/163,368 US6790375B1 (en) | 1998-09-30 | 1998-09-30 | Dechucking method and apparatus for workpieces in vacuum processors |
| US09/163,368 | 1998-09-30 |
Related Parent Applications (1)
| Application Number | Title | Priority Date | Filing Date |
|---|---|---|---|
| JP2000572987A Division JP4414099B2 (ja) | 1998-09-30 | 1999-09-10 | 真空プロセッサのワークピースのチャック解除方法および装置 |
Publications (2)
| Publication Number | Publication Date |
|---|---|
| JP2010021559A true JP2010021559A (ja) | 2010-01-28 |
| JP5290083B2 JP5290083B2 (ja) | 2013-09-18 |
Family
ID=22589739
Family Applications (2)
| Application Number | Title | Priority Date | Filing Date |
|---|---|---|---|
| JP2000572987A Expired - Fee Related JP4414099B2 (ja) | 1998-09-30 | 1999-09-10 | 真空プロセッサのワークピースのチャック解除方法および装置 |
| JP2009184433A Expired - Fee Related JP5290083B2 (ja) | 1998-09-30 | 2009-08-07 | 真空プラズマプロセッサ |
Family Applications Before (1)
| Application Number | Title | Priority Date | Filing Date |
|---|---|---|---|
| JP2000572987A Expired - Fee Related JP4414099B2 (ja) | 1998-09-30 | 1999-09-10 | 真空プロセッサのワークピースのチャック解除方法および装置 |
Country Status (4)
| Country | Link |
|---|---|
| US (2) | US6790375B1 (ja) |
| JP (2) | JP4414099B2 (ja) |
| AU (1) | AU5817999A (ja) |
| WO (1) | WO2000019592A1 (ja) |
Cited By (2)
| Publication number | Priority date | Publication date | Assignee | Title |
|---|---|---|---|---|
| JP7060771B1 (ja) * | 2021-02-04 | 2022-04-26 | 日本碍子株式会社 | 半導体製造装置用部材 |
| WO2022168368A1 (ja) * | 2021-02-04 | 2022-08-11 | 日本碍子株式会社 | 半導体製造装置用部材及びその製法 |
Families Citing this family (37)
| Publication number | Priority date | Publication date | Assignee | Title |
|---|---|---|---|---|
| US20050224722A1 (en) * | 2004-03-30 | 2005-10-13 | Applied Materials, Inc. | Method and apparatus for reducing charge density on a dielectric coated substrate after exposure to large area electron beam |
| JP4723871B2 (ja) * | 2004-06-23 | 2011-07-13 | 株式会社日立ハイテクノロジーズ | ドライエッチング装置 |
| US7511936B2 (en) * | 2005-07-20 | 2009-03-31 | Taiwan Semiconductor Manufacturing Co., Ltd. | Method and apparatus for dynamic plasma treatment of bipolar ESC system |
| JP5094002B2 (ja) * | 2005-09-06 | 2012-12-12 | ルネサスエレクトロニクス株式会社 | プラズマ処理装置およびその異常放電抑止方法 |
| JP4986459B2 (ja) * | 2006-01-24 | 2012-07-25 | ルネサスエレクトロニクス株式会社 | 半導体集積回路装置 |
| US20070211402A1 (en) * | 2006-03-08 | 2007-09-13 | Tokyo Electron Limited | Substrate processing apparatus, substrate attracting method, and storage medium |
| US9275887B2 (en) * | 2006-07-20 | 2016-03-01 | Applied Materials, Inc. | Substrate processing with rapid temperature gradient control |
| US7728697B2 (en) * | 2006-09-26 | 2010-06-01 | Mg Materials Corporation | Systems and methods for electrically reducing ferroelectric materials to increase bulk conductivity |
| JP4847909B2 (ja) * | 2007-03-29 | 2011-12-28 | 東京エレクトロン株式会社 | プラズマ処理方法及び装置 |
| TWI475594B (zh) | 2008-05-19 | 2015-03-01 | 恩特格林斯公司 | 靜電夾頭 |
| TW201005825A (en) * | 2008-05-30 | 2010-02-01 | Panasonic Corp | Plasma processing apparatus and method |
| WO2010030718A2 (en) * | 2008-09-11 | 2010-03-18 | Varian Semiconductor Equipment Associates, Inc. | Technique for monitoring and controlling a plasma process with an ion mobility spectrometer |
| KR100903306B1 (ko) * | 2008-10-08 | 2009-06-16 | 주식회사 아이피에스 | 진공처리장치 |
| US8313612B2 (en) * | 2009-03-24 | 2012-11-20 | Lam Research Corporation | Method and apparatus for reduction of voltage potential spike during dechucking |
| CN101872733B (zh) * | 2009-04-24 | 2012-06-27 | 中微半导体设备(上海)有限公司 | 感测和移除被加工半导体工艺件的残余电荷的系统和方法 |
| CN102449754B (zh) | 2009-05-15 | 2015-10-21 | 恩特格林斯公司 | 具有聚合物突出物的静电吸盘 |
| US8861170B2 (en) | 2009-05-15 | 2014-10-14 | Entegris, Inc. | Electrostatic chuck with photo-patternable soft protrusion contact surface |
| CN102484086B (zh) * | 2009-09-10 | 2014-10-15 | 朗姆研究公司 | 基于等离子体信号与基板位置和电位相耦合来优化等离子体释放的方法和设备 |
| US20110060442A1 (en) * | 2009-09-10 | 2011-03-10 | Valcore Jr John C | Methods and arrangement for detecting a wafer-released event within a plasma processing chamber |
| US8797705B2 (en) * | 2009-09-10 | 2014-08-05 | Lam Research Corporation | Methods and arrangement for plasma dechuck optimization based on coupling of plasma signaling to substrate position and potential |
| JP6014587B2 (ja) | 2010-05-28 | 2016-10-25 | インテグリス・インコーポレーテッド | 高表面抵抗率の静電チャック |
| US8906164B2 (en) | 2010-08-05 | 2014-12-09 | Lam Research Corporation | Methods for stabilizing contact surfaces of electrostatic chucks |
| US8580693B2 (en) * | 2010-08-27 | 2013-11-12 | Applied Materials, Inc. | Temperature enhanced electrostatic chucking in plasma processing apparatus |
| US8832916B2 (en) * | 2011-07-12 | 2014-09-16 | Lam Research Corporation | Methods of dechucking and system thereof |
| US8520360B2 (en) | 2011-07-19 | 2013-08-27 | Lam Research Corporation | Electrostatic chuck with wafer backside plasma assisted dechuck |
| US10069443B2 (en) * | 2011-12-20 | 2018-09-04 | Tokyo Electron Limited | Dechuck control method and plasma processing apparatus |
| US9101038B2 (en) | 2013-12-20 | 2015-08-04 | Lam Research Corporation | Electrostatic chuck including declamping electrode and method of declamping |
| US10002782B2 (en) | 2014-10-17 | 2018-06-19 | Lam Research Corporation | ESC assembly including an electrically conductive gasket for uniform RF power delivery therethrough |
| CN105590890B (zh) * | 2014-10-21 | 2019-03-12 | 中微半导体设备(上海)有限公司 | 一种静电夹盘表层电荷的中和方法 |
| CN107534002A (zh) | 2015-02-25 | 2018-01-02 | 康宁股份有限公司 | 用于将衬底静电地卡紧到移动载体的装置和方法 |
| CN106571316A (zh) * | 2015-10-09 | 2017-04-19 | 北京北方微电子基地设备工艺研究中心有限责任公司 | 一种晶片粘片处理方法和装置 |
| CN106571317A (zh) * | 2015-10-09 | 2017-04-19 | 北京北方微电子基地设备工艺研究中心有限责任公司 | 一种晶片粘片处理方法和装置 |
| JP7138418B2 (ja) * | 2017-09-04 | 2022-09-16 | 東京エレクトロン株式会社 | 脱離制御方法及びプラズマ処理装置 |
| US10546731B1 (en) | 2018-10-05 | 2020-01-28 | Applied Materials, Inc. | Method, apparatus and system for wafer dechucking using dynamic voltage sweeping |
| KR20240057450A (ko) * | 2021-09-23 | 2024-05-02 | 램 리써치 코포레이션 | 정전 클램핑을 사용한 리모트 플라즈마 증착 |
| CN114400174B (zh) * | 2022-01-18 | 2023-10-20 | 长鑫存储技术有限公司 | 一种等离子体处理装置及其处理晶片的方法 |
| KR20250117673A (ko) * | 2022-12-07 | 2025-08-05 | 어플라이드 머티어리얼스, 인코포레이티드 | 기판을 처리하는 방법 및 처리 장치 |
Citations (2)
| Publication number | Priority date | Publication date | Assignee | Title |
|---|---|---|---|---|
| JPH08191099A (ja) * | 1994-09-30 | 1996-07-23 | Nec Corp | 静電チャック及びその製造方法 |
| JPH10163308A (ja) * | 1997-11-04 | 1998-06-19 | Hitachi Ltd | プラズマ処理方法および装置 |
Family Cites Families (42)
| Publication number | Priority date | Publication date | Assignee | Title |
|---|---|---|---|---|
| US4724621A (en) | 1986-04-17 | 1988-02-16 | Varian Associates, Inc. | Wafer processing chuck using slanted clamping pins |
| JP2678381B2 (ja) | 1987-05-06 | 1997-11-17 | ユニサーチ・リミテッド | 交流電界励振を利用した静電チャック |
| JP2779950B2 (ja) * | 1989-04-25 | 1998-07-23 | 東陶機器株式会社 | 静電チャックの電圧印加方法および電圧印加装置 |
| US5179498A (en) | 1990-05-17 | 1993-01-12 | Tokyo Electron Limited | Electrostatic chuck device |
| JPH06103683B2 (ja) | 1990-08-07 | 1994-12-14 | 株式会社東芝 | 静電吸着方法 |
| US5325261A (en) * | 1991-05-17 | 1994-06-28 | Unisearch Limited | Electrostatic chuck with improved release |
| US5539609A (en) | 1992-12-02 | 1996-07-23 | Applied Materials, Inc. | Electrostatic chuck usable in high density plasma |
| US5684669A (en) | 1995-06-07 | 1997-11-04 | Applied Materials, Inc. | Method for dechucking a workpiece from an electrostatic chuck |
| US5444597A (en) | 1993-01-15 | 1995-08-22 | Blake; Julian G. | Wafer release method and apparatus |
| KR100290748B1 (ko) * | 1993-01-29 | 2001-06-01 | 히가시 데쓰로 | 플라즈마 처리장치 |
| US5366002A (en) | 1993-05-05 | 1994-11-22 | Applied Materials, Inc. | Apparatus and method to ensure heat transfer to and from an entire substrate during semiconductor processing |
| US5557215A (en) | 1993-05-12 | 1996-09-17 | Tokyo Electron Limited | Self-bias measuring method, apparatus thereof and electrostatic chucking apparatus |
| JPH0774231A (ja) | 1993-08-31 | 1995-03-17 | Tokyo Electron Ltd | 処理装置及びその使用方法 |
| JP3257180B2 (ja) | 1993-09-21 | 2002-02-18 | ソニー株式会社 | 成膜方法 |
| US5463525A (en) | 1993-12-20 | 1995-10-31 | International Business Machines Corporation | Guard ring electrostatic chuck |
| TW288253B (ja) | 1994-02-03 | 1996-10-11 | Aneruba Kk | |
| US5459632A (en) | 1994-03-07 | 1995-10-17 | Applied Materials, Inc. | Releasing a workpiece from an electrostatic chuck |
| TW293231B (ja) | 1994-04-27 | 1996-12-11 | Aneruba Kk | |
| US5491603A (en) * | 1994-04-28 | 1996-02-13 | Applied Materials, Inc. | Method of determining a dechucking voltage which nullifies a residual electrostatic force between an electrostatic chuck and a wafer |
| US5507874A (en) | 1994-06-03 | 1996-04-16 | Applied Materials, Inc. | Method of cleaning of an electrostatic chuck in plasma reactors |
| US5474614A (en) | 1994-06-10 | 1995-12-12 | Texas Instruments Incorporated | Method and apparatus for releasing a semiconductor wafer from an electrostatic clamp |
| US5540824A (en) | 1994-07-18 | 1996-07-30 | Applied Materials | Plasma reactor with multi-section RF coil and isolated conducting lid |
| KR960012283A (ko) * | 1994-09-30 | 1996-04-20 | 가네꼬 히사시 | 정전척 및 그 제조방법 |
| US5708556A (en) | 1995-07-10 | 1998-01-13 | Watkins Johnson Company | Electrostatic chuck assembly |
| US5847918A (en) | 1995-09-29 | 1998-12-08 | Lam Research Corporation | Electrostatic clamping method and apparatus for dielectric workpieces in vacuum processors |
| JP3005461B2 (ja) | 1995-11-24 | 2000-01-31 | 日本電気株式会社 | 静電チャック |
| FR2743195B1 (fr) * | 1995-12-27 | 1998-02-06 | Alsthom Cge Alcatel | Laser semi-conducteur a emission par la surface |
| US5708250A (en) | 1996-03-29 | 1998-01-13 | Lam Resarch Corporation | Voltage controller for electrostatic chuck of vacuum plasma processors |
| US5764471A (en) * | 1996-05-08 | 1998-06-09 | Applied Materials, Inc. | Method and apparatus for balancing an electrostatic force produced by an electrostatic chuck |
| US5793192A (en) * | 1996-06-28 | 1998-08-11 | Lam Research Corporation | Methods and apparatuses for clamping and declamping a semiconductor wafer in a wafer processing system |
| US5818682A (en) | 1996-08-13 | 1998-10-06 | Applied Materials, Inc. | Method and apparatus for optimizing a dechucking period used to dechuck a workpiece from an electrostatic chuck |
| TW334609B (en) | 1996-09-19 | 1998-06-21 | Hitachi Ltd | Electrostatic chuck, method and device for processing sanyle use the same |
| US5737177A (en) | 1996-10-17 | 1998-04-07 | Applied Materials, Inc. | Apparatus and method for actively controlling the DC potential of a cathode pedestal |
| JP3245369B2 (ja) | 1996-11-20 | 2002-01-15 | 東京エレクトロン株式会社 | 被処理体を静電チャックから離脱する方法及びプラズマ処理装置 |
| US5894400A (en) | 1997-05-29 | 1999-04-13 | Wj Semiconductor Equipment Group, Inc. | Method and apparatus for clamping a substrate |
| US5933314A (en) | 1997-06-27 | 1999-08-03 | Lam Research Corp. | Method and an apparatus for offsetting plasma bias voltage in bi-polar electro-static chucks |
| US5880924A (en) | 1997-12-01 | 1999-03-09 | Applied Materials, Inc. | Electrostatic chuck capable of rapidly dechucking a substrate |
| US5886865A (en) * | 1998-03-17 | 1999-03-23 | Applied Materials, Inc. | Method and apparatus for predicting failure of an eletrostatic chuck |
| US6005376A (en) * | 1998-04-03 | 1999-12-21 | Applied Materials, Inc. | DC power supply |
| US6228278B1 (en) * | 1998-09-30 | 2001-05-08 | Lam Research Corporation | Methods and apparatus for determining an etch endpoint in a plasma processing system |
| US6125025A (en) * | 1998-09-30 | 2000-09-26 | Lam Research Corporation | Electrostatic dechucking method and apparatus for dielectric workpieces in vacuum processors |
| JP2003060018A (ja) * | 2001-08-13 | 2003-02-28 | Nissin Electric Co Ltd | 基板吸着方法およびその装置 |
-
1998
- 1998-09-30 US US09/163,368 patent/US6790375B1/en not_active Expired - Fee Related
-
1999
- 1999-09-10 AU AU58179/99A patent/AU5817999A/en not_active Abandoned
- 1999-09-10 JP JP2000572987A patent/JP4414099B2/ja not_active Expired - Fee Related
- 1999-09-10 WO PCT/US1999/020637 patent/WO2000019592A1/en not_active Ceased
-
2004
- 2004-08-30 US US10/928,152 patent/US7196896B2/en not_active Expired - Lifetime
-
2009
- 2009-08-07 JP JP2009184433A patent/JP5290083B2/ja not_active Expired - Fee Related
Patent Citations (2)
| Publication number | Priority date | Publication date | Assignee | Title |
|---|---|---|---|---|
| JPH08191099A (ja) * | 1994-09-30 | 1996-07-23 | Nec Corp | 静電チャック及びその製造方法 |
| JPH10163308A (ja) * | 1997-11-04 | 1998-06-19 | Hitachi Ltd | プラズマ処理方法および装置 |
Cited By (3)
| Publication number | Priority date | Publication date | Assignee | Title |
|---|---|---|---|---|
| JP7060771B1 (ja) * | 2021-02-04 | 2022-04-26 | 日本碍子株式会社 | 半導体製造装置用部材 |
| WO2022168368A1 (ja) * | 2021-02-04 | 2022-08-11 | 日本碍子株式会社 | 半導体製造装置用部材及びその製法 |
| US12243729B2 (en) | 2021-02-04 | 2025-03-04 | Ngk Insulators, Ltd. | Member for semiconductor manufacturing apparatus and method for manufacturing the same |
Also Published As
| Publication number | Publication date |
|---|---|
| AU5817999A (en) | 2000-04-17 |
| US6790375B1 (en) | 2004-09-14 |
| JP2002526935A (ja) | 2002-08-20 |
| JP4414099B2 (ja) | 2010-02-10 |
| JP5290083B2 (ja) | 2013-09-18 |
| US20050036268A1 (en) | 2005-02-17 |
| WO2000019592A1 (en) | 2000-04-06 |
| US7196896B2 (en) | 2007-03-27 |
Similar Documents
| Publication | Publication Date | Title |
|---|---|---|
| JP5290083B2 (ja) | 真空プラズマプロセッサ | |
| JP4698025B2 (ja) | 真空プロセッサ中の誘電体工作物のための静電デチャッキング方法および装置 | |
| US6965506B2 (en) | System and method for dechucking a workpiece from an electrostatic chuck | |
| JP2002526935A5 (ja) | ||
| TWI613720B (zh) | 脫離控制方法及電漿處理裝置之控制裝置 | |
| US7218503B2 (en) | Method of determining the correct average bias compensation voltage during a plasma process | |
| US5946184A (en) | Electrostatic chuck, and method of and apparatus for processing sample | |
| US7583492B2 (en) | Method of determining the correct average bias compensation voltage during a plasma process | |
| JPH0864664A (ja) | 静電チャックとウェハの間の残留静電力を無効にするチャック開放電圧を決定する方法 | |
| KR20040093043A (ko) | 플라즈마 처리 장치, 포커스 링 및 서셉터 | |
| CN109427534A (zh) | 脱离控制方法和等离子体处理装置 | |
| TW201537671A (zh) | 靜電夾取方法和裝置 | |
| JP4064557B2 (ja) | 真空処理装置の基板取り外し制御方法 | |
| JP3733448B2 (ja) | プラズマ処理方法および装置並びに基板脱離方法及び印加電圧の制御装置 | |
| JP2002222850A (ja) | 静電チャックにおける被吸着物の離脱方法 | |
| JP2025137172A (ja) | 静電チャック用の給電システム及び給電方法 | |
| JP2001085396A (ja) | プラズマ処理装置 | |
| JPH118292A (ja) | 静電吸着電極およびそれを用いたプラズマ処理装置 |
Legal Events
| Date | Code | Title | Description |
|---|---|---|---|
| A131 | Notification of reasons for refusal |
Free format text: JAPANESE INTERMEDIATE CODE: A131 Effective date: 20110323 |
|
| A521 | Request for written amendment filed |
Free format text: JAPANESE INTERMEDIATE CODE: A523 Effective date: 20110621 |
|
| A131 | Notification of reasons for refusal |
Free format text: JAPANESE INTERMEDIATE CODE: A131 Effective date: 20111213 |
|
| A601 | Written request for extension of time |
Free format text: JAPANESE INTERMEDIATE CODE: A601 Effective date: 20120313 |
|
| A602 | Written permission of extension of time |
Free format text: JAPANESE INTERMEDIATE CODE: A602 Effective date: 20120316 |
|
| A601 | Written request for extension of time |
Free format text: JAPANESE INTERMEDIATE CODE: A601 Effective date: 20120413 |
|
| A602 | Written permission of extension of time |
Free format text: JAPANESE INTERMEDIATE CODE: A602 Effective date: 20120418 |
|
| A601 | Written request for extension of time |
Free format text: JAPANESE INTERMEDIATE CODE: A601 Effective date: 20120510 |
|
| A602 | Written permission of extension of time |
Free format text: JAPANESE INTERMEDIATE CODE: A602 Effective date: 20120515 |
|
| A521 | Request for written amendment filed |
Free format text: JAPANESE INTERMEDIATE CODE: A523 Effective date: 20120605 |
|
| A131 | Notification of reasons for refusal |
Free format text: JAPANESE INTERMEDIATE CODE: A131 Effective date: 20121115 |
|
| A601 | Written request for extension of time |
Free format text: JAPANESE INTERMEDIATE CODE: A601 Effective date: 20130215 |
|
| A602 | Written permission of extension of time |
Free format text: JAPANESE INTERMEDIATE CODE: A602 Effective date: 20130220 |
|
| A521 | Request for written amendment filed |
Free format text: JAPANESE INTERMEDIATE CODE: A523 Effective date: 20130312 |
|
| A01 | Written decision to grant a patent or to grant a registration (utility model) |
Free format text: JAPANESE INTERMEDIATE CODE: A01 Effective date: 20130515 |
|
| A61 | First payment of annual fees (during grant procedure) |
Free format text: JAPANESE INTERMEDIATE CODE: A61 Effective date: 20130605 |
|
| LAPS | Cancellation because of no payment of annual fees |
