JP2010020302A - 液晶ディスプレイ装置およびその駆動方法 - Google Patents

液晶ディスプレイ装置およびその駆動方法 Download PDF

Info

Publication number
JP2010020302A
JP2010020302A JP2009155235A JP2009155235A JP2010020302A JP 2010020302 A JP2010020302 A JP 2010020302A JP 2009155235 A JP2009155235 A JP 2009155235A JP 2009155235 A JP2009155235 A JP 2009155235A JP 2010020302 A JP2010020302 A JP 2010020302A
Authority
JP
Japan
Prior art keywords
electrode
liquid crystal
period
switching element
voltage
Prior art date
Legal status (The legal status is an assumption and is not a legal conclusion. Google has not performed a legal analysis and makes no representation as to the accuracy of the status listed.)
Granted
Application number
JP2009155235A
Other languages
English (en)
Other versions
JP4966341B2 (ja
Inventor
Ming-Sheng Lai
明昇 頼
Xueying Huang
雪瑛 黄
Chen-Kuo Yang
振國 楊
Min-Feng Chiang
明峰 江
Current Assignee (The listed assignees may be inaccurate. Google has not performed a legal analysis and makes no representation or warranty as to the accuracy of the list.)
AUO Corp
Original Assignee
AU Optronics Corp
Priority date (The priority date is an assumption and is not a legal conclusion. Google has not performed a legal analysis and makes no representation as to the accuracy of the date listed.)
Filing date
Publication date
Application filed by AU Optronics Corp filed Critical AU Optronics Corp
Publication of JP2010020302A publication Critical patent/JP2010020302A/ja
Application granted granted Critical
Publication of JP4966341B2 publication Critical patent/JP4966341B2/ja
Active legal-status Critical Current
Anticipated expiration legal-status Critical

Links

Images

Classifications

    • GPHYSICS
    • G02OPTICS
    • G02FOPTICAL DEVICES OR ARRANGEMENTS FOR THE CONTROL OF LIGHT BY MODIFICATION OF THE OPTICAL PROPERTIES OF THE MEDIA OF THE ELEMENTS INVOLVED THEREIN; NON-LINEAR OPTICS; FREQUENCY-CHANGING OF LIGHT; OPTICAL LOGIC ELEMENTS; OPTICAL ANALOGUE/DIGITAL CONVERTERS
    • G02F1/00Devices or arrangements for the control of the intensity, colour, phase, polarisation or direction of light arriving from an independent light source, e.g. switching, gating or modulating; Non-linear optics
    • G02F1/01Devices or arrangements for the control of the intensity, colour, phase, polarisation or direction of light arriving from an independent light source, e.g. switching, gating or modulating; Non-linear optics for the control of the intensity, phase, polarisation or colour 
    • G02F1/13Devices or arrangements for the control of the intensity, colour, phase, polarisation or direction of light arriving from an independent light source, e.g. switching, gating or modulating; Non-linear optics for the control of the intensity, phase, polarisation or colour  based on liquid crystals, e.g. single liquid crystal display cells
    • G02F1/133Constructional arrangements; Operation of liquid crystal cells; Circuit arrangements
    • G02F1/136Liquid crystal cells structurally associated with a semi-conducting layer or substrate, e.g. cells forming part of an integrated circuit
    • G02F1/1362Active matrix addressed cells
    • G02F1/136213Storage capacitors associated with the pixel electrode
    • GPHYSICS
    • G09EDUCATION; CRYPTOGRAPHY; DISPLAY; ADVERTISING; SEALS
    • G09GARRANGEMENTS OR CIRCUITS FOR CONTROL OF INDICATING DEVICES USING STATIC MEANS TO PRESENT VARIABLE INFORMATION
    • G09G3/00Control arrangements or circuits, of interest only in connection with visual indicators other than cathode-ray tubes
    • G09G3/20Control arrangements or circuits, of interest only in connection with visual indicators other than cathode-ray tubes for presentation of an assembly of a number of characters, e.g. a page, by composing the assembly by combination of individual elements arranged in a matrix no fixed position being assigned to or needed to be assigned to the individual characters or partial characters
    • G09G3/34Control arrangements or circuits, of interest only in connection with visual indicators other than cathode-ray tubes for presentation of an assembly of a number of characters, e.g. a page, by composing the assembly by combination of individual elements arranged in a matrix no fixed position being assigned to or needed to be assigned to the individual characters or partial characters by control of light from an independent source
    • G09G3/36Control arrangements or circuits, of interest only in connection with visual indicators other than cathode-ray tubes for presentation of an assembly of a number of characters, e.g. a page, by composing the assembly by combination of individual elements arranged in a matrix no fixed position being assigned to or needed to be assigned to the individual characters or partial characters by control of light from an independent source using liquid crystals
    • G09G3/3611Control of matrices with row and column drivers
    • G09G3/3648Control of matrices with row and column drivers using an active matrix
    • GPHYSICS
    • G02OPTICS
    • G02FOPTICAL DEVICES OR ARRANGEMENTS FOR THE CONTROL OF LIGHT BY MODIFICATION OF THE OPTICAL PROPERTIES OF THE MEDIA OF THE ELEMENTS INVOLVED THEREIN; NON-LINEAR OPTICS; FREQUENCY-CHANGING OF LIGHT; OPTICAL LOGIC ELEMENTS; OPTICAL ANALOGUE/DIGITAL CONVERTERS
    • G02F1/00Devices or arrangements for the control of the intensity, colour, phase, polarisation or direction of light arriving from an independent light source, e.g. switching, gating or modulating; Non-linear optics
    • G02F1/01Devices or arrangements for the control of the intensity, colour, phase, polarisation or direction of light arriving from an independent light source, e.g. switching, gating or modulating; Non-linear optics for the control of the intensity, phase, polarisation or colour 
    • G02F1/13Devices or arrangements for the control of the intensity, colour, phase, polarisation or direction of light arriving from an independent light source, e.g. switching, gating or modulating; Non-linear optics for the control of the intensity, phase, polarisation or colour  based on liquid crystals, e.g. single liquid crystal display cells
    • G02F1/133Constructional arrangements; Operation of liquid crystal cells; Circuit arrangements
    • G02F1/1333Constructional arrangements; Manufacturing methods
    • G02F1/1343Electrodes
    • G02F1/134309Electrodes characterised by their geometrical arrangement
    • G02F1/134345Subdivided pixels, e.g. for grey scale or redundancy
    • GPHYSICS
    • G02OPTICS
    • G02FOPTICAL DEVICES OR ARRANGEMENTS FOR THE CONTROL OF LIGHT BY MODIFICATION OF THE OPTICAL PROPERTIES OF THE MEDIA OF THE ELEMENTS INVOLVED THEREIN; NON-LINEAR OPTICS; FREQUENCY-CHANGING OF LIGHT; OPTICAL LOGIC ELEMENTS; OPTICAL ANALOGUE/DIGITAL CONVERTERS
    • G02F1/00Devices or arrangements for the control of the intensity, colour, phase, polarisation or direction of light arriving from an independent light source, e.g. switching, gating or modulating; Non-linear optics
    • G02F1/01Devices or arrangements for the control of the intensity, colour, phase, polarisation or direction of light arriving from an independent light source, e.g. switching, gating or modulating; Non-linear optics for the control of the intensity, phase, polarisation or colour 
    • G02F1/13Devices or arrangements for the control of the intensity, colour, phase, polarisation or direction of light arriving from an independent light source, e.g. switching, gating or modulating; Non-linear optics for the control of the intensity, phase, polarisation or colour  based on liquid crystals, e.g. single liquid crystal display cells
    • G02F1/133Constructional arrangements; Operation of liquid crystal cells; Circuit arrangements
    • G02F1/136Liquid crystal cells structurally associated with a semi-conducting layer or substrate, e.g. cells forming part of an integrated circuit
    • G02F1/1362Active matrix addressed cells
    • G02F1/13624Active matrix addressed cells having more than one switching element per pixel
    • GPHYSICS
    • G09EDUCATION; CRYPTOGRAPHY; DISPLAY; ADVERTISING; SEALS
    • G09GARRANGEMENTS OR CIRCUITS FOR CONTROL OF INDICATING DEVICES USING STATIC MEANS TO PRESENT VARIABLE INFORMATION
    • G09G2300/00Aspects of the constitution of display devices
    • G09G2300/04Structural and physical details of display devices
    • G09G2300/0421Structural details of the set of electrodes
    • G09G2300/0426Layout of electrodes and connections
    • GPHYSICS
    • G09EDUCATION; CRYPTOGRAPHY; DISPLAY; ADVERTISING; SEALS
    • G09GARRANGEMENTS OR CIRCUITS FOR CONTROL OF INDICATING DEVICES USING STATIC MEANS TO PRESENT VARIABLE INFORMATION
    • G09G2300/00Aspects of the constitution of display devices
    • G09G2300/04Structural and physical details of display devices
    • G09G2300/0439Pixel structures
    • G09G2300/0443Pixel structures with several sub-pixels for the same colour in a pixel, not specifically used to display gradations
    • GPHYSICS
    • G09EDUCATION; CRYPTOGRAPHY; DISPLAY; ADVERTISING; SEALS
    • G09GARRANGEMENTS OR CIRCUITS FOR CONTROL OF INDICATING DEVICES USING STATIC MEANS TO PRESENT VARIABLE INFORMATION
    • G09G2300/00Aspects of the constitution of display devices
    • G09G2300/04Structural and physical details of display devices
    • G09G2300/0439Pixel structures
    • G09G2300/0443Pixel structures with several sub-pixels for the same colour in a pixel, not specifically used to display gradations
    • G09G2300/0447Pixel structures with several sub-pixels for the same colour in a pixel, not specifically used to display gradations for multi-domain technique to improve the viewing angle in a liquid crystal display, such as multi-vertical alignment [MVA]
    • GPHYSICS
    • G09EDUCATION; CRYPTOGRAPHY; DISPLAY; ADVERTISING; SEALS
    • G09GARRANGEMENTS OR CIRCUITS FOR CONTROL OF INDICATING DEVICES USING STATIC MEANS TO PRESENT VARIABLE INFORMATION
    • G09G2300/00Aspects of the constitution of display devices
    • G09G2300/04Structural and physical details of display devices
    • G09G2300/0439Pixel structures
    • G09G2300/0465Improved aperture ratio, e.g. by size reduction of the pixel circuit, e.g. for improving the pixel density or the maximum displayable luminance or brightness
    • GPHYSICS
    • G09EDUCATION; CRYPTOGRAPHY; DISPLAY; ADVERTISING; SEALS
    • G09GARRANGEMENTS OR CIRCUITS FOR CONTROL OF INDICATING DEVICES USING STATIC MEANS TO PRESENT VARIABLE INFORMATION
    • G09G2310/00Command of the display device
    • G09G2310/02Addressing, scanning or driving the display screen or processing steps related thereto
    • G09G2310/0243Details of the generation of driving signals
    • G09G2310/0251Precharge or discharge of pixel before applying new pixel voltage
    • GPHYSICS
    • G09EDUCATION; CRYPTOGRAPHY; DISPLAY; ADVERTISING; SEALS
    • G09GARRANGEMENTS OR CIRCUITS FOR CONTROL OF INDICATING DEVICES USING STATIC MEANS TO PRESENT VARIABLE INFORMATION
    • G09G2330/00Aspects of power supply; Aspects of display protection and defect management
    • G09G2330/02Details of power systems and of start or stop of display operation
    • G09G2330/021Power management, e.g. power saving
    • G09G2330/023Power management, e.g. power saving using energy recovery or conservation

Landscapes

  • Physics & Mathematics (AREA)
  • Engineering & Computer Science (AREA)
  • Crystallography & Structural Chemistry (AREA)
  • Chemical & Material Sciences (AREA)
  • Nonlinear Science (AREA)
  • General Physics & Mathematics (AREA)
  • Microelectronics & Electronic Packaging (AREA)
  • Mathematical Physics (AREA)
  • Power Engineering (AREA)
  • Optics & Photonics (AREA)
  • Computer Hardware Design (AREA)
  • Theoretical Computer Science (AREA)
  • Liquid Crystal Display Device Control (AREA)
  • Control Of Indicators Other Than Cathode Ray Tubes (AREA)
  • Liquid Crystal (AREA)

Abstract

【課題】液晶ディスプレイ装置およびその駆動方法を提供する。
【解決手段】マルチドメイン垂直配向型液晶ディスプレイにおいて、1つの画素が2つの副画素を含む。電荷共有期間またはその後に、付加スイッチング素子を利用して1つの副画素ともう1つの副画素の電極の電圧電位間に電圧差を生じさせる。両副画素の電極は電荷共有キャパシタおよび制御スイッチング素子を介して互いに接続する。電荷共有期間の前に、制御スイッチング素子が非導通状態で動作されることで、両副画素の電極間の電圧電位がほぼ同じである。電荷共有期間において、制御スイッチング素子が導通状態で動作されるため、電荷共有がスムーズに行われるようになる。付加スイッチング素子は電圧差をより有効に生じさせることができ、追加のキャパシタを必要としない。
【選択図】図5a

Description

本発明は液晶ディスプレイ装置に関し、特にマルチドメイン垂直配向型(multi-domain vertical alignment,MVA)液晶ディスプレイ装置に関する。
周知のように、カラー液晶ディスプレイ(liquid crystal display,LCD)パネル1は、図1に示すように二次元画素10アレイを備えている。各画素は、通常赤(R)、緑(G)および青(B)の三原色の複数の副画素を含む。これら赤・緑・青(RGB)のカラー素子(color components)はそれぞれのカラーフィルタを用いることで構成される。図2aは、従来の透過型液晶ディスプレイ装置における画素構造の平面図を示している。図2aに示すように、画素10は3つの副画素12R、12Gおよび12Bに分けられる。3本のデータ線21、22および23は、データ線信号をそれぞれ副画素12R、12Gおよび12Bに供給する。データ線24はデータ線信号を隣接する画素行へ供給するのに用いられ、ゲート線31は画素10を起動する(activate)のに用いられ、ゲート線32はゲート線信号を隣接する画素列へ供給するのに用いられる。ここで注意すべきことは、カラー副画素12R、12Gおよび12Bは、違う方向に配置されることも可能である。図2bに示すように、データ線21はデータ線信号を全ての三原色の副画素12R、12Gおよび12Bに供給するのに用いられ、なお、3本のゲート線31、32および33は、カラー副画素12R、12Gおよび12Bをそれぞれ起動するのに用いられる。データ線22はデータ線信号を隣接する画素行へ供給するのに用いられ、ゲート線34は隣接する画素列を起動するのに用いられる。図2aに示す画素10はいわゆるトライゲート(tri-gate)画素でもある。
垂直配向型液晶ディスプレイ装置(vertical alignment liquid crystal display,VA−LCD)において、ディスプレイ装置中の液晶分子は垂直軸に沿って配向され、当該垂直軸は、電界のかかっていない基板にほぼ垂直である。基板に形成された電極に、所定値より大きい電圧を印加すると、分子は異なる方向に配列され、当該垂直軸からそれる。従って、垂直配向型ディスプレイ装置は広視野角という長所を持ち、従来の液晶ディスプレイ装置に比べてコントラスト比が高い。
垂直配向型ディスプレイ装置は、各画素中にカットアウトまたは突起を用いることで、液晶をそれぞれ異なるドメインで方向を変更させ、ことによりさらなる改善を図った。このタイプの垂直配向型液晶ディスプレイ装置が、いわゆるマルチドメイン垂直配向型液晶ディスプレイ装置(マルチドメインVA−LCDまたはMVA−LCD)である。マルチドメイン垂直配向型ディスプレイ装置は更なる広視野角を実現した。マルチドメイン垂直配向型ディスプレイ装置において、その側面からの可視度(visibility)は正面の可視度に比べ、はるかに劣ることが知られている。
パターン化垂直配向型(patterned vertical alignment)液晶ディスプレイ装置は、画素を2つの副画素に分けることにより側面の可視度を改善させている。そのうち、1つの副画素の印加電圧が、容量結合(capacitive coupling)によってもう1つの副画素に共用され、これにより2つの副画素電圧が異なる。従って、図3に示すように各画素は2つの電極を有している。図3に示すように、液晶ディスプレイ装置は、第1基板、第2基板、および第1基板と第2基板との間に配置される液晶層を備える。各画素12において、共通電圧Vcomに接続される共通電極が一方の基板上に配置され、また、2つの独立した電極が他方の基板上に配置されており、画素12がゲート信号線によって起動された後の少なくともある一定の期間内において、2つの異なる垂直電界が提供される。通常、画素12は複数のキャパシタと関連している。例えば、副画素における液晶層の充電容量、および当該副画素中に形成された各種の蓄積キャパシタは、ゲート信号線が導通した後、上下電極間の電圧電位(voltage potential)を維持させる。例として、ゲート信号線が導通する時、薄膜トランジスタを駆動してこれらキャパシタを充電させ、これによって、少なくともゲート信号線が導通する前に、各副画素電極の電圧レベルをデータ線の信号とほぼ同じようにする。パターン化垂直配向型液晶ディスプレイ装置において、ゲート信号線が導通した後、2つの副画素間の電圧電位が異なる。従来技術は、1つまたは複数のキャパシタを用いて電荷共有(charge sharing)を行うことにより実現されている。
本発明の目的は、液晶ディスプレイ装置およびその駆動方法を提供することにある。
マルチドメイン垂直配向型液晶ディスプレイ装置等のカラー液晶ディスプレイ装置において、各画素は2つの副画素を有する。本発明は、付加スイッチング素子例えばトランジスタを利用して、電荷共有期間またはその後に、1つの副画素ともう1つの副画素との電極電圧電位間に電圧差を生じさせる。二つの副画素の電極は、通常、電荷共有キャパシタおよび制御スイッチング素子例えば他のトランジスタを通じて、互いに接続される。電荷共有期間の前、当該制御スイッチング素子は非導通状態で動作され、かつ、二つの副画素電極間の電圧電位はほぼ同じである。電荷共有期間において、当該制御スイッチング素子は導通状態で動作され、電荷共有がスムーズに行われるようにする。付加スイッチング素子は、追加のキャパシタを必要とせずに、より効率的に電圧差を生じさせることができる。
したがって、本発明の一つの態様は液晶ディスプレイ装置の駆動方法を提供する。当該液晶ディスプレイ装置は複数の画素を備え、そのうち、少なくとも一部の画素が第1副画素および第2副画素を有しており、なお、各画素は充電期間の後に電荷共有期間を有しており、当該駆動方法は、
第1副画素の第1電極および第2副画素の第2電極を提供する工程と、
前記第1電極に接続される第1キャパシタ端および第2キャパシタ端を有するキャパシタを提供する工程と、
を含み、充電期間において、
前記第1および第2電極は、第1電圧源に関連するデータ線電圧レベルを持つデータ線に電気的に接続され、
第2キャパシタ端は第2電圧源に電気的に接続され、
且つ、電荷共有期間において、
前記第1及び第2電極とデータ線とを電気的に切断し、
第2キャパシタ端と第2電圧源とを電気的に切断し、かつ、
第2キャパシタ端と第2電極とを電気的に接続することによって、電荷共有期間に、第1電圧源に関連する第1電極の電圧電位が、第1電圧源に関連する第2電極の電圧電位と異なるようにする。
正電荷充電時、充電期間においてデータ線電圧レベルが第2電圧源より高い。よって、電荷共有期間において、第1電圧源に関連する第1電極の電圧電位が、第1電圧源に関連する第2電極の電圧電位より高い。
負電荷充電時、充電期間においてデータ線電圧レベルが第2電圧源より低い。よって、電荷共有期間において、第1電圧源に関連する第1電極の電圧電位が、第1電圧源に関連する第2電極の電圧電位より低い。
第1電圧源と第2電圧源はそれぞれ独立である。
本発明の1例によれば、第1電極は第1スイッチング素子を介してデータ線に接続され、第2電極は第2スイッチング素子を介してデータ線に接続され、かつ第2キャパシタ端は第3スイッチング素子を介して第2電圧源に接続される。そのうち、第1、第2および第3スイッチング素子は、それぞれ導通状態および非導通状態で動作可能であり、充電期間において、第1、第2および第3スイッチング素子はそれぞれ導通状態で動作され、電荷共有期間において、第1、第2および第3スイッチング素子はそれぞれ非導通状態で動作される。また、第2キャパシタ端は第4スイッチング素子を介して第2電極に接続され、当該第4スイッチング素子は導通状態および非導通状態で動作可能であり、且つ、充電期間において、当該第4スイッチング素子は非導通状態で動作され、電荷共有期間において、当該第4スイッチング素子は導通状態で動作される。
各画素は、充電期間に第1ゲート信号を提供するための第1ゲート線を含む。当該第1、第2および第3スイッチング素子は、それぞれ第1ゲート線に接続されるゲート端を有するトランジスタを含み、これによって、第1、第2および第3スイッチング素子が第1ゲート信号によりそれぞれ導通状態で動作される。各画素は、電荷共有期間で第2ゲート信号を提供するための第2ゲート線をさらに含む。第4スイッチング素子が、第2ゲート線に接続されるゲート端を有する付加トランジスタを含み、これにより第4スイッチング素子が第2ゲート信号によって導通状態で動作される。電荷共有期間後の一定の時間内、及び、充電期間と電荷共有期間との間の一定の時間内において、当該第1、第2、第3および第4スイッチング素子はそれぞれ非導通状態で動作する。
本発明はカラー液晶ディスプレイ装置に関し、そのうち、上記各画素は、カラー画素中の複数のカラーセクション(color section)のうちの1つであり、且つ、当該複数のカラーセクションは赤色、青色および緑色のカラーセクションを含む。
本発明のもう一つの態様は液晶ディスプレイ装置を提供する。当該液晶ディスプレイ装置は、第1基板、第2基板、及び第1基板と第2基板との間に配置されて、複数の画素を形成する液晶層を含み、当該複数の画素のうち、少なくとも一部の画素が第1副画素および第2副画素を有し、前記各画素は充電期間の後に電荷共有期間を有する。前記第1副画素は、第1基板上に配置され、且つキャパシタの第1端に電気的に接続され第1電極を含み、当該第1電極は、第2基板の第1電圧レベルに関連する第1電圧電位を第1副画素の液晶層に印加するのに用いられ、及び、
前記第2副画素は、第1基板に配置される第2電極を含み、当該第2電極は、第1電圧レベルに関連する第2電圧電位を第2副画素の液晶層に印加するのに用いられ、そのうち、充電期間において、
第1および第2電極は、第1電圧レベルに関連するデータ線電圧レベルを持つデータ線に電気的に接続され、
前記キャパシタの第2端は、第2電圧レベルを有する電圧源に電気的に接続され、
電荷共有期間において、
第1及び第2電極とデータ線とを電気的に切断し、
前記キャパシタの第2端と電圧源とを電気的に切断し、かつ、
前記キャパシタの第2端が第2電極に電気的に接続され、キャパシタの第2端と第2電極は初期の電位が異なっており、電荷の再配分を通じ、キャパシタの第2端と第2電極の電位を、元の異なっていた電位から同じようにし、これにより、電荷共有期間において、第1電圧レベルと第2電圧レベルが異なる。
正電荷充電時において、充電期間にデータ線の電圧レベルが第2電圧源より高く、これによって電荷共有期間に、第1電圧源に関連する第1電極の電圧電位が、第1電圧源に関連する第2電極の電圧電位より高くなる。
負電荷充電時において、充電期間にデータ線の電圧レベルが第2電圧源より低く、これによって電荷共有期間に、第1電圧源に関連する第1電極の電圧電位が、第1電圧源に関連する第2電極の電圧電位より低くなる。
本発明の1例によれば、前記液晶ディスプレイ装置は、第1電極とデータ線を電気的に接続させるための第1スイッチング素子と、第2電極とデータ線を電気的に接続させるための第2スイッチング素子と、キャパシタの第2端と電圧源を電気的に接続させるための第3スイッチング素子と、キャパシタの第2端と第2電極を電気的に接続させるための第4スイッチング素子と、を更に含み、前記第1、第2および第3スイッチング素子はそれぞれ導通状態および非導通状態で動作可能であり、充電期間において、第1、第2および第3スイッチング素子はそれぞれ導通状態で動作され、電荷共有期間において、第1、第2および第3スイッチング素子はそれぞれ非導通状態で動作され、また、前記第4スイッチング素子も導通状態および非導通状態で動作可能であり、充電期間において、当該第4スイッチング素子は非導通状態で動作され、電荷共有期間において該第4スイッチング素子は導通状態で動作される。前記第1電圧レベルは第2電圧レベルと同じであってもよい。
本発明の実施例によれば、各画素は、充電期間において第1ゲート信号を提供するための第1ゲート線を含み、前記第1、第2および第3スイッチング素子が、それぞれ第1ゲート線に接続されるゲート端を有するトランジスタを含み、従って、前記第1、第2および第3スイッチング素子が、第1ゲート信号によってそれぞれ導通状態で動作される。各画素は、電荷共有期間において第2ゲート信号を提供するための第2ゲート線を更に含み、前記第4スイッチング素子が、当該第2ゲート線に接続されるゲート端を有する付加トランジスタを含み、従って、前記第4スイッチング素子が第2ゲート信号によって導通状態で動作される。電荷共有期間後の一定の時間内に、前記第1、第2、第3および第4スイッチング素子がそれぞれ非導通状態で動作され、かつ、充電期間と電荷共有期間との間の一定の時間内に、前記第1、第2、第3および第4スイッチング素子がそれぞれ非導通状態で動作される。
前記液晶ディスプレイ装置はカラー液晶ディスプレイ装置であり、前記各画素は、カラー画素中の複数のカラーセクション(color section)のうちの1つであり、かつ、当該複数のカラーセクションは赤色、青色および緑色のカラーセクションを含む。
マルチドメイン垂直配向型液晶ディスプレイ装置等のカラー液晶ディスプレイ装置において、各画素は2つの副画素を有する。本発明は、付加スイッチング素子例えばトランジスタを利用して、電荷共有期間またはその後に、1つの副画素ともう1つの副画素との電極電圧電位間に電圧差を生じさせる。二つの副画素の電極は、通常、電荷共有キャパシタおよび制御スイッチング素子例えば他のトランジスタを通じて、互いに接続される。電荷共有期間の前、当該制御スイッチング素子は非導通状態で動作され、かつ、二つの副画素電極間の電圧電位はほぼ同じである。電荷共有期間において、当該制御スイッチング素子は導通状態で動作され、電荷共有がスムーズに行われるようにする。付加スイッチング素子は、追加のキャパシタを必要とせずに、より効率的に電圧差を生じさせることができる。
従来の液晶ディスプレイパネルを示す略図である。 従来の液晶ディスプレイパネルの画素構造を示す平面図である。 トライゲート画素を有する液晶ディスプレイパネルの画素構造を示す平面図である。 一つの画素を示す断面図であり、当該画素が2対の電極を有して、それぞれ2つの副画素内の液晶分子を配向させる。 本発明の実施例による画素設計を示すレイアウト図である。 本発明の実施例による液晶ディスプレイ装置の画素の回路を示す略図である。 図5aに示す回路の等価回路を示す略図である。 本発明の実施例による画素が正電荷充電時における関連の各種信号を示すタイミング図であり、当該データ線の駆動はドット反転駆動法により実現される。 本発明の実施例による画素が負電荷充電時における関連の各種信号を示すタイミング図であり、当該データ線の駆動はドット反転駆動法により実現される。 本発明の他の実施例による液晶ディスプレイ装置の画素の回路を示す略図である。 本発明のその他の実施例による液晶ディスプレイ装置の画素の回路を示す略図である。 本発明の実施例による画素が正電荷充電時における関連の各種信号を示すタイミング図であり、データ線の駆動は2ライン反転駆動法により実現される。 本発明の実施例による画素が負電荷充電時における関連の各種信号を示すタイミング図であり、データ線の駆動は2ライン反転駆動法により実現される。 本発明の実施例による画素が正電荷充電時における関連の各種信号を示すタイミング図であり、データ線の駆動はカラム反転駆動法により実現される。 本発明の実施例による画素が負電荷充電時における関連の各種信号を示すタイミング図であり、データ線の駆動はカラム反転駆動法により実現される。 本発明の他の実施例による画素を示すレイアウト図である。 本発明のその他の実施例による画素を示すレイアウト図である。
本発明をより容易に判るよう以下に本発明の好ましい実施例を説明するが、これは本発明を限定するものではなく、本発明の保護範囲は特許請求の範囲の記載を基準にする。
図1に示すように、通常カラー液晶ディスプレイ装置は、二次元画素アレイを備え、且つ、図2aに示すように、各画素は複数のカラー副画素12R、12Gおよび12Bに分けられている。異なるカラー副画素間の主な相違点は、異なるカラーフィルタを用いて液晶層を通った光線を濾過することである。異なるカラー副画素の基本構造はほぼ同じである。よって、本発明はカラー副画素12R、12Gおよび12Bのうちの任意の1つを参照して説明する。各カラー副画素を略して画素12といい、且つ、各画素12を2つの副画素に分ける。2つの副画素は、2つの電圧電位を保持するための2つの独立した電極を有し、これにより、画素12上に2つの異なる電界を提供する。
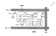
図4および図5aに示すように、1つの副画素の電極が電圧電位Vp_Aを有し、もう1つの副画素の電極が電圧電位Vp_Bを有する。1つの画素12は通常2本のゲート線、つまり第1ゲート線Gate_nおよび第2ゲート線Gate_n+1に関連しており、これらゲート線は図2aに示したゲート線31および32と類似し、Gate_n+1は次の画素信号の第1ゲート線となることも可能である。ゲート線Gate_nは、スイッチング素子または薄膜トランジスタ(thin-film transistor,TFT)を介し、電圧電位Vp_AおよびVp_Bを有する各電極をデータ線(図2aに示したデータ線21と類似)に電気的に接続させるのに用いられる。本発明の他の実施例によれば、画素12において、4つの薄膜トランジスタをスイッチング素子として用いる。図5aに示すように、副画素Aの電極はTFT_1を介してデータ線に接続され、副画素Bの電極はTFT_2を介して当該データ線に接続される。副画素において、副画素Aに関連する液晶層の充電容量はClc_Aであり、副画素Aに形成される電荷蓄積キャパシタはCst_Aであって、液晶層両側に位置する電極と共通電圧との間の電圧電位を保つために用いられる(図3参照)。同様に、副画素において、副画素Bに関連する液晶層の充電容量はClc_Bであり、副画素Bに形成される電荷蓄積キャパシタはCst_Bであって、液晶層両側に位置する電極と共通電圧との間の電圧電位を保つために用いられる。
1例において、図5aに示すように、蓄積キャパシタCst_Aは2つの端を有しており、第1端は副画素Aの電極に接続され、第2端はスイッチング素子TFT_3を介して電圧源Vcomに接続される。各スイッチング素子TFT_1、TFT_2およびTFT_3はゲート線Gate_nに接続され、充電期間においてゲート線信号がオンの時、これらスイッチング素子は導通状態(conducting state)で動作される。これにより、電圧電位Vp_CがVcomまで充電され、充電期間において電圧電位Vp_AおよびVp_Bはほぼデータ線電圧レベルまで充電される(図6aに示すように)。第4スイッチング素子TFT_4は、蓄積キャパシタCst_Aの第2端と副画素Bの電極とを電気的に接続させるのに用いられる。TFT_4のゲートはゲート線Gate_n+1に接続され、ゲート線Gate_n+1のゲート線信号がオンの時、TFT_4は、充電期間後の電荷共有期間において導通状態で動作される(図6a参照)。
図5bは、図5aに示した画素構造の等価回路図を示す。充電期間、またはゲート線Gate_nのゲート線信号がオンの時、スイッチング素子TFT_1、TFT_2およびTFT_3はそれぞれ導通状態で動作される。充電期間が終了する時、電圧電位Vp_A及びVp_Bはデータ線信号の電圧レベルによって決められ、かつ電圧レベルVp_CはほぼVcomと同じようになる(図6a参照)。ゲート線Gate_nのゲート線信号が通過した後、スイッチング素子TFT_1、TFT_2およびTFT_3はそれぞれ非導通状態(non-conducting state)で動作される。蓄積キャパシタと液晶容量Cst_A、Cst_B、Clc_AおよびClc_Bのために、電圧電位Vp_A、Vp_BおよびVp_Cは放電によって僅かしか下がらない。ただし、Vp_Bは実質的にVp_Cより高い。電荷共有期間中、TFT_4は導通状態で動作され、Vp_Bは下がってVp_Cと等しくなる。この時、Vp_CがVcomより高くなり、そのため、Vp_Aが同時に上昇される。よって、副画素Aの電圧電位Vp_Aが副画素Bの電圧電位Vp_Bより高くなる。この電圧電位差は、ゲート線Gate_n+1のゲート線信号が通過した後もほぼ同じである。そのため、副画素Aの垂直電界が副画素Bの垂直電界より高い。故に、同一画素内の液晶分子が異なるドメインにおいて異なる方向に配向されるようになるので、液晶ディスプレイ装置のカラー品質が改善される。ここで注意すべきことは、容量Clc_AおよびClc_B及びキャパシタCst_Bの一端(図5b参照)が、図3に示す第2基板のVcomに接続されることである。本発明の1例では、同じVcomが図5a、図7および図8に示すTFT_3(例えばドレイン端)にも接続される。これにより、充電期間が終了しょうとする時、電圧Vp_Cが図6aに示すVcomとほぼ等しい。また本発明の別の実施例において、TFT_3に接続される直流電圧源がVcomとは異なり、第1基板または第2基板により提供されることも可能である。例えば、当該直流電圧がVcomより低くまたは高くでも良い。よって、TFT_3のドレイン電圧が、ポジティブフレーム(positive frame)とネガティブフレーム(negative frame)との間の電圧差(Vp_A−Vp_B)の平衡を保つように最適化される。
図6aに示すタイミング図において、データ電圧またはデータ線の電圧レベルは、充電期間(正電荷充電)においてVcomより高い。したがって、正電荷充電期間において、
データ電圧=Vp_A=Vp_B>Vp_C=Vcomであり、
電荷共有期間において、
Vp_A>Vp_B=Vp_C>Vcomである。
ここで注意すべきことは、本発明は負電荷充電にも適用可能である。負電荷充電の場合、図6bに示すように、充電期間において当該データ電圧がVcomより低い。よって負電荷充電期間では、
データ電圧=Vp_A=Vp_B<Vp_C=Vcomであり、
電荷共有期間では、
Vp_A<Vp_B=Vp_C<Vcomである。
図7および図8は本発明の異なる実施例を示している。図7に示す実施例では、Cst_Aの代わりにキャパシタCcsを用いて、副画素Aと副画素Bと間の電荷共有を実現する。よって、キャパシタCcsの第1端が副画素Aの電極に電気的に接続される。キャパシタCcsの第2端がTFT_3を介してVcomに接続され、かつ、TFT_4を介して副画素Bの電極に接続される。この実施例における画素構造の動作原理は図5aに示す実施例と類似している。
図8に示す実施例では、付加キャパシタCcsがVp_CおよびVp_Bに接続される。
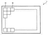
図11は、図2aに示したカラー画素12R、12Gおよび12Bのうちの任意の1つのようなカラー画素の例示的な設計レイアウトを示している。図11におけるゲート線Gate_nおよびGate_n+1は図2aのゲート線31および32に相当する。データ線DataはTFT_1およびTFT_2を介してVp_AおよびVp_Bの電極にそれぞれ接続される。Vp_Cの電気的導通経路はTFT_4を介してVp_Bの電極に接続され、かつTFT_3を介してVcomに接続される。データ線Data+1は隣接するカラー画素のデータ線である。
本発明は、図2aに示すようにトライゲート画素アレイを有する液晶ディスプレイ装置に適用することも可能である。図12は、図2bのカラー画素12R、12Gおよび12Bのうち任意の1つのようなカラー画素12の例示的な設計レイアウトを示している。図12におけるデータ線DataおよびData+1は図2bのデータ線21および22に相当する。データ線DataはTFT_1およびTFT_2を介してVp_AおよびVp_Bの電極にそれぞれ接続される。データ線Data+1は隣接するカラー画素のデータ線である。図12に示すカラー画素12が図2bに示す副画素12Rに相当するとすれば、ゲート線Gate_n、Gate_n+1およびGate_n+2は図2bのゲート線31、32および33に相当する。
従来のパターン化垂直配向型液晶ディスプレイ装置において、Vp_CとVcomの間に接続される付加キャパシタが、電荷共有期間においてVp_AとVp_B間の電荷共有に用いられる。当該付加キャパシタがカラー画素12の一部面積を占めるため、カラー画素の開口率(aperture ratio)が低下されてしまう。また、充電期間終了時、当該電圧電位Vp_CがVcomより高い。一方、本発明のその他の実施例によれば、充電期間終了時、電圧電位Vp_CがほぼVcomと等しい。よって、電荷共有前、従来のパターン化垂直配向型液晶ディスプレイ装置におけるVp_BとVp_C間の電圧電位差が、本発明の各実施例によるVp_BとVp_C間の電圧電位差より小さい。その結果、電荷共有後、従来のパターン化垂直配向型液晶ディスプレイ装置におけるVp_BとVp_C間の電圧電位差が、本発明の各実施例によるVp_BとVp_C間の電圧電位差より小さい。上記のような理由により、本発明の電荷共有方法によって、液晶ディスプレイ装置のカラー品質が向上される。
図6aおよび図6bのタイミング図は、ドット反転(dot inversion)駆動法を用いたときのデータ電圧レベルを示している。ドット反転駆動法において、時間フレームNの時、当該データ線電圧レベルは充電期間において高いレベルにあり、電荷共有期間において低いレベルにある。時間フレームN+1の時、データ線電圧レベルは充電期間において低いレベルにあり、電荷共有期間において高いレベルにある。注意すべきことは、本発明は2ライン(2-line)反転駆動法およびカラム(column)反転駆動法に適用することも可能である。2ライン反転駆動法による正電荷充電時、図9aに示すように、時間フレームNにおいてデータ線電圧レベルは充電期間または電荷共有期間のいずれにおいても高いレベルにある。2ライン反転駆動法による負電荷充電時、図9bに示すように、時間フレームN+1においてデータ線電圧レベルは充電期間または電荷共有期間のいずれにおいても低いレベルにある。また、カラム反転駆動法による正電荷充電時、図10aに示すように、時間フレームNにおいてデータ線電圧レベルは高いレベルにある。カラム反転駆動法による負電荷充電時、図10bに示すように、時間フレームN+1においてデータ線電圧レベルは低いレベルにある。
つまり、本発明の各実施例によれば、複数の画素を有する液晶ディスプレイ装置に用いる駆動方法は、
第1副画素の第1電極および第2副画素の第2電極を提供する工程、及び、
前記第1電極に接続される第1キャパシタ端および第2キャパシタ端を有するキャパシタを提供する工程、
を含み、
充電期間において、
第1および第2電極をデータ線に電気的に接続させ、当該データ線は第1電圧源に関連するデータ線電圧レベルを持ち、
第2キャパシタ端を第2電圧源に電気的に接続させ、
電荷共有期間において、
第1及び第2電極とデータ線とを電気的に切断させ、
第2キャパシタ端と第2電圧源とを電気的に切断させ、且つ、
第2キャパシタ端と第2電極を電気的に接続させ、電荷共有期間において第1電圧源に関連する第1電極の電圧電位を、第1電圧源に関連する第2電極の電圧電位より高くまたは低くする。
第1電圧源と第2電圧源は互いに電気的に独立している。第1電極は第1スイッチング素子を介してデータ線に接続され、第2電極は第2スイッチング素子を介してデータ線に接続され、かつ第2キャパシタ端は第3スイッチング素子を介して第2電圧源に接続される。前記第1、第2および第3スイッチング素子はそれぞれ導通状態および非導通状態で動作可能であり、充電期間において前記第1、第2および第3スイッチング素子はそれぞれ導通状態で動作され、電荷共有期間において前記第1、第2および第3スイッチング素子はそれぞれ非導通状態で動作される。前記第2キャパシタ端は第4スイッチング素子を介して第2電極に接続され、前記第4スイッチング素子は導通状態および非導通状態で動作可能であり、充電期間において当該第4スイッチング素子は非導通状態で動作され、電荷共有期間において当該第4スイッチング素子は導通状態で動作される。各画素は、充電期間においてゲート信号を供給するための第1ゲート線を含み、第1、第2および第3スイッチング素子はそれぞれトランジスタを含み、当該トランジスタは第1ゲート線に接続されるゲート端を有し、これによって、第1、第2および第3スイッチング素子がそれぞれ第1ゲート信号に応じて導通状態で動作される。各画素は、電荷共有期間において第2ゲート信号を供給するための第2ゲート線を更に含み、第4スイッチング素子は付加トランジスタを含み、当該付加トランジスタは第2ゲート線に接続されるゲート端を有することによって、第4スイッチング素子が第2ゲート信号により導通状態で動作される。電荷共有期間後の一定の期間内で、当該第1、第2、第3および第4スイッチング素子は非導通状態で動作され、及び、充電期間と電荷共有期間との間の一定の期間内においても、それぞれ非導通状態で動作される。その内、第4スイッチング素子の切り替えに用いられる第2ゲート線は、次の画素信号の第1ゲート線としても良く、従って、1ユニットの画素が1本のゲート信号のみを有するだけで良く、画素の光透過効率が高められる。
本発明の各実施例による液晶ディスプレイ装置は、第1基板、第2基板および液晶層を含む。当該液晶層は第1基板と第2基板との間に配置され、複数の画素を形成されており、そのうち、少なくとも一部の画素が第1副画素および第2副画素を有し、また、各画素は、充電期間後に電荷共有期間を有する。前記第1副画素は、第1基板に配置される第1電極を含み、当該第1電極は、第2基板の第1電圧レベルに関連する第1電圧電位を第1副画素中の液晶層に印加するのに用いられ、且つ、当該第1電極はキャパシタの第1端に電気的に接続される。
また、第2副画素は、第1基板に配置される第2電極を含み、当該第2電極は、前記第1電圧レベルに関連する第2電圧電位を第2副画素中の液晶層に印加するのに用いられる。
充電期間において、
第1および第2電極はデータ線に電気的に接続され、当該データ線は第1電圧レベルに関連するデータ線電圧レベルを持ち、
キャパシタの第2端は、第2電圧レベルを持つ電圧源に電気的に接続され、
電荷共有期間において、
第1および第2電極とデータ線とが電気的に切断され、
キャパシタの第2端と電圧源とが電気的に切断され、かつ、
キャパシタの第2端が第2電極に電気的に接続される。
そのうち、充電期間において当該データ線電圧レベルが第2電圧レベルより高い或いは低い。よって、電荷共有期間において、当該第1電圧レベルが第2電圧レベルより高い或いは低い。
前記液晶ディスプレイ装置は、第1電極とデータ線とを電気的に接続させる第1スイッチング素子と、第2電極とデータ線とを電気的に接続させる第2スイッチング素子と、キャパシタの第2端を同一または異なる電圧源に電気的に接続させる第3スイッチング素子と、を含み、前記第1、第2および第3スイッチング素子は、それぞれ導通状態および非導通状態で動作可能であり、充電期間において当該第1、第2および第3スイッチング素子はそれぞれ導通状態で動作され、電荷共有期間において当該第1、第2および第3スイッチング素子はそれぞれ非導通状態で動作される。前記液晶ディスプレイ装置は、キャパシタの第2端と第2電極とを電気的に接続させる第4スイッチング素子を更に含み、当該第4スイッチング素子は導通状態および非導通状態で動作可能であり、充電期間において当該第4スイッチング素子は非導通状態で動作され、電荷共有期間において当該第4スイッチング素子は導通状態で動作される。
本発明の1例によれば、各画素は、充電期間において第1ゲート信号を提供するための第1ゲート線を含み、第1、第2および第3スイッチング素子はトランジスタを含み、当該トランジスタは第1ゲート線に接続されるゲート端を有し、よって、第1、第2および第3スイッチング素子が第1ゲート信号によりそれぞれ導通状態で動作される。各画素は、電荷共有期間において第2ゲート信号を提供するための第2ゲート線を更に含み、第4スイッチング素子は付加トランジスタを含み、当該付加トランジスタが第2ゲート線に接続されるゲート端を有し、これによって第4スイッチング素子が第2ゲート信号により導通状態で動作される。電荷共有期間後の一定の期間内に、当該第1、第2、第3および第4スイッチング素子はそれぞれ非導通状態で動作され、かつ、充電期間と電荷共有期間との間の一定の期間内において、それぞれ非導通状態で動作される。
以上、本発明の好適な実施例をあげ説明したが、本発明はこれら実施例により限定されるものではない。当業者であれば、本発明の精神と範囲を逸脱しない限り、多少の変更や潤色を加えることができる。よって、本発明の保護範囲は特許請求の範囲の記載を基準とする。
1 液晶ディスプレイパネル
10 画素
12 画素
12R、12G、12B 副画素
21、22、23、24 データ線
Data、Data+1 データ線
31、32、33、34 ゲート線
Gate_n、Gate_n+1、Gate_n+2 ゲート線
TFT_1、TFT_2、TFT_3、TFT_4 薄膜トランジスタ
Cst_A、Cst_B、Ccs キャパシタ

Claims (24)

  1. 液晶ディスプレイ装置の駆動方法であって、前記液晶ディスプレイ装置は複数の画素を有し、前記複数の画素において、少なくとも一部の画素が第1副画素および第2副画素を有しており、各前記画素は充電期間の後に電荷共有期間を有し、前記駆動方法は、
    前記第1副画素の第1電極および前記第2副画素の第2電極を提供する工程と、
    前記第1電極に接続される第1キャパシタ端および第2キャパシタ端を有するキャパシタを提供する工程と、
    を含み、
    前記充電期間において、
    前記第1電極および第2電極をデータ線に電気的に接続させ、前記データ線は第1電圧源に関連するデータ線電圧レベルを持ち、
    前記第2キャパシタ端を第2電圧源に電気的に接続させ、
    前記電荷共有期間において、
    前記第1及び第2電極を前記データ線から電気的に切断し、
    前記第2キャパシタ端を前記第2電圧源から電気的に切断し、かつ、
    前記第2キャパシタ端を前記第2電極に電気的に接続させ、これにより前記電荷共有期間において、前記第1電圧源に関連する前記第1電極の電圧電位が、前記第1電圧源に関連する前記第2電極の電圧電位と異なることを特徴とする駆動方法。
  2. 前記充電期間において、前記データ線電圧レベルが前記第2電圧源より高いため、前記電荷共有期間において、前記第1電圧源に関連する前記第1電極の前記電圧電位が、前記第1電圧源に関連する前記第2電極の前記電圧電位より高いことを特徴とする請求項1に記載の駆動方法。
  3. 前記充電期間において前記データ線電圧レベルが前記第2電圧源より低いため、前記電荷共有期間において、前記第1電圧源に関連する前記第1電極の前記電圧電位が、前記第1電圧源に関連する前記第2電極の前記電圧電位より低いことを特徴とする請求項1に記載の駆動方法。
  4. 前記第1電圧源と前記第2電圧源がそれぞれ独立していることを特徴とする請求項1に記載の駆動方法。
  5. 前記第1電極が第1スイッチング素子を介して前記データ線に接続され、
    前記第2電極が第2スイッチング素子を介して前記データ線に接続され、
    前記第2キャパシタ端が第3スイッチング素子を介して前記第2電圧源に接続され、
    前記第1、第2および第3スイッチング素子はそれぞれ導通状態及び非導通状態で動作可能であり、前記充電期間において、前記第1、第2および第3スイッチング素子はそれぞれ前記導通状態で動作され、前記電荷共有期間において前記第1、第2および第3スイッチング素子はそれぞれ前記非導通状態で動作されることを特徴とする請求項1に記載の駆動方法。
  6. 前記第2キャパシタ端が第4スイッチング素子を介して前記第2電極に接続され、前記第4スイッチング素子は前記導通状態及び前記非導通状態で動作可能であり、前記充電期間において前記第4スイッチング素子は前記非導通状態で動作され、前記電荷共有期間において前記第4スイッチング素子は前記導通状態で動作されることを特徴とする請求項5に記載の駆動方法。
  7. 各画素が、前記充電期間に第1ゲート信号を供給するための第1ゲート線を含み、前記第1、第2および第3スイッチング素子がそれぞれトランジスタを含み、且つ、前記トランジスタがそれぞれ前記第1ゲート線に接続されるゲート端を有することで、前記第1、第2および第3スイッチング素子が前記第1ゲート信号によりそれぞれ前記導通状態で動作されることを特徴とする請求項6に記載の駆動方法。
  8. 各画素が、前記電荷共有期間に第2ゲート信号を供給するための第2ゲート線を更に含み、かつ、前記第4スイッチング素子が付加トランジスタを含み、前記付加トランジスタが前記第2ゲート線に接続されるゲート端を有することで、前記第4スイッチング素子が前記第2ゲート信号により前記導通状態で動作されることを特徴とする請求項7に記載の駆動方法。
  9. 前記電荷共有期間後の一定の期間内に、前記第1、第2、第3および第4スイッチング素子がそれぞれ前記非導通状態で動作されることを特徴とする請求項8に記載の駆動方法。
  10. 前記充電期間と前記電荷共有期間との間の一定の期間内に、前記第1、第2、第3及び第4スイッチング素子がそれぞれ前記非導通状態で動作されることを特徴とする請求項8に記載の駆動方法。
  11. 前記各画素が、カラー画素中の複数のカラーセクション(color section)のうちの1つであることを特徴とする請求項1に記載の駆動方法。
  12. 前記カラーセクションは、赤色、青色および緑色のカラーセクションを含むことを特徴とする請求項11に記載の駆動方法。
  13. 液晶ディスプレイ装置であって、
    第1基板と、
    第2基板と、
    前記第1基板と第2基板との間に配置されて、複数の画素を形成する液晶層と、
    を含み、
    前記複数の画素において、少なくとも一部の画素が第1副画素および第2副画素を有しており、前記各画素は充電期間の後に電荷共有期間を有し、
    前記第1副画素は、前記第1基板に配置され且つキャパシタの第1端に電気的に接続される第1電極を含み、前記第1電極は前記第2基板の第1電圧レベルに関連する第1電圧電位を前記第1副画素中の前記液晶層に印加するのに用いられ、
    前記第2副画素は、前記第1基板に配置される第2電極を含み、前記第2電極は前記第1電圧レベルに関連する第2電圧電位を前記第2副画素中の前記液晶層に印加するのに用いられ、
    前記充電期間において、
    前記第1電極と第2電極がデータ線に電気的に接続され、前記データ線は前記第1電圧レベルに関連するデータ線電圧レベルを持ち、
    前記キャパシタの第2端が、第2電圧レベルを持つ電圧源に電気的に接続され、
    前記電荷共有期間において、
    前記第1電極と第2電極が前記データ線から電気的に切断され、
    前記キャパシタの第2端が前記電圧源から電気的に切断され、及び、
    前記キャパシタの第2端が前記第2電極に電気的に接続され、前記キャパシタの第2端と前記第2電極は初期の電位が異なるため、電荷の再配分が起き、これにより前記キャパシタの第2端と前記第2電極の電位が、異なる電位から同じ電位になり、よって、前記電荷共有期間において、前記第1電圧レベルと前記第2電圧レベルが異なることを特徴とする液晶ディスプレイ装置。
  14. 前記充電期間において、前記データ線電圧レベルが前記第2電圧源より高いため、前記電荷共有期間において、前記第1電圧源に関連する前記第1電極の前記電圧電位が、前記第1電圧源に関連する前記第2電極の前記電圧電位より高いことを特徴とする請求項13に記載の液晶ディスプレイ装置。
  15. 前記充電期間において、前記データ線電圧レベルが前記第2電圧源より低いため、前記電荷共有期間において、前記第1電圧源に関連する前記第1電極の前記電圧電位が、前記第1電圧源に関連する前記第2電極の前記電圧電位より低いことを特徴とする請求項13に記載の液晶ディスプレイ装置。
  16. 前記第1電圧源と前記第2電圧源の電圧レベルが異なることを特徴とする請求項13に記載の液晶ディスプレイ装置。
  17. 前記第1電極を前記データ線に電気的に接続させるための第1スイッチング素子と、
    前記第2電極を前記データ線に電気的に接続させるための第2スイッチング素子と、
    前記キャパシタの前記第2端を前記第2電圧源に電気的に接続させるための第3スイッチング素子と、
    を更に含み、
    前記第1、第2および第3スイッチング素子はそれぞれ導通状態および非導通状態で動作可能であり、前記充電期間において前記第1、第2および第3スイッチング素子はそれぞれ前記導通状態で動作され、前記電荷共有期間において前記第1、第2および第3スイッチング素子はそれぞれ前記非導通状態で動作されることを特徴とする請求項13に記載の液晶ディスプレイ装置。
  18. 前記キャパシタの第2端を前記第2電極に電気的に接続させるための第4スイッチング素子を更に含み、前記第4スイッチング素子は前記導通状態および前記非導通状態で動作可能であり、前記充電期間において前記第4スイッチング素子は前記非導通状態で動作され、前記電荷共有期間において前記第4スイッチング素子は前記導通状態で動作されることを特徴とする請求項17に記載の液晶ディスプレイ装置。
  19. 前記各画素が、前記充電期間に第1ゲート信号を供給するための第1ゲート線を含み、前記第1、第2および第3スイッチング素子がそれぞれトランジスタを含み、前記トランジスタが前記第1ゲート線に接続されるゲート端を有することで、前記第1、第2および第3スイッチング素子が前記第1ゲート信号によりそれぞれ前記導通状態で動作されることを特徴とする請求項18に記載の液晶ディスプレイ装置。
  20. 前記各画素が、前記電荷共有期間に第2ゲート信号を供給するための第2ゲート線を更に含み、前記第4スイッチング素子が付加トランジスタを含み、前記付加トランジスタが前記第2ゲート線に接続されるゲート端を有することで、前記第4スイッチング素子が前記第2ゲート信号により前記導通状態で動作されることを特徴とする請求項19に記載の液晶ディスプレイ装置。
  21. 前記電荷共有期間後の一定の期間内において、前記第1、第2、第3および第4スイッチング素子がそれぞれ前記非導通状態で動作されることを特徴とする請求項20に記載の液晶ディスプレイ装置。
  22. 前記充電期間と前記電荷共有期間との間の一定の期間内において、前記第1、第2、第3および第4スイッチング素子がそれぞれ前記非導通状態で動作されることを特徴とする請求項20に記載の液晶ディスプレイ装置。
  23. 前記各画素が、カラー画素中の複数のカラーセクション(color section)のうちの1つであることを特徴とする請求項13に記載の液晶ディスプレイ装置。
  24. 前記カラーセクションが、赤色、青色および緑色のカラーセクションを含むことを特徴とする請求項23に記載の液晶ディスプレイ装置。
JP2009155235A 2008-07-10 2009-06-30 液晶ディスプレイ装置 Active JP4966341B2 (ja)

Applications Claiming Priority (2)

Application Number Priority Date Filing Date Title
US12/218,224 US8373633B2 (en) 2008-07-10 2008-07-10 Multi-domain vertical alignment liquid crystal display with charge sharing
US12/218,224 2008-07-10

Publications (2)

Publication Number Publication Date
JP2010020302A true JP2010020302A (ja) 2010-01-28
JP4966341B2 JP4966341B2 (ja) 2012-07-04

Family

ID=41002792

Family Applications (1)

Application Number Title Priority Date Filing Date
JP2009155235A Active JP4966341B2 (ja) 2008-07-10 2009-06-30 液晶ディスプレイ装置

Country Status (4)

Country Link
US (1) US8373633B2 (ja)
JP (1) JP4966341B2 (ja)
CN (1) CN101510414A (ja)
TW (1) TWI407422B (ja)

Cited By (7)

* Cited by examiner, † Cited by third party
Publication number Priority date Publication date Assignee Title
JP2011175262A (ja) * 2010-02-23 2011-09-08 Au Optronics Corp 液晶ディスプレイの視覚増強駆動回路および方法
KR101108702B1 (ko) 2010-04-23 2012-01-30 주식회사 지니틱스 터치스크린 장치, 터치패널의 구동장치 및 구동방법
KR101108703B1 (ko) 2010-03-18 2012-01-30 주식회사 지니틱스 터치스크린 장치, 터치패널의 구동장치 및 구동방법
WO2012111476A1 (ja) * 2011-02-14 2012-08-23 シャープ株式会社 表示装置およびその駆動方法
KR20130033802A (ko) * 2011-09-27 2013-04-04 삼성디스플레이 주식회사 액정표시장치
JP2019536109A (ja) * 2016-12-27 2019-12-12 深▲せん▼市華星光電技術有限公司Shenzhen China Star Optoelectronics Technology Co., Ltd. 駆動回路及び表示パネル
WO2020058798A1 (ja) * 2018-09-21 2020-03-26 株式会社半導体エネルギー研究所 表示装置および電子機器

Families Citing this family (22)

* Cited by examiner, † Cited by third party
Publication number Priority date Publication date Assignee Title
US8232947B2 (en) * 2008-11-14 2012-07-31 Semiconductor Energy Laboratory Co., Ltd. Liquid crystal display device
US20120188297A1 (en) * 2009-10-23 2012-07-26 Sharp Kabushiki Kaisha Display device
US8854561B2 (en) * 2009-11-13 2014-10-07 Au Optronics Corporation Liquid crystal display panel with charge sharing scheme
KR101793176B1 (ko) * 2010-08-05 2017-11-03 삼성디스플레이 주식회사 표시 장치
TWI423241B (zh) * 2010-12-27 2014-01-11 Au Optronics Corp 液晶顯示裝置之驅動方法
TWI421849B (zh) * 2010-12-30 2014-01-01 Au Optronics Corp 液晶顯示裝置
TWI460517B (zh) * 2011-11-18 2014-11-11 Au Optronics Corp 顯示面板及其中畫素結構以及顯示面板中之驅動方法
TWI493519B (zh) 2012-03-09 2015-07-21 Au Optronics Corp 畫素電路
CN102591083B (zh) * 2012-03-20 2014-11-19 深圳市华星光电技术有限公司 电荷分享型像素结构
TWI449024B (zh) * 2012-08-03 2014-08-11 Au Optronics Corp 畫素電路、畫素結構、可切換二維/三維顯示裝置及其顯示驅動方法
CN103268043B (zh) * 2013-05-24 2015-08-19 深圳市华星光电技术有限公司 一种阵列基板及液晶显示装置
CN103353680B (zh) * 2013-07-05 2015-08-19 京东方科技集团股份有限公司 液晶像素单元驱动方法和装置
TWI505256B (zh) 2013-08-06 2015-10-21 Au Optronics Corp 畫素驅動方法
CN103760725B (zh) * 2013-12-25 2016-08-17 深圳市华星光电技术有限公司 一种阵列基板及液晶显示面板和驱动方法
CN103676389A (zh) 2013-12-26 2014-03-26 深圳市华星光电技术有限公司 像素结构
KR102196908B1 (ko) * 2014-07-18 2020-12-31 삼성디스플레이 주식회사 유기전계발광 표시장치 및 그의 구동방법
CN104216187B (zh) * 2014-09-04 2017-08-15 深圳市华星光电技术有限公司 像素结构、液晶显示面板及其驱动方法
CN104375294B (zh) * 2014-11-24 2017-03-15 深圳市华星光电技术有限公司 一种显示面板的检测电路及其检测方法
CN105280150B (zh) * 2015-11-13 2017-09-01 深圳市华星光电技术有限公司 像素驱动电路、阵列基板及液晶面板
TWI616861B (zh) * 2017-07-21 2018-03-01 友達光電股份有限公司 主動矩陣式液晶顯示裝置
CN107272237B (zh) * 2017-08-14 2020-02-18 深圳市华星光电技术有限公司 三薄膜晶体管结构的液晶显示器及显示装置
CN111812901B (zh) * 2020-07-08 2023-03-31 深圳市华星光电半导体显示技术有限公司 阵列基板及显示面板

Citations (1)

* Cited by examiner, † Cited by third party
Publication number Priority date Publication date Assignee Title
JP2009128900A (ja) * 2007-11-26 2009-06-11 Samsung Electronics Co Ltd 液晶表示装置

Family Cites Families (8)

* Cited by examiner, † Cited by third party
Publication number Priority date Publication date Assignee Title
GB0221745D0 (en) * 2002-09-19 2002-10-30 Koninkl Philips Electronics Nv Active martrix display
TWI230914B (en) 2003-03-12 2005-04-11 Au Optronics Corp Circuit of current driving active matrix organic light emitting diode pixel and driving method thereof
TWI241445B (en) 2004-04-16 2005-10-11 Chunghwa Picture Tubes Ltd Multi-domain homeotropic alignment liquid crystal display panel
US7652649B2 (en) * 2005-06-15 2010-01-26 Au Optronics Corporation LCD device with improved optical performance
KR100877218B1 (ko) 2006-05-22 2009-01-07 세심광전자기술(주) 다중 도메인 수직 배향 액정표시소자
US7952553B2 (en) * 2006-06-12 2011-05-31 Samsung Electronics Co., Ltd. Amplifier circuits in which compensation capacitors can be cross-connected so that the voltage level at an output node can be reset to about one-half a difference between a power voltage level and a common reference voltage level and methods of operating the same
KR101295298B1 (ko) * 2006-07-28 2013-08-08 삼성디스플레이 주식회사 액정 표시 장치
KR101358334B1 (ko) * 2007-07-24 2014-02-06 삼성디스플레이 주식회사 액정 표시 장치 및 그 구동 방법

Patent Citations (1)

* Cited by examiner, † Cited by third party
Publication number Priority date Publication date Assignee Title
JP2009128900A (ja) * 2007-11-26 2009-06-11 Samsung Electronics Co Ltd 液晶表示装置

Cited By (11)

* Cited by examiner, † Cited by third party
Publication number Priority date Publication date Assignee Title
JP2011175262A (ja) * 2010-02-23 2011-09-08 Au Optronics Corp 液晶ディスプレイの視覚増強駆動回路および方法
KR101108703B1 (ko) 2010-03-18 2012-01-30 주식회사 지니틱스 터치스크린 장치, 터치패널의 구동장치 및 구동방법
KR101108702B1 (ko) 2010-04-23 2012-01-30 주식회사 지니틱스 터치스크린 장치, 터치패널의 구동장치 및 구동방법
WO2012111476A1 (ja) * 2011-02-14 2012-08-23 シャープ株式会社 表示装置およびその駆動方法
KR20130033802A (ko) * 2011-09-27 2013-04-04 삼성디스플레이 주식회사 액정표시장치
KR101941984B1 (ko) * 2011-09-27 2019-04-12 삼성디스플레이 주식회사 액정표시장치
JP2019536109A (ja) * 2016-12-27 2019-12-12 深▲せん▼市華星光電技術有限公司Shenzhen China Star Optoelectronics Technology Co., Ltd. 駆動回路及び表示パネル
WO2020058798A1 (ja) * 2018-09-21 2020-03-26 株式会社半導体エネルギー研究所 表示装置および電子機器
JPWO2020058798A1 (ja) * 2018-09-21 2021-10-21 株式会社半導体エネルギー研究所 表示装置および電子機器
US11435637B2 (en) 2018-09-21 2022-09-06 Semiconductor Energy Laboratory Co., Ltd. Display apparatus and electronic device
JP7315572B2 (ja) 2018-09-21 2023-07-26 株式会社半導体エネルギー研究所 表示装置および電子機器

Also Published As

Publication number Publication date
TW201003622A (en) 2010-01-16
JP4966341B2 (ja) 2012-07-04
US8373633B2 (en) 2013-02-12
CN101510414A (zh) 2009-08-19
TWI407422B (zh) 2013-09-01
US20100007594A1 (en) 2010-01-14

Similar Documents

Publication Publication Date Title
JP4966341B2 (ja) 液晶ディスプレイ装置
CN101819365B (zh) 液晶显示面板及其像素列的驱动方法
JP5616662B2 (ja) 液晶表示装置
US9019186B2 (en) Liquid crystal display device
KR101675839B1 (ko) 액정표시장치 및 그 구동방법
US20090027578A1 (en) Display device and method of driving the same
US8836903B2 (en) Liquid crystal display
JP5342004B2 (ja) 液晶表示装置
WO2008018552A1 (en) Liquid crystal display
CN101995719B (zh) 液晶显示器
US10209580B2 (en) Liquid crystal display device
US8289255B2 (en) Electro-optical apparatus and display thereof
US8842062B2 (en) Pixel driving circuit, driving method thereof, and pixel matrix
JP2009031674A (ja) 液晶表示装置
CN106353938A (zh) 显示面板
US20040239605A1 (en) Device and method for driving polarity inversion of electrodes of LCD panel
KR20120008381A (ko) 액정 표시 장치
JP4501979B2 (ja) 液晶表示装置
US10607555B2 (en) Liquid crystal display panel
JP2013117680A (ja) 液晶表示装置および液晶表示装置の駆動方法

Legal Events

Date Code Title Description
A977 Report on retrieval

Free format text: JAPANESE INTERMEDIATE CODE: A971007

Effective date: 20111130

A131 Notification of reasons for refusal

Free format text: JAPANESE INTERMEDIATE CODE: A131

Effective date: 20111213

A521 Request for written amendment filed

Free format text: JAPANESE INTERMEDIATE CODE: A523

Effective date: 20120307

TRDD Decision of grant or rejection written
A01 Written decision to grant a patent or to grant a registration (utility model)

Free format text: JAPANESE INTERMEDIATE CODE: A01

Effective date: 20120327

A01 Written decision to grant a patent or to grant a registration (utility model)

Free format text: JAPANESE INTERMEDIATE CODE: A01

A61 First payment of annual fees (during grant procedure)

Free format text: JAPANESE INTERMEDIATE CODE: A61

Effective date: 20120330

R150 Certificate of patent or registration of utility model

Ref document number: 4966341

Country of ref document: JP

Free format text: JAPANESE INTERMEDIATE CODE: R150

Free format text: JAPANESE INTERMEDIATE CODE: R150

FPAY Renewal fee payment (event date is renewal date of database)

Free format text: PAYMENT UNTIL: 20150406

Year of fee payment: 3

R250 Receipt of annual fees

Free format text: JAPANESE INTERMEDIATE CODE: R250

R250 Receipt of annual fees

Free format text: JAPANESE INTERMEDIATE CODE: R250

R250 Receipt of annual fees

Free format text: JAPANESE INTERMEDIATE CODE: R250

R250 Receipt of annual fees

Free format text: JAPANESE INTERMEDIATE CODE: R250

R250 Receipt of annual fees

Free format text: JAPANESE INTERMEDIATE CODE: R250

R250 Receipt of annual fees

Free format text: JAPANESE INTERMEDIATE CODE: R250

R250 Receipt of annual fees

Free format text: JAPANESE INTERMEDIATE CODE: R250

R250 Receipt of annual fees

Free format text: JAPANESE INTERMEDIATE CODE: R250

R250 Receipt of annual fees

Free format text: JAPANESE INTERMEDIATE CODE: R250

R250 Receipt of annual fees

Free format text: JAPANESE INTERMEDIATE CODE: R250

R250 Receipt of annual fees

Free format text: JAPANESE INTERMEDIATE CODE: R250