JP2010019555A - ガスセンサ - Google Patents
ガスセンサ Download PDFInfo
- Publication number
- JP2010019555A JP2010019555A JP2008177498A JP2008177498A JP2010019555A JP 2010019555 A JP2010019555 A JP 2010019555A JP 2008177498 A JP2008177498 A JP 2008177498A JP 2008177498 A JP2008177498 A JP 2008177498A JP 2010019555 A JP2010019555 A JP 2010019555A
- Authority
- JP
- Japan
- Prior art keywords
- gas
- sensitive layer
- conductivity type
- side electrode
- electrode
- Prior art date
- Legal status (The legal status is an assumption and is not a legal conclusion. Google has not performed a legal analysis and makes no representation as to the accuracy of the status listed.)
- Granted
Links
- 239000000758 substrate Substances 0.000 claims abstract description 49
- 239000004065 semiconductor Substances 0.000 claims abstract description 44
- 150000003839 salts Chemical class 0.000 claims description 27
- 230000035945 sensitivity Effects 0.000 claims description 9
- 239000007784 solid electrolyte Substances 0.000 claims description 9
- 239000003054 catalyst Substances 0.000 abstract description 25
- 230000004044 response Effects 0.000 abstract description 16
- 238000004519 manufacturing process Methods 0.000 abstract description 13
- 102000004129 N-Type Calcium Channels Human genes 0.000 abstract description 11
- 108090000699 N-Type Calcium Channels Proteins 0.000 abstract description 11
- 239000007789 gas Substances 0.000 description 103
- 108091006146 Channels Proteins 0.000 description 40
- MWUXSHHQAYIFBG-UHFFFAOYSA-N Nitric oxide Chemical compound O=[N] MWUXSHHQAYIFBG-UHFFFAOYSA-N 0.000 description 30
- 150000002500 ions Chemical class 0.000 description 24
- 230000008859 change Effects 0.000 description 22
- 238000001179 sorption measurement Methods 0.000 description 15
- 238000001514 detection method Methods 0.000 description 11
- 230000007774 longterm Effects 0.000 description 8
- 230000004048 modification Effects 0.000 description 8
- 238000012986 modification Methods 0.000 description 8
- 229910052751 metal Inorganic materials 0.000 description 6
- 239000002184 metal Substances 0.000 description 6
- 239000000843 powder Substances 0.000 description 5
- 230000009467 reduction Effects 0.000 description 5
- CURLTUGMZLYLDI-UHFFFAOYSA-N Carbon dioxide Chemical compound O=C=O CURLTUGMZLYLDI-UHFFFAOYSA-N 0.000 description 4
- 238000010586 diagram Methods 0.000 description 4
- XTQHKBHJIVJGKJ-UHFFFAOYSA-N sulfur monoxide Chemical compound S=O XTQHKBHJIVJGKJ-UHFFFAOYSA-N 0.000 description 4
- 239000012298 atmosphere Substances 0.000 description 3
- 238000005229 chemical vapour deposition Methods 0.000 description 3
- 239000000446 fuel Substances 0.000 description 3
- BASFCYQUMIYNBI-UHFFFAOYSA-N platinum Chemical compound [Pt] BASFCYQUMIYNBI-UHFFFAOYSA-N 0.000 description 3
- -1 rare earth nitrates Chemical class 0.000 description 3
- MGWGWNFMUOTEHG-UHFFFAOYSA-N 4-(3,5-dimethylphenyl)-1,3-thiazol-2-amine Chemical compound CC1=CC(C)=CC(C=2N=C(N)SC=2)=C1 MGWGWNFMUOTEHG-UHFFFAOYSA-N 0.000 description 2
- VTYYLEPIZMXCLO-UHFFFAOYSA-L Calcium carbonate Chemical compound [Ca+2].[O-]C([O-])=O VTYYLEPIZMXCLO-UHFFFAOYSA-L 0.000 description 2
- BVKZGUZCCUSVTD-UHFFFAOYSA-L Carbonate Chemical compound [O-]C([O-])=O BVKZGUZCCUSVTD-UHFFFAOYSA-L 0.000 description 2
- 229910013553 LiNO Inorganic materials 0.000 description 2
- IOVCWXUNBOPUCH-UHFFFAOYSA-M Nitrite anion Chemical compound [O-]N=O IOVCWXUNBOPUCH-UHFFFAOYSA-M 0.000 description 2
- CDBYLPFSWZWCQE-UHFFFAOYSA-L Sodium Carbonate Chemical compound [Na+].[Na+].[O-]C([O-])=O CDBYLPFSWZWCQE-UHFFFAOYSA-L 0.000 description 2
- UIIMBOGNXHQVGW-UHFFFAOYSA-M Sodium bicarbonate Chemical compound [Na+].OC([O-])=O UIIMBOGNXHQVGW-UHFFFAOYSA-M 0.000 description 2
- RAHZWNYVWXNFOC-UHFFFAOYSA-N Sulphur dioxide Chemical compound O=S=O RAHZWNYVWXNFOC-UHFFFAOYSA-N 0.000 description 2
- 230000008901 benefit Effects 0.000 description 2
- 230000033228 biological regulation Effects 0.000 description 2
- ZCCIPPOKBCJFDN-UHFFFAOYSA-N calcium nitrate Chemical compound [Ca+2].[O-][N+]([O-])=O.[O-][N+]([O-])=O ZCCIPPOKBCJFDN-UHFFFAOYSA-N 0.000 description 2
- 239000001569 carbon dioxide Substances 0.000 description 2
- 229910002092 carbon dioxide Inorganic materials 0.000 description 2
- 239000010949 copper Substances 0.000 description 2
- 238000010494 dissociation reaction Methods 0.000 description 2
- 230000005593 dissociations Effects 0.000 description 2
- XEEYBQQBJWHFJM-UHFFFAOYSA-N iron Substances [Fe] XEEYBQQBJWHFJM-UHFFFAOYSA-N 0.000 description 2
- IIPYXGDZVMZOAP-UHFFFAOYSA-N lithium nitrate Chemical compound [Li+].[O-][N+]([O-])=O IIPYXGDZVMZOAP-UHFFFAOYSA-N 0.000 description 2
- 239000011777 magnesium Substances 0.000 description 2
- YIXJRHPUWRPCBB-UHFFFAOYSA-N magnesium nitrate Chemical compound [Mg+2].[O-][N+]([O-])=O.[O-][N+]([O-])=O YIXJRHPUWRPCBB-UHFFFAOYSA-N 0.000 description 2
- 229910001960 metal nitrate Inorganic materials 0.000 description 2
- 229910044991 metal oxide Inorganic materials 0.000 description 2
- 150000004706 metal oxides Chemical class 0.000 description 2
- 238000000034 method Methods 0.000 description 2
- JCXJVPUVTGWSNB-UHFFFAOYSA-N nitrogen dioxide Inorganic materials O=[N]=O JCXJVPUVTGWSNB-UHFFFAOYSA-N 0.000 description 2
- 238000003672 processing method Methods 0.000 description 2
- 229910052761 rare earth metal Inorganic materials 0.000 description 2
- VWDWKYIASSYTQR-UHFFFAOYSA-N sodium nitrate Chemical compound [Na+].[O-][N+]([O-])=O VWDWKYIASSYTQR-UHFFFAOYSA-N 0.000 description 2
- LPXPTNMVRIOKMN-UHFFFAOYSA-M sodium nitrite Chemical compound [Na+].[O-]N=O LPXPTNMVRIOKMN-UHFFFAOYSA-M 0.000 description 2
- 238000004544 sputter deposition Methods 0.000 description 2
- 238000001771 vacuum deposition Methods 0.000 description 2
- OERNJTNJEZOPIA-UHFFFAOYSA-N zirconium nitrate Chemical compound [Zr+4].[O-][N+]([O-])=O.[O-][N+]([O-])=O.[O-][N+]([O-])=O.[O-][N+]([O-])=O OERNJTNJEZOPIA-UHFFFAOYSA-N 0.000 description 2
- MFEVGQHCNVXMER-UHFFFAOYSA-L 1,3,2$l^{2}-dioxaplumbetan-4-one Chemical compound [Pb+2].[O-]C([O-])=O MFEVGQHCNVXMER-UHFFFAOYSA-L 0.000 description 1
- ZXSQEZNORDWBGZ-UHFFFAOYSA-N 1,3-dihydropyrrolo[2,3-b]pyridin-2-one Chemical compound C1=CN=C2NC(=O)CC2=C1 ZXSQEZNORDWBGZ-UHFFFAOYSA-N 0.000 description 1
- BVKZGUZCCUSVTD-UHFFFAOYSA-M Bicarbonate Chemical compound OC([O-])=O BVKZGUZCCUSVTD-UHFFFAOYSA-M 0.000 description 1
- XURCIPRUUASYLR-UHFFFAOYSA-N Omeprazole sulfide Chemical compound N=1C2=CC(OC)=CC=C2NC=1SCC1=NC=C(C)C(OC)=C1C XURCIPRUUASYLR-UHFFFAOYSA-N 0.000 description 1
- XUIMIQQOPSSXEZ-UHFFFAOYSA-N Silicon Chemical compound [Si] XUIMIQQOPSSXEZ-UHFFFAOYSA-N 0.000 description 1
- AZFNGPAYDKGCRB-XCPIVNJJSA-M [(1s,2s)-2-amino-1,2-diphenylethyl]-(4-methylphenyl)sulfonylazanide;chlororuthenium(1+);1-methyl-4-propan-2-ylbenzene Chemical compound [Ru+]Cl.CC(C)C1=CC=C(C)C=C1.C1=CC(C)=CC=C1S(=O)(=O)[N-][C@@H](C=1C=CC=CC=1)[C@@H](N)C1=CC=CC=C1 AZFNGPAYDKGCRB-XCPIVNJJSA-M 0.000 description 1
- QVGXLLKOCUKJST-UHFFFAOYSA-N atomic oxygen Chemical compound [O] QVGXLLKOCUKJST-UHFFFAOYSA-N 0.000 description 1
- AYJRCSIUFZENHW-UHFFFAOYSA-L barium carbonate Chemical compound [Ba+2].[O-]C([O-])=O AYJRCSIUFZENHW-UHFFFAOYSA-L 0.000 description 1
- IWOUKMZUPDVPGQ-UHFFFAOYSA-N barium nitrate Chemical compound [Ba+2].[O-][N+]([O-])=O.[O-][N+]([O-])=O IWOUKMZUPDVPGQ-UHFFFAOYSA-N 0.000 description 1
- GJTDJAPHKDIQIQ-UHFFFAOYSA-L barium(2+);dinitrite Chemical compound [Ba+2].[O-]N=O.[O-]N=O GJTDJAPHKDIQIQ-UHFFFAOYSA-L 0.000 description 1
- 229910000011 cadmium carbonate Inorganic materials 0.000 description 1
- GKDXQAKPHKQZSC-UHFFFAOYSA-L cadmium(2+);carbonate Chemical compound [Cd+2].[O-]C([O-])=O GKDXQAKPHKQZSC-UHFFFAOYSA-L 0.000 description 1
- ZMCUDHNSHCRDBT-UHFFFAOYSA-M caesium bicarbonate Chemical compound [Cs+].OC([O-])=O ZMCUDHNSHCRDBT-UHFFFAOYSA-M 0.000 description 1
- FJDQFPXHSGXQBY-UHFFFAOYSA-L caesium carbonate Chemical compound [Cs+].[Cs+].[O-]C([O-])=O FJDQFPXHSGXQBY-UHFFFAOYSA-L 0.000 description 1
- 229910000024 caesium carbonate Inorganic materials 0.000 description 1
- 239000011575 calcium Substances 0.000 description 1
- 229910000019 calcium carbonate Inorganic materials 0.000 description 1
- 229910052799 carbon Inorganic materials 0.000 description 1
- 239000000969 carrier Substances 0.000 description 1
- ODPUKHWKHYKMRK-UHFFFAOYSA-N cerium;nitric acid Chemical compound [Ce].O[N+]([O-])=O ODPUKHWKHYKMRK-UHFFFAOYSA-N 0.000 description 1
- AJAFRMGZWFDZAS-UHFFFAOYSA-M cesium;nitrite Chemical compound [Cs+].[O-]N=O AJAFRMGZWFDZAS-UHFFFAOYSA-M 0.000 description 1
- 239000003795 chemical substances by application Substances 0.000 description 1
- UFMZWBIQTDUYBN-UHFFFAOYSA-N cobalt dinitrate Chemical compound [Co+2].[O-][N+]([O-])=O.[O-][N+]([O-])=O UFMZWBIQTDUYBN-UHFFFAOYSA-N 0.000 description 1
- 229910001981 cobalt nitrate Inorganic materials 0.000 description 1
- ZOTKGJBKKKVBJZ-UHFFFAOYSA-L cobalt(2+);carbonate Chemical compound [Co+2].[O-]C([O-])=O ZOTKGJBKKKVBJZ-UHFFFAOYSA-L 0.000 description 1
- 238000004891 communication Methods 0.000 description 1
- 150000001875 compounds Chemical class 0.000 description 1
- 229940116318 copper carbonate Drugs 0.000 description 1
- XTVVROIMIGLXTD-UHFFFAOYSA-N copper(II) nitrate Chemical compound [Cu+2].[O-][N+]([O-])=O.[O-][N+]([O-])=O XTVVROIMIGLXTD-UHFFFAOYSA-N 0.000 description 1
- GEZOTWYUIKXWOA-UHFFFAOYSA-L copper;carbonate Chemical compound [Cu+2].[O-]C([O-])=O GEZOTWYUIKXWOA-UHFFFAOYSA-L 0.000 description 1
- 238000002788 crimping Methods 0.000 description 1
- 230000001419 dependent effect Effects 0.000 description 1
- RAQDACVRFCEPDA-UHFFFAOYSA-L ferrous carbonate Chemical compound [Fe+2].[O-]C([O-])=O RAQDACVRFCEPDA-UHFFFAOYSA-L 0.000 description 1
- 230000005669 field effect Effects 0.000 description 1
- 239000001257 hydrogen Substances 0.000 description 1
- 229910052739 hydrogen Inorganic materials 0.000 description 1
- RXPAJWPEYBDXOG-UHFFFAOYSA-N hydron;methyl 4-methoxypyridine-2-carboxylate;chloride Chemical compound Cl.COC(=O)C1=CC(OC)=CC=N1 RXPAJWPEYBDXOG-UHFFFAOYSA-N 0.000 description 1
- KEDRKJFXBSLXSI-UHFFFAOYSA-M hydron;rubidium(1+);carbonate Chemical compound [Rb+].OC([O-])=O KEDRKJFXBSLXSI-UHFFFAOYSA-M 0.000 description 1
- BDAGIHXWWSANSR-NJFSPNSNSA-N hydroxyformaldehyde Chemical compound O[14CH]=O BDAGIHXWWSANSR-NJFSPNSNSA-N 0.000 description 1
- 230000006872 improvement Effects 0.000 description 1
- MVFCKEFYUDZOCX-UHFFFAOYSA-N iron(2+);dinitrate Chemical compound [Fe+2].[O-][N+]([O-])=O.[O-][N+]([O-])=O MVFCKEFYUDZOCX-UHFFFAOYSA-N 0.000 description 1
- RLJMLMKIBZAXJO-UHFFFAOYSA-N lead nitrate Chemical compound [O-][N+](=O)O[Pb]O[N+]([O-])=O RLJMLMKIBZAXJO-UHFFFAOYSA-N 0.000 description 1
- XGZVUEUWXADBQD-UHFFFAOYSA-L lithium carbonate Chemical compound [Li+].[Li+].[O-]C([O-])=O XGZVUEUWXADBQD-UHFFFAOYSA-L 0.000 description 1
- IDNHOWMYUQKKTI-UHFFFAOYSA-M lithium nitrite Chemical compound [Li+].[O-]N=O IDNHOWMYUQKKTI-UHFFFAOYSA-M 0.000 description 1
- ZLNQQNXFFQJAID-UHFFFAOYSA-L magnesium carbonate Chemical compound [Mg+2].[O-]C([O-])=O ZLNQQNXFFQJAID-UHFFFAOYSA-L 0.000 description 1
- 239000001095 magnesium carbonate Substances 0.000 description 1
- 229910000021 magnesium carbonate Inorganic materials 0.000 description 1
- XMWCXZJXESXBBY-UHFFFAOYSA-L manganese(ii) carbonate Chemical compound [Mn+2].[O-]C([O-])=O XMWCXZJXESXBBY-UHFFFAOYSA-L 0.000 description 1
- 239000000463 material Substances 0.000 description 1
- 238000002844 melting Methods 0.000 description 1
- ZULUUIKRFGGGTL-UHFFFAOYSA-L nickel(ii) carbonate Chemical compound [Ni+2].[O-]C([O-])=O ZULUUIKRFGGGTL-UHFFFAOYSA-L 0.000 description 1
- KBJMLQFLOWQJNF-UHFFFAOYSA-N nickel(ii) nitrate Chemical compound [Ni+2].[O-][N+]([O-])=O.[O-][N+]([O-])=O KBJMLQFLOWQJNF-UHFFFAOYSA-N 0.000 description 1
- 229910052760 oxygen Inorganic materials 0.000 description 1
- 239000001301 oxygen Substances 0.000 description 1
- 239000002245 particle Substances 0.000 description 1
- 230000000149 penetrating effect Effects 0.000 description 1
- 229910052697 platinum Inorganic materials 0.000 description 1
- 229910000028 potassium bicarbonate Inorganic materials 0.000 description 1
- 235000015497 potassium bicarbonate Nutrition 0.000 description 1
- 239000011736 potassium bicarbonate Substances 0.000 description 1
- BWHMMNNQKKPAPP-UHFFFAOYSA-L potassium carbonate Chemical compound [K+].[K+].[O-]C([O-])=O BWHMMNNQKKPAPP-UHFFFAOYSA-L 0.000 description 1
- TYJJADVDDVDEDZ-UHFFFAOYSA-M potassium hydrogencarbonate Chemical compound [K+].OC([O-])=O TYJJADVDDVDEDZ-UHFFFAOYSA-M 0.000 description 1
- FGIUAXJPYTZDNR-UHFFFAOYSA-N potassium nitrate Chemical compound [K+].[O-][N+]([O-])=O FGIUAXJPYTZDNR-UHFFFAOYSA-N 0.000 description 1
- 239000004304 potassium nitrite Substances 0.000 description 1
- 235000010289 potassium nitrite Nutrition 0.000 description 1
- WPFGFHJALYCVMO-UHFFFAOYSA-L rubidium carbonate Chemical compound [Rb+].[Rb+].[O-]C([O-])=O WPFGFHJALYCVMO-UHFFFAOYSA-L 0.000 description 1
- 229910000026 rubidium carbonate Inorganic materials 0.000 description 1
- RTHYXYOJKHGZJT-UHFFFAOYSA-N rubidium nitrate Inorganic materials [Rb+].[O-][N+]([O-])=O RTHYXYOJKHGZJT-UHFFFAOYSA-N 0.000 description 1
- VPMVPQJJBGXJAI-UHFFFAOYSA-M rubidium(1+);nitrite Chemical compound [Rb+].[O-]N=O VPMVPQJJBGXJAI-UHFFFAOYSA-M 0.000 description 1
- DFCYEXJMCFQPPA-UHFFFAOYSA-N scandium(3+);trinitrate Chemical compound [Sc+3].[O-][N+]([O-])=O.[O-][N+]([O-])=O.[O-][N+]([O-])=O DFCYEXJMCFQPPA-UHFFFAOYSA-N 0.000 description 1
- 238000007650 screen-printing Methods 0.000 description 1
- 229910052710 silicon Inorganic materials 0.000 description 1
- 239000010703 silicon Substances 0.000 description 1
- 229910001958 silver carbonate Inorganic materials 0.000 description 1
- LKZMBDSASOBTPN-UHFFFAOYSA-L silver carbonate Substances [Ag].[O-]C([O-])=O LKZMBDSASOBTPN-UHFFFAOYSA-L 0.000 description 1
- 239000011734 sodium Substances 0.000 description 1
- 229910000030 sodium bicarbonate Inorganic materials 0.000 description 1
- 235000017557 sodium bicarbonate Nutrition 0.000 description 1
- 229910000029 sodium carbonate Inorganic materials 0.000 description 1
- 239000004317 sodium nitrate Substances 0.000 description 1
- 235000010344 sodium nitrate Nutrition 0.000 description 1
- 235000010288 sodium nitrite Nutrition 0.000 description 1
- 229910002076 stabilized zirconia Inorganic materials 0.000 description 1
- 229910000018 strontium carbonate Inorganic materials 0.000 description 1
- DHEQXMRUPNDRPG-UHFFFAOYSA-N strontium nitrate Chemical compound [Sr+2].[O-][N+]([O-])=O.[O-][N+]([O-])=O DHEQXMRUPNDRPG-UHFFFAOYSA-N 0.000 description 1
- HOWFTCIROIVKLW-UHFFFAOYSA-L strontium;dinitrite Chemical compound [Sr+2].[O-]N=O.[O-]N=O HOWFTCIROIVKLW-UHFFFAOYSA-L 0.000 description 1
- 239000000126 substance Substances 0.000 description 1
- 239000010409 thin film Substances 0.000 description 1
- YQMWDQQWGKVOSQ-UHFFFAOYSA-N trinitrooxystannyl nitrate Chemical compound [Sn+4].[O-][N+]([O-])=O.[O-][N+]([O-])=O.[O-][N+]([O-])=O.[O-][N+]([O-])=O YQMWDQQWGKVOSQ-UHFFFAOYSA-N 0.000 description 1
- KHAUBYTYGDOYRU-IRXASZMISA-N trospectomycin Chemical compound CN[C@H]([C@H]1O2)[C@@H](O)[C@@H](NC)[C@H](O)[C@H]1O[C@H]1[C@]2(O)C(=O)C[C@@H](CCCC)O1 KHAUBYTYGDOYRU-IRXASZMISA-N 0.000 description 1
- 238000007740 vapor deposition Methods 0.000 description 1
- 239000012808 vapor phase Substances 0.000 description 1
Images
Landscapes
- Investigating Or Analyzing Materials By The Use Of Electric Means (AREA)
Abstract
【課題】性能が長期間安定して維持され、特性が安定して製造歩留りが高く、応答速度が大きいガスセンサを提供する。
【解決手段】 n型SiC基板1の表面から内部へと設けられたp型領域6と、p型領域の表面に配置された触媒3と、触媒3の上に位置するp側電極11と、ソース電極21およびドレイン電極22と、基板内でp型領域に接してソースとドレインとを繋ぐn型チャネルと、半導体基板のn型領域の裏面に位置するn側電極12とを備え、触媒3を介在させて、n側電極とp側電極との間に電圧を加えて、pn接合15に逆バイアス電圧を印加することを特徴とする。
【選択図】 図1
【解決手段】 n型SiC基板1の表面から内部へと設けられたp型領域6と、p型領域の表面に配置された触媒3と、触媒3の上に位置するp側電極11と、ソース電極21およびドレイン電極22と、基板内でp型領域に接してソースとドレインとを繋ぐn型チャネルと、半導体基板のn型領域の裏面に位置するn側電極12とを備え、触媒3を介在させて、n側電極とp側電極との間に電圧を加えて、pn接合15に逆バイアス電圧を印加することを特徴とする。
【選択図】 図1
Description
本発明は、ガスセンサに関し、より具体的には、自動車等の排気経路に取り付けられる、耐久性に優れたガスセンサに関するものである。
自動車分野では、排ガス規制や燃費向上のためのエンジン制御の高精度化や、車室内外の気体成分の把握のため、信頼性が高く、高感度のガスセンサが要求されている。自動車の空燃比センサとして使用されている安定化ジルコニアを用いた酸素センサや、一般に普及している金属酸化物半導体を用いた電気抵抗式ガスセンサは、信頼性に優れるが、感度や応答速度が低いという課題を有している。一方、感度および応答速度を兼備するガスセンサとして、MOSFET(Metal Oxide Semiconductor Field Effect Transistor)と酸化物半導体等とを組み合わせたMOSFET式センサが知られている(非特許文献1)。また、このMOSFET式センサとしては、イオン導電性酸素酸塩とMOSFETとを組み合わせたセンサの提案もなされている(特許文献1)。
M.Ali, et.al.,"SiC-based FET for detection of NOxand O2 using InSnOx as a gate material",Sensors andActuators B 122(2007)182-186
特開2001−281213号公報
上記のMOSFET式のガスセンサでは、電子流を制御するチャネルが半導体基板の表面に位置するので、高温の雰囲気ガスに暴露されやすい。このため長期信頼性を確保する上で問題がある。また、SiCなどの半導体表面では界面順位密度にばらつきが生じやすくセンサ特性が不安定化する結果、製造の歩留りが低下する。さらに、チャネルが半導体表面に位置するため、界面準位の影響を受けることで、応答速度が遅くなるという短所をもつ。そこで、本発明は、性能が長期間安定して維持され、特性が安定して製造歩留りの低下が抑止され、応答速度が大きいガスセンサを提供することを目的とする。
本発明のガスセンサは、第1導電型の半導体基板と、第1導電型半導体基板の表面から内部へと設けられた第2導電型領域と、第2導電型領域の表面に電気的に接続されたガス感応層と、ガス感応層の上に位置して電気的に接続された第2導電側電極と、第2導電型領域を挟むように、表面に設けられた、ソース電極およびドレイン電極と、半導体基板の中で第2導電側領域に接し、ソース電極とドレイン電極とを連絡する、第1導電型の通路と、第1導電型の通路に連絡している表面または裏面に電気的に接続された第1導電側電極とを備える。そして、ガス感応層を介在させて、第1導電側電極と第2導電側電極との間に電圧を加えて、第2導電側領域と第1導電型の通路とのpn接合に逆バイアス電圧を印加することを特徴とする。
上記の構造では、第2導電型領域の先の半導体基板の内部に、第1導電型の通路(チャネル)が位置し、第2導電型領域とチャネルとの界面にpn接合が形成される。第1導電側電極と第2導電側電極との間に電圧をかけて、このpn接合に逆バイアス電圧を、常時、かけておく。ガス感応層にガス吸着が生じると、電気抵抗が変動するので、常時印加されているpn接合への逆バイアス電圧が変動し、空乏層の張り出しが変化してチャネル断面を変化させる。このため、ガス吸着量の変化によって、キャリアがチャネルを通る通りやすさが変化し、ソース/ドレイン電極間の電流値の変化となって現れる。これによって、高い応答速度、および高い感度で、ガス吸着量を検知することができる。また、チャネルは、半導体基板の内部に位置するので、ガスに暴露されず、長期信頼性が劣化することはない。チャネルが界面準位の影響を受けないので、特性が安定して、製造歩留りが低下することはない。上記の構造の場合、キャリアは、チャネルを半導体基板に板面に沿う方向に流れる。
本発明の他のガスセンサは、第1導電型の半導体基板と、半導体基板の、表面に位置するソース電極、および裏面に位置するドレイン電極と、ソース電極とドレイン電極とを連絡している第1導電型の通路を、取り囲むように設けられ、表面または裏面に露出する第2導電型領域と、露出した第2導電型領域に電気的に接続されたガス感応層と、ガス感応層の上に位置して電気的に接続された第2導電側電極と、第1導電型の通路に連絡している表面または裏面に電気的に接続された第1導電側電極とを備える。そして、ガス感応層を介在させて、第1導電側電極と第2導電側電極との間に電圧を加えて、第1導電側領域の通路の周りのpn接合に逆バイアス電圧を印加することを特徴とする。
上記の構造によれば、チャネル(通路)は半導体基板を貫通する方向に沿って形成される。そのチャネルを取り囲むpn接合から張り出す空乏層は、ガス感応層でのガス吸着量によって、張り出す大きさが変化し、ソース/ドレイン電極間を流れる電流の変化となって現れる。このため、この構造においても、応答速度は高く、感度も十分高い。また、チャネルは半導体基板の内部に、半導体基板を貫通するように設けられるので、ガスに暴露されることはなく、長期信頼性を確保することができる。また、チャネルが界面準位の影響を受けないので、特性が安定して、製造歩留りが低下することはない。この場合、キャリアは、チャネルを半導体基板に板面に直交する方向に流れる。
上記のガス感応層を、酸化物半導体、イオン導電性酸素酸塩、または固体電解質とイオン導電性酸素酸塩との組み合わせ、のいずれかとすることができる。これによって、感度が高く、応答速度の大きいガスセンサを提供することができる。
上記の感応層に、感度を高めるために増感剤を含ませることができる。これによって、ガス選択性を高め、ガスが非常に低濃度であっても、その濃度を精度よく検知することができる。増感剤は、検知ガスおよび感応層の種類に応じて決まっており、このあとで詳述する。
上記のガス感応層を、多孔質とすることができる。これによって、第2導電側電極の下に位置するガス感応層に、十分な表面積のガス吸着部分を持たせることができる。
本発明のガスセンサは、チャネルはガスに暴露されないので性能が長期間安定して維持され、界面順位の影響を受けないので特性が安定して製造歩留り低下は生じず、また応答速度は大きい。
(実施の形態1)
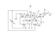
図1は、本発明の実施の形態1におけるガスセンサ10を示す図である。このガスセンサ10は、n型SiC基板1の表面側に、ガス分子が吸着すると電気抵抗が変化する触媒層3が設けられ、その下にp型領域6が形成されている。本実施の形態では、ガス感応層に、酸化物半導体の触媒3を用いている。p型領域6の深さ方向の先端は、n型SiC基板との間にpn接合15を形成し。その下(SiC基板の内部)に、n型チャネル5を形成している。n型チャネル5を上下から挟むように、チャネル5の裏面側にも、p型領域6が設けられている。n型チャネル5の領域のSiC基板1の裏面から表面にかけて、次の部分が形成されている。
(裏面p側電極11b/p型領域6/n型チャネル5/p型領域6/触媒層3/表面p側電極11a)
表面p側電極11aおよび裏面p側電極11bは、ともに定電圧電源9のマイナス電極に接続されて同電位とされている。定電圧電源のプラス電極は、n型SiC基板のn型領域に接続されている。このため、上記の2つのp型領域6とn型領域との間に形成されるpn接合15には、逆バイアス電圧が印加される。なお、上記のn型SiC基板において、n型領域のn型キャリア濃度は、逆バイアス電圧の印加による空乏層の張り出しをチャネル5の側に大きくするために、p型領域6のp型キャリア濃度よりも小さいことが望ましい。したがってn型SiC基板は、n−SiC基板1とするのがよい。また、使用する温度域によるが、以下の説明では、半導体基板がSiC基板の場合について説明するが、シリコン基板など他の半導体基板を用いてもよい。
図1は、本発明の実施の形態1におけるガスセンサ10を示す図である。このガスセンサ10は、n型SiC基板1の表面側に、ガス分子が吸着すると電気抵抗が変化する触媒層3が設けられ、その下にp型領域6が形成されている。本実施の形態では、ガス感応層に、酸化物半導体の触媒3を用いている。p型領域6の深さ方向の先端は、n型SiC基板との間にpn接合15を形成し。その下(SiC基板の内部)に、n型チャネル5を形成している。n型チャネル5を上下から挟むように、チャネル5の裏面側にも、p型領域6が設けられている。n型チャネル5の領域のSiC基板1の裏面から表面にかけて、次の部分が形成されている。
(裏面p側電極11b/p型領域6/n型チャネル5/p型領域6/触媒層3/表面p側電極11a)
表面p側電極11aおよび裏面p側電極11bは、ともに定電圧電源9のマイナス電極に接続されて同電位とされている。定電圧電源のプラス電極は、n型SiC基板のn型領域に接続されている。このため、上記の2つのp型領域6とn型領域との間に形成されるpn接合15には、逆バイアス電圧が印加される。なお、上記のn型SiC基板において、n型領域のn型キャリア濃度は、逆バイアス電圧の印加による空乏層の張り出しをチャネル5の側に大きくするために、p型領域6のp型キャリア濃度よりも小さいことが望ましい。したがってn型SiC基板は、n−SiC基板1とするのがよい。また、使用する温度域によるが、以下の説明では、半導体基板がSiC基板の場合について説明するが、シリコン基板など他の半導体基板を用いてもよい。
SiC基板1の表面側に、p型領域6を挟むように、ソース電極21およびドレイン電極22が設けられている。電位VDのドレイン電極22からは、n型チャネル5を通って、定常的に、電流IDがソース電極21へと流れるようにされている。電流IDのキャリアは電子であり、接地電位のソース電極21側から、電子がn型チャネル5を通って、電位VDのドレイン電極22側へ流れることで、電流IDがドレインからソースへと流れることになる。
上記の表面側の触媒層3は、酸化物半導体のWO3などから形成されており、検知対象のガスが吸着すると電気抵抗が変化する。触媒層3は、検知対象ガスに応じて、そのガスの選択性が高いものを用いる。触媒3のガス選択性を高めるために、その触媒3および検知対象ガスに対応した増感剤を添加することが、通常、行われる。表1に、検知対象ガスと、そのガスに対する選択性をもつ触媒(感応剤)3を示す。また、増感剤を添加することが普通に行われる触媒3については、増感剤も合わせて示す。本発明の実施の形態では、少なくとも、表1に示す検知対象ガス、触媒3、増感剤を用いる。その他の、ガスを検知対象にして、その他の触媒3、増感剤を用いてもよい。
ガス分子が触媒層3に吸着して電気抵抗が変化すると、n型チャネル5の表面側のpn接合に印加される電圧が変化する。図2は、チャネル5の部分の拡大図である。上記のように、チャネル5の表面側および裏面側のpn接合15には、逆バイアス電圧が印加されているので、空乏層Ka,Kbがn型領域に張り出す。このため、電子の流れは、空乏層Ka,Kbによって、その間のn型領域に限定される。このうち、裏面側に形成される空乏層Kbは、触媒層を介在させず、直接、定電圧電源のマイナス電極が接続されているの、ガス吸着の有無にかかわらず一定の大きさを維持する。これに対して、表面側の空乏層Kaは、ガス吸着の量に応じて、pn接合15に印加される逆バイアス電圧が変化するので、ガス吸着量に応じて、その大きさが変化する。このため、ガス吸着量に応じて、n型チャネル5の断面積が変化して、電子の通りやすさが変化して、その結果、電流IDが変化する。電流IDの変化によって、ガス吸着量を知ることができる。検知対象のガス吸着量は、雰囲気中のそのガス濃度が低い場合には、雰囲気中の検知対象のガス濃度に比例する。よって、図3に示すように、電流IDの変化によって、検知対象のガス濃度を知ることができる。
触媒層3は、粉末ペーストを圧着してp型領域6上に形成してもよいし、粉末ペーストをスクリーン印刷してもよい。また、スパッタリング法や、CVD(Chemical Vapor Deposition)法などの気相法によって蒸着してもよい。また、大量生産に適した真空蒸着法で蒸着することもできる。p型領域6、n側電極12およびp側電極11の製造などは、通常の半導体の処理装置、処理方法を用いて容易に行うことができる。
図1に示すように、チャネル5はSiC基板1の表裏面に露出せず、p型領域6よりもSiC基板1の厚み中心側に位置する。このため、長期的に信頼性を保持することができる。また、表面の界面準位密度のばらつきの影響を受けないのでセンサ特性が安定しており、製造歩留りの低下を防止することができる。また、表面の界面準位の影響を受けないので、高い応答速度を得ることができる。
(本発明の実施の形態1の変形例)
図4は、本発明の実施の形態1のガスセンサ10の変形例を示す図である。裏面側のp側電極11bが、表面側と同様に、触媒層3を介在させてp型領域6に接続されている。この点が、図1に示すガスセンサ10と、相違している。裏面側においても、p側電極11bが、触媒層3を介在させてp型領域6に接続するため、チャネル5の裏面側に位置するpn接合15に形成される空乏層Kbの大きさは、裏面側の触媒層3におけるガス吸着量によって変化する。
図4は、本発明の実施の形態1のガスセンサ10の変形例を示す図である。裏面側のp側電極11bが、表面側と同様に、触媒層3を介在させてp型領域6に接続されている。この点が、図1に示すガスセンサ10と、相違している。裏面側においても、p側電極11bが、触媒層3を介在させてp型領域6に接続するため、チャネル5の裏面側に位置するpn接合15に形成される空乏層Kbの大きさは、裏面側の触媒層3におけるガス吸着量によって変化する。
図2では、空乏層Kbは固定されていて、チャネル5の断面積は、表面側の空乏層Kaにのみ依存していた。しかし、上記の変形によって空乏層Ka,Kbがともにガス吸着量の影響を受けて、大きさを変ずるので、ガス吸着によるチャネル5の断面積の変動を倍加することができる。したがって、感度を倍増することができる。また、上述の実施の形態1における利点は、そのまま、この変形例でも享受することができる。すなわち、チャネル5はSiC基板1の表裏面に露出せず、SiC基板の厚み中心付近に位置する。このため、長期的に信頼性を保持することができる。また、表面の界面準位密度のばらつきの影響を受けないのでセンサ特性が安定しており、製造歩留りの低下を防止することができる。また、表面の界面準位の影響を受けないので、高い応答速度を得ることができる。
(実施の形態2)
図5は、本発明の実施の形態2におけるガスセンサ10を示す図である。このガスセンサ10では、感応層にイオン導電性酸素酸塩33を用いる点で、実施の形態1と相違する。イオン導電性酸素酸塩33は、検知対象のガスの分圧の変化に応じて酸素酸塩の電気化学的な解離平衡を生じ、それによって起電力変化が生じる。このため、表面側のp型領域6に、イオン導電性酸素酸塩33を介在させて、定電圧電源のマイナス電極を接続すると、pn接合15に印加される逆バイアス電圧が変化する。したがって、上述のように、空乏層Kaの大きさが変化してチャネル5の断面積が変化して、ドレイン電流IDの変化を生じる。この結果、ドレイン電流IDの変化によって対象ガスの濃度を検知することができる。実施の形態1では、対象のガスの吸着によって電気抵抗変化を生じ、これによってチャネル断面積の変化が生じた。これに対し、本実施の形態では、ガス分圧の変化に応じてイオン導電性酸素酸塩33の電気化学的な解離平衡が生じ、当該イオン導電性酸素酸塩33に起電力が生じて、pn接合15に印加される逆バイアス電圧が変化する。これによって、空乏層の張り出しの大きさの変化によるチャネル5の断面積の変化を利用する。したがって、感応層がイオン導電性酸素酸塩33であること以外の部分は、実施の形態1と同じであるので、説明はイオン導電性酸素酸塩に集中し、他の部分は省略する。
図5は、本発明の実施の形態2におけるガスセンサ10を示す図である。このガスセンサ10では、感応層にイオン導電性酸素酸塩33を用いる点で、実施の形態1と相違する。イオン導電性酸素酸塩33は、検知対象のガスの分圧の変化に応じて酸素酸塩の電気化学的な解離平衡を生じ、それによって起電力変化が生じる。このため、表面側のp型領域6に、イオン導電性酸素酸塩33を介在させて、定電圧電源のマイナス電極を接続すると、pn接合15に印加される逆バイアス電圧が変化する。したがって、上述のように、空乏層Kaの大きさが変化してチャネル5の断面積が変化して、ドレイン電流IDの変化を生じる。この結果、ドレイン電流IDの変化によって対象ガスの濃度を検知することができる。実施の形態1では、対象のガスの吸着によって電気抵抗変化を生じ、これによってチャネル断面積の変化が生じた。これに対し、本実施の形態では、ガス分圧の変化に応じてイオン導電性酸素酸塩33の電気化学的な解離平衡が生じ、当該イオン導電性酸素酸塩33に起電力が生じて、pn接合15に印加される逆バイアス電圧が変化する。これによって、空乏層の張り出しの大きさの変化によるチャネル5の断面積の変化を利用する。したがって、感応層がイオン導電性酸素酸塩33であること以外の部分は、実施の形態1と同じであるので、説明はイオン導電性酸素酸塩に集中し、他の部分は省略する。
1.検知対象ガス
検知対象ガスは、二酸化炭素(CO2)、一酸化窒素(NO)、二酸化窒素(NO2)などを主対象とするが、そのほかのガスを対象とすることは問題なく可能である。たとえば、一酸化硫黄(SO)、二酸化硫黄(SO2)など可能である。
2.イオン導線性酸素酸塩
イオン導電性酸素酸塩は、当然であるが、検知対象ガスに応じて具体的な化合物は変わる。
検知対象ガスは、二酸化炭素(CO2)、一酸化窒素(NO)、二酸化窒素(NO2)などを主対象とするが、そのほかのガスを対象とすることは問題なく可能である。たとえば、一酸化硫黄(SO)、二酸化硫黄(SO2)など可能である。
2.イオン導線性酸素酸塩
イオン導電性酸素酸塩は、当然であるが、検知対象ガスに応じて具体的な化合物は変わる。
(1)一酸化窒素(NO)、二酸化窒素(NO2)の場合
イオン導電性酸素酸塩には、金属亜硝酸酸塩、および/または金属硝酸塩を用いるのがよい。そして、増感剤として、白金(Pt)粒子を含むのが、感度を高める上で好ましい。
金属亜硝酸塩としては、たとえば、亜硝酸リチウム(LiNO2)、亜硝酸ナトリウム(NaNO2)、亜硝酸カリウム(KNO2)、亜硝酸ルビジウム(RbNO2)、亜硝酸セシウム(CsNO2)、亜硝酸バリウム(Ba(NO2)2)、亜硝酸ストロンチウム(Sr(NO2)2)などがある。これらの一種または二種以上から構成するのがよい。
また、金属硝酸塩としては、たとえば、硝酸リチウム(LiNO3)、硝酸ナトリウム(NaNO3)、硝酸カリウム(KNO3)、硝酸ルビジウム(RbNO2)、硝酸マグネシウム(Mg(NO3)2)、硝酸カルシウム(Ca(NO3)2)、硝酸ストロンチウム(Sr(NO3)2)、硝酸バリウム(Ba(NO3)2)、硝酸スカンジウム(Sc(NO3)3)、硝酸セリウム(Ce(NO3)3)、硝酸ジルコニウム(Zr(NO3)4)、硝酸鉄(Fe(NO3)2,Fe(NO3)3)、硝酸銅(Cu(NO3)2)、硝酸コバルト(Co(NO3)2)、硝酸スズ(Sn(NO3)4)、硝酸インジウム(In(NO3)3)、硝酸ニッケル(Ni(NO3)2)、硝酸鉛(Pb(NO3)2)、硝酸ビスマス(Bi(NO3)3)および希土類硝酸塩の、一種または二種以上から構成するのがよい。
イオン導電性酸素酸塩には、金属亜硝酸酸塩、および/または金属硝酸塩を用いるのがよい。そして、増感剤として、白金(Pt)粒子を含むのが、感度を高める上で好ましい。
金属亜硝酸塩としては、たとえば、亜硝酸リチウム(LiNO2)、亜硝酸ナトリウム(NaNO2)、亜硝酸カリウム(KNO2)、亜硝酸ルビジウム(RbNO2)、亜硝酸セシウム(CsNO2)、亜硝酸バリウム(Ba(NO2)2)、亜硝酸ストロンチウム(Sr(NO2)2)などがある。これらの一種または二種以上から構成するのがよい。
また、金属硝酸塩としては、たとえば、硝酸リチウム(LiNO3)、硝酸ナトリウム(NaNO3)、硝酸カリウム(KNO3)、硝酸ルビジウム(RbNO2)、硝酸マグネシウム(Mg(NO3)2)、硝酸カルシウム(Ca(NO3)2)、硝酸ストロンチウム(Sr(NO3)2)、硝酸バリウム(Ba(NO3)2)、硝酸スカンジウム(Sc(NO3)3)、硝酸セリウム(Ce(NO3)3)、硝酸ジルコニウム(Zr(NO3)4)、硝酸鉄(Fe(NO3)2,Fe(NO3)3)、硝酸銅(Cu(NO3)2)、硝酸コバルト(Co(NO3)2)、硝酸スズ(Sn(NO3)4)、硝酸インジウム(In(NO3)3)、硝酸ニッケル(Ni(NO3)2)、硝酸鉛(Pb(NO3)2)、硝酸ビスマス(Bi(NO3)3)および希土類硝酸塩の、一種または二種以上から構成するのがよい。
(2)二酸化炭素(CO2)
イオン導電性酸素酸塩には、金属炭酸塩、および/または金属炭酸水素塩を用いる。
金属炭酸塩としては、たとえば、炭酸リチウム(Li2CO3)、炭酸ナトリウム(Na2CO3)、炭酸カリウム(K2CO3)、炭酸ルビジウム(Rb2CO3)、炭酸セシウム(Cs2CO3)、炭酸マグネシウム(Mg(CO3)2)、炭酸カルシウム(CaCO3)、炭酸ストロンチウム(SrCO3)、炭酸バリウム(BaCO3)、炭酸鉄(FeCO3)、炭酸銅(Cu2CO3)、炭酸ニッケル(NiCO3)、炭酸鉛(PbCO3)、炭酸マンガン(MnCO3)、炭酸カドミウム(CdCO3)、炭酸銀(Ag2CO3)、炭酸コバルト(CoCO3)および希土類硝酸塩の、一種または二種以上から構成するのがよい。
金属炭素水素塩としては、たとえば、炭酸水素ナトリウム(NaHCO3)、炭酸水素カリウム(KHCO3)、炭酸水素ルビジウム(RbHCO3)、炭酸水素セシウム(CsHCO3)の一種または二種以上から構成するのがよい。
イオン導電性酸素酸塩には、金属炭酸塩、および/または金属炭酸水素塩を用いる。
金属炭酸塩としては、たとえば、炭酸リチウム(Li2CO3)、炭酸ナトリウム(Na2CO3)、炭酸カリウム(K2CO3)、炭酸ルビジウム(Rb2CO3)、炭酸セシウム(Cs2CO3)、炭酸マグネシウム(Mg(CO3)2)、炭酸カルシウム(CaCO3)、炭酸ストロンチウム(SrCO3)、炭酸バリウム(BaCO3)、炭酸鉄(FeCO3)、炭酸銅(Cu2CO3)、炭酸ニッケル(NiCO3)、炭酸鉛(PbCO3)、炭酸マンガン(MnCO3)、炭酸カドミウム(CdCO3)、炭酸銀(Ag2CO3)、炭酸コバルト(CoCO3)および希土類硝酸塩の、一種または二種以上から構成するのがよい。
金属炭素水素塩としては、たとえば、炭酸水素ナトリウム(NaHCO3)、炭酸水素カリウム(KHCO3)、炭酸水素ルビジウム(RbHCO3)、炭酸水素セシウム(CsHCO3)の一種または二種以上から構成するのがよい。
3.イオン導電性酸素酸塩の配置
イオン導電性酸素酸塩33は、粉末ペースト状にしたものを圧着して配置することができる。また、粉末ペーストをスクリーン印刷して配置してもよい。さらに、粉末ペーストを加熱溶融圧着によって接合してもよい。また、薄膜として、スパッタリング法やCVD法で形成してもよい。真空蒸着法で蒸着してもよい。
イオン導電性酸素酸塩33は、粉末ペースト状にしたものを圧着して配置することができる。また、粉末ペーストをスクリーン印刷して配置してもよい。さらに、粉末ペーストを加熱溶融圧着によって接合してもよい。また、薄膜として、スパッタリング法やCVD法で形成してもよい。真空蒸着法で蒸着してもよい。
上記のイオン導電性酸素酸塩33は、検知対象のガス選択性を向上させることができる。また、チャネル5が半導体基板の厚み中心付近に形成される点では、実施の形態1と同じである。このため、長期的に信頼性を保持することができる。また、表面の界面準位密度のばらつきの影響を受けないのでセンサ特性が安定しており、製造歩留りの低下を防止することができる。また、表面の界面準位の影響を受けないので、高い応答速度を得ることができる。
(本発明の実施の形態2の変形例)
図6は、本発明の実施の形態2の変形例におけるガスセンサ10の感応層の部分の拡大図である。他の部分は、図5に示すガスセンサ10と同じである。図6に示す変形例のガスセンサ10では、感応層に、(イオン導電性酸素酸塩33/固体電解質34)を用いている点で、図5に示すガスセンサの感応層の内容と相違する。すなわち、チャネル5の表面側のp型領域6に接して、固体電解質34が配置され、その上にイオン導電性酸素酸塩33が配置される。
図6は、本発明の実施の形態2の変形例におけるガスセンサ10の感応層の部分の拡大図である。他の部分は、図5に示すガスセンサ10と同じである。図6に示す変形例のガスセンサ10では、感応層に、(イオン導電性酸素酸塩33/固体電解質34)を用いている点で、図5に示すガスセンサの感応層の内容と相違する。すなわち、チャネル5の表面側のp型領域6に接して、固体電解質34が配置され、その上にイオン導電性酸素酸塩33が配置される。
固体電解質34とイオン導電性酸素酸塩33とを組み合わせた利点は、より低濃度の対象ガスを検知できる点にある。その理由は、固体電解質34によって、イオン導電性酸素酸塩33と固体電解質34との間にイオンブリッジが形成され、大きな化学ポテンシャルが形成されるためと考えられる。チャネル5が、半導体基板1の厚み中心付近に形成される構造は、不変である。このため、長期的に信頼性を保持することができる。また、表面の界面準位密度のばらつきの影響を受けないのでセンサ特性が安定しており、製造歩留りの低下を防止することができる。また、表面の界面準位の影響を受けないので、高い応答速度を得ることができる。
(実施の形態3)
図7は、本発明の実施の形態3におけるガスセンサ10を示す図である。本実施の形態では、感応層には、上述したものに比べてとくに新しいことはない。図7に示すガスセンサ10の場合には、触媒3を用いている。この触媒3の代わりに、イオン導電性酸素酸塩33、または(イオン導電性酸素酸塩33/固体電解質34)を用いてもよい。本実施の形態における特徴は、電流IDが半導体基板1の厚み方向に沿って流れる点にある。図7に示すガスセンサ10では、チャネル5は、半導体基板1を貫通するように設けられる。このチャネル5の断面積を変化させるために、pn接合15に逆バイアス電圧が印加される。
図7は、本発明の実施の形態3におけるガスセンサ10を示す図である。本実施の形態では、感応層には、上述したものに比べてとくに新しいことはない。図7に示すガスセンサ10の場合には、触媒3を用いている。この触媒3の代わりに、イオン導電性酸素酸塩33、または(イオン導電性酸素酸塩33/固体電解質34)を用いてもよい。本実施の形態における特徴は、電流IDが半導体基板1の厚み方向に沿って流れる点にある。図7に示すガスセンサ10では、チャネル5は、半導体基板1を貫通するように設けられる。このチャネル5の断面積を変化させるために、pn接合15に逆バイアス電圧が印加される。
n型チャネル5を取り囲むように位置するp型領域6には、触媒層3を介在させてp側電極11a,11bが接続される。図7では、平面形状が矩形の半導体基板に対して、相対向する2つのp型領域6が設けられ、その2つのp型領域にp側電極が1つずつ設けられている。また、チャネル5を含む残りのn型領域には、表面にn側電極12aが、また裏面にn側電極12bが接続されている。したがって、n側電極12a,12bと、p側電極11a,11bとの間に、触媒3を介在させて、定電圧電源9から電圧(pn接合15に対する逆バイアス電圧)が印加される。
ソース電極21は表面側のn型領域に接続され、ドレイン電極22は裏面側のn型領域に接続され、チャネル5によって連絡されている。チャネル5には、ドレイン電圧VDによって電流IDが流れる。しかし、図8に示すように、ガスが触媒3に吸着されると、上述のように、空乏層Ka,Kbの大きさが変化することによって、電流IDが変化する。これによって、電流IDの変化によって、雰囲気中のガスの濃度を検知することができる。
図7に示すガスセンサ10は、通常の半導体の処理装置および処理方法を用いて、簡単に製造することができる。また、n側電極12a,12bは、表面と裏面とに1つずつ、合計2つ設けたが、表面または裏面に、全部で1つだけ設けてもよい。さらに、p側電極11a,11bについても、全部で1つでもよい。空乏層は、片側だけ生成しただけでもチャネル5の断面積を変化させることができ、ガス吸着量の多寡を検知できるからである。
チャネル5は、半導体基板1の厚み方向に貫通するように形成されるので、チャネルの主要部が半導体基板の中心付近に形成される構造は、不変である。このため、長期的に信頼性を保持することができる。また、表面の界面準位密度のばらつきの影響を受けないのでセンサ特性が安定しており、製造歩留りの低下を防止することができる。また、表面の界面準位の影響を受けないので、高い応答速度を得ることができる。さらに、半導体基板1の厚みは4μm程度なので、ガス検知の応答速度を、半導体基板の板面に沿って電流IDが流れる場合よりも、大きくすることができる。
上記において、本発明の実施の形態について説明を行ったが、上記に開示された本発明の実施の形態は、あくまで例示であって、本発明の範囲はこれら発明の実施の形態に限定されない。本発明の範囲は、特許請求の範囲の記載によって示され、さらに特許請求の範囲の記載と均等の意味および範囲内でのすべての変更を含むものである。
本発明によれば、性能が長期間安定して維持され、特性が安定しており、応答速度が大きいガスセンサを得ることができ、耐熱性の高いSiCなどの半導体を用いることによって、排気ガス規制、燃費向上に資することが期待される。
1 半導体基板(SiC基板)、3 ガス感応層(触媒(酸化物半導体))、5 n型チャネル、6 p型領域、9 定電圧電源(電池)、10 ガスセンサ、11a,11b p側電極、12,12a,12b n側電極、15 pn接合、21 ソース電極、22 ドレイン電極、31 電流計、33 ガス感応層(イオン導電性酸素酸塩)、34 固体電解質、D ドレイン電極、ID ドレイン電流、Ka,Kb 空乏層、S ソース電極、VD ドレイン電圧。
Claims (5)
- 第1導電型の半導体基板と、
前記第1導電型半導体基板の表面から内部へと設けられた第2導電型領域と、
前記第2導電型領域の表面に電気的に接続されたガス感応層と、
前記ガス感応層の上に位置して電気的に接続された第2導電側電極と、
前記第2導電型領域を挟むように、前記表面に設けられた、ソース電極およびドレイン電極と、
前記半導体基板の中で前記第2導電側領域に接し、前記ソース電極とドレイン電極とを連絡する、第1導電型の通路と、
前記第1導電型の通路に連絡している表面または裏面に電気的に接続された第1導電側電極とを備え、
前記ガス感応層を介在させて、前記第1導電側電極と第2導電側電極との間に電圧を加えて、前記第2導電側領域と第1導電型の通路とのpn接合に逆バイアス電圧を印加することを特徴とする、ガスセンサ。 - 第1導電型の半導体基板と、
前記半導体基板の、表面に位置するソース電極、および裏面に位置するドレイン電極と、
前記ソース電極とドレイン電極とを連絡している第1導電型の通路を、取り囲むように設けられ、表面または裏面に露出する第2導電型領域と、
前記露出した第2導電型領域に電気的に接続されたガス感応層と、
前記ガス感応層の上に位置して電気的に接続された第2導電側電極と、
前記第1導電型の通路に連絡している表面または裏面に電気的に接続された第1導電側電極とを備え、
前記ガス感応層を介在させて、前記第1導電側電極と第2導電側電極との間に電圧を加えて、前記第1導電側領域の通路の周りのpn接合に逆バイアス電圧を印加することを特徴とする、ガスセンサ。 - 前記ガス感応層が、酸化物半導体、イオン導電性酸素酸塩、または固体電解質とイオン導電性酸素酸塩との組み合わせ、のいずれか1つであることを特徴とする、請求項1または2に記載のガスセンサ。
- 前記感応層が、感度を高めるために増感剤を含むことを特徴とする、請求項1〜3のいずれか1つに記載のガスセンサ。
- 前記感応層が、多孔質であることを特徴とする、請求項1〜4のいずれ1つに記載のガスセンサ。
Priority Applications (1)
| Application Number | Priority Date | Filing Date | Title |
|---|---|---|---|
| JP2008177498A JP5168725B2 (ja) | 2008-07-08 | 2008-07-08 | ガスセンサ |
Applications Claiming Priority (1)
| Application Number | Priority Date | Filing Date | Title |
|---|---|---|---|
| JP2008177498A JP5168725B2 (ja) | 2008-07-08 | 2008-07-08 | ガスセンサ |
Publications (2)
| Publication Number | Publication Date |
|---|---|
| JP2010019555A true JP2010019555A (ja) | 2010-01-28 |
| JP5168725B2 JP5168725B2 (ja) | 2013-03-27 |
Family
ID=41704634
Family Applications (1)
| Application Number | Title | Priority Date | Filing Date |
|---|---|---|---|
| JP2008177498A Expired - Fee Related JP5168725B2 (ja) | 2008-07-08 | 2008-07-08 | ガスセンサ |
Country Status (1)
| Country | Link |
|---|---|
| JP (1) | JP5168725B2 (ja) |
Cited By (4)
| Publication number | Priority date | Publication date | Assignee | Title |
|---|---|---|---|---|
| JP2011226800A (ja) * | 2010-04-15 | 2011-11-10 | Hokkaido Univ | センサ及びセンサの製造方法 |
| JP2012159511A (ja) * | 2011-02-02 | 2012-08-23 | Robert Bosch Gmbh | 化学感応性電界効果トランジスタの少なくとも1つの動作の仕方を監視するための方法および監視装置 |
| JP2014013239A (ja) * | 2012-07-03 | 2014-01-23 | Robert Bosch Gmbh | ガスセンサー及び該ガスセンサーの製造方法 |
| WO2025072176A1 (en) * | 2023-09-28 | 2025-04-03 | The Regents Of The University Of Michigan | Avalanche gas ionization detector |
Citations (6)
| Publication number | Priority date | Publication date | Assignee | Title |
|---|---|---|---|---|
| JPS63101740A (ja) * | 1986-10-17 | 1988-05-06 | Nippon Telegr & Teleph Corp <Ntt> | 縦型電界効果トランジスタ型ガスセンサ |
| JPS63265157A (ja) * | 1987-04-23 | 1988-11-01 | Matsushita Electric Works Ltd | イオンセンサ |
| JPH01263550A (ja) * | 1988-04-14 | 1989-10-20 | Terumo Corp | イオンセンサ |
| JPH02249962A (ja) * | 1989-03-23 | 1990-10-05 | Terumo Corp | Fetセンサ |
| JPH0843334A (ja) * | 1994-07-28 | 1996-02-16 | Nec Corp | 半導体基板の不純物の測定方法 |
| JP2003043010A (ja) * | 2001-04-25 | 2003-02-13 | Nikon Corp | 有機分子検出素子、有機分子検出装置、および、有機分子検出方法 |
-
2008
- 2008-07-08 JP JP2008177498A patent/JP5168725B2/ja not_active Expired - Fee Related
Patent Citations (6)
| Publication number | Priority date | Publication date | Assignee | Title |
|---|---|---|---|---|
| JPS63101740A (ja) * | 1986-10-17 | 1988-05-06 | Nippon Telegr & Teleph Corp <Ntt> | 縦型電界効果トランジスタ型ガスセンサ |
| JPS63265157A (ja) * | 1987-04-23 | 1988-11-01 | Matsushita Electric Works Ltd | イオンセンサ |
| JPH01263550A (ja) * | 1988-04-14 | 1989-10-20 | Terumo Corp | イオンセンサ |
| JPH02249962A (ja) * | 1989-03-23 | 1990-10-05 | Terumo Corp | Fetセンサ |
| JPH0843334A (ja) * | 1994-07-28 | 1996-02-16 | Nec Corp | 半導体基板の不純物の測定方法 |
| JP2003043010A (ja) * | 2001-04-25 | 2003-02-13 | Nikon Corp | 有機分子検出素子、有機分子検出装置、および、有機分子検出方法 |
Cited By (4)
| Publication number | Priority date | Publication date | Assignee | Title |
|---|---|---|---|---|
| JP2011226800A (ja) * | 2010-04-15 | 2011-11-10 | Hokkaido Univ | センサ及びセンサの製造方法 |
| JP2012159511A (ja) * | 2011-02-02 | 2012-08-23 | Robert Bosch Gmbh | 化学感応性電界効果トランジスタの少なくとも1つの動作の仕方を監視するための方法および監視装置 |
| JP2014013239A (ja) * | 2012-07-03 | 2014-01-23 | Robert Bosch Gmbh | ガスセンサー及び該ガスセンサーの製造方法 |
| WO2025072176A1 (en) * | 2023-09-28 | 2025-04-03 | The Regents Of The University Of Michigan | Avalanche gas ionization detector |
Also Published As
| Publication number | Publication date |
|---|---|
| JP5168725B2 (ja) | 2013-03-27 |
Similar Documents
| Publication | Publication Date | Title |
|---|---|---|
| CN104569061B (zh) | 金属氧化物半导体气体传感器及其制备方法 | |
| Park et al. | Solid-state electrochemical gas sensors | |
| JP3090479B2 (ja) | ガスセンサ | |
| US20130233728A1 (en) | Amperometric electrochemical sensors, sensor systems and detection methods | |
| US20160077044A1 (en) | Amperometric electrochemical sensors, sensor systems and detection methods | |
| KR101052618B1 (ko) | 장기 신호 안정성을 갖는 질소산화물 가스센서 | |
| JP4418672B2 (ja) | 気体混合物中の成分の濃度を測定する固体電気化学セル及び測定方法 | |
| CN204389426U (zh) | 金属氧化物半导体气体传感器 | |
| US20210116405A1 (en) | Mems type semiconductor gas detection element | |
| JP5168725B2 (ja) | ガスセンサ | |
| JPH09274011A (ja) | 窒素酸化物検出装置 | |
| KR20140084179A (ko) | 센서 및 센서를 제조하는 방법 | |
| US11761923B2 (en) | Amperometric electrochemical sensors, sensor systems and detection methods | |
| JP6941373B2 (ja) | アンペロメトリック電気化学センサ、センサシステムおよび検出方法 | |
| KR101052617B1 (ko) | 질소산화물 가스센서 | |
| CN116879375A (zh) | 一种浮栅结构的场效应型气体传感器及制备方法 | |
| JP2000512384A (ja) | ガスセンサ | |
| KR20100036726A (ko) | 질소산화물 가스센서 | |
| JP2566272B2 (ja) | 酸素センサー | |
| JP4467022B2 (ja) | ガスセンサ | |
| KR101133267B1 (ko) | 질소산화물 가스센서 | |
| JP2002031619A (ja) | 亜酸化窒素ガスセンサ | |
| JP2001221763A (ja) | 窒素酸化物ガスセンサ | |
| JP4340639B2 (ja) | 水素センサ及び水素の検知方法 | |
| JP3774059B2 (ja) | 炭化水素センサ |
Legal Events
| Date | Code | Title | Description |
|---|---|---|---|
| A621 | Written request for application examination |
Free format text: JAPANESE INTERMEDIATE CODE: A621 Effective date: 20110616 |
|
| A977 | Report on retrieval |
Free format text: JAPANESE INTERMEDIATE CODE: A971007 Effective date: 20120920 |
|
| A01 | Written decision to grant a patent or to grant a registration (utility model) |
Free format text: JAPANESE INTERMEDIATE CODE: A01 Effective date: 20121203 |
|
| A61 | First payment of annual fees (during grant procedure) |
Free format text: JAPANESE INTERMEDIATE CODE: A61 Effective date: 20121216 |
|
| LAPS | Cancellation because of no payment of annual fees |
