JP2010019460A - 温調マット - Google Patents

温調マット Download PDF

Info

Publication number
JP2010019460A
JP2010019460A JP2008179153A JP2008179153A JP2010019460A JP 2010019460 A JP2010019460 A JP 2010019460A JP 2008179153 A JP2008179153 A JP 2008179153A JP 2008179153 A JP2008179153 A JP 2008179153A JP 2010019460 A JP2010019460 A JP 2010019460A
Authority
JP
Japan
Prior art keywords
small
substrate
mat
pipe
temperature control
Prior art date
Legal status (The legal status is an assumption and is not a legal conclusion. Google has not performed a legal analysis and makes no representation as to the accuracy of the status listed.)
Granted
Application number
JP2008179153A
Other languages
English (en)
Other versions
JP5141409B2 (ja
Inventor
Kazunori Shibata
一範 柴田
Current Assignee (The listed assignees may be inaccurate. Google has not performed a legal analysis and makes no representation or warranty as to the accuracy of the list.)
Mitsubishi Chemical Corp
Original Assignee
Mitsubishi Plastics Inc
Priority date (The priority date is an assumption and is not a legal conclusion. Google has not performed a legal analysis and makes no representation as to the accuracy of the date listed.)
Filing date
Publication date
Application filed by Mitsubishi Plastics Inc filed Critical Mitsubishi Plastics Inc
Priority to JP2008179153A priority Critical patent/JP5141409B2/ja
Publication of JP2010019460A publication Critical patent/JP2010019460A/ja
Application granted granted Critical
Publication of JP5141409B2 publication Critical patent/JP5141409B2/ja
Active legal-status Critical Current
Anticipated expiration legal-status Critical

Links

Images

Classifications

    • YGENERAL TAGGING OF NEW TECHNOLOGICAL DEVELOPMENTS; GENERAL TAGGING OF CROSS-SECTIONAL TECHNOLOGIES SPANNING OVER SEVERAL SECTIONS OF THE IPC; TECHNICAL SUBJECTS COVERED BY FORMER USPC CROSS-REFERENCE ART COLLECTIONS [XRACs] AND DIGESTS
    • Y02TECHNOLOGIES OR APPLICATIONS FOR MITIGATION OR ADAPTATION AGAINST CLIMATE CHANGE
    • Y02BCLIMATE CHANGE MITIGATION TECHNOLOGIES RELATED TO BUILDINGS, e.g. HOUSING, HOUSE APPLIANCES OR RELATED END-USER APPLICATIONS
    • Y02B30/00Energy efficient heating, ventilation or air conditioning [HVAC]

Landscapes

  • Steam Or Hot-Water Central Heating Systems (AREA)

Abstract

【課題】厚さが小さく、且つ基板展開後に温調用配管が該基板の下面に露出することが防止された温調マットを提供する。
【解決手段】床暖房マット1は、小マットA,B間、B,C間、C,D間、E,F間、F,G間、及びG,H間の各突き合わせ部T〜Tに沿って谷折り可能となっている。各突き合わせ部T〜Tを跨いで小マットA,Bの下面同士、B,Cの下面同士、C,Dの下面同士、E,Fの下面同士、F,Gの下面同士、及びG,Hの下面同士をそれぞれ連続して覆うカバーシート4が設けられている。各突き合わせ部T〜Tに沿って谷折りした場合には、各突き合わせ部T〜Tに温水配管3が露出するが、カバーシート4がこの温水配管3の下側に回り込むため、温水配管3が床下地に直接的に接触することが防止される。
【選択図】図7

Description

本発明は、建物の部屋の床、壁、天井等の暖房や冷房を行うための温調マットに関する。
なお、以下の説明において、温調マットの上面とは、該温調マットを床上に展開したときの上面をいい、温調マットの下面とは、該温調マットを床上に展開したときの下面をいう。
また、本発明において、温調マットを谷折りするとは、折り部が温調マットの展開時の下面側に凸となるように折ることをいい、温調マットを山折りするとは、折り部が温調マットの展開時の上面側に凸となるように折ることをいう。
床暖房構造として、板状の基板の上面の溝に温水配管を引き回した温水マットが周知である。
第13図は、特開平11−257674号の床暖房構造を示す平面図である。
同号公報の床暖房構造においては、長方形の板状の基板100が長手辺を平行にして、且つ相互間に小根太101を介して配列されている。この基板100の上面の配管収容用溝に温水配管102が収容されている。温水配管102は、隣接する基板100に連続して引き回され、両端がそれぞれヘッダー103に接続されている。
この配管収容用溝の内面から基板100の上面にかけて均熱板104が配置されている。この均熱板104は、周知(例えば実開昭60−170627号、特開2002−295853号)の通り、第14図に示す略Ω字形断面形状のものである。即ち、この均熱板104は、U字部104aと、該U字部104aの両端からそれぞれ反対方向に張り出すフランジ部104bとからなり、U字部104aが配管収容用溝内に配置され、フランジ部104bが基板100の上面に配置される。この均熱板104は、熱伝導率が高いアルミ製、銅製とされることが多い。
同号公報では、基板100を現場で1枚ずつ敷設施工した後、温水配管102を溝内に配材し、その上にアルミ箔などの均熱シートを配置し、その上に表層材105を施工している。
このような現場施工の作業数を減らすために、複数枚の基板、温水配管及び均熱シート材を予め一体化して折り畳んでおき、現場にて展延させるようにしたものも周知である。
折り畳み可能な温水マットとして、特開2002−106865号公報の0030段落及び図7に記載のものがある。
上記特開2002−106865号の平面放熱パネルは、基板を構成する基体パネルがその横方向の中央付近で二分されており、且つこの二分された各基体パネルは、各々をその縦方向において一端側、中央側及び他端側に略三等分する位置で折り畳み可能となっている。この二分された基体パネル同士は、各々の縦方向の一端側において、ヒンジ部を介して屈曲可能に連結されている。
上記特開2002−106865号の平面放熱パネルを折り畳む場合には、この二分された各基体パネルを、各々の縦方向の前記他端側と中間側との間で山折りし、且つ該中間側と前記一端側との間で谷折りするか、あるいは該他端側と中間側との間で谷折りし、且つ該中間側と一端側との間で山折りすることにより、それぞれ3枚重ね状に折り畳み、各基体パネルの下面同士を対面させるようにヒンジ部を谷折りして、同号公報の図7に示される折り畳み体とする。
特開平11−257674号 実開昭60−170627号 特開2002−295853号 特開2002−106865号
上記従来の床暖房マットでは、基板の厚さが大きいために、部屋の床レベルが高くなる。そのため、床暖房マットを敷設していない部屋との床レベル差が大きくなる。
この基板の厚さを小さくすると、床暖房マットを敷設していない部屋との床レベル差を小さくすることができる。しかしながら、この場合、配管収容用溝の底部の基板厚さも小さくなり、この配管収容用溝の底部の剛性が低下する。
配管収容用溝が臨む基板の谷折り用折り線部では、基板の谷折りに伴い、配管収容用溝の底部が該折り線部に沿って開裂するようになっている。そのため、基板を谷折りすると、その折り線部に温水配管が露出する。基板展開時には、この折り線部の両側から温水配管の下側に配管収容用溝の底部が回り込むことにより、温水配管が配管収容用溝内に収容される。しかしながら、基板の厚さを小さくした場合、配管収容用溝の底部の剛性が不足して、基板展開時に配管収容用溝の底部が温水配管に接触したときに該配管収容用溝の底部が配管収容用溝の内側へ折れ曲がったり、該配管収容用溝の底部が温水配管を支え切れずに下方へ折れ曲がり、展開後の基板の下面に温水配管が露出するおそれがある。
本発明は、上記従来の問題点を解決し、基板を谷折りすることにより折り畳み可能な温調マットにおいて、厚さが小さく、且つ基板展開後に温調用配管が該基板の下面に露出することが防止された温調マットを提供することを目的とする。
本発明(請求項1)の温調マットは、上面に配管収容用溝が設けられた基板と、該配管収容用溝に収容された温調用配管と、該基板の上面に配置された均熱シートと、該基板に設けられた、該基板を谷折りするための谷折り用折り線部とを有し、該配管収容用溝の一部が基板の該谷折り用折り線部に臨み、該温調用配管の一部が該折り線部を横切って延在している温調マットにおいて、該基板は、前記配管収容用溝が該基板の下面に露呈する厚さとなっており、該基板の下面に、該配管収容用溝を塞ぐ裏張りシートが設けられており、該裏張りシートは、該配管収容用溝が臨む前記谷折り用折り線部では、該谷折り用折り線部を挟んだ一方と他方とに分離しており、該温調マットを床に施工した状態において、該裏張りシートよりも下側に配置され、且つ該谷折り用折り線部を跨いで該配管収容用溝を覆うカバーシートが設けられていることを特徴とするものである。
請求項2の温調マットは、請求項1において、前記基板は略長方形状のものであり、前記谷折り用折り線部は、該基板の長手方向に延在しており、前記カバーシートは、該谷折り用折り線部に沿って延在しており、その延在方向の両端側がそれぞれ該基板の短手辺の近傍に結合されており、該カバーシートは、該両端側同士の間の部分が弛緩する長さを有していることを特徴とするものである。
請求項3の温調マットは、請求項2において、該カバーシートの前記延在方向の長さが、該基板の前記長手方向の幅よりも5〜30%長いことを特徴とするものである。
請求項4の温調マットは、請求項1ないし3のいずれか1項において、前記谷折り用折り線部を跨いで2枚の前記カバーシートが互いに重なり合うように配設されており、該谷折り用折り線部を挟んだ一方の基板に一方のカバーシートが連結され、他方の基板に他方のカバーシートが連結されていることを特徴とするものである。
請求項5の温調マットは、請求項1ないし4のいずれか1項において、前記カバーシートの前記基板側の面が非粘着面となっていることを特徴とするものである。
請求項6の温調マットは、請求項1ないし5のいずれか1項において、前記裏張りシートの前記温調用配管側の面が非粘着面となっていることを特徴とするものである。
本発明(請求項1)の温調マットでは、配管収容用溝が下面に露呈するほど基板厚さが小さく、これにより温調マットの厚さが小さいものとなっている。従って、この温調マットを敷設した床のレベルと、温調マットを敷設していない部屋の床レベルとの差が小さいものとなる。また、温調マットの上に仕上げ材を設ける場合、温調マットの厚さが小さい分だけ、仕上げ材として厚さの大きいものを用いても、床のレベルが過度に高くなることが防止される。
本発明では、配管収容用溝を裏から塞ぐ裏張りシートが設けられている。この裏張りシートにより、配管収容用溝が下面に露呈するほど基板厚さが小さくても、基板の強度が確保される。また、この裏張りシートにより、基板の下面側への放熱も抑制される。
この裏張りシートは、配管収容用溝が臨む谷折り用折り線部では、該谷折り用折り線部を挟んだ一方と他方とに分離している。そのため、基板を谷折りした場合には、この裏張りシートが該谷折り用折り線部に沿って開裂し、この谷折り用折り線部に温水用配管が露出する。
本発明の温調マットにあっては、該温調マットを床に施工した状態において、この裏張りシートよりも下側に配置され、且つ基板の谷折り用折り線部を跨いで配管収容用溝を覆うカバーシートが設けられている。そのため、仮に、基板展開時に裏張りシートが温調用配管に接触したときに、該裏張りシートが配管収容用溝の内側へ折れ曲がったり、該裏張りシートが温調用配管を支え切れずに下方へ折れ曲がったりしても、カバーシートがこの温調用配管を下から覆うため、基板展開後に温調用配管が温調マットの下面に露呈することが防止される。また、これにより、裏張りシートとして比較的剛性の低いものを用いることができるため、裏張りシートの材料コストの低減を図ることも可能である。
請求項2の態様にあっては、カバーシートは、その両端側が基板に結合され、該両端側同士の間が弛緩した状態となっている。そのため、温調マットを床から浮かせた状態にあっては、カバーシートの該両端側同士の間の部分が自重により下方へ垂れ下がり、基板の下面から離隔する。これにより、カバーシートは、裏張りシートや温調用配管に引っ掛かることなく、スムーズに温調用配管の下側に回り込んで該温調用配管と床との間に介在するようになる。
この場合、請求項3の通り、カバーシートの延在方向の長さは、基板の長手方向の幅よりも5〜30%程度長いことが好ましい。
請求項4の態様にあっては、基板の谷折り用折り線部を挟んだ一方に第1のカバーシートが連結され、他方に第2のカバーシートが連結されており、温調マットを床に施工した状態において、該第1のカバーシートと第2のカバーシートとが重なり合うように配設されている。そのため、温調マットの折り畳み体を床上に載置した際に、基板の谷折り用折り線部を挟んだ一方と他方とのどちらがこの折り畳み体の下側に配置されても、第1のカバーシート及び第2のカバーシートのいずれかが必ず温調用配管の下側に位置するようになる。
請求項5の態様にあっては、カバーシートと裏張りシートとの貼り付きが防止される。
請求項6の態様にあっては、裏張りシートと温調用配管との貼り付きが防止される。
以下、図面を参照して実施の形態について説明する。以下の実施の形態は、床暖房マットへの本発明の適用例である。なお、以下の実施の形態は本発明の一例であり、本発明は以下の実施の形態以外の形態をもとりうる。
[第1の実施の形態に係る温調マットとしての床暖房マット1]
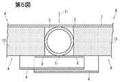
第1図は第1の実施の形態に係る温調マットとしての床暖房マット1の平面図、第2図はこの床暖房マット1の折り線部付近(第1図のII付近)の拡大図、第3図は第2図のIII−III線に沿う断面図、第4図は第3図と同様部分の分解断面図、第5図は第2図のV−V線に沿う断面図、第6図は第2図のVI−VI線に沿う断面図、第7図は床暖房マット1を谷折りした状態を示す第5図と同様部分の断面図、第8図は第7図のVIII−VIII線矢視図、第9図は床暖房マット1の谷折りの展開途中時を示す第5図と同様部分の断面図、第10図は床暖房マット1の展開後を示す第5図と同様部分の断面図である。
なお、第1図及び第2図においては、均熱シート及び均熱板の図示が省略されている。
この実施の形態では、床暖房マット1は、それぞれ略長方形状の小マットA〜Hを配列してなる。
第1図の通り、小マットA〜Dがこの順に一列に配列され、小マットE〜Hがこの順に、且つ該小マットA〜Dに隣接するように一列に配列されている。
小マットA〜D及びE〜Hは、それぞれ、互いの長辺同士を突き合わせるように配置されている。また、小マットA〜Dの列と小マットE〜Hの列との間では、小マットA,E同士、B,F同士、C,G同士及びD,H同士が、それぞれ、互いの短辺同士を突き合わせるように配置されている。
符号Tは、小マットA,B間及びE,F間の突き合わせ部を示し、Tは小マットB,C間及びF,G間の突き合わせ部を示し、Tは小マットC,D間及びG,H間の突き合わせ部を示し、Tは小マットA〜Dの列と小マットE〜Hの列との間の突き合わせ部を示している。
この実施の形態では、床暖房マット1は、小マットA,B間、B,C間、C,D間、E,F間、F,G間及びG,H間をそれぞれ突き合わせ部T〜Tに沿って谷折りすると共に、小マットA〜Dの列と小マットE〜Hの列との間を突き合わせ部Tに沿って山折りすることにより、折り畳み可能となっている。即ち、この実施の形態では、これらの突き合わせ部T〜Tがそれぞれ床暖房マット1の折り線部となっており、特に突き合わせ部T〜Tが谷折り用折り線部となっている。
床暖房マット1は、該床暖房マット1を床上に展開した状態において、これらの谷折り用折り線部としての各突き合わせ部T〜Tを跨いで小マットA,Bの下面同士、B,Cの下面同士、C,Dの下面同士、E,Fの下面同士、F,Gの下面同士、及びG,Hの下面同士をそれぞれ連続して覆うカバーシート4を備えている。このカバーシート4の構成については後で詳しく述べる。
小マットA〜Hは、それぞれ、小根太30,30’を挟んで配列された複数枚の細長い略長方形状の基板10〜18と、各基板10〜18の上面に設けられた配管収容用溝2と、この配管収容用溝2に収容されて基板10〜18の上面に引き回された温水配管3と、該配管収容用溝2に配設された均熱板6と、これらの温水配管3及び均熱板6を覆うように小マットA〜Hの上面に貼着された均熱シート7と、配管収容用溝2の底部を塞ぐように各基板10〜18の下面に貼り付けられた裏張りシート8等を備えている。
第3〜5図に示すように、この床暖房マット1にあっては、各基板10〜18は、各々の底面に配管収容用溝2が露呈する厚さとなっている。
第3図の通り、この実施の形態では、各基板10〜18の上面からの配管収容用溝2の深さは、温水配管3の外径と略等しいものとなっている。即ち、各基板10〜18の厚さも、温水配管3の外径と略等しいものとなっている。
温水配管3は、この実施の形態では、略円形の断面形状となっている。
第3,4図の通り、この実施の形態では、配管収容用溝2の長手方向と直交方向(即ち配管収容用溝2の幅方向)の断面形状は略方形となっており、この配管収容用溝2の幅は、各基板10〜18の上面から下面まで略等幅となっている。
本発明においては、温水配管3の外径は、通常、5〜10mm、特に6〜7mmであることが好ましい。また、各基板10〜18の厚さは、通常、5〜10mm、特に6〜7mmであることが好ましい。とりわけ、各基板10〜18の厚さは、通常、温水配管3の外径+0.03〜1mm、特に温水配管3の外径+0.08〜0.1mmであることが好ましい。
裏張りシート8は、各基板10〜18の下面に露呈した配管収容用溝2を覆うように各基板10〜18の下面に沿って配置され、接着剤等により各基板10〜18の下面に貼り付けられている。
なお、この実施の形態では、各基板10〜18に、それぞれ4条の配管収容用溝2が設けられている。該裏張りシート8は、この実施の形態では、細長い帯状のものであり、これらの配管収容用溝2を1条ずつ覆っているが、隣り合う複数の配管収容用溝2を連続して覆うものであってもよく、あるいは各基板10〜18の下面の略全体を覆うものであってもよい。
この実施の形態では、該裏張りシート8は、低熱伝導材よりなる。この低熱伝導材としては、不織布や合成樹脂シートあるいは紙等を用いることができる。
この裏張りシート8の熱伝導率は、通常、0.02〜0.5W/m・k、特に0.02〜0.1W/m・kであることが好ましい。
第3,4図に示すように、均熱板6は、この実施の形態では、配管収容用溝2の内面に沿うU字部6aと、該U字部6aの両端(上端)から各基板10〜18の上面に沿って側方に延出する1対のフランジ部6bとを有した略Ω字形断面形状のものである。
配管収容用溝2の直線部においては、この均熱板6のU字部6aが配管収容用溝2内に配置され、その上から、温水配管3がこのU字部6a内に嵌め込まれるようにして配管収容用溝2に収容されている。
この均熱板6は、アルミや銅等の金属箔よりなる。この均熱板6の厚さは、通常、40〜200μm、特に70〜150μm、とりわけ100μm程度であることが好ましい。
均熱シート7は、温調マット1の上面全体を覆う大きさ及び形状となっている。この均熱シート7も、アルミや銅等の金属箔よりなる。この均熱シート7の厚さは、通常、30〜200μm、特に40〜100μm、とりわけ40μm程度であることが好ましい。
第2,3図に示すように、この実施の形態では、各小根太30,30’は、それぞれ帯板状の小根太本体30aの上下両面に補強板30b,30bを接着剤等で貼り付けてなる。この実施の形態では、これらの小根太本体30aと上下の補強板30b,30bとの厚さの合計は、各基板10〜18の厚さと略同じとなっている。
各小根太30は、隣接する基板10〜18の長手辺21に沿って延在し、且つ各々の上面及び下面が、それぞれ隣接する基板10〜18の上面及び下面と略面一状に連続するように配設されている。
以下に、小マットA〜Hの構成についてさらに詳細に説明する。
この実施の形態では、小マットB,C同士及びF,G同士は、それぞれ、同一構成の2枚の小マットを第1図における上下方向を逆向きにして配列したものとなっている。また、小マットF,Gは、小マットB,Cの長辺を小マットEの長辺と略同長さまで延長した如き構成となっており、それ以外の構成は小マットB,Cと同様となっている。小マットHも、小マットDの長辺を小マットEの長辺と略同長さまで延長した如き構成となっており、それ以外の構成は小マットDと同様となっている。
この実施の形態では、小マットAは、3枚の長方形状の基板10〜12と、2本の小根太30,30’とを、各々の長手方向を各小マットAの長辺方向として、該小マットAの短辺方向に交互に配列した構成となっている。
小マットB,C,F,Gは、それぞれ、4枚の長方形状の基板13〜16と、3本の小根太30とを、各々の長手方向を各小マットB,C,F,Gの長辺方向として、各小マットB,C,F,Gの短辺方向に交互に配列した構成となっている。
小マットD,Hは、それぞれ、2枚の長方形状の基板17,18と、1本の小根太30とを、各々の長手方向を各小マットD,Hの長辺方向として、各小マットD,Hの短辺方向に交互に配列した構成となっている。
小マットEは、3枚の長方形状の基板10〜12と、2本の小根太30とを、各々の長手方向を小マットEの長辺方向として、該小マットEの短辺方向に交互に配列した構成となっている。
各基板10〜18は、各々の長手辺21を隣接する小根太30,30’に突き合わせるようにして配置されている。各基板10〜18の長さは、各小マットA〜Hの長辺方向の幅と略等しい。また、各小根太30,30’の長さは、隣接する基板10〜18の長さよりも短い。
小マットAの基板10,11間の小根太30’は、長い長小根太31と、短い小小根太32とからなる。該長小根太31は、小小根太32と反対側の端部を基板10,11の一端に揃えて配置され、小小根太32は、長小根太31と反対側の端部を基板10,11の他端に揃えて配置されている。これらの長小根太31と小小根太32との向い合う端部同士の間には、配管引き通し用のスペースがあいている。この小マットAの基板11,12間の小根太30は、その一端と基板11,12の該一端との間に配管引き通し用のスペースをあけ、且つその他端を基板11,12の該他端に揃えて配置されている。
この小マットAの基板10,11同士は、該長小根太31と小小根太32との間のスペースを横切るように形成された連結部33によって連結されている。また、この小マットAの基板11,12同士は、これらの間の小根太30の該他端側を回り込むように形成された連結部33によって連結されている。この基板11,12間の連結部33は、各基板11,12の短手辺20(第2図)に沿って延在している。
小マットB,C,F,Gにおいては、それぞれ、基板13,14同士の間及び基板15,16同士の間の各小根太30は、一端を各基板13〜16の一端に揃えるようにして配置され、基板14,15同士の間の小根太30は、他端を各基板13〜16の他端に揃えるようにして配置されている。該基板13,14同士及び15,16同士は、それぞれ、各々の間の小根太30の前記他端側を回り込むように形成された連結部33によって連結されている。また、基板14,15同士は、これらの間の小根太30の前記一端側を回り込むように形成された連結部33によって連結されている。これらの連結部33も、各基板13〜16の短手辺20に沿って延在している。
小マットD,Hにおいては、それぞれ、基板17,18同士の間の小根太30は、一端を該基板17,18の一端に揃えるようにして配置されている。該基板17,18同士は、これらの間の小根太30の他端側を回り込むように形成された連結部33によって連結されている。この連結部33も、各基板17,18の短手辺20に沿って延在している。
小マットEにおいては、基板10,11同士の間の小根太30は、一端を該基板10,11の一端に揃えるようにして配置され、基板11,12同士の間の小根太30は、他端を該基板11,12の他端に揃えるようにして配置されている。この小マットEの基板10,11同士は、これらの間の小根太30の前記他端側を回り込むように形成された連結部33によって連結されている。また、この小マットEの基板11,12同士は、これらの間の小根太30の前記一端側を回り込むように形成された連結部33によって連結されている。これらの連結部33も、それぞれ、各基板10〜12の短手辺20に沿って延在している。
第1図の通り、小マットA,Eは、それぞれ、基板12を小マットB,Fの基板13に突き合わせるように配置されている。また、小マットC,Gは、それぞれ、第1図における上下方向を小マットB,Fと逆にして、各々の基板16を該小マットB,Fの基板16に突き合わせるように配置されている。小マットD,Hは、それぞれ、各々の基板17を小マットC,Gの基板13に突き合わせるように配置されている。
以下、小マットA〜Dの列及び小マットE〜Hの列の各小根太30,30’を、それぞれ、第1図において最も左側に配置された小根太30,30’から順に1列目の小根太30,30’、2列目の小根太30、3列目の小根太30、4列目の小根太30、5列目の小根太30、6列目の小根太30、7列目の小根太30、8列目の小根太30、9列目の小根太30及び10列目の小根太30と称する。
第1図の通り、この実施の形態では、小マットA〜Dの列においては、3列目以降の奇数列目の小根太30の前記突き合わせ部Tと反対側の端部(以下、各小根太30,30’の突き合わせ部Tと反対側の端部を外側端部ということがある。)がそれぞれ各小マットA〜Dの該突き合わせ部Tと反対側の辺(以下、各小マットA〜Hの突き合わせ部Tと反対側の辺を外側辺ということがある。)に揃っており、これらの小根太30の該突き合わせ部T側の端部(以下、各小根太30,30’の突き合わせ部T側の端部を内側端部ということがある。)と各小マットA〜Dの該突き合わせ部T側の辺(以下、各小マットA〜Hの突き合わせ部T側の辺を内側辺ということがある。)との間のスペースにそれぞれ連結部33が配置されている。
また、この小マットA〜Dの列における偶数列目の小根太30の内側端部はそれぞれ各小マットA〜Dの内側辺に揃っており、これらの小根太30の外側端部と各小マットA〜Dの外側辺との間のスペースにそれぞれ連結部33が配置されている。
小マットE〜Hの列においては、奇数列目の小根太30の内側端部がそれぞれ各小マットE〜Hの内側辺に揃っており、これらの小根太30の外側端部と各小マットE〜Hの外側辺との間のスペースにそれぞれ連結部33が配置されている。また、この小マットE〜Hの列における偶数列目の小根太30の外側端部はそれぞれ各小マットE〜Hの外側辺に揃っており、これらの小根太30の内側端部と各小マットE〜Hの内側辺との間のスペースにそれぞれ連結部33が配置されている。
この実施の形態では、小マットEの基板10に、温水配管3が接続されたヘッダー(図示略)が設置されている。この基板10には、その外側辺の基板11と反対側の角部に、方形の切欠状のヘッダー設置部10aが形成されており、このヘッダー設置部10a内にヘッダーが設置されている。
各基板10〜18の上面には、それぞれ、4条の配管収容用溝2が設けられている。
小マットB,C,F,Gの基板14,15、小マットD,Hの基板18及び小マットEの基板11においては、各々の4条の配管収容用溝2は、いずれも、該基板10,11,14,15,18の両短手辺20よりも長手辺21の中間側では該長手辺21に沿って直線状に延在し、両短手辺20の近傍では、それぞれ、該短手辺20に連なる連結部33に向って略四分円弧状に湾曲している。この湾曲部から連結部33に向った各配管収容用溝2は、それぞれ、該連結部33を通り、隣接する基板10〜18の各配管収容用溝2に連続している。
基板12,13,16,17においては、各々の4条の配管収容用溝2のうちの2条は、それぞれ、該基板12,13,16,17の両短手辺20よりも長手辺21の中間側では該長手辺21に沿って直線状に延在し、該基板12,13,16,17の連結部33に連なる短手辺20の近傍では、該連結部33に向って略四分円弧状に湾曲している。以下、これらのうち、基板12,13,16,17に隣接する小根太30に近い方を第1の配管収容用溝2といい、該小根太30から遠い方を第2の配管収容用溝2という。
第1図の通り、該第1の配管収容用溝2は、基板12,13,16,17の連結部33と反対側の短手辺20の近傍においては、略半円弧状にUターンし、次いで略S字形に蛇行するように延在して、その末端が基板12,13,16,17の突き合わせ部T〜T側の長手辺21に臨んでいる。また、該第2の配管収容用溝2は、基板12,13,16,17の連結部33と反対側の短手辺20に向う途中で突き合わせ部T〜T側へ湾曲し、その末端が基板12,13,16,17の該突き合わせ部T〜T側の長手辺21に臨んでいる。
各基板12,13,16,17の残りの2条の配管収容用溝2は、該基板12,13,16,17に連なる連結部33から該基板12,13,16,17をその略短手辺方向に横切るように延在し、各々の末端は基板12,13,16,17の突き合わせ部T〜T側の長手辺21に臨んでいる。以下、これらのうち、基板12,13,16,17の連結部33に連なる短手辺20から遠い方を第3の配管収容用溝2といい、該短手辺20に近い方を第4の配管収容用溝2という。
これらの第3の配管収容用溝2及び第4の配管収容用溝2は、それぞれ、連結部33から離隔するほど該短手辺20から遠ざかるように略四分円弧状に湾曲して延在している。
各基板12,13,16,17の突き合わせ部T〜T側の長手辺21において、該基板12,13,16,17の連結部33から遠い方の短手辺20から第1の配管収容用溝2の該長手辺21に臨む端部までの距離は、連結部33に近い方の短手辺20から第4の配管収容用溝2の該長手辺21に臨む端部までの距離と略等距離となっている。また、連結部33から遠い方の短手辺20から第2の配管収容用溝2の該長手辺21に臨む端部までの距離は、連結部33に近い方の短手辺20から第3の配管収容用溝2の該長手辺21に臨む端部までの距離と略等距離となっている。
これにより、隣接する小マットA,B間及びE,F間の基板12,13同士の間、小マットB,C間及びF,G間の基板16,16同士の間、並びに小マットC,D間及びG,H間の基板13,17同士の間においては、突き合わせ部T〜Tを挟んで各々の第1の配管収容用溝2と第4の配管収容用溝2との端部同士、並びに第2の配管収容用溝2と第3の配管収容用溝2との端部同士がそれぞれ対面し、これらの配管収容用溝2同士が突き合わせ部T〜Tを横切って連続したものとなっている。
なお、この実施の形態では、これらの配管収容用溝2の端部は、それぞれ、各基板12,13,16,17の突き合わせ部T〜T側の長手辺21に沿って延在したものとなっており、この端部に向って各配管収容用溝2が緩やかに湾曲している。また、これらの配管収容用溝2は、各突き合わせ部T〜Tを挟んで互いに反対側に向って凸となるように湾曲しており、これにより、これらの配管収容用溝2は、各突き合わせ部T〜Tを挟んだ一方の基板から他方の基板にかけて略S字形に連続したものとなっている。
このように端部が突き合わせ部T〜T(即ち床暖房マット1の折り線部)に臨む各基板12,13,16,17の配管収容用溝2の湾曲部は、それぞれ、第1,2図に示すように、できるだけ曲率半径の大きい曲線を描くように湾曲して延在していることが好ましい。特に、第2図の通り、各基板12,13,16,17の4条の配管収容用溝2のうち前記第3の配管収容用溝2の湾曲部の曲率半径が最も大きくなるように構成することが好ましい。
小マットAの基板10,11においては、各々の4条の配管収容用溝2は、いずれも、該基板10の短手辺20よりも長手辺21の中間側では、該長手辺21に沿って直線状に延在しているが、これらのうち小根太30’に最も近い配管収容用溝2と、該小根太30’に2番目に近い配管収容用溝2とは、基板10,11同士の間の連結部33付近において該連結部33よりも小マットAの外側辺側と内側辺側とに分離している。これらの配管収容用溝2の該外側辺側と内側辺側とは、それぞれ、該連結部33の近傍において該連結部33に向って略四分円弧状に湾曲しており、基板10,11の小根太30’に最も近い配管収容用溝2の該外側辺側同士、小根太30’に2番目に近い配管収容用溝2の該外側辺側同士、小根太30’に最も近い配管収容用溝2の該内側辺側同士、並びに小根太30’に2番目に近い配管収容用溝2の該内側辺側同士が連結部33を介して連続している。
小マットAの基板10においては、小根太30’に最も近い配管収容用溝2と、小根太30’から最も遠い配管収容用溝2とが、それぞれ、基板10の小マットA外側辺側の短手辺20の近傍において、該短手辺20の中間側へ向って略四分円弧状に湾曲して互いに連続したものとなっている。また、この基板10の小根太30’に2番目に近い配管収容用溝2と、小根太30’から2番目に遠い配管収容用溝2とも、それぞれ、基板10の小マットA外側辺側の短手辺20の近傍において、該短手辺20の中間側へ向って略四分円弧状に湾曲して互いに連続したものとなっている。
小マットAの基板11においては、小根太30’に最も近い配管収容用溝2と、小根太30’から最も遠い配管収容用溝2とが、それぞれ、基板10の小マットA内側辺側の短手辺20の近傍において、該短手辺20の中間側へ向って略四分円弧状に湾曲して互いに連続したものとなっている。また、この基板10の小根太30’に2番目に近い配管収容用溝2と、小根太30’から2番目に遠い配管収容用溝2とも、それぞれ、基板10の小マットA内側辺側の短手辺20の近傍において、該短手辺20の中間側へ向って略四分円弧状に湾曲して互いに連続したものとなっている。
この基板11の小マットA外側辺側の短手辺20の近傍においては、各配管収容用溝2は、いずれも、該基板11に連なる連結部33に向って略四分円弧状に湾曲し、該連結部33を通って、隣接する基板12の各配管収容用溝2に連続している。
第1図に示すように、小マットAの基板10においては、各配管収容用溝2の小マットE側の端部は、それぞれ、該基板10の内側辺、即ち小マットA,E同士の突き合わせ部Tに臨んでいる。また、小マットEの基板10においても、各配管収容用溝2の小マットA側の端部は、それぞれ、該基板10の内側辺、即ち小マットA,E同士の突き合わせ部Tに臨んでいる。この小マットA側の各配管収容用溝2と小マットE側の各配管収容用溝2の端部同士は、それぞれ突き合わせ部Tを挟んで対面しており、これにより、各配管収容用溝2は該突き合わせ部Tを横切って小マットAから小マットEに連続したものとなっている。
小マットAの基板10及び小マットEの基板10の各配管収容用溝2は、それぞれ、該突き合わせ部Tの近傍において略円弧状に湾曲しており、これにより、各々の端部は該突き合わせ部Tに沿って延在したものとなっている。なお、突き合わせ部Tを挟んで小マットA側の各配管収容用溝2の湾曲部と小マットE側の各配管収容用溝2の湾曲部とは、互いに反対方向に湾曲しており、これにより、各配管収容用溝2は、小マットA側から小マットE側にかけて略S字形に延在したものとなっている。
小マットEの基板10においては、4条の配管収容用溝2は、いずれも、該基板10の短手辺20よりも長手辺21の中間側では、該長手辺21に沿って直線状に延在している。これらのうち基板10,11間の小根太30に最も近い配管収容用溝2と、該小根太30に2番目に近い配管収容用溝2とは、該基板10の小マットE外側辺側の短手辺20の近傍において、該基板10に連なる連結部33に向って略四分円弧状に湾曲し、該連結部33を通って、隣接する基板11の4条の配管収容用溝2のうちの2条に連続している。
この基板10の残りの2条の配管収容用溝2は、それぞれ、小マットE外側辺側において、各々の末端が前記ヘッダー設置部10aに臨んでいる。また、隣接する基板11の配管収容用溝2のうち該基板10の配管収容用溝2と連なっていない残りの2条も、それぞれ、基板10,11間の連結部33を通って該基板10上に入り込んだ後、各々の末端が該ヘッダー設置部10aに臨んでいる。
温水配管3は、これらの配管収容用溝2に収容されて基板10〜18に連続して引き回されていると共に、T〜Tを横切って小マットA〜Hに連続して引き回されている。
なお、この実施の形態では、前述の通り、配管収容用溝2のうち各突き合わせ部T〜Tを横切る部分は、それぞれ、該突き合わせ部T〜Tに沿って延在したものとなっている。従って、温水配管3のうち各突き合わせ部T〜Tを横切る部分も、この配管収容用溝2に収容されることにより、該突き合わせ部T〜Tに沿って延在したものとなる。
そのため、これらの突き合わせ部T〜Tに沿って基板A,B間、B,C間、C,D間、E,F間、F,G間、G,H間及びA,E間を折り曲げた際には、温水配管3は、これらの突き合わせ部T〜Tを横切る部分がそれぞれその軸心回りに捩れるようにして曲がる。これにより、基板A,B間、B,C間、C,D間、E,F間、F,G間、G,H間及びA,E間の折り曲げに伴い、温水配管3が座屈して破損することが防止される。
この実施の形態では、温水配管3は、一端がヘッダー設置部10a内のヘッダーに接続され、小マットEの基板10から突き合わせ部Tを横切って小マットAの基板10に引き回され、次いで、この小マットAの基板10から各連結部33及び該小マットAの基板11,12、小マットBの13〜16、小マットCの基板16〜13、小マットDの基板17を通って該小マットDの基板18まで引き回され、次いで、この小マットDの基板18でUターンして、再び各連結部33及び該小マットDの基板17、小マットCの基板13〜16、小マットDの基板16〜13、小マットAの基板12,11を通って該小マットAの基板10に戻り、その後、この小マットAの基板10から突き合わせ部Tを横切って小マットEの基板10に引き回され、次に、この小マットEの基板10から各連結部33及び該小マットEの基板11,12、小マットFの13〜16、小マットGの基板16〜13、小マットHの基板17を通って該小マットHの基板18まで引き回され、次いで、この小マットHの基板18でUターンして、再び各連結部33及び該小マットHの基板17、小マットGの基板13〜16、小マットFの基板16〜13、小マットEの基板12,11を通って該小マットEの基板10に戻り、他端が前記ヘッダーに接続されている。
なお、温水配管3の配管ルートはこれに限定されない。
図示は省略するが、この実施の形態では、小マットA〜Dの上面を覆う均熱シート7は、これらの小マットA〜D同士の突き合わせ部T〜Tを跨いで連続したものとなっている。また、小マットE〜Hの上面を覆う均熱シート7も、これらの小マットE〜H同士の突き合わせ部T〜Tを跨いで連続したものとなっている。この小マットA〜Dの列を覆う均熱シート7と、小マットE〜Hの列を覆う均熱シート7とは、突き合わせ部Tに沿って分断されている。
これにより、この実施の形態では、小マットA〜Dの列を各突き合わせ部T〜Tに沿って谷折りしうると共に、小マットE〜Hの列も各突き合わせ部T〜Tに沿って谷折りしうるものとなっており、且つ小マットA,E間を突き合わせ部Tに沿って山折りしうるようになっている。
前記裏張りシート8は、配管収容用溝2が各突き合わせ部T〜Tに臨む部分にも設けられているが、第5,7,9図に示すように、小マットA,B間、B,C間、C,D間、E,F間、F,G間及びG,H間においては、それぞれ、各突き合わせ部T〜Tに沿って該突き合わせ部T〜Tを挟んだ一方と他方とに分断されている。
本発明においては、裏張りシート8は、少なくとも配管収容用溝2が各突き合わせ部T〜Tに臨む部分においては、その上面(温水配管3側の面)のうち配管収容用溝2内に臨む領域が非粘着面となっていることが好ましい。この裏張りシート8として、予め上面に粘着材が塗布された粘着テープを用いる場合には、基板12,13,16,17の下面に重なる部分のみ剥離紙を剥し、配管収容用溝2内に臨む部分には剥離紙を残しておくか、あるいは剥離紙を全て剥した後、配管収容用溝2内に臨む部分の上面に紙などを張り付けるか、又は該配管収容用溝2内に臨む部分の上面の粘着材を除去することにより、裏張りシート8の上面のうち配管収容用溝2内に臨む部分を非粘着面とすることできる。
次に、前記カバーシート4の構成について詳細に説明する。
この実施の形態では、カバーシート4は、第5図に示すように、配管収容用溝2よりも所定幅だけ幅の広い帯状のものとなっている。
この実施の形態では、該カバーシート4は、小マットA,B間の突き合わせ部T、小マットB,C間の突き合わせ部T、小マットC,D間の突き合わせ部T、小マットE,F間の突き合わせ部T、小マットF,G間の突き合わせ部T、並びに小マットG,H間の突き合わせ部Tに沿ってそれぞれ配設されている。小マットA〜Dの列における各カバーシート4と、小マットE〜Hの列における各カバーシート4とは連続しておらず、各カバーシート4の小マットA〜H内側辺側の端部は、それぞれ、突き合わせ部Tに臨んでいる。
第3〜5図に示すように、この実施の形態では、各突き合わせ部T〜Tに沿ってそれぞれ2枚のカバーシート4が配設されている。これらのカバーシート4は、第3〜5図の通り、床暖房マット1を床上に展開した状態において、各突き合わせ部T〜Tを挟んだ一方の小マット側と他方の小マット側とに若干位置をずらして互いに重なり合うように配置されている。
第6,8図の通り、各突き合わせ部T〜Tを挟んだ一方の小マット側に位置するカバーシート4(第1のカバーシート4)は、その両端が、該一方の小マットの突き合わせ部T〜Tに臨む基板の両短手辺20近傍の下面にそれぞれ接着材5により接着され、他方の小マット側に位置するカバーシート4(第2のカバーシート4)は、その両端が、該他方の小マットの突き合わせ部T〜Tに臨む基板の両短手辺20近傍の下面にそれぞれ接着材5により接着されている。なお、各カバーシート4の各基板12,13,16,17への結合方法はこれに限定されない。
即ち、小マットA,B間及びE,F間においては、それぞれ、2枚のカバーシート4が小マットA,E側とB,F側とに若干位置をずらして配置されており、小マットA,E側の各カバーシート4は、その両端が、該小マットA,Eの各基板12の両短手辺20近傍の下面にそれぞれ接着材5により接着され、小マットB,F側の各カバーシート4は、その両端が、該小マットB,Fの各基板13の両短手辺20近傍の下面にそれぞれ接着材5により接着されている。
第5図の通り、床暖房マット1を床上に展開した状態において、小マットA,E側の各カバーシート4は、該小マットA,Eの各基板12の下側から、突き合わせ部Tに臨む配管収容用溝2を跨いで小マットB,Fの各基板13の下側まで延在している。また、小マットB,F側の各カバーシート4は、該小マットB,Fの各基板13の下側から、突き合わせ部Tに臨む配管収容用溝2を跨いで小マットA,Eの各基板12の下側まで延在している。なお、この実施の形態では、小マットB,F側の各カバーシート4が小マットA,E側の各カバーシート4の下側に回り込んでいるが、カバーシート4,4同士の位置関係はこれに限定されない。
図示は省略するが、小マットB,C間及びF,G間においても、それぞれ、2枚のカバーシート4が小マットB,C側とF,G側とに若干位置をずらして配置されており、小マットB,C側の各カバーシート4は、その両端が、該小マットB,Cの各基板16の両短手辺20近傍の下面にそれぞれ接着材5により接着され、小マットF,G側の各カバーシート4は、その両端が、該小マットF,Gの各基板16の両短手辺20近傍の下面にそれぞれ接着材5により接着されている。
小マットB,C間及びF,G間においても、床暖房マット1を床上に展開した状態において、小マットB,C側の各カバーシート4は、該小マットB,Cの各基板16の下側から、突き合わせ部Tに臨む配管収容用溝2を跨いで小マットF,Gの各基板16の下側まで延在している。また、小マットF,G側の各カバーシート4は、該小マットF,Gの各基板16の下側から、突き合わせ部Tに臨む配管収容用溝2を跨いで小マットB,Cの各基板16の下側まで延在している。
さらに、小マットC,D間及びG,H間においても、それぞれ、2枚のカバーシート4が小マットC,D側とG,H側とに若干位置をずらして配置されており、小マットC,D側の各カバーシート4は、その両端が、該小マットC,Dの各基板13の両短手辺20近傍の下面にそれぞれ接着材5により接着され、小マットG,H側の各カバーシート4は、その両端が、該小マットG,Hの各基板17の両短手辺20近傍の下面にそれぞれ接着材5により接着されている。
小マットC,D間及びG,H間においても、床暖房マット1を床上に展開した状態において、小マットC,D側の各カバーシート4は、該小マットC,Dの各基板13の下側から、突き合わせ部Tに臨む配管収容用溝2を跨いで小マットG,Hの各基板17の下側まで延在している。また、小マットG,H側の各カバーシート4は、該小マットG,Hの各基板17の下側から、突き合わせ部Tに臨む配管収容用溝2を跨いで小マットC,Dの各基板13の下側まで延在している。
各カバーシート4は、その両端部以外の大部分は、各基板12,13,16,17の下面に対し非接着とされている。
この実施の形態では、各カバーシート4は、各基板10〜18の長さよりも所定長さだけ長いものとなっており、第6,8図に示すように、その両端部同士の間の部分は弛緩した状態となっている。そのため、床暖房マット1を床から浮かせた状態にあっては、第6,8図の通り、各カバーシート4の該両端部同士の間の部分が自重により下方へ垂れ下がり、各基板12,13,16,17の下面から離隔するようになる。
本発明においては、このカバーシート4の材質としては、床下地に塗布されたワックス等の薬剤、水分等を透過しない合成樹脂フィルムや金属箔などが好適である。カバーシート4は、その両端部同士の間の部分の上面(基板12,13,16,17側の面)が非粘着面となっていることが好ましい。このカバーシート4として、予め上面に粘着材が塗布された粘着テープを用いる場合には、その両端部のみ剥離紙を剥し、該両端部同士の間の部分には剥離紙を残しておくか、あるいは剥離紙を全て剥した後、両端部以外の上面に紙などを張り付けるか、又は該両端部以外の上面の粘着材を除去することにより、カバーシート4の両端部同士の間の部分の上面を非粘着面とすることできる。また、カバーシート4の上面にシリコン等を塗布して非粘着面としてもよい。
このカバーシート4の長さは、各基板10〜18の長さよりも5〜30%程度長い(即ち、各基板10〜18の長さの1.05〜1.3倍程度である)ことが好ましい。また、このカバーシート4の幅は、配管収容用溝2の幅よりも5〜30%程度大きい(即ち、配管収容用溝2の幅の1.05〜1.3倍程度である)ことが好ましい。このカバーシート4の厚みは、0.05〜2mm程度であることが好ましい。
このように構成された床暖房マット1は、前述の通り、小マットA,B間、B,C間、C,D間、E,F間、F,G間及びG,H間をそれぞれ突き合わせ部T〜Tに沿って谷折りすると共に、小マットA,E間を突き合わせ部Tに沿って山折りすることにより折り畳まれた状態で出荷される。
この小マットA,B間、B,C間、C,D間、E,F間、F,G間及びG,H間の谷折りに伴い、配管収容用溝2が臨む各突き合わせ部T〜Tでは、それぞれ、第7図に示すように、裏張りシート8が各突き合わせ部T〜Tに沿って開裂し、各突き合わせ部T〜Tにそれぞれ温水配管3が露出する。この際、各突き合わせ部T〜Tにそれぞれ配設された2枚のカバーシート4は、第7,8図の通り、各突き合わせ部T〜Tを挟んだ一方の小マット側と他方の小マット側とに分かれる。
施工時には、この床暖房マット1の折り畳み体を施工現場に搬入し、小マットA,B間、B,C間、C,D間、E,F間、F,G間、G,H間及びA,E間の折りをそれぞれ開いて床暖房マット1を床上に広げる。
この際、小マットA,B間、B,C間、C,D間、E,F間、F,G間及びG,H間の各突き合わせ部T〜Tには温水配管3が露出しているが、第7〜9図のように、各カバーシート4がこの温水配管3の下側に回り込むため、温水配管3が床下地に直接的に接触することが防止される。
この実施の形態では、各突き合わせ部T〜Tにそれぞれ2枚のカバーシート4が設けられており、各突き合わせ部T〜Tを挟んだ一方の小マット側に第1のカバーシート4が連結され、他方の小マット側に第2のカバーシート4が連結されている。そのため、床暖房マット1の折り畳み体を床上に載置した際に、各突き合わせ部T〜Tを挟んだ一方の小マットと他方の小マットとのどちらがこの折り畳み体の下側に配置されても、該第1及び第2のカバーシート4のいずれか一方が必ず温水配管3の下側に位置するようになる。
この実施の形態では、前述の通り、各カバーシート4は、その両端部が各基板12,13,16,17の下面に結合され、該両端部同士の間が弛緩した状態となっている。そのため、床暖房マット1を床から浮かせた状態にあっては、各カバーシート4の該両端部同士の間の部分が自重により下方へ垂れ下がり、各基板12,13,16,17の下面から離隔する。これにより、第9図のように、各カバーシート4は、裏張りシート8や温水配管3に引っ掛かることなく、スムーズに温水配管3の下側に回り込んで該温水配管3と床との間に介在するようになる。
また、この実施の形態では、各カバーシート4の上面が非粘着面となっているので、各カバーシート4と裏張りシート8とが貼り付くことも防止される。
この床暖房マット1では、裏張りシート8は、厚さが小さく、且つ比較的剛性の低い材質により構成されている。そのため、小マットA,B間、B,C間、C,D間、E,F間、F,G間及びG,H間の谷折りを開く際に、裏張りシート8が各突き合わせ部T〜Tの両側から温水配管3の下側へ回り込もうとしたときに、第9,10図のように、該裏張りシート8が温水配管3を支え切れずに下方へ折れ曲がったり、該温水配管3に当って配管収容用溝2の内側へ折れ曲がったりするおそれがある。しかしながら、この床暖房マット1にあっては、この裏張りシート8のさらに下側から各カバーシート4が温水配管3を覆っているため、床暖房マット1の展開後に温水配管3が該床暖房マット1の下面に露呈することが防止される。また、これにより、裏張りシート8として比較的剛性の低いものを用いることができるため、裏張りシート8の材料コストの低減を図ることも可能である。
この実施の形態では、裏張りシート8の上面(温水配管3側の面)が非粘着面となっているので、基板展開時に各突き合わせ部T〜Tにおいて裏張りシート8が温水配管3に貼り付くことが防止される。
この実施の形態では、各溝配管収容用溝2の断面形状が略方形であり、各基板10〜18の上面から下面まで略等幅となっているので、この配管収容用溝2付きの基板10〜18の成形が容易である。
[第2の実施の形態に係る温調マットとしての床暖房マット1A]
第11図は第2の実施の形態に係る温調マットとしての床暖房マット1Aの断面図であり、第12図はこの床暖房マット1Aの分解断面図である。なお、第11図及び第12図は、前述の第3図と同様の部分における断面を示している。
この床暖房マット1Aは、前述の第1〜10図の床暖房マット1において、各基板10〜18(第9,10図では基板10〜12,16〜18は図示略。以下、同様。)に、略方形断面形状の配管収容用溝2の代わりに、略U字形断面形状の配管収容用溝2Aが形成された構成となっている。
第11,12図の通り、この配管収容用溝2Aの断面形状は、その底部が該温水配管3の外面に沿うように半円弧状に湾曲した略U字形となっている。この配管収容用溝2の底部の幅方向の中央付近が、各基板10〜18を貫通して各基板10〜18の下面に露呈している。
この床暖房マット1Aのその他の構成は、第1〜10図の床暖房マット1と同様となっており、第11,12図において第1〜8図と同一符号は同一部分を示している。
この床暖房マット1Aにあっては、各配管収容用溝2Aの断面形状を略U字形としたことにより、各基板10〜18の下面に露呈する各配管収容用溝2Aの幅が小さくなっている。このように構成したことにより、各配管収容用溝2Aからの各基板10〜18の下面への放熱が抑制される。
なお、この床暖房マット1Aにあっても、第1〜10図の床暖房マット1と同様の作用効果が奏される。
[材質等]
上記各部材の材質の一例として次のものが挙げられるが、これらに限定されるものではない。
基板としては例えば発泡ポリプロピレン、発泡ポリスチレン、発泡ポリエチレン、発泡ポリウレタン等の発泡合成樹脂のほか木材等を用いることができる。発泡合成樹脂としては、断熱性の点から、内部の気泡が独立気泡となっているものが好ましい。
本発明においては、裏張りシートは、前述の通り、低熱伝導材よりなることが好ましい。この低熱伝導材としては、不織布や合成樹脂シートあるいは紙等を用いることができる。
小根太としては、木材や、釘打ち可能な合成木材又は合成樹脂あるいは合成樹脂発泡体等が好ましい。
上記の各実施の形態における小根太30,30’のように、小根太本体30aの上下両面に補強板30b,30bを貼り付ける場合には、該小根太本体30aとしては、例えば合板等を用いることができ、補強板30bとしては、金属板又は金属箔や、樹脂板、あるいは金属と樹脂との複合材料よりなる板材等を用いることがきる。なお、この場合、該補強板30bの厚さは、該補強板30bに釘が入る程度のものとする。
ただし、小根太の構成はこれに限定されない。例えば、本発明においては、補強板は小根太本体の上面又は下面の一方にのみ設けられてもよい。また、小根太本体が十分な強度を有していれば、補強板は省略されてもよい。
均熱シート及び均熱板としては、アルミ又は銅等の金属箔が好ましい。
均熱シートの表面にポリエチレンテレフタレート等のフィルムをラミネートすることにより、温調マットの梱包時や運搬時等に均熱シートの破損を防止することができる。なお、このフィルムの材質はポリエチレンテレフタレート以外であってもよい。
温水配管としては、可撓性のポリエチレン等の合成樹脂チューブや銅パイプが例示される。
[その他の構成]
上記の実施の形態は、いずれも本発明の一例を示すものであり、本発明は図示の構成に限定されない。
本発明の温調マットを構成する基板の枚数に特に制限はなく、上記以外の枚数の基板を用いて温調マットを構成してもよい。
本発明においては、配管収容用溝の内側にも、この溝の底部を塞ぐように低熱伝導材が設けられてもよい。また、均熱板が設けられる場合には、この均熱板の外面に低熱伝導材が貼り付けられてもよい。このように構成することにより、基板の下面側への放熱が一層抑制される。
本発明では、少なくとも裏貼りシートの下側に、耐貫通性を有する貫通防止層を設けてもよい。このように構成することにより、例えば床下地の表面がささくれて、鋭く尖った棘が突き出ていても、この棘が裏貼りシートを貫通して温調用配管に突き刺さることが防止される。
この貫通防止層としては、合成樹脂製の単層又は複層シートが好適である。
なお、ワックスが塗布された既存床上に温調マットを敷設して温調床を構築した場合には、この温調マットからの熱により既存床表面のワックスが溶け出すおそれがある。この場合、温調床上を人が歩いたときに、この溶け出したワックスにより温調マットが既存床上を滑って音鳴りすることがある。
そのため、本発明では、貫通防止層の下側に紙又は不織布よりなるワックス吸収層を設けてもよい。このように構成することにより、既存床表面のワックスが溶け出しても、このワックスがワックス吸収層によって吸収されるため、温調マットが滑って音鳴りすることが防止ないし抑制される。
本発明では、貫通防止層自体を紙又は不織布により構成し、この貫通防止層自体がワックスを吸収しうるように構成してもよい。
上記の実施の形態は、床暖房マットに関するものであるが、本発明の温調マットは、壁や天井等に配置されてもよい。また、温水ではなく、冷水を配管に通水して冷房するようにしてもよい。水以外のオイル、不凍液等の熱媒体を流通させてもよい。
第1の実施の形態に係る温調マットとしての床暖房マット1の平面図である。 図1の床暖房マット1の折り線部付近の拡大図である。 図2のIII−III線に沿う断面図である。 図2と同様部分の分解断面図である。 図2のV−V線に沿う断面図である。 図2のVI−VI線に沿う断面図である。 床暖房マット1を谷折りした状態を示す図5と同様部分の断面図である。 図7のVIII−VIII線矢視図である。 床暖房マット1の谷折りの展開途中時を示す図5と同様部分の断面図である。 床暖房マット1の展開後を示す図5と同様部分の断面図である。 第2の実施の形態に係る温調マットとしての床暖房マット1Aの断面図である。 図11の床暖房マット1Aの分解断面図である。 従来例に係る温調マットの平面図である。 従来例に係る温調マットの均熱板の斜視図である。
符号の説明
1,1A 床暖房マット
2,2A 配管収容用溝
3 温水配管
4 カバーシート
6 均熱板
6a U字部
6b フランジ部
7 均熱シート
8 裏張りシート
10〜18 基板
30 小根太
30a 小根太本体
30b 補強板

Claims (6)

  1. 上面に配管収容用溝が設けられた基板と、
    該配管収容用溝に収容された温調用配管と、
    該基板の上面に配置された均熱シートと、
    該基板に設けられた、該基板を谷折りするための谷折り用折り線部と
    を有し、
    該配管収容用溝の一部が基板の該谷折り用折り線部に臨み、該温調用配管の一部が該折り線部を横切って延在している温調マットにおいて、
    該基板は、前記配管収容用溝が該基板の下面に露呈する厚さとなっており、
    該基板の下面に、該配管収容用溝を塞ぐ裏張りシートが設けられており、
    該裏張りシートは、該配管収容用溝が臨む前記谷折り用折り線部では、該谷折り用折り線部を挟んだ一方と他方とに分離しており、
    該温調マットを床に施工した状態において、該裏張りシートよりも下側に配置され、且つ該谷折り用折り線部を跨いで該配管収容用溝を覆うカバーシートが設けられていることを特徴とする温調マット。
  2. 請求項1において、前記基板は略長方形状のものであり、前記谷折り用折り線部は、該基板の長手方向に延在しており、
    前記カバーシートは、該谷折り用折り線部に沿って延在しており、その延在方向の両端側がそれぞれ該基板の短手辺の近傍に結合されており、
    該カバーシートは、該両端側同士の間の部分が弛緩する長さを有していることを特徴とする温調マット。
  3. 請求項2において、該カバーシートの前記延在方向の長さは、該基板の前記長手方向の幅よりも5〜30%長いことを特徴とする温調マット。
  4. 請求項1ないし3のいずれか1項において、該基板の前記谷折り用折り線部を挟んだ一方に第1の前記カバーシートが連結され、他方に第2の前記カバーシートが連結されており、
    該温調マットを床に施工した状態において、該第1のカバーシートと第2のカバーシートとが重なり合うように配設されていることを特徴とする温調マット。
  5. 請求項1ないし4のいずれか1項において、前記カバーシートの前記基板側の面が非粘着面となっていることを特徴とする温調マット。
  6. 請求項1ないし5のいずれか1項において、前記裏張りシートの前記温調用配管側の面が非粘着面となっていることを特徴とする温調マット。
JP2008179153A 2008-07-09 2008-07-09 温調マット Active JP5141409B2 (ja)

Priority Applications (1)

Application Number Priority Date Filing Date Title
JP2008179153A JP5141409B2 (ja) 2008-07-09 2008-07-09 温調マット

Applications Claiming Priority (1)

Application Number Priority Date Filing Date Title
JP2008179153A JP5141409B2 (ja) 2008-07-09 2008-07-09 温調マット

Publications (2)

Publication Number Publication Date
JP2010019460A true JP2010019460A (ja) 2010-01-28
JP5141409B2 JP5141409B2 (ja) 2013-02-13

Family

ID=41704555

Family Applications (1)

Application Number Title Priority Date Filing Date
JP2008179153A Active JP5141409B2 (ja) 2008-07-09 2008-07-09 温調マット

Country Status (1)

Country Link
JP (1) JP5141409B2 (ja)

Cited By (1)

* Cited by examiner, † Cited by third party
Publication number Priority date Publication date Assignee Title
JP2014077551A (ja) * 2012-10-08 2014-05-01 Sumisho Metalex Corp 床暖房用温水マット及びその施工方法。

Cited By (1)

* Cited by examiner, † Cited by third party
Publication number Priority date Publication date Assignee Title
JP2014077551A (ja) * 2012-10-08 2014-05-01 Sumisho Metalex Corp 床暖房用温水マット及びその施工方法。

Also Published As

Publication number Publication date
JP5141409B2 (ja) 2013-02-13

Similar Documents

Publication Publication Date Title
JP5320777B2 (ja) 温調床
JP5141409B2 (ja) 温調マット
JP5338161B2 (ja) 温調マット
JP5609746B2 (ja) 温調マット及び温調構造
JP5200706B2 (ja) 温調マット及びその製造方法
JP5167718B2 (ja) 温調床構造
JP5031465B2 (ja) 折り畳み式放熱板
JP5157159B2 (ja) 温調マット及び均熱板
JP5391596B2 (ja) 温調マット
JP2008196827A (ja) 温調マット及びその折り畳み方法
JP2008309376A (ja) 温調マットの折り畳み体
JP2008224091A (ja) 温調マットの折り畳み体
JP2008122014A (ja) 温調マット及びその製造方法
JP5194825B2 (ja) 温調マット
JP2008215701A (ja) 温調マットの折り畳み体
JP5206305B2 (ja) 温調床
JP2834424B2 (ja) 床暖房構造
JP4176046B2 (ja) 床暖房パネル
JP7625987B2 (ja) 温調マット用パネル及びその施工方法
JP3114586U (ja) 建築用面状構造体
JP2009115382A (ja) 温調マット
JP4607145B2 (ja) 折畳み可能な放熱板
JP4026709B2 (ja) 折畳み可能な放熱板
JP4908988B2 (ja) 床暖房パネル
JP2009063248A (ja) 床暖房用温水マット

Legal Events

Date Code Title Description
A621 Written request for application examination

Free format text: JAPANESE INTERMEDIATE CODE: A621

Effective date: 20110324

TRDD Decision of grant or rejection written
A01 Written decision to grant a patent or to grant a registration (utility model)

Free format text: JAPANESE INTERMEDIATE CODE: A01

Effective date: 20121023

A01 Written decision to grant a patent or to grant a registration (utility model)

Free format text: JAPANESE INTERMEDIATE CODE: A01

A61 First payment of annual fees (during grant procedure)

Free format text: JAPANESE INTERMEDIATE CODE: A61

Effective date: 20121105

FPAY Renewal fee payment (event date is renewal date of database)

Free format text: PAYMENT UNTIL: 20151130

Year of fee payment: 3

R150 Certificate of patent or registration of utility model

Ref document number: 5141409

Country of ref document: JP

Free format text: JAPANESE INTERMEDIATE CODE: R150

Free format text: JAPANESE INTERMEDIATE CODE: R150

S111 Request for change of ownership or part of ownership

Free format text: JAPANESE INTERMEDIATE CODE: R313111

R350 Written notification of registration of transfer

Free format text: JAPANESE INTERMEDIATE CODE: R350

S111 Request for change of ownership or part of ownership

Free format text: JAPANESE INTERMEDIATE CODE: R313113

R350 Written notification of registration of transfer

Free format text: JAPANESE INTERMEDIATE CODE: R350