JP2010019167A - 潤滑油供給路を有するロッカーアーム - Google Patents

潤滑油供給路を有するロッカーアーム Download PDF

Info

Publication number
JP2010019167A
JP2010019167A JP2008180446A JP2008180446A JP2010019167A JP 2010019167 A JP2010019167 A JP 2010019167A JP 2008180446 A JP2008180446 A JP 2008180446A JP 2008180446 A JP2008180446 A JP 2008180446A JP 2010019167 A JP2010019167 A JP 2010019167A
Authority
JP
Japan
Prior art keywords
rocker arm
lubricating oil
sheet metal
sliding contact
contact surface
Prior art date
Legal status (The legal status is an assumption and is not a legal conclusion. Google has not performed a legal analysis and makes no representation as to the accuracy of the status listed.)
Granted
Application number
JP2008180446A
Other languages
English (en)
Other versions
JP4578547B2 (ja
Inventor
Shizuo Ishikawa
鎮夫 石川
Morihiro Yamamoto
守広 山本
Akira Yoshihara
昭 吉原
Kenta Kotsuji
賢太 小辻
Current Assignee (The listed assignees may be inaccurate. Google has not performed a legal analysis and makes no representation or warranty as to the accuracy of the list.)
Mitsubishi Motors Corp
Otics Corp
Original Assignee
Mitsubishi Motors Corp
Otics Corp
Priority date (The priority date is an assumption and is not a legal conclusion. Google has not performed a legal analysis and makes no representation as to the accuracy of the date listed.)
Filing date
Publication date
Application filed by Mitsubishi Motors Corp, Otics Corp filed Critical Mitsubishi Motors Corp
Priority to JP2008180446A priority Critical patent/JP4578547B2/ja
Priority to US12/499,275 priority patent/US8091525B2/en
Priority to EP09008920.2A priority patent/EP2143510B1/en
Publication of JP2010019167A publication Critical patent/JP2010019167A/ja
Application granted granted Critical
Publication of JP4578547B2 publication Critical patent/JP4578547B2/ja
Active legal-status Critical Current
Anticipated expiration legal-status Critical

Links

Images

Classifications

    • FMECHANICAL ENGINEERING; LIGHTING; HEATING; WEAPONS; BLASTING
    • F01MACHINES OR ENGINES IN GENERAL; ENGINE PLANTS IN GENERAL; STEAM ENGINES
    • F01LCYCLICALLY OPERATING VALVES FOR MACHINES OR ENGINES
    • F01L1/00Valve-gear or valve arrangements, e.g. lift-valve gear
    • F01L1/12Transmitting gear between valve drive and valve
    • F01L1/18Rocking arms or levers
    • F01L1/185Overhead end-pivot rocking arms
    • FMECHANICAL ENGINEERING; LIGHTING; HEATING; WEAPONS; BLASTING
    • F01MACHINES OR ENGINES IN GENERAL; ENGINE PLANTS IN GENERAL; STEAM ENGINES
    • F01LCYCLICALLY OPERATING VALVES FOR MACHINES OR ENGINES
    • F01L1/00Valve-gear or valve arrangements, e.g. lift-valve gear
    • F01L1/20Adjusting or compensating clearance
    • FMECHANICAL ENGINEERING; LIGHTING; HEATING; WEAPONS; BLASTING
    • F01MACHINES OR ENGINES IN GENERAL; ENGINE PLANTS IN GENERAL; STEAM ENGINES
    • F01LCYCLICALLY OPERATING VALVES FOR MACHINES OR ENGINES
    • F01L2305/00Valve arrangements comprising rollers
    • FMECHANICAL ENGINEERING; LIGHTING; HEATING; WEAPONS; BLASTING
    • F01MACHINES OR ENGINES IN GENERAL; ENGINE PLANTS IN GENERAL; STEAM ENGINES
    • F01LCYCLICALLY OPERATING VALVES FOR MACHINES OR ENGINES
    • F01L2305/00Valve arrangements comprising rollers
    • F01L2305/02Mounting of rollers

Landscapes

  • Engineering & Computer Science (AREA)
  • Mechanical Engineering (AREA)
  • General Engineering & Computer Science (AREA)
  • Valve-Gear Or Valve Arrangements (AREA)
  • Lubrication Of Internal Combustion Engines (AREA)

Abstract

【課題】プレス加工で製造されるロッカーアームにおいて、カムとカムフォロワの摺接面に潤滑油を供給する油路を形成する技術を提供することを目的とする。
【解決手段】本発明は、内燃機関の支持部に遥動可能に支持され、カムによって遥動駆動されるロッカーアームを提供する。このロッカーアームは、カムと摺接することによって力点として機能する第1の摺接面を有するカムフォロワ部を有し、塑性加工によって製造された板金ロッカーアーム本体と、支持部に対して遥動可能に摺接することによって支点として機能する第2の摺接面を有し、切削加工によって製造された支点部とを備える。支点部は、板金ロッカーアーム本体を貫通して供給する貫通孔を有している。この締結は、板金ロッカーアーム本体の外面と支点部の外面との合わせ面によって形成され、第1の摺接面の方向に偏向する潤滑油吐出孔を形成する。
【選択図】図2

Description

本発明は、内燃機関のロッカーアームに関し、特に、塑性加工で製造されるロッカーアームに関する。
従来は、内燃機関の動弁機構に使用されるロッカーアームは、鍛造品や鋳造品として製造されることが一般的であった。しかし、近年においては、内燃機関の高速回転化、高出力化に伴い慣性重量の低減の要請が大きくなったために、たとえば特許文献1のように、軽量化を目的としてロッカーアームを塑性加工(たとえばプレス加工)により製造する技術が提案されている。
ところが、プレス加工で製造されたロッカーアームは、高精度の穴あけ加工が困難なためカムとカムフォロワの摺接面に潤滑油を導く油路を実現することは困難であると考えられていた。このため、このようなロッカーアームを使用する場合には、ロッカーアームを経由しないで、ロッカーアーム外の別の経路(たとえばいわゆるシャワー流路)で潤滑油を導く方法が提案されていた。
しかし、シャワー流路その他の別経路を設置するのでは、別経路の設置に伴う内燃機関の容積や重量の増大といった問題を生じさせていた。一方、別経路からの潤滑油の供給は、ロッカーアームからそれ自身への潤滑油の供給に比較して遠くからの供給となるため、カムとカムフォロワの摺接面に効率的に潤滑油を供給することが困難であることが発明者によって見出された。
特開2007−056690公報
本発明は、上述の従来の課題の少なくとも一部を解決するためになされたものであり、塑性加工で製造されるロッカーアームにおいて、カムとカムフォロワの摺接面に潤滑油を供給する油路を形成する技術を提供することを目的とする。
[適用例1]
内燃機関の支持部に遥動可能に支持され、カムによって遥動駆動されるロッカーアームであって、
前記カムと摺接することによって力点として機能する第1の摺接面を有するカムフォロワ部を有し、塑性加工によって製造された板金ロッカーアーム本体と、
前記支持部に対して遥動可能に摺接することによって支点として機能する第2の摺接面を有し、切削加工によって製造された支点部と、
を備え、
前記支点部は、前記板金ロッカーアーム本体の前記第2の摺接面を有する側の面から前記第1の摺接面を有する側の面に貫通して前記板金ロッカーアーム本体に締結されているとともに、前記貫通位置において前記第2の摺接面に供給された潤滑油を前記板金ロッカーアーム本体を貫通して供給する貫通孔を有しており、
前記締結は、前記板金ロッカーアーム本体の外面と前記支点部の外面との合わせ面によって形成された孔であって、前記貫通孔と連通するとともに前記貫通孔から供給された潤滑油の流れる方向を前記第1の摺接面の方向に偏向する潤滑油吐出孔を形成するロッカーアーム。
適用例1のロッカーアームは、支点として機能する第2の摺接面に供給された潤滑油を、支点部に形成された貫通孔を経由することによって板金ロッカーアーム本体を貫通して力点として機能する第1の摺接面を有する側に導く油路を有する。このように、塑性加工によって製造された板金ロッカーアーム本体ではなくて、切削加工によって製造された支点部に形成された貫通孔を経由することによって、板金ロッカーアーム本体の貫通が実現されているので、板金ロッカーアーム本体に潤滑油を通すための精密な切削加工を必要とせず、支点部を貫通させるための打ち抜き加工(塑性加工)を行うだけで、油路を板金ロッカーアーム本体に貫通させることを実現できる。
板金ロッカーアーム本体を貫通する油路が要求されるのは、潤滑油の供給を最も必要とするのがカムからの周期荷重を受ける力点として機能する第1の摺接面であるのに対して、内燃機関(たとえばシリンダヘッド)からロッカーアームへの潤滑油の供給箇所が継続的にシリンダヘッドと接触を有し、力点からの周期荷重に対して力点として支える機能する第2の摺接面とならざるを得ないからである。すなわち、板金ロッカーアーム本体の力点への潤滑油の供給を、この力点に加えられた荷重に対する抗力を反対側から発生させる支点から供給しなければならないからである。
適用例1のロッカーアームは、このようにして板金ロッカーアーム本体を貫通して供給された潤滑油を、さらに板金ロッカーアーム本体の外面を利用して第1の摺接面の方向に偏向する潤滑油吐出孔を形成している。板金ロッカーアーム本体の外面は、塑性加工によって形状をコントロールすることができる。
このように、適用例1のロッカーアームでは、塑性加工によって製造される板金ロッカーアーム本体に対し、塑性加工による潤滑油の供給路の形成が実現されているので、板金ロッカーアーム本体の塑性加工の一部として潤滑油の供給路を形成することができる。これにより、板金ロッカーアーム本体を塑性加工で製造することによる利点である高い生産性を実現することができる。
さらに、このような利点を維持しつつ、板金ロッカーアーム本体を塑性加工で製造することによる利点である軽量化を実現し、ロッカーアームの往復運動に起因する機械的エネルギのロスを削減して内燃機関の出力向上と燃費の低減とに寄与することができる。加えて、鍛造品や鋳造品の利点である効率的な潤滑油の供給を実現し、潤滑油の供給のための油圧ポンプのエネルギ消費を削減して内燃機関の出力向上と燃費の低減とを実現することもできる。
なお、各請求項の記載において、「塑性加工によって製造」と「切削加工によって製造」とは、それぞれ製造工程の少なくとも一部に「塑性加工」あるいは「切削加工」を含むことを意味する。「第1の摺接面の方向に偏向」とは、貫通孔から供給された潤滑油の流れる方向が貫通孔による供給方向よりも第1の摺接面の方向に近づけばよく、必ずしも第1の摺接面の方向に一致する必要は無い。また、「貫通孔」と「潤滑油吐出孔」とは、実施例では、それぞれ、たとえば「貫通孔120h」と「潤滑油吐出孔110j」とに相当する。
[適用例2]
適用例1のロッカーアームであって、
前記潤滑油吐出孔は、前記板金ロッカーアーム本体に塑性加工で形成され、前記第1の摺接面の方向に向けられた凹形状の溝部を使用して構成されているロッカーアーム。
適用例2のロッカーアームでは、前記潤滑油吐出孔は、前記板金ロッカーアーム本体に塑性加工で形成され、前記第1の摺接面の方向に向けられた凹形状の溝部を使用して構成されているので、切削加工でなく板金ロッカーアーム本体への塑性加工によって潤滑油吐出孔を形成することができる。これにより、板金ロッカーアーム本体に対する塑性加工の一部として潤滑油吐出孔の形成が可能となるので、生産性を顕著に向上させることができる。
[適用例3]
適用例2のロッカーアームであって、
前記支点部は、さらに前記潤滑油吐出孔を延長するフランジ部を有するロッカーアーム。
適用例3のロッカーアームでは、潤滑油吐出孔による偏向で発生する乱流を低減して層流化し、第1の摺接面への潤滑油吐出の効率的を図ることができる。なお、「フランジ部」は、実施例では、たとえば「フランジ130F」に相当する。
[適用例4]
適用例1ロッカーアームであって、
前記潤滑油吐出孔は、前記支点部に形成され、前記第1の摺接面の方向に向けられた凹形状の溝部を使用して構成されているロッカーアーム。
適用例4のロッカーアームでは、前記潤滑油吐出孔は、前記支点部に形成され、前記第1の摺接面の方向に向けられた凹形状の溝部を使用して構成されているので、板金ロッカーアーム本体に切削加工を施すことなく潤滑油吐出孔を形成することができる。これにより、従来は、板金プレス部品に対する切削加工による潤滑油導入路の困難性を回避して、生産性を顕著に向上させることができる。
[適用例5]
適用例1ないし4のロッカーアームであって、
前記板金ロッカーアーム本体には、前記板金ロッカーアーム本体に塑性加工で形成され、前記潤滑油吐出孔から吐出された潤滑油を前記第2の摺接面の遥動中心位置から離すとともに前記第1の摺接面に近づける潤滑油誘導面を有するロッカーアーム。
適用例5のロッカーアームは、板金ロッカーアーム本体に塑性加工で形成され、潤滑油吐出孔から吐出された潤滑油を第2の摺接面の遥動中心位置から離すとともに第1の摺接面に近づける潤滑油誘導面を有するので、ロッカーアームの遥動による遠心力を大きくするとともに、潤滑油を供給先の摺接面に近づけることができる。これにより、潤滑油の供給圧力が小さいとき(たとえば内燃機関の始動時)においても効果的に潤滑油を供給することができる。
[適用例6]
適用例1ないし4のロッカーアームであって、
前記板金ロッカーアーム本体には、前記板金ロッカーアーム本体に塑性加工で形成され、前記潤滑油吐出孔から吐出された潤滑油を前記偏向された方向に滑走させる潤滑油滑走面が形成されているロッカーアーム。
適用例6のロッカーアームは、板金ロッカーアーム本体に対する塑性加工の一部として潤滑油滑走面を形成することによって、高い生産性を維持しつつ潤滑油の吐出方向の精度向上によって潤滑油の供給効率を高めることができる。潤滑油の供給効率を高めることができれば、さらに、潤滑油の供給量を低減して内燃機関の出力向上と燃費の低減とを実現することができる。
[適用例7]
適用例6のロッカーアームであって、
前記板金ロッカーアーム本体には、前記板金ロッカーアーム本体に塑性加工で形成され、前記潤滑油滑走面を滑走した潤滑油を前記第2の摺接面の遥動中心位置から離すとともに前記第1の摺接面に近づける潤滑油誘導面を有するロッカーアーム。
適用例7のロッカーアームは、いずれも塑性加工で形成された潤滑油滑走面と潤滑油誘導面とを有するので、始動時と高回転時とを含む広い運用範囲で効率的に潤滑油を供給することができる。
[適用例8]
適用例1ないし7のいずれかのロッカーアームであって、
前記カムフォロワ部は、前記カムによる遥動駆動に応じて回転するローラを有するロッカーアーム。こうすれば、第1の摺接面を転がり摩擦面とすることができる。
なお、本発明は、上記以外の種々の形態で実現可能であり、たとえば、ロッカーアームの製造方法やロッカーアームを有する内燃機関、あるいは、このような内燃機関を備える自動車などの形態で実現することが可能である。
本発明は、塑性加工で製造されるロッカーアームにおいて、カムとカムフォロワの摺接面に潤滑油を供給する油路を形成する技術を提供することができる。
次に、本発明の実施の形態を実施例に基づいて以下の順序で説明する。
A.動弁機構の構成:
B.第1実施例のロッカーアームの構成:
C.第2実施例のロッカーアームの構成:
D.第3実施例のロッカーアームの構成:
E.変形例:
A.動弁機構の構成:
図1は、本発明の第1実施例のロッカーアームを備える動弁機構10を示す説明図である。動弁機構10は、バルブ機構300と、バルブ機構300を駆動するロッカーアーム100と、ロッカーアーム100を遥動駆動するカムシャフト400と、支持部材210と、シリンダヘッド220とを備えている。図1では、X軸方向およびZ軸方向が水平方向を示し、Y軸方向が上下方向を示している。
シリンダヘッド220には、支持部材210およびバルブ機構300が装着されている。バルブ機構300は、燃焼室の開口部(図示せず)を開閉するバルブ310と、バルブ310を閉弁方向に付勢するバルブスプリング320とを備える。カムシャフト400には、軸部420とカム410とが形成されている。支持部材210は、シリンダヘッド220に螺合(図示せず)され、ロッカーアーム100の支点としてロッカーアーム100を遥動可能に支持する。ロッカーアーム100の遥動機構と、その潤滑油供給機構については後述する。
B.第1実施例のロッカーアームの構成:
図2は、第1実施例のロッカーアーム100の外観を示す斜視図である。ロッカーアーム100は、プレス加工(塑性加工)によって形成された板金ロッカーアーム本体110と、カム410と摺接するカムフォロワ(力点)として機能するローラ140と、支持部材210の凹部(後述)に摺接してロッカーアーム100を遥動可能に支持する支点ボルト120と、支点ボルト120を板金ロッカーアーム本体110に締結するナット130とを備えている。板金ロッカーアーム本体110には、溝部110hが形成されている。ナット130には、フランジ130Fが備えられている。溝部110hおよびフランジ130Fの機能については後述する。
板金ロッカーアーム本体110がプレス加工によって形成されているのは、軽量化と生産効率の向上のためである。従来は、内燃機関の動弁機構に使用されるロッカーアームは、鍛造品や鋳造品を切削加工して製造されることが多かったが、内燃機関の高速回転化、高出力化に伴い慣性重量の低減の要請が大きくなったために、たとえば特開2007−056690号公報で提案されるように、プレス加工により製造する技術が提案されている。さらに、プレス加工は、鍛造工程あるいは鋳造工程と、切削加工工程との双方の工程を要する鍛造品や鋳造品と相違し、板金をプレス機械で塑性加工して製造するので生産性が高く、連続加工も可能なのでロッカーアームのように大量生産される製品に好適である。
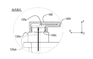
図3は、第1実施例の板金ロッカーアーム本体110への潤滑油の供給経路を示す説明図である。潤滑油は、シリンダヘッド220の内部にZ軸方向に形成された潤滑油分配孔220h1を介して複数の板金ロッカーアーム本体110の各々(図示省略)に分配される。潤滑油分配孔220h1から分配された潤滑油は、Y軸方向に形成された潤滑油供給孔220h2を介して、支持部材210に形成された潤滑油供給孔210h1に導かれ、潤滑油供給室210h2に供給される。
このようにして潤滑油供給室210h2に供給された潤滑油は、支点ボルト120と支持部材210との間の摺接面に油膜を形成する。この油膜は、支点ボルト120と支持部材210の直接的な接触を抑制して摺動摩擦を低減させる役割を果たす。
次に、潤滑油供給室210h2に供給された潤滑油は、支点ボルト120に形成された貫通孔120hと溝部110hとを介して、カム410とローラ140との間の摺接面に供給され、油膜を形成する。
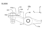
図4および図5は、第1実施例のロッカーアーム100における潤滑油の供給経路を示す説明図である。図4は、第1実施例のロッカーアーム100を側面方向から見た側面図である。この図から分かるように、ナット130およびフランジ130Fと板金ロッカーアーム本体110に形成された溝部110hとの合わせ面に潤滑油を吐出する潤滑油吐出孔110jが形成されている。潤滑油吐出孔110jは、貫通孔120hと連通している。
ナット130にフランジ130Fを形成することによって、潤滑油吐出孔110jを延長させているのは、貫通孔120hと潤滑油吐出孔110jとの連通部分における曲がり部で発生する乱流を抑制し、これにより潤滑油の吐出ベクトルを吐出方向に揃えて層流化することができるからである。
ナット130およびフランジ130Fとともに潤滑油吐出孔110jを形成する溝部110hは、板金ロッカーアーム本体110にプレス加工で形成された潤滑油滑走面110sの表面に形成されている。潤滑油滑走面110sは、潤滑油吐出孔110jで形成された射出ベクトルを有する潤滑油を滑走させることによって、この射出ベクトルをカム410とローラ140との間の摺接面の近傍まで維持させるような方向に形成された面である。
なお、潤滑油滑走面110s、溝部110h、潤滑油吐出孔110j、ナット130、およびフランジ130Fは、以下のような関係を有する。フランジ130Fは、ナット130の一部を構成する。溝部110hは、潤滑油滑走面110sの一部を構成する。潤滑油吐出孔110jは、ナット130およびフランジ130Fと、溝部110hの一部とによって構成されている。よって、潤滑油吐出孔110jから吐出された潤滑油は、潤滑油滑走面110sの表面において、主として溝部110h(潤滑油吐出孔110jを構成しない部分)に沿って滑走することになる。
潤滑油滑走面110s上に潤滑油を滑走させることによって射出ベクトルの維持が可能なのは、以下のメカニズムが働くからである。すなわち、板金ロッカーアーム本体110の遥動運動によって、板金ロッカーアーム本体110が上昇中には潤滑油滑走面110sによって潤滑油が押し上げられるからである。一方、板金ロッカーアーム本体110が下降中には、ベルヌーイの定理によって潤滑油が潤滑油滑走面110sに吸引されるからである。特に、高速回転時においては、潤滑油の温度上昇によって粘性が低下し、かつ、潤滑油の流速が速くなるので、非圧縮性の潤滑油の定常流れとして潤滑油滑走面110s上を滑走する潤滑油は、ベルヌーイの定理によって潤滑油滑走面110sに強く吸引されることになることが発明者によって見出された。
潤滑油滑走面110sは、さらに、板金ロッカーアーム本体110に形成された潤滑油誘導面110gに連続して形成されている。この機能については後述する。
図5は、ロッカーアーム100の断面図B−Bと、ロッカーアーム100を下方から見た底面図とを示している。断面図B−Bから分かるように、溝部110hは、貫通孔ではなくて、外部に接する溝として形成されている。このように、外部に接する溝として形成されているのは、プレス加工の一部として金型の形状の調整によって形成可能とするためである。
図6は、第1実施例のロッカーアーム100における潤滑油の供給状態を示す説明図である。図6において黒塗りの矢印は潤滑油の流れを示し、カム410の矢印は回転方向を示している。ロッカーアーム100は、内燃機関(図示せず)の始動時から高速回転時までの幅広い運転領域において適切に潤滑油を供給することができるように構成されている。
内燃機関(図示せず)の始動時においては、潤滑油の供給圧が小さいため矢印V2の方向に潤滑油が供給される。潤滑油の供給経路は、潤滑油滑走面110sに形成された溝部110hに沿って、潤滑油誘導面110gに供給される。潤滑油誘導面110gに供給された潤滑油は、表面張力と遠心力とによって潤滑油誘導面110gに沿ってカム410とローラ140との間の摺接面の近傍に近づく。潤滑油誘導面110gは、潤滑油を支点Pの位置から離すとともにカム410とローラ140との間の摺接面に近づけるような形状を有しているからである。
このように、潤滑油誘導面110gに供給された潤滑油は、ロッカーアーム100の支点Pを中心とする回転動作(遥動動作)によって遠心力を含む慣性力によって、カム410とローラ140の比較的に広い面に潤滑油が分散して効果的に散布されることになる。
なお、潤滑油誘導面110gが形成されていないと、内燃機関(図示せず)の始動時においては、矢印V3の方向に潤滑油が落下してしまい、潤滑油が効果的に供給できないことが発明者によって見出された。このような現象は、内燃機関(図示せず)の始動時においては、(1)潤滑油の供給圧が低い、(2)潤滑油の温度が低く粘性が高い、(3)板金ロッカーアーム本体110の支点Pを中心とする回転動作(遥動動作)が低速、といった複数の要因が相乗的に絡むことによって発生していることが発明者の解析と実験とによって見出された。
一方、内燃機関(図示せず)の通常運転から高速運転時においては、ロッカーアーム100は、矢印V1の方向において、カム410とローラ140とに大量の潤滑油を効果的に供給することができる。高速運転時において大量の潤滑油の供給が要請されるのは、カム410とローラ140とが高速で回転遥動するため、遠心力や慣性力でカム410やローラ140から潤滑油が飛散するからである。
このような状況において、潤滑油の効果的な供給は、本実施例では、(1)カム410とローラ140との間の摺接面の近傍に吐出するとともに、(2)カム410の表面と潤滑油の吐出方向のなす角度αを小さくすることによって実現されている。摺接面の近傍への吐出は、カム410やローラ140から潤滑油が飛散する前に摺接面に潤滑油を供給して油膜を形成することができるという効果を奏する。一方、カム410の表面と潤滑油の吐出方向のなす角度αを小さくする構成は、カム410の表面に高速で吐出された潤滑油の跳ね返りを抑制することができるという効果を奏する。
ロッカーアーム100の遥動運動中における摺接面の近傍への吐出は、カム410の回転によるローラ140の上下運動に伴って、潤滑油吐出孔110jや潤滑油滑走面110sが傾斜することによって実現されている。すなわち、ロッカーアーム100の遥動によって、たとえばローラ140が上方向に移動すると、潤滑油吐出孔110jや潤滑油滑走面110sが上向きに傾斜するので摺接面に潤滑油の吐出方向が追従することになる。
ただし、現実には、潤滑油が潤滑油滑走面110sから離れてカム410に到着するまでには、微小な時間が経過することになる。この時間の経過に起因する時間遅れは、潤滑油の吐出位置を摺接面近傍の狭い範囲で遥動させることになる。本願発明者は、このような時間遅れに起因する吐出位置の遥動範囲を潤滑油滑走面110sの長さを調節して、摺接面との距離を変化させることによって制御できることも見出した。
さらに、本願発明者は、ナット130に形成されたフランジ130Fの長さを調整することによって、潤滑油の吐出ベクトルと滑走長さの調整を実現することができることを見出した。すなわち、フランジ130Fを長くすれば、前述のように貫通孔120hと溝部110hとの連通部分における曲がり部で発生する乱流を抑制して潤滑油の吐出ベクトルを大きくすることができる。このようなフランジ130Fの延長は、潤滑油滑走面110sへの吸引力を強める一方、潤滑油滑走面110sの開放部分(フランジ130Fで覆われていない部分)の長さを短くすることができることが見出された。これにより、フランジ130Fのサイズを調整すれば、潤滑油の供給量やシリンダ(図示せず)のサイズに応じて適切な潤滑油供給経路を実現することができるのである。
このように、ロッカーアーム100が有する板金ロッカーアーム本体110の潤滑油吐出孔110jおよび潤滑油滑走面110sは、潤滑油吐出孔110jおよび潤滑油滑走面110s(滑走部分)の方向と長さを調節することによって、摺接面と吐出位置との位置関係と、摺接面近傍における吐出位置の遥動量とを制御することができるという顕著な効果を奏する。
一方、カム410の表面と潤滑油の吐出方向のなす角度αを小さくする構成は、ローラ140の軸に対するオフセット量Sを確保した位置に潤滑油吐出孔110jや潤滑油滑走面110sを形成することによって実現される。オフセット量Sが小さいと、角度αが大きくなってしまうからである。ただし、オフセット量Sを確保するためには、板金ロッカーアーム本体110のサイズが図4において上下方向(Y軸方向)に相当する方向に大きくなってしまうという問題がある。
本願発明者は、板金ロッカーアーム本体110の上面に潤滑油吐出孔110jや潤滑油滑走面110sを形成することによって、このような弊害を低減させることに成功した。このような潤滑油吐出孔110jや潤滑油滑走面110sの形成は、支点ボルト120に形成された貫通孔120hと溝部110hとを介する潤滑油の供給路の構成によって実現したものである。
このような構成の創作は、従来の技術常識に反するものである。従来の技術常識では、板金をプレス加工することによって製造されるロッカーアームは、特に、軽量化を目的として高速回転や高出力を実現するために実現されたものであって、プレス加工によって生成された面によって潤滑油を供給する機構を実現することは想定されていなかったからである。
このような軽量化においては、技術常識として、ロッカーアーム100への潤滑油の供給を別途に設けられた潤滑油供給系統(たとえばいわゆるシャワー方式、図示せず)を別途設けることが要請されていた。換言すれば、軽量化のトレードオフの対象として、従来は、潤滑油供給系統の装備が必要とされるというのが技術常識であった。さらに、このような潤滑油供給系統は、ロッカーアーム100の外部から潤滑油を供給することになるため、摺動面に対して効果的に潤滑油を供給することが困難であるという問題も生じさせていたのである。
加えて、板金をプレス加工することによって製造される板金ロッカーアーム本体110は、「プレス加工による残留応力」や「切削加工に比して低精度の形状」、「板金が薄いことによる潤滑油供給孔用のルート確保の困難性」といった諸問題を生じさせるため、切削加工による潤滑油供給孔の形成が事実上不可能であるというのが技術常識であった。さらに、板金プレス部品に対して切削加工で潤滑油供給孔を形成すると、その形成のためだけに切削加工工程が必要となって板金プレス加工の利点が減殺されるという問題もあった。
しかし、本願発明の発明者は、板金プレス部品への潤滑油供給孔の形成が困難であることを考慮したうえで、敢えて潤滑油吐出孔を切削加工によって形成するのではなく、板金プレス部品の外面形状(たとえば潤滑油滑走面110sや溝部110h)を利用するという従来の考え方とは、全く相違する新たな技術的思想を創作した。この実施例は、このようにして創作された技術的思想に基づいて構成された発明の一態様である。
このように、本実施例は、板金プレス加工による軽量化や低コストといった利点をほぼ維持しつつ、従来は、鍛造品や鋳造品でのみ可能であった摺動面に対する効果的な潤滑油の供給を実現することを可能としている。
C.第2実施例のロッカーアームの構成:
図7および図8は、第2実施例のロッカーアーム100aにおける潤滑油の供給経路を示す説明図である。図7は、第2実施例のロッカーアーム100aを側面方向から見た断面図である。この図から分かるように、ロッカーアーム100aの板金ロッカーアーム本体110aには、溝部が形成されていない点で実施例の潤滑油滑走面110sと相違する潤滑油滑走面110asが形成されている。
一方、第2実施例では、第1実施例の板金ロッカーアーム本体110に形成された溝部110hの代わりに、溝部135hが形成された潤滑油吐出部材135がナット130によって第2実施例の板金ロッカーアーム本体110aに締結されている。
図9は、第2実施例のロッカーアーム100aにおける潤滑油の供給状態を示す説明図である。潤滑油の流れを示す黒塗りの矢印から分かるように、実施例と同様に効果的に潤滑油を供給することができることがわかる。このように、必ずしも板金ロッカーアーム本体110aの側に溝を設けなくても、板金ロッカーアーム本体110aと溝が形成された部品とを向かい合わせることによって潤滑油供給路を形成するようにしても良い。さらに、双方に溝が形成されていても良い。
D.第3実施例のロッカーアームの構成:
図10は、第3実施例のロッカーアーム100bを側面方向から見た断面図である。第3実施例のロッカーアーム100bは、上述の各実施例が板金ロッカーアーム本体110、110aの外面を使用する構成で潤滑油を吐出する機能を実現しているのに対して、潤滑油吐出ノズル160自体が潤滑油を吐出する機能を実現している点で上述の各実施例と相違する。
図11は、第3実施例のロッカーアーム100bが備える潤滑油吐出ノズル160の外観を示す斜視図である。潤滑油吐出ノズル160は、たとえば潤滑油の吐出方向の精度要求が厳しい場合には切削加工品としての金属部品として製造してもよく、たとえば量産コストや軽量化の要求が厳しい場合には合成樹脂その他の樹脂製品として製造しても良い。
潤滑油吐出ノズル160への潤滑油の供給は、本実施例では、支点ボルト120aに形成される孔を支点ボルト120の両端に完全に貫通させる貫通孔120ahとすることによって実現されている。
図12は、第3実施例のロッカーアーム100bにおける潤滑油の供給経路と潤滑油吐出ノズル160の装着状態を示す説明図である。潤滑油吐出ノズル160は、つめ部160cを支点ボルト120aのねじ山に係合させることによって支点ボルト120aに装着されている。このように、潤滑油吐出ノズル160を支点ボルト120aに螺合させるのではなく、つめ部160cで係合させているのは、潤滑油吐出ノズル160の吐出方向を適切な方向に向けるための自由度を与えるためである。
このように、第3実施例は、単体で潤滑油を吐出する機能を有する潤滑油吐出ノズル160を備え、潤滑油の吐出を板金ロッカーアーム本体110側に依存しない点で上述の各実施例と相違する。本願発明者は、このような特徴点を活かして以下のような構成を見出した。
図13は、第3実施例の第1変形例のロッカーアーム100cを側面方向から見た断面図である。第1変形例のロッカーアーム100cは、潤滑油の吐出経路の提供を想定していない一般的な板金ロッカーアーム本体110bを使用している点で、第3実施例と相違する。
このように、第3実施例の構成は、潤滑油の吐出経路の提供を想定していない一般的な板金ロッカーアーム本体110bを使用しても実現可能であり、さらなる軽量化を実現することができる。この構成は、たとえば部品の共通化の要請が厳しい場合に好ましい形態として利用価値が高い。
図14は、第3実施例の第2変形例の潤滑油吐出ノズル160aを側面方向から見た断面図である。図15は、第2変形例の潤滑油吐出ノズル160aを上方向から見た正面図である。第2変形例の潤滑油吐出ノズル160aは、板金ロッカーアーム本体110、110a、110bの外形に係合して潤滑油吐出ノズル160aの吐出方向を位置決めするためのフランジ160afを有する点で潤滑油吐出ノズル160と相違する。
この構成は、たとえば潤滑油吐出ノズル160aの吐出方向の位置決めを考慮した簡易な組立工程の実現や吐出方向の変動抑止の要請が厳しい場合に好ましい形態として利用価値が高い。
図16は、第3実施例の第3変形例の潤滑油吐出ノズル160bを側面方向から見た断面図である。第3変形例の潤滑油吐出ノズル160bは、ナット130aの外形に係合して潤滑油吐出ノズル160aの吐出方向を位置決めするためのフランジ160bnを有する点で潤滑油吐出ノズル160aと相違する。
ただし、ナット130aの外形に係合して潤滑油吐出ノズル160bの吐出方向を位置決めする場合には、ナット130aのように螺合する構成ではなく、方向を自由に設定できる締結部材とすることが好ましい。
図17は、第3実施例の第4変形例の潤滑油吐出ノズル170を側面方向から見た断面図である。第4変形例の潤滑油吐出ノズル170は、支点ボルト120bに形成された段付貫通孔120bhに係合するように構成されている点で潤滑油吐出ノズル160、160a、160bと相違する。
この構成は、潤滑油の油圧が高くなると係合力が増す性質を有し、かつ、部品の小型化や軽量化が可能という利点を有しているので、たとえば軽量化の要請が厳しい場合に好ましい形態として利用価値が高い。
この構成は、さらに、段付貫通孔120bh側に位置決め用の微小のキー溝(図示せず)を形成し、潤滑油吐出ノズル170側に勘合するキー(図示せず)を設けることによって簡易に位置決めをすることもできる。この構成は、キーとキー溝の勘合も潤滑油の油圧が高くなると係合力が増す性質を有するという利点をも有する。
E.変形例:
以上、本発明のいくつかの実施形態について説明したが、本発明はこのような実施の形態になんら限定されるものではなく、その要旨を逸脱しない範囲内において種々なる態様での実施が可能である。特に、上記各実施例における構成要素中の独立請求項に記載された要素以外の要素は、付加的な要素なので適宜省略可能である。
E−1.第1変形例:上述の各実施例では、スイングアーム方式のロッカーアームが例示されているが、スイングアーム方式に限られず、シーソー方式のロッカーアームにも適用することが可能である。シーソー方式のロッカーアームでは、支点と力点の位置関係がスイングアーム方式と入れ替わることになる。
E−2.第2変形例:上述の各実施例において、上述の利点や効果の各々の全てが本願発明の必須の構成要件につながるものではなく、本願発明は、上述の利点や効果の各々を簡易に実現させる設計自由度を与えるものであって、少なくとも一つの利点あるいは効果を実現させるものであれば良い。
E−3.第3変形例:上述の各実施例では、板金ロッカーアーム本体側に溝を形成して支点部との合わせ面で潤滑油吐出口を形成(第1実施例)、支点部側に溝を形成して板金ロッカーアーム本体との合わせ面で潤滑油吐出口を形成(第2実施例)、およびロッカーアームに潤滑油吐出口を有する部材を付加(第3実施例)という構成が開示されている。しかし、これらの形態に限られず、たとえばナット130自体に貫通孔を形成するようにしても良い。ただし、ナット130自体に貫通孔を形成する場合には、ナット130のように螺合する構成ではなく、方向を自由に設定できる締結部材とすることが好ましい。
本発明の第1実施例における実施例のロッカーアームを備える動弁機構10を示す説明図。 第1実施例のロッカーアーム100の外観を示す斜視図。 第1実施例の板金ロッカーアーム本体110への潤滑油の供給経路を示す説明図。 第1実施例のロッカーアーム100を側面方向から見た側面図。 第1実施例のロッカーアーム100における潤滑油の供給経路を示す説明図。 第1実施例のロッカーアーム100における潤滑油の供給状態を示す説明図。 第2実施例のロッカーアーム100aを側面方向から見た断面図。 第2実施例のロッカーアーム100aにおける潤滑油の供給経路を示す説明図。 第2実施例のロッカーアーム100aにおける潤滑油の供給状態を示す説明図。 第3実施例のロッカーアーム100bを側面方向から見た断面図。 第3実施例のロッカーアーム100bの潤滑油吐出ノズル160の外観を示す斜視図。 第3実施例のロッカーアーム100bにおける潤滑油の供給経路と潤滑油吐出ノズル160の装着状態を示す説明図。 第3実施例の第1変形例のロッカーアーム100cを側面方向から見た断面図。 第3実施例の第2変形例の潤滑油吐出ノズル160aを側面方向から見た断面図。 第2変形例の潤滑油吐出ノズル160aを上方向から見た正面図。 第3実施例の第3変形例の潤滑油吐出ノズル160bを側面方向から見た断面図。 第3実施例の第4変形例の潤滑油吐出ノズル170を側面方向から見た断面図。
符号の説明
10…動弁機構
100、100a、100b、100c…ロッカーアーム
110、110a、110b…板金ロッカーアーム本体
110g…潤滑油誘導面
110h…溝部
110j…潤滑油吐出孔
110s、110as…潤滑油滑走面
120、120a…支点ボルト
120h、120ah…貫通孔
120bh…段付貫通孔
130…ナット
130F…フランジ
135…潤滑油吐出部材
135h…溝部
140…ローラ
160、160a、160b、160c…潤滑油吐出ノズル
160af…フランジ
170…潤滑油吐出ノズル
210…支持部材
210h1…潤滑油供給孔
210h2…潤滑油供給室
220…シリンダヘッド
220h1…潤滑油分配孔
220h2…潤滑油供給孔
300…バルブ機構
310…バルブ
320…バルブスプリング
400…カムシャフト
410…カム
420…軸部

Claims (8)

  1. 内燃機関の支持部に遥動可能に支持され、カムによって遥動駆動されるロッカーアームであって、
    前記カムと摺接することによって力点として機能する第1の摺接面を有するカムフォロワ部を有し、塑性加工によって製造された板金ロッカーアーム本体と、
    前記支持部に対して遥動可能に摺接することによって支点として機能する第2の摺接面を有し、切削加工によって製造された支点部と、
    を備え、
    前記支点部は、前記板金ロッカーアーム本体の前記第2の摺接面を有する側の面から前記第1の摺接面を有する側の面に貫通して前記板金ロッカーアーム本体に締結されているとともに、前記貫通位置において前記第2の摺接面に供給された潤滑油を前記板金ロッカーアーム本体を貫通して供給する貫通孔を有しており、
    前記締結は、前記板金ロッカーアーム本体の外面と前記支点部の外面との合わせ面によって形成された孔であって、前記貫通孔と連通するとともに前記貫通孔から供給された潤滑油の流れる方向を前記第1の摺接面の方向に偏向する潤滑油吐出孔を形成するロッカーアーム。
  2. 請求項1記載のロッカーアームであって、
    前記潤滑油吐出孔は、前記板金ロッカーアーム本体に塑性加工で形成され、前記第1の摺接面の方向に向けられた凹形状の溝部を使用して構成されているロッカーアーム。
  3. 請求項2記載のロッカーアームであって、
    前記支点部は、さらに前記潤滑油吐出孔を延長するフランジ部を有するロッカーアーム。
  4. 請求項1記載のロッカーアームであって、
    前記潤滑油吐出孔は、前記支点部に形成され、前記第1の摺接面の方向に向けられた凹形状の溝部を使用して構成されているロッカーアーム。
  5. 請求項1ないし4のいずれか一項に記載のロッカーアームであって、
    前記板金ロッカーアーム本体には、前記板金ロッカーアーム本体に塑性加工で形成され、前記潤滑油吐出孔から吐出された潤滑油を前記第2の摺接面の遥動中心位置から離すとともに前記第1の摺接面に近づける潤滑油誘導面を有するロッカーアーム。
  6. 請求項1ないし4のいずれか一項に記載のロッカーアームであって、
    前記板金ロッカーアーム本体には、前記板金ロッカーアーム本体に塑性加工で形成され、前記潤滑油吐出孔から吐出された潤滑油を前記偏向された方向に滑走させる潤滑油滑走面が形成されているロッカーアーム。
  7. 請求項6載のロッカーアームであって、
    前記板金ロッカーアーム本体には、前記板金ロッカーアーム本体に塑性加工で形成され、前記潤滑油滑走面を滑走した潤滑油を前記第2の摺接面の遥動中心位置から離すとともに前記第1の摺接面に近づける潤滑油誘導面を有するロッカーアーム。
  8. 請求項1ないし7のいずれか一項に記載のロッカーアームであって、
    前記カムフォロワ部は、前記カムによる遥動駆動に応じて回転するローラを有するロッカーアーム。
JP2008180446A 2008-07-10 2008-07-10 潤滑油供給路を有するロッカーアーム Active JP4578547B2 (ja)

Priority Applications (3)

Application Number Priority Date Filing Date Title
JP2008180446A JP4578547B2 (ja) 2008-07-10 2008-07-10 潤滑油供給路を有するロッカーアーム
US12/499,275 US8091525B2 (en) 2008-07-10 2009-07-08 Rocker arm
EP09008920.2A EP2143510B1 (en) 2008-07-10 2009-07-08 Rocker Arm

Applications Claiming Priority (1)

Application Number Priority Date Filing Date Title
JP2008180446A JP4578547B2 (ja) 2008-07-10 2008-07-10 潤滑油供給路を有するロッカーアーム

Publications (2)

Publication Number Publication Date
JP2010019167A true JP2010019167A (ja) 2010-01-28
JP4578547B2 JP4578547B2 (ja) 2010-11-10

Family

ID=40943602

Family Applications (1)

Application Number Title Priority Date Filing Date
JP2008180446A Active JP4578547B2 (ja) 2008-07-10 2008-07-10 潤滑油供給路を有するロッカーアーム

Country Status (3)

Country Link
US (1) US8091525B2 (ja)
EP (1) EP2143510B1 (ja)
JP (1) JP4578547B2 (ja)

Families Citing this family (3)

* Cited by examiner, † Cited by third party
Publication number Priority date Publication date Assignee Title
CN102251820A (zh) * 2010-05-20 2011-11-23 孙晶 凸轮轴和气门摇臂
CN111993125A (zh) * 2020-08-26 2020-11-27 常州机电职业技术学院 一种摇臂上斜孔摆动式钻床夹具
CN113146331B (zh) * 2021-04-28 2023-08-08 苏州科技大学 一种机械加工中心用摇臂机构

Citations (2)

* Cited by examiner, † Cited by third party
Publication number Priority date Publication date Assignee Title
JP2001317311A (ja) * 2000-05-09 2001-11-16 Koyo Seiko Co Ltd ロッカアームおよびその胴体の製造方法
JP2004076707A (ja) * 2002-08-22 2004-03-11 Toyota Motor Corp 内燃機関の動弁装置

Family Cites Families (12)

* Cited by examiner, † Cited by third party
Publication number Priority date Publication date Assignee Title
US2345822A (en) * 1941-08-21 1944-04-04 James M Leake Rocker arm
US2509661A (en) * 1944-10-27 1950-05-30 John R Winter Sr Rocker arm lubrication
US2523489A (en) * 1945-03-10 1950-09-26 John R Winter Sr Rocker arm
US2572968A (en) * 1947-03-11 1951-10-30 Continental Aviat & Eng Corp Rocker arm construction
US3400696A (en) * 1966-01-05 1968-09-10 Thompson Mfg Co Earl A Valve train
US3314404A (en) * 1966-03-21 1967-04-18 Earl A Thompson Engine valve operating mechanism
US5657726A (en) * 1996-01-16 1997-08-19 Ford Global Technologies, Inc. Rocker arm assembly for an internal combustion engine
US6070561A (en) * 1999-01-25 2000-06-06 General Motors Corporation Valve actuator with lubrication passage and method of forming
ITTO20010133A1 (it) * 2001-02-15 2002-08-16 Eaton Automotive S R L Bilanciere per treni valvola di motori a combustione interna.
JP4235196B2 (ja) 2005-08-22 2009-03-11 中西金属工業株式会社 ロッカーアームの製造方法
ITMI20070779A1 (it) * 2007-04-17 2008-10-18 Gnutti Carlo Spa Dispositivo di connessione tra il bilanciere e le valvole od il gruppo di iniezione in motori a combustione interna
US7836860B2 (en) * 2007-11-21 2010-11-23 Charter Manufacturing Co., Inc. Engine rocker arm

Patent Citations (2)

* Cited by examiner, † Cited by third party
Publication number Priority date Publication date Assignee Title
JP2001317311A (ja) * 2000-05-09 2001-11-16 Koyo Seiko Co Ltd ロッカアームおよびその胴体の製造方法
JP2004076707A (ja) * 2002-08-22 2004-03-11 Toyota Motor Corp 内燃機関の動弁装置

Also Published As

Publication number Publication date
JP4578547B2 (ja) 2010-11-10
US8091525B2 (en) 2012-01-10
EP2143510A1 (en) 2010-01-13
EP2143510B1 (en) 2016-06-08
US20100006047A1 (en) 2010-01-14

Similar Documents

Publication Publication Date Title
JP5036799B2 (ja) 4ストローク内燃機関
JP4578547B2 (ja) 潤滑油供給路を有するロッカーアーム
US4420141A (en) Variable rate valve spring
CN101038007A (zh) 带有油喷射器的连杆
JP4619426B2 (ja) 潤滑油供給路を有するロッカーアーム
CN100593631C (zh) 一种发动机气门摇臂装置
JP2010281334A (ja) 潤滑油供給路を有するロッカーアーム
JP5983887B2 (ja) 内燃機関の複リンク式ピストンクランク機構
CN104696036A (zh) 能够润滑气门间隙的发动机摇臂
CN201236728Y (zh) 一种发动机气门摇臂
JP5447181B2 (ja) 内燃機関のロッカアーム
CN101205944A (zh) 一种发动机连杆
US7343893B2 (en) Internal combustion engine
JPH0236883Y2 (ja)
CN202023608U (zh) 一种摩托车发动机润滑机构
CN204783152U (zh) 一种自润滑型两级可变式vvl摇臂
CN221322496U (zh) 动力总成
CN221074399U (zh) 动力总成
CN217712710U (zh) 一种小型通机发动机的摇臂机构
JP2010164026A (ja) ロッカアーム
KR102335345B1 (ko) 차량용 롤러 핑거 팔로워
JP3612633B2 (ja) ユニットインジェクタの潤滑構造
JP7124514B2 (ja) 内燃機関の複リンク式ピストンクランク機構におけるアッパリンク
CN101737109A (zh) 发动机气门挺杆装置
JP2005248806A (ja) 内燃機関用ピストン

Legal Events

Date Code Title Description
A977 Report on retrieval

Free format text: JAPANESE INTERMEDIATE CODE: A971007

Effective date: 20100414

A131 Notification of reasons for refusal

Free format text: JAPANESE INTERMEDIATE CODE: A131

Effective date: 20100420

A521 Request for written amendment filed

Free format text: JAPANESE INTERMEDIATE CODE: A523

Effective date: 20100617

TRDD Decision of grant or rejection written
A01 Written decision to grant a patent or to grant a registration (utility model)

Free format text: JAPANESE INTERMEDIATE CODE: A01

Effective date: 20100817

A01 Written decision to grant a patent or to grant a registration (utility model)

Free format text: JAPANESE INTERMEDIATE CODE: A01

A61 First payment of annual fees (during grant procedure)

Free format text: JAPANESE INTERMEDIATE CODE: A61

Effective date: 20100824

FPAY Renewal fee payment (event date is renewal date of database)

Free format text: PAYMENT UNTIL: 20130903

Year of fee payment: 3

R150 Certificate of patent or registration of utility model

Ref document number: 4578547

Country of ref document: JP

Free format text: JAPANESE INTERMEDIATE CODE: R150

Free format text: JAPANESE INTERMEDIATE CODE: R150

FPAY Renewal fee payment (event date is renewal date of database)

Free format text: PAYMENT UNTIL: 20130903

Year of fee payment: 3

R250 Receipt of annual fees

Free format text: JAPANESE INTERMEDIATE CODE: R250

R250 Receipt of annual fees

Free format text: JAPANESE INTERMEDIATE CODE: R250

R250 Receipt of annual fees

Free format text: JAPANESE INTERMEDIATE CODE: R250

R250 Receipt of annual fees

Free format text: JAPANESE INTERMEDIATE CODE: R250

R250 Receipt of annual fees

Free format text: JAPANESE INTERMEDIATE CODE: R250

R250 Receipt of annual fees

Free format text: JAPANESE INTERMEDIATE CODE: R250

R250 Receipt of annual fees

Free format text: JAPANESE INTERMEDIATE CODE: R250

R250 Receipt of annual fees

Free format text: JAPANESE INTERMEDIATE CODE: R250

S531 Written request for registration of change of domicile

Free format text: JAPANESE INTERMEDIATE CODE: R313531

R350 Written notification of registration of transfer

Free format text: JAPANESE INTERMEDIATE CODE: R350

R250 Receipt of annual fees

Free format text: JAPANESE INTERMEDIATE CODE: R250

R250 Receipt of annual fees

Free format text: JAPANESE INTERMEDIATE CODE: R250

R250 Receipt of annual fees

Free format text: JAPANESE INTERMEDIATE CODE: R250

R250 Receipt of annual fees

Free format text: JAPANESE INTERMEDIATE CODE: R250

R250 Receipt of annual fees

Free format text: JAPANESE INTERMEDIATE CODE: R250