JP2010018993A - 連結金具 - Google Patents

連結金具 Download PDF

Info

Publication number
JP2010018993A
JP2010018993A JP2008180089A JP2008180089A JP2010018993A JP 2010018993 A JP2010018993 A JP 2010018993A JP 2008180089 A JP2008180089 A JP 2008180089A JP 2008180089 A JP2008180089 A JP 2008180089A JP 2010018993 A JP2010018993 A JP 2010018993A
Authority
JP
Japan
Prior art keywords
cable
connection
plate
members
main cable
Prior art date
Legal status (The legal status is an assumption and is not a legal conclusion. Google has not performed a legal analysis and makes no representation as to the accuracy of the status listed.)
Granted
Application number
JP2008180089A
Other languages
English (en)
Other versions
JP5294739B2 (ja
Inventor
Eiichiro Saeki
英一郎 佐伯
Kenichi Hayashi
賢一 林
Current Assignee (The listed assignees may be inaccurate. Google has not performed a legal analysis and makes no representation or warranty as to the accuracy of the list.)
Nippon Steel Engineering Co Ltd
Original Assignee
Nippon Steel Engineering Co Ltd
Priority date (The priority date is an assumption and is not a legal conclusion. Google has not performed a legal analysis and makes no representation as to the accuracy of the date listed.)
Filing date
Publication date
Application filed by Nippon Steel Engineering Co Ltd filed Critical Nippon Steel Engineering Co Ltd
Priority to JP2008180089A priority Critical patent/JP5294739B2/ja
Publication of JP2010018993A publication Critical patent/JP2010018993A/ja
Application granted granted Critical
Publication of JP5294739B2 publication Critical patent/JP5294739B2/ja
Active legal-status Critical Current
Anticipated expiration legal-status Critical

Links

Images

Landscapes

  • Bridges Or Land Bridges (AREA)
  • Mutual Connection Of Rods And Tubes (AREA)

Abstract

【課題】2つのケーブルを簡潔かつ容易に接続することができ、1つのケーブルを他のケーブルに対して確実に固定することが可能な連結金具を提供すること。
【解決手段】ボルト結合で第1のケーブル90を被覆し、第1のケーブルを被覆するときボルト結合の締め付け力によって塑性変形し、第1のケーブルに固定される板状部材110、112と、板状部材と接続又は少なくとも2つの板状部材に挟持され、一端は第1のケーブルと接続され、他端は第1のケーブルと異なる第2のケーブルと接続されるケーブル連結部118とを備えることを特徴とする。
【選択図】図3

Description

本発明は、連結金具に関し、少なくとも2つのケーブルを連結して好適な連結金具に関する。
吊り構造物、例えば吊り橋等は、主ケーブルが主塔、柱材などの主構造体に支持される。そして、主ケーブルと吊りケーブルが連結金具を介して連結され、吊りケーブルが桁部材等の構成要素を吊りながら支持する。
主ケーブルと吊りケーブルとを連結する連結金具については、例えば、特許文献1及び2に開示されている。特許文献1及び2の連結金具は、主ケーブルの長手方向に長い部材であり、主ケーブルにボルト結合によって取り付けられ、下部で吊りケーブルと接続されて吊りケーブルを吊持する。
図1及び図2を参照して、従来の連結金具10について説明する。図1は、従来の連結金具10を示す斜視図である。図2は、従来の連結金具10を示す分解斜視図であり、図1の連結金具10を分解して各構成要素を上方から見た図である。
連結金具10は、例えば、対向して設置される1対の固定部材12A、12Bと、ボルト22と、ナット24と、ワッシャー26と、ピン32などからなる。固定部材12A、12Bは、主ケーブル90にボルト結合で取り付けられる。連結金具10は、固定部材12A、12Bに設けられた連結部14で、ピン32を介して吊りケーブル92と接続される。なお、固定部材12A、12Bは、例えば鋼製の部材であり、主ケーブル90や吊りケーブル92は、例えば鋼製のワイヤーロープである。
また、特許文献3には、ワイヤーロープと他部材を接続する接続金具が開示されている。接続金具は筒状部材であり、ワイヤーロープが挿入される締結用穴が設けられている。そして、締結用穴にワイヤーロープを挿入して接続金具を外面から専用の機械で圧縮して、ワイヤーロープと接続金具とを連結する。
特開平11−323824号公報 特開2002−371515号公報 実用新案登録第3089276号公報
ところで、図1及び図2で示した連結金具10は、固定部材12A、12Bを相互に対向させてボルト結合で主ケーブル90を挟持する。このとき、固定部材12A、12Bは、主ケーブル90に対して移動しないように固定される必要がある。従来の連結金具10では、固定部材12A、12Bと主ケーブル90との間は摩擦力で固定されている。従って、固定部材12A、12Bは、摩擦力が発生するように、主ケーブル90を締め付けている。
このとき、主ケーブル90に所定の締め付け圧力が与えられなければならないため、固定部材12A、12Bは弾性設計となる。即ち、固定部材12A、12Bがボルト結合の締め付けで降伏すると、所定の締め付け圧力を与えることができない。そのため、固定部材12A、12Bが降伏しないように、固定部材12A、12Bは厚く形成されている。
また、ボルト結合の締め付けが強いと、固定部材12A、12Bから主ケーブル90の接触表面に高い締め付け圧力(側圧)が加わってしまう。従って、固定部材12A、12Bが主ケーブル90を傷めないように側圧を下げる必要がある。そのため、固定部材12A、12Bは、主ケーブル90と接触する面が主ケーブル90の長手方向に長くなければならなかった。上記の理由により、従来の連結金具10は、容量が大きく、かつ重量が重かった。
更に、固定部材12A、12Bは、主ケーブル90断面の上下方向に割れるように互いに対向しており、吊りケーブル92は固定部材12A、12Bに挟持されたピン32によって支持されている。そのため、固定部材12A、12Bのボルト結合が外れると、ピン32も外れ、吊りケーブル92が主ケーブル90から脱落してしまうという問題があった。
また、特許文献3のように、締結用穴にワイヤーロープを挿入して接続金具を外面から圧縮する場合、専用の機械を使用して筒状の接続金具を降伏させる必要があった。そのため、ワイヤーロープを設置する現場で接続金具の接続作業をすることができず、予め工場などでワイヤーロープと接続金具を接続する必要があった。
そこで、本発明は、上記問題に鑑みてなされたものであり、本発明の目的とするところは、2つのケーブルを簡潔かつ容易に接続することができ、1つのケーブルを他のケーブルに対して確実に固定することが可能な、新規かつ改良された連結金具を提供することにある。
上記課題を解決するために、本発明のある観点によれば、ボルト結合で第1のケーブルを被覆し、第1のケーブルを被覆するときボルト結合の締め付け力によって塑性変形し、第1のケーブルに固定される板状部材と、板状部材と接続又は少なくとも2つの板状部材に挟持され、一端は第1のケーブルと接続され、他端は第1のケーブルと異なる第2のケーブルと接続されるケーブル連結部とを備えることを特徴とする連結金具が提供される。
上記板状部材は、ボルト結合の締め付け力によって、第1のケーブルとの接触面が塑性変形してもよい。
上記板状部材は、少なくとも2つの割り板状部材からなり、割り板状部材は、相互にボルト結合されてもよい。
上記割り板状部材のうち少なくとも1つが、ボルト結合の締め付け力によって塑性変形し、塑性変形する割り板状部材以外の少なくとも1つの割り板状部材は、ボルト結合の締め付け力によって塑性変形しない材料であってもよい。
上記板状部材とケーブル連結部とは、一体的に形成されてもよい。また、上記板状部材とケーブル連結部とは、別体で形成されてもよい。
上記ケーブル連結部は、少なくとも2つの板状部材に挟持されるとき、第1のケーブルに対して回転可能であってもよい。
上記ケーブル連結部は、第1のケーブルに面する内部面において、中央付近が第1のケーブルの軸方向端部に比べて第1のケーブル側に膨出して形成され、第1のケーブルに支持される支持部と、一端は支持部と接続され、他端は第2のケーブルと接続される連結部とを有してもよい。
本発明によれば、2つのケーブルを簡潔かつ容易に接続することができ、1つのケーブルを他のケーブルに対して確実に固定することができる。
以下に添付図面を参照しながら、本発明の好適な実施の形態について詳細に説明する。なお、本明細書及び図面において、実質的に同一の機能構成を有する構成要素については、同一の符号を付することにより重複説明を省略する。
(第1の実施形態)
まず、本発明の第1の実施形態に係る連結金具100について説明する。
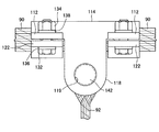
図3は、本実施形態に係る連結金具100を示す斜視図である。図4は、本実施形態に係る連結金具100を示す分解斜視図であり、図3の連結金具100を分解して各構成要素を上方から見た図である。
また、図5は、本実施形態に係る連結金具100を示す側面図であり、図3の連結金具を左側から見た図である。図6は、本実施形態に係る連結金具100を示す正面図である。図7は、本実施形態に係る連結金具100を示す断面図であり、連結金具100の中央で、主ケーブル90の長さ方向(軸方向)に対して垂直方向に切断した図である。
本実施形態の連結金具100は、例えば、固定部材110と、2つの固定部材120と、ボルト132、ナット134、ワッシャー136、138と、ピン142、ピン止め部材144などからなる。ここで、固定部材110、120は、板状部材の一例である。固定部材110、120は、ボルト結合によって主ケーブル90に取り付けられる。固定部材110、120は、例えば、平板部材を加工して図3〜図7に示すような形状に形成されてもよいし、鋳造又は削り出し等の加工方法によって形成されてもよい。連結金具100は、固定部材110のケーブル連結部118で、ピン142を介して吊りケーブル92と接続される。
ここで、主ケーブル90(第1のケーブル)や吊りケーブル92(第2のケーブル)は、例えば鋼製のワイヤーロープであり、複数の鋼線が撚られたロープである。主ケーブル90は、吊り構造物、例えば吊り橋等における主塔、柱材などの主構造体に支持される。主ケーブル90の表面は、通常、鋼線が撚られたことによる螺旋状の凹凸が形成されている。吊りケーブル92は、本実施形態の連結金具100を介して主ケーブル90と接続され、吊り構造体の桁部材等の構成要素を吊持する。
以下、連結金具100の各構成要素について詳細に説明する。
固定部材110は、板状の鋼製部材である。固定部材110は、例えば、ボルト132が接続される接続部112と、主ケーブル90と被覆するように接触し主ケーブル90に支持される支持部114と、吊りケーブル92と接続されるケーブル連結部118とに分けることができる。
接続部112は、例えば平面状であり、中央付近に貫通したボルト締結用穴116が形成される。接続部112は、本実施形態では、固定部材110の端部の両端に、支持部114と接続されて2つずつ設けられており、合計4つ設けられる。接続部112は、固定部材120の接続部122と対向して配置される。接続部112は、ボルト結合による締め付け力を支持部114に伝達する。
支持部114は、例えば半筒形状であり、取り付け時、半筒の内部側で主ケーブル90と接触する。支持部114は、更に、支持領域114Aと連結領域114Bに分けられる。
支持領域114Aは、両側で接続部112と接続される。支持領域114Aは、固定部材110がボルト結合によって締め付けられると、主ケーブル90の表面に沿って塑性変形する。支持領域114Aは、ボルト結合の締め付けによって塑性変形する板厚で構成されている。例えば、図3〜図7に示す例では、直径約40mmの主ケーブル90に対し、支持領域114Aの板厚は約10mmである。なお、本発明はこのサイズに限定されない。主ケーブル90の表面には、鋼線が撚られたことによる螺旋状の凹凸が形成されているため、支持領域114Aは、主ケーブル90の凹凸に沿った形状で塑性変形する。その結果、支持領域114Aが主ケーブル90の凹部に入り込み、結果的に固定部材110が主ケーブル90に固定される。支持領域114Aの主ケーブル90に接続される前の形状は、塑性変形による部材の伸長を考慮した長さであるとよい。
連結領域114Bは、両端で支持領域114Aと連結され、両側でケーブル連結部118と接続される。連結領域114Bは、ケーブル連結部118を介して伝達される吊りケーブル92からの荷重を、主ケーブル90で支持する。
ケーブル連結部118は、例えば平面状であり、中央付近に貫通したピン用穴119が形成される。ケーブル連結部118は、ピン142にかかる吊りケーブル92からの荷重を支持し、その荷重を上方の支持部114に伝達する。ケーブル連結部118は、2つ設けられ、互いに対向して配設される。
固定部材120は、板状の鋼製部材である。固定部材120は、例えば、ボルト132が接続される接続部122と、主ケーブル90と接触する支持部124とに分けることができる。
接続部122は、例えば平面状であり、中央付近に貫通したボルト締結用穴126が形成される。接続部122は、本実施形態では、固定部材120の両側に、支持部124と接続されて2つずつ設けられる。接続部122は、固定部材110の接続部112と対向して配置される。接続部122は、ボルト結合による締め付け力を支持部124に伝達する。
支持部124は、例えば半筒形状であり、取り付け時、半筒の内部側で主ケーブル90と接触する。支持部124は、両側で接続部122と接続される。支持部124は、固定部材110の支持領域114Aと同様に、固定部材120がボルト結合によって締め付けられると、主ケーブル90の表面に沿って塑性変形する。支持部124は、ボルト結合の締め付けによって塑性変形する板厚で構成されている。支持部124は、主ケーブル90の凹凸に沿った形状で塑性変形する。その結果、支持部124が主ケーブル90の凹部に入り込み、結果的に固定部材120が主ケーブル90に固定される。
ボルト132、ナット134、ワッシャー136、138は、それぞれ組み合わされて、固定部材110、120をボルト結合する。ボルト132は、ボルト締結用穴116、126を貫通する。本実施形態では、4箇所でボルト結合される。ボルト結合による締め付け力で、固定部材110、120を塑性変形させる。
ピン142、ピン止め部材144は、互いに組み合わされて、吊りケーブル92を支持する。ピン142は、ケーブル連結部118に形成されたピン用穴119を貫通する。吊りケーブル92の端部はトヨロック方式の端部加工がされており、ピン142が吊りケーブル92で形成された輪とピン用穴119を貫通することで、吊りケーブル92がケーブル連結部118と接続される。
上記の通り、支持領域114A、支持部124が塑性変形することによる固定方法は、摩擦力以外の支持力でも固定部材110を支持することになる。そのため、従来の連結金具のように摩擦力のみで主ケーブル90を締め付ける場合に比べて、部材を薄くすることができる。例えば、図1、図2に示す従来の例では、塑性変形しないように固定部材12A、12Bが構成される必要があるため、直径約40mmの主ケーブル90に対し、例えば固定部材12A、12Bの板厚は約25mmであった。これに対して、本実施形態の固定部材110、120は、例えば約10mmでよい。また、摩擦力のみで固定する場合に比べて、締め付け圧力を低減することができるため、固定部材110、120は主ケーブル90の長さ方向に長くする必要がない。
(第2の実施形態)
次に、本発明の第2の実施形態に係る連結金具200について説明する。図8は、本実施形態に係る連結金具200を示す斜視図である。
本実施形態の連結金具200は、例えば、2つの固定部材210と、2つの固定部材220と、連結部材215と、ボルト132、ナット134、ワッシャー136、138と、ピン142、ピン止め部材144などからなる。
本実施形態の固定部材210と連結部材215は、上述した第1の実施形態の固定部材110を別体で形成したものである。連結金具200は、互いに対向して配置された固定部材210と固定部材220によって、主ケーブル90と固定される。連結部材215は、固定部材210、220に挟持されて主ケーブル90に配置される。固定部材210と固定部材220は、第1の実施形態の固定部材110の支持領域114A、又は固定部材120と同様に、ボルト結合による締め付け力によって塑性変形して、主ケーブル90と固定される。
連結部材215は、支持部217とケーブル連結部218に分けることができる。支持部217は、第1の実施形態の固定部材110の連結領域114Bに相当し、ケーブル連結部218は、第1の実施形態のケーブル連結部218に相当する。
本実施形態のように、固定部材210、220と、連結部材215が分割して形成されることで、連結部材215は、固定部材210、220とは別に主ケーブル90の周囲を回動することができる。
例えば、主ケーブル90は、構造物に設置される前、ねじれた状態にある。従って、主ケーブル90に複数の吊りケーブル92を吊るす場合、通常、吊り方向を一定にするためには、主ケーブル90のねじれをほどくか、主ケーブル90に予め長手方向に沿ってマーキングを施しておいてマーキングを基準に吊り方向を一定にする必要があった。そして、これらの手順を経ることで従来の連結金具を設置することができた。
一方、本実施形態によれば、連結部材215は主ケーブル90の周囲を回動するので、固定部材210、220は主ケーブル90のねじれと関係なく主ケーブル90と固定することができる。従って、連結金具200の設置を従来比べて簡潔かつ迅速に行うことができる。
また、上記の通り、固定部材210、220が塑性変形することによる固定方法は、摩擦力以外の支持力でも主ケーブル90を支持することになる。そのため、従来の連結金具のように摩擦力のみで主ケーブル90を締め付ける場合に比べて、部材を薄くすることができる。また、摩擦力のみで固定する場合に比べて、締め付け圧力を低減することができるため、固定部材210、220は、主ケーブル90の長さ方向に長くする必要がない。本実施形態の連結金具200の固定部材210、220は、例えば従来の連結金具の半分程度又はそれ以下の長さにすることができる。
(第3の実施形態)
次に、本発明の第3の実施形態に係る連結金具300について説明する。図9は、本実施形態に係る連結金具300を示す正面図である。図10は、本実施形態に係る連結金具300の連結部材315を示す断面図であり、連結部材315の中央で、取り付け時に主ケーブル90の長さ方向と平行となる方向に切断した図である。
本実施形態の連結金具300は、例えば、2つの固定部材210と、2つの固定部材220と、連結部材315と、ボルト132、ナット134、ワッシャー136、138と、ピン142、ピン止め部材144などからなる。
本実施形態の固定部材210は、上述した第2の実施形態と同一であり、連結部材315と別体である。連結部材315は、支持部317とケーブル連結部318に分けることができる。連結部材315は、固定部材210、220に挟持されて主ケーブル90に配置される。
連結部材315は、図9及び図10に示すように、支持部317の固定部材210、220側が、主ケーブル90への取り付け時の上部に反った形状(鞍型の形状)を有している。支持部317は、主ケーブル90に面する内部面において、中央付近が主ケーブル90の軸方向(長さ方向)端部に比べて主ケーブル90側に膨出して形成され、主ケーブル90に支持される。また、ケーブル連結部318は、一端は支持部317と接続され、他端は吊りケーブル92と接続される。これにより、連結金具300が主ケーブル90に取り付けられたとき、連結部材315の主ケーブル90に対する角度を自由に決定することができる。例えば、主ケーブル90は、ある勾配を持って構造体と接続される場合が多い。従って、従来の連結金具では、吊りケーブル92を垂直に下ろすため、勾配に応じた複数の型が用意される場合があった。一方、本実施形態によれば、図10に示すような簡潔な構成で、主ケーブル90の勾配に対応することができる。従って、勾配に応じた複数の型を用意する必要がなく、1つの形状のみを用意しておけばよい。
また、本実施形態によれば、取り付け時、主ケーブル90は、支持部317の膨出形状によって屈曲して変形するため、連結部材315は、主ケーブル90に対して摩擦力により滑らずに固定される。更に、図1及び図2に示すような従来の連結金具10は、主ケーブル90断面の上下方向に割れるように互いに対向し、吊りケーブル92を挟持する固定部材12A、12Bからなる。そのため、固定部材12A、12Bのボルト結合が外れると、吊りケーブル92も脱落してしまった。一方、本実施形態によれば、連結部材315は、鞍型形状を有しているため、固定部材210、220のボルト結合が外れたとしても、連結部材315から吊りケーブル92が脱落することはない。
(第4の実施形態)
次に、本発明の第4の実施形態に係る連結金具400について説明する。図11は、本実施形態に係る連結金具400の固定部材410を示す平面図(A)及び側面図(B)である。
上述した第1の実施形態の固定部材110は、支持部114が半筒形状であるとしたが、本発明はかかる例に限定されない。主ケーブル90への取り付け前の固定部材は、例えば、図11に示すような固定部材410のように平面状であってもよい。
固定部材410は、ボルト締結用穴416が設けられた接続部412と、ピン用穴419が設けられた支持部414に分けることができる。固定部410を主ケーブル90に取り付ける際、支持部414を主ケーブル90に沿って配置する。そして、接続部412をボルト接合することによって、支持部414は主ケーブル90の外周に沿って塑性変形する。これにより、固定部材410と主ケーブル90は相互に固定される。
本実施形態によれば、予め半筒形状に固定部材を形成する必要がないため、第1の実施形態と比べて加工がより簡単になる。なお、第1の実施形態の固定部材120、第2の実施形態の固定部材210、220についても同様に、取り付け前の形状が平面状とすることができる。
以上、添付図面を参照しながら本発明の好適な実施形態について詳細に説明したが、本発明はかかる例に限定されない。本発明の属する技術の分野における通常の知識を有する者であれば、特許請求の範囲に記載された技術的思想の範疇内において、各種の変更例または修正例に想到し得ることは明らかであり、これらについても、当然に本発明の技術的範囲に属するものと了解される。
例えば、上記実施形態では、固定部材110及び固定部材120のいずれもがボルト結合による締め付け力で塑性変形するとしたが、本発明はかかる例に限定されない。例えば、対向して対に設けられた固定部材のいずれか一方が、塑性変形し、他方は、ボルト結合の締め付け力によって塑性変形しない材料、板厚又は部材形状であるとしてもよい。この構成を有する場合、塑性変形する部材は、摩擦力と摩擦力以外の支持力で主ケーブル90を固定し、塑性変形しない部材は摩擦力で主ケーブル90を固定する。
また、上記実施形態では、主ケーブルに固定される固定部材は対向する2つの割り部材からなるとしたが、本発明はかかる例に限定されない。例えば、3つ以上の割り部材で構成されてもよく、それぞれの割り部材はボルト結合によって結合される。また、固定部材は、割り部材ではなく1つの部材であってもよい。このとき、固定部材は、主ロープ90の全円周をほぼ囲むような形状を有し、1つのボルトが貫通するときに対向するボルト締結用穴が2つ設けられている。固定部材が2つの割り部材からなるときは2箇所でボルト結合されるが、固定部材が1つの部材であるときは、1箇所でボルト結合されればよい。
また、上記実施形態では、吊りケーブル92の端部はトヨロック方式の端部加工がされているが、本発明はかかる例に限定されない。例えば、吊りケーブル92の端部は、ソケット方式又はシングルロック方式の端部加工がされてもよい。このとき、ケーブル連結部の形状は、それぞれの端部加工に応じた形状となるが、詳細な説明は省略する。
従来の連結金具を示す斜視図である。 従来の連結金具を示す分解斜視図である。 本発明の第1の実施形態に係る連結金具を示す斜視図である。 同実施形態に係る連結金具を示す分解斜視図である。 同実施形態に係る連結金具を示す側面図である。 同実施形態に係る連結金具を示す正面図である。 同実施形態に係る連結金具を示す断面図である。 本発明の第2の実施形態に係る連結金具を示す斜視図である。 本発明の第3の実施形態に係る連結金具を示す正面図である。 同実施形態に係る連結金具の連結部材を示す断面図である。 本発明の第4の実施形態に係る連結金具の固定部材を示す平面図(A)及び側面図(B)である。
符号の説明
90 主ケーブル
92 吊りケーブル
100,200,300,400 連結金具
110,120,210,220,410 固定部材
112,122,412 接続部
114,124,217,317,414 支持部
114A 支持領域
114B 連結領域
116,126,416 ボルト締結用穴
118,218,318,418 ケーブル連結部
119,419 ピン用穴
132 ボルト
134 ナット
136,138 ワッシャー
142 ピン
144 ピン止め部材
215,315 連結部材

Claims (8)

  1. ボルト結合で第1のケーブルを被覆し、前記第1のケーブルを被覆するとき前記ボルト結合の締め付け力によって塑性変形し、前記第1のケーブルに固定される板状部材と、
    前記板状部材と接続又は少なくとも2つの前記板状部材に挟持され、一端は前記第1のケーブルと接続され、他端は前記第1のケーブルと異なる第2のケーブルと接続されるケーブル連結部と
    を備えることを特徴とする、連結金具。
  2. 前記板状部材は、前記ボルト結合の締め付け力によって、前記第1のケーブルとの接触面が塑性変形することを特徴とする、請求項1に記載の連結金具。
  3. 前記板状部材は、少なくとも2つの割り板状部材からなり、
    前記割り板状部材は、相互にボルト結合されることを特徴とする、請求項1又は2に記載の連結金具。
  4. 前記割り板状部材のうち少なくとも1つが、前記ボルト結合の締め付け力によって塑性変形し、
    前記塑性変形する前記割り板状部材以外の少なくとも1つの前記割り板状部材は、前記ボルト結合の締め付け力によって塑性変形しない材料であることを特徴とする、請求項3に記載の連結金具。
  5. 前記板状部材と前記ケーブル連結部とは、一体的に形成されることを特徴とする、請求項1〜4のいずれかに記載の連結金具。
  6. 前記板状部材と前記ケーブル連結部とは、別体で形成されることを特徴とする、請求項1〜4のいずれかに記載の連結金具。
  7. 前記ケーブル連結部は、少なくとも2つの前記板状部材に挟持されるとき、前記第1のケーブルに対して回転可能であることを特徴とする、請求項6に記載の連結金具。
  8. 前記ケーブル連結部は、
    前記第1のケーブルに面する内部面において、中央付近が前記第1のケーブルの軸方向端部に比べて前記第1のケーブル側に膨出して形成され、前記第1のケーブルに支持される支持部と、
    一端は前記支持部と接続され、他端は前記第2のケーブルと接続される連結部と
    を有する請求項6又は7に記載の連結金具。
JP2008180089A 2008-07-10 2008-07-10 連結金具 Active JP5294739B2 (ja)

Priority Applications (1)

Application Number Priority Date Filing Date Title
JP2008180089A JP5294739B2 (ja) 2008-07-10 2008-07-10 連結金具

Applications Claiming Priority (1)

Application Number Priority Date Filing Date Title
JP2008180089A JP5294739B2 (ja) 2008-07-10 2008-07-10 連結金具

Publications (2)

Publication Number Publication Date
JP2010018993A true JP2010018993A (ja) 2010-01-28
JP5294739B2 JP5294739B2 (ja) 2013-09-18

Family

ID=41704161

Family Applications (1)

Application Number Title Priority Date Filing Date
JP2008180089A Active JP5294739B2 (ja) 2008-07-10 2008-07-10 連結金具

Country Status (1)

Country Link
JP (1) JP5294739B2 (ja)

Cited By (10)

* Cited by examiner, † Cited by third party
Publication number Priority date Publication date Assignee Title
KR101010910B1 (ko) 2010-11-09 2011-01-25 (주)신흥이앤지 정착부 조절형 케이블 연결구
KR101159717B1 (ko) 2011-11-09 2012-06-28 주식회사 케이블브릿지 현수교 주케이블 밴드 장치 및 그 설치방법
KR101224405B1 (ko) * 2012-09-26 2013-01-21 (주)신흥이앤지 교량용 케이블 연결구
CN103643636A (zh) * 2013-11-27 2014-03-19 南京润华市政建设有限公司 一种刚性吊杆顶推滑移装置及其滑移方法
CN103883599A (zh) * 2014-03-31 2014-06-25 镇江中佳电器有限公司 一种电缆生产线收放线架用固定装置
CN107419667A (zh) * 2017-08-16 2017-12-01 中国十七冶集团有限公司 一种自锚式悬索桥索夹安装方法
CN111576215A (zh) * 2020-06-16 2020-08-25 德阳天元重工股份有限公司 一种防松动的销接式索夹
CN111691297A (zh) * 2020-04-30 2020-09-22 武汉船用机械有限责任公司 双主缆索夹
CN112227805A (zh) * 2020-09-27 2021-01-15 中国航空规划设计研究总院有限公司 一种斜交索网的烟塔合一结构体系及其施工方法
CN114838476A (zh) * 2022-04-06 2022-08-02 海尔(深圳)研发有限责任公司 用于保护除湿设备的方法、装置及除湿设备、存储介质

Families Citing this family (1)

* Cited by examiner, † Cited by third party
Publication number Priority date Publication date Assignee Title
CN111236038B (zh) * 2020-03-09 2021-04-16 东南大学 一种新型悬索桥中央扣装置

Citations (3)

* Cited by examiner, † Cited by third party
Publication number Priority date Publication date Assignee Title
JPH07247513A (ja) * 1994-03-09 1995-09-26 Tokyo Seiko Co Ltd ケーブル中間部の締結用クランプ構造
JPH11323823A (ja) * 1998-04-10 1999-11-26 Freyssinet Internatl (Stup) 建設構造物用の吊り下げ装置
JP2002277704A (ja) * 2001-01-11 2002-09-25 Occ Corp 光ケーブルの中心抗張力体の端末固定用クランプ及び端末固定構造

Patent Citations (3)

* Cited by examiner, † Cited by third party
Publication number Priority date Publication date Assignee Title
JPH07247513A (ja) * 1994-03-09 1995-09-26 Tokyo Seiko Co Ltd ケーブル中間部の締結用クランプ構造
JPH11323823A (ja) * 1998-04-10 1999-11-26 Freyssinet Internatl (Stup) 建設構造物用の吊り下げ装置
JP2002277704A (ja) * 2001-01-11 2002-09-25 Occ Corp 光ケーブルの中心抗張力体の端末固定用クランプ及び端末固定構造

Cited By (13)

* Cited by examiner, † Cited by third party
Publication number Priority date Publication date Assignee Title
KR101010910B1 (ko) 2010-11-09 2011-01-25 (주)신흥이앤지 정착부 조절형 케이블 연결구
KR101159717B1 (ko) 2011-11-09 2012-06-28 주식회사 케이블브릿지 현수교 주케이블 밴드 장치 및 그 설치방법
KR101224405B1 (ko) * 2012-09-26 2013-01-21 (주)신흥이앤지 교량용 케이블 연결구
CN103643636A (zh) * 2013-11-27 2014-03-19 南京润华市政建设有限公司 一种刚性吊杆顶推滑移装置及其滑移方法
CN103883599A (zh) * 2014-03-31 2014-06-25 镇江中佳电器有限公司 一种电缆生产线收放线架用固定装置
CN107419667B (zh) * 2017-08-16 2019-01-25 中国十七冶集团有限公司 一种自锚式悬索桥索夹安装方法
CN107419667A (zh) * 2017-08-16 2017-12-01 中国十七冶集团有限公司 一种自锚式悬索桥索夹安装方法
CN111691297A (zh) * 2020-04-30 2020-09-22 武汉船用机械有限责任公司 双主缆索夹
CN111691297B (zh) * 2020-04-30 2022-08-23 武汉船用机械有限责任公司 双主缆索夹
CN111576215A (zh) * 2020-06-16 2020-08-25 德阳天元重工股份有限公司 一种防松动的销接式索夹
CN111576215B (zh) * 2020-06-16 2024-12-10 德阳天元重工股份有限公司 一种防松动的销接式索夹
CN112227805A (zh) * 2020-09-27 2021-01-15 中国航空规划设计研究总院有限公司 一种斜交索网的烟塔合一结构体系及其施工方法
CN114838476A (zh) * 2022-04-06 2022-08-02 海尔(深圳)研发有限责任公司 用于保护除湿设备的方法、装置及除湿设备、存储介质

Also Published As

Publication number Publication date
JP5294739B2 (ja) 2013-09-18

Similar Documents

Publication Publication Date Title
JP5294739B2 (ja) 連結金具
KR101677891B1 (ko) 인양용 체결구
JP2018526549A (ja) ケーブル係留システム
CN107009832B (zh) 车辆的悬架塔结构
JP5619984B1 (ja) 吊り下げ式支持装置用座屈防止具
JP2009236125A (ja) 吊りボルト支持具
JP5247272B2 (ja) ケーブル接続構造及び連結金具
CN108602406A (zh) 轴单元
CN102388194B (zh) 承重装置
JP5049832B2 (ja) 吊りボルト支持具
JP2019007593A (ja) 固定金具
JP6000868B2 (ja) 長尺ボルト交差連結金具
JPH11323824A (ja) 吊構造物のケーブル連結金具
JP4971916B2 (ja) 座金及び水槽
JP6000867B2 (ja) 吊りボルト連結金具
JP6080361B2 (ja) 接合部構造
JP7330445B2 (ja) 配管支持具
JP2014055458A (ja) 塔状構造物
CN103517866B (zh) 悬吊装置
JP5127680B2 (ja) 雄ねじ部材の固定構造
US20220268317A1 (en) Casing reinforced with ribs for food applications
JP5288818B2 (ja) 電柱支持装置
JP2012246133A (ja) 長さ調整部材
JP7152027B2 (ja) 親綱掛着金具
JP5055616B2 (ja) 筋交い構造

Legal Events

Date Code Title Description
A621 Written request for application examination

Free format text: JAPANESE INTERMEDIATE CODE: A621

Effective date: 20110420

A977 Report on retrieval

Free format text: JAPANESE INTERMEDIATE CODE: A971007

Effective date: 20120621

A131 Notification of reasons for refusal

Free format text: JAPANESE INTERMEDIATE CODE: A131

Effective date: 20120626

A521 Request for written amendment filed

Free format text: JAPANESE INTERMEDIATE CODE: A523

Effective date: 20120803

TRDD Decision of grant or rejection written
A01 Written decision to grant a patent or to grant a registration (utility model)

Free format text: JAPANESE INTERMEDIATE CODE: A01

Effective date: 20130521

A61 First payment of annual fees (during grant procedure)

Free format text: JAPANESE INTERMEDIATE CODE: A61

Effective date: 20130611

R150 Certificate of patent or registration of utility model

Ref document number: 5294739

Country of ref document: JP

Free format text: JAPANESE INTERMEDIATE CODE: R150

Free format text: JAPANESE INTERMEDIATE CODE: R150

R250 Receipt of annual fees

Free format text: JAPANESE INTERMEDIATE CODE: R250

R250 Receipt of annual fees

Free format text: JAPANESE INTERMEDIATE CODE: R250

R250 Receipt of annual fees

Free format text: JAPANESE INTERMEDIATE CODE: R250

S533 Written request for registration of change of name

Free format text: JAPANESE INTERMEDIATE CODE: R313533

R350 Written notification of registration of transfer

Free format text: JAPANESE INTERMEDIATE CODE: R350

R250 Receipt of annual fees

Free format text: JAPANESE INTERMEDIATE CODE: R250

R250 Receipt of annual fees

Free format text: JAPANESE INTERMEDIATE CODE: R250

R250 Receipt of annual fees

Free format text: JAPANESE INTERMEDIATE CODE: R250

R250 Receipt of annual fees

Free format text: JAPANESE INTERMEDIATE CODE: R250

R250 Receipt of annual fees

Free format text: JAPANESE INTERMEDIATE CODE: R250

R250 Receipt of annual fees

Free format text: JAPANESE INTERMEDIATE CODE: R250

R250 Receipt of annual fees

Free format text: JAPANESE INTERMEDIATE CODE: R250