JP2010016010A - 強誘電体膜、圧電素子、及び液体吐出装置 - Google Patents

強誘電体膜、圧電素子、及び液体吐出装置 Download PDF

Info

Publication number
JP2010016010A
JP2010016010A JP2008149103A JP2008149103A JP2010016010A JP 2010016010 A JP2010016010 A JP 2010016010A JP 2008149103 A JP2008149103 A JP 2008149103A JP 2008149103 A JP2008149103 A JP 2008149103A JP 2010016010 A JP2010016010 A JP 2010016010A
Authority
JP
Japan
Prior art keywords
electric field
ferroelectric
polarization
ferroelectric film
phase
Prior art date
Legal status (The legal status is an assumption and is not a legal conclusion. Google has not performed a legal analysis and makes no representation as to the accuracy of the status listed.)
Granted
Application number
JP2008149103A
Other languages
English (en)
Other versions
JP5253894B2 (ja
Inventor
Tsutomu Sasaki
勉 佐々木
Yukio Sakashita
幸雄 坂下
Current Assignee (The listed assignees may be inaccurate. Google has not performed a legal analysis and makes no representation or warranty as to the accuracy of the list.)
Fujifilm Corp
Original Assignee
Fujifilm Corp
Priority date (The priority date is an assumption and is not a legal conclusion. Google has not performed a legal analysis and makes no representation as to the accuracy of the date listed.)
Filing date
Publication date
Application filed by Fujifilm Corp filed Critical Fujifilm Corp
Priority to JP2008149103A priority Critical patent/JP5253894B2/ja
Publication of JP2010016010A publication Critical patent/JP2010016010A/ja
Application granted granted Critical
Publication of JP5253894B2 publication Critical patent/JP5253894B2/ja
Expired - Fee Related legal-status Critical Current
Anticipated expiration legal-status Critical

Links

Images

Landscapes

  • Particle Formation And Scattering Control In Inkjet Printers (AREA)
  • Formation Of Insulating Films (AREA)
  • Semiconductor Memories (AREA)

Abstract

【課題】バイポーラ分極−電界曲線がダブルヒステリシス性を示し、大きな変位が期待される新規な強誘電体膜を提供する。
【解決手段】強誘電体膜は、最大印加電界Emaxと最小印加電界Eminの絶対値とを同一に設定して(Emax=|Emin|)測定されるバイポーラ分極−電界曲線が、少なくとも5個の変曲点を有し、かつ、最大分極値Pmaxと最小分極値Pminの絶対値とが略等しい(Pmax≒|Pmin|)ダブルヒステリシス性を有するものである。強誘電体膜は、1種又は2種以上のペロブスカイト型酸化物からなり、不可避不純物を含んでいてもよい。
【選択図】図1

Description

本発明は、新規なバイポーラ分極−電界特性を示す強誘電体膜と、この強誘電体膜を用いた圧電素子及び液体吐出装置とに関するものである。
強誘電性材料からなる圧電体と、この圧電体に対して電界を印加する電極とを備えた圧電素子が、インクジェット式記録ヘッドに搭載されるアクチュエータ等として使用されている。強誘電性材料としては、チタン酸ジルコン酸鉛(PZT)等のペロブスカイト型酸化物が知られている。強誘電体の電界変化に対する特性は、分極−電界特性(P−E特性)及び電界−歪特性等で評価される。
非特許文献1には、結晶構造が正方晶系であるc軸配向PZT膜の特性が評価されている。図13A及び図13Bに、非特許文献1に記載の強誘電体膜の分極−電界特性(FIG.2)と電圧−歪特性(FIG.5)とを示す。この強誘電体膜では、自発分極軸方向と電界印加方向とが一致しており、180°ドメイン反転は起こるが90°ドメイン回転は起こらない。かかる強誘電体の分極−電界特性は角型良好であり、抗電界Ec1,Ec2付近で分極変化がシャープに起こっている。抗電界Ec1,Ec2付近での分極変化は、180°ドメイン反転によるものである。また、かかる系では、電界増加に伴って自発分極軸方向に伸びる電界誘起歪のみが起こるので、電界変化に対して歪は線形に変化する。
従来一般的な強誘電体では、90°ドメイン回転等の非180°ドメイン回転が起こるので、抗電界Ec1,Ec2付近での分極変化はより緩やかであり、電界−歪特性はヒステリシスを示す。従来一般的な強誘電体では、電界を取り除いても残留分極Prがあり、バイポーラ分極−電界曲線はシングルヒステリシス性を示す。また、バイポーラ分極−電界曲線は原点に対して略対称であり、負電界側の抗電界Ec1の絶対値と正電界側の抗電界Ec2とは略一致する(|Ec1|≒Ec2)。非180°ドメイン回転が起こる従来一般的な強誘電体の分極−電界曲線と電界−歪曲線とを図14に模式的に示す。電界−歪曲線については、バイポーラ駆動とユニポーラ駆動とについて図示してある。
強誘電体は通常、ポーリング処理と称される初期化処理が施された後、使用される。この初期化処理前は強誘電体に種々の自発分極軸方向を持つ多数のドメインが存在するが、初期化処理によって、これら多数のドメインの自発分極軸方向が全体的に揃うようになる。図14のバイポーラ電界−歪曲線及びユニポーラ電界−歪曲線に示すように、この初期化処理では大きな変位が得られる(図中、「1回目」と表記した破線部分を参照)。しかしながら、いったん初期化処理を施すと、電界を取り除いても元の状態に戻らないドメインが多数存在するため、実際の駆動条件となる2回目以降の変位は小さくなる。すなわち、強誘電体では、初期化処理の際には大きな変位が得られるが、その大きな変位は有効利用されていない。
従来一般的な反強誘電体の分極−電界曲線と電界−歪曲線とを図15に模式的に示す。図15の分極−電界曲線に示すように、反強誘電体は、電界無印加時にはナノスケールで見て1つ1つの格子の分極方向が交互に反転した状態にあるため、全体として分極を示さない(残留分極Pr≒0)。反強誘電体に対して電界を印加すると、すべての格子の分極方向が電界印加方向に揃い、強誘電体のようになる。反強誘電体では、電界を取り除くと元の初期状態に戻るため、バイポーラ分極−電界曲線は原点を通るダブルヒステリシス性を示す。図中、四角に囲まれた矢印は格子の分極方向を模式的に示している。反強誘電体では、強誘電体のように1回目の変位と2回目以降の変位に差は見られない。
従来の反強誘電体では、最大印加電界Emaxと最小印加電界Eminの絶対値とを同一に設定して(Emax=|Emin|)測定されるバイポーラ分極−電界曲線は原点に対して略対称であり、最大分極値Pmaxと最小分極値Pminの絶対値とは略一致する(Pmax≒|Pmin|)。
図16A及び図16Bに反強誘電体の実際の分極−電界曲線と電界−歪曲線の測定データ例を示す。これらの測定データは、非特許文献2のFig.2及びFig.8に記載されたPbZrO(PZ)膜のデータである。圧電定数に関するデータの記載はないが、本発明者が電界−歪曲線のグラフ中に示す破線の傾きから圧電定数を求めたところ、0〜400kV/cmで駆動したときの圧電定数d33=150pm/V程度、d31=75pm/V程度であった。反強誘電体−強誘電体間の相転移から大きな変位が期待されたが、PZT系を凌駕する圧電性能は得られていない。
図15のバイポーラ電界−歪曲線に示すように、反強誘電体の変位はある電界強度で変位が急激に増加するデジタル的な変位である。かかるデジタル的な変位は、圧電アクチュエータ等の用途には適していない。また、反強誘電体は周波数特性が良くなく、50Hz程度までは良好な変位が得られるが、それ以上の周波数をかけると変位が落ちてしまう。圧電アクチュエータでは通常100Hz以上の周波数をかけるため、反強誘電体は圧電アクチュエータ等の用途には適していない。
近年、強誘電体において、バイポーラ分極−電界曲線が対称ダブルヒステリシスを示す材料が報告されている。
非特許文献3には、アクセプタイオンであるMnとドナイオンであるNbを共ドープしたランダム配向のBaTiOバルクセラミックスを製造した後、60℃で64hrのエージング処理を施した材料が、対称ダブルヒステリシス分極−電界特性を示すことが報告されている。図17A及び図17Bに非特許文献3に記載の材料の分極−電界曲線と電界−歪曲線の測定データを示す(非特許文献3のFig.1及びFig.3)。圧電定数に関するデータの記載はないが、本発明者が電界−歪曲線のグラフ中に示す破線の傾きから圧電定数を求めたところ、最も大きいもので、0〜3kV/cmで駆動したときの圧電定数d33=550pm/V程度、d31=225pm/V程度であった(図17B(非特許文献3のFig.3)(a)を参照)。この材料は非鉛系にも関わらず、大きな変位が得られている。
非特許文献4には、MnをドープしたBaTiO単結晶を製造した後、80℃で2週間のエージング処理を施した材料が、対称ダブルヒステリシス分極−電界特性を示すことが報告されている。
非特許文献3,4には、上記材料が90°ドメイン回転を示すことが記載されており、材料特性のメカニズムが以下のように記載されている(非特許文献3Fig.4等を参照)。
Mn及びNb、あるいはMn単独をドープすることによって、強誘電ドメイン内に移動性の点欠陥が生じる。エージング処理を施すと、移動性の点欠陥が安定な位置に移動して酸素欠陥とペアを作り、その短距離秩序の対称性が強誘電ドメインの結晶対称性に一致するようになる。これによって、強誘電ドメイン内に、その自発分極方向と一致した方向に分極した欠陥分極(defect dipole)が生じる。電界を印加すると、強誘電ドメインの90°ドメイン回転が起こるが、上記欠陥分極の分極方向は変化しない。強誘電ドメインの分極方向と欠陥分極の分極方向が一致した状態が安定であるため、電界を取り除くと、強誘電ドメインは元の安定な分極方向の状態に戻る。欠陥分極の存在によって強誘電ドメインが初期状態に戻ることで、電界を繰り返し増減させても大きな変位が得られ、対称ダブルヒステリシス分極−電界特性を示す。
圧電アクチュエータ等の用途では、強誘電体は通常ユニポーラ駆動で使用される。ダブルヒステリシス分極−電界特性を示す材料は、電界無印加時に初期状態に戻り、残留分極Prが0若しくはそれに近い値となるため、残留分極Prの大きいシングルヒステリシス分極−電界特性を示す材料よりも大きな変位が期待される。
sensor and actuators A 107 (2003)68-74 I.Kanno et al. J.J.A.P.vol.40 (2001) p5507 H.Maiwa et al. APPLIED PHSICS LETTERS 89, 172908(2006)Wenfeng Liu, Xiaobing Ren et al. PHSICAL REVIEW B71,174108(2005)L. X. Zhang and X. Ren
電子機器の小型軽量化・高機能化に伴い、これに搭載される圧電素子においても小型軽量化・高機能化が進められるようになってきている。例えば、インクジェット式記録ヘッドでは、高画質化のために、圧電素子の高密度化が検討されており、それに伴って強誘電体の薄膜化が検討されている。
非特許文献3,4では、バルクセラミックスあるいはバルク単結晶について研究がなされているにすぎず、膜については一切言及されていない。すなわち、従来は、ダブルヒステリシス分極−電界特性を示す強誘電体膜及びその製造方法に関する研究例は一切報告されていない。また、非特許文献3,4に記載の強誘電体の製造方法は、長時間のエージング処理が必要であり、製造効率も良くない。
本発明は上記事情に鑑みてなされたものであり、バイポーラ分極−電界曲線がダブルヒステリシス性を示し、大きな変位が期待される強誘電体膜、及びこの強誘電体膜を用いた圧電素子及び液体吐出装置を提供することを目的とするものである。
本発明の強誘電体膜は、最大印加電界Emaxと最小印加電界Eminの絶対値とを同一に設定して(Emax=|Emin|)測定されるバイポーラ分極−電界曲線が、少なくとも5個の変曲点を有し、かつ、最大分極値Pmaxと最小分極値Pminの絶対値とが略等しい(Pmax≒|Pmin|)ダブルヒステリシス性を有することを特徴とするものである。
バイポーラ分極−電界曲線が原点を通るダブルヒステリシス性を示すとき変曲点数は基本的に5個であり、原点を通らないダブルヒステリシス性を示すとき変曲点数は基本的に6個である。
本明細書において、「バイポーラ分極−電界曲線が少なくとも5個の変曲点を有する」とは、バイポーラ分極−電界特性の実測データを基にバイポーラ分極−電界曲線を描き、EminからEmaxに電界を増加させたときの片道の曲線とEmaxからEminに電界を減少させたときの片道の曲線とに分けてそれぞれ通常のカーブフィッティング処理及びスムージング処理を施したものについて、少なくとも5個の変曲点を有することを意味する。「変曲点」には、測定ノイズによる微小データ変動に基づく変曲点は含まれないものとする。測定ノイズが多い場合には、アベレージング処理や繰返し積算処理等によって測定ノイズを取り除いた後、カーブフィッティング処理を施すものとする。
図14に示した通常のシングルヒステリシス分極−電界曲線の変曲点は2個であるので、バイポーラ分極−電界曲線が少なくとも5個の変曲点を有するということは、バイポーラ分極−電界特性がダブルヒステリシス性を有することを意味する。
本明細書において、「Pmax≒|Pmin|」とは、Pmaxと|Pmin|との差が、Pmaxと|Pmin|とのうち値が大きい方の10%以下であることと定義する。
本発明の強誘電体膜のバイポーラ分極−電界曲線は、原点に対して略対称な対称ダブルヒステリシス性を有していてもよいし、原点に対して非対称な非対称ダブルヒステリシス性を有していてもよい。
本発明の強誘電体膜は、1種又は2種以上のペロブスカイト型酸化物からなる(不可避不純物を含んでいてもよい)ことが好ましく、下記一般式(P)で表される1種又は2種以上のペロブスカイト型酸化物からなる(不可避不純物を含んでいてもよい)ことがより好ましい。
一般式ABO・・・(P)
(式中、A:Aサイトの元素であり、Pb,Ba,Sr,Bi,Li,Na,Ca,Cd,Mg,K,及びランタニド元素からなる群より選ばれた少なくとも1種の元素、
B:Bサイトの元素であり、Ti,Zr,V,Nb,Ta,Cr,Mo,W,Mn,Mg,Sc,Co,Cu,In,Sn,Ga,Zn,Cd,Fe,Ni,Hf,及びAlからなる群より選ばれた少なくとも1種の元素、
O:酸素元素、
Aサイト元素とBサイト元素と酸素元素のモル比は1:1:3が標準であるが、これらのモル比はペロブスカイト構造を取り得る範囲内で基準モル比からずれてもよい。)
本発明の強誘電体膜は、前記一般式(P)で表され、かつ、Aサイトが、Pb,Bi,Ba,Sr,Ca,La,及びMgからなる群より選ばれた少なくとも1種の金属元素からなり、Bサイトが、Zr,Ti,Fe,及びAlからなる群より選ばれた少なくとも1種の金属元素と、Co,Mn,Mg,Ni,Zn,V,Nb,Ta,Cr,Mo,及びWからなる群より選ばれた少なくとも1種の金属元素とからなるペロブスカイト型酸化物(P1)を含むことが好ましい。
本発明の強誘電体膜は、前記一般式(P)で表され、かつ、AサイトがBiを主成分とし、BサイトがFeを主成分とするペロブスカイト型酸化物(P2)を含む構成も好ましい。
本明細書において、「Aサイト(あるいはBサイト)の主成分」はAサイト(あるいはBサイト)中80モル%以上の成分と定義する。
本発明の強誘電体膜は、前記一般式(P)で表され、かつ、AサイトがBi及び少なくとも1種のランタニド元素を含み、BサイトがFe及びAlを含むペロブスカイト型酸化物(P3)を含む構成も好ましい。
本発明の強誘電体膜は、一般式xBiFeO−(1−x)BaTiO(式中、0<x<1.0)で表されるペロブスカイト型酸化物(P4)を含む構成も好ましい。
本発明の強誘電体膜は、結晶配向性を有する強誘電体相を含むことが好ましい。
本明細書において、「結晶配向性を有する」とは、Lotgerling法により測定される配向率Fが、80%以上であることと定義する。
配向率Fは、下記式(i)で表される。
F(%)=(P−P0)/(1−P0)×100・・・(i)
式(i)中、Pは、配向面からの反射強度の合計と全反射強度の合計の比である。(001)配向の場合、Pは、(00l)面からの反射強度I(00l)の合計ΣI(00l)と、各結晶面(hkl)からの反射強度I(hkl)の合計ΣI(hkl)との比({ΣI(00l)/ΣI(hkl)})である。例えば、ペロブスカイト結晶において(001)配向の場合、P=I(001)/[I(001)+I(100)+I(101)+I(110)+I(111)]である。
P0は、完全にランダムな配向をしている試料のPである。
完全にランダムな配向をしている場合(P=P0)にはF=0%であり、完全に配向をしている場合(P=1)にはF=100%である。
本発明の強誘電体膜は、(100)配向の強誘電体相及び/又は(111)配向の強誘電体相を含むことができる。
本発明の強誘電体膜は、(100)配向の正方晶相及び/又は(111)配向の菱面体晶相を含むことができる。
本発明の強誘電体膜は、モルフォトロピック相境界(MPB)又はその近傍の組成を有し、正方晶相、斜方晶相、及び菱面体晶相からなる群より選択される少なくとも2つの結晶相を含む構成を有することができる。
「MPB又はその近傍」とは、電界をかけた時に相転移する領域のことである。
本発明の強誘電体膜は、自発分極軸方向とは異なる方向に結晶配向性を有する強誘電体相を含むことが好ましい。
自発分極軸方向とは異なる方向に結晶配向性を有する前記強誘電体相は、略<100>方向に結晶配向性を有する菱面体晶相、略<110>方向に結晶配向性を有する菱面体晶相、略<110>方向に結晶配向性を有する正方晶相、略<111>方向に結晶配向性を有する正方晶相、略<100>方向に結晶配向性を有する斜方晶相、及び略<111>方向に結晶配向性を有する斜方晶相からなる群より選択された少なくとも1つの強誘電体相であることが好ましい。
本明細書において、「略<abc>方向に結晶配向性を有する」とは、その方向の結晶配向率Fが80%以上であると定義する。
自発分極軸方向とは異なる方向に結晶配向性を有する前記強誘電体相は、該強誘電体相の自発分極軸方向とは異なる方向の電界印加により、該強誘電体相の少なくとも一部が相転移する性質を有するものであることが好ましい。
本発明の圧電素子は、上記の本発明の強誘電体膜からなる圧電体と、該圧電体に対して電界を印加する電極とを備えたことを特徴とするものである。
本発明の液体吐出装置は、上記の本発明の圧電素子と、
液体が貯留される液体貯留室及び該液体貯留室から外部に前記液体が吐出される液体吐出口を有する液体貯留吐出部材とを備えたことを特徴とするものである。
本発明は、最大印加電界Emaxと最小印加電界Eminの絶対値とを同一に設定して(Emax=|Emin|)測定されるバイポーラ分極−電界曲線が、少なくとも5個の変曲点を有し、かつ、最大分極値Pmaxと最小分極値Pminの絶対値とが略等しい(Pmax≒|Pmin|)ダブルヒステリシス性を有する強誘電体膜をはじめて実現したものである。
上記ダブルヒステリシス分極−電界特性を示す強誘電体膜は、電界無印加時に初期状態に戻るため、残留分極Prの大きいシングルヒステリシス分極−電界特性を示す通常の強誘電体膜よりも残留分極Prがより小さくなる傾向にあり、より大きな変位が期待される。
「強誘電体膜」
<分極−電界特性>
本発明の強誘電体膜は、最大印加電界Emaxと最小印加電界Eminの絶対値とを同一に設定して(Emax=|Emin|)測定されるバイポーラ分極−電界曲線が、少なくとも5個の変曲点を有し、かつ、最大分極値Pmaxと最小分極値Pminの絶対値とが略等しい(Pmax≒|Pmin|)ダブルヒステリシス性を有する膜である。
図14に示した通常のシングルヒステリシス分極−電界曲線の変曲点は2個であるので、バイポーラ分極−電界曲線が少なくとも5個の変曲点を有するということは、バイポーラ分極−電界特性がダブルヒステリシス性を有することを意味する。
本発明の強誘電体膜において、バイポーラ分極−電界曲線は原点を通るダブルヒステリシス性を示すものでも、原点を通らないダブルヒステリシス性を示すものでもよい。バイポーラ分極−電界曲線が原点を通るダブルヒステリシス性を示すとき変曲点数は基本的に5個であり、原点を通らないダブルヒステリシス性を示すとき変曲点数は基本的に6個である。
本発明の強誘電体膜のバイポーラ分極−電界曲線は、原点に対して略対称な対称ダブルヒステリシス性を有していてもよいし、原点に対して非対称な非対称ダブルヒステリシス性を有していてもよい。
図1に、本発明の強誘電体膜のバイポーラ分極−電界ヒステリシス曲線(P−Eヒステリシス曲線)、バイポーラ電界−歪曲線、及びユニポーラ電界−歪曲線の例を模式的に示す。ここでは、バイポーラ分極−電界ヒステリシス曲線が原点を通り、原点に対して略対称なダブルヒステリシス性を示す場合について示してある。
図2に、図1の分極−電界ヒステリシス曲線とその変曲点を示しておく。図示するバイポーラ分極−電界曲線は原点を通っているので、原点に最も近い変曲点の分極値をPifとしたとき、Pif=0である。
強誘電体でありながらダブルヒステリシス分極−電界特性を示す材料は過去にほとんど報告がなく、「背景技術」の項で挙げた非特許文献3,4にのみ報告されている。しかも、非特許文献3,4に記載の強誘電体はBaTiO系のバルクセラミックスあるいはバルク単結晶のみである。
インクジェット式記録ヘッド等の用途では、高画質化等のために、圧電素子の高密度化が検討されており、それに伴って圧電素子の薄型化が検討されている。圧電素子の薄型化を考慮すれば、強誘電体としては強誘電体膜が好ましく、厚み20μm以下の強誘電体薄膜がより好ましい。
本発明者は、最大印加電界Emaxと最小印加電界Eminの絶対値とを同一に設定して(Emax=|Emin|)測定されるバイポーラ分極−電界曲線が、少なくとも5個の変曲点を有し、かつ、最大分極値Pmaxと最小分極値Pminの絶対値とが略等しい(Pmax≒|Pmin|)ダブルヒステリシス分極−電界特性を示すPZT系強誘電体膜をはじめて実現した。非特許文献3,4に記載の強誘電体の製造方法では長時間のエージング処理が必要であるが、本発明者はかかるエージング処理を要することなく、ダブルヒステリシス分極−電界特性を示すPZT系強誘電体膜を成膜することを実現した。
圧電アクチュエータ等の用途では、強誘電体は通常ユニポーラ駆動で使用される。ダブルヒステリシス分極−電界特性を示す材料は、電界無印加時に初期状態に戻るため、残留分極Prの大きいシングルヒステリシス分極−電界特性を示す通常の強誘電体膜よりも残留分極Prがより小さくなる傾向にあり、より大きな変位が期待される。ダブルヒステリシス分極−電界特性を示す材料では、残留分極Prを0若しくはそれに近い値とすることもでき、より大きな変位が期待される。
図1に示すように、対称ダブルヒステリシス分極−電界特性を示す本発明の強誘電体膜は、バイポーラ電界−歪曲線はy軸(歪量を示す軸)に対して略対称であり、正電界側のユニポーラ電界−歪曲線と負電界側のユニポーラ電界−歪曲線とは略同一の傾向を示す。図1では、正電界側を例として、ユニポーラ電界−歪曲線を図示してある。
非対称ダブルヒステリシス分極−電界特性を示す本発明の強誘電体膜においても、最大分極値Pmaxと最小分極値Pminの絶対値とが略等しい(Pmax≒|Pmin|)ダブルヒステリシス性を有するので、正電界側で駆動しても負電界側で駆動しても、同等レベルの圧電歪が得られる。
本発明の強誘電体膜において、バイポーラ分極−電界曲線は原点を通ってもよいし、原点を通らなくてもよいことを述べたが、原点に最も近い変曲点の分極値をPifとしたとき、Pif≒0であることが好ましい。図1に示したように、Pif=0のときバイポーラ分極−電界曲線は完全に原点を通る曲線となり、残留分極Pr=0となる。Pif≒0であれば、バイポーラ分極−電界曲線はほぼ原点を通る曲線となるので、残留分極Pr≒0となり、大きな変位が期待される。
従来、反強誘電体では、対称ダブルヒステリシス分極−電界特性を示す膜が報告されているが、強誘電体では、ダブルヒステリシス分極−電界特性を示す膜は一切報告されていない。「背景技術」の項において説明したように、ある電界強度で変位が急激に増加するデジタル的な変位を示し、周波数特性が良くない反強誘電体は、圧電アクチュエータ等の用途には適していない。ダブルヒステリシス分極−電界特性を示す強誘電体膜を実現できたことは、技術的価値が大きい。
本発明の強誘電体膜がダブルヒステリシス分極−電界特性を示すメカニズムは必ずしも明らかではないが、本発明者は以下のように推察している。
「背景技術」の項において、反強誘電体は、電界無印加時にはナノスケールで見て1つ1つの結晶格子の分極方向が交互に反転した状態にあるため、全体として残留分極を示さない(残留分極Pr≒0)ことを述べた。図1に示す分極−電界特性を有する本発明の強誘電体は、電界無印加時において反強誘電体ライクの状態にあると推察される。
格子・ドメインなどのミクロな状態の詳細は明らかではないが、本発明者は以下の仮説を考えている。
図3に模式的に示すように、図1に示す分極−電界特性を有する本発明の強誘電体は、電界無印加時には結晶格子よりも大きなマクロスケールで見て隣り合うドメインの分極方向が互いの分極を相殺する方向で安定化しており、全体として残留分極を示さない(残留分極Pr≒0)のではないかと推測される。この強誘電体に対して電界を印加すると、全体的にドメインの分極方向が電界印加方向に揃って、分極が生じると推察される。この強誘電体では、電界を取り除くと元の安定な反強誘電体ライクな初期状態に戻り、バイポーラ分極−電界曲線は原点を通るダブルヒステリシス性を示すと推察される。
本発明の強誘電体の分極−電界曲線は原点を通らない場合もあるが、この場合も図14に示した通常のシングルヒステリシス分極−電界特性の強誘電体に比較して残留分極Prは小さく、図1に示す分極−電界特性を有する強誘電体と図14に示した通常のシングルヒステリシス分極−電界特性の強誘電体との中間的な状態にあると考えられる。
図3では例として、1つ1つのドメインの分極方向が交互に180°反転している場合について図示してある。通常、強誘電体は、下部電極と強誘電体と上部電極とが順次積み重ねられた強誘電体素子(圧電素子)の形態で使用され、下部電極と上部電極とのうち、一方の電極を印加電圧が0Vに固定されるグランド電極とし、他方の電極を印加電圧が変動されるアドレス電極として、駆動される。通常は、下部電極をグランド電極とし、上部電極をアドレス電極として駆動するので、図3において、分極が上向きのドメイン(分極の+側が上部電極側であり、分極の−側が下部電極側であるドメイン)を↑ドメイン、分極が下向きのドメイン(分極の+側が下部電極側であり、分極の−側が上部電極側であるドメイン)を↓ドメインと表記してある。分極の上向き・下向きは、便宜上のものである。
図3の分極−電界曲線のグラフにおいては、分極が完全上向きのドメインと分極が完全下向きのドメインのみを図示してあるが、電界無印加時のドメインの分極方向は、電界印加方向に対して斜め方向あるいは垂直方向の場合もある。また、電界無印加時のドメインの分極方向は横向き方向あるいはそれに近い斜め方向の場合もある。
本発明の強誘電体膜がダブルヒステリシス分極−電界特性を示す要因は必ずしも明らかではないが、結晶格子内の空間電荷の影響によると推察される。空間電荷によって強誘電ドメイン内に欠陥分極(defect dipole)が生じ、この欠陥分極によって特殊な分極−電界特性が発現するのではないかと推察される。
空間電荷は、被置換元素よりも価数の大きいドナイオンのドープによる格子欠陥の導入、被置換元素よりも価数の小さいアクセプタイオンのドープによる格子欠陥の導入、酸素欠損による格子欠陥の導入、強誘電体膜の結晶配向、下地の組成及び/又は結晶配向、成膜温度あるいは成膜後の降温過程等の成膜条件、及びこれらの組合せ等によって調整できる。
基板上に形成された強誘電体膜では、基板が元の状態に戻ろうとする復元力や、基板あるいは下地(下部電極又はバッファ層等)と強誘電体膜との熱膨張係数差に起因する応力も、分極−電界特性に影響を与えると考えられる。
非特許文献3,4に記載の強誘電体では長時間のエージング処理が必要であるが、本発明者は、PLD法、スパッタ法、プラズマCVD法、及び放電プラズマ焼結法等の非熱平衡プロセスで成膜・焼成を行うことにより、格子欠陥及びこれによって生じる空間電荷を導入しやすく、長時間のエージング処理を行うことなく、ダブルヒステリシス分極−電界特性を実現でき、そのヒステリシス性も制御しやすいことを見出している。本発明者はまた、成膜後さらにキュリー温度Tc+50℃程度のポストアニール処理を施すことによっても、長時間のエージング処理を行うことなく、ダブルヒステリシス分極−電界特性を実現でき、そのヒステリシス性も制御しやすいことを見出している。ここで言う「ポストアニール処理」には成膜後の降温過程の制御によるアニール処理も含まれるものとする。
本発明者は、強誘電体膜では、PLD法及びスパッタ法等により成膜した後、常温まで降温する過程において、強誘電ドメイン内に空間電荷による欠陥分極が最も安定な状態で発生すると推察している。本発明者はまた、空間電荷は強誘電体膜とその下地との界面付近に生じやすく、その存在によって特殊な分極−電界特性が発現するのではないかと推察している。
<組成>
本発明の強誘電体膜の組成は、特に制限されない。
本発明の強誘電体膜は、1種又は2種以上のペロブスカイト型酸化物からなる(不可避不純物を含んでいてもよい)ことが好ましい。本発明の強誘電体膜は、下記一般式(P)で表される1種又は2種以上のペロブスカイト型酸化物からなる(不可避不純物を含んでいてもよい)ことがより好ましい。
一般式ABO・・・(P)
(式中、A:Aサイトの元素であり、Pb,Ba,Sr,Bi,Li,Na,Ca,Cd,Mg,K,及びランタニド元素からなる群より選ばれた少なくとも1種の元素、
B:Bサイトの元素であり、Ti,Zr,V,Nb,Ta,Cr,Mo,W,Mn,Mg,Sc,Co,Cu,In,Sn,Ga,Zn,Cd,Fe,Ni,Hf,及びAlからなる群より選ばれた少なくとも1種の元素、
O:酸素元素、
Aサイト元素とBサイト元素と酸素元素のモル比は1:1:3が標準であるが、これらのモル比はペロブスカイト構造を取り得る範囲内で基準モル比からずれてもよい。)
上記一般式(P)で表されるペロブスカイト型酸化物としては、
チタン酸鉛、チタン酸ジルコン酸鉛(PZT)、ジルコニウム酸鉛、チタン酸鉛ランタン、ジルコン酸チタン酸鉛ランタン、マグネシウムニオブ酸ジルコニウムチタン酸鉛、ニッケルニオブ酸ジルコニウムチタン酸鉛、亜鉛ニオブ酸ジルコニウムチタン酸鉛等の鉛含有化合物、及びこれらの混晶系;
チタン酸バリウム、チタン酸ストロンチウムバリウム、チタン酸ビスマスナトリウム、チタン酸ビスマスカリウム、ニオブ酸ナトリウム、ニオブ酸カリウム、ニオブ酸リチウム等の非鉛含有化合物、及びこれらの混晶系が挙げられる。
電気特性がより良好となることから、本発明の強誘電体膜は、Mg,Ca,Sr,Ba,Bi,Nb,Ta,W,及びLn(=ランタニド元素(La,Ce,Pr,Nd,Sm,Eu,Gd,Tb,Dy,Ho,Er,Tm,Yb,及びLu))等の金属イオンを、1種又は2種以上含むものであることが好ましい。
本発明の強誘電体膜は、上記一般式(P)で表され、かつ、Aサイトが、Pb,Bi,Ba,Sr,Ca,La,及びMgからなる群より選ばれた少なくとも1種の金属元素からなり、Bサイトが、Zr,Ti,Fe,及びAlからなる群より選ばれた少なくとも1種の金属元素と、Co,Mn,Mg,Ni,Zn,V,Nb,Ta,Cr,Mo,及びWからなる群より選ばれた少なくとも1種の金属元素とからなるペロブスカイト型酸化物(P1)を含むことが好ましい。
ペロブスカイト型酸化物(P1)は、Aサイトが2価でBサイトが4価である2−4系のペロブスカイト型酸化物(PZT等)のBサイトの一部が被置換イオンよりも低価数のアクセプタイオン及び/又は被置換イオンよりも高価数のドナイオンにより置換されたものである。かかる組成のペロブスカイト型酸化物(P1)では、本発明の強誘電体膜の分極−電界ヒステリシス特性を実現しやすいと考えられる。置換元素により結晶格子内に空間電荷が発生して、分極−電界特性のヒステリシス性が調整できると考えられる。
空間電荷は、Bサイトにアクセプタイオン及び/又はドナイオンをドープする以外に、意図的にAサイト欠陥あるいは酸素欠陥を設けることでも導入できる。
本発明の強誘電体膜は、上記一般式(P)で表され、かつ、AサイトがBiを主成分とし、BサイトがFeを主成分とするペロブスカイト型酸化物(P2)を含む構成も好ましい。
本発明の強誘電体膜は、上記一般式(P)で表され、かつ、AサイトがBi及び少なくとも1種のランタニド元素を含み、BサイトがFe及びAlを含むペロブスカイト型酸化物(P3)を含む構成も好ましい。ペロブスカイト型酸化物(P3)では、本発明の強誘電体膜の分極−電界ヒステリシス特性を実現しやすいと考えられる。置換元素により結晶格子内に空間電荷が発生して、分極−電界特性のヒステリシス性が調整できると考えられる。
本発明の強誘電体膜は、一般式xBiFeO−(1−x)BaTiO(式中、0<x<1.0)で表されるペロブスカイト型酸化物(P4)を含む構成も好ましい。ペロブスカイト型酸化物(P4)において、0.6≦x≦0.8であることが特に好ましい。
<結晶構造>
本発明の強誘電体膜は、結晶配向性を有する強誘電体相を含むことが好ましい。
圧電歪には、
(1)自発分極軸のベクトル成分と電界印加方向とが一致したときに、電界印加強度の増減によって電界印加方向に伸縮する通常の圧電歪(電界誘起歪)、
(2)電界印加強度の増減によって分極軸が可逆的に非180°回転することで生じる圧電歪、
(3)電界印加強度の増減によって結晶を相転移させ、相転移による体積変化を利用する圧電歪、
(4)電界印加により相転移する特性を有する材料を用い、自発分極軸方向とは異なる方向に結晶配向性を有する強誘電体相を含む結晶配向構造とすることで、より大きな歪が得られるエンジニアードドメイン効果を利用する圧電歪(エンジニアードドメイン効果を利用する場合には、相転移が起こる条件で駆動してもよいし、相転移が起こらない範囲で駆動してもよい)などが挙げられる。
(2)可逆的非180°ドメイン回転を利用した圧電歪については、特開2004-363557号公報等に記載されている。(3)相転移を利用する圧電歪については特許第3568107号公報等に記載されている。(4)エンジニアードドメイン効果及びこれを利用した圧電歪については、“Ultrahigh strain and piezoelectric behavior in relaxor based ferroelectric single crystals”, S.E.Park et.al., JAP, 82, 1804(1997)、本発明者が先に出願した特願2006-188765号に記載されている。
上記の圧電歪(1)〜(4)を単独で又は組み合わせて利用することで、所望の圧電歪が得られる。また、上記の圧電歪(1)〜(4)はいずれも、それぞれの歪発生の原理に応じた結晶配向構造とすることで、より大きな圧電歪が得られる。
本発明の強誘電体膜は例えば、(100)配向の強誘電体相及び/又は(111)配向の強誘電体相を含むことができる。本発明の強誘電体膜は、(100)配向の正方晶相及び/又は(111)配向の菱面体晶相を含むことができる。
本発明の強誘電体膜は、モルフォトロピック相境界(MPB)又はその近傍の組成を有することができる。
(100)配向及び/又は(111)配向の強誘電体相を含む強誘電体膜では、(2)可逆的非180°ドメイン回転が起こる。(2)可逆的非180°ドメイン回転による圧電歪は、(1)通常の電界誘起歪に比してはるかに大きいものである。
本発明者は、本発明の強誘電体膜では、空間電荷の導入によって強誘電体ドメイン内に欠陥分極が生じ、これによって特殊な分極−電界特性が発現すると推察していることを述べた。図4及び図5に、(100)配向の正方晶系の強誘電体膜における強誘電体ドメインの分極方向と欠陥分極の分極方向とを模式的に示す。
基板上に形成された強誘電体膜では、基板が元の状態に戻ろうとする復元力や、基板あるいは下地(下部電極又はバッファ層等)と強誘電体膜との熱膨張係数差に起因する応力も、分極−電界特性に影響を与えると考えられることを述べた。図5には、基板が元の状態に戻ろうとする復元力、及び基板あるいは下地(下部電極又はバッファ層等)と強誘電体膜との熱膨張係数差に起因する応力についても、模式的に示してある。
図4及び図5に示す強誘電体膜では、電界無印加時(E=0)において、強誘電ドメインの分極方向は自発分極軸方向(<001>)であり、電界印加方向に対して垂直な方向である。
本発明者は、本発明の強誘電体膜では、電界無印加時には結晶格子よりも大きなマクロスケールで見て隣り合うドメインの分極方向が互いの分極を相殺する方向で安定化し、全体として残留分極を示さないと推測している。
また、本発明者は、強誘電体膜では、PLD法あるいはスパッタ法等により成膜した後、常温まで降温する過程において、強誘電ドメイン内に空間電荷による欠陥分極が最も安定な状態で発生すると考えている。具体的には、本発明者は、欠陥分極の分極方向はこれが属する強誘電ドメインの分極を打ち消す方向に生じると考えている。
電界を印加すると(E>0)、強誘電ドメインの分極方向が電界印加方向と揃うように非180°ドメイン回転が起こるが(例えば図4及び図5に示す正方晶系であれば、aドメインからcドメインへの90°ドメイン回転が起こる。)、上記欠陥分極については、欠陥同士(酸素欠陥とAサイト欠陥)の繋がりが非常に強く、分極方向は変化しないと考えられる。その後電界を取り除くと(E=0)、強誘電ドメインは元の安定な状態に戻る。欠陥分極の分極方向はこれが属する強誘電ドメインの分極を打ち消す方向である初期状態が安定な状態であるので、欠陥分極の存在によって強誘電ドメインが初期状態に戻りやすくなり、可逆的非180°ドメイン回転による圧電歪が安定的に得られると考えられる。つまり、強誘電ドメインが欠陥分極に引っ張られて元に戻りやすくなると言える。また、強誘電ドメインが欠陥分極に引っ張られることで、分極−電界特性が特殊なヒステリシスを示すと考えられる。
図示するように、基板が元の状態に戻ろうとする復元力、及び基板あるいは下地と強誘電体膜との熱膨張係数差に起因する応力は、基板面に対して平行な方向に生じると考えられる。電界を印加すると(E>0)、強誘電ドメインの分極方向が電界印加方向と揃うように非180°ドメイン回転が起こり、強誘電ドメインの分極方向は、基板が元の状態に戻ろうとする復元力、及び基板あるいは下地と強誘電体膜との熱膨張係数差に起因する応力の向きとずれる。強誘電ドメインの分極方向は、基板が元の状態に戻ろうとする復元力、及び基板あるいは下地と強誘電体膜との熱膨張係数差に起因する応力の向きと揃った状態が安定であるので、電界を取り除くと(E=0)、強誘電ドメインは安定な初期状態に戻りやすい。
非特許文献3,4に記載のバルクセラミックスあるいはバルク単結晶では、基板が元の状態に戻ろうとする復元力、及び基板あるいは下地と強誘電体膜との熱膨張係数差に起因する応力は生じないので、上記効果は得られない。そのため、非特許文献3,4に記載の強誘電体では、電界を印加した後電界を取り除いても、初期状態に戻らない強誘電ドメインの割合が本発明の強誘電体膜よりも多くなると考えられる。したがって、本発明の強誘電体膜では、非特許文献3,4に記載の強誘電体よりも安定的な駆動が可能であり、より高圧電性能が期待できる。
電界無印加時の強誘電ドメインの分極方向が電界印加方向に対して垂直であり、90°ドメイン回転が起こる(100)配向の強誘電体膜では、電界無印加時の強誘電ドメインの分極方向が電界印加方向に対して垂直方向から傾いた方向である(111)配向の強誘電体膜よりも、可逆的非180°ドメイン回転による圧電歪がより大きく発現すると考えられる。したがって、本発明の強誘電体膜は、特に(100)配向の強誘電体相を含むことが好ましい。
本発明の強誘電体膜は、図4及び図5に基づいて説明した(2)可逆的非180°ドメイン回転構造と(3)相転移構造とを組み合わせることで、より大きな圧電歪が期待できる。
以下、特願2006-188765号に記載の相転移の系について説明する。この系では、強誘電体膜を、電界印加により少なくとも一部が結晶系の異なる他の強誘電体相に相転移する性質を有する強誘電体相を含む構成とする。
説明を簡略化するため、電界印加により結晶系の異なる他の強誘電体相に相転移する性質を有する上記強誘電体相のみからなる強誘電体膜の圧電特性について説明する。この強誘電体膜の電界強度と歪変位量との関係を図6に模式的に示す。
図6中、電界強度E1は、上記強誘電体相の相転移が開始する最小の電界強度である。電界強度E2は、上記強誘電体相の相転移が略完全に終了する電界強度である。通常はE1<E2であるが、E1=E2もあり得る。「相転移が略完全に終了する電界強度E2」とは、それ以上電界を印加してもそれ以上相転移が起こらない電界強度を意味している。E2以上の電界強度を印加しても、上記強誘電体相の一部が相転移せずに残る場合がある。
図6に示す如く、上記強誘電体膜は、0≦E≦E1(相転移前)では、相転移前の強誘電体相の圧電効果により、電界強度の増加に伴って歪変位量が直線的に増加し、E1≦E≦E2では、相転移に伴う結晶構造の変化による体積変化が起こり、電界強度の増加に伴って歪変位量が直線的に増加し、E≧E2(相転移後)では、相転移後の強誘電体相の圧電効果により、電界強度の増加に伴って歪変位量が直線的に増加する圧電特性を有するものである。
上記強誘電体膜では、相転移に伴う結晶構造の変化による体積変化(電界強度E=E1〜E2の範囲)が起こり、しかも、強誘電体膜は相転移前後のいずれにおいても強誘電体からなるので、相転移前後のいずれにおいても強誘電体の圧電効果が得られ、電界強度E=0〜E1、E=E1〜E2、E≧E2のいずれの範囲内においても、大きい歪変位量が得られる。
この強誘電体膜の駆動条件は制限なく、歪変位量を考慮すれば、最小電界強度Es及び最大電界強度Eeが、下記式(X)を充足する条件で駆動されることが好ましく、下記式(Y)を充足する条件で駆動されることが特に好ましい。
Es<E1<Ee・・・(X)、
Es<E1≦E2<Ee・・・(Y)
上記電界誘起相転移の系においては、相転移が起こる強誘電体相が、自発分極軸方向とは異なる方向に結晶配向性を有していることが好ましく、相転移後の自発分極軸方向と略一致した方向に結晶配向性を有していることが特に好ましい。通常、結晶配向方向が電界印加方向である。
電界印加方向を相転移後の自発分極軸方向と略一致させる場合には、相転移前において、「エンジニアードドメイン効果」により、電界印加方向を相転移前の自発分極軸方向に合わせるよりも大きな変位量が得られ、好ましい。単結晶体のエンジニアードドメイン効果は、“Ultrahigh strain and piezoelectric behavior in relaxor based ferroelectric single crystals”, S.E.Park et.al., JAP, 82, 1804(1997)に記載されている。
また、電界印加方向を相転移後の自発分極軸方向と略一致させることで、相転移が起こりやすくなる。これは、自発分極軸方向と電界印加方向とが合う方が結晶的に安定であり、より安定な結晶系へ相転移しやすくなるためと推察される。電界強度E2以上の電界を印加しても、相転移せずに強誘電体相の一部が残る場合があるが、相転移が効率よく進行することで、電界強度E2以上の電界を印加した際に、相転移せずに残る強誘電体相の割合を少なくすることができる。この結果として、電界印加方向を相転移前の自発分極軸方向に合わせるよりも、大きな歪変位量が安定的に得られる。
さらに、相転移後は、電界印加方向と自発分極軸方向とが略一致することになるので、相転移後の強誘電体相の圧電効果が効果的に発現し、大きな歪変位量が安定的に得られる。
以上のように、電界印加方向を相転移後の自発分極軸方向と略一致させる場合には、相転移前、相転移中、相転移後のすべてにおいて、高い歪変位量が得られる。この効果は、少なくとも相転移前の強誘電体相の自発分極軸方向が電界印加方向と異なる方向であれば得られ、電界印加方向が相転移後の強誘電体相の自発分極軸方向に近い程、顕著に発現する。
すなわち、本発明の強誘電体膜は、自発分極軸方向とは異なる方向に結晶配向性を有する強誘電体相を含むことが好ましい。
自発分極軸方向とは異なる方向に結晶配向性を有する強誘電体相は、略<100>方向に結晶配向性を有する菱面体晶相、略<110>方向に結晶配向性を有する菱面体晶相、略<110>方向に結晶配向性を有する正方晶相、略<111>方向に結晶配向性を有する正方晶相、略<100>方向に結晶配向性を有する斜方晶相、及び略<111>方向に結晶配向性を有する斜方晶相からなる群より選択された少なくとも1つの強誘電体相であることが好ましい。
自発分極軸方向とは異なる方向に結晶配向性を有する強誘電体相は、強誘電体相の自発分極軸方向とは異なる方向の電界印加により、強誘電体相の少なくとも一部が相転移する性質を有するものであることが好ましい。
以上説明したように、本発明は、バイポーラ分極−電界曲線がダブルヒステリシス性を有する強誘電体膜をはじめて実現したものである。ダブルヒステリシス分極−電界特性を示す材料は、電界無印加時に初期状態に戻るため、残留分極Prの大きいシングルヒステリシス分極−電界特性を示す通常の強誘電体膜よりも残留分極Prがより小さくなる傾向にあり、より大きな変位が期待される。ダブルヒステリシス分極−電界特性を示す材料では、残留分極Prを0若しくはそれに近い値とすることもでき、より大きな変位が期待される。
「圧電素子、及びインクジェット式記録ヘッド」
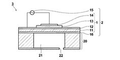
図面を参照して、本発明に係る実施形態の圧電素子、及びこれを備えたインクジェット式記録ヘッド(液体吐出装置)の構造について説明する。図7はインクジェット式記録ヘッドの要部断面図(圧電素子の厚み方向の断面図)である。視認しやすくするため、構成要素の縮尺は実際のものとは適宜異ならせてある。
図7に示す圧電素子1は、基板11の表面に、下部電極12と強誘電体膜(圧電体膜)13と上部電極14とが順次積層された素子である。強誘電体膜13はバイポーラ分極−電界曲線がダブルヒステリシス性を有する本発明の強誘電体膜であり、下部電極12と上部電極14とにより厚み方向に電界が印加されるようになっている。
基板11としては特に制限なく、シリコン,ガラス,ステンレス(SUS),イットリウム安定化ジルコニア(YSZ),アルミナ,サファイヤ,SiC,及びSrTiO等の基板が挙げられる。基板11としては、シリコン基板上にSiO膜とSi活性層とが順次積層されたSOI基板等の積層基板を用いてもよい。
下部電極12の主成分としては特に制限なく、Au,Pt,Ir,IrO,RuO,LaNiO,及びSrRuO等の金属又は金属酸化物、及びこれらの組合せが挙げられる。上部電極14の主成分としては特に制限なく、下部電極12で例示した材料,Al,Ta,Cr,Cu等の一般的に半導体プロセスで用いられている電極材料、及びこれらの組合せが挙げられる。下部電極12と上部電極14の厚みは特に制限なく、50〜500nmであることが好ましい。
圧電アクチュエータ2は、圧電素子1の基板11の裏面に、強誘電体膜13の伸縮により振動する振動板16が取り付けられたものである。圧電アクチュエータ2には、圧電素子1の駆動を制御する駆動回路等の制御手段15も備えられている。インクジェット式記録ヘッド(液体吐出装置)3は、概略、圧電アクチュエータ2の裏面に、インクが貯留されるインク室(液体貯留室)21及びインク室21から外部にインクが吐出されるインク吐出口(液体吐出口)22を有するインクノズル(液体貯留吐出部材)20が取り付けられたものである。
インクジェット式記録ヘッド3では、圧電素子1に印加する電界強度を増減させて圧電素子1を伸縮させ、これによってインク室21からのインクの吐出や吐出量の制御が行われる。
基板11とは独立した部材の振動板16及びインクノズル20を取り付ける代わりに、基板11の一部を振動板16及びインクノズル20に加工してもよい。例えば、基板11がSOI基板等の積層基板からなる場合には、基板11を裏面側からエッチングしてインク室21を形成し、基板自体の加工により振動板16とインクノズル20とを形成することができる。
圧電素子1は、バイポーラ分極−電界曲線がダブルヒステリシス性を有する強誘電体膜13を備えたものであるので、圧電性能に優れたものとなる。
「インクジェット式記録装置」
図8及び図9を参照して、上記実施形態のインクジェット式記録ヘッド3を備えたインクジェット式記録装置の構成例について説明する。図8は装置全体図であり、図9は部分上面図である。
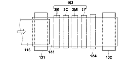
図示するインクジェット式記録装置100は、インクの色ごとに設けられた複数のインクジェット式記録ヘッド(以下、単に「ヘッド」という)3K,3C,3M,3Yを有する印字部102と、各ヘッド3K,3C,3M,3Yに供給するインクを貯蔵しておくインク貯蔵/装填部114と、記録紙116を供給する給紙部118と、記録紙116のカールを除去するデカール処理部120と、印字部102のノズル面(インク吐出面)に対向して配置され、記録紙116の平面性を保持しながら記録紙116を搬送する吸着ベルト搬送部122と、印字部102による印字結果を読み取る印字検出部124と、印画済みの記録紙(プリント物)を外部に排紙する排紙部126とから概略構成されている。
印字部102をなすヘッド3K,3C,3M,3Yが、各々上記実施形態のインクジェット式記録ヘッド3である。
デカール処理部120では、巻き癖方向と逆方向に加熱ドラム130により記録紙116に熱が与えられて、デカール処理が実施される。
ロール紙を使用する装置では、図8のように、デカール処理部120の後段に裁断用のカッター128が設けられ、このカッターによってロール紙は所望のサイズにカットされる。カッター128は、記録紙116の搬送路幅以上の長さを有する固定刃128Aと、該固定刃128Aに沿って移動する丸刃128Bとから構成されており、印字裏面側に固定刃128Aが設けられ、搬送路を挟んで印字面側に丸刃128Bが配置される。カット紙を使用する装置では、カッター128は不要である。
デカール処理され、カットされた記録紙116は、吸着ベルト搬送部122へと送られる。吸着ベルト搬送部122は、ローラ131、132間に無端状のベルト133が巻き掛けられた構造を有し、少なくとも印字部102のノズル面及び印字検出部124のセンサ面に対向する部分が水平面(フラット面)となるよう構成されている。
ベルト133は、記録紙116の幅よりも広い幅寸法を有しており、ベルト面には多数の吸引孔(図示略)が形成されている。ローラ131、132間に掛け渡されたベルト133の内側において印字部102のノズル面及び印字検出部124のセンサ面に対向する位置には吸着チャンバ134が設けられており、この吸着チャンバ134をファン135で吸引して負圧にすることによってベルト133上の記録紙116が吸着保持される。
ベルト133が巻かれているローラ131、132の少なくとも一方にモータ(図示略)の動力が伝達されることにより、ベルト133は図8上の時計回り方向に駆動され、ベルト133上に保持された記録紙116は図8の左から右へと搬送される。
縁無しプリント等を印字するとベルト133上にもインクが付着するので、ベルト133の外側の所定位置(印字領域以外の適当な位置)にベルト清掃部136が設けられている。
吸着ベルト搬送部122により形成される用紙搬送路上において印字部102の上流側に、加熱ファン140が設けられている。加熱ファン140は、印字前の記録紙116に加熱空気を吹き付け、記録紙116を加熱する。印字直前に記録紙116を加熱しておくことにより、インクが着弾後に乾きやすくなる。
印字部102は、最大紙幅に対応する長さを有するライン型ヘッドを紙送り方向と直交方向(主走査方向)に配置した、いわゆるフルライン型のヘッドとなっている(図9を参照)。各印字ヘッド3K,3C,3M,3Yは、インクジェット式記録装置100が対象とする最大サイズの記録紙116の少なくとも一辺を超える長さにわたってインク吐出口(ノズル)が複数配列されたライン型ヘッドで構成されている。
記録紙116の送り方向に沿って上流側から、黒(K)、シアン(C)、マゼンタ(M)、イエロー(Y)の順に各色インクに対応したヘッド3K,3C,3M,3Yが配置されている。記録紙116を搬送しつつ各ヘッド3K,3C,3M,3Yからそれぞれ色インクを吐出することにより、記録紙116上にカラー画像が記録される。
印字検出部124は、印字部102の打滴結果を撮像するラインセンサ等からなり、ラインセンサによって読み取った打滴画像からノズルの目詰まり等の吐出不良を検出する。
印字検出部124の後段には、印字された画像面を乾燥させる加熱ファン等からなる後乾燥部142が設けられている。印字後のインクが乾燥するまでは印字面と接触することは避けた方が好ましいので、熱風を吹き付ける方式が好ましい。
後乾燥部142の後段には、画像表面の光沢度を制御するために、加熱・加圧部144が設けられている。加熱・加圧部144では、画像面を加熱しながら、所定の表面凹凸形状を有する加圧ローラ145で画像面を加圧し、画像面に凹凸形状を転写する。
こうして得られたプリント物は、排紙部126から排出される。本来プリントすべき本画像(目的の画像を印刷したもの)とテスト印字とは分けて排出することが好ましい。このインクジェット式記録装置100では、本画像のプリント物と、テスト印字のプリント物とを選別してそれぞれの排出部126A、126Bへと送るために排紙経路を切り替える選別手段(図示略)が設けられている。
大きめの用紙に本画像とテスト印字とを同時に並列にプリントする場合には、カッター148を設けて、テスト印字の部分を切り離す構成とすればよい。
インクジェット記記録装置100は、以上のように構成されている。
本発明に係る実施例について説明する。
(実施例1)
(100)SrTiO単結晶基板表面に、PLD法にて0.2μm厚の(100)SrRuO下部電極を形成した。
次いで、PLD法にて、(Bi0.95,La0.05)(Fe0.9,Al0.1)Oで表される組成の強誘電体膜(600nm厚)を成膜した。成膜条件は以下の通りとした。
ターゲット組成:(Bi0.95,La0.05)(Fe0.9,Al0.1)O
レーザ強度:350mJ、
レーザパルス周波数:5Hz、
酸素分圧:6.67Pa(50mTorr)、
基板―ターゲット間距離50mm、
ターゲット回転数:9.7rpm、
基板温度585℃、
成膜時間:100分間、
成膜後の降温過程:585℃から2時間かけて常温(=25℃程度)まで降温するようにプログラムを設定、成膜と同じ雰囲気(酸素分圧:6.67Pa(50mTorr))。
XRD測定を実施したところ、得られた強誘電体膜は(100)優先配向のペロブスカイト単相膜であった。XRDパターンを図10Aに示す。
最後に、上記強誘電体膜上に、150nm厚のPt上部電極を蒸着して、本発明の圧電素子を得た。
室温下、得られた圧電素子の強誘電体膜に対して電圧を印加して、バイポーラ分極−電界特性(PEヒステリシス特性)を測定した。測定周波数=10kHz、最大印加電界Emax=800kV/cmの条件で測定を実施した。
P−Eヒステリシス曲線を図10Bに示す。本実施例では、P−Eヒステリシス曲線が、少なくとも5個の変曲点を有し、かつ、最大分極値Pmaxと最小分極値Pminの絶対値とが略等しい(Pmax≒|Pmin|)ダブルヒステリシス性を示した。本実施例のP−Eヒステリシス曲線は、原点に対して略対称な対称ダブルヒステリシス性を示した。
残留分極値Pr=23μC/cm、比誘電率ε=154であった。本実施例の強誘電体膜は、後記比較例1よりも高い比誘電率を示し、誘電特性の向上が見られた。
本発明者は、測定周波数=20kHzの条件においても、P−Eヒステリシス曲線が対称ダブルヒステリシス性を示すことを確認している。
(実施例2)
(100)SrTiO単結晶基板表面に、PLD法にて0.2μm厚の(100)SrRuO下部電極を形成した。
次いで、PLD法にて、xBiFeO−(1−x)BaTiO(式中、x=0.7)で表される組成の強誘電体膜(600nm厚)を成膜した。成膜条件は以下の通りとした。
ターゲット組成:xBiFeO−(1−x)BaTiO(式中、x=0.7)、
レーザ強度:300mJ、
レーザパルス周波数:10Hz、
酸素分圧:6.67Pa(50mTorr)、
基板―ターゲット間距離50mm、
ターゲット回転数:9.7rpm、
基板温度585℃、
成膜時間:100分間、
成膜後の降温過程:585℃から2時間かけて常温(=25℃程度)まで降温するようにプログラムを設定、成膜と同じ雰囲気(酸素分圧:6.67Pa(50mTorr))。
本実施例においても、(100)優先配向のペロブスカイト単相膜が得られた。本実施例における強誘電体膜のXRDパターンを図11Aに示す。
最後に、上記強誘電体膜上に、150nm厚のPt上部電極を蒸着して、本発明の圧電素子を得た。
実施例1と同様に、得られた圧電素子の強誘電体膜のPEヒステリシス特性を測定した。P−Eヒステリシス曲線を図11Bに示す。本実施例においても、P−Eヒステリシス曲線が、少なくとも5個の変曲点を有し、かつ、最大分極値Pmaxと最小分極値Pminの絶対値とが略等しい(Pmax≒|Pmin|)ダブルヒステリシス性を示した。本実施例のP−Eヒステリシス曲線は、原点に対して非対称な非対称ダブルヒステリシス性を示した。
室温下、得られた圧電素子の強誘電体膜に対して電圧を印加して、バイポーラ分極−電界特性(PEヒステリシス特性)を測定した。測定周波数=10kHz、最大印加電界Emax=600kV/cmの条件で測定を実施した。
残留分極値Pr=28.8μC/cm、比誘電率ε=179であった。本実施例の強誘電体膜は、後記比較例1よりも高い比誘電率を示し、誘電特性の向上が見られた。
本発明者は、測定周波数=20kHzの条件においても、P−Eヒステリシス曲線が非対称ダブルヒステリシス性を示すことを確認している。
本発明者はまた、一般式xBiFeO−(1−x)BaTiOで表される強誘電体膜において、xの値を0.8等に変えても、P−Eヒステリシス曲線が非対称ダブルヒステリシス性を示すことを確認している。
(比較例1)
強誘電体膜の成膜後の降温過程を585℃から約30分で急冷却するようにプログラムを設定した以外は、実施例1と同様にして、圧電素子を得た。
本比較例においても、(100)優先配向のペロブスカイト単相膜が得られた。本比較例における強誘電体膜のXRDパターンを図12Aに示す。
実施例1と同様に、得られた圧電素子の強誘電体膜のPEヒステリシス特性を測定した。P−Eヒステリシス曲線を図12Bに示す。本比較例では、角形性の良好なPEヒステリシス特性が得られた。残留分極値Pr=43μC/cm、比誘電率ε=109であった。
本発明の強誘電体膜は、インクジェット式記録ヘッド,磁気記録再生ヘッド,MEMS(Micro Electro-Mechanical Systems)デバイス,マイクロポンプ、及び超音波探触子等に搭載される圧電アクチュエータ、及び強誘電メモリ(FRAM)等に好ましく利用できる。
本発明の強誘電体膜のバイポーラ分極−電界ヒステリシス曲線(P−Eヒステリシス曲線)、バイポーラ電界−歪曲線、及びユニポーラ電界−歪曲線の例を模式的に示す図 図1のバイポーラ分極−電界ヒステリシス曲線の変曲点を示す図 本発明の強誘電体膜がダブルヒステリシス分極−電界特性を示すメカニズムの説明図 (100)配向の正方晶系の強誘電体膜における強誘電体ドメインの分極方向と欠陥分極の分極方向とを模式的に示す図 (100)配向の正方晶系の強誘電体膜における強誘電体ドメインの分極方向と欠陥分極の分極方向とを模式的に示す図 特願2006-188765号に記載の相転移の系を説明するための図 本発明に係る一実施形態の圧電素子及びこれを備えたインクジェット式記録ヘッド(液体吐出装置)の構造を示す要部断面図 図7のインクジェット式記録ヘッドを備えたインクジェット式記録装置の構成例を示す図 図8のインクジェット式記録装置の部分上面図 実施例1の強誘電体膜のXRDパターン 実施例1の強誘電体膜のP−Eヒステリシス曲線 実施例2の強誘電体膜のXRDパターン 実施例2の強誘電体膜のP−Eヒステリシス曲線 比較例1の強誘電体膜のXRDパターン 比較例1の強誘電体膜のP−Eヒステリシス曲線 非特許文献1に記載の強誘電体膜の分極−電界特性を示す図 非特許文献1に記載の強誘電体膜の電圧−歪特性を示す図 非180°ドメイン回転が起こる従来一般的な強誘電体の分極−電界曲線と電界−歪曲線とを模式的に示す図 従来一般的な反強誘電体の分極−電界曲線と電界−歪曲線とを模式的に示す図 非特許文献2に記載の反強誘電体の分極−電界曲線 非特許文献2に記載の反強誘電体の電界−歪曲線 非特許文献3に記載の強誘電体の分極−電界曲線 非特許文献3に記載の強誘電体の電界−歪曲線
符号の説明
1 圧電素子
3,3K,3C,3M,3Y インクジェット式記録ヘッド(液体吐出装置)
12、14 電極
13 強誘電体膜(圧電体膜)
20 インクノズル(液体貯留吐出部材)
21 インク室(液体貯留室)
22 インク吐出口(液体吐出口)
100 インクジェット式記録装置

Claims (17)

  1. 最大印加電界Emaxと最小印加電界Eminの絶対値とを同一に設定して(Emax=|Emin|)測定されるバイポーラ分極−電界曲線が、少なくとも5個の変曲点を有し、かつ、最大分極値Pmaxと最小分極値Pminの絶対値とが略等しい(Pmax≒|Pmin|)ダブルヒステリシス性を有することを特徴とする強誘電体膜。
  2. 1種又は2種以上のペロブスカイト型酸化物からなる(不可避不純物を含んでいてもよい)ことを特徴とする請求項1に記載の強誘電体膜。
  3. 下記一般式(P)で表される1種又は2種以上のペロブスカイト型酸化物からなる(不可避不純物を含んでいてもよい)ことを特徴とする請求項2に記載の強誘電体膜。
    一般式ABO・・・(P)
    (式中、A:Aサイトの元素であり、Pb,Ba,Sr,Bi,Li,Na,Ca,Cd,Mg,K,及びランタニド元素からなる群より選ばれた少なくとも1種の元素、
    B:Bサイトの元素であり、Ti,Zr,V,Nb,Ta,Cr,Mo,W,Mn,Mg,Sc,Co,Cu,In,Sn,Ga,Zn,Cd,Fe,Ni,Hf,及びAlからなる群より選ばれた少なくとも1種の元素、
    O:酸素元素、
    Aサイト元素とBサイト元素と酸素元素のモル比は1:1:3が標準であるが、これらのモル比はペロブスカイト構造を取り得る範囲内で基準モル比からずれてもよい。)
  4. 前記一般式(P)で表され、かつ、Aサイトが、Pb,Bi,Ba,Sr,Ca,La,及びMgからなる群より選ばれた少なくとも1種の金属元素からなり、Bサイトが、Zr,Ti,Fe,及びAlからなる群より選ばれた少なくとも1種の金属元素と、Co,Mn,Mg,Ni,Zn,V,Nb,Ta,Cr,Mo,及びWからなる群より選ばれた少なくとも1種の金属元素とからなるペロブスカイト型酸化物(P1)を含むことを特徴とする請求項3に記載の強誘電体膜。
  5. 前記一般式(P)で表され、かつ、AサイトがBiを主成分とし、BサイトがFeを主成分とするペロブスカイト型酸化物(P2)を含むことを特徴とする請求項3に記載の強誘電体膜。
  6. 前記一般式(P)で表され、かつ、AサイトがBi及び少なくとも1種のランタニド元素を含み、BサイトがFe及びAlを含むペロブスカイト型酸化物(P3)を含むことを特徴とする請求項3に記載の強誘電体膜。
  7. 一般式xBiFeO−(1−x)BaTiO(式中、0<x<1.0)で表されるペロブスカイト型酸化物(P4)を含むことを特徴とする請求項3に記載の強誘電体膜。
  8. 結晶配向性を有する強誘電体相を含むことを特徴とする請求項1〜7のいずれかに記載の強誘電体膜。
  9. (100)配向の強誘電体相及び/又は(111)配向の強誘電体相を含むことを特徴とする請求項8に記載の強誘電体膜。
  10. (100)配向の正方晶相を含むことを特徴とする請求項9に記載の強誘電体膜。
  11. (111)配向の菱面体晶相を含むことを特徴とする請求項9に記載の強誘電体膜。
  12. モルフォトロピック相境界又はその近傍の組成を有し、正方晶相、斜方晶相、及び菱面体晶相からなる群より選択される少なくとも2つの結晶相を含むことを特徴とする請求項1〜11のいずれかに記載の強誘電体膜。
  13. 自発分極軸方向とは異なる方向に結晶配向性を有する強誘電体相を含むことを特徴とする請求項8に記載の強誘電体膜。
  14. 自発分極軸方向とは異なる方向に結晶配向性を有する前記強誘電体相が、
    略<100>方向に結晶配向性を有する菱面体晶相、略<110>方向に結晶配向性を有する菱面体晶相、略<110>方向に結晶配向性を有する正方晶相、略<111>方向に結晶配向性を有する正方晶相、略<100>方向に結晶配向性を有する斜方晶相、及び略<111>方向に結晶配向性を有する斜方晶相からなる群より選択された少なくとも1つの強誘電体相であることを特徴とする請求項13に記載の強誘電体膜。
  15. 自発分極軸方向とは異なる方向に結晶配向性を有する前記強誘電体相は、該強誘電体相の自発分極軸方向とは異なる方向の電界印加により、該強誘電体相の少なくとも一部が結晶系の異なる他の強誘電体相に相転移する性質を有するものであることを特徴とする請求項13又は14に記載の強誘電体膜。
  16. 請求項1〜15のいずれかに記載の強誘電体膜と、該強誘電体膜に対して電界を印加する電極とを備えたことを特徴とする圧電素子。
  17. 請求項16に記載の圧電素子と、
    液体が貯留される液体貯留室及び該液体貯留室から外部に前記液体が吐出される液体吐出口を有する液体貯留吐出部材とを備えたことを特徴とする液体吐出装置。
JP2008149103A 2007-06-08 2008-06-06 強誘電体膜、圧電素子、及び液体吐出装置 Expired - Fee Related JP5253894B2 (ja)

Priority Applications (1)

Application Number Priority Date Filing Date Title
JP2008149103A JP5253894B2 (ja) 2007-06-08 2008-06-06 強誘電体膜、圧電素子、及び液体吐出装置

Applications Claiming Priority (5)

Application Number Priority Date Filing Date Title
JP2007152383 2007-06-08
JP2007152383 2007-06-08
JP2008145323 2008-06-03
JP2008145323 2008-06-03
JP2008149103A JP5253894B2 (ja) 2007-06-08 2008-06-06 強誘電体膜、圧電素子、及び液体吐出装置

Publications (2)

Publication Number Publication Date
JP2010016010A true JP2010016010A (ja) 2010-01-21
JP5253894B2 JP5253894B2 (ja) 2013-07-31

Family

ID=41701892

Family Applications (1)

Application Number Title Priority Date Filing Date
JP2008149103A Expired - Fee Related JP5253894B2 (ja) 2007-06-08 2008-06-06 強誘電体膜、圧電素子、及び液体吐出装置

Country Status (1)

Country Link
JP (1) JP5253894B2 (ja)

Cited By (19)

* Cited by examiner, † Cited by third party
Publication number Priority date Publication date Assignee Title
CN102233729A (zh) * 2010-04-14 2011-11-09 精工爱普生株式会社 液体喷射头、液体喷射装置以及压电元件
JP2011249588A (ja) * 2010-05-27 2011-12-08 Fujifilm Corp ペロブスカイト型酸化物、酸化物組成物、酸化物体、圧電素子、及び液体吐出装置
JP2012124354A (ja) * 2010-12-09 2012-06-28 Seiko Epson Corp 液体噴射ヘッド、液体噴射装置、及び圧電素子
JP2012148494A (ja) * 2011-01-19 2012-08-09 Seiko Epson Corp 液体噴射ヘッド及び液体噴射装置、並びに圧電素子
JP2012148495A (ja) * 2011-01-19 2012-08-09 Seiko Epson Corp 液体噴射ヘッド及び液体噴射装置、並びに圧電素子
WO2013021614A1 (ja) * 2011-08-08 2013-02-14 パナソニック株式会社 圧電体素子
JP2013041998A (ja) * 2011-08-16 2013-02-28 Ulvac Japan Ltd 強誘電体膜の作製方法
EP2579349A1 (en) 2011-10-05 2013-04-10 Seiko Epson Corporation Liquid ejecting head, liquid ejecting apparatus, and piezoelectric element
JP2013080801A (ja) * 2011-10-03 2013-05-02 Seiko Epson Corp 液体噴射ヘッド及び液体噴射装置並びに圧電素子
JP2013146928A (ja) * 2012-01-19 2013-08-01 Seiko Epson Corp 液体噴射ヘッド、液体噴射装置、及び、圧電素子
US8567926B2 (en) 2010-01-05 2013-10-29 Seiko Epson Corporation Liquid-ejecting head, liquid-ejecting apparatus, piezoelectric element, and method for manufacturing liquid-ejecting head
US8573754B2 (en) 2010-01-05 2013-11-05 Seiko Epson Corporation Methods for manufacturing liquid ejecting head and piezoelectric element, liquid ejecting head, liquid ejecting apparatus, and piezoelectric element
US8573755B2 (en) 2010-01-05 2013-11-05 Seiko Epson Corporation Liquid-ejecting head, liquid-ejecting apparatus, and piezoelectric element
US8608289B2 (en) 2010-03-12 2013-12-17 Seiko Epson Corporation Liquid ejecting head, liquid ejecting apparatus, and piezoelectric element
US8662644B2 (en) 2010-01-05 2014-03-04 Seiko Epson Corporation Liquid ejecting head and liquid ejecting apparatus, and piezoelectric element
JP2014207429A (ja) * 2013-03-19 2014-10-30 日立金属株式会社 圧電薄膜素子、圧電センサ及び振動発電機
JP2015138804A (ja) * 2014-01-20 2015-07-30 セイコーエプソン株式会社 圧電素子、液体噴射ヘッド及びセンサー
US9689748B2 (en) 2011-08-08 2017-06-27 Panasonic Corporation Infrared detection element
CN117735985A (zh) * 2023-12-19 2024-03-22 陕西科技大学 一种具有大热滞强弛豫的无铅反铁电陶瓷材料及制备方法和应用

Citations (2)

* Cited by examiner, † Cited by third party
Publication number Priority date Publication date Assignee Title
JP2004363557A (ja) * 2003-05-13 2004-12-24 Japan Science & Technology Agency 圧電材料とその製造方法並びに非線形圧電素子
JP2007116091A (ja) * 2005-09-26 2007-05-10 Fujifilm Corp 圧電素子及びその駆動方法、圧電装置、液体吐出装置

Patent Citations (2)

* Cited by examiner, † Cited by third party
Publication number Priority date Publication date Assignee Title
JP2004363557A (ja) * 2003-05-13 2004-12-24 Japan Science & Technology Agency 圧電材料とその製造方法並びに非線形圧電素子
JP2007116091A (ja) * 2005-09-26 2007-05-10 Fujifilm Corp 圧電素子及びその駆動方法、圧電装置、液体吐出装置

Non-Patent Citations (1)

* Cited by examiner, † Cited by third party
Title
JPN6010064592; REN X. ET AL: 'Universal Symmetry Property of Point Defects in Crystals' PHYSICAL REVIEW LETTERS vol. 85, no. 5, 20000731, pages 1016 - 1019 *

Cited By (24)

* Cited by examiner, † Cited by third party
Publication number Priority date Publication date Assignee Title
US8567926B2 (en) 2010-01-05 2013-10-29 Seiko Epson Corporation Liquid-ejecting head, liquid-ejecting apparatus, piezoelectric element, and method for manufacturing liquid-ejecting head
US8662644B2 (en) 2010-01-05 2014-03-04 Seiko Epson Corporation Liquid ejecting head and liquid ejecting apparatus, and piezoelectric element
US8573755B2 (en) 2010-01-05 2013-11-05 Seiko Epson Corporation Liquid-ejecting head, liquid-ejecting apparatus, and piezoelectric element
US8573754B2 (en) 2010-01-05 2013-11-05 Seiko Epson Corporation Methods for manufacturing liquid ejecting head and piezoelectric element, liquid ejecting head, liquid ejecting apparatus, and piezoelectric element
US8608289B2 (en) 2010-03-12 2013-12-17 Seiko Epson Corporation Liquid ejecting head, liquid ejecting apparatus, and piezoelectric element
CN102233729A (zh) * 2010-04-14 2011-11-09 精工爱普生株式会社 液体喷射头、液体喷射装置以及压电元件
JP2011249588A (ja) * 2010-05-27 2011-12-08 Fujifilm Corp ペロブスカイト型酸化物、酸化物組成物、酸化物体、圧電素子、及び液体吐出装置
JP2012124354A (ja) * 2010-12-09 2012-06-28 Seiko Epson Corp 液体噴射ヘッド、液体噴射装置、及び圧電素子
JP2012148494A (ja) * 2011-01-19 2012-08-09 Seiko Epson Corp 液体噴射ヘッド及び液体噴射装置、並びに圧電素子
JP2012148495A (ja) * 2011-01-19 2012-08-09 Seiko Epson Corp 液体噴射ヘッド及び液体噴射装置、並びに圧電素子
US8884499B2 (en) 2011-08-08 2014-11-11 Panasonic Corporation Piezoelectric element
WO2013021614A1 (ja) * 2011-08-08 2013-02-14 パナソニック株式会社 圧電体素子
US9689748B2 (en) 2011-08-08 2017-06-27 Panasonic Corporation Infrared detection element
JPWO2013021614A1 (ja) * 2011-08-08 2015-03-05 パナソニック株式会社 圧電体素子
CN103733366B (zh) * 2011-08-08 2015-02-25 松下电器产业株式会社 压电体元件
CN103733366A (zh) * 2011-08-08 2014-04-16 松下电器产业株式会社 压电体元件
JP2013041998A (ja) * 2011-08-16 2013-02-28 Ulvac Japan Ltd 強誘電体膜の作製方法
JP2013080801A (ja) * 2011-10-03 2013-05-02 Seiko Epson Corp 液体噴射ヘッド及び液体噴射装置並びに圧電素子
US8777379B2 (en) 2011-10-05 2014-07-15 Seiko Epson Corporation Liquid ejecting head, liquid ejecting apparatus, and piezoelectric element
EP2579349A1 (en) 2011-10-05 2013-04-10 Seiko Epson Corporation Liquid ejecting head, liquid ejecting apparatus, and piezoelectric element
JP2013146928A (ja) * 2012-01-19 2013-08-01 Seiko Epson Corp 液体噴射ヘッド、液体噴射装置、及び、圧電素子
JP2014207429A (ja) * 2013-03-19 2014-10-30 日立金属株式会社 圧電薄膜素子、圧電センサ及び振動発電機
JP2015138804A (ja) * 2014-01-20 2015-07-30 セイコーエプソン株式会社 圧電素子、液体噴射ヘッド及びセンサー
CN117735985A (zh) * 2023-12-19 2024-03-22 陕西科技大学 一种具有大热滞强弛豫的无铅反铁电陶瓷材料及制备方法和应用

Also Published As

Publication number Publication date
JP5253894B2 (ja) 2013-07-31

Similar Documents

Publication Publication Date Title
JP5253894B2 (ja) 強誘電体膜、圧電素子、及び液体吐出装置
JP5253895B2 (ja) 強誘電体膜、圧電素子、及び液体吐出装置
JP4266036B2 (ja) 圧電体、圧電素子、及び液体吐出装置
JP4237208B2 (ja) 圧電素子及びその駆動方法、圧電装置、液体吐出装置
JP5507097B2 (ja) ペロブスカイト型酸化物とその製造方法、圧電体、圧電素子、液体吐出装置
JP5290551B2 (ja) ペロブスカイト型酸化物とその製造方法、圧電体、圧電素子、液体吐出装置
JP5307986B2 (ja) 圧電素子とその製造方法、及び液体吐出装置
JP5313792B2 (ja) ペロブスカイト型酸化物、酸化物組成物、酸化物体、圧電素子、及び液体吐出装置
JP5546105B2 (ja) ペロブスカイト型酸化物とその製造方法、圧電体膜、圧電素子、液体吐出装置
JP5616126B2 (ja) ペロブスカイト型酸化物、酸化物組成物、酸化物体、圧電素子、及び液体吐出装置
US20080302658A1 (en) Oxide body, piezoelectric device, and liquid discharge device
JP5623134B2 (ja) ペロブスカイト型酸化物、酸化物組成物、酸化物体、圧電素子、及び液体吐出装置
JP5681398B2 (ja) ペロブスカイト型酸化物、強誘電体組成物、圧電体、圧電素子、及び液体吐出装置
JP2008311634A (ja) 圧電素子及びその駆動方法、圧電装置、液体吐出装置
US8434856B2 (en) Perovskite oxide, process for producing the perovskite oxide, piezoelectric body, piezoelectric device, and liquid discharge device
US7786656B2 (en) Piezoelectric body, piezoelectric device, and liquid discharge apparatus
JP4505492B2 (ja) ペロブスカイト型酸化物、強誘電体膜、強誘電体素子、及び液体吐出装置
JP2010067756A (ja) 圧電体膜、圧電素子、及び液体吐出装置
JP2008218547A (ja) 圧電体とその駆動方法、圧電素子、及び液体吐出装置
JP2008192868A (ja) 圧電体膜及びそれを用いた圧電素子、液体吐出装置
JP5394765B2 (ja) ペロブスカイト型酸化物膜、強誘電体、圧電素子、液体吐出装置
JP2009084126A (ja) ペロブスカイト型酸化物積層体及び圧電素子、液体吐出装置
JP6392469B2 (ja) 圧電体膜、圧電素子、および液体吐出装置
WO2016084365A1 (ja) 圧電体膜及びそれを備えた圧電素子、及び液体吐出装置
JP5345868B2 (ja) ペロブスカイト型酸化物膜、強誘電体、圧電素子、液体吐出装置

Legal Events

Date Code Title Description
A621 Written request for application examination

Free format text: JAPANESE INTERMEDIATE CODE: A621

Effective date: 20110125

A977 Report on retrieval

Free format text: JAPANESE INTERMEDIATE CODE: A971007

Effective date: 20130117

A131 Notification of reasons for refusal

Free format text: JAPANESE INTERMEDIATE CODE: A131

Effective date: 20130129

A521 Request for written amendment filed

Free format text: JAPANESE INTERMEDIATE CODE: A523

Effective date: 20130401

TRDD Decision of grant or rejection written
A01 Written decision to grant a patent or to grant a registration (utility model)

Free format text: JAPANESE INTERMEDIATE CODE: A01

Effective date: 20130416

A61 First payment of annual fees (during grant procedure)

Free format text: JAPANESE INTERMEDIATE CODE: A61

Effective date: 20130417

R150 Certificate of patent or registration of utility model

Ref document number: 5253894

Country of ref document: JP

Free format text: JAPANESE INTERMEDIATE CODE: R150

Free format text: JAPANESE INTERMEDIATE CODE: R150

FPAY Renewal fee payment (event date is renewal date of database)

Free format text: PAYMENT UNTIL: 20160426

Year of fee payment: 3

R250 Receipt of annual fees

Free format text: JAPANESE INTERMEDIATE CODE: R250

R250 Receipt of annual fees

Free format text: JAPANESE INTERMEDIATE CODE: R250

R250 Receipt of annual fees

Free format text: JAPANESE INTERMEDIATE CODE: R250

R250 Receipt of annual fees

Free format text: JAPANESE INTERMEDIATE CODE: R250

R250 Receipt of annual fees

Free format text: JAPANESE INTERMEDIATE CODE: R250

R250 Receipt of annual fees

Free format text: JAPANESE INTERMEDIATE CODE: R250

R250 Receipt of annual fees

Free format text: JAPANESE INTERMEDIATE CODE: R250

R250 Receipt of annual fees

Free format text: JAPANESE INTERMEDIATE CODE: R250

LAPS Cancellation because of no payment of annual fees