JP2010015580A - 質量流量コントローラのシステムおよび方法 - Google Patents
質量流量コントローラのシステムおよび方法 Download PDFInfo
- Publication number
- JP2010015580A JP2010015580A JP2009184196A JP2009184196A JP2010015580A JP 2010015580 A JP2010015580 A JP 2010015580A JP 2009184196 A JP2009184196 A JP 2009184196A JP 2009184196 A JP2009184196 A JP 2009184196A JP 2010015580 A JP2010015580 A JP 2010015580A
- Authority
- JP
- Japan
- Prior art keywords
- mass flow
- flow controller
- valve
- act
- gain
- Prior art date
- Legal status (The legal status is an assumption and is not a legal conclusion. Google has not performed a legal analysis and makes no representation as to the accuracy of the status listed.)
- Granted
Links
- 238000000034 method Methods 0.000 title claims abstract description 385
- 239000012530 fluid Substances 0.000 claims abstract description 327
- 238000004519 manufacturing process Methods 0.000 claims abstract description 62
- 230000000694 effects Effects 0.000 claims abstract description 16
- 230000008569 process Effects 0.000 claims description 233
- 230000004044 response Effects 0.000 claims description 106
- 238000012360 testing method Methods 0.000 claims description 93
- 238000006073 displacement reaction Methods 0.000 claims description 88
- 230000008859 change Effects 0.000 claims description 50
- 230000006870 function Effects 0.000 claims description 41
- 238000010606 normalization Methods 0.000 claims description 16
- 238000004364 calculation method Methods 0.000 claims description 14
- 230000007423 decrease Effects 0.000 claims description 14
- 230000001143 conditioned effect Effects 0.000 claims description 10
- 238000012512 characterization method Methods 0.000 claims description 8
- 239000002131 composite material Substances 0.000 claims description 8
- 238000004590 computer program Methods 0.000 claims description 2
- 230000009471 action Effects 0.000 claims 10
- 239000007789 gas Substances 0.000 description 30
- 230000006399 behavior Effects 0.000 description 17
- IJGRMHOSHXDMSA-UHFFFAOYSA-N Atomic nitrogen Chemical compound N#N IJGRMHOSHXDMSA-UHFFFAOYSA-N 0.000 description 14
- 239000008186 active pharmaceutical agent Substances 0.000 description 14
- 238000012937 correction Methods 0.000 description 11
- 238000000354 decomposition reaction Methods 0.000 description 10
- 238000010586 diagram Methods 0.000 description 9
- 238000005259 measurement Methods 0.000 description 9
- 229910052757 nitrogen Inorganic materials 0.000 description 7
- NJPPVKZQTLUDBO-UHFFFAOYSA-N novaluron Chemical compound C1=C(Cl)C(OC(F)(F)C(OC(F)(F)F)F)=CC=C1NC(=O)NC(=O)C1=C(F)C=CC=C1F NJPPVKZQTLUDBO-UHFFFAOYSA-N 0.000 description 7
- 238000012546 transfer Methods 0.000 description 7
- 230000003247 decreasing effect Effects 0.000 description 6
- 230000001419 dependent effect Effects 0.000 description 6
- 230000002829 reductive effect Effects 0.000 description 6
- 238000004891 communication Methods 0.000 description 5
- 238000011144 upstream manufacturing Methods 0.000 description 5
- 238000010926 purge Methods 0.000 description 4
- 230000002411 adverse Effects 0.000 description 3
- 238000006243 chemical reaction Methods 0.000 description 3
- 238000012885 constant function Methods 0.000 description 3
- 239000001257 hydrogen Substances 0.000 description 3
- 229910052739 hydrogen Inorganic materials 0.000 description 3
- 230000000670 limiting effect Effects 0.000 description 3
- 239000007788 liquid Substances 0.000 description 3
- 238000012545 processing Methods 0.000 description 3
- 230000003068 static effect Effects 0.000 description 3
- 230000007704 transition Effects 0.000 description 3
- UFHFLCQGNIYNRP-UHFFFAOYSA-N Hydrogen Chemical compound [H][H] UFHFLCQGNIYNRP-UHFFFAOYSA-N 0.000 description 2
- 230000008901 benefit Effects 0.000 description 2
- 230000001934 delay Effects 0.000 description 2
- 230000003111 delayed effect Effects 0.000 description 2
- 238000013461 design Methods 0.000 description 2
- 230000004907 flux Effects 0.000 description 2
- 230000006872 improvement Effects 0.000 description 2
- 230000005389 magnetism Effects 0.000 description 2
- 238000012986 modification Methods 0.000 description 2
- 230000004048 modification Effects 0.000 description 2
- 230000009467 reduction Effects 0.000 description 2
- 230000002441 reversible effect Effects 0.000 description 2
- 230000035945 sensitivity Effects 0.000 description 2
- PCTMTFRHKVHKIS-BMFZQQSSSA-N (1s,3r,4e,6e,8e,10e,12e,14e,16e,18s,19r,20r,21s,25r,27r,30r,31r,33s,35r,37s,38r)-3-[(2r,3s,4s,5s,6r)-4-amino-3,5-dihydroxy-6-methyloxan-2-yl]oxy-19,25,27,30,31,33,35,37-octahydroxy-18,20,21-trimethyl-23-oxo-22,39-dioxabicyclo[33.3.1]nonatriaconta-4,6,8,10 Chemical compound C1C=C2C[C@@H](OS(O)(=O)=O)CC[C@]2(C)[C@@H]2[C@@H]1[C@@H]1CC[C@H]([C@H](C)CCCC(C)C)[C@@]1(C)CC2.O[C@H]1[C@@H](N)[C@H](O)[C@@H](C)O[C@H]1O[C@H]1/C=C/C=C/C=C/C=C/C=C/C=C/C=C/[C@H](C)[C@@H](O)[C@@H](C)[C@H](C)OC(=O)C[C@H](O)C[C@H](O)CC[C@@H](O)[C@H](O)C[C@H](O)C[C@](O)(C[C@H](O)[C@H]2C(O)=O)O[C@H]2C1 PCTMTFRHKVHKIS-BMFZQQSSSA-N 0.000 description 1
- 230000009118 appropriate response Effects 0.000 description 1
- 230000015556 catabolic process Effects 0.000 description 1
- 239000000470 constituent Substances 0.000 description 1
- 238000006731 degradation reaction Methods 0.000 description 1
- 238000001514 detection method Methods 0.000 description 1
- -1 etc.) Substances 0.000 description 1
- 238000001595 flow curve Methods 0.000 description 1
- 230000014509 gene expression Effects 0.000 description 1
- 238000009499 grossing Methods 0.000 description 1
- 150000002431 hydrogen Chemical class 0.000 description 1
- 230000010354 integration Effects 0.000 description 1
- 230000002452 interceptive effect Effects 0.000 description 1
- 238000012804 iterative process Methods 0.000 description 1
- 239000000696 magnetic material Substances 0.000 description 1
- 230000005415 magnetization Effects 0.000 description 1
- 239000000463 material Substances 0.000 description 1
- 239000000203 mixture Substances 0.000 description 1
- 238000011112 process operation Methods 0.000 description 1
- 230000000644 propagated effect Effects 0.000 description 1
- 239000004065 semiconductor Substances 0.000 description 1
- 239000000725 suspension Substances 0.000 description 1
- 230000009466 transformation Effects 0.000 description 1
Images
Classifications
-
- G—PHYSICS
- G05—CONTROLLING; REGULATING
- G05D—SYSTEMS FOR CONTROLLING OR REGULATING NON-ELECTRIC VARIABLES
- G05D7/00—Control of flow
- G05D7/06—Control of flow characterised by the use of electric means
-
- G—PHYSICS
- G05—CONTROLLING; REGULATING
- G05D—SYSTEMS FOR CONTROLLING OR REGULATING NON-ELECTRIC VARIABLES
- G05D7/00—Control of flow
- G05D7/06—Control of flow characterised by the use of electric means
- G05D7/0617—Control of flow characterised by the use of electric means specially adapted for fluid materials
- G05D7/0629—Control of flow characterised by the use of electric means specially adapted for fluid materials characterised by the type of regulator means
- G05D7/0635—Control of flow characterised by the use of electric means specially adapted for fluid materials characterised by the type of regulator means by action on throttling means
-
- G—PHYSICS
- G01—MEASURING; TESTING
- G01F—MEASURING VOLUME, VOLUME FLOW, MASS FLOW OR LIQUID LEVEL; METERING BY VOLUME
- G01F25/00—Testing or calibration of apparatus for measuring volume, volume flow or liquid level or for metering by volume
- G01F25/10—Testing or calibration of apparatus for measuring volume, volume flow or liquid level or for metering by volume of flowmeters
-
- G—PHYSICS
- G05—CONTROLLING; REGULATING
- G05B—CONTROL OR REGULATING SYSTEMS IN GENERAL; FUNCTIONAL ELEMENTS OF SUCH SYSTEMS; MONITORING OR TESTING ARRANGEMENTS FOR SUCH SYSTEMS OR ELEMENTS
- G05B13/00—Adaptive control systems, i.e. systems automatically adjusting themselves to have a performance which is optimum according to some preassigned criterion
- G05B13/02—Adaptive control systems, i.e. systems automatically adjusting themselves to have a performance which is optimum according to some preassigned criterion electric
- G05B13/04—Adaptive control systems, i.e. systems automatically adjusting themselves to have a performance which is optimum according to some preassigned criterion electric involving the use of models or simulators
- G05B13/042—Adaptive control systems, i.e. systems automatically adjusting themselves to have a performance which is optimum according to some preassigned criterion electric involving the use of models or simulators in which a parameter or coefficient is automatically adjusted to optimise the performance
-
- G—PHYSICS
- G05—CONTROLLING; REGULATING
- G05B—CONTROL OR REGULATING SYSTEMS IN GENERAL; FUNCTIONAL ELEMENTS OF SUCH SYSTEMS; MONITORING OR TESTING ARRANGEMENTS FOR SUCH SYSTEMS OR ELEMENTS
- G05B5/00—Anti-hunting arrangements
- G05B5/01—Anti-hunting arrangements electric
-
- Y—GENERAL TAGGING OF NEW TECHNOLOGICAL DEVELOPMENTS; GENERAL TAGGING OF CROSS-SECTIONAL TECHNOLOGIES SPANNING OVER SEVERAL SECTIONS OF THE IPC; TECHNICAL SUBJECTS COVERED BY FORMER USPC CROSS-REFERENCE ART COLLECTIONS [XRACs] AND DIGESTS
- Y10—TECHNICAL SUBJECTS COVERED BY FORMER USPC
- Y10T—TECHNICAL SUBJECTS COVERED BY FORMER US CLASSIFICATION
- Y10T137/00—Fluid handling
- Y10T137/0318—Processes
-
- Y—GENERAL TAGGING OF NEW TECHNOLOGICAL DEVELOPMENTS; GENERAL TAGGING OF CROSS-SECTIONAL TECHNOLOGIES SPANNING OVER SEVERAL SECTIONS OF THE IPC; TECHNICAL SUBJECTS COVERED BY FORMER USPC CROSS-REFERENCE ART COLLECTIONS [XRACs] AND DIGESTS
- Y10—TECHNICAL SUBJECTS COVERED BY FORMER USPC
- Y10T—TECHNICAL SUBJECTS COVERED BY FORMER US CLASSIFICATION
- Y10T137/00—Fluid handling
- Y10T137/0318—Processes
- Y10T137/0324—With control of flow by a condition or characteristic of a fluid
-
- Y—GENERAL TAGGING OF NEW TECHNOLOGICAL DEVELOPMENTS; GENERAL TAGGING OF CROSS-SECTIONAL TECHNOLOGIES SPANNING OVER SEVERAL SECTIONS OF THE IPC; TECHNICAL SUBJECTS COVERED BY FORMER USPC CROSS-REFERENCE ART COLLECTIONS [XRACs] AND DIGESTS
- Y10—TECHNICAL SUBJECTS COVERED BY FORMER USPC
- Y10T—TECHNICAL SUBJECTS COVERED BY FORMER US CLASSIFICATION
- Y10T137/00—Fluid handling
- Y10T137/0318—Processes
- Y10T137/0324—With control of flow by a condition or characteristic of a fluid
- Y10T137/0368—By speed of fluid
-
- Y—GENERAL TAGGING OF NEW TECHNOLOGICAL DEVELOPMENTS; GENERAL TAGGING OF CROSS-SECTIONAL TECHNOLOGIES SPANNING OVER SEVERAL SECTIONS OF THE IPC; TECHNICAL SUBJECTS COVERED BY FORMER USPC CROSS-REFERENCE ART COLLECTIONS [XRACs] AND DIGESTS
- Y10—TECHNICAL SUBJECTS COVERED BY FORMER USPC
- Y10T—TECHNICAL SUBJECTS COVERED BY FORMER US CLASSIFICATION
- Y10T137/00—Fluid handling
- Y10T137/0971—Speed responsive valve control
- Y10T137/1026—Speed change and excess speed valve control
-
- Y—GENERAL TAGGING OF NEW TECHNOLOGICAL DEVELOPMENTS; GENERAL TAGGING OF CROSS-SECTIONAL TECHNOLOGIES SPANNING OVER SEVERAL SECTIONS OF THE IPC; TECHNICAL SUBJECTS COVERED BY FORMER USPC CROSS-REFERENCE ART COLLECTIONS [XRACs] AND DIGESTS
- Y10—TECHNICAL SUBJECTS COVERED BY FORMER USPC
- Y10T—TECHNICAL SUBJECTS COVERED BY FORMER US CLASSIFICATION
- Y10T137/00—Fluid handling
- Y10T137/7722—Line condition change responsive valves
- Y10T137/7758—Pilot or servo controlled
- Y10T137/7759—Responsive to change in rate of fluid flow
-
- Y—GENERAL TAGGING OF NEW TECHNOLOGICAL DEVELOPMENTS; GENERAL TAGGING OF CROSS-SECTIONAL TECHNOLOGIES SPANNING OVER SEVERAL SECTIONS OF THE IPC; TECHNICAL SUBJECTS COVERED BY FORMER USPC CROSS-REFERENCE ART COLLECTIONS [XRACs] AND DIGESTS
- Y10—TECHNICAL SUBJECTS COVERED BY FORMER USPC
- Y10T—TECHNICAL SUBJECTS COVERED BY FORMER US CLASSIFICATION
- Y10T137/00—Fluid handling
- Y10T137/7722—Line condition change responsive valves
- Y10T137/7758—Pilot or servo controlled
- Y10T137/7761—Electrically actuated valve
-
- Y—GENERAL TAGGING OF NEW TECHNOLOGICAL DEVELOPMENTS; GENERAL TAGGING OF CROSS-SECTIONAL TECHNOLOGIES SPANNING OVER SEVERAL SECTIONS OF THE IPC; TECHNICAL SUBJECTS COVERED BY FORMER USPC CROSS-REFERENCE ART COLLECTIONS [XRACs] AND DIGESTS
- Y10—TECHNICAL SUBJECTS COVERED BY FORMER USPC
- Y10T—TECHNICAL SUBJECTS COVERED BY FORMER US CLASSIFICATION
- Y10T137/00—Fluid handling
- Y10T137/8158—With indicator, register, recorder, alarm or inspection means
- Y10T137/8225—Position or extent of motion indicator
-
- Y—GENERAL TAGGING OF NEW TECHNOLOGICAL DEVELOPMENTS; GENERAL TAGGING OF CROSS-SECTIONAL TECHNOLOGIES SPANNING OVER SEVERAL SECTIONS OF THE IPC; TECHNICAL SUBJECTS COVERED BY FORMER USPC CROSS-REFERENCE ART COLLECTIONS [XRACs] AND DIGESTS
- Y10—TECHNICAL SUBJECTS COVERED BY FORMER USPC
- Y10T—TECHNICAL SUBJECTS COVERED BY FORMER US CLASSIFICATION
- Y10T137/00—Fluid handling
- Y10T137/8158—With indicator, register, recorder, alarm or inspection means
- Y10T137/8326—Fluid pressure responsive indicator, recorder or alarm
Landscapes
- Physics & Mathematics (AREA)
- General Physics & Mathematics (AREA)
- Engineering & Computer Science (AREA)
- Automation & Control Theory (AREA)
- Evolutionary Computation (AREA)
- Health & Medical Sciences (AREA)
- Artificial Intelligence (AREA)
- Computer Vision & Pattern Recognition (AREA)
- Fluid Mechanics (AREA)
- Medical Informatics (AREA)
- Software Systems (AREA)
- Flow Control (AREA)
- Feedback Control In General (AREA)
- Measuring Volume Flow (AREA)
- External Artificial Organs (AREA)
- Electrical Discharge Machining, Electrochemical Machining, And Combined Machining (AREA)
Abstract
【解決手段】さまざまな異なるタイプの流体および動作条件の下で一定の制御ループ利得を有するように質量流量コントローラを制御し、質量流量コントローラの製造中に使用されたものと異なる流体および/動作条件で動作するように質量流量コントローラを構成するシステムおよび方法。さらに、このシステムおよび方法には、非動作信号をソレノイド作動装置に供給することによってソレノイド作動装置のヒステリシスの影響を減らすことによって制御を提供することが含まれる。
【選択図】図1
Description
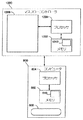
図1に、本発明の実施形態による、質量流量コントローラの概略ブロック図を示す。図1に示された質量流量コントローラには、流量計110、利得/リード/ラグ(GLL)コントローラ150、バルブアクチュエータ160、およびバルブ170が含まれる。
多くの場合に、質量流量コントローラは、一貫性があり安定した形で動作するために、製造中にチューニングされ、かつ/または較正されなければならないことを理解されたい。手動のチューニングおよび/または較正は、しばしば、時間がかかり、労働集中型であり、高価な工程である。さらに、処理で、質量流量コントローラを、製造中に使用されるものと異なる流体の種類および/または動作条件で動作するように構成することが必要である時に、質量流量コントローラの動作は、質量流量コントローラが複数のプロセス流体でチューニングされ、較正された場合であっても、質量流量コントローラの製造中に観察されたものと同一の挙動を示すことはほとんどない。言い換えると、質量流量コントローラは、質量流量コントローラがそれによってチューニングされ、かつ/または較正されたものと異なる流体および/または動作条件で動作する時に、異なる応答を有する可能性がある。
図7cおよび7dに、製造中の質量流量コントローラのチューニングおよび/または較正中に構成データを得る1つの例示的な手順を示す。
る制御パラメータを決定する。物理モデルによって、流体の種類、入口圧力、出口圧力、温度などが検討される。したがって、流体の種類情報およびプロセス動作条件を物理モデルに供給することと、さまざまなめいめいの流体の流れの値を達成するのに必要な変位を計算することによって、プロセス流体および/またはプロセス動作条件に関する利得Dを計算することができる。バルブの物理モデルおよびバルブアクチュエータの挙動のモデルから決定される変位から、プロセス流体および/またはプロセス動作条件に関する利得項Cを計算することができる。一実施形態では、アクチュエータの挙動のモデルが、システム利得分解ステップ50で生成された点対{C,displacement}iである。しかし、バルブの挙動が既知であるか、バルブの挙動を直接に測定できる実施形態では、利得Cを、バルブから直接に決定することができる。したがって、利得項CおよびDの両方を得たので、合成利得項CDを形成することができる。その後、利得Aを、プロセス流体のフルスケール範囲を決定することによって計算することができる。したがって、プロセス流体および/またはプロセス動作条件に関するシステム利得項CDAを決定することができる。
質量流量コントローラが、その個々の構成要素の動作に関連する不安定性を経験することがしばしばある。たとえば、ソレノイド作動バルブを使用する質量流量コントローラは、ソレノイドの磁気学に関連するヒステリシス効果に起因して不正確になりやすい。
用語非動作信号は、ソレノイド作動装置に適用される時に、装置を作動させることができない、装置に印加される信号を表す。たとえば、ソレノイド作動バルブで、非動作信号は、バルブの制御される部分(すなわちプランジャ)を変位させるのに不十分な大きさを有する信号を指すことができる。非動作信号が、装置を作動させるのに不十分になるように減らされただけの、装置の制御信号または駆動信号と同一の信号である場合があることを理解されたい。
本発明のもう1つの態様によれば、出願人は、主に2つの構成要素すなわち、粘性圧力低下および無粘性(動的)圧力低下からなるものとして、異なる入口圧力および出口圧力での流体の流れを物理的にモデル化した。構成要素ごとのバルブの有効変位が等しい場合のこれらの構成要素のそれぞれの寄与を合計することによって、バルブの有効変位を、下記の方法を使用して経験的に決定することができる。上で注記したように、特定の流体での特定の流体流量でのバルブの有効変位の決定によって、バルブに関連する利得項(たとえば利得項D)を決定でき、したがって、バルブアクチュエータに関連する利得項(たとえば利得項C)を決定できるようになる。
P1、Px:粘性表面の上流および下流の圧力(psi)
Q:質量流量(sccm)
L:流路の長さ(ft)
H:2つの平行な表面の間の距離(ft)
w:流路の幅、wはπ・φと等しく、φはプラトー1650の平均直径であり、φは、テストされたバルブに基づくと1.016mm(0.040インチ)である
μ:気体の動的的粘性(centi−Poise)
T:絶対温度(ランキン温度)
R^:一般気体定数、8314Nm/kmol°K(1545.33ft−lbf/lb−mole−deg.R)
R:気体定数(ft−lbf/lbm−deg.R)
である。
Q=バルブを通る流れ(sccm)
A=π・φ・H=バルブ有効面積(平方インチ)
φ=オリフィス1640の直径
Mw=気体分子量(gm/mol)
Px,0,=上流全圧力(torr)
P2=下流静圧(torr)
T1,0=気圧温度(K)
γ=比熱の比
である。
Cfcx=気体xの変換係数「C」
Mw=期待の分子量
入口圧力、温度、および比熱の比の関数である追加項があるので、上の式は近似である。しかし、この追加項の影響は、0.4乗までであり、通常は無視することができる。たとえば、質量流量コントローラ100の較正が、当初は既知の流体または気体として窒素を用いて実行されたと仮定すると、追加のこの値は、窒素および他の2原子気体の.684から、上は単原子気体の0.726、下は多原子気体の0.628までの範囲にわたり、0.4乗される。したがって、窒素からの相違は、多くとも約3.5%であり、通常は無視することができる。異なる気体への上の気体の変化または較正で使用されたものと異なる動作条件について補償するために、利得項Gを、上の比率の逆数だけ変更して、設定点と無関係に、動作条件と無関係に、使用される流体または期待のタイプに無関係に、マスコントローラの一定の閉ループ利得を提供することができる。すなわち、質量流量コントローラの閉ループ利得が、A×B×C×Dである場合には、利得項Gに、定数かける1/(A×C×D)をセットして、較正中に使用されたものと同一の一定の閉ループ利得をもたらす。
Claims (148)
- 質量流量コントローラの製造中に使用されたテスト動作条件と少なくとも部分的に異なるプロセス動作条件で動作するように質量流量コントローラを構成する方法であって、
テスト動作条件での質量流量コントローラの応答を確立する動作と、
プロセス動作条件で動作する質量流量コントローラの応答が実質的に変化しないように、プロセス動作条件に基づいて質量流量コントローラの少なくとも1つの制御パラメータを修正する動作と
を含む方法。 - プロセス動作条件が、テスト流体と異なるプロセス流体を含み、少なくとも1つの制御パラメータを修正する動作が、プロセス流体種類情報に少なくとも部分的に基づいて少なくとも1つの制御パラメータを修正する動作を含む、請求項1に記載の方法。
- 修正する動作が、プロセス動作条件に基づいて、質量流量コントローラの複数の個々の構成要素の少なくとも1つに関連する少なくとも1つの利得項を決定する動作を含む、請求項1に記載の方法。
- 少なくとも1つの利得項を決定する動作が、少なくとも1つの利得項の積の逆数をとることによって形成される逆数利得項を決定する動作を含む、請求項3に記載の方法。
- 複数の個々の構成要素が、バルブを含み、少なくとも1つの利得項を決定する動作が、バルブの物理モデルから少なくとも1つの利得項を決定するステップを含む、請求項4に記載の方法。
- 少なくとも1つの制御パラメータを修正する動作が、逆数利得項と等しくなるように少なくとも1つの制御パラメータを修正する動作を含む、請求項4に記載の方法。
- 少なくとも1つの制御パラメータを修正する動作が、プロセス動作条件に基づいて質量流量コントローラの複数の構成要素に関連する複数のプロセス利得項を決定する動作を含み、複数の構成要素が、質量流量コントローラの制御ループを形成する、請求項1に記載の方法。
- 複数のプロセス利得項を決定する動作が、複数のプロセス利得項の積の逆数をとることによって形成されるプロセス逆数利得項を決定する動作を含み、プロセス逆数利得項が、少なくとも1つの可変動作条件の関数である、請求項7に記載の方法。
- 少なくとも1つの制御パラメータを修正する動作が、制御ループが少なくとも少なくとも1つの可変動作条件に関して一定のループ利得を有するように、プロセス逆数利得項と等しくなるように少なくとも1つの制御パラメータを修正する動作を含む、請求項8に記載の方法。
- 複数の構成要素の少なくとも1つが、バルブを含み、複数のプロセス利得項を決定する動作が、バルブの物理モデルから複数の利得項の少なくとも1つの利得項を決定する動作を含む、請求項7に記載の方法。
- 複数のプロセス利得項を決定する動作が、プロセス動作条件のプロセス流体に関連するプロセスフルスケール範囲から複数のプロセス利得項の少なくとも1つのプロセス利得項を決定する動作を含み、プロセス流体が、テスト流体と異なる、請求項7に記載の方法。
- 応答を確立する動作中に構成データを得る動作をさらに含む、請求項1に記載の方法。
- 応答を確立する動作が、テスト動作条件の下でテスト流体に関する質量流量コントローラの動的応答を確立する動作を含む、請求項12に記載の方法。
- 応答を確立する動作が、さらに、テスト動作条件の下でテスト流体に関する質量流量コントローラの定常状態応答を確立する動作を含む、請求項13に記載の方法。
- 質量流量コントローラが、流量計、バルブ、およびバルブアクチュエータを含み、方法が、さらに、質量流量コントローラの動的応答および定常状態応答を確立する動作中に構成データを得る動作を含み、
構成データを得る動作が、流量計の動的応答に関するセンサチューニングデータ、バルブおよびバルブアクチュエータの応答に関するバルブ特性記述データ、およびテスト流体に関する動作条件の第1組の下での質量流量コントローラの定常状態応答に関する較正データの少なくとも1つを得る動作を含む
請求項14に記載の方法。 - 構成データを得る動作が、テスト動作条件の下でのテスト流体に関して動作する質量流量コントローラの複数の構成要素の少なくとも1つに関連する少なくとも1つのテスト利得項を決定する動作を含む、請求項12に記載の方法。
- 構成データを得る動作が、少なくとも1つのテスト利得項の積の逆数をとることによって形成されるテスト逆数利得項を決定する動作を含む、請求項16に記載の方法。
- 少なくとも1つの制御パラメータを修正する動作が、プロセス動作条件に基づいて、質量流量コントローラの複数の構成要素に関連する少なくとも1つのプロセス利得項を決定する動作を含む、請求項17に記載の方法。
- 少なくとも1つのプロセス利得項を決定する動作が、少なくとも1つのプロセス利得項の積の逆数をとることによって形成されるプロセス逆数利得項を決定する動作を含む、請求項18に記載の方法。
- 少なくとも1つの制御パラメータを修正する動作が、プロセス逆数利得項と等しくなるようにテスト逆数利得項を修正する動作を含む、請求項19に記載の方法。
- 複数の構成要素が、流量計、バルブ、およびバルブアクチュエータを含み、少なくとも1つのプロセス利得項を決定する動作が、プロセス動作条件に基づいて質量流量コントローラの流量計、バルブ、およびバルブアクチュエータに関連する複数のプロセス利得項を決定する動作を含む、請求項19に記載の方法。
- 構成データを得る動作が、プロセス動作条件のプロセス流体に関連するプロセスフルスケール範囲を決定する動作を含み、プロセス流体が、テスト流体と異なる、請求項21に記載の方法。
- 複数のプロセス利得項を決定する動作が、少なくとも、バルブの物理モデルからバルブに関連するプロセスバルブ利得項を決定するステップを含み、バルブの物理モデルが、パラメータとしてプロセス動作条件をとるように適合された、請求項22に記載の方法。
- プロセスバルブ利得を決定する動作が、バルブの物理モデルからバルブアクチュエータに関連するプロセスバルブアクチュエータ利得を決定するステップを含む、請求項23に記載の方法。
- 複数のプロセス利得項を決定する動作が、プロセスフルスケール範囲に基づいてプロセス流量計利得を決定する動作を含む、請求項22に記載の方法。
- プロセッサ上で実行されるプログラムをエンコードされたコンピュータ可読媒体であって、プログラムが、プロセッサ上で実行される時に、製造中に質量流量コントローラの応答を確立するのに使用されたテスト動作条件の組と少なくとも部分的に異なるプロセス動作条件の組で動作するように質量流量コントローラを構成する方法を実行し、前記方法が、
プロセス流体種類情報およびプロセス動作条件の少なくとも1つを入力として受け取る動作と、
プロセス動作条件で動作する時に質量流量コントローラの応答が実質的に変化しないように、入力に基づいて質量流量コントローラの少なくとも1つの制御パラメータを修正する動作と
を含む、コンピュータ可読媒体。 - プロセス動作条件が、応答を確立するのに使用されたテスト流体と異なるプロセス流体を含み、少なくとも1つの制御パラメータを修正する動作が、プロセス流体種類情報に少なくとも部分的に基づいて少なくとも1つの制御パラメータを修正する動作を含む、請求項26に記載のコンピュータ可読媒体。
- 修正する動作が、入力に基づいて、質量流量コントローラの複数の個々の構成要素の少なくとも1つに関連する少なくとも1つの利得項を決定する動作を含む、請求項26に記載のコンピュータ可読媒体。
- 少なくとも1つの利得項を決定する動作が、少なくとも1つの利得項の積の逆数をとることによって形成される逆数利得項を決定する動作を含む、請求項28に記載のコンピュータ可読媒体。
- 質量流量コントローラが、バルブを含み、少なくとも1つの利得項を決定する動作が、バルブの物理モデルから少なくとも1つの利得項を決定するステップを含む、請求項29に記載のコンピュータ可読媒体。
- 少なくとも1つの制御パラメータを修正する動作が、逆数利得項と等しくなるように少なくとも1つの制御パラメータを修正する動作を含む、請求項29に記載のコンピュータ可読媒体。
- 少なくとも1つの制御パラメータを修正する動作が、プロセス動作条件で動作する質量流量コントローラの複数の構成要素に関連する複数のプロセス利得項を決定する動作を含み、複数の構成要素が、質量流量コントローラの制御ループを形成する、請求項26に記載のコンピュータ可読媒体。
- 複数の利得項を決定する動作が、複数の利得項の積の逆数をとることによって形成されるプロセス逆数利得項を決定する動作を含み、プロセス逆数利得項が、少なくとも1つの可変動作条件の関数である、請求項32に記載のコンピュータ可読媒体。
- 少なくとも1つの制御パラメータを修正する動作が、制御ループが少なくとも少なくとも1つの可変動作条件に関して一定のループ利得を有するように、プロセス逆数利得項と等しくなるように少なくとも1つの制御パラメータを修正する動作を含む、請求項33に記載のコンピュータ可読媒体。
- 複数の構成要素が、バルブを含み、複数のプロセス利得項を決定する動作が、バルブの物理モデルから少なくとも1つのプロセス利得項を決定する動作を含む、請求項32に記載のコンピュータ可読媒体。
- 質量流量コントローラから構成データを得る動作をさらに含み、構成データが、質量流量コントローラの応答がテスト動作条件で確立された時に得られた、請求項26に記載のコンピュータ可読媒体。
- 構成データを得る動作が、センサチューニングデータ、バルブ特性記述データ、および較正データの少なくとも1つを得るステップを含む、請求項36に記載のコンピュータ可読媒体。
- 構成データを得る動作が、テスト動作条件の下でテスト流体に関して動作する質量流量コントローラの複数の構成要素の少なくとも1つに関連する少なくとも1つのテスト利得項を決定する動作を含む、請求項36に記載のコンピュータ可読媒体。
- 構成データを得る動作が、少なくとも1つのテスト利得項の積の逆数をとることによって形成されるテスト逆数利得項を決定する動作を含む、請求項38に記載のコンピュータ可読媒体。
- 少なくとも1つの制御パラメータを修正する動作が、プロセス動作条件に基づいて、質量流量コントローラの複数の構成要素に関連する少なくとも1つのプロセス利得項を決定する動作を含む、請求項39に記載のコンピュータ可読媒体。
- 少なくとも1つのプロセス利得項を決定する動作が、少なくとも1つのプロセス利得項の積の逆数をとることによって形成されるプロセス逆数利得項を決定する動作を含む、請求項40に記載のコンピュータ可読媒体。
- 少なくとも1つの制御パラメータを修正する動作が、プロセス逆数利得項と等しくなるようにテスト逆数利得項を修正する動作を含む、請求項41に記載のコンピュータ可読媒体。
- 少なくとも1つのプロセス利得項を決定する動作が、プロセス動作条件に基づいて、質量流量コントローラの流量計、バルブ、およびバルブアクチュエータに関連する複数のプロセス利得項を決定する動作を含む、請求項41に記載のコンピュータ可読媒体。
- 構成データを決定する動作が、プロセス動作条件のプロセス流体に関連するプロセスフルスケール範囲を決定する動作を含み、プロセス流体が、テスト流体と異なる、請求項43に記載のコンピュータ可読媒体。
- 複数のプロセス利得項を決定する動作が、少なくとも、バルブの物理モデルからバルブに関連するプロセスバルブ利得項を決定するステップを含み、バルブの物理モデルが、パラメータとしてプロセス動作条件をとるように適合された、請求項44に記載のコンピュータ可読媒体。
- 少なくともプロセスバルブ利得項を決定する動作が、バルブの物理モデルからバルブアクチュエータに関連するプロセスバルブアクチュエータ利得を決定するステップを含む、請求項45に記載のコンピュータ可読媒体。
- 複数のプロセス利得項を決定する動作が、プロセスフルスケール範囲に基づいてプロセス流量計利得項を決定する動作を含む、請求項44に記載のコンピュータ可読媒体。
- プロセッサが、質量流量コントローラに含まれ、プログラムが、プロセッサに結合された質量流量コントローラのメモリに保管され、入力が、プロセッサに結合された質量流量コントローラの入力であり、プログラムがプロセッサ上で実行される時に、質量流量コントローラが、入力で受け取られるプロセス動作条件で動作するように構成される、質量流量コントローラと組み合わされた、請求項26に記載のコンピュータ可読媒体。
- プロセッサが、質量流量コントローラに含まれ、プログラムが、プロセッサに結合された質量流量コントローラのメモリに保管され、入力が、プロセッサに結合された質量流量コントローラの入力であり、プログラムがプロセッサ上で実行される時に、質量流量コントローラが、入力で受け取られるプロセス動作条件で動作するように構成され、構成データが、質量流量コントローラのメモリに保管される、質量流量コントローラと組み合わされた、請求項36に記載のコンピュータ可読媒体。
- プログラムがその上で実行されるプロセッサを含むコンピュータと組み合わされ、コンピュータが、質量流量コントローラから得られた構成データが保管されるメモリを含む、請求項36に記載のコンピュータ可読媒体。
- 動作条件の第1組で使用される時に第1応答を有し、構成の前に動作条件の第2組で使用される時に、第1応答と実施質的に異なる第2応答を有する質量流量コントローラにおいて、質量流量コントローラを構成する方法であって、
動作条件の第1組で質量流量コントローラを動作させる動作と、
動作させる動作中に、質量流量コントローラから構成データを得る動作と、
動作条件の第1組に関する第1応答を提供するために、構成データに基づいて質量流量コントローラの少なくとも1つの制御パラメータをセットする動作と、
動作条件の第2組に関して第1応答を提供するために、構成データに少なくとも部分的に基づいて少なくとも1つのパラメータを修正する動作と
を含む方法。 - 動作条件の第1組で動作する質量流量コントローラの構成要素に関連する複数の利得項を決定する動作をさらに含む、請求項51に記載の方法。
- 複数の利得項を決定する動作が、流量計に関連する流量計利得項、バルブアクチュエータに関連するバルブアクチュエータ利得項、および質量流量コントローラのバルブに関連するバルブ利得項の少なくとも1つを決定する動作を含む、請求項52に記載の方法。
- 複数の利得項を決定する動作が、複数の利得項の積の逆数をとることによって形成される逆数利得項を決定する動作を含み、逆数利得項が、少なくとも1つの可変動作条件の関数である、請求項52に記載の方法。
- 少なくとも1つの制御パラメータをセットする動作が、逆数利得項と等しくなるように少なくとも1つの制御パラメータをセットするステップを含む、請求項54に記載の方法。
- 構成データを得る動作が、少なくとも流量計、バルブ、およびバルブアクチュエータに関連する第1合成利得項を得る動作を含み、流量計、バルブ、およびバルブアクチュエータが、動作条件の第1組で動作する質量流量コントローラの制御ループを少なくとも部分的に形成する、請求項51に記載の方法。
- 構成データを得る動作が、動作条件の第1組に関連するテストフルスケール範囲を決定するステップを含む、請求項56に記載の方法。
- 少なくとも1つの制御パラメータをセットする動作が、第1合成利得項の逆数と等しくなるように制御ループ制御パラメータをセットするステップを含み、制御ループ制御パラメータが、少なくとも1つの動作条件の関数であり、制御ループの制御ループ利得が、少なくとも少なくとも1つの可変動作条件の関数として変化しないようになる、請求項57に記載の方法。
- 少なくとも1つの制御パラメータを修正する動作が、動作条件に関するパラメータを有するバルブの物理モデルおよび動作条件の第2組に関連するプロセスフルスケール範囲の少なくとも1つに基づいて、少なくとも質量流量コントローラの流量計、バルブ、およびバルブアクチュエータと動作条件の第2組とに関連する第2合成利得項を決定する動作を含む、請求項58に記載の方法。
- 少なくとも1つの制御パラメータを修正する動作が、動作条件の第2組の下で動作する時に、制御ループ利得が少なくとも少なくとも1つの可変動作条件について一定のままになるように、第2合成利得項の逆数と等しくなるように制御ループ制御パラメータを修正する動作を含む、請求項59に記載の方法。
- 質量流量コントローラによって供給される流体の実際の流れを監視し、条件付けられた出力信号を供給する流量計であって、第1利得項を有する流量計と、
質量流量コントローラによって供給される流体の所望の流れを表す第2入力信号を受け取り、制御信号を供給する制御セクションであって、少なくとも1つの可変動作条件の関数である第2利得項を有する制御セクションと、
バルブの1つまたは複数の要素の変位に基づいて流体の流れを許容するバルブであって、第3利得項を有するバルブと、
制御信号を受け取り、バルブの1つまたは複数の要素の変位を調整するバルブアクチュエータであって、第4利得項を有するバルブアクチュエータと
を含む制御ループを有する質量流量コントローラにおいて、実質的に一定の制御ループ利得を有するように質量流量コントローラを構成する方法であって、
動作条件の第1組を使用して、第1流体に関する第1利得項、第3利得項、および第4利得項を決定する動作と、
第2流体および動作条件の第2組の少なくとも1つに関して、第1利得項、第3利得項、および第4利得項がどのように変化するかを予測する動作と、
少なくとも少なくとも1つの可変動作条件に関して実質的に一定の制御ループ利得を提供するために、第1利得項、第3利得項、および第4利得項の積の逆数に定数をかけたものに第2利得を変更する動作と
を含む方法。 - 質量流量コントローラの制御ループを定義する複数の構成要素を有する質量流量コントローラにおいて、質量流量コントローラを制御する方法であって、
少なくとも1つの可変動作条件の関数である、少なくとも1つの制御ループ制御パラメータを形成する動作と、
少なくとも1つの制御ループ制御パラメータを質量流量コントローラの制御ループに適用することによって、少なくとも少なくとも1つの可変動作条件に関して制御ループの一定のループ利得を維持する動作と
を含む方法。 - 少なくとも1つの制御ループ制御パラメータを形成する動作が、質量流量コントローラの少なくとも1つの構成要素に関連する制御ループの少なくとも1つの利得の積の逆数をとることによって制御ループ制御パラメータを形成する動作を含む、請求項62に記載の方法。
- 少なくとも1つの可変動作条件が、設定点を含む、請求項63に記載の方法。
- 少なくとも1つの可変動作条件が、バルブ入口圧力を含む、請求項63に記載の方法。
- 一定のループ利得を維持する動作が、少なくとも1つの利得項に制御ループ内の制御ループ制御パラメータをかけることによって達成される、請求項63に記載の方法。
- 制御ループ制御パラメータを形成する動作が、少なくとも質量流量コントローラの流量計、バルブアクチュエータ、およびバルブに関連する合成利得項の逆数から形成される逆数利得項を形成する動作を含む、請求項62に記載の方法。
- 一定のループ利得を維持する動作が、逆数利得項を質量流量コントローラの制御ループに適用する動作を含む、請求項67に記載の方法。
- 制御ループを有する質量流量コントローラであって、
流体流路内の流体の流れを感知するように適合され、流路内の質量流量を表す流れ信号を供給する流量計と、
流量計に結合され、流れ信号に少なくとも部分的に基づいて駆動信号を供給するように適合されたコントローラと、
コントローラから駆動信号を受け取るように適合されたバルブアクチュエータと、
バルブアクチュエータによって制御され、流体流路に結合されるように適合されたバルブと
を含み、
質量流量コントローラの制御ループが、流量計、コントローラ、バルブアクチュエータ、およびバルブを含み、
制御ループが、動作中に少なくとも1つの可変動作条件に関して実質に一定の制御ループ利得項を有するように適合された
質量流量コントローラ。 - 実質的に一定の制御ループ利得項が、流量計、バルブアクチュエータ、およびバルブの少なくとも1つに関連する少なくとも1つの利得を含む、請求項69に記載の質量流量コントローラ。
- 実質的に一定の制御ループ利得項が、少なくとも1つの利得項の積の逆数をとることによって形成される逆数利得項を含む、請求項70に記載の質量流量コントローラ。
- 逆数利得項が、少なくとも設定点の関数である、請求項71に記載の質量流量コントローラ。
- 逆数利得項が、少なくともバルブ入口圧力の関数である、請求項71に記載の質量流量コントローラ。
- 実質的に一定の制御ループ利得項が、少なくとも流量計、バルブアクチュエータ、およびバルブに関連する合成利得項を含む、請求項69に記載の質量流量コントローラ。
- 実質的に一定の制御ループ利得が、合成利得項の積の逆数によって形成される逆数利得項を含み、逆数利得項が、少なくとも1つの可変動作条件の関数である、請求項74に記載の質量流量コントローラ。
- 逆数利得項および合成利得項の積が、実質的に一定の制御ループ利得項をもたらした、請求項75に記載の質量流量コントローラ。
- 流量計が、正規化回路、応答補償回路、および線形化曲線の少なくとも1つを含む、請求項69に記載の質量流量コントローラ。
- 流量計が、線形化曲線を含む、請求項77に記載の質量流量コントローラ。
- 線形化曲線が、制御点の組にあてはめられた3次スプラインである、請求項78に記載の質量流量コントローラ。
- 制御点の組が、テスト流体およびテスト動作条件での質量流量コントローラの特性記述中に得られる構成データの一部である、請求項79に記載の質量流量コントローラ。
- 制御点が、設定点の選択された組に関するセンサ出力とおよび実際の流体の流れを示す点対である、請求項80に記載の質量流量コントローラ。
- コントローラが、利得/リード/ラグ(GLL)コントローラである、請求項75に記載の質量流量コントローラ。
- 逆数利得項が、GLLコントローラの第1入力に供給される、請求項82に記載の質量流量コントローラ。
- 流量計からの流れ信号がGLLコントローラの第2入力に供給され、設定点信号がGLLコントローラの第3入力に供給される、請求項83に記載の質量流量コントローラ。
- GLLコントローラが、流れ信号と設定点信号との間の差に基づいて誤差信号を供給する、請求項84に記載の質量流量コントローラ。
- GLL制御が、逆数利得項に誤差信号をかける、請求項85に記載の質量流量コントローラ。
- 第1利得項を有し、質量流量コントローラの流路内の流体の質量流量を感知し、流路内の流体の質量流量を表す流れ信号を供給する流量計と、
第2利得項を有し、流路内の流体の質量流量を制御する制御信号を受け取るバルブと、
第3利得項を有し、駆動信号を受け取り、バルブに制御信号を供給するバルブアクチュエータと、
流れ信号を受け取る第1入力、流体の所望の質量流量を表す設定点信号を受け取る第2入力、およびバルブアクチュエータに駆動信号を供給する出力を有するコントローラと
を含み
コントローラが、第1利得項、第2利得項、および第3利得項の少なくとも1つの積の逆数をとることによって形成される逆数利得項を提供するように適合された、
質量流量コントローラ。 - 逆数利得項が、第1利得項、第2利得項、および第3利得項の少なくとも2つの積の逆数をとることによって形成される、請求項87に記載の質量流量コントローラ。
- 逆数利得項が、第1利得項、第2利得項、および第3利得項の積の逆数をとることによって形成される、請求項87に記載の質量流量コントローラ。
- 逆数利得項が、質量流量コントローラのシステム利得項の逆数をとることによって形成される、請求項87に記載の質量流量コントローラ。
- 逆数利得項が、少なくとも1つの可変動作条件の関数である、請求項89に記載の質量流量コントローラ。
- 質量流量コントローラの制御ループが、流量計、バルブアクチュエータ、バルブ、およびコントローラを含み、逆数利得項が、少なくとも、1つの可変動作条件に関して、制御ループの一定のループ利得を維持する、請求項91に記載の質量流量コントローラ。
- 入口圧力で流体の流れを受け取るバルブ入口および出口圧力で流体の流れを供給するバルブ出口を有するバルブの変位を決定する方法であって、
(A)入口圧力と出口圧力との間の中間圧力を選択する動作と、
(B)入口圧力から中間圧力への粘性圧力低下に基づいてバルブの第1変位を決定する動作と、
(C)中間圧力から出口圧力への無粘性圧力低下に基づいてバルブの第2変位を決定する動作と、
(D)第1変位が第2変位と近似的に等しいかどうかを判定する動作と、
(E)第1変位が第2変位と近似的に等しい時に、バルブの変位として第1変位および第2変位の1つを選択する動作と
を含む方法。 - 動作(D)で、第1変位が第2変位と近似的に等しくないと判定される時に、新しい中間圧力を選択する動作
をさらに含む、請求項93に記載の方法。 - 動作(D)で、第1変位が第2変位と近似的に等しいと判定されるまで、動作(B)から(D)を繰り返す動作
をさらに含む、請求項94に記載の方法。 - 動作(C)が
中間圧力が、出口圧力より約2気圧高い時に、第2変位を決定するために、チョークされた流れの条件の下で中間圧力から出口圧力への無粘性圧力低下に基づいて第1計算を使用する動作と、
中間圧力が、出口圧力より約2気圧高くはない時に、第2変位を決定するために、チョークされない流れの条件の下で中間圧力から出口圧力への無粘性圧力低下に基づいて第2計算を使用する動作と
を含む、請求項93に記載の方法。 - 第1計算および第2計算が、オリフィスを通る無粘性流れの物理モデルに基づく、請求項96に記載の方法。
- 動作(C)が、
第2変位を決定するために、オリフィスを通る無粘性流れの物理モデルに基づく第1計算を使用する動作
を含む、請求項93に記載の方法。 - 動作(B)が、
バルブの第1変位を決定するために、2つの平行の板の間の粘性流れの物理モデルに基づく第1計算を使用する動作
を含む、請求項93に記載の方法。 - ソレノイド作動装置でのヒステリシスの影響を減らす方法であって、
装置を所定の状態にするために、ソレノイド作動装置に所定の非動作信号を適用する動作
を含む方法。 - 非動作信号を適用する動作が、ソレノイド作動装置の各動作サイクルの後に発生する、請求項100に記載の方法。
- 非動作信号を適用する動作が、装置が所定の動作範囲の外で動作した後に限って発生する、請求項100に記載の方法。
- 非動作信号を適用する動作が、非動作電流信号を適用する動作を含む、請求項100に記載の方法。
- 非動作信号を適用する動作が、非動作電圧信号を適用する動作を含む、請求項100に記載の方法。
- 非動作信号を適用する動作が、時間に伴って変化する正弦波形を適用する動作を含む、請求項100に記載の方法。
- 時間に伴って変化する正弦波形を適用する動作が、時間に伴って減少する振幅を有する正弦波形を適用する動作を含む、請求項105に記載の方法。
- 時間に伴って変化する正弦波形を適用する動作が、波形が非負の値だけを有するようになる振幅のオフセットを有する正弦波形を適用する動作を含む、請求項105に記載の方法。
- 非動作信号を適用する動作が、時間に伴って変化する方形波形を適用する動作を含む、請求項100に記載の方法。
- 時間に伴って変化する方形波形を適用する動作が、時間に伴って減少する振幅を有する方形波形を適用する動作を含む、請求項108に記載の方法。
- 時間に伴って変化する方形波形を適用する動作が、波形が非負の値だけを有するようになる振幅のオフセットを有する方形波形を適用する動作を含む、請求項108に記載の方法。
- 非動作信号を適用する動作が、時間に伴って変化する三角形波形を適用する動作を含む、請求項100に記載の方法。
- 時間に伴って変化する三角形波形を適用する動作が、時間に伴って減少する振幅を有する三角形波形を適用する動作を含む、請求項111に記載の方法。
- 時間に伴って変化する三角形波形を適用する動作が、波形が非負の値だけを有するようになる振幅のオフセットを有する三角形波形を適用する動作を含む、請求項112に記載の方法。
- 非動作信号を適用する動作が、パルス形信号を適用する動作を含む、請求項100に記載の方法。
- パルス形信号を適用する動作が、ソレノイド作動装置に適用される動作信号の符号と反対の符号を有するパルス形信号を適用する動作を含む、請求項114に記載の方法。
- ソレノイド作動装置を動作させる方法であって、
(a)ソレノイド作動装置を第1位置から第2位置に移動させるために、ソレノイド作動装置にエネルギの第1量を供給する動作と、
(b)ソレノイド作動装置を第1位置に戻すために、ソレノイド作動装置にエネルギの第2量を供給する動作と、
(c)エネルギの第1量がエネルギの所定の量を超える時に、動作(b)の後に、ソレノイド作動装置を所定の状態にセットする動作と
を含む方法。 - 動作(c)が、ソレノイド作動装置に時間に伴って変化する信号を供給する動作を含む、請求項116に記載の方法。
- 時間に伴って変化する信号を供給する動作が、正弦波形、方形波形、三角形波形、鋸歯波形の少なくとも1つを有する時間に伴って変化する信号を供給する動作を含む、請求項117に記載の方法。
- 時間に伴って変化する信号を供給する動作が、波形が非負の値だけを有するようになるオフセットを有する時間に伴って変化する信号を供給する動作を含む、請求項118に記載の方法。
- 時間に伴って変化する信号を供給する動作が、時間に伴って減少する振幅を有する時間に伴って変化する信号を供給する動作を含む、請求項118に記載の方法。
- ソレノイド装置が、制御される部分を有する制御バルブである、請求項116に記載の方法。
- エネルギの第1量を供給する動作が、バルブの制御される部分を制御するために駆動信号を供給するステップを含み、駆動信号が、第1の符号を有する、請求項121に記載の方法。
- 動作(c)が、バルブにパルスを供給する動作を含む、請求項121に記載の方法。
- パルスを供給する動作が、第1の符号と反対の符号を有するパルスを供給する動作を含む、請求項123に記載の方法。
- エネルギの所定の量が、バルブの制御される部分を開くのに必要な駆動信号のエネルギを超える、請求項122に記載の方法。
- ソレノイド作動装置が、質量流量コントローラのソレノイド作動制御バルブである、請求項116に記載の方法。
- 質量流量コントローラが、動作範囲を有し、エネルギの所定の量が、ソレノイド制御バルブの位置を、質量流量コントローラの通常動作範囲の外の位置に移動するのに必要なエネルギの量である、請求項126に記載の方法。
- ソレノイド作動装置と、
ソレノイド作動装置に結合されたソレノイドアクチュエータであって、装置を所定の状態にセットするためにソレノイド作動装置に非動作信号を供給するように適合された、ソレノイドアクチュエータと
を含む装置。 - 非動作信号が、電流信号である、請求項128に記載の装置。
- 非動作信号が、電圧信号である、請求項128に記載の装置。
- アクチュエータが、各動作サイクルの後に、ソレノイド作動装置に非動作信号を供給するように適合された、請求項128に記載の装置。
- アクチュエータが、ソレノイド作動装置が所定の動作範囲の外で動作した後に限って非動作信号を供給するように適合された、請求項128に記載の装置。
- 非動作信号が、時間に伴って変化する正弦波形、時間に伴って変化する方形波形、時間に伴って変化する三角形波形、および時間に伴って変化する鋸歯波形の1つである、請求項128に記載の装置。
- 非動作信号が、時間に伴って減少する振幅を有する、請求項133に記載の装置。
- 非動作信号が、波形が非負の値だけを有するようになるオフセットを有する、請求項133に記載の装置。
- 非動作信号が、パルスである、請求項133に記載の装置。
- ソレノイド作動装置が、ソレノイド作動バルブである、請求項128に記載の装置。
- アクチュエータが、バルブが所定の量を超える量だけデフォルト位置から変位した時にのみ、非動作信号を供給する、請求項137に記載の装置。
- アクチュエータが、バルブのすべての動作サイクルの後にバルブに非動作信号を供給する、請求項137に記載の装置。
- 非動作信号が、時間に伴って変化する正弦波形、時間に伴って変化する方形波形、および時間に伴って変化する鋸歯波形の1つである、請求項137に記載の装置。
- 流路内の流体の流れを感知し、流体の流れを表す流れ信号を供給するように適合された流量計と、
流れ信号を受け取り、流れ信号に少なくとも部分的に基づいて駆動信号を供給するように適合されたコントローラと、
流れ信号を受け取るバルブドライバであって、流れ信号に基づいて非動作信号を供給するように適合されたバルブドライバと
を含む質量流量コントローラと組み合わされ、
アクチュエータが、コントローラによって供給される駆動信号を受け取り、駆動信号に基づいてバルブの制御される部分を変位させる
請求項139に記載の装置。 - バルブドライバが、さらに、各動作サイクルの後にアクチュエータに非動作信号を供給するように適合された、請求項141に記載の装置。
- バルブドライバが、さらに、流れ信号が流れを示さない時に、必ずアクチュエータに非動作信号を供給するように適合された、請求項141に記載の装置。
- バルブドライバが、さらに、バルブの制御される部分が所定の量を超えて変位した後に限って、非動作信号を供給するように適合された、請求項141に記載の装置。
- 非動作信号が、正弦波形、方形波形、三角形波形、および鋸歯波形の少なくとも1つである、請求項141に記載の装置。
- 製造中に質量流量コントローラの第1応答を確立するのに使用されたテスト動作条件の組と少なくとも部分的に異なるプロセス動作条件の組で動作するように質量流量コントローラを構成する方法であって、
動作条件の第1組を用いて質量流量コントローラの特性を記述する動作と、
特性を記述する動作中に構成データを得る動作と、
質量流量コントローラの応答が実質的に変化しないように、構成データおよびプロセス動作条件に基づいて少なくとも1つの制御パラメータを修正する動作と
を含む方法。 - 質量流量コントローラの特性を記述する動作が、
テスト動作条件の組に対して質量流量コントローラをチューニングする動作と、
テスト動作条件の組に対して質量流量コントローラを較正する動作と
を含み、テスト動作条件の組が、単一のテスト流体を含む
請求項145に記載の方法。 - プロセス動作条件の組が、質量流量コントローラのチューニング中および較正中に使用された単一のテスト流体と異なるプロセス流体を含み、少なくとも1つの制御パラメータを修正する動作が、プロセス流体のプロセス流体種類情報に少なくとも部分的に基づいて少なくとも1つの制御パラメータを修正する動作を含む、請求項145に記載の方法。
Applications Claiming Priority (2)
| Application Number | Priority Date | Filing Date | Title |
|---|---|---|---|
| US28580101P | 2001-04-24 | 2001-04-24 | |
| US60/285,801 | 2001-04-24 |
Related Parent Applications (1)
| Application Number | Title | Priority Date | Filing Date |
|---|---|---|---|
| JP2002584094A Division JP4864280B2 (ja) | 2001-04-24 | 2002-04-24 | 質量流量コントローラのシステムおよび方法 |
Publications (2)
| Publication Number | Publication Date |
|---|---|
| JP2010015580A true JP2010015580A (ja) | 2010-01-21 |
| JP5129793B2 JP5129793B2 (ja) | 2013-01-30 |
Family
ID=23095749
Family Applications (2)
| Application Number | Title | Priority Date | Filing Date |
|---|---|---|---|
| JP2002584094A Expired - Fee Related JP4864280B2 (ja) | 2001-04-24 | 2002-04-24 | 質量流量コントローラのシステムおよび方法 |
| JP2009184196A Expired - Fee Related JP5129793B2 (ja) | 2001-04-24 | 2009-08-07 | 質量流量コントローラのシステムおよび方法 |
Family Applications Before (1)
| Application Number | Title | Priority Date | Filing Date |
|---|---|---|---|
| JP2002584094A Expired - Fee Related JP4864280B2 (ja) | 2001-04-24 | 2002-04-24 | 質量流量コントローラのシステムおよび方法 |
Country Status (9)
| Country | Link |
|---|---|
| US (4) | US6962164B2 (ja) |
| EP (1) | EP1384121A2 (ja) |
| JP (2) | JP4864280B2 (ja) |
| KR (1) | KR20040024854A (ja) |
| CN (1) | CN1514960A (ja) |
| AT (1) | ATE310986T1 (ja) |
| AU (1) | AU2002307547A1 (ja) |
| DE (1) | DE60207609T2 (ja) |
| WO (1) | WO2002086632A2 (ja) |
Cited By (4)
| Publication number | Priority date | Publication date | Assignee | Title |
|---|---|---|---|---|
| WO2013115298A1 (ja) * | 2012-02-03 | 2013-08-08 | 日立金属株式会社 | 流量制御装置及びプログラム |
| WO2016064420A1 (en) * | 2014-10-24 | 2016-04-28 | Landmark Graphics Corporation | Inflow control apparatus, methods, and systems |
| JP2017191597A (ja) * | 2016-04-12 | 2017-10-19 | 日立金属株式会社 | 質量流量制御装置及び質量流量制御方法 |
| JP2019505922A (ja) * | 2016-01-22 | 2019-02-28 | イリノイ トゥール ワークス インコーポレイティド | 質量流量制御器上に記憶されるデータ値を動的に構成するシステム及び方法 |
Families Citing this family (144)
| Publication number | Priority date | Publication date | Assignee | Title |
|---|---|---|---|---|
| DE60207609T2 (de) * | 2001-04-24 | 2006-08-03 | Celerity Group, Inc., Santa Clara | Verfahren zur Bestimmung einer Ventilöffnung für einen Massenflussregler |
| US7010464B2 (en) * | 2001-07-25 | 2006-03-07 | Schneider Automation Inc. | Mobile HVAC cavity test device, method, and computer product |
| US6627465B2 (en) * | 2001-08-30 | 2003-09-30 | Micron Technology, Inc. | System and method for detecting flow in a mass flow controller |
| EP1523664A4 (en) * | 2002-05-24 | 2006-04-19 | Entegris Inc | SYSTEM AND METHOD FOR CALIBRATING A MEASURING DEVICE FOR MASS FLOW |
| CN1688948B (zh) * | 2002-07-19 | 2010-05-26 | 布鲁克斯器具有限公司 | 在质量流动控制器中用于压力补偿的方法和装置 |
| WO2004010474A2 (en) | 2002-07-19 | 2004-01-29 | Mykrolis Corporation | Liquid flow controller and precision dispense apparatus and system |
| US20050000570A1 (en) * | 2003-01-17 | 2005-01-06 | Mohammed Balarabe Nuhu | Combination manual/pneumatic shut-off valve |
| US6990414B2 (en) * | 2003-03-03 | 2006-01-24 | Brad Belke | Electronic gas flow measurement and recording device |
| US6843139B2 (en) * | 2003-03-12 | 2005-01-18 | Rosemount Inc. | Flow instrument with multisensors |
| US7043374B2 (en) * | 2003-03-26 | 2006-05-09 | Celerity, Inc. | Flow sensor signal conversion |
| US6997032B2 (en) | 2003-04-08 | 2006-02-14 | Invensys Systems, Inc. | Flowmeter zeroing techniques |
| US7437944B2 (en) * | 2003-12-04 | 2008-10-21 | Applied Materials, Inc. | Method and apparatus for pressure and mix ratio control |
| US20050120805A1 (en) * | 2003-12-04 | 2005-06-09 | John Lane | Method and apparatus for substrate temperature control |
| US7216019B2 (en) * | 2004-07-08 | 2007-05-08 | Celerity, Inc. | Method and system for a mass flow controller with reduced pressure sensitivity |
| US7716963B2 (en) | 2004-08-24 | 2010-05-18 | Micro Motion, Inc. | Method and apparatus for proving flow meters |
| US7270141B2 (en) * | 2004-12-02 | 2007-09-18 | Halliburton Energy Services, Inc. | Methods and systems for controlling viscosity in real time |
| US7237535B2 (en) * | 2005-04-11 | 2007-07-03 | Honeywell International Inc. | Enhanced accuracy fuel metering system and method |
| US7334469B2 (en) * | 2005-07-29 | 2008-02-26 | Honeyweill International Inc. | Methods and systems using ratiometric characterizations to improve air data accuracy |
| US7467027B2 (en) * | 2006-01-26 | 2008-12-16 | Mks Instruments, Inc. | Compensation for thermal siphoning in mass flow controllers |
| JP4788920B2 (ja) * | 2006-03-20 | 2011-10-05 | 日立金属株式会社 | 質量流量制御装置、その検定方法及び半導体製造装置 |
| US8026113B2 (en) * | 2006-03-24 | 2011-09-27 | Tokyo Electron Limited | Method of monitoring a semiconductor processing system using a wireless sensor network |
| JP4858829B2 (ja) * | 2006-03-28 | 2012-01-18 | 横河電機株式会社 | マルチバリアブル質量流量伝送器システム |
| JP4765746B2 (ja) | 2006-04-17 | 2011-09-07 | 日立金属株式会社 | 遮断弁装置及びこれを組み込んだ質量流量制御装置 |
| US7603186B2 (en) * | 2006-04-28 | 2009-10-13 | Advanced Energy Industries, Inc. | Adaptive response time closed loop control algorithm |
| US7640078B2 (en) * | 2006-07-05 | 2009-12-29 | Advanced Energy Industries, Inc. | Multi-mode control algorithm |
| TW200834275A (en) * | 2006-09-05 | 2008-08-16 | Celerity Inc | Multi-gas flow device |
| JP4658200B2 (ja) * | 2006-10-03 | 2011-03-23 | 株式会社堀場エステック | マスフローコントローラ |
| JP5002602B2 (ja) * | 2006-12-05 | 2012-08-15 | 株式会社堀場エステック | 流量制御装置の検定方法 |
| US8079383B2 (en) * | 2006-12-07 | 2011-12-20 | Mks Instruments, Inc. | Controller gain scheduling for mass flow controllers |
| US8025072B2 (en) * | 2006-12-21 | 2011-09-27 | Schlumberger Technology Corporation | Developing a flow control system for a well |
| US7775236B2 (en) | 2007-02-26 | 2010-08-17 | Applied Materials, Inc. | Method and apparatus for controlling gas flow to a processing chamber |
| US7846497B2 (en) | 2007-02-26 | 2010-12-07 | Applied Materials, Inc. | Method and apparatus for controlling gas flow to a processing chamber |
| US8074677B2 (en) | 2007-02-26 | 2011-12-13 | Applied Materials, Inc. | Method and apparatus for controlling gas flow to a processing chamber |
| US7651263B2 (en) * | 2007-03-01 | 2010-01-26 | Advanced Energy Industries, Inc. | Method and apparatus for measuring the temperature of a gas in a mass flow controller |
| US8056579B2 (en) * | 2007-06-04 | 2011-11-15 | Horiba Stec, Co., Ltd. | Mass flow controller |
| US20090035121A1 (en) * | 2007-07-31 | 2009-02-05 | Dresser, Inc. | Fluid Flow Modulation and Measurement |
| US8265794B2 (en) * | 2007-10-01 | 2012-09-11 | Westlock Controls Corporation | Knowledge based valve control method |
| DE102008006653A1 (de) * | 2008-01-30 | 2009-08-06 | Continental Teves Ag & Co. Ohg | Verfahren zur Konditionierung eines Regelventils |
| US8067917B2 (en) * | 2008-04-08 | 2011-11-29 | Liebert Corporation | Hysteresis mitigation and control method |
| US8105648B2 (en) * | 2008-05-13 | 2012-01-31 | United Microelectronics Corp. | Method for operating a chemical deposition chamber |
| US20090308269A1 (en) * | 2008-06-11 | 2009-12-17 | Niemiro Michael A | Spray dampening valves with associated drive signals in an offset printing process |
| US8386083B2 (en) * | 2008-06-16 | 2013-02-26 | Mks Instruments, Inc. | Systems and methods for updating valve cracking current in mass flow controllers |
| US7748268B2 (en) * | 2008-07-13 | 2010-07-06 | Brooks Instrument, Llc | Thermal flow meter |
| US7905139B2 (en) * | 2008-08-25 | 2011-03-15 | Brooks Instrument, Llc | Mass flow controller with improved dynamic |
| JP5215831B2 (ja) | 2008-12-08 | 2013-06-19 | Ckd株式会社 | 圧力制御装置および流量制御装置 |
| JP2010169657A (ja) * | 2008-12-25 | 2010-08-05 | Horiba Stec Co Ltd | 質量流量計及びマスフローコントローラ |
| US20100229657A1 (en) * | 2009-03-12 | 2010-09-16 | Weinstein Jason P | Sinter-bonded metal flow restrictor for regulating volumetric gas flow through an aerosol sampler inlet |
| JP5337542B2 (ja) * | 2009-03-12 | 2013-11-06 | 株式会社堀場エステック | マスフローメータ、マスフローコントローラ、それらを含むマスフローメータシステムおよびマスフローコントローラシステム |
| US8091711B2 (en) * | 2009-06-24 | 2012-01-10 | Atomic Energy Council-Institute Of Nuclear Energy Research | Dynamically adaptive trommel screen system |
| US8195312B2 (en) * | 2009-08-27 | 2012-06-05 | Hitachi Metals, Ltd | Multi-mode control loop with improved performance for mass flow controller |
| EP2365411A1 (en) * | 2010-03-10 | 2011-09-14 | Sensirion AG | Flow control arrangement |
| US8321060B2 (en) * | 2010-04-27 | 2012-11-27 | Hitachi Metals, Ltd | Method and system of on-tool and on-site MFC optimization providing consistent response |
| EP2392898B1 (en) | 2010-06-04 | 2017-12-13 | Sensirion AG | Sensor system |
| US8131400B2 (en) * | 2010-06-10 | 2012-03-06 | Hitachi Metals, Ltd. | Adaptive on-tool mass flow controller tuning |
| TWI551803B (zh) | 2010-06-15 | 2016-10-01 | 拜歐菲樂Ip有限責任公司 | 低溫熱力閥裝置、含有該低溫熱力閥裝置之系統及使用該低溫熱力閥裝置之方法 |
| US9443753B2 (en) * | 2010-07-30 | 2016-09-13 | Applied Materials, Inc. | Apparatus for controlling the flow of a gas in a process chamber |
| CN101937238B (zh) * | 2010-08-09 | 2012-04-25 | 中国神华能源股份有限公司 | 自动给料控制方法 |
| US20120197446A1 (en) * | 2010-12-01 | 2012-08-02 | Glaudel Stephen P | Advanced feed-forward valve-control for a mass flow controller |
| US20120145634A1 (en) | 2010-12-10 | 2012-06-14 | Water Intellectual Properties, Inc. | High Efficiency Water Purification System |
| JP5915043B2 (ja) * | 2011-04-01 | 2016-05-11 | 日立金属株式会社 | 流量制御装置 |
| GB201108854D0 (en) * | 2011-05-26 | 2011-07-06 | Spp Process Technology Systems Uk Ltd | Mass flow controller monitoring |
| JP2013115208A (ja) * | 2011-11-28 | 2013-06-10 | Tokyo Electron Ltd | 気化原料供給装置、これを備える基板処理装置、及び気化原料供給方法 |
| US11022985B2 (en) | 2011-12-16 | 2021-06-01 | Fluid Handling Llc | Discrete valve flow rate converter |
| TWI525184B (zh) | 2011-12-16 | 2016-03-11 | 拜歐菲樂Ip有限責任公司 | 低溫注射組成物,用於低溫調節導管中流量之系統及方法 |
| US9760096B2 (en) * | 2012-03-07 | 2017-09-12 | Illinois Tool Works Inc. | System and method for using a model for improving control of a mass flow controller |
| US9175810B2 (en) * | 2012-05-04 | 2015-11-03 | General Electric Company | Custody transfer system and method for gas fuel |
| JP5868796B2 (ja) * | 2012-07-03 | 2016-02-24 | 株式会社堀場エステック | 圧力制御装置、流量制御装置、及び、圧力制御装置用プログラム、流量制御装置用プログラム |
| US8833384B2 (en) | 2012-08-06 | 2014-09-16 | Schneider Electric Buildings, Llc | Advanced valve actuation system with integral freeze protection |
| DE102012215353A1 (de) * | 2012-08-29 | 2014-03-06 | Continental Teves Ag & Co. Ohg | Schaltumkehrverfahren für ein analogisiert betriebenes Magnetventil, elektrohydraulische Bremsanlage und Verwendung der elektrohydraulischen Bremsanlage |
| US9133959B2 (en) * | 2012-09-07 | 2015-09-15 | Pentair Flow Services Ag | Virtual limit switch |
| US9534795B2 (en) | 2012-10-05 | 2017-01-03 | Schneider Electric Buildings, Llc | Advanced valve actuator with remote location flow reset |
| JP6027395B2 (ja) * | 2012-10-29 | 2016-11-16 | 株式会社堀場エステック | 流体制御装置 |
| US10295080B2 (en) | 2012-12-11 | 2019-05-21 | Schneider Electric Buildings, Llc | Fast attachment open end direct mount damper and valve actuator |
| US9146563B2 (en) | 2013-03-01 | 2015-09-29 | Hitachi Metals, Ltd. | Mass flow controller and method for improved performance across fluid types |
| US9910448B2 (en) | 2013-03-14 | 2018-03-06 | Christopher Max Horwitz | Pressure-based gas flow controller with dynamic self-calibration |
| US9658628B2 (en) | 2013-03-15 | 2017-05-23 | Schneider Electric Buildings, Llc | Advanced valve actuator with true flow feedback |
| DK2971901T3 (en) | 2013-03-15 | 2019-01-07 | Schneider Electric Buildings | Advanced valve actuator with integrated energy measurement |
| BR112015026757B1 (pt) | 2013-04-22 | 2020-11-24 | Sensable Technologies Llc | Dispositivo de distribuiqao de fragrancia e metodo para dispensaqao de fragrancias |
| US9795757B2 (en) | 2013-06-28 | 2017-10-24 | Vyaire Medical Capital Llc | Fluid inlet adapter |
| US9962514B2 (en) | 2013-06-28 | 2018-05-08 | Vyaire Medical Capital Llc | Ventilator flow valve |
| US9433743B2 (en) | 2013-06-28 | 2016-09-06 | Carefusion 303, Inc. | Ventilator exhalation flow valve |
| US9541098B2 (en) | 2013-06-28 | 2017-01-10 | Vyaire Medical Capital Llc | Low-noise blower |
| US9746359B2 (en) | 2013-06-28 | 2017-08-29 | Vyaire Medical Capital Llc | Flow sensor |
| US9707369B2 (en) | 2013-06-28 | 2017-07-18 | Vyaire Medical Capital Llc | Modular flow cassette |
| CN105874258B (zh) | 2013-09-13 | 2018-01-02 | 生物膜Ip有限责任公司 | 用于调节导管中流体流动的磁性‑低温阀,系统和方法 |
| KR102150579B1 (ko) * | 2014-03-31 | 2020-09-01 | 히타치 긴조쿠 가부시키가이샤 | 열식 질량 유량 측정 방법, 당해 방법을 사용하는 열식 질량 유량계 및 당해 열식 질량 유량계를 사용하는 열식 질량 유량 제어 장치 |
| CN105223974B (zh) * | 2014-07-01 | 2018-09-18 | 北京北方华创微电子装备有限公司 | 工艺加工气路流量控制的方法及系统 |
| CN104102237B (zh) * | 2014-07-08 | 2016-09-07 | 北京七星华创电子股份有限公司 | 一种质量流量控制器的调节阀特性优化方法 |
| CN104089685B (zh) * | 2014-07-14 | 2017-03-08 | 湖南威铭能源科技有限公司 | 提高时差式超声波热量表流量测量误差一致性的方法 |
| JP6415889B2 (ja) * | 2014-08-01 | 2018-10-31 | 株式会社堀場エステック | 流量制御装置、流量制御装置用プログラム、及び、流量制御方法 |
| WO2016081191A1 (en) | 2014-11-19 | 2016-05-26 | Vistadel Tek, Llc | Valve stroke amplification mechanism assembly |
| EP3234723B1 (en) * | 2014-12-15 | 2022-03-23 | Fluid Handling LLC. | A discrete valve flow rate converter |
| CN104652351B (zh) * | 2015-02-05 | 2016-08-24 | 四川省建筑科学研究院 | 一种恒定流量自动生态放流方法及放流装置 |
| KR101652469B1 (ko) * | 2015-02-27 | 2016-08-30 | 주식회사 유진테크 | 다중 가스 제공 방법 및 다중 가스 제공 장치 |
| US10556034B2 (en) | 2015-04-10 | 2020-02-11 | The Regents Of The University Of California | Switchable digital scent generation and release, and vapor and liquid delivery methods and systems |
| US20180120864A1 (en) | 2015-05-07 | 2018-05-03 | Illinois Tool Works Inc. | Nonlinear control of mass flow controller devices using sliding mode |
| DE102015107366B3 (de) * | 2015-05-11 | 2016-01-21 | Krohne Messtechnik Gmbh | Verfahren zum Betreiben eines Durchflussmessgeräts und diesbezügliches Durchflussmessgerät |
| WO2017040100A1 (en) * | 2015-08-31 | 2017-03-09 | Mks Instruments, Inc. | Method and apparatus for pressure-based flow measurement in non-critical flow conditions |
| WO2017055948A1 (en) * | 2015-09-28 | 2017-04-06 | Koninklijke Philips N.V. | Methods and systems for controlling gas flow using a proportional flow valve |
| CN105370670A (zh) * | 2015-12-11 | 2016-03-02 | 哈尔滨商业大学 | 水锤瞬变发生器 |
| JP6688062B2 (ja) * | 2015-12-15 | 2020-04-28 | 株式会社堀場エステック | 流量センサの補正装置、流量測定システム、流量制御装置、補正装置用プログラム、及び、補正方法 |
| US10126761B2 (en) * | 2015-12-29 | 2018-11-13 | Hitachi Metals, Ltd. | Gas insensitive mass flow control systems and methods |
| US11125453B2 (en) * | 2016-03-10 | 2021-09-21 | Carrier Corporation | Calibration of an actuator |
| KR200485819Y1 (ko) | 2016-06-21 | 2018-02-27 | (주)선일플라스틱 | 베어링용 케이지 운반용 적치기구 |
| US10878140B2 (en) * | 2016-07-27 | 2020-12-29 | Emerson Process Management Power & Water Solutions, Inc. | Plant builder system with integrated simulation and control system configuration |
| CN107765716B (zh) * | 2016-08-17 | 2020-10-27 | 宝山钢铁股份有限公司 | 一种流量调节阀的双环控制方法 |
| JP6753791B2 (ja) * | 2017-02-07 | 2020-09-09 | アズビル株式会社 | メンテナンス時期予測装置、流量制御装置およびメンテナンス時期予測方法 |
| US10364897B2 (en) | 2017-06-05 | 2019-07-30 | Vistadeltek, Llc | Control plate for a high conductance valve |
| US10458553B1 (en) | 2017-06-05 | 2019-10-29 | Vistadeltek, Llc | Control plate for a high conductive valve |
| WO2018226596A1 (en) | 2017-06-05 | 2018-12-13 | Vistadeltek, Llc | Control plate for a high conductance valve |
| US11248708B2 (en) | 2017-06-05 | 2022-02-15 | Illinois Tool Works Inc. | Control plate for a high conductance valve |
| EP3428767B1 (en) | 2017-07-11 | 2019-12-11 | Siemens Schweiz AG | Control gain automation |
| JP6841201B2 (ja) * | 2017-10-06 | 2021-03-10 | 株式会社島津製作所 | ガス推定装置および真空排気装置 |
| US11073846B2 (en) | 2018-01-30 | 2021-07-27 | Illinois Tool Works Inc. | Mass flow controller with absolute and differential pressure transducer |
| JP6940441B2 (ja) * | 2018-03-27 | 2021-09-29 | アズビル株式会社 | 熱式フローセンサ装置および流量補正方法 |
| US11781673B2 (en) | 2018-04-30 | 2023-10-10 | Keto A.I., Inc. | Water level control system |
| US10705543B2 (en) * | 2018-08-29 | 2020-07-07 | Illinois Tool Works, Inc. | Mass flow controller and controller algorithm |
| US10969797B2 (en) * | 2018-08-29 | 2021-04-06 | Illinois Tool Works, Inc. | Mass flow valve controller and control method with set point filter and linearization system based on valve model |
| US10725484B2 (en) * | 2018-09-07 | 2020-07-28 | Mks Instruments, Inc. | Method and apparatus for pulse gas delivery using an external pressure trigger |
| US10712184B1 (en) * | 2019-01-09 | 2020-07-14 | Georg Fischer Signet Llc | Magnetic flowmeter assembly having independent coil drive and control system |
| WO2020150632A1 (en) * | 2019-01-18 | 2020-07-23 | Keto A.I., Inc. | Water level control system |
| US11092354B2 (en) | 2019-06-20 | 2021-08-17 | Johnson Controls Tyco IP Holdings LLP | Systems and methods for flow control in an HVAC system |
| US11149976B2 (en) | 2019-06-20 | 2021-10-19 | Johnson Controls Tyco IP Holdings LLP | Systems and methods for flow control in an HVAC system |
| JP7289742B2 (ja) * | 2019-07-02 | 2023-06-12 | 株式会社堀場エステック | 流量センサの補正装置、流量測定システム、流量制御装置、補正装置用プログラム、及び、補正方法 |
| US11073845B2 (en) * | 2019-08-26 | 2021-07-27 | Hitachi Metals, Ltd. | Parasitic flow correction method and apparatus |
| DE102019126883A1 (de) * | 2019-10-07 | 2021-04-08 | Endress+Hauser Flowtec Ag | Verfahren zum Überwachen eines Meßgeräte-Systems |
| EP4062250A1 (en) * | 2019-11-19 | 2022-09-28 | Linde GmbH | Smart gas mixer |
| US11391480B2 (en) | 2019-12-04 | 2022-07-19 | Johnson Controls Tyco IP Holdings LLP | Systems and methods for freeze protection of a coil in an HVAC system |
| US11041749B1 (en) * | 2019-12-19 | 2021-06-22 | Hitachi Metals, Ltd. | Multi-gas mass flow controller and method |
| US11624524B2 (en) | 2019-12-30 | 2023-04-11 | Johnson Controls Tyco IP Holdings LLP | Systems and methods for expedited flow sensor calibration |
| KR102318164B1 (ko) * | 2020-01-20 | 2021-10-26 | 두산중공업 주식회사 | 프로세스의 물리적 특성을 제약 조건으로 하는 유체 온도 pid 제어기를 자동으로 튜닝하기 위한 장치 및 이를 위한 방법 |
| US11604482B2 (en) * | 2020-03-16 | 2023-03-14 | Aquacycl, Inc. | Fluid flow control for water treatment systems |
| CN111855179B (zh) * | 2020-07-27 | 2022-09-23 | 北京七星华创流量计有限公司 | 流体质量流量控制器的标定方法及标定装置 |
| CN114121585B (zh) * | 2020-08-26 | 2023-10-31 | 中微半导体设备(上海)股份有限公司 | 一种等离子体处理装置及气体供应方法 |
| DE102020129149A1 (de) * | 2020-11-05 | 2022-05-05 | Krones Aktiengesellschaft | Vorrichtung und Verfahren zum Befüllen eines Behälters mit einem Füllprodukt |
| US11418969B2 (en) | 2021-01-15 | 2022-08-16 | Fisher-Rosemount Systems, Inc. | Suggestive device connectivity planning |
| US12068135B2 (en) * | 2021-02-12 | 2024-08-20 | Applied Materials, Inc. | Fast gas exchange apparatus, system, and method |
| US12140086B2 (en) | 2021-08-03 | 2024-11-12 | Pratt & Whitney Canada Corp. | Transient gaseous fuel flow scheduling |
| US12098782B2 (en) * | 2021-10-19 | 2024-09-24 | Dresser, Llc | Testing control valves in the field |
| CN114811117B (zh) * | 2022-02-24 | 2022-12-02 | 浙江工业大学 | 高频单向正弦流量控制阀 |
| US20250130600A1 (en) | 2023-10-20 | 2025-04-24 | Illinois Took Works Inc. | Valve assembly and system used to control flow rate of a fluid |
| CN117234245B (zh) * | 2023-11-14 | 2024-01-30 | 合力(天津)能源科技股份有限公司 | 一种耐高温的高压流量控制方法及系统 |
| CN118051075B (zh) * | 2024-04-15 | 2024-06-21 | 上海海维工业控制有限公司 | 一种流体系统中压力控制阀的压力控制方法及系统 |
| CN120742980A (zh) * | 2025-09-02 | 2025-10-03 | 厚礼博精密仪器(北京)有限公司 | 用于质量流量控制器的二次流量校正方法、系统及设备 |
Citations (1)
| Publication number | Priority date | Publication date | Assignee | Title |
|---|---|---|---|---|
| JPS61157912A (ja) * | 1984-12-29 | 1986-07-17 | Nippon Tairan Kk | 質量流量制御装置 |
Family Cites Families (71)
| Publication number | Priority date | Publication date | Assignee | Title |
|---|---|---|---|---|
| US3532862A (en) | 1967-01-13 | 1970-10-06 | Ibm | Method for adjusting controller gain to control a process |
| US3671725A (en) * | 1970-10-01 | 1972-06-20 | Ibm | Dead time process regulation |
| US3786492A (en) * | 1972-07-05 | 1974-01-15 | Westinghouse Electric Corp | Compensation apparatus and method |
| US3878862A (en) * | 1973-02-02 | 1975-04-22 | Otis Eng Co | Pneumatic valve position indicator |
| DE2811345C2 (de) * | 1978-03-16 | 1986-12-11 | Knorr-Bremse AG, 8000 München | Druckregler für pneumatische Drücke, insbesondere in Fahrzeugen |
| JPS56127115A (en) | 1980-03-08 | 1981-10-05 | Ckd Controls Ltd | Gas flow rate control system |
| US4349868A (en) * | 1980-06-23 | 1982-09-14 | Hewlett-Packard Company | Sampled control loop with dynamic gain optimization |
| US4658855A (en) * | 1980-10-03 | 1987-04-21 | Silicon Valley Group | Mass flow controller |
| JPS5998217A (ja) | 1982-11-26 | 1984-06-06 | Fujikin:Kk | 流量制御装置 |
| US4672997A (en) | 1984-10-29 | 1987-06-16 | Btu Engineering Corporation | Modular, self-diagnostic mass-flow controller and system |
| US4679585A (en) * | 1986-01-10 | 1987-07-14 | Mks Instruments, Inc. | Flowmeter-controlled valving |
| DE3882554T2 (de) * | 1987-03-13 | 1994-03-31 | Borg Warner Automotive | Temperatur-Kompensationsmethode für ein stufenloses Getriebe. |
| DE3809070A1 (de) * | 1988-03-18 | 1989-10-26 | Gutehoffnungshuette Man | Verfahren zum sicheren betreiben von turbo-kompressoren |
| US4928048A (en) * | 1988-03-28 | 1990-05-22 | Unit Instruments, Inc. | Fast response control circuit |
| JP2789458B2 (ja) | 1988-11-22 | 1998-08-20 | 株式会社エステック | 液体気化のための流量制御装置 |
| US4877051A (en) | 1988-11-28 | 1989-10-31 | Mks Instruments, Inc. | Flow controller |
| US5249117A (en) * | 1989-04-26 | 1993-09-28 | The Secretary Of State For Defence In Her Britannic Majesty's Government Of The United Kingdom Of Great Britain And Northern Ireland | Adaptive control systems |
| JPH03156509A (ja) | 1989-11-14 | 1991-07-04 | Stec Kk | マスフローコントローラ |
| WO1991019959A1 (en) | 1990-06-14 | 1991-12-26 | Unit Instruments, Inc. | Thermal mass flow sensor |
| US5100100A (en) | 1990-09-12 | 1992-03-31 | Mks Instruments, Inc. | Fluid control and shut off valve |
| US5107441A (en) * | 1990-10-31 | 1992-04-21 | Otis Engineering Corporation | System for evaluating the flow performance characteristics of a device |
| US5062446A (en) | 1991-01-07 | 1991-11-05 | Sematech, Inc. | Intelligent mass flow controller |
| JP2900290B2 (ja) | 1991-01-22 | 1999-06-02 | 富士重工業株式会社 | 車両用無段変速機の圧力制御装置 |
| US5261437A (en) * | 1991-06-10 | 1993-11-16 | Keystone International Holdings Corp. | Method and apparatus for monitoring and analyzing recirculation control system performance |
| US5141021A (en) | 1991-09-06 | 1992-08-25 | Stec Inc. | Mass flow meter and mass flow controller |
| DE69212129T2 (de) | 1991-12-18 | 1997-01-23 | Pierre Delajoud | Massenströmungsmesser mit einschnürendem Element |
| US5357811A (en) | 1992-02-11 | 1994-10-25 | Exac Corporation | Single tube coriolis flow meter with floating intermediate section |
| GB9218610D0 (en) | 1992-09-03 | 1992-10-21 | Electro Hydraulic Technology L | Linear motor valve |
| JP2692770B2 (ja) | 1992-09-30 | 1997-12-17 | シーケーディ株式会社 | マスフローコントローラ流量検定システム |
| US6044701A (en) | 1992-10-16 | 2000-04-04 | Unit Instruments, Inc. | Thermal mass flow controller having orthogonal thermal mass flow sensor |
| US5441076A (en) | 1992-12-11 | 1995-08-15 | Tokyo Electron Limited | Processing apparatus using gas |
| US5660207A (en) | 1994-12-29 | 1997-08-26 | Tylan General, Inc. | Flow controller, parts of flow controller, and related method |
| US5524084A (en) * | 1994-12-30 | 1996-06-04 | Hewlett-Packard Company | Method and apparatus for improved flow and pressure measurement and control |
| JP3291161B2 (ja) | 1995-06-12 | 2002-06-10 | 株式会社フジキン | 圧力式流量制御装置 |
| SE504601C2 (sv) * | 1995-09-22 | 1997-03-17 | Alfa Laval Automation Ab | Förfarande samt reglersystem för friktionskomepensation |
| DE19540441A1 (de) * | 1995-10-27 | 1997-04-30 | Schubert & Salzer Control Syst | Mikroprozessorgesteuerter Stellungsregler |
| US5684245A (en) | 1995-11-17 | 1997-11-04 | Mks Instruments, Inc. | Apparatus for mass flow measurement of a gas |
| US6142163A (en) * | 1996-03-29 | 2000-11-07 | Lam Research Corporation | Method and apparatus for pressure control in vacuum processors |
| US5662143A (en) | 1996-05-16 | 1997-09-02 | Gasonics International | Modular gas box system |
| US5868159A (en) | 1996-07-12 | 1999-02-09 | Mks Instruments, Inc. | Pressure-based mass flow controller |
| JP3580645B2 (ja) | 1996-08-12 | 2004-10-27 | 忠弘 大見 | 圧力式流量制御装置 |
| US5911238A (en) * | 1996-10-04 | 1999-06-15 | Emerson Electric Co. | Thermal mass flowmeter and mass flow controller, flowmetering system and method |
| US5944048A (en) * | 1996-10-04 | 1999-08-31 | Emerson Electric Co. | Method and apparatus for detecting and controlling mass flow |
| US5950668A (en) * | 1996-10-09 | 1999-09-14 | Fisher Controls International, Inc. | Control valve positioners having improved operating characteristics |
| JP3997337B2 (ja) | 1996-11-20 | 2007-10-24 | 忠弘 大見 | 流体制御装置 |
| US5865205A (en) | 1997-04-17 | 1999-02-02 | Applied Materials, Inc. | Dynamic gas flow controller |
| US6074691A (en) * | 1997-06-24 | 2000-06-13 | Balzers Aktiengesellschaft | Method for monitoring the flow of a gas into a vacuum reactor |
| JP3586075B2 (ja) | 1997-08-15 | 2004-11-10 | 忠弘 大見 | 圧力式流量制御装置 |
| EP0931941B1 (en) | 1997-08-15 | 2005-12-28 | Fujikin Inc. | Orifice for pressure type flow rate control unit and process for manufacturing orifice |
| US6128541A (en) * | 1997-10-15 | 2000-10-03 | Fisher Controls International, Inc. | Optimal auto-tuner for use in a process control network |
| JPH11212653A (ja) | 1998-01-21 | 1999-08-06 | Fujikin Inc | 流体供給装置 |
| GB9804047D0 (en) * | 1998-02-27 | 1998-04-22 | Normalair Garrett Ltd | Method of controlling a parameter |
| JP3522535B2 (ja) | 1998-05-29 | 2004-04-26 | 忠弘 大見 | 圧力式流量制御装置を備えたガス供給設備 |
| US6302130B1 (en) | 1998-08-24 | 2001-10-16 | Fujikin Incorporated | Method and apparatus for detection of orifice clogging in pressure-type flow rate controllers |
| JP3522544B2 (ja) | 1998-08-24 | 2004-04-26 | 忠弘 大見 | 流体可変型流量制御装置 |
| US6119710A (en) | 1999-05-26 | 2000-09-19 | Cyber Instrument Technologies Llc | Method for wide range gas flow system with real time flow measurement and correction |
| US6449571B1 (en) | 1999-07-09 | 2002-09-10 | Mykrolis Corporation | System and method for sensor response linearization |
| US6343617B1 (en) | 1999-07-09 | 2002-02-05 | Millipore Corporation | System and method of operation of a digital mass flow controller |
| US6575027B1 (en) | 1999-07-09 | 2003-06-10 | Mykrolis Corporation | Mass flow sensor interface circuit |
| US6404612B1 (en) | 1999-07-10 | 2002-06-11 | Mykrolis Corporation | Method for system for driving a solenoid |
| US6445980B1 (en) | 1999-07-10 | 2002-09-03 | Mykrolis Corporation | System and method for a variable gain proportional-integral (PI) controller |
| US6389364B1 (en) | 1999-07-10 | 2002-05-14 | Mykrolis Corporation | System and method for a digital mass flow controller |
| US6138708A (en) * | 1999-07-28 | 2000-10-31 | Controls Corporation Of America | Mass flow controller having automatic pressure compensator |
| JP3554509B2 (ja) | 1999-08-10 | 2004-08-18 | 忠弘 大見 | 圧力式流量制御装置における流量異常検知方法 |
| US6155283A (en) | 1999-09-10 | 2000-12-05 | The Foxboro Company | Intelligent valve positioner tuning |
| US6564194B1 (en) * | 1999-09-10 | 2003-05-13 | John R. Koza | Method and apparatus for automatic synthesis controllers |
| WO2002008845A1 (en) | 2000-07-25 | 2002-01-31 | Fugasity Corporation | Small internal volume fluid mass flow control apparatus |
| US6631334B2 (en) | 2000-12-26 | 2003-10-07 | Mks Instruments, Inc. | Pressure-based mass flow controller system |
| DE60207609T2 (de) * | 2001-04-24 | 2006-08-03 | Celerity Group, Inc., Santa Clara | Verfahren zur Bestimmung einer Ventilöffnung für einen Massenflussregler |
| CN1688948B (zh) * | 2002-07-19 | 2010-05-26 | 布鲁克斯器具有限公司 | 在质量流动控制器中用于压力补偿的方法和装置 |
| US7043374B2 (en) | 2003-03-26 | 2006-05-09 | Celerity, Inc. | Flow sensor signal conversion |
-
2002
- 2002-04-24 DE DE60207609T patent/DE60207609T2/de not_active Expired - Lifetime
- 2002-04-24 US US10/131,603 patent/US6962164B2/en not_active Expired - Lifetime
- 2002-04-24 WO PCT/US2002/013010 patent/WO2002086632A2/en not_active Ceased
- 2002-04-24 CN CNA028105400A patent/CN1514960A/zh active Pending
- 2002-04-24 AU AU2002307547A patent/AU2002307547A1/en not_active Abandoned
- 2002-04-24 KR KR10-2003-7014001A patent/KR20040024854A/ko not_active Ceased
- 2002-04-24 EP EP02764338A patent/EP1384121A2/en not_active Withdrawn
- 2002-04-24 AT AT04002135T patent/ATE310986T1/de not_active IP Right Cessation
- 2002-04-24 JP JP2002584094A patent/JP4864280B2/ja not_active Expired - Fee Related
-
2005
- 2005-03-28 US US11/091,824 patent/US7231931B2/en not_active Expired - Lifetime
- 2005-03-29 US US11/092,144 patent/US7114511B2/en not_active Expired - Lifetime
-
2007
- 2007-05-16 US US11/749,386 patent/US7380564B2/en not_active Expired - Lifetime
-
2009
- 2009-08-07 JP JP2009184196A patent/JP5129793B2/ja not_active Expired - Fee Related
Patent Citations (1)
| Publication number | Priority date | Publication date | Assignee | Title |
|---|---|---|---|---|
| JPS61157912A (ja) * | 1984-12-29 | 1986-07-17 | Nippon Tairan Kk | 質量流量制御装置 |
Cited By (9)
| Publication number | Priority date | Publication date | Assignee | Title |
|---|---|---|---|---|
| WO2013115298A1 (ja) * | 2012-02-03 | 2013-08-08 | 日立金属株式会社 | 流量制御装置及びプログラム |
| JPWO2013115298A1 (ja) * | 2012-02-03 | 2015-05-11 | 日立金属株式会社 | 流量制御装置及びプログラム |
| US9797520B2 (en) | 2012-02-03 | 2017-10-24 | Hitachi Metals, Ltd. | Flow control apparatus and program |
| WO2016064420A1 (en) * | 2014-10-24 | 2016-04-28 | Landmark Graphics Corporation | Inflow control apparatus, methods, and systems |
| GB2548022A (en) * | 2014-10-24 | 2017-09-06 | Landmark Graphics Corp | Inflow control apparatus, methods,and systems |
| US10145220B2 (en) | 2014-10-24 | 2018-12-04 | Landmark Graphics Corporation | Inflow control apparatus, methods, and systems |
| AU2014409559B2 (en) * | 2014-10-24 | 2019-05-23 | Landmark Graphics Corporation | Inflow control apparatus, methods, and systems |
| JP2019505922A (ja) * | 2016-01-22 | 2019-02-28 | イリノイ トゥール ワークス インコーポレイティド | 質量流量制御器上に記憶されるデータ値を動的に構成するシステム及び方法 |
| JP2017191597A (ja) * | 2016-04-12 | 2017-10-19 | 日立金属株式会社 | 質量流量制御装置及び質量流量制御方法 |
Also Published As
| Publication number | Publication date |
|---|---|
| US7231931B2 (en) | 2007-06-19 |
| US6962164B2 (en) | 2005-11-08 |
| JP4864280B2 (ja) | 2012-02-01 |
| KR20040024854A (ko) | 2004-03-22 |
| US7114511B2 (en) | 2006-10-03 |
| US7380564B2 (en) | 2008-06-03 |
| AU2002307547A1 (en) | 2002-11-05 |
| US20020198668A1 (en) | 2002-12-26 |
| ATE310986T1 (de) | 2005-12-15 |
| WO2002086632A3 (en) | 2003-04-10 |
| EP1384121A2 (en) | 2004-01-28 |
| WO2002086632A2 (en) | 2002-10-31 |
| DE60207609T2 (de) | 2006-08-03 |
| US20050167627A1 (en) | 2005-08-04 |
| CN1514960A (zh) | 2004-07-21 |
| US20050166968A1 (en) | 2005-08-04 |
| JP5129793B2 (ja) | 2013-01-30 |
| DE60207609D1 (de) | 2005-12-29 |
| JP2004533049A (ja) | 2004-10-28 |
| US20070215206A1 (en) | 2007-09-20 |
Similar Documents
| Publication | Publication Date | Title |
|---|---|---|
| JP5129793B2 (ja) | 質量流量コントローラのシステムおよび方法 | |
| JP4528617B2 (ja) | マスフローコントローラにおける圧力補償のための方法および装置 | |
| TW538327B (en) | System and method for a mass flow controller | |
| JP6691167B2 (ja) | 流体の流量を制御するための質量流量制御器及び方法 | |
| US20110191038A1 (en) | Mass flow controller with improved dynamic response | |
| KR20120093788A (ko) | 유체제어장치 및 압력제어장치 | |
| US20120197446A1 (en) | Advanced feed-forward valve-control for a mass flow controller | |
| US20180120864A1 (en) | Nonlinear control of mass flow controller devices using sliding mode | |
| EP1457856B1 (en) | Valve displacement determining method for a mass flow controller | |
| JP2003005802A (ja) | 制御方法および制御装置 | |
| JP6799862B2 (ja) | 流量信号補正方法およびこれを用いた流量制御装置 | |
| JP2012168824A (ja) | 流体制御装置 | |
| JP2012168822A (ja) | 流体制御装置 |
Legal Events
| Date | Code | Title | Description |
|---|---|---|---|
| A711 | Notification of change in applicant |
Free format text: JAPANESE INTERMEDIATE CODE: A711 Effective date: 20100402 |
|
| A131 | Notification of reasons for refusal |
Free format text: JAPANESE INTERMEDIATE CODE: A131 Effective date: 20110902 |
|
| A521 | Request for written amendment filed |
Free format text: JAPANESE INTERMEDIATE CODE: A523 Effective date: 20111201 |
|
| A131 | Notification of reasons for refusal |
Free format text: JAPANESE INTERMEDIATE CODE: A131 Effective date: 20120417 |
|
| A521 | Request for written amendment filed |
Free format text: JAPANESE INTERMEDIATE CODE: A523 Effective date: 20120710 |
|
| TRDD | Decision of grant or rejection written | ||
| A01 | Written decision to grant a patent or to grant a registration (utility model) |
Free format text: JAPANESE INTERMEDIATE CODE: A01 Effective date: 20121004 |
|
| A01 | Written decision to grant a patent or to grant a registration (utility model) |
Free format text: JAPANESE INTERMEDIATE CODE: A01 |
|
| A61 | First payment of annual fees (during grant procedure) |
Free format text: JAPANESE INTERMEDIATE CODE: A61 Effective date: 20121102 |
|
| R150 | Certificate of patent or registration of utility model |
Free format text: JAPANESE INTERMEDIATE CODE: R150 Ref document number: 5129793 Country of ref document: JP Free format text: JAPANESE INTERMEDIATE CODE: R150 |
|
| FPAY | Renewal fee payment (event date is renewal date of database) |
Free format text: PAYMENT UNTIL: 20151109 Year of fee payment: 3 |
|
| R250 | Receipt of annual fees |
Free format text: JAPANESE INTERMEDIATE CODE: R250 |
|
| R250 | Receipt of annual fees |
Free format text: JAPANESE INTERMEDIATE CODE: R250 |
|
| R250 | Receipt of annual fees |
Free format text: JAPANESE INTERMEDIATE CODE: R250 |
|
| R250 | Receipt of annual fees |
Free format text: JAPANESE INTERMEDIATE CODE: R250 |
|
| LAPS | Cancellation because of no payment of annual fees |
