JP2010013802A - 防音構造体および鋼製桁橋防音構造 - Google Patents

防音構造体および鋼製桁橋防音構造 Download PDF

Info

Publication number
JP2010013802A
JP2010013802A JP2008172103A JP2008172103A JP2010013802A JP 2010013802 A JP2010013802 A JP 2010013802A JP 2008172103 A JP2008172103 A JP 2008172103A JP 2008172103 A JP2008172103 A JP 2008172103A JP 2010013802 A JP2010013802 A JP 2010013802A
Authority
JP
Japan
Prior art keywords
sound absorbing
soundproof
steel girder
soundproof structure
plate
Prior art date
Legal status (The legal status is an assumption and is not a legal conclusion. Google has not performed a legal analysis and makes no representation as to the accuracy of the status listed.)
Granted
Application number
JP2008172103A
Other languages
English (en)
Other versions
JP4619425B2 (ja
Inventor
Hidekazu Nakano
秀和 中野
Koichi Inatome
康一 稲留
Akihiro Tsuda
晃宏 津田
Rora Kodama
朗蘭 兒玉
Toshihiro Yamazaki
敏宏 山崎
Masanori Anase
勝之 穴瀬
Masayuki Matsumoto
賢之 松本
Eiji Fukuda
栄次 福田
Current Assignee (The listed assignees may be inaccurate. Google has not performed a legal analysis and makes no representation or warranty as to the accuracy of the list.)
KURIMOTO TECHNOS KK
Kurimoto Ltd
Okumura Corp
Original Assignee
KURIMOTO TECHNOS KK
Kurimoto Ltd
Okumura Corp
Priority date (The priority date is an assumption and is not a legal conclusion. Google has not performed a legal analysis and makes no representation as to the accuracy of the date listed.)
Filing date
Publication date
Application filed by KURIMOTO TECHNOS KK, Kurimoto Ltd, Okumura Corp filed Critical KURIMOTO TECHNOS KK
Priority to JP2008172103A priority Critical patent/JP4619425B2/ja
Publication of JP2010013802A publication Critical patent/JP2010013802A/ja
Application granted granted Critical
Publication of JP4619425B2 publication Critical patent/JP4619425B2/ja
Active legal-status Critical Current
Anticipated expiration legal-status Critical

Links

Images

Landscapes

  • Devices Affording Protection Of Roads Or Walls For Sound Insulation (AREA)
  • Bridges Or Land Bridges (AREA)

Abstract

【課題】降雨時に排水可能であり、防音板の劣化、発錆が生じることなく、重量増加の影響も回避できる。また、幅広い周波数の騒音に対応可能であり、鋼製桁橋の下方にある騒音源の防音にも効果が期待できる。
【解決手段】平行に並列して鋼製桁橋を構成する鋼製桁間に配置され得る防音構造体1であって、金属板などからなる遮音板2の上下に、多孔質板、繊維質マットなど吸音材からなる吸音層(上吸音層31、下吸音層32)を積層した構造を基本構造としている。
そして、その特徴的構造は、その遮音板2には、一端から他端にわたり上方に開口した排水溝21、22を設け、この防音構造体1の上面で受けた雨水を外部に排水可能とするとともに、遮音板2と下吸音層32との間にその排水溝21、22と並列して吸音空気層4を設けた。
【選択図】 図1

Description

本発明は、鋼製桁橋に用いられる防音構造体および鋼製桁橋防音構造の改良に関するものである。
従来、鋼製桁橋は、鋼製桁を平行に列設して構築される。これら鋼製桁橋は、特に鉄道橋では一般のコンクリート橋に比較して車両走行時の騒音が大きいため、側面や下面に遮音板を設置して騒音の拡散を防止することが行われている。例えば、特許文献1には、鉄道橋に供される鋼製桁の下方領域に対する防音構造体として、鋼製桁の下面にゴムまたは軟質プラスチックなどの曲げ剛性を持った遮音シートを取り付けた構造が開示されている。
この防音構造では、遮音シートの曲げ剛性値を選択することにより、特定の周波数域を効果的に遮音することが提案されている。ところが、このような鋼製桁橋の防音施設の場合、その上面は通常、露天に開放されているため、降雨時には、降り注いだ雨水が下方の遮音板に滞留し、金属製枠体や支持フレームを腐食するおそれがあることから、別途排水構造を付設する必要があった。また、特許文献1のような遮音板のみの防音構造では、幅広い周波数の騒音に対応が困難であったり、また、鋼製桁橋の下方に他の交通機関の騒音源がある場合には、その騒音を周辺に反射、拡散させるなど不具合があった。
特開2003−342912号公報:特許請求の範囲、図2、3、4、5など・
本発明は、上記の問題点を解決するためになされたものであり、鋼製桁橋に供される鋼製桁間に配置される防音構造体に関するものであり、降雨時に排水可能であり、防音板の劣化、発錆が生じることなく、重量増加の影響も回避できる。また、幅広い周波数の騒音に対応可能であり、鋼製桁橋の下方にある騒音源の防音にも効果が期待できる防音構造体および製綱桁橋防音構造を提供する。
上記の問題は、遮音板の上下に吸音層を積層してなり、平行に並列して鋼製桁橋を構成する鋼製桁間に配置され得る防音構造体であって、当該遮音板には、一端から他端にわたり上方に開口した排水溝を設け、この防音構造体の上面で受けた雨水を外部に排水可能とすることによって解決できる。
さらに、遮音板と下吸音層との間にその排水溝と並列して吸音空気層を設けることにより、鋼製桁橋の下方にある騒音源の防音にも効果が期待できる。
また、この本発明は、前記排水溝を平面外形が矩形からなる遮音板の一方の側縁部に設けるとともに、その排水溝の外側壁板上端部分に屈曲部を設け、当該防音構造体を複数、列設配置したとき、隣り合う防音構造体の遮音板の他方の側縁部の先端部分を、その屈曲部により被覆可能とした形態、または、他方の側縁部の先端部分に屈曲部を設け、当該防音構造体を複数、列設配置したとき、隣り合う防音構造体の排水溝の外側壁板上端部を、その屈曲部により被覆可能とした形態に具体化される。
さらに、これら本発明は、金属製の前記遮音板の相対する側縁部の両方に前記排水溝を設けるとともに、一方の排水溝の外側壁板上端部に屈曲部を設け、当該防音構造体を複数、列設配置したとき、隣り合う防音構造体に設けられた他方の排水溝の外側壁板上端部を、その屈曲部により被覆可能とした形態に好ましく具体化される。
また、本発明では、前記吸音層のうち、少なくとも前記上吸音層を、撥水性フィルムで被覆した吸音材によって構成し、前記の上吸音層の上面、下吸音層の下面には孔明き板を添着して、吸音層、遮音板、排水溝、空気層、孔明き板を一体化して防音板ユニットを形成した形態の防音構造体とするのが好ましい。
また、上記の問題は以下の本発明の鋼製桁橋防音構造によって解決される。すなわち、鋼製桁橋を構成する対向する鋼製桁間において、前記各形態の防音構造体を架け渡して配置したことを特徴とする鋼製桁橋防音構造である。
さらに、その鋼製桁に支承材を固定し、その支承材間に前記防音構造体を架け渡したことを特徴とする鋼製桁橋防音構造である。
特に、前記鋼製桁がI形鋼製桁であり、I形鋼製桁に断面L形の支承材を桁行き方向に固定し、その支承材間に前記防音構造体を架け渡したことを特徴とする鋼製桁橋防音構造とするのが好ましい。
本発明の防音構造体は、鋼製桁橋を通行する車両などの騒音の拡散を防止できるうえ、露天に配置されても雨水を排水できる排水溝をその内部に備えているから、降雨時に排水可能であり、吸音材の材質劣化、金属部材の発錆が生じることなく、浸水による吸音材の重量増加の影響も回避できる。さらに、内部に吸音空間をも備えているので幅広い周波数の騒音に対応可能である。下側に吸音層があるので鋼製桁橋の下方にある騒音源の防音にも効果がある。またユニット化することで容易に鋼製桁橋防音構造を提供できるなどの、すぐれた効果がある。よって本発明は、従来の問題点を解消した防音構造体および鋼製桁橋防音構造として、実用的価値はきわめて大なるものがある。
次に、本発明の実施形態について、防音構造体に続いて鋼製桁橋防音構造の順に、図1〜5を参照しながら説明する。
(防音構造体)
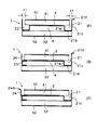
本発明の防音構造体1は、平行に並列して鋼製桁橋を構成する鋼製桁間に配置され得る防音構造体1であって、金属板などからなる遮音板2の上下に、多孔質板、繊維質マットなど吸音材からなる吸音層(上吸音層31、下吸音層32)を積層した構造を基本構造としている。
(第1実施形態)
そして、その特徴的構造は、図1に示すように、その遮音板2には、一端から他端にわたり上方に開口した断面略コ字状の排水溝21、22を設け、この防音構造体1の上面で受けた雨水を外部に排水可能とするとともに、遮音板2と下吸音層32との間にその排水溝21、22と並列して吸音空気層4を設けたことを特徴とする。排水溝21,22は断面略コ字状に限定されず、吸音空気層4を構成する一定の深さがあれば、断面略U字状等の形状が採用できる。
図1、図2、図3(A)に図示の構造は、金属製の遮音板2、例えば、厚さ1.6mm亜鉛めっき鋼板からなる遮音板2の長手方向側縁部の一方において、下方に屈曲加工し、内側壁板21a、底板21b、外側壁板21cからなる上方に開口した断面略コ字状の排水溝21を設け、同様に他方の長手方向側縁部にも同様にして、排水溝22(内側壁板22a、底板22b、外側壁板22c)を設ける。
かくして、この排水溝21、22で挟まれる遮音板の平板部分23は、排水溝21、22より高く位置するので、防音構造体1の上面で受けた雨水は、この排水溝21、22に誘導、集水され、外部に排水可能となる。同時に、浸水に基づく上吸音層31を構成の吸音材の劣化、その他の金属部材の発錆などが防止でき、吸音材の重量増加の影響も回避できることになる。
さらに、この排水溝21、22で挟まれる遮音板の平板部分23は、上吸音層31と密接して積層されるが、両端を底板21b、22bに裏面に接して配置した下吸音層32との間には、排水溝21、22の深さに相当する間隔を持った空間4が配置されることになり、この空間が下吸音層32の存在とあいまって、特に、低い周波数に対する吸音性能を向上させる作用がある。
なお、下方からの騒音の周波数に対して当該吸音空間が有効では無い場合には、当該吸音空間に吸音材を充填し、吸音層とすることもできる。
この図3(Aの)実施形態では、上吸音板31の端面と排水溝21、22の外側壁板21c、22cとの間に隙間t1、t2が設けられているが、この隙間は、雨水の集水にはある程度空けるのがよいが、過大に空けると防音性能が低下する恐れもあるので、雨水の流入に差支えない程度とすればよいものである。
さらに、この第1実施形態では、一方の排水溝21の外側壁板21cの上端部に外側横方向に折り曲げた屈曲部21dを設けて、これら防音構造体1を複数、列設配置し鋼製桁橋防音構造を構成した場合、隣り合って配置される他の防音構造体に設けられた他方の排水溝22の外側壁板22cの上端部をその屈曲部21dにより被覆できるようにするのが適当である。このとき、上吸音板31の上面が外側壁板22cの上端よりも低い位置であり、上吸音板と屈曲部21dの間に隙間を設けるようにすれば、雨水が排水溝21、22へ集水されやすく、好ましい。
かくして、複数の防音構造体1、1を列設配置したとき、防音構造体1の上面で受けた雨水が、両防音構造体の隙間から漏れることなく、排水溝21、22に集水できる利点が得られる。この目的には、前記屈曲部21dを折り返した略逆U字状に形成して、他方の排水溝22の外側壁板22cの上端部を挟み込むようにするのも好ましい。
(第2実施形態)
図3(B)に例示する第2実施形態では、排水溝21を平面外形が矩形からなる遮音板2の長手方向に沿った一方の側縁部に設けるとともに、その排水溝21の外側壁板21c上端部分に、外側横方向に折り曲げた屈曲部21dを設けている。この構造は、先の図3(A)と同様である。
そして、これら防音構造体を複数、列設配置したとき、隣り合う防音構造体の遮音板2の他方の側縁部(先の図3(A)とは異なり排水溝は設けられていない)の上方に屈曲させた屈曲壁板24の先端部分を、その屈曲部21dが被覆できるように形成されている。
この場合、かくして、この実施形態では、排水溝21が遮音板2の片側にだけ設けられているのであるが、防音構造体1、1の上面で受けた雨水が、両防音構造体1、1の隙間から漏れることなく、最終的には排水溝21に集水できるのである。
なお、この場合でも、排水溝が設けられていない遮音板2の他方の側縁部にはスペーサ25が遮音板2と下吸音層32との間に装着され、吸音空間4が第1実施形態と同様な間隔をもって形成されている。
また、平板23に排水溝21に向けて傾斜を設けると、集水しやすくなり好ましい。
(第3実施形態)
図3(C)に例示する第3実施形態では、排水溝21を平面外形が矩形からなる遮音板2の長手方向に沿った一方の側縁部に設けるとともに、他方の側縁部(先の図3(A)とは異なり排水溝は設けられていない)の上方に屈曲させた屈曲壁板24の先端部分に横方向の屈曲部24dを設けて、それら防音構造体1、1を複数、列設配置したとき、隣り合う防音構造体における排水溝21の外側壁板21cの上端部を、その屈曲部24dにより被覆できるよう構成されている。
すなわち、第2実施形態とは、図3(B)の屈曲部21dが省略された代わりに、図3(C)ように反対側に屈曲部24dが設けられ、実質的に同様な作用効果が得られるよう配置されているのである。したがって、その他の構造は、第2実施形態の場合と同様であるので説明を省く。
以上説明した各実施形態において、前記吸音層31としては、撥水性フッ素樹脂フィルムで被覆したポリエステル繊維からなる吸音材によって厚さ25mm程度に構成すると、好ましい吸音性能、耐水性能が得られるので好適である。前記下吸音層32としても同様の構成を採用できるが、厚さ25mm程度のポリエステル繊維からなる吸音材のみで構成してもよい。なお、これらの撥水性フィルム、吸音材としては、この他公知のものが使用できる。
また、前記上吸音層31の上面、および下吸音層32の下面には孔明き板51、52を添着して、吸音層31、32の保護に役立たせるとともに、この吸音層31、32、遮音板2、排水溝21(22)、空気層4、孔明き板51、52を一体化して防音板ユニットを形成するのが、吸音構造体のハンドリング上より好ましいものとなる。この場合、穴明き板51、52は、適宜厚さのステンレス製金網、同エキスパンドメタル、パンチングメタル、グレーティングなどのように上下に多数の通気孔が設けられている板材が利用可能である。
(鋼製桁橋防音構造)
本発明の鋼製桁橋防音構造を図4、5を参照して説明する。
枕木7を支承して鉄道橋を構成している一組の鋼製桁6、6の間に、先に述べた本発明の防音構造体1、1を架け渡して配置したもので、そのI形鋼製桁6、6に断面L形の支承材66を桁行き方向に固定し、その支承材間66に前記防音構造体1、1を架け渡したことを特徴とするものである。
鋼製桁6がI形鋼製桁であり、鋼製桁の剛性を補強するために一定間隔で垂直補剛材63が設置されている場合は、先ず、対象となるI形鋼製桁(6、6)の対向面において、I形鋼製桁のフランジ62およびウエブ61に設置されているライナー状の垂直補剛材63に、横断面T字状の取付け金具65を配置し、この取付け金具65に縦断面L形の支承材66を桁方向(横方向)に取付け固定する。
かくして、対向、固定された1組の支承材66は、水平支承部66aを内側に突出し向き合わせて配置されるので、必要枚数の防音構造体1を並列させ、その両端部分をこの支承材66の水平支承部66aに架け渡し、固定ボルト17で固定することによって、本発明の鋼製桁橋防音構造が得られる。
また、前記支承材は縦断面L形に限らず、H形、T形等の水平支承部66aを有する形状であればよい。また、対向した1組の支承材に代えて、1体の支承材を鋼製桁間に掛け渡してもよい。また、防音構造体1は、支承材66の水平支承部66aの下面に取り付け、固定ボルトで固定するようにしてもよい。
さらに、垂直補剛材63を備えていないI形鋼製桁の場合は、支承材66をI形鋼製桁のウエブ61に直接取り付け固定してもよい。また、鋼製桁がI形鋼ではない場合であっても、対向する側面に直接縦断面L形の支承材66を直接的、または側面に一定間隔で取り付けられた垂直部材などを介して間接的に取付けることにより、防音構造体1を固定することができ、本発明の鋼製桁橋防音構造が得られる。
本発明の鋼製桁橋防音構造によれば、如上の本発明の防音構造体の利点を鋼製桁橋として発揮できる。すなわち、鋼製桁橋を通行する車両などの騒音を吸音できるうえ、上面に受けた雨水を排水できる排水溝をその内部に備えているから、降雨時に排水可能となるとともに、浸水による吸音材の材質劣化、金属部材の発錆や、吸音材の重量増加も回避できる。さらに、内部に吸音空間を持つので幅広い周波数の騒音に対応できるうえ、鋼製桁橋の下方の道路の走行騒音など防音にも有効な利点が得られるのである。
本発明の防音構造体を説明するための要部断面展開図。 実施形態の要部平面図(A)、側面図(B)。 実施形態の変形例を示す断面図(A)(B)(C)。 本発明の防音構造体の鋼製桁橋への配置状態を示す側面図(A)、a‐a平面図(B)。 同上取付け個所の拡大側面図。
符号の説明
1:防音構造体
2:遮音板、21、22:排水溝、21a、22a:内側壁板、21b、22b:底板、21c、22c:外側壁板、21d:屈曲部、23:平板部分
31:上吸音層、32:下吸音層
4:吸音空気層

Claims (8)

  1. 遮音板の上下に吸音層を積層してなり、平行に並列して鋼製桁橋を構成する鋼製桁間に配置され得る防音構造体であって、当該遮音板には、一端から他端にわたり上方に開口した排水溝を設けたことを特徴とする防音構造体。
  2. 請求項1の防音構造体において、前記遮音板と前記下吸音層との間にその排水溝と並列して吸音空気層を設けたことを特徴とする防音構造体。
  3. 前記排水溝を平面外形が矩形からなる遮音板の一方の側縁部に設けるとともに、その排水溝の外側壁板上端部分に屈曲部を設け、当該防音構造体を複数、列設配置したとき、隣り合う防音構造体の遮音板の他方の側縁部の先端部分を、その屈曲部により被覆可能とした、または、他方の側縁部の先端部分に屈曲部を設け、当該防音構造体を複数、列設配置したとき、隣り合う防音構造体の排水溝の外側壁板上端部を、その屈曲部により被覆可能とした請求項1または2に記載の防音構造体。
  4. 金属製の前記遮音板の相対する側縁部の両方に前記排水溝を設けるとともに、一方の排水溝の外側壁板上端部に屈曲部を設け、当該防音構造体を複数、列設配置したとき、隣り合う防音構造体に設けられた他方の排水溝の外側壁板上端部を、その屈曲部により被覆可能とした請求項1または2に記載の防音構造体。
  5. 前記吸音層のうち、少なくとも前記上吸音層を、撥水性フィルムで被覆した吸音材によって構成し、前記上吸音層の上面、下吸音層の下面には孔明き板を添着して、吸音層、遮音板、排水溝、空気層、孔明き板を一体化して防音板ユニットを形成した請求項1〜4のいずれかに記載の防音構造体。
  6. 鋼製桁橋を構成する対向する鋼製桁間において、請求項1〜5のいずれかに記載の防音構造体を架け渡して配置したことを特徴とする鋼製桁橋防音構造。
  7. 前記鋼製桁に支承材を固定し、その支承材間に前記防音構造体を架け渡したことを特徴とする請求項6に記載の鋼製桁橋防音構造。
  8. 前記鋼製桁がI形鋼製桁であり、I形鋼製桁に断面L形の支承材を桁行き方向に固定し、その支承材間に前記防音構造体を架け渡したことを特徴とする請求項7に記載の鋼製桁橋防音構造。

JP2008172103A 2008-07-01 2008-07-01 防音構造体および鋼製桁橋防音構造 Active JP4619425B2 (ja)

Priority Applications (1)

Application Number Priority Date Filing Date Title
JP2008172103A JP4619425B2 (ja) 2008-07-01 2008-07-01 防音構造体および鋼製桁橋防音構造

Applications Claiming Priority (1)

Application Number Priority Date Filing Date Title
JP2008172103A JP4619425B2 (ja) 2008-07-01 2008-07-01 防音構造体および鋼製桁橋防音構造

Publications (2)

Publication Number Publication Date
JP2010013802A true JP2010013802A (ja) 2010-01-21
JP4619425B2 JP4619425B2 (ja) 2011-01-26

Family

ID=41700149

Family Applications (1)

Application Number Title Priority Date Filing Date
JP2008172103A Active JP4619425B2 (ja) 2008-07-01 2008-07-01 防音構造体および鋼製桁橋防音構造

Country Status (1)

Country Link
JP (1) JP4619425B2 (ja)

Cited By (2)

* Cited by examiner, † Cited by third party
Publication number Priority date Publication date Assignee Title
JP2016118064A (ja) * 2014-12-22 2016-06-30 新中央工業株式会社 道路用遮音壁等の遮音板固定化構造と遮音板留め金具及び遮音板
JP2022096676A (ja) * 2020-12-18 2022-06-30 Jfeスチール株式会社 鋼橋の桁間カバー構造およびこれを備えた鋼橋

Citations (7)

* Cited by examiner, † Cited by third party
Publication number Priority date Publication date Assignee Title
JPS4993617U (ja) * 1972-11-30 1974-08-13
JPS4993616U (ja) * 1972-11-30 1974-08-13
JPS5630212U (ja) * 1979-08-14 1981-03-24
JPS5663712U (ja) * 1979-10-24 1981-05-28
JPH08120624A (ja) * 1994-10-24 1996-05-14 Daido Concrete Kogyo Kk 並列する橋体隙間の遮蔽装置
JP2000144968A (ja) * 1998-11-04 2000-05-26 Kawasaki Steel Corp 吸音材及び吸音パネル
JP2003342912A (ja) * 2002-05-24 2003-12-03 East Japan Railway Co 鋼桁橋の遮音工

Patent Citations (7)

* Cited by examiner, † Cited by third party
Publication number Priority date Publication date Assignee Title
JPS4993617U (ja) * 1972-11-30 1974-08-13
JPS4993616U (ja) * 1972-11-30 1974-08-13
JPS5630212U (ja) * 1979-08-14 1981-03-24
JPS5663712U (ja) * 1979-10-24 1981-05-28
JPH08120624A (ja) * 1994-10-24 1996-05-14 Daido Concrete Kogyo Kk 並列する橋体隙間の遮蔽装置
JP2000144968A (ja) * 1998-11-04 2000-05-26 Kawasaki Steel Corp 吸音材及び吸音パネル
JP2003342912A (ja) * 2002-05-24 2003-12-03 East Japan Railway Co 鋼桁橋の遮音工

Cited By (3)

* Cited by examiner, † Cited by third party
Publication number Priority date Publication date Assignee Title
JP2016118064A (ja) * 2014-12-22 2016-06-30 新中央工業株式会社 道路用遮音壁等の遮音板固定化構造と遮音板留め金具及び遮音板
JP2022096676A (ja) * 2020-12-18 2022-06-30 Jfeスチール株式会社 鋼橋の桁間カバー構造およびこれを備えた鋼橋
JP7509023B2 (ja) 2020-12-18 2024-07-02 Jfeスチール株式会社 鋼橋の桁間カバー構造およびこれを備えた鋼橋

Also Published As

Publication number Publication date
JP4619425B2 (ja) 2011-01-26

Similar Documents

Publication Publication Date Title
JP6271213B2 (ja) 吸音パネル及び防音壁設備
US5259157A (en) Acoustical deck panel assembly
JP5308006B2 (ja) 吸音構造体
JP5308245B2 (ja) 壁用構造体
JP7481931B2 (ja) 遮音壁およびそれに用いられる遮音パネル
KR200252277Y1 (ko) 방음판
KR102186348B1 (ko) 고강성구조 c형강을 적용한 방음벽지주
KR102088795B1 (ko) 투수기능을 갖는 교량의 신축이음구조 및 그의 시공방법
JP4619425B2 (ja) 防音構造体および鋼製桁橋防音構造
RU2324795C2 (ru) Акустический экран кочетова
JP2009215725A (ja) 鋼製桁用防音板およびそれを用いた防音構造体
JP3658645B2 (ja) 両面吸音板
JP2002201731A (ja) 防音壁
KR102287929B1 (ko) 방음벽용 방음패널
JP2005030116A (ja) 移動音源用可視型防音壁及び防音ユニット
JP7795854B2 (ja) 吸音パネル
KR102103117B1 (ko) 목재패널을 구비하는 방음패널 조립체
JP4437278B2 (ja) 防音板およびこれを用いた防音構造
JP4251969B2 (ja) 防音装置および防音壁
JP3658644B2 (ja) 上方に放射される交通騒音の低減構造
JP4650889B2 (ja) 防音壁
JP4091836B2 (ja) 鉄道用防音壁
JP2007255052A (ja) 透光性防音板および防音壁
JP4871709B2 (ja) 防音ユニット取付構造
JP2014114675A (ja) 道路橋用遮音部材

Legal Events

Date Code Title Description
A711 Notification of change in applicant

Free format text: JAPANESE INTERMEDIATE CODE: A711

Effective date: 20100303

A977 Report on retrieval

Free format text: JAPANESE INTERMEDIATE CODE: A971007

Effective date: 20100428

A131 Notification of reasons for refusal

Free format text: JAPANESE INTERMEDIATE CODE: A131

Effective date: 20100514

A521 Request for written amendment filed

Free format text: JAPANESE INTERMEDIATE CODE: A523

Effective date: 20100712

A131 Notification of reasons for refusal

Free format text: JAPANESE INTERMEDIATE CODE: A131

Effective date: 20100730

A521 Request for written amendment filed

Free format text: JAPANESE INTERMEDIATE CODE: A523

Effective date: 20100928

TRDD Decision of grant or rejection written
A01 Written decision to grant a patent or to grant a registration (utility model)

Free format text: JAPANESE INTERMEDIATE CODE: A01

Effective date: 20101026

A01 Written decision to grant a patent or to grant a registration (utility model)

Free format text: JAPANESE INTERMEDIATE CODE: A01

A61 First payment of annual fees (during grant procedure)

Free format text: JAPANESE INTERMEDIATE CODE: A61

Effective date: 20101026

FPAY Renewal fee payment (event date is renewal date of database)

Free format text: PAYMENT UNTIL: 20131105

Year of fee payment: 3

R150 Certificate of patent or registration of utility model

Ref document number: 4619425

Country of ref document: JP

Free format text: JAPANESE INTERMEDIATE CODE: R150

Free format text: JAPANESE INTERMEDIATE CODE: R150

R250 Receipt of annual fees

Free format text: JAPANESE INTERMEDIATE CODE: R250

R250 Receipt of annual fees

Free format text: JAPANESE INTERMEDIATE CODE: R250

R250 Receipt of annual fees

Free format text: JAPANESE INTERMEDIATE CODE: R250

R250 Receipt of annual fees

Free format text: JAPANESE INTERMEDIATE CODE: R250

R250 Receipt of annual fees

Free format text: JAPANESE INTERMEDIATE CODE: R250

R250 Receipt of annual fees

Free format text: JAPANESE INTERMEDIATE CODE: R250

R250 Receipt of annual fees

Free format text: JAPANESE INTERMEDIATE CODE: R250

R250 Receipt of annual fees

Free format text: JAPANESE INTERMEDIATE CODE: R250

R250 Receipt of annual fees

Free format text: JAPANESE INTERMEDIATE CODE: R250

R250 Receipt of annual fees

Free format text: JAPANESE INTERMEDIATE CODE: R250