JP2010012243A - スピーカボックスを筐体の内部に備える遊技機 - Google Patents

スピーカボックスを筐体の内部に備える遊技機 Download PDF

Info

Publication number
JP2010012243A
JP2010012243A JP2009135523A JP2009135523A JP2010012243A JP 2010012243 A JP2010012243 A JP 2010012243A JP 2009135523 A JP2009135523 A JP 2009135523A JP 2009135523 A JP2009135523 A JP 2009135523A JP 2010012243 A JP2010012243 A JP 2010012243A
Authority
JP
Japan
Prior art keywords
box
speaker
unit
housing
gaming machine
Prior art date
Legal status (The legal status is an assumption and is not a legal conclusion. Google has not performed a legal analysis and makes no representation as to the accuracy of the status listed.)
Granted
Application number
JP2009135523A
Other languages
English (en)
Other versions
JP5363880B2 (ja
Inventor
Yusuke Shimada
裕介 島田
Yuichi Joho
裕一 常包
Current Assignee (The listed assignees may be inaccurate. Google has not performed a legal analysis and makes no representation or warranty as to the accuracy of the list.)
Universal Entertainment Corp
Original Assignee
Universal Entertainment Corp
Priority date (The priority date is an assumption and is not a legal conclusion. Google has not performed a legal analysis and makes no representation as to the accuracy of the date listed.)
Filing date
Publication date
Application filed by Universal Entertainment Corp filed Critical Universal Entertainment Corp
Publication of JP2010012243A publication Critical patent/JP2010012243A/ja
Application granted granted Critical
Publication of JP5363880B2 publication Critical patent/JP5363880B2/ja
Expired - Fee Related legal-status Critical Current
Anticipated expiration legal-status Critical

Links

Images

Landscapes

  • Slot Machines And Peripheral Devices (AREA)

Abstract

【課題】スピーカから出力される効果音等の音質を向上させると共に、保守作業を容易にした遊技機を提供すること。
【解決手段】本発明の遊技機1は、遊技媒体の投入口を有する筐体と、上部に遊技媒体を投入可能な開放部42を有する払出装置40と、払出装置40の上方に配置され、遊技媒体を開放部42に案内する案内部53と、スピーカユニットと、案内部53の近傍における払出装置40の上方に配置され、スピーカユニットが配設される第1ボックスと、第1ボックスの内部に出力された音を放出する放出パイプを有する第2ボックスと、第1ボックスと第2ボックスとを連通させる連通部130と、を有するスピーカボックス100と、を備え、連通部130は、払出装置40の背面側Rにおいて案内部53と対向するように配置されると共に、筐体の背面側Rから前面側Fに向かって下り傾斜する傾斜部を有する。
【選択図】図5

Description

本発明は、スピーカボックスを筐体の内部に備える遊技機に関する。
従来より、遊技状況に応じてバックグラウンドミュージックや効果音、若しくは音声等を出力することにより、遊技者の遊技に対する興趣を高める演出が行われる遊技機が知られている。例えば、複数の図柄を変動表示するリールを複数配列して構成される遊技機においては、図柄が変動表示されているときにスピーカから所定の効果音を出力させたり、図柄が特定の組合せ(入賞図柄)になった場合にスピーカからバックグラウンドミュージック等を出力させることによって、遊技における雰囲気を盛り上げる演出が行われている。
ところで、近年においては、スピーカから出力される音の音質は、映像等による演出と同様に、遊技者の興趣を向上させるための重要な要素の1つとして注目されている。例えば、スピーカを個別のスピーカボックスに取り付けることによりスピーカから出力される音の音質を向上させ、遊技者の興趣の向上を図った遊技機が開示されている(例えば、特許文献1参照)。
一方、遊技機には、一般に、投入された遊技媒体を貯留すると共に、遊技の結果に応じて遊技媒体の払い出しを行う払出装置が設けられている。払出装置は、投入された遊技媒体を貯留すると共に、所定量以上の遊技媒体が堆積した場合にはエラーを報知するように構成されている(例えば、特許文献2参照)。
更に、払出装置に貯留される遊技媒体の貯留量が減少したときに、遊技媒体を自動補給機により補給可能な遊技機が開示されている(例えば、特許文献1参照)。特許文献3に開示の遊技機は、払出装置に貯留される遊技媒体が所定量以下になったときに、遊技機の背面側に設けられる補給部から遊技媒体を補給することにより、払出装置に貯留される遊技媒体が不足することを防止することが可能になる。
特開2000−296211号公報 特開2006−230784号公報 特開2007−44143号公報
しかしながら、特許文献1に開示の遊技機は、遊技に係る効果音等の音質を向上させることは可能となるが、スピーカボックスを遊技機の筐体正面に配置しているため他の演出、例えば、映像等による演出を行う領域が狭くなるという問題があった。
また、特許文献2及び3に開示の遊技機のように上方が開放された開放部を有する払出装置においては、例えば、払出装置内における遊技媒体の偏った堆積やメダルの落下速度との関係等により、投入時に遊技媒体が開放部から飛散する場合がある。同様に、補給部を介して自動補給機により遊技媒体を補給する場合、補給部と払出装置の開放部とが離間していることより、自動補給機により大量の遊技媒体が排出されると、遊技媒体が開放部から飛散する場合がある。遊技媒体が開放部から飛散すると、遊技媒体が筐体内部にばらまかれ、回収が困難となる。そして、筐体内部にばらまかれた遊技媒体を回収することは、管理者にとって非常に煩わしい作業であった。
本発明は、スピーカから出力される効果音等の音質を向上させると共に、筐体内部に配置される払出装置から遊技媒体が飛散することを抑制することにより、保守作業を容易にした遊技機を提供することを目的とする。
(1) 遊技媒体が投入される投入口を前面に有する筐体と、前記筐体の内部に配置され、上部に前記遊技媒体を投入可能な開放部を有する払出装置と、前記筐体の内部における前記払出装置の上方に配置され、前記投入口から投入される前記遊技媒体を前記開放部に案内する案内部と、音を出力するスピーカユニットと、前記案内部の近傍における前記払出装置の上方に配置され、前記スピーカユニットが配設される第1ボックスと、前記第1ボックスの内部に出力された音を放出する放出パイプを有する第2ボックスと、前記第1ボックスと前記第2ボックスとを連通させる連通部と、を有するスピーカボックスと、を備え、前記連通部は、前記払出装置の背面側において前記案内部と対向するように配置されると共に、前記筐体の背面側から前面側に向かって下り傾斜する傾斜部を有することを特徴とする遊技機。
(1)記載の発明によれば、本発明の遊技機は、スピーカユニットが配設される第1ボックスと、前記第1ボックスの内部に出力された音を放出する放出パイプを有する第2ボックスと、前記第1ボックスと前記第2ボックスとを連通させる連通部と、を有するバスレフ型のスピーカボックスを備える。そのため、スピーカユニットから出力された音は、スピーカボックスの内部空間を音響空間として利用可能となると共に、放出パイプから重低音が増幅されて出力されるため、臨場感に溢れる演出を行うことができる。これにより、遊技者の遊技に対する興味や興奮を高揚させることが可能となる。
また、本発明の遊技機は、払出装置に設けられる開放部の上方にスピーカボックスを配置すると共に、筐体の背面側から前面側に向かって下り傾斜する傾斜部を有する連通部が払出装置の背面側に配置される。そのため、例えば、案内部から投入された遊技媒体が筐体の背面側に飛散した場合においても、遊技媒体を払出装置側に誘導させることが可能になる。これにより、筐体の床面等に遊技媒体が散点することを抑制することが可能になり、遊技機の保守作業が容易になる。
(2) 前記スピーカボックスが前記開放部の少なくとも一部を覆うように配置されることを特徴とする(1)に記載の遊技機。
(2)記載の発明によれば、本発明の遊技機は、更に、スピーカボックスが前記開放部の少なくとも一部を覆うように配置される。そのため、遊技媒体の投入を妨げることなく、例えば、遊技媒体が払出装置の外部に飛散することを防止することが可能になる。これにより、筐体の床面等に遊技媒体が散点することを防止することが可能になり、遊技機の保守作業が容易になる。
(3) 筐体と、前記筐体の内部に配置され、上部に遊技媒体を投入可能な開放部を有する払出装置と、前記筐体の背面における前記払出装置の上方に設けられ、前記筐体の外部から前記払出装置に前記遊技媒体を補給可能な補給部と、音を出力するスピーカユニットと、前記筐体の内部における前記払出装置の上方に配置され、前記スピーカユニットが配設される第1ボックスと、前記第1ボックスの内部に出力された音を放出する放出パイプを有する第2ボックスと、前記第1ボックスと前記第2ボックスとを連通させる連通部と、を有するスピーカボックスと、を備え、前記連通部は、前記補給部の下方に配置されると共に、前記筐体の背面側から前面側に向かって下り傾斜する傾斜部を有することを特徴とする遊技機。
(3)記載の遊技機によれば、本発明の遊技機は、スピーカユニットが配設される第1ボックスと、前記第1ボックスの内部に出力された音を放出する放出パイプを有する第2ボックスと、前記第1ボックスと前記第2ボックスとを連通させる連通部と、を有するバスレフ型のスピーカボックスを備える。そのため、スピーカユニットから出力された音は、スピーカボックスの内部空間を音響空間として利用可能となると共に、放出パイプから重低音が増幅されて出力されるため、臨場感に溢れる演出を行うことができる。これにより、遊技者の遊技に対する興味や興奮を高揚させることが可能となる。
また、本発明の遊技機は、払出装置に設けられる開放部の上方にスピーカボックスを配置すると共に、筐体の背面側から前面側に向かって下り傾斜する傾斜部を有する連通部が補給部の下方に配置される。そのため、例えば、補給部から補給された遊技媒体を零すことなく払出装置側に誘導させることが可能になる。これにより、筐体の床面等に遊技媒体が散点することを抑制することが可能になり、遊技機の保守作業が容易になる。
(4) 前記スピーカボックスが前記開放部の少なくとも一部を覆うように配置されることを特徴とする(3)に記載の遊技機。
(4)記載の発明によれば、本発明の遊技機は、更に、スピーカボックスが前記開放部の少なくとも一部を覆うように配置される。そのため、遊技媒体の投入を妨げることなく、例えば、遊技媒体が払出装置の外部に飛散することを防止することが可能になる。これにより、筐体の床面等に遊技媒体が散点することを防止することが可能になり、遊技機の保守作業が容易になる。
(5) 遊技媒体が投入される投入口を前面に有する筐体と、前記筐体の背面における払出装置の上方に設けられ、前記筐体の外部から前記払出装置に前記遊技媒体を補給可能な補給部と、前記筐体の内部に配置され、上部に前記遊技媒体を投入可能な開放部を有する払出装置と、前記筐体の内部における前記払出装置の上方に配置され、前記投入口から投入される前記遊技媒体を前記開放部に案内する案内部と、音を出力するスピーカユニットと、前記案内部の近傍における前記払出装置の上方に配置され、前記スピーカユニットが配設される第1ボックスと、前記第1ボックスの内部に出力された音を放出する放出パイプを有する第2ボックスと、前記第1ボックスと前記第2ボックスとを連通させる連通部と、を有するスピーカボックスと、を備え、前記連通部は、前記補給部の下方において前記案内部と対向するように配置されると共に、前記筐体の背面側から前面側に向かって下り傾斜する傾斜部を有することを特徴とする遊技機。
(5)記載の発明によれば、本発明の遊技機は、スピーカユニットが配設される第1ボックスと、前記第1ボックスの内部に出力された音を放出する放出パイプを有する第2ボックスと、前記第1ボックスと前記第2ボックスとを連通させる連通部と、を有するバスレフ型のスピーカボックスを備える。そのため、スピーカユニットから出力された音は、スピーカボックスの内部空間を音響空間として利用可能となると共に、放出パイプから重低音が増幅されて出力されるため、臨場感に溢れる演出を行うことができる。これにより、遊技者の遊技に対する興味や興奮を高揚させることが可能となる。
また、本発明の遊技機は、払出装置に設けられる開放部の上方にスピーカボックスを配置すると共に、筐体の背面側から前面側に向かって下り傾斜する傾斜部を有する連通部が払出装置の背面側に配置される。また、連通部は、補給部の下方に配置される。そのため、
例えば、案内部から投入された遊技媒体が筐体の背面側に飛散した場合においても、遊技媒体を払出装置側に誘導させることが可能になる。また、例えば、補給部から補給された遊技媒体を零すことなく払出装置側に誘導させることが可能になる。これにより、筐体の床面等に遊技媒体が散点することを抑制することが可能になり、遊技機の保守作業が容易になる。
(6) 前記スピーカボックスが前記開放部の少なくとも一部を覆うように配置されることを特徴とする(5)に記載の遊技機。
(6)記載の発明によれば、本発明の遊技機は、更に、スピーカボックスが前記開放部の少なくとも一部を覆うように配置される。そのため、遊技媒体の投入を妨げることなく、例えば、遊技媒体が払出装置の外部に飛散することを防止することが可能になる。これにより、筐体の床面等に遊技媒体が散点することを防止することが可能になり、遊技機の保守作業が容易になる。
本発明によれば、スピーカから出力される効果音等の音質を向上させると共に、筐体内部に配置される払出装置から遊技媒体が飛散することを抑制することにより、保守作業を容易にした遊技機を提供することができる。
本発明の実施形態に係る遊技機を前面側から見た外観斜視図である。 前記実施形態に係る遊技機を背面側から見た外観斜視図である。 前記実施形態に係る遊技機の前面扉の内部構造を示す外観斜視図である。 前記実施形態に係る遊技機のキャビネットの内部構造を示す外観斜視図である。 前記実施形態に係る遊技機のキャビネットの内部構造を示す側面図である。 前記実施形態に係る遊技機のキャビネットの内部に配設されるスピーカボックスとホッパーを示す外観斜視図である。 前記実施形態に係る遊技機に配設されるスピーカボックスの外観斜視図である。 前記実施形態に係る遊技機に配設されるスピーカボックスの正面図である。 前記実施形態に係る遊技機に配設されるスピーカボックスの背面図である。 前記実施形態に係る遊技機に配設されるスピーカボックスの平面図である。 図9のX−X断面図である。 図9のY−Y断面図である。 前記実施形態に係る遊技機の電気回路の構成を示すブロック図である。 本発明の実施形態に係る遊技機のスピーカボックスとホッパーとの位置関係を示すキャビネットの正面図である。 前記実施形態に係る遊技機の遊技機に係る機器の位置関係を示す筐体の側面図である。 本発明の第1変形例に係る遊技機のキャビネットの背面側を示す背面図である。 本発明の第1変形例に係る遊技機に配設されるスピーカボックスの外観斜視図である。 本発明の第2変形例に係る遊技機に配設されるスピーカボックスの外観斜視図である。 本発明の第2変形例に係る遊技機に配設されるスピーカボックスの断面を示す斜視断面図である。 本発明の第2変形例に係る遊技機のスピーカボックスの配置位置を示すキャビネットの外観斜視図である。 本発明の第2変形例に係る遊技機のスピーカボックスの配置位置を示すキャビネットの正面図である。
以下、本発明を実施するための形態について、図面を参照しながら説明する。
本発明に係る遊技機は、コイン、メダル、遊技球又はトークンなどの他、遊技者に付与された、又は付与される遊技価値の情報を記憶したカードなどの遊技媒体を用いて遊技する遊技機である。以下の実施形態においては、本発明に係る遊技機は、遊技媒体としてメダルを用いて遊技を行う遊技機、いわゆるパチスロ機を用いて説明する。
最初に、図1及び図2を参照して、本発明の一実施形態に係る遊技機1の外観構成を説明する。図1は、本発明の実施形態に係る遊技機1を前面側から見た外観斜視図である。図2は、前記実施形態に係る遊技機1を背面側から見た外観斜視図である。
図1及び図2に示すように、遊技機1の外観は、筐体2によって構成されている。筐体2は、前面側Fに配置される前面扉2aと、前面扉2aの背面側Rに配置されるキャビネット2bと、を主体に構成されている。前面扉2aは、キャビネット2bの前面側Fの端部に軸支されており、キャビネット2bを開閉可能に配設されている。キャビネット2bは、内部に遊技に用いられる機器を収容する。
図1に示すように、前面扉2aの前面には、略中央部に矩形状のメイン表示窓3aが設けられている。メイン表示窓3aには、内部にリール窓枠体3bが取り付けられており、リール窓枠体3bには、3つの矩形状の窓枠表示領域4L,4C,4Rが並列状態(横一列)に設けられている。窓枠表示領域4L,4C,4Rは、筐体の内部を視認可能に形成されており、後述のメインリール3L,3C,3Rの動作やメインリール3L,3C,3Rに描かれている図柄を表示させる。
メイン表示窓3aの下部側Bには、略水平状の台座部12が設けられている。台座部12におけるメイン表示窓3aの一方側R1(図1の筐体2を前面側Fから見た右側をいい、以下、筐体2を前面側Fから見た右側を「一方側」という。)には、メダルを投入するためのメダル投入口5が設けられている。メダル投入口5から投入されたメダルは、クレジットされるか又はゲームに賭けられる。
台座部12におけるメイン表示窓3aの他方側L(図1の筐体2を前面側Fから見た左側をいい、以下、筐体2を前面側Fから見た左側を「他方側」という。)には、クレジットされているメダルを賭けるための1−BETボタン8aと、MAXBETボタン8bと、が設けられている。1−BETボタン8aは、遊技者の押しボタン操作によりメダルの投入枚数「1枚」が選択されるように構成されている。また、最大BETボタン8bは、遊技者の押しボタン操作によりメダルの投入枚数「3枚」が選択されるように構成されている。
1−BETボタン8a、及びMAXBETボタン8bの前面側Fには、スタートレバー6が設けられている。スタートレバー6は、遊技者の操作によりメインリール3L,3C,3Rを回転駆動させると共に、窓枠表示領域4L,4C,4R内で図柄の変動表示を開始させる。スタートレバー6は、所定の角度範囲で傾動自在に取り付けられている。
スタートレバー6の一方側R1には、メインリール3L,3C,3Rの回転を停止させるための停止ボタン7L,7C,7Rが設けられている。なお、1ゲーム(単位遊技)は、遊技者によりスタートレバー6が操作されることによって開始され、遊技者が停止ボタン7L,7C,7Rを押しボタン操作することにより、全てのメインリール3L,3C,3Rが停止した時に終了する。各停止ボタン7L,7C,7Rの裏側には、停止ボタン7L,7C,7Rの停止操作を検知するストップスイッチ7LS,7CS,7RS(図示せず)が設けられている。
停止ボタン7L,7C,7Rの一方側には、C/Pボタン13が設けられている。C/Pボタン13は、遊技者がゲームで獲得したメダルのクレジット/払出しを遊技者の押しボタン操作で切り換える。このC/Pボタン13の切り換えにより、前面扉2aの下部側Bに設けたメダル払出口14からメダルが払出される。払出されたメダルは、メダル受け部15に溜められる。
スタートレバー6、停止ボタン7L,7C,7R、及びC/Pボタン13の下部側Bには、腰部パネル18が設けられている。腰部パネル18は、アクリル板などを使用した化粧用パネルにより構成されている。腰部パネル18には、遊技機1の機種を表す名称や種々の模様などが印刷されている。また、メダル払出口14の一方側R1には、遊技に係る効果音等を出力するスピーカ26が設けられている。
メイン表示窓3aの上部側Tには、矩形状の開口部として形成されたパネル表示部19が設けられている。パネル表示部19には、表面に矩形状のアクリル板などが使用された透明パネル19aが取り付けられている。透明パネル19aの前面側Fには、パネルホルダ19bが装着されている。パネルホルダ19bには、第1表示窓22aが設けられている。また、パネルホルダ19bには、遊技情報が印刷された遊技情報シート19cが貼付されている。遊技情報シート19cには、第1表示窓22a内にサブリール21L,21C,21Rを視認させるための3つの矩形状の開口22L,22C,22Rが切り抜かれている。3つの開口22L,22C,22Rは、サブリール21L,21C,21Rの動作やサブリール21L,21C,21R上に描かれている図柄を遊技者に視認可能にさせる。
第1表示窓22aの他方側Lには、上部側Tから順に1−BETランプ9a、最大BETランプ9b、ボーナス遊技情報表示部16、及びクレジット表示部17が設けられている。1−BETランプ9a、最大BETランプ9bは、単位遊技を行うために投入されたメダル数(以下「BET数」という)に応じて点灯するランプである。具体的には、1−BETランプ9aは、投入枚数が1枚のときに点灯し、最大BETランプ9bは、投入枚数が3枚のときに点灯する。
ボーナス遊技情報表示部16は、7セグメントLEDにより形成されている。ボーナス遊技情報表示部16は、ボーナス中の遊技情報(ボーナスゲーム中の遊技回数)を表示する。
クレジット表示部17は、それぞれ7セグメントのLEDにより形成されている。クレジット表示部17は、クレジットされている残ノダル枚数を表示する。なお、遊技機1にクレジットされる最大枚数は50枚であるため、このクレジット表示部29aに表示されるクレジット枚数は、通常50以下の数値となる。また、最大枚数の50枚のメダルがクレジシットされている状態では、投入されたメダルはそのまま払い出される。
パネル表示部19の上部側Tには、上部ユニット11が装着されている。上部ユニット11は、液晶表示装置11a、複数のLED(図示せず)及びスピーカ25L,25Rを主体に構成されている。液晶表示装置11aは、演出に関する種々の情報を表示する。複数のLEDは、演出に関する種々の情報を報知する。スピーカ25L,25Rは、遊技及び演出に関する種々の効果音等を出力する。また、前面扉2aの両側には、一対のサイドカバー90L,90Rが設けられている。一対のサイドカバー90L,90Rは、取り付けネジにより筐体2に固定支持されている。
図2に示すように、キャビネット2bの背板には、略中央部にメダル補給部80が設けられている。メダル補給部80は、キャビネット2bの背板に形成された補給口81を介して筐体2の外部と筐体2の内部とを連通させており、筐体2の外部に配置されたメダル補給機(図示せず)から補給されるメダルを後述のホッパー40(払出装置)に案内する(後に説明する図5参照)。
メダル補給部80は、投入部80aと、メダル通路部80bと、を主体に構成されている。投入部80aは、上方が開口しており、メダル補給機から補給されるメダルが投入される。メダル通路部80bは、投入部80aと連結されており、投入部80aに投入されたメダルをホッパー40に案内する。メダル通路部80bは、筐体2の背面側Rから前面側Fに向かって下り傾斜する傾斜面を有しており、投入されたメダルは、この傾斜面を滑りながらホッパー40に案内される。
なお、本実施形態においては、遊技機1にメダルを補給する補給方法として、メダル補給機により補給する構成としたが、管理者が前面扉2aを開いて直接ホッパー40にメダルを補給することもできる。例えば、メダル補給機を有さない遊技店等においては、管理者が直接ホッパー40にメダルを補給する。
メダル補給部80の一方側R1には、後述の第1ボックス110が配設される第1取付部91が設けられている。第1取付部91は、第1開口部92と、スピーカカバー93と、を主体に構成されている。第1開口部92は、第1ボックス110に取り付けられるスピーカユニットの口径と略同形状に形成されており、キャビネット2bの背板を貫通するように形成されている。スピーカカバー93は、第1開口部92を覆うようにキャビネット2bの背板に取り付けられている。スピーカカバー93には、複数の開孔が形成されており、スピーカユニット101の後に説明する正面側から出力される効果音等を筐体2の外部に放出可能にする。
一方、メダル補給部80の他方側Lには、後述の第2ボックス120が配設される第2取付部94が設けられている。第2取付部94は、第2開口部95と、背部カバー96と、を主体に構成されている。第2開口部95は、キャビネット2bの背板を貫通するように形成されている。背部カバー96は、第2開口部95を覆うようにキャビネット2bの背板に取り付けられている。また、背部カバー96は、キャビネット2bの背板から取り外し可能に形成されている。
なお、本実施形態においては、第2取付部94は、キャビネット2bの背板を貫通する第2開口部95と、第2開口部95を覆う背部カバー96と、を主体に構成したが、第2取付部94は、開口を有さない構成であってもよい。つまり、キャビネット2bの背板に第2ボックス120を取付可能な取付部が設けられる構成であればよい。
次に、図3から図12を参照して、遊技機1の内部構成について説明する。
まず、前面扉2aの内部構成について説明する。図3は、前記実施形態に係る遊技機1の前面扉2aの内部構成を示す外観斜視図である。
図3に示すように、前面扉2aには、裏面の略中央部に遊技に係る図柄を変動表示させるメインリールユニット30A(第1変動表示装置)が装着されている。メインリールユニット30Aは、前述のメイン表示窓3aに対向するように配設されており、メイン表示窓3aに設けられた3つの窓枠表示領域4L,4C,4Rを通じて、遊技者が各メインリール3L,3C,3Rの動作や各メインリール3L,3C,3R上に描かれている図柄を視認可能に配設されている。
メインリールユニット30Aは、メインリール3L,3C,3Rと、リール収容カバー31Aと、を主体に構成されている。メインリール3L,3C,3Rは、複数種類の図柄が各々の外周面に描かれた3個のリールから構成されている。メインリール3L,3C,3Rは、それぞれが縦方向に一定の速度で回転できるように前面扉2aに対して並列状態(横一列)に配設される。
リール収容カバー31Aは、メインリール3L,3C,3Rの周囲を覆うように形成されており、主カバー部31aと、一対の側面カバー部31bと、を主体に構成されている。
主カバー部31aは、全体が略円弧型に形成されており、メインリール3L,3C,3Rを保護するようにメインリール3L,3C,3Rの背面側(前面扉2aの裏面側)を被覆している。一対の側面カバー部31bは、並列状態に配設されたメインリール3L,3C,3Rの両側を保護する。
また、主カバー部31aには、3箇所の挿通口31c及び3箇所の通孔31dが形成されている。3箇所の挿通口31cは、リール収容カバー31Aの内部に設けられたステッピングモータ49L,49C,49R(図示せず)を制御する制御基板(図示せず)に接続させるために設けられている。3箇所の通孔31dは、遊技店の係員などがメインリール3L,3C,3Rを目視により確認したり、手で直接動かして回転させるために設けられている。
前面扉2aの裏面におけるメインリールユニット30Aの一方側R1(図3におけるR1側)には、メダルセレクタ50が設けられている。メダルセレクタ50は、メダル投入口5から投入されたメダルがメダルセレクタ50の内部に形成されたメダル通路(図示せず)を通過する際に、メダルの真偽を判別する。メダルセレクタ50は、例えば、メダル投入口5から投入されたメダルが正規メダルと判別した場合には、投入されたメダルをカウントすると共に、メダル通路の排出側に接続されている案内部53に投入されたメダルを案内する。
案内部53は、メダル通路から排出されたメダルをキャビネット2bに配置されるホッパー40(図4参照)に案内する。案内部53は、前面扉2aの前面側Fから背面側Rに向かって下り傾斜する傾斜面を有しており、投入されたメダルは、この傾斜面を滑りながらホッパー40に案内される。案内部53は、筐体2の前面扉2aを閉じた状態において、ホッパー40の上方に配設されている(後に説明する図5参照)。これにより、案内部53は、メダル通路(図示せず)を通じて排出されたメダル(正規メダル)をホッパー40に案内可能となる。
メダルセレクタ50の下部側Bには、キャンセルシュータ51が設けられている。更に、キャンセルシュータ51の下部側Bには、キャンセルシュート52が設けられている。メダルセレクタ50は、メダル投入口5から投入されたメダルが不正メダルと判別した場合には、投入されたメダルをメダル通路から案内部53に案内せず、メダルセレクタ50の下部側Bに設けたキャンセルシュータ51を通じて、キャンセルシュート52の内部に落下させる。
キャンセルシュート52は、キャンセルシュータ51を通じて排出されたメダル(不正メダル)或いは、ホッパー40から払い出されるメダルをメダル払出口14からメダル受け部15に排出させる。
メインリールユニット30Aの上部側Tには、前述のパネル表示部19が設けられている。また、パネル表示部19の上部側Tには、液晶表示装置11a及びスピーカ25L,25Rが取り付けられた前述の上部ユニット11が配設されている。
次に、キャビネット2bの内部構成について説明する。
図4は、本実施形態に係る遊技機1のキャビネット2bの内部構成を示す外観斜視図である。図5は、本実施形態に係る遊技機1のキャビネット2bの内部構成を示す側面図である。
図4及び図5に示すように、キャビネット2bの上部側Tには、サブリールユニット21(第2変動表示装置)が設けられている。サブリールユニット21は、前面扉2aを閉じた状態における第1表示窓22aと対向する位置に配設されている(図5参照)。具体的には、サブリール21L,21C,21Rは、前面扉2aを閉じた状態において、第1表示窓22aに設けられた3つの開口22L,22C,22Rを通じて、遊技者が各サブリール21L,21C,21Rの動作や各サブリール21L,21C,21R上に描かれている図柄を視認可能に配設されている。また、サブリールユニット21は、前面扉2aを閉じた状態におけるメインリールユニット30Aの上部側Tに配設されている。
サブリールユニット21は、複数種類の図柄が各々の外周面に描かれた3個のサブリール21L,21C,21Rと、サブリール21L,21C,21Rの周囲を覆うように形成されるリール収容カバー21Aと、を主体に構成されている。
サブリール21L,21C,21Rは、メインリール3L,3C,3Rを相対的に大型化したリールであり、演出に係る図柄が周面に描かれている。サブリール21L,21C,21Rは、それぞれが縦方向に一定の速度で回転できるようにキャビネット2bの幅方向(図4における「L−R1方向」)に並列状態(横一列)に配設されている。
リール収容カバー21Aは、全体が略円弧型に形成された主カバー部21aと、一対の側面カバー部21bと、を主体に構成されている。主カバー部21aは、サブリール21L,21C,21Rを保護するようにサブリール21L,21C,21Rの背面側(キャビネット2bの裏面側)を被覆する。一対の側面カバー部21bは、並列状態に配設されたサブリール21L,21C,21Rの両側を保護する。サブリールユニット21は、サブリール21L,21C,21Rがリール収容カバー21Aに保護された状態で、キャビネット2bの内部に設けられた載置部28に取り付けられる。
キャビネット2bの床面には、ホッパー40が配設されている。ホッパー40は、開放部42と、ホッパータンク43と、メダル排出機構(図示せず)と、を主体に構成されている。開放部42は、ホッパー40の上部に設けられており、略矩形状に形成されている。開放部42には、前述のメダル補給部80又は案内部53から流通されるメダル若しくは管理者により補給されるメダルが投入される。ホッパータンク43は、開放部42と連続しており、開放部42に投入されたメダルを貯留する。
メダル排出機構は、ホッパータンク43に貯留されたメダルを遊技結果に応じて排出する。具体的には、メダル排出機構は、遊技結果に応じて払い出されるメダルを排出部46に排出する(図3参照)。排出部46は、キャンセルシュート52の下部に連結されており、排出部46に排出されたメダルは、キャンセルシュート52の下部から前面扉2aの下部側Bに開口したメダル払出口14(図1参照)を介して、メダル受け部15に払い出される。
また、ホッパー40の他方側Lには、キャビネット2b内の各電気部品などに電力を供給する電源部47が設けられている。また、キャビネット2bの上部側Tには、主制御回路71と副制御回路72とがそれぞれ取り付け固定されている。また、キャビネット2bの他方側Lの端部には、上部側Tと下部側Bに、前面扉2aを回動可能に軸支する軸受け部28a,28bがそれぞれ設けられている。
図5に示すように、ホッパー40の上方には、ホッパー40の開放部42の一部を覆うようにスピーカボックス100が配設されている。また、スピーカボックス100は、前面扉2aを閉じた状態において、メインリールユニット30Aと対向する位置に配設される。更に、スピーカボックス100は、前面扉2aを閉じた状態における案内部53と接触しないように案内部53の近傍に配置される。言い換えると、スピーカボックス100は、開放部42の上方に配置された案内部53に干渉しないように配設される。
ここで、図6〜図12を参照して、本実施形態による遊技機1に取り付けられるスピーカボックス100について説明する。なお、図6〜図12に示すスピーカボックス100には、スピーカユニット101が取り付けられている。
図6は、本実施形態に係る遊技機1のキャビネット2bの内部に配設されるスピーカボックス100とホッパー40を示す外観斜視図である。図7は、本実施形態に係る遊技機1に配設されるスピーカボックス100の外観斜視図である。図8は、本実施形態に係る遊技機1に配設されるスピーカボックス100の正面図である。図9は、本実施形態に係る遊技機1に配設されるスピーカボックス100の背面図である。図10は、本実施形態に係る遊技機1に配設されるスピーカボックス100の平面図である。図11は、図9のX−X断面図である。図12は、図9のY−Y断面図である。
図6に示すように、スピーカボックス100は、キャビネット2bの内部において、ホッパー40の上方に配設されている。具体的には、ホッパー40の開放部42の一部を覆うようにホッパー40の上方に配置されている。
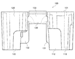
図7に示すように、スピーカボックス100は、第1ボックス110と、第2ボックス120と、連通部130と、を主体に構成されている。第1ボックス110には、スピーカユニット101が取り付けられており、第2ボックス120には、第2ボックス120の内部とスピーカボックス100の外部とを連通させる放音パイプ150(放出パイプ)が内蔵されている。また、第1ボックス110と第2ボックス120とは並列に配置されており、連通部130は、第1ボックス110と第2ボックス120とを連通させている。
本実施形態によるスピーカボックス100は、第1ボックス110及び第2ボックス120がスピーカユニット101の背面側から出力された音に対する音響空間を構成し、放音パイプ150と連通部130とがバスレフポートを構成する、いわゆるダブルバスレフ型のスピーカボックスである。
以下、ダブルバスレフ型のスピーカボックス100において、スピーカユニット101が取り付けられる側を正面側とし、正面側と反対側を背面側というものとして説明する。
第1ボックス110は、略円筒形に形成されている。第1ボックス110の長手方向における一端側(スピーカユニット101の正面側)には、開放された開放端部111が設けられている。開放端部111には、周縁に複数の取付部117が設けられている。取付部117は、第1ボックス110をキャビネット2bの内部側から第1取付部91に取り付ける際に用いられる。つまり、第1取付部91には、第1ボックス110の開放端部111側が配設される。
図8に示すように、第1ボックスの開放端部111には、スピーカユニット101が取り付けられている。具体的には、第1ボックス110の開放端部111には、スピーカユニット101の正面部を構成する円錐形の振動板101aが露出するようにスピーカユニット101が取り付けられている。
一方、開放端部111と反対側の他端側(スピーカユニット101の背面側)には、密封された密封端部114が設けられている。図9及び図10に示すように、第1ボックス110の密封端部114側の周面には、第2ボックス120と対向する位置に凹状の第1凹状部112が形成されている。第1凹状部112は、筐体2の前面扉2aを閉じた状態において、メインリールユニット30Aの背面側の一部を収容可能に形成されている。また、第1凹状部112の下方側には、第2凹状部113が形成されている。第2凹状部113には、後述の第1パイプ131が接続されている(図11参照)。
また、第1ボックス110の底部には、底面部115が形成されている。底面部115は、ホッパー40の開放部42を構成する上部側縁の内、一方側R1の上部側縁44cの上部側Tに配置されるように設けられている。また、スピーカボックス100は、底面部115と上部側縁44cとの隙間がメダルの厚さよりも小さくなるようにホッパー40の上方に配置される。
第2ボックス120は、略円筒形に形成されている。第2ボックス120の長手方向における一端側(スピーカユニット101の正面側)には、密封された第1端部121が設けられている。第1端部121には、周縁に複数の取付部127が設けられている。取付部127は、第2ボックス120をキャビネット2bの内部側から第2取付部94に取り付ける際に用いられる。第2取付部94には、第2ボックス120の第1端部121側が配設される。
一方、第2ボックス120の長手方向における他端側(スピーカユニット101の背面側)には、密封された第2端部124が設けられている。図9に示すように、第2ボックス120の第2端部124には、ダクト部124aが形成されている。ダクト部124aには、第2ボックス120の内部に配置された放音パイプ150が連結されており、第2ボックス120内に放音された音を放音パイプ150を介してスピーカボックス100の外部に放音する(図12参照)。
図9及び図10に示すように、第2ボックス120の第2端部124側の周面には、第1ボックス110と対向する位置に凹状の第1凹状部122が形成されている。第1凹状部122は、筐体2の前面扉2aを閉じた状態において、メインリールユニット30Aの背面の一部を収容可能に形成されている。また、第1凹状部122の下方側には、第2凹状部123が形成されている。第2凹状部123には、後述の第2パイプ132が接続されている(図11参照)。
また、第2ボックス120の底部には、底面部125が形成されている。底面部125は、ホッパー40の開放部42を構成する上部側縁の内、他方側Lの上部側縁44aの上部側Tに配置されるように設けられている。また、スピーカボックス100は、底面部115と上部側縁44aとの隙間がメダルの厚さよりも小さくなるようにホッパー40の上方に配置される。
図11に示すように、連通部130は、第1ボックス110と第2ボックス120の間に配置され、スピーカユニット101の背面側から第1ボックス110の内部に出力された音をバスレフポートとして第2ボックス120の内部に流通させる。連通部130は、第1パイプ131と、第2パイプ132と、連結部133と、を主体に構成されている。なお、連結部133は、スピーカボックス100の正面側に配置されている。
第1パイプ131は、一端側が第1ボックス110に接続されている。具体的には、第1パイプ131は、一端側が第2凹状部113に接続されている。一方、第1パイプ131の他端側は、スピーカボックス100の正面側に延び、スピーカボックス100の正面側に配置された連結部133と接続されている。
第2パイプ132は、一端側が連結部133に接続されている。一方、第2パイプ132の他端側は、スピーカボックス100の背面側に延び、第2ボックス120と接続されている。具体的には、第2パイプ132の他端側は、第2凹状部123と接続されている。
図10及び図11に示すように、連結部133は、第1ボックス110と第2ボックス120との間に配置されている。また、連結部133には、スピーカボックス100の正面側から背面側に向かって下り傾斜する傾斜部133aが形成されている(図7参照)。傾斜部133aは、キャビネット2bの背面側において、メダル補給部80の下部側Bに配置されている。傾斜部133aは、メダル補給部80から補給されるメダル、案内部53から案内されたメダル又は管理者により補給されるメダル等をキャビネット2bの床面に零すことなくホッパー40に案内する。
また、連結部133の下方側には、底面部135が形成されている。底面部135は、ホッパー40の開放部42を構成する上部側縁の内、背面側の上部側縁44bの上部側Tに配置されるように設けられている。また、スピーカボックス100は、底面部135と上部側縁44bとの隙間がメダルの厚さよりも小さくなるようにホッパー40の上方に配置される。
このように構成されたスピーカボックス100は、スピーカユニット101の背面側から第1ボックス内に出力された効果音等を、図11及び図12に示す矢印方向に連通部130を介して第2ボックス120の内部に流通させ、放音パイプ150を介してスピーカボックス100の外部に放音する。これにより、十分な低音の再生が可能になる。つまり、低音域の音の出力性が向上する。
なお、スピーカボックス100における低音域の調整は、例えば、第1ボックス110又は第2ボックス120の容積や、第1パイプ131、第2パイプ132又は放音パイプ150の直径や長さを変更したものを適宜選択することにより調整することが可能になる。
次に、図13を参照して、遊技機1の回路構成について説明する。図13は、本実施形態に係る遊技機の電気回路の構成を示すブロック図である。
遊技機1を構成する回路は、遊技機1の動作を制御する主制御回路71と、主制御回路71に電気的に接続するアクチュエータである周辺装置と、主制御回路71から送信される信号に基づいて各種の装置(例えば、スピーカユニット25L,25R、26、101、サブリール21L,21C,21R、及び液晶表示装置11aなど)を制御する副制御回路72と、主制御回路71から副制御回路72に送信される信号を中継する主中継回路71aと、副制御回路72と各種の装置とで通信される信号を中継する副中継回路72aと、を主体に構成されている。
主制御回路71は、基板上に配置されたマイクロコンピュータ30を主たる構成とする。更に、主制御回路71は、乱数値の抽出を行う回路を備えて構成されている。マイクロコンピュータ30は、メインCPU31、メインROM32、及びメインRAM33を含んで構成される。
メインCPU31は、メインROM32に記憶されたプログラムを実行して、各アクチュエータの動作を直接的又は間接的に制御する。メインCPU31には、時刻を示し又は時間を測定するためにパルスを発生するクロックパルス発生回路34と、分周器35と、乱数を発生する乱数発生器36と、発生した乱数から乱数値を抽出するサンプリング回路37とが接続されている。なお、メインCPU31により乱数の発生及び乱数値の抽出を実行するように構成してもよい。
メインROM32は、メインCPU31が実行するための所定のプログラム、各種テーブルなどの固定的なデータを記憶する。また、メインROM32には、主制御回路71から副制御回路72に送信される各種の信号に関する情報などが格納されている。なお、副制御回路72から主制御回路71にコマンドや情報などが送信されることはなく、主制御回路71から副制御回路72への一方向で通信が行われる。
メインRAM33は、メインCPU31がプログラムを実行する際に一時的にデータを記憶するために使用される。
図13の回路において、マイクロコンピュータ30からの信号により動作が制御される主要なアクチュエータとしては、1−BETランプ9a、最大BETランプ9b、ボーナス遊技情報表示部16、クレジット表示部17、ホッパー駆動回路41の命令により所定の枚数のメダルを払出すホッパー40と、メインリール3L,3C,3Rを回転させるステッピングモータ49L,49C,49Rとがある。
更に、ステッピングモータ49L,49C,49Rによる回転の動作を所定のパルス(以下「駆動パルス」という)を出力することにより制御するモータ駆動回路39、ホッパー40の動作を制御するホッパー駆動回路41、1−BETランプ9aなどの点灯及び消灯を管理するランプ駆動回路45、及びボーナス遊技情報表示部16などによる表示を管理する表示部駆動回路48がメインCPU31に接続されている。これらの回路は、それぞれメインCPU31から出力される信号を受けて、各アクチュエータの動作を制御する。
また、マイクロコンピュータ30が信号を発生するためにマイクロコンピュータ30へ送信される信号を発生する手段として、スタートスイッチ6S、ストップスイッチ7LS,7CS,7RS、1−BETスイッチ8aS、最大BETスイッチ8bS、C/Pスイッチ13S、設定スイッチ61S、リセットスイッチ62S、メダルセンサ10S、リール位置検出回路54、及び払出完了信号回路55がある。
スタートスイッチ6Sは、スタートレバー6の操作を検出し、所定の信号を出力する。この信号に基づいて、メインリール3L,3C,3Rの回転が開始される。すなわち、スタートスイッチ6Sにより行われるスタートレバー6の操作の検出に基づいて、メインリール3L,3C,3Rは回転を開始する。
メダルセンサ10Sは、メダル投入口5から受入れられたメダルを検出する。
ストップスイッチ7LS,7CS,7RSは、対応する停止ボタン7L,7C,7Rの停止操作に応じて所定の信号を発生する。この信号に基づいて、メインリール3L,3C,3Rの回転が停止する。すなわち、ストップスイッチ7LS,7CS,7RSにより行われる停止操作の検出に基づいて、メインリール3L,3C,3Rは回転を停止する。言い換えるならば、ストップスイッチ7LS,7CS,7RSにより行われる停止操作の検出に基づいて、図柄の変動を停止する制御が行われる。
設定スイッチ61Sは、遊技店側が管理する設定キーが設定用の鍵穴に差し込まれて右方向、すなわち「ON」の方向に回動された状態で遊技機1の電源が投入される操作(以下「設定値変更操作」という)を検出する。
リセットスイッチ62Sは、設定スイッチ61Sにより設定値変更操作の検出が行われると、遊技者にとっての有利さの度合いを区別するための指標である設定値を決定するために設けられたリセットボタン(図示せず)を押す操作を検出する。この操作がリセットスイッチ62Sにより検出されると、ボーナス遊技情報表示部16に表示される設定値が「1」、「4」、「6」、「H」の4段階で移行する。
本実施形態では、設定値変更操作及びリセットボタンの操作が行われ、ボーナス遊技情報表示部16に表示される設定値が所望の設定値となったときにスタートレバー6の操作が行われることにより、所望の設定値を設定することができる構成としている。すなわち、これらの操作により、設定値「1」、「4」、「6」、「H」の4つの段階のうちからいずれかの段階を設定値として決定することができることとしている。言い換えると、メインCPU31は、遊技者にとっての有利さの度合いを示す複数の設定値のうちの一の設定値をメインRAM33に格納する。
その後、左方向、すなわち「OFF」の方向に回動された状態で設定キーを引き抜く操作が行われると、設定した設定値で、遊技者が操作を行うことが可能な状態となる。
これらの操作が行われることにより、メインCPU31により内部当籤役が決定される確率が調整され、遊技者に払出されたメダルの総数である総払出数と遊技機1に投入されたメダルの総数である総投入枚数とから算出されるいわゆるペイアウト率、機械割などの値が調整可能となる。
リール位置検出回路54は、メインリール3L,3C,3Rに設けられたセンサからのパルスを受けて信号をメインCPU31へ供給する。メインCPU31は、この信号に基づいて、各メインリール3L,3C,3Rが回転しているときの図柄の位置を管理する。払出完了信号回路55は、メダル検出部40Sにより計数されたホッパー40から払出されたメダルの枚数が指定された所定の枚数に達すると、メダルの払出が完了したことを示す信号を発生する。
図13の回路において、乱数発生器36は、一定の数値の範囲に属する乱数を発生する。サンプリング回路37は、スタートレバー6が操作された後の適宜のタイミングで、乱数発生器36が発生する乱数から1個の乱数値を抽出する。こうして抽出された乱数値は、メインRAM33に設けられた所定の領域(以下「乱数値格納領域」という)に格納される。
メインリール3L,3C,3Rは、ステッピングモータ49L,49C,49Rに所定の駆動パルスが与えられることにより1回転する。ステッピングモータ49L,49C,49Rの各々に与えられた駆動パルスの数は、駆動パルスの計数値としてメインRAM33の所定の領域に書き込まれる。他方、メインリール3L,3C,3Rが一回転するごとにこの所定の領域をリセットする信号(以下「リセットパルス」という)が得られる構成を採用している。このリセットパルスがリール位置検出回路54を介してメインCPU31に入力されると、メインRAM33に格納される駆動パルスの計数値が「0」に更新される。
本実施形態では、ステッピングモータ49L,49C,49Rに駆動パルスが所定の回数与えられることで、メインリール3L,3C,3Rの外周面に描かれた図柄1つ分だけメインリール3L,3C,3Rが回転する構成としている。また、本実施形態では、図柄1つ分だけメインリール3L,3C,3Rが回転した回数をメインCPU31が計数するためにカウンタ(以下「図柄カウンタ」という)が設けられている。
そして、リール位置検出回路54は、所定の図柄(例えば、コードナンバー「0」が付された図柄)が窓枠表示領域4Lの中段、窓枠表示領域4Cの中段、及び窓枠表示領域4Rの中段の各位置を結ぶラインに沿って表示される所定の位置でリセットパルスが得られるように構成されている。言い換えると、所定の図柄がセンターラインに沿って表示されるタイミングでリセットパルスが得られるように構成されている。ここで、図柄位置は、メインCPU31がメインリール3L,3C,3Rの外周面に描かれた図柄の位置を特定するときに用いる位置の情報である。
上記乱数値の抽出に基づく所定の内部抽籤処理により内部当籤役を決定すると、メインCPU31は、遊技者が停止ボタン7L,7C,7Rを操作したタイミングでストップスイッチ7LS,7CS,7RSから送られる信号に基づいて、メインリール3L,3C,3Rの回転の停止を指示する信号をモータ駆動回路39に送る。
そして、入賞が成立すれば、メインCPU31によりメダルの払出しを開始することを指示する信号がホッパー駆動回路41に供給されてホッパー40から所定の枚数のメダルが払出される。その際、メダル検出部40Sは、ホッパー40から払出されるメダルの枚数を計数し、その計数値が指定された数に達した時に、メダルの払出しを終了することを指示する信号がメインCPU31に入力される。これにより、ホッパー駆動回路41を介してホッパー40の駆動が停止され、メダルの払出しが終了する。
副制御回路72では、主制御回路71から送信されたコマンドに基づき、予め記憶されたプログラムを実行して、各アクチュエータの動作を直接的又は間接的に制御する。副制御回路72が制御するアクチュエータとしては、液晶表示装置11a、サブリール21L,21C,21R、スピーカ25L,25R、26、101などがある。
例えば、副制御回路72では、予め記憶された所定のプログラムに従って、液晶表示装置11aに演出に係る様々な映像を表示させる。例えば、所定のキャラクターを登場させ、キャラクターに入賞に係るヒント等を表示させたり、遊技の状況を報知又は告知したりする。また、図柄が描かれたリールを表示させ、遊技に係る情報を報知又は告知したりする。
また、副制御回路72では、予め記憶された所定のプログラムに従って、サブリール21L,21C,21Rにメインリール3L,3C,3Rでは行えない様々な演出を行わせる。例えば、サブリール21L,21C,21Rを逆回転させたり、各サブリール21L,21C,21Rをそれぞれ異なる回転速度で回転させたり、各サブリール21L,21C,21Rそれぞれを演出の態様に応じて移動させたり、各サブリール21L,21C,21Rに描かれている図柄を動かしたりする等の様々な演出を行わせる。
更に、副制御回路72では、予め記憶された所定のプログラムに従って、スピーカ25L,25R、26、101に様々な音を出力させる演出を行わせる。例えば、遊技の状況や態様に関連させた効果音を出力させたり、液晶表示装置11aに表示されるキャラクター等の音声を出力させる。また、例えば、各スピーカ25L,25R、26、101それぞれに異なる効果音等を出力させたり、高音及び重低音を割り当てて出力させることにより、音による演出に臨場感を生じさせる。
以上のように構成された本実施形態に係る遊技機1によれば、遊技機1は、以下のような効果を奏する。
本実施形態に係る遊技機1は、スピーカユニット101の背面側を密封する第1ボックス110と、第1ボックス110と第2ボックス120とを連通させ、スピーカユニット101の背面側から第1ボックス110の内部に出力された音を第2ボックス120に流通させる連通部130と、第2ボックス120の内部に流通された音を放音する放音パイプ150が内蔵された第2ボックス120と、を有するスピーカボックス100を備える。つまり、本実施形態に係る遊技機1は、放音パイプ150と連通部130とがバスレフポートを構成する、いわゆるダブルバスレフ型のスピーカボックス100を備える。
ダブルバスレフ型のスピーカボックス100は、スピーカユニット101の背面側から出力される音を共振させて位相を反転させ、スピーカユニット101の前面から出力される音と同位相にした音を放音パイプ150から放音させることが可能になる。つまり、ダブルバスレフ型のスピーカボックス100は、スピーカユニット101の背面側から出力される音が前面側から出力される音と逆位相により打ち消しあわず、互いに同位相で重畳され強調させることができる。すなわち、重低音を増幅させることが可能になる。
これにより、本実施形態に係る遊技機1は、臨場感に溢れる演出を行うことが可能になり、遊技者の遊技に対する興味や興奮を高揚させることができる。
また、本実施形態に係る遊技機1は、第1ボックス110及び第2ボックス120の2つのボックスがスピーカユニット101の背面側から出力された音に対する音響空間を構成する。そのため、本実施形態に係る遊技機1は、2つのボックスを用いることにより、スピーカボックス100の内部空間の容積を大きくすることが可能になる。これにより、本実施形態に係る遊技機1は、スピーカボックス100から出力される効果音等の放音特性を向上させることが可能になる。
また、第1ボックス110と第2ボックス120とを一体に形成せず、分解可能に構成した場合においては、例えば、適宜、好ましい容積を有する第1又は第2ボックスを選択することにより、スピーカボックス100における低音域の調整が容易になる。
ここで、図14に本実施形態に係る遊技機1のスピーカボックス100とホッパー40との位置関係を示すキャビネット2bの正面図を示す。また、図15に本実施形態に係る遊技機1の遊技機に係る機器の位置関係を示す筐体の側面図を示す。
図14及び図15に示すように、本実施形態に係る遊技機1は、ホッパー40に設けられる開放部42の少なくとも一部を覆うように、スピーカボックス100をホッパー40の上方側に配置している。そのため、本実施形態に係る遊技機1は、案内部53又はメダル補給部80から、若しくは管理者によりメダルが開放部42に投入された時に、例えば、ホッパータンク43内におけるメダルの偏った堆積やメダルの落下速度等により、ホッパータンク43からメダルが跳ね返った場合においても、スピーカボックス100の底部(例えば、第1及び第2ボックスの底面部115,125)に衝突させることが可能になる。これにより、本実施形態に係る遊技機1は、メダルがホッパータンク43の外部に飛散することを防止することが可能になる。
更に、本実施形態に係る遊技機1は、メダルがホッパータンク43の外部に飛散することを防止することにより、キャビネット2bの床面等にメダルが散点することを防止することが可能になる。これにより、遊技機1の保守作業が容易になる。
また、本実施形態に係る遊技機1は、例えば、ホッパータンク43内におけるメダルが偏って堆積し続けた場合においても、スピーカボックス100の底部(例えば、第1及び第2ボックスの底面部115,125)に堆積したメダルが接触することにより、偏って堆積したメダルの更なる偏った堆積を抑制することが可能になる。つまり、メダルを押さえつけることにより、偏ったメダルの堆積を抑制することが可能になる。これにより、上記と同様の効果を生じさせることが可能になる。
また、本実施形態に係る遊技機1は、案内部53に干渉しないようにホッパー40に設けられる開放部42の少なくとも一部を覆うようにスピーカボックス100を配置している。そのため、本実施形態に係る遊技機1は、メダル投入口5から投入されるメダルのホッパー40への投入を妨げることなくスピーカボックス100を配置させることが可能になる。
また、本実施形態に係る遊技機1は、スピーカボックス100と開放部42との隙間がメダルの厚さよりも小さくなるようにスピーカボックス100が配置されている。そのため、例えば、スピーカボックス100と開放部42との隙間からメダルがホッパー40の外部に零れることを防止することが可能になる。これにより、本実施形態に係る遊技機1は、キャビネット2bの床面等にメダルが散点することを防止することが可能になり、遊技機1の保守作業が容易になる。
また、本実施形態に係る遊技機1は、遊技に係る図柄を変動表示させるメインリールユニット30Aに加え、演出に関する図柄を変動表示させ、メインリールユニット30Aよりも大型のサブリールユニット21を備えている。そのため、本実施形態に係る遊技機1は、サブリールユニット21で行う演出に意外性及び迫力のある演出を行わせることができる。これにより、本実施形態に係る遊技機1は、遊技者の遊技に対する期待感を増して遊技の興趣のより一層の向上を図ることができる。
更に、本実施形態に係る遊技機1は、小型のメインリールユニット30Aの背面側にスピーカボックス100を配置している。そのため、本実施形態に係る遊技機1は、メインリールユニット30A及び大型のサブリールユニット21を有する場合においても、筐体2の内部空間を有効に利用することが可能になる。
また、本実施形態に係る遊技機1は、スピーカボックス100に前面扉2aを閉じた状態におけるメインリールユニット30Aの背面の一部を収容可能な第1凹状部112,122が形成されている。そのため、本実施形態に係る遊技機1は、メインリールユニット30Aと干渉することなく、スピーカボックス100をメインリールユニット30Aの背面側に配置させることが可能になる。
また、本実施形態に係る遊技機1は、スピーカボックス100の連通部130にスピーカボックス100の正面側から背面側に向かって下り傾斜する傾斜部133aが設けられている。また、傾斜部133aは、キャビネット2bの内部において、キャビネット2bの背面側(ホッパー40の背面側)に配置されている。そのため、本実施形態に係る遊技機1は、メダル補給部80から補給されるメダルや案内部53から案内されるメダル、若しくは管理者により補給されたメダルを傾斜部133aにより、ホッパー40の開放部42に案内させることが可能になる。これにより、本実施形態に係る遊技機1は、キャビネット2bの床面に零すことなくメダルをホッパー40に案内することが可能になる。
次に、図16から図21を参照して、本実施形態の第1変形例に係る遊技機1A、及び第2変形例に係る遊技機1Bについて説明する。
なお、第1及び第2変形例に係る遊技機1A、1Bにおいては、主として、前記実施形態と異なる点を説明し、前記実施形態と同様の構成については同じ符号を付し、説明を省略する。つまり、第1及び第2変形例に係る遊技機1A、1Bにおいて特に説明されない点については、前記実施形態についての説明が適宜適用される。また、前記実施形態と同様の構成については、前記実施形態と同様の効果が奏される。
[第1変形例]
第1変形例に係る遊技機1Aには、キャビネット2bAの背板にスピーカボックス100Aを嵌挿可能な嵌挿穴97(開口部)が形成されている。第1変形例に係る遊技機1Aは、スピーカボックス100Aが嵌挿穴97から嵌挿可能に構成されていることにおいて、前記実施形態に係る遊技機1と相違する。以下、嵌挿穴97及びスピーカボックス100Aを中心に説明する。
図16は、第1変形例に係る遊技機1Aのキャビネット2bAの背面側を示す背面図である。図16に示すように、第1変形例に係る遊技機1Aのキャビネット2bAの背板には、スピーカボックス100Aを嵌挿可能な嵌挿穴97が形成されている。嵌挿穴97は、第1ボックス110Aを嵌挿させる第1嵌挿穴97aと、第2ボックス120Aを嵌挿させる第2嵌挿穴97bと、連通部130Aを嵌挿させる第3嵌挿穴97cと、を主体に構成されている。
第1嵌挿穴97aは、前記実施形態における第1取付部91に設けられている。第1嵌挿穴97aは、第1ボックス110Aの正面側の外形と略同形状に形成されている。第2嵌挿穴97bは、前記実施形態における第2取付部94に設けられている。第2嵌挿穴97bは、第2ボックス120Aの正面側の外形と略同形状に形成されている。第3嵌挿穴97cは、メダル補給部80が設けられる補給口81の下部側Bに設けられている。第3嵌挿穴97cは、第1嵌挿穴97aと第2嵌挿穴97bとを連結し、連通部130Aの外形と略同形状に形成されている。つまり、嵌挿穴97は、スピーカボックス100Aをキャビネット2bAの外部から嵌挿可能に形成されている。
第1嵌挿穴97aの周囲には、キャビネット2bAの外部から嵌挿穴97を介して嵌挿された第1ボックス110Aを固定する3つのネジ穴98a,98b,98cが形成されている。同様に、第2嵌挿穴97bの周囲には、キャビネット2bAの外部から嵌挿穴97を介して嵌挿された第2ボックス120Aを固定する3つのネジ穴99a,99b,99cが形成されている。
図17は、第1変形例に係る遊技機1Aに配設されるスピーカボックス100Aの外観斜視図である。
図17に示すように、スピーカボックス100Aは、スピーカユニット101が取り付けられた第1ボックス110Aと、放音パイプ(図示せず)が内蔵された第2ボックス120Aと、第1ボックスと第2ボックスとを連通させる連通部130Aと、を主体に構成されている。
第1ボックス110Aには、の正面側の縁部に3つの取付部117A,117A,117Aが設けられている。3つの取付部117A,117A,117Aは、キャビネット2bAに設けられた3つのネジ穴98a,98b,98cと対応可能に形成されており、ネジ部材を用いて第1ボックス110Aをキャビネット2bAに固定する際に用いられる。
また、第2ボックス120Aには、の正面側の縁部に3つの取付部127A,127A,127Aが設けられている。3つの取付部127A,127A,127Aは、キャビネット2bAに設けられた3つのネジ穴99a,99b,99cと対応可能に形成されており、ネジ部材を用いて第2ボックス120Aをキャビネット2bAに固定する際に用いられる。
第1変形例に係る遊技機1Aは、前記実施形態に係る遊技機1と同様の構成により生じる効果に加え、以下の効果を奏する。
例えば、第1変形例に係る遊技機1Aは、スピーカボックス100Aがキャビネット2bAの背板に設けられた嵌挿穴97に嵌合可能に形成されている。そのため、スピーカボックス100Aの内部空間の容積を大きくすることが可能になる。例えば、キャビネット2bAの背板の厚み分の容積を確保することが可能になる。これにより、スピーカボックス100Aから出力される効果音等の放音特性を向上させることが可能になる。
また、第1変形例に係る遊技機1Aは、スピーカボックス100Aがキャビネット2bA(筐体2A)の外部から嵌挿穴97を介してキャビネット2bA(筐体2A)の内部に嵌挿可能に形成されると共に、キャビネット2bAの背板の背面側にネジ部材により係止される。そのため、キャビネット2bA(筐体2A)の外部からスピーカボックス100Aの取り外しが可能になる。例えば、キャビネット2bA(筐体2A)の内部に多数の遊技に係る機器が収容されている場合においても、内部に収容される機器の配置に関係なく容易にスピーカボックス100Aの取り外しが可能になる。これにより、遊技機1Aのメンテナンス性を向上させることが可能になる。
また、第1変形例に係る遊技機1Aは、例えば、前面扉2aを有する筐体2においても、前面扉2aを開閉することなくスピーカボックス100を取り外すことが可能になる。これにより、遊技機1Aのメンテナンス性を向上させることが可能になる。
[第2変形例]
第2変形例に係る遊技機1Bは、筐体2の内部に配置されるスピーカボックス100Bの形状が異なる点において、前記実施形態に係る遊技機1と相違する。以下、スピーカボックス100Bを中心に説明する。
図18は、本発明の第2変形例に係る遊技機1Bに配設されるスピーカボックス100Bの外観斜視図である。図19は、本発明の第2変形例に係る遊技機1Bに配設されるスピーカボックス100Bの断面を示す斜視断面図である。
図18及び図19に示すように、スピーカボックス100Bは、遊技に係る効果音等を出力するスピーカユニット101と、矩形状のボックス本体140と、を主体に構成されている。
図19に示すように、ボックス本体140は、第1の面141が開放された箱状に形成されている。スピーカユニット101は、スピーカカバー142に取り付けられた状態でボックス本体140の第1の面141に固定される。スピーカカバー142には、複数の開孔143が形成されており、スピーカユニット101の正面の振動板101aから出力される効果音等を放音可能に形成されている。
スピーカユニット101の背面側は、ボックス本体140に覆われている。言い換えると、スピーカユニット101は、背面側がボックス本体140に覆われるようにボックス本体140に取り付けられ、背面側が密封されている。
次に、キャビネット2b内におけるスピーカボックス100Aの配置状態について説明する。図20は、第2変形例に係る遊技機1Bのスピーカボックス100Bの配置位置を示すキャビネット2bの外観斜視図である。図21は、第2変形例に係る遊技機1Bのスピーカボックス100Bの配置位置を示すキャビネット2bの正面図である。なお、図20及び図21においては、サブリールユニット21は、省略している。
図20に示すように、スピーカボックス100Bは、開放部42の一部を覆うように、ホッパー40の上部側Tに配設されている。具体的には、スピーカボックス100Bは、図21に示すように、開放部42を構成するホッパー40の他方側Lの上部側縁44aの上部側Tに配設されている。また、スピーカボックス100Bは、図21に示すように、補給口81の他方側Lに設けられた第2取付部94に取り付けられている。スピーカボックス100Bは、ネジ部材(図示せず)により固定されている。
第2変形例に係る遊技機1Bは、前記実施形態と同様の構成により生じる効果に加え、以下の効果を奏する。
例えば、第2変形例に係る遊技機1Bは、スピーカボックス100Aが開放部42の一部を覆うように、開放部42を構成するホッパー40の他方側Lの上部側縁44aの上部側Tに配設される。そのため、例えば、開放部42に投入されたメダルがホッパータンク43の内部から飛散した場合においても、スピーカボックス100Aの底面部に衝突し、キャビネット2bの床面に零れることを抑制させることが可能になる。
また、第2変形例に係る遊技機1Bは、スピーカユニット101の背面側をボックス本体140で覆う密封型のスピーカボックス100Bを用いて構成している。そのため、第2変形例に係る遊技機1Bは、例えば、位相特性の優れた音を出力させることが可能になる。
また、第2変形例に係る遊技機1Bは、外形が複雑な形状を有さないボックス本体140から構成されている。そのため、第2変形例に係る遊技機1Bは、例えば、少ない製造工程により製造させることが可能になる。これにより、製造コストを抑制した状態で、音質の向上した遊技機を提供することが可能になる。
また、第2変形例に係る遊技機1Bは、複雑な形状を有さない直方体状に形成されている。そのため、第2変形例に係る遊技機1Bは、例えば、不要な収容スペースを作ることなくキャビネット2bの内部に収容させることが可能になる。これにより、キャビネット2b内の収容スペースを有効に使用することが可能になる。また、例えば、キャビネット2bの内部において、スピーカボックス100Bを収容するための収容スペースが少ない場合においても、収容が可能になる。
以上、本発明を実施するための最良の形態及び変形例について説明したが、本発明はこれらに限定されるものではない。
例えば、本実施形態においては、小型のメインリールユニット30Aと、メインリールユニット30Aに対して相対的に大型のサブリールユニット21を備え、メインリールユニット30Aの背面側にスピーカボックス100を配置させる構成としたが、本発明においてはこれに限らない。例えば、大型のメインリールユニットと、メインリールユニットに対して相対的に小型のサブリールユニットを備え、サブリールユニットの背面側にスピーカボックス100を配置させる構成としてもよい。すなわち、小型のリールユニットの背面側に配置させる構成であってもよい。
また、本実施形態においては、前面扉2aにメインリールユニット30Aを配設させ、キャビネット2bにサブリールユニット21を配設させる構成としたが、本発明においては、これに限らない。例えば、前面扉2aにメインリールユニット30A及びサブリールユニット21を配設させる構成であってもよい。また、キャビネット2bにメインリールユニット30A及びサブリールユニット21を配設させる構成であってもよい。
また、本実施形態においては、前面扉2aにメインリールユニット30Aを配設させ、キャビネット2bにサブリールユニット21を配設させる構成としたが、本発明においては、これに限らない。例えば、前面扉2aにサブリールユニット21を配設させ、キャビネット2bにメインリールユニット30Aを配設させる構成としてもよい。
また、本実施形態においては、スピーカボックス100の正面側(筐体の背面側)にスピーカユニット101を配置し、スピーカボックス100の背面側(筐体の前面側)に放音パイプ150を設ける構成としたが、本発明においてはこれに限らない。例えば、スピーカボックス100の正面側(筐体の背面側)にスピーカユニット101及び放音パイプ150を設ける構成としてもよい。
また、第1変形例においては、キャビネット2bAの背板に貫通した嵌挿穴97を設け、この嵌挿穴97からスピーカボックス100Aを嵌挿させる構成としたが、本発明においてはこれに限らない。例えば、背板にキャビネット2bAの内部側に凹む凹状に形成された嵌挿部を設け、嵌挿部にスピーカボックス100Aを嵌挿させる構成であってもよい。つまり、筐体2の外部から筐体2の内部に嵌挿可能な構成であればよい。
また、第1変形例においては、キャビネット2bAの背板に貫通した嵌挿穴97を設け、この嵌挿穴97からスピーカボックス100Aを嵌挿させる構成としたが、本発明においてはこれに限らない。例えば、嵌挿穴97の下部側Bや上述の嵌挿部の下部側Bにスピーカボックス100Aの嵌挿を補助するガイド部を設ける構成としてもよい。例えば、スピーカボックス100を一時的に載置する載置台を設ける構成としてもよい。なお、載置台には、スピーカボックス100を嵌挿する方向を案内するガイドを設ける構成としてもよい。
また、第1変形例においては、スピーカボックス100Aをキャビネット2bAの背板と水平になるようにキャビネット2bAの背板に取り付ける構成としたが、本発明においてはこれに限らない。例えば、スピーカボックス100Aの第2ボックス120Aをキャビネット2bAの背板から筐体2の外部側に突出させる構成としてもよい。これにより、スピーカボックス100Aの容積を更に大きくすることが可能になる。
また、第1変形例においては、スピーカボックス100Aをキャビネット2bAにネジ部材により固定させる構成としたが、本発明においてはこれに限らない。例えば、スピーカボックス100Aに爪部を設け、キャビネット2bAの背板に爪部と嵌合可能な嵌合部を設け、爪部を嵌合部に嵌合させることにより、スピーカボックス100をキャビネット2bAに取り付ける構成としてもよい。
また、第2変形例においては、スピーカユニット101の背面側を密封させた密封型のスピーカボックス100Bを用いる構成としたが、本発明においてはこれに限らない。例えば、密封型のスピーカボックス100Bに低域共振用のダクトを設けたシングルバスレフ型のものであってもよい。また、スピーカボックス100B内部を2つに区切り、各部屋の仕切り等にダクトを設けたダブルバスレフ型のものであってもよい。
また、第2変形例においては、スピーカボックス100Bは、ボックス本体140を主体に構成したが、本発明においてはこれに限らない。例えば、ボックス本体140から延出する延出部を補給口81の下方側に配置するように設け、延出部にキャビネット2bの背面側から前面側に下り傾斜する傾斜部を設ける構成としてもよい。これにより、実施形態における連通部130と同様の効果を奏させることが可能になる。また、この延出部の内部を中空状とし、放音パイプとさせてもよい。
1,1A,1B 遊技機
2 筐体
2a キャビネット
2b 前面扉
5 メダル投入口(投入口)
21 サブリールユニット(第2変動表示装置)
30A メインリールユニット(第1変動表示装置)
40 ホッパー(払出装置)
42 開放部
53 案内部
97 嵌挿穴(開口部)
100,100A,100B スピーカボックス
101 スピーカユニット
110 第1ボックス
120 第2ボックス
130 連通部
133a 傾斜部
150 放音パイプ(放出パイプ)


Claims (6)

  1. 遊技媒体が投入される投入口を前面に有する筐体と、
    前記筐体の内部に配置され、上部に前記遊技媒体を投入可能な開放部を有する払出装置と、
    前記筐体の内部における前記払出装置の上方に配置され、前記投入口から投入される前記遊技媒体を前記開放部に案内する案内部と、
    音を出力するスピーカユニットと、
    前記案内部の近傍における前記払出装置の上方に配置され、前記スピーカユニットが配設される第1ボックスと、前記第1ボックスの内部に出力された音を放出する放出パイプを有する第2ボックスと、前記第1ボックスと前記第2ボックスとを連通させる連通部と、を有するスピーカボックスと、を備え、
    前記連通部は、前記払出装置の背面側において前記案内部と対向するように配置されると共に、前記筐体の背面側から前面側に向かって下り傾斜する傾斜部を有することを特徴とする遊技機。
  2. 前記スピーカボックスは、前記開放部の少なくとも一部を覆うように配置されることを特徴とする請求項1に記載の遊技機。
  3. 筐体と、
    前記筐体の内部に配置され、上部に遊技媒体を投入可能な開放部を有する払出装置と、
    前記筐体の背面における前記払出装置の上方に設けられ、前記筐体の外部から前記払出装置に前記遊技媒体を補給可能な補給部と、
    音を出力するスピーカユニットと、
    前記筐体の内部における前記払出装置の上方に配置され、前記スピーカユニットが配設される第1ボックスと、前記第1ボックスの内部に出力された音を放出する放出パイプを有する第2ボックスと、前記第1ボックスと前記第2ボックスとを連通させる連通部と、を有するスピーカボックスと、を備え、
    前記連通部は、前記補給部の下方に配置されると共に、前記筐体の背面側から前面側に向かって下り傾斜する傾斜部を有することを特徴とする遊技機。
  4. 前記スピーカボックスは、前記開放部の少なくとも一部を覆うように配置されることを特徴とする請求項3に記載の遊技機。
  5. 遊技媒体が投入される投入口を前面に有する筐体と、
    前記筐体の背面における払出装置の上方に設けられ、前記筐体の外部から前記払出装置に前記遊技媒体を補給可能な補給部と、
    前記筐体の内部に配置され、上部に前記遊技媒体を投入可能な開放部を有する払出装置と、
    前記筐体の内部における前記払出装置の上方に配置され、前記投入口から投入される前記遊技媒体を前記開放部に案内する案内部と、
    音を出力するスピーカユニットと、
    前記案内部の近傍における前記払出装置の上方に配置され、前記スピーカユニットが配設される第1ボックスと、前記第1ボックスの内部に出力された音を放出する放出パイプを有する第2ボックスと、前記第1ボックスと前記第2ボックスとを連通させる連通部と、を有するスピーカボックスと、を備え、
    前記連通部は、前記補給部の下方において前記案内部と対向するように配置されると共に、前記筐体の背面側から前面側に向かって下り傾斜する傾斜部を有することを特徴とする遊技機。
  6. 前記スピーカボックスは、前記開放部の少なくとも一部を覆うように配置されることを特徴とする請求項5に記載の遊技機。

JP2009135523A 2008-07-03 2009-06-04 スピーカボックスを筐体の内部に備える遊技機 Expired - Fee Related JP5363880B2 (ja)

Applications Claiming Priority (2)

Application Number Priority Date Filing Date Title
US7797508P 2008-07-03 2008-07-03
US61/077975 2008-07-03

Publications (2)

Publication Number Publication Date
JP2010012243A true JP2010012243A (ja) 2010-01-21
JP5363880B2 JP5363880B2 (ja) 2013-12-11

Family

ID=41716424

Family Applications (1)

Application Number Title Priority Date Filing Date
JP2009135523A Expired - Fee Related JP5363880B2 (ja) 2008-07-03 2009-06-04 スピーカボックスを筐体の内部に備える遊技機

Country Status (1)

Country Link
JP (1) JP5363880B2 (ja)

Citations (3)

* Cited by examiner, † Cited by third party
Publication number Priority date Publication date Assignee Title
JP2005218744A (ja) * 2004-02-09 2005-08-18 Sophia Co Ltd 遊技機
JP2006202065A (ja) * 2005-01-20 2006-08-03 Sega Corp メダル処理装置
JP2008054729A (ja) * 2006-08-29 2008-03-13 Aruze Corp 遊技機

Patent Citations (3)

* Cited by examiner, † Cited by third party
Publication number Priority date Publication date Assignee Title
JP2005218744A (ja) * 2004-02-09 2005-08-18 Sophia Co Ltd 遊技機
JP2006202065A (ja) * 2005-01-20 2006-08-03 Sega Corp メダル処理装置
JP2008054729A (ja) * 2006-08-29 2008-03-13 Aruze Corp 遊技機

Also Published As

Publication number Publication date
JP5363880B2 (ja) 2013-12-11

Similar Documents

Publication Publication Date Title
JP2009072434A (ja) 遊技機
JP5457011B2 (ja) 遊技機
JP5792368B2 (ja) スピーカボックスを筐体の内部に備える遊技機
JP5638773B2 (ja) スピーカボックスを筐体の内部に備える遊技機
JP5570759B2 (ja) スピーカボックスを筐体の背面の一部として構成した遊技機
JP5363880B2 (ja) スピーカボックスを筐体の内部に備える遊技機
JP5722378B2 (ja) 遊技機
JP5722377B2 (ja) 遊技機
JP2009000381A (ja) 遊技機
JP2010178972A (ja) 遊技機
JP2006000506A (ja) 回胴式遊技機
JP2003052892A (ja) 遊技機
JP2004173848A (ja) 遊技機
JP2014200618A (ja) 遊技機
JP2006000510A (ja) 回胴式遊技機
JP2009055991A (ja) 遊技機
JP2006014842A (ja) 回胴式遊技機
JP2009050526A (ja) スロットマシン
JP2006000508A (ja) 回胴式遊技機
JP2006000505A (ja) 回胴式遊技機
JP6480301B2 (ja) 遊技機
JP5170744B2 (ja) 遊技機
JP2007215801A (ja) ホッパー装置及び遊技機
JP2006000511A (ja) 回胴式遊技機
JP2006006416A (ja) 遊技機

Legal Events

Date Code Title Description
RD02 Notification of acceptance of power of attorney

Free format text: JAPANESE INTERMEDIATE CODE: A7422

Effective date: 20110415

RD04 Notification of resignation of power of attorney

Free format text: JAPANESE INTERMEDIATE CODE: A7424

Effective date: 20110421

A621 Written request for application examination

Free format text: JAPANESE INTERMEDIATE CODE: A621

Effective date: 20120509

RD02 Notification of acceptance of power of attorney

Free format text: JAPANESE INTERMEDIATE CODE: A7422

Effective date: 20120509

A977 Report on retrieval

Free format text: JAPANESE INTERMEDIATE CODE: A971007

Effective date: 20130828

TRDD Decision of grant or rejection written
A01 Written decision to grant a patent or to grant a registration (utility model)

Free format text: JAPANESE INTERMEDIATE CODE: A01

Effective date: 20130903

A61 First payment of annual fees (during grant procedure)

Free format text: JAPANESE INTERMEDIATE CODE: A61

Effective date: 20130906

R150 Certificate of patent or registration of utility model

Free format text: JAPANESE INTERMEDIATE CODE: R150

RD04 Notification of resignation of power of attorney

Free format text: JAPANESE INTERMEDIATE CODE: R3D04

R250 Receipt of annual fees

Free format text: JAPANESE INTERMEDIATE CODE: R250

R250 Receipt of annual fees

Free format text: JAPANESE INTERMEDIATE CODE: R250

LAPS Cancellation because of no payment of annual fees