JP2010011969A - 施療用エアーバッグ構造体 - Google Patents

施療用エアーバッグ構造体 Download PDF

Info

Publication number
JP2010011969A
JP2010011969A JP2008173696A JP2008173696A JP2010011969A JP 2010011969 A JP2010011969 A JP 2010011969A JP 2008173696 A JP2008173696 A JP 2008173696A JP 2008173696 A JP2008173696 A JP 2008173696A JP 2010011969 A JP2010011969 A JP 2010011969A
Authority
JP
Japan
Prior art keywords
airbag
air bag
treatment
mounting
attachment
Prior art date
Legal status (The legal status is an assumption and is not a legal conclusion. Google has not performed a legal analysis and makes no representation as to the accuracy of the status listed.)
Granted
Application number
JP2008173696A
Other languages
English (en)
Other versions
JP5195093B2 (ja
Inventor
Katsuyoshi Goto
勝義 後藤
Current Assignee (The listed assignees may be inaccurate. Google has not performed a legal analysis and makes no representation or warranty as to the accuracy of the list.)
Fuji Medical Instruments Mfg Co Ltd
Original Assignee
Fuji Medical Instruments Mfg Co Ltd
Priority date (The priority date is an assumption and is not a legal conclusion. Google has not performed a legal analysis and makes no representation as to the accuracy of the date listed.)
Filing date
Publication date
Application filed by Fuji Medical Instruments Mfg Co Ltd filed Critical Fuji Medical Instruments Mfg Co Ltd
Priority to JP2008173696A priority Critical patent/JP5195093B2/ja
Publication of JP2010011969A publication Critical patent/JP2010011969A/ja
Application granted granted Critical
Publication of JP5195093B2 publication Critical patent/JP5195093B2/ja
Expired - Fee Related legal-status Critical Current
Anticipated expiration legal-status Critical

Links

Images

Landscapes

  • Massaging Devices (AREA)

Abstract

【課題】施療機の施療位置に取り付けた場合に、エアーバッグの膨縮に関わらず、各々のエアーバッグ本体の開放端部分が大きく開いてしまうことがなく、エアーバッグユニット自体が大きくなってしまうようなことがなく、さらに取付片が劣化しにくく耐久性に優れた施療用エアーバッグ構造体を提供する。
【解決手段】空気を給排気させて膨縮するエアーバッグ本体1であって、該エアーバッグ本体1は、その外周部に連設している非膨縮周縁部1aを有し、該非膨縮周縁部1aに施療機本体に取り付けるための取付片4が連設され、前記取付片4は、エアーバッグ本体1の膨縮方向における厚さ方向の少なくとも略1/2厚み分を凹ませた凹部5が形成されており、エアーバッグ本体1における前記凹部5の外底面5aを互いに当接させて重ね合わせた二つの前記エアーバッグ本体1が、エアーバッグ取付部10に固着されたものとしている。
【選択図】 図4

Description

この発明は、椅子式、ベッド式としたマッサージ機などの施療機に使用するのに適した施療用エアーバッグ構造体に関するものである。
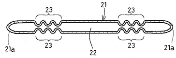
従来、この種の施療用エアーバッグ構造体は、例えば図16、17に示すように、平坦形状のエアーバッグ本体21内に内部空間22が形成され、この内部空間22に、空気給排装置(図示せず)等により空気を給排気させて、エアーバッグ本体21を膨張させたり、収縮させるように構成されている。そして、前記エアーバッグ本体21の両面中央には、環状蛇腹部23をそれぞれ設けている。また、前記エアーバッグ本体21の周縁部21aの適所には、前記内部空間22に空気を給排気するための通気孔24を付設しており、この通気孔24は前記空気給排装置と連繋するエアーホース(図示せず)と接続している。さらに、前記周縁部21aの一側の二箇所には、平板状の取付片25を連設したものとしている(特許文献1)。
さらに、この種の施療用エアーバッグ構造体は、例えば図18、19に示すように、空気給排装置31からの給排気をエアーホース32により伝達されるものとしており、マッサージ機などの施療機の適所に配設されている。そして、膨張、収縮可能な内部空間を有するエアーバッグ本体33とこのエアーバッグ本体33の周縁に設けられた周縁部33aとを備えた平坦状のエアーバッグを二つ重ね合わせると共に、これらエアーバッグの周縁部33aの一側を連結したものとしている。
これらエアーバッグの周縁部33aの一側を連結するには、前記各エアーバッグ本体33の一側縁にそれぞれ一体成形した取付片34を、止着部材35により互いを止着したものとしている(特許文献2)。
特開2006−314495号公報(図1、図2) 特開2008−224号公報(図4、図5、図8)
上記特許文献1に示した従来の施療用エアーバッグ構造体は、エアーバッグ本体21を一つだけ使用しても膨張の度合いが不十分である場合には、図20に示したようにエアーバッグ本体21を二つ重ね合わせて使用することがある。
しかしながら、この施療用エアーバッグ構造体では、前記取付片25をエアーバッグ本体21の厚み方向の略中央に設けているため、エアーバッグ本体21を二つ重ね合わせて使用する場合に各々の取付片25を連結すると、図20に示したように、二つのエアーバッグ本体21の1/2の厚み分が互いに干渉し合うため、各々のエアーバッグ本体21の開放端部分が大きく開いてしまうことになる。
その結果、前記施療用エアーバッグ構造体のエアーバッグ本体21を二つ重ね合わせたエアーバッグユニットを椅子式マッサージ機などの施療機の施療位置に取り付けた場合に、エアーバッグの膨張、収縮(以下、膨縮という)時に関わらず、各々のエアーバッグの開放端部分が大きく開いてしまうため、施療機の外装地の中に納まりきらないことがあるという問題点を有していた。
また、前記エアーバッグユニットを、施療機の肩、腰、大腿などの人体施療箇所に設置する場合、当初から各々のエアーバッグ本体21の開放端部分が大きく開いてしまっているため、施療者がこの施療機に座る際や立ち上がる際に、前記ユニットの大きく開いたエアーバッグ本体21の開放端部分が邪魔になり、座る動作や立ち上がる動作に支障が生じるという問題点を有していた。
そこで、前記解決策の一つとして、エアーバッグ本体21の取付片25自体を長くし、その連結部をエアーバッグ本体21から離れた位置に設ければ、各々のエアーバッグ本体21の開放端部分の開きを抑えることができる。しかし、この場合、エアーバッグ本体21の取付片25自体を長くすることにより、エアーバッグユニット自体が大きくなってしまい、またエアーバッグ本体21の取付片25自体の強度が低下するため、耐久性に劣ったものになるという問題点が生ずるものとなる。
さらに、上記特許文献2に示した従来の施療用エアーバッグ構造体では、二つ重ね合わせたエアーバッグ本体33の上層になるエアーバッグ本体33の取付片34を、このエアーバッグ本体33の1/2の厚み分、下方に曲げ加工すると共に、前記エアーバッグ本体33の下層になるエアーバッグ本体33の取付片34を、このエアーバッグ本体33の1/2の厚み分、上方に曲げ加工したものとしているため、前記図19に示したように、二つのエアーバッグ本体33の1/2の厚み分が互いに干渉し合うことなく、各々のエアーバッグ本体33の開放端部分が大きく開くようなことはない。
しかしながら、この施療用エアーバッグ構造体では、二つ重ね合わせたエアーバッグ本体33を同時に膨張させると、図21に示したように、前記曲げ加工した取付片34のそれぞれが互いに曲げ加工される前の真っ直ぐな状態に戻されようとするため、曲げ加工されていない通常の取付片より大きな曲げ応力が作用し、取付片34の曲げ加工した部分が劣化し易くなり、耐久性に劣ったものになるという問題点を有していた。
さらに、この施療用エアーバッグ構造体では、前記真っ直ぐな状態に戻されようとする曲げ応力が、取付片34のエアーバッグ本体33との繋ぎ目に集中してかかるため、この取付片34の繋ぎ目も劣化し易くなり、耐久性に劣ったものになるという問題点を有していた。
そこで、この発明は、上記従来の問題点を解決することをその課題としており、エアーバッグ本体を二つ重ねて取り付けたエアーバッグユニットを施療機の施療位置に取り付けた場合に、エアーバッグの膨縮時に関わらず、各々のエアーバッグ本体の開放端部分が大きく開いてしまうことがなく、エアーバッグユニット自体が大きくなってしまうようなことがなく、さらに取付片が劣化しにくく耐久性に優れた施療用エアーバッグ構造体を提供することを目的としてなされたものである。
そのため、この発明の施療用エアーバッグ構造体は、空気を給排気させて膨縮するエアーバッグ本体1であって、該エアーバッグ本体1は、その外周部に連設している非膨縮周縁部1aを有し、該非膨縮周縁部1aに施療機本体に取り付けるための取付片4が連設され、前記取付片4は、エアーバッグ本体1の膨縮方向における厚さ方向の少なくとも略1/2厚み分を凹ませた凹部5が形成されており、エアーバッグ本体1における前記凹部5の外底面5aを互いに当接させて重ね合わせた二つの前記エアーバッグ本体1が、エアーバッグ取付部10に固着されたものとしている。
さらに、この発明の施療用エアーバッグ構造体は、前記エアーバッグ取付部10の表面部に取付突起12が設けられており、前記取付突起12を前記エアーバッグ本体1の凹部5の内底面5bに当接させた状態で、重ね合わせた二つの前記エアーバッグ本体1が前記エアーバッグ取付部10に固着されたものとしている。
さらに、この発明の施療用エアーバッグ構造体は、前記凹部5を、前記取付片4の長手方向に長く形成された長円形状とし、長さ方向に間隔をおいてエアーバッグ本体1に複数の取付孔6を設けたものとしている。
さらに、この発明の施療用エアーバッグ構造体は、重ね合わせた二つの前記エアーバッグ本体1を施療機本体に装着した場合に、人体当接側に位置するエアーバッグ本体1の膨縮部分から遠い位置にある取付孔6と、前記エアーバッグ取付部10側に位置するエアーバッグ本体1の膨縮部分から近い位置にある取付孔6とを用いて、重ね合わせた二つの前記エアーバッグ本体1が前記エアーバッグ取付部10に固着されたものとしている。
さらに、この発明の施療用エアーバッグ構造体は、重ね合わせた二つの前記エアーバッグ本体1のそれぞれに袋状の外装地9を被せたものとしている。
さらに、この発明の施療用エアーバッグ構造体は、前記凹部5を前記外装地9の厚み分だけ余分に凹ませたものとしている。
この発明の施療用エアーバッグ構造体は、以上に述べたように構成されており、エアーバッグ本体を二つ重ねて取り付けたエアーバッグユニットをマッサージ機などの施療機の施療位置に取り付けた場合に、エアーバッグの膨縮時に関わらず、各々のエアーバッグ本体の開放端部分が大きく開いてしまうことがないので、施療機の外装地の中に納まり易いものとなる。
さらに、この発明の施療用エアーバッグ構造体は、施療機の肩、腰、大腿などの人体施療位置において、各々のエアーバッグ本体の開放端部分が大きく開いてしまうことがなく、しかもエアーバッグユニット自体が大きくなってしまうことがないため、施療者がこの施療機に座る際や立ち上がる際に、前記ユニットのエアーバッグ本体の開放端部分が邪魔になるようなことがなく、座る動作や立ち上がる動作に支障が生じることがないものとなる。
また、この発明の施療用エアーバッグ構造体は、エアーバッグ本体を二つ重ねて取り付けたエアーバッグユニットの取付片が劣化しにくく耐久性に優れたものとなり、エアーバッグユニットが作動不良などを起こすことがないものとなる。
以下、この発明の施療用エアーバッグ構造体を実施するための最良の形態を、図面に基づいて詳細に説明する。
この発明の施療用エアーバッグ構造体は、内部に空間S1 が形成され、この空間S1 に例えば空気給排装置(図示せず)等により空気を給排気させて、膨縮させるようにした平坦形状のエアーバッグ本体1を備えている。前記エアーバッグ本体1の両面中央には、バッグ膨張時にその膨張度を高めるための環状蛇腹部2をそれぞれ設けている。さらに、前記エアーバッグ本体1における非膨縮周縁部1aの一側の適所には、前記空間S1 に空気を給排気するための通気管3を付設しており、この通気管3は前記空気給排装置と連繋するエアーホース(図示せず)と接続している。さらに、前記非膨縮周縁部1aの一側の適所には、平板状の取付片4を連設したものとしている。
前記エアーバッグ本体1は、通常、ポリエチレン系樹脂等の熱可塑性樹脂をブロー成形してなるものとしており、平面形状を長四角形、長円形など、人体の施療箇所の形状に応じたものとし、厚みを5〜10mm程度としており、この非膨縮周縁部1aに前記取付片4を一体形成することにより連設している。なお、前記非膨縮周縁部1aは、エアーバッグ本体1の厚み方向における中央位置に設けられている。
前記取付片4は、例えば図示したように、エアーバッグ本体1の非膨縮周縁部1aの一側に、適宜間隔をおいて、二箇所に設けたものとしており、それぞれにエアーバッグ本体1の略1/2の厚み分を凹ませ、外面を外底面5aとし、内面を内底面5bとして、これら外底面5aおよび内底面5bを平面とした凹部5を形成している。それぞれの凹部5は、図1に示したように平面形状を円形状としたり、図2に示したように取付片4の長さ方向に長くした長円形状としており、円形状とした場合には中央に一つの取付孔6を形成し、長円形状とした場合には長さ方向に適宜間隔をおいてエアーバッグ本体1の近い位置と遠い位置にそれぞれ取付孔6を設けている。
そして、この発明の施療用エアーバッグ構造体は、前記エアーバッグ本体1を二つ用いて、図3〜6に示したようにこれらを二つ重ね合わせて、これらエアーバッグ本体1の取付片4の凹部5の外底面5aどうしを当接させ、それぞれの取付孔6に必要に応じワッシャ7を介在させて、ビス8を通してビス止めすることにより、エアーバッグ取付部10に固着されたものとしている。
前記エアーバッグ取付部10は、椅子式マッサージ機などの施療機Mの肩ぐうユニットU、背当て部b、座部c、肘掛け部a、オットマンoなどの各ユニットとすることができる。
以上のように構成したこの発明の施療用エアーバッグ構造体は、例えば図7に示したように、前記二つ重ね合わせたエアーバッグ本体1の一方を、エアーバッグ取付部10である椅子式マッサージ機などの施療機Mの肩ぐうユニットUの設置面側になるようにして設置する。
このようにすると、前記二つ重ね合わせたエアーバッグ本体1がそれぞれ収縮した状態では、図4、6に示したように、各々のエアーバッグ本体1の両対向面の間に隙間S2 が維持された状態となるか、各々のエアーバッグ本体1の両対向面が軽く接触する状態となるので、各々のエアーバッグ本体1の開放端部分が大きく開いてしまうようなことはない。したがって、この発明の施療用エアーバッグ構造体は、施療機Mの各ユニットに嵩張ることなく設置することができる。
また、この発明の施療用エアーバッグ構造体は、二つのエアーバッグ本体1がそれぞれ膨張した状態では、図8、9に示したように、前記固着部を中心として互いに押し合って回動し、施療機Mに設置した場合に人体当接側に位置するエアーバッグ本体1、すなわち内側になるエアーバッグ本体1が、この施療機Mのエアーバッグ取付部10側に位置するエアーバッグ本体1、すなわち外側になるエアーバッグ本体1の押上用エアーバッグとなり、前記外側になるエアーバッグ本体1が人体押圧用エアーバッグとなり、このエアーバッグ本体1によって効果的に人体が施療されることになる。
この場合、前記取付孔6をエアーバッグ本体1の近い位置と遠い位置に設けたものでは、前記内側になるエアーバッグ本体1は、エアーバッグ本体1の近い位置に設けた取付孔6を選択し、前記外側になるエアーバッグ本体1は、エアーバッグ本体1の遠い位置に設けた取付孔6を選択して、これらに必要に応じワッシャ7を介在させて、ビス8を通してビス止めすることにより固着する。
このようにすると、この発明の施療用エアーバッグ構造体では、図9に示したように、前記内側になるエアーバッグ本体1が膨張した場合の最大膨張箇所Sa(エアーバッグ本体1の略中央部)が、前記外側になるエアーバッグ本体1が膨張した場合の最大膨張箇所Sb(エアーバッグ本体1の略中央部)より固着部寄りになるので、この外側になるエアーバッグ本体1が内側になるエアーバッグ本体1の最大膨張箇所Saの近辺により押されて、前記固着部を中心とする外側になるエアーバッグ本体1の回動角度が大きくなる。この回動角度が大きくなることにより、前記外側になるエアーバッグ本体1の人体を押圧する力をより強くすることができ、このエアーバッグ本体1による人体の施療効果を増大させることができる。
さらに、この発明の施療用エアーバッグ構造体では、前記したように固着部を中心とするエアーバッグ本体1の回動角度が大きくなり、固着部に作用する曲げ応力が強くなっても、固着部はエアーバッグ本体1の取付片4の凹部5の外底面5aどうしを当接させたものとしているので、この曲げ応力は凹部4内で殆ど吸収され、取付片4のエアーバッグ本体1との繋ぎ目には余り作用しないので、この取付片4の繋ぎ目が劣化しにくいものとなり、耐久性に優れたものとなる。
また、この発明の施療用エアーバッグ構造体は、図10に示したように前記二つのエアーバッグ本体1のそれぞれに袋状の外装地9を被せたものとして、外観を良くしたり、施療時の人体との接触感を向上させたものとしている。この場合、前記外装地9の厚み分、凹部5を余分に凹ませたものとすることにより、前記それぞれのエアーバッグ本体1の収縮した状態において、前記袋状の外装地9を被せていない場合と同様に、各々のエアーバッグ本体1の両対向面の間に隙間S2 が維持された状態となるか、各々のエアーバッグ本体1の両対向面が軽く接触する状態となり、各々のエアーバッグ本体1の開放端部分が開くのをより効果的に抑えることができる。
次に、この発明の施療用エアーバッグ構造体は、前記エアーバッグ取付部10を図11、12に示したものとし、椅子式マッサージ機などの施療機Mの肩ぐうユニット、背当て部b、座部c、肘掛け部a、オットマンoなどの各ユニットに固着したものとすることもできる。
前記エアーバッグ取付部10は、図12に示したように必要に応じて裏面をリブ11などで補強した平坦な板体としており、前記エアーバッグ本体1の全平面および取付片4を沿わせることができる程度の大きさにしており、このエアーバッグ取付部10の平面形状は、前記エアーバッグ本体1に合わせた長四角形、長円形などとするのが好ましい。
前記エアーバッグ取付部10の表面の一側部には、適宜間隔をおいて二箇所に、前記エアーバッグ本体1の取付片4の取付突起12を設けたものとしている。それぞれの取付突起12は、前記エアーバッグ取付部10の表面からエアーバッグ本体1と略同一の厚み分を突出させ、エアーバッグ取付部10側のエアーバッグ本体1の取付片4の凹部5に嵌め込み可能としたものとし、平面とした頂部12aを前記エアーバッグ本体1の取付片4の凹部5の内底面5bに当接するようにしている。そして、この頂部12aの中央部には、前記取付片4をビス止め等しておくための止め部13を設けたものとしている。
さらに、前記エアーバッグ取付部10の二箇所に設けた取付突起12の間には、前記エアーバッグ本体1のそれぞれの通気管3に給排気するエアーホース14の設置空間15を設け、このエアーホース14が嵩張らないようにして、通気管3に連結できるようにしている。また、前記エアーバッグ取付部10の適所には、施療機Mの各ユニットの設置面にビス止め等しておくための止め部16を設けたものとしている。
そして、このようにしたエアーバッグ取付部10は、表面に前記二つ重ね合わせたエアーバッグ本体1を重ね、この表面に設けたそれぞれの取付突起12を、エアーバッグ取付部10側のエアーバッグ本体1のそれぞれの取付片4に設けた凹部5に嵌め込み、この凹部5の内底面5bに取付突起12の頂部12aを当接させ、それぞれの取付片4の取付孔6に必要に応じワッシャ7を介在させビス8を通して、このビス8を取付突起12の止め部13にビス止めすることにより、それぞれの取付片4をエアーバッグ取付部10に固着している。
以上のように構成したこの発明の施療用エアーバッグ構造体においても、例えば図7に示したように、前記エアーバッグ取付部10の裏面を、椅子式マッサージ機などの施療機Mの肩ぐうユニットUの設置面側なるようにして設置する。なお、この実施形態においても、施療機Mの背当て部b、座部c、肘掛け部a、オットマンo等の各ユニットにも同様にして設置することができるのは言うまでもない。
このようにすると、前記二つ重ね合わせたエアーバッグ本体1がそれぞれ収縮した状態では、図13に示したように各々のエアーバッグ本体1の両対向面の間に隙間S2 が維持された状態となり、内側になるエアーバッグ本体1とエアーバッグ取付部10の両対向面の間に隙間S3 が維持された状態となるか、これらの対向面どうしが軽く接触する状態となるので、各々のエアーバッグ本体1の開放端部分や、内側になるエアーバッグ本体1とエアーバッグ取付部10の開放端部分が大きく開いてしまうようなことはない。したがって、この発明の施療用エアーバッグ構造体は、施療機Mの各ユニットに嵩張ることなく設置することができる。
また、この発明の施療用エアーバッグ構造体は、二つのエアーバッグ本体1がそれぞれ膨張した状態では、図14に示したように、前記固着部を中心として互いに押し合って回動すると共に、内側になるエアーバッグ本体1はエアーバッグ取付部10に押し上げられることになるので、このエアーバッグ取付部10が施療機Mの内側になるエアーバッグ本体1の押上げ用台となり、このエアーバッグ本体1がさらに施療機Mの外側になるエアーバッグ本体1の押上用エアーバッグとなり、この外側になるエアーバッグ本体1が人体押圧用エアーバッグとなり、このエアーバッグ本体1によって効果的に人体が施療されることになる。
この場合、前記取付孔6をエアーバッグ本体1の近い位置と遠い位置に設けたものでは、前記内側になるエアーバッグ本体1は、エアーバッグ本体1の近い位置に設けた取付孔6を選択し、前記外側になるエアーバッグ本体1は、エアーバッグ本体1の遠い位置に設けた取付孔6を選択して、これらに必要に応じワッシャ7を介在させて、ビス8を通してビス止めすることにより固着する。
このようにすると、この発明の施療用エアーバッグ構造体では、図14に示したように、前記内側になるエアーバッグ本体1が膨張した場合の最大膨張箇所Sa(エアーバッグ本体1の略中央部)が、前記外側になるエアーバッグ本体1が膨張した場合の最大膨張箇所Sb(エアーバッグ本体1の略中央部)より固着部寄りになるので、この外側になるエアーバッグ本体1が内側になるエアーバッグ本体1の最大膨張箇所Saの近辺により押されて、前記固着部を中心とする外側になるエアーバッグ本体1の回動角度が大きくなる。この回動角度が大きくなることにより、前記外側になるエアーバッグ本体1の人体を押圧する力をより強くすることができ、このエアーバッグ本体1による人体の施療効果を増大させることができる。
さらに、この発明の施療用エアーバッグ構造体では、前記したように固着部を中心とするエアーバッグ本体1の回動角度が大きくなり、固着部に作用する曲げ応力が強くなっても、固着部はエアーバッグ本体1の取付片4の凹部5の外底面5aどうしを当接させると共に、内側になる凹部5の内底面5bに取付突起12の頂部12aを当接させたものとしているので、この曲げ応力は凹部4内で殆ど吸収され、取付片4のエアーバッグ本体1との繋ぎ目には余り作用しないので、この取付片4の繋ぎ目が劣化しにくいものとなり、耐久性に優れたものとなる。
また、この発明の施療用エアーバッグ構造体は、図15に示したように前記二つのエアーバッグ本体1のそれぞれに袋状の外装地9を被せたものとして、外観を良くしたり、施療時の人体との接触感を向上させたものとしている。この場合、前記外装地9の厚み分、凹部5を余分に凹ませたものとすると共に、取付突起12を余分に突出させたものとすることにより、前記それぞれのエアーバッグ本体1の収縮した状態において、前記袋状の外装地9を被せていない場合と同様に、各々のエアーバッグ本体1の両対向面の間に隙間S2 が維持された状態となるか、各々のエアーバッグ本体1の両対向面が軽く接触する状態となると共に、内側になるエアーバッグ本体1とエアーバッグ取付部10の両対向面の間に隙間S3 が維持された状態となるか、これらの対向面どうしが軽く接触する状態となるので、各々のエアーバッグ本体1の開放端部分や、内側になるエアーバッグ本体1とエアーバッグ取付部10の開放端部分が開くのをより効果的に抑えることができる。
なお、この発明の施療用エアーバッグ構造体は、前記エアーバッグ取付部10にも必要に応じて、袋状の外装地9を被せたものとして、外観を良くしたものとすることができる。この場合も、前記外装地9の厚み分、さらに取付突起12を余分に突出させたものとすれば、内側になるエアーバッグ本体1とエアーバッグ取付部10の開放端部分が開くのをより効果的に抑えることができる。
この発明の施療用エアーバッグ構造体が備えるエアーバッグ本体の一例を示す斜視図である。 この発明の施療用エアーバッグ構造体が備えるエアーバッグ本体の他の例を示す斜視図である。 この発明の施療用エアーバッグ構造体の一実施形態を示しており、図1に示すエアーバッグ本体を二つ重ね合わせたものの斜視図である。 図3中のA−A線によるこの発明の施療用エアーバッグ構造体の断面図である。 この発明の施療用エアーバッグ構造体の他の実施形態を示しており、図2に示すエアーバッグ本体を二つ重ね合わせたものの斜視図である。 図5中のB−B線によるこの発明の施療用エアーバッグ構造体の断面図である。 この発明の施療用エアーバッグ構造体を椅子式マッサージ機の肩ぐうユニットに設置した状態を示す斜視図である。 図4に示すこの発明の施療用エアーバッグ構造体のエアーバッグ本体が膨張した状態の断面図である。 図6に示すこの発明の施療用エアーバッグ構造体のエアーバッグ本体が膨張した状態の断面図である。 図6に示すこの発明の施療用エアーバッグ構造体のエアーバッグ本体に外装地を被せた状態を断面図である。 この発明の施療用エアーバッグ構造体のさらに他の実施形態を示しており、エアーバッグ取付部に固着した状態の斜視図である。 この発明の施療用エアーバッグ構造体のエアーバッグ取付部の一例を示す斜視図である。 図11中のC−C線によるこの発明の施療用エアーバッグ構造体の断面図である。 図13に示すこの発明の施療用エアーバッグ構造体のエアーバッグ本体が膨張した状態の断面図である。 図13に示すこの発明の施療用エアーバッグ構造体のエアーバッグ本体に外装地を被せた状態を断面図である。 従来の施療用エアーバッグ構造体のエアーバッグ本体の一例を示す斜視図である。 図16に示す従来の施療用エアーバッグ構造体のエアーバッグ本体の縦断面図である。 従来の施療用エアーバッグ構造体のエアーバッグ本体の他の例を示す斜視図である。 図18に示す従来の施療用エアーバッグ構造体のエアーバッグ本体の側面図である。 図16に示す従来の施療用エアーバッグ構造体のエアーバッグ本体を二つ重ね合わせた状態の側面図である。 図18に示す従来の施療用エアーバッグ構造体のエアーバッグ本体が膨張した状態の側面図である。
符号の説明
1 エアーバッグ本体
1a 非膨縮周縁部
4 取付片
5 凹部
5a 外底面
5b 内底面
6 取付孔
8 ビス
10 エアーバッグ取付部
12 取付突起
12a 頂部
S1 空間
M 施療機

Claims (6)

  1. 空気を給排気させて膨縮するエアーバッグ本体(1)であって、該エアーバッグ本体(1)は、その外周部に連設している非膨縮周縁部(1a)を有し、該非膨縮周縁部(1a)に施療機本体に取り付けるための取付片(4)が連設され、前記取付片(4)は、エアーバッグ本体(1)の膨縮方向における厚さ方向の少なくとも略1/2厚み分を凹ませた凹部(5)が形成されており、エアーバッグ本体(1)における前記凹部(5)の外底面(5a)を互いに当接させて重ね合わせた二つの前記エアーバッグ本体(1)が、エアーバッグ取付部(10)に固着されていることを特徴とする施療用エアーバッグ構造体。
  2. 前記エアーバッグ取付部(10)の表面部に取付突起(12)が設けられており、前記取付突起(12)を前記エアーバッグ本体(1)の凹部(5)の内底面(5b)に当接させた状態で、重ね合わせた二つの前記エアーバッグ本体(1)が前記エアーバッグ取付部(10)に固着されていることを特徴とする請求項1に記載の施療用エアーバッグ構造体。
  3. 前記凹部(5)は、前記取付片(4)の長手方向に長く形成された長円形状とし、長さ方向に間隔をおいてエアーバッグ本体(1)に複数の取付孔(6)を設けたことを特徴とする請求項1または2記載の施療用エアーバッグ構造体。
  4. 重ね合わせた二つの前記エアーバッグ本体(1)を施療機本体に装着した場合に、人体当接側に位置するエアーバッグ本体(1)の膨縮部分から遠い位置にある取付孔(6)と、前記エアーバッグ取付部(10)側に位置するエアーバッグ本体(1)の膨縮部分から近い位置にある取付孔(6)とを用いて、重ね合わせた二つの前記エアーバッグ本体(1)が前記エアーバッグ取付部(10)に固着されていることを特徴とする請求項3記載の施療用エアーバッグ構造体。
  5. 重ね合わせた二つの前記エアーバッグ本体(1)のそれぞれに袋状の外装地(9)を被せたことを特徴とする請求項1乃至4の何れかに記載の施療用エアーバッグ構造体。
  6. 前記凹部(5)を前記外装地(9)の厚み分だけ余分に凹ませたことを特徴とする請求項5記載の施療用エアーバッグ構造体。

JP2008173696A 2008-07-02 2008-07-02 施療用エアーバッグ構造体 Expired - Fee Related JP5195093B2 (ja)

Priority Applications (1)

Application Number Priority Date Filing Date Title
JP2008173696A JP5195093B2 (ja) 2008-07-02 2008-07-02 施療用エアーバッグ構造体

Applications Claiming Priority (1)

Application Number Priority Date Filing Date Title
JP2008173696A JP5195093B2 (ja) 2008-07-02 2008-07-02 施療用エアーバッグ構造体

Publications (2)

Publication Number Publication Date
JP2010011969A true JP2010011969A (ja) 2010-01-21
JP5195093B2 JP5195093B2 (ja) 2013-05-08

Family

ID=41698716

Family Applications (1)

Application Number Title Priority Date Filing Date
JP2008173696A Expired - Fee Related JP5195093B2 (ja) 2008-07-02 2008-07-02 施療用エアーバッグ構造体

Country Status (1)

Country Link
JP (1) JP5195093B2 (ja)

Cited By (4)

* Cited by examiner, † Cited by third party
Publication number Priority date Publication date Assignee Title
JP2013022406A (ja) * 2011-07-26 2013-02-04 Fuji Iryoki:Kk 椅子式マッサージ機
JP2013022404A (ja) * 2011-07-26 2013-02-04 Fuji Iryoki:Kk 椅子式マッサージ機
JP2014014437A (ja) * 2012-07-06 2014-01-30 Panasonic Corp 樹脂材料により一体成形されるエアーバッグ、およびこのエアーバッグを備えるマッサージ椅子
JP2023154833A (ja) * 2022-04-08 2023-10-20 株式会社フジ医療器 マッサージ機

Citations (6)

* Cited by examiner, † Cited by third party
Publication number Priority date Publication date Assignee Title
JP2002336320A (ja) * 2001-05-16 2002-11-26 Toshiba Tec Corp マッサージ機
JP2004154423A (ja) * 2002-11-07 2004-06-03 Toshiba Tec Corp マット式マッサージ機及びベッド
JP2005246074A (ja) * 2005-04-01 2005-09-15 Toshiba Tec Corp エアーマッサージ装置
JP2005287831A (ja) * 2004-03-31 2005-10-20 Protec Fuji Co Ltd 施療機
JP2007195778A (ja) * 2006-01-27 2007-08-09 Fuji Iryoki:Kk 膨縮袋
JP2008000224A (ja) * 2006-06-20 2008-01-10 Fuji Iryoki:Kk 施療機の膨縮袋構造

Patent Citations (6)

* Cited by examiner, † Cited by third party
Publication number Priority date Publication date Assignee Title
JP2002336320A (ja) * 2001-05-16 2002-11-26 Toshiba Tec Corp マッサージ機
JP2004154423A (ja) * 2002-11-07 2004-06-03 Toshiba Tec Corp マット式マッサージ機及びベッド
JP2005287831A (ja) * 2004-03-31 2005-10-20 Protec Fuji Co Ltd 施療機
JP2005246074A (ja) * 2005-04-01 2005-09-15 Toshiba Tec Corp エアーマッサージ装置
JP2007195778A (ja) * 2006-01-27 2007-08-09 Fuji Iryoki:Kk 膨縮袋
JP2008000224A (ja) * 2006-06-20 2008-01-10 Fuji Iryoki:Kk 施療機の膨縮袋構造

Cited By (4)

* Cited by examiner, † Cited by third party
Publication number Priority date Publication date Assignee Title
JP2013022406A (ja) * 2011-07-26 2013-02-04 Fuji Iryoki:Kk 椅子式マッサージ機
JP2013022404A (ja) * 2011-07-26 2013-02-04 Fuji Iryoki:Kk 椅子式マッサージ機
JP2014014437A (ja) * 2012-07-06 2014-01-30 Panasonic Corp 樹脂材料により一体成形されるエアーバッグ、およびこのエアーバッグを備えるマッサージ椅子
JP2023154833A (ja) * 2022-04-08 2023-10-20 株式会社フジ医療器 マッサージ機

Also Published As

Publication number Publication date
JP5195093B2 (ja) 2013-05-08

Similar Documents

Publication Publication Date Title
JP5195093B2 (ja) 施療用エアーバッグ構造体
TWI459942B (zh) 按摩椅
JP5237912B2 (ja) マッサージ機
US9468299B2 (en) Cushions for relieving sciatic and/or perineum pressure
US10099581B2 (en) Support arrangement for a child seat
JP4211927B2 (ja) 車両用シート
CN108685664B (zh) 腿放置部以及具备该腿放置部的按摩机
TW201729779A (zh) 氣囊及按摩機
JP2011041634A (ja) エアーセルクッション
JP5187098B2 (ja) 車両用シート
JP2009095597A (ja) 車両用シートのサイドサポート
JP4749872B2 (ja) 膨縮袋
JP4628800B2 (ja) 車両用シート
CN115158131B (zh) 一种弹性支撑组件、椅背和椅子
JP4144437B2 (ja) エアマッサージ機
JP2006068408A (ja) 骨盤矯正装置
JP4670411B2 (ja) 椅子式マッサージ機
JP5103413B2 (ja) エアマッサージ機及びマッサージ椅子
JP2010240307A (ja) マッサージ用エアバッグ
JP5828262B2 (ja) マッサージ機
CN219438739U (zh) 充气枕头结构
JP5141620B2 (ja) エアセル
JP4900172B2 (ja) エアバッグ
JP2005211090A (ja) 施療椅子の背パッド
JP2004201942A (ja) 空気袋装置及びこれを備えたマッサージ装置

Legal Events

Date Code Title Description
A621 Written request for application examination

Free format text: JAPANESE INTERMEDIATE CODE: A621

Effective date: 20110624

A977 Report on retrieval

Free format text: JAPANESE INTERMEDIATE CODE: A971007

Effective date: 20120928

A131 Notification of reasons for refusal

Free format text: JAPANESE INTERMEDIATE CODE: A131

Effective date: 20121005

A521 Written amendment

Free format text: JAPANESE INTERMEDIATE CODE: A523

Effective date: 20121204

TRDD Decision of grant or rejection written
A01 Written decision to grant a patent or to grant a registration (utility model)

Free format text: JAPANESE INTERMEDIATE CODE: A01

Effective date: 20130108

A61 First payment of annual fees (during grant procedure)

Free format text: JAPANESE INTERMEDIATE CODE: A61

Effective date: 20130121

FPAY Renewal fee payment (event date is renewal date of database)

Free format text: PAYMENT UNTIL: 20160215

Year of fee payment: 3

R150 Certificate of patent or registration of utility model

Ref document number: 5195093

Country of ref document: JP

Free format text: JAPANESE INTERMEDIATE CODE: R150

Free format text: JAPANESE INTERMEDIATE CODE: R150

R250 Receipt of annual fees

Free format text: JAPANESE INTERMEDIATE CODE: R250

R250 Receipt of annual fees

Free format text: JAPANESE INTERMEDIATE CODE: R250

R250 Receipt of annual fees

Free format text: JAPANESE INTERMEDIATE CODE: R250

R250 Receipt of annual fees

Free format text: JAPANESE INTERMEDIATE CODE: R250

R250 Receipt of annual fees

Free format text: JAPANESE INTERMEDIATE CODE: R250

LAPS Cancellation because of no payment of annual fees