JP2010011654A - 電力伝送装置、給電装置及び受電装置 - Google Patents
電力伝送装置、給電装置及び受電装置 Download PDFInfo
- Publication number
- JP2010011654A JP2010011654A JP2008168847A JP2008168847A JP2010011654A JP 2010011654 A JP2010011654 A JP 2010011654A JP 2008168847 A JP2008168847 A JP 2008168847A JP 2008168847 A JP2008168847 A JP 2008168847A JP 2010011654 A JP2010011654 A JP 2010011654A
- Authority
- JP
- Japan
- Prior art keywords
- circuit
- transformer
- coil
- power
- primary
- Prior art date
- Legal status (The legal status is an assumption and is not a legal conclusion. Google has not performed a legal analysis and makes no representation as to the accuracy of the status listed.)
- Granted
Links
Images
Classifications
-
- H—ELECTRICITY
- H02—GENERATION; CONVERSION OR DISTRIBUTION OF ELECTRIC POWER
- H02J—CIRCUIT ARRANGEMENTS OR SYSTEMS FOR SUPPLYING OR DISTRIBUTING ELECTRIC POWER; SYSTEMS FOR STORING ELECTRIC ENERGY
- H02J50/00—Circuit arrangements or systems for wireless supply or distribution of electric power
- H02J50/10—Circuit arrangements or systems for wireless supply or distribution of electric power using inductive coupling
- H02J50/12—Circuit arrangements or systems for wireless supply or distribution of electric power using inductive coupling of the resonant type
Landscapes
- Engineering & Computer Science (AREA)
- Computer Networks & Wireless Communication (AREA)
- Power Engineering (AREA)
- Charge And Discharge Circuits For Batteries Or The Like (AREA)
Abstract
【解決手段】この電力伝送装置1は、一次回路100と二次回路200とを結合し、結合係数が1未満であるトランスT1と、一次回路100及び二次回路200のそれぞれに配置され、トランスT1を構成するコイル110,210と直列に接続されるキャパシタンスC1,C2と、を有し、一次回路100及び二次回路200の回路定数は、一次回路100と二次回路200とが同一の周波数で共振し、かつ、結合係数の二乗と一次回路100のQ値と二次回路200のQ値との積が1になるように設定され、一次回路100は、トランスT1により共振周波数の搬送波を用いて二次回路200に電力を伝送する。
【選択図】図1A
Description
まず、本発明の各実施形態に係る電力伝送装置について説明する前に、図14を参照しつつ、磁束の漏洩がない鉄心で結合された結合係数が1のトランスを使用した関連技術に係る電力伝送装置について説明する。図14は、関連技術に係るトランスによる電力伝送を説明するための説明図である。
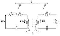
まず、本発明の個々の実施形態について説明する前に、図1A及び図1Bを参照しつつ、本発明の各実施形態の概要について説明する。図1Aは、本発明の各実施形態に係る一の電力伝送装置の等価回路を模式的に示したものである。
本発明の各実施形態に係る電力伝送装置1は、図1Aに示すように、電力を供給する側の一次回路(給電装置ともいう)100と、電力を受取る側の二次回路(受電装置ともいう)200と、一次回路100及び二次回路200で構成され非接触で電力を供給するためのトランスT1と、を含む。
ここで、数式2−4の分母の二項と分子の項の関係を見ると、相加相乗平均の不等式の関係から、数式2−4は1以下であることが判る。そして、分母の二項が同一であるときに限って、すなわち数式2−5の関係がなりたつときに限って、数式2−4の二乗、すなわち、エネルギー伝送効率は1となる。
すなわち、≪条件2:結合係数の二乗と一次回路100のQ値と二次回路200のQ値との積が1である≫という条件を満たすときに、共振周波数でのエネルギー伝送効率が1になることがわかる。ただし、ここでQ値については、数式2−7に示すような直列共振回路のQ値の関係式を使っている。
条件1:一次回路100と二次回路200を同一共振周波数の直列共振回路にして、
条件2:そのQ値の積と結合係数の二乗との積を1となるようにすれば、
結合係数が1でなくてもエネルギー伝送効率を1にできることがわかる。
なお、この条件2を結合係数について変形すれば、数式2のようになる。
図1Bは、本発明の各実施形態に係る他の電力伝送装置の等価回路を模式的に示したものである。
ここで、数式3−4の分母の二項と分子の項の関係を見る。すると、分母の第一項は、二次回路の抵抗R2を小さくすることで無視できる大きさにできる。そこで、例えば、この二次回路の抵抗R2を、一次回路及び二次回路のQ値に比べて十分に小さく、例えば10分の1以下となるように設定することにより、分母の第一項を無視できる大きさとすることができる。このとき、分子と、分母の第二、三項は相加相乗平均の不等式の関係から、数式3−4は1以下であるが、分母の第二、三項が同一であるときに限って、すなわち数式3−5の関係がなりたつときに限って、数式3−4の二乗、すなわち、エネルギー伝送効率は1となる。
すなわち、≪条件4:左側のトランスT1の結合係数kの二乗と一次回路100のインダクタンスL1及び抵抗R1との積が、右側のトランスT2の結合係数k’の二乗と三次回路300のインダクタンスL3及び抵抗R3との積に一致する≫という条件を満たすときに、共振周波数でのエネルギー伝送効率が1になることがわかる。
条件3:一次回路100、二次回路200、三次回路300を同一共振周波数の直列共振回路にして、
条件4:左側のトランスT1の結合係数kの二乗と一次回路100のインダクタンスL1及び抵抗R1との積が、右側のトランスT2の結合係数k’の二乗と三次回路300のインダクタンスL3及び抵抗R3との積に一致させれば、
結合係数が1でなくてもエネルギー伝送効率を1にできることがわかる。
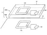
図2Aは、本発明の第1実施形態に係る電力伝送装置について説明するための説明図である。
また、図2Bは、本発明の第2実施形態に係る電力伝送装置について説明するための説明図である。
以下、図2A、図2Bの機器に内蔵されるコイル110,210を含む給電回路及び受電回路の詳細を順に説明していき、本発明の各実施形態に係る電力伝送装置が伝送効率を1にすることができることを計算及びシミュレーションで示す。
以上の説明は、回路理論に基づいて伝送効率を計算したものであるが、この現象が電磁現象として起こっていることを確認するため電磁界シミュレータを使って、同様の伝送特性を計算した。ここでは、ANSOFT社の電磁界シミュレータHFSSを用いて計算した結果を示す。
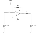
図8Aは、本発明の第3実施形態に係る電力伝送装置を示す回路図である。図8Aにおいて、電力伝送装置21の一次回路は下段に示す部分であり、二次回路は上段に示す部分である。この一次回路及び二次回路は、基本的には上記本発明の各実施形態の概要等で説明したように構成されるが、一次回路が電力供給源として特殊な発振回路を有する点が異なる。なお、以下では、一次回路を給電装置(給電装置100C)と言い、二次回路(及び三次回路)を受電装置(受電装置200C)と言う。
図8Bは、本発明の第4実施形態に係る電力伝送装置の給電装置を示す回路図である。
図8Bに示す本実施形態の給電装置100Dは、オペアンプOPとして片電源(単電源)を用いる例である。オペアンプOPを片電源で用いるのであれば、さらに、抵抗Rbを用いて、出力にバイアスを与える。
図8A、図8Bに示した電力伝送用のコイル110を含む発振回路EO1,EO2は、以下のような特徴を持つ。
1.発振回路の出力電流は、すべて電力伝送用のコイル110を通過する。
2.二次回路が近づいてた場合の共振周波数の変動に対して追従する。
図8A及び図8Bの回路構成を見ると、オペアンプOPからの出力は、増幅動作を安定させる抵抗r2以外にはコイル110のみに接続されている。つまり、オペアンプOPを使用した増幅器からの出力は全て、発振回路EO1,EO2が上記第1の特徴を有することは、容易にわかる。この第1の特徴を有することにより、第3及び第4実施形態に係る電力伝送装置は、発振した電力を効率よく負荷側に送ることが可能である。
上記第2の特徴を説明するために、まず、2つのコイル110,210間の距離に対して共振周波数が変化する現象について説明する。図10は、2つのコイル110,210の距離dと、電力伝送効率との関係を示したグラフである。なお、図10における電力伝送効率は、伝達ゲインの二乗で、散乱パラメータ(Sパラメータ)から|S21|を計算することで求めた。
図12は、本発明の第7実施形態に係る電力伝送装置について説明するための説明図である。
図13は、本発明の第8実施形態に係る電力伝送装置について説明するための説明図である。
また、全体での電力利用効率をよくするためには、このコンパレータCOを駆動する電力が、電力伝送装置の供給する電力と比べて充分小さいことが望ましい。
13,14,15 機器
100,100A,100B 一次回路
100C,100D 給電装置
110 コイル
130 電子回路
200,200A 二次回路
200C 受電装置
210 コイル
220 二次側コイル
230 電子回路
300,300G,300H 三次回路
320 三次側コイル
330 FET
C1,C2,C3 キャパシタンス
CO コンパレータ
D ダイオード
DB ダイオードブリッジ
EO1,EO2,EO3,EO4 発振回路
L1,L2,L3 インダクタンス
m,M 相互インダクタンス
OP オペアンプ
R1,R2,R3,Rb,r1,r2 抵抗
T1,T2,T3 トランス
Claims (13)
- 一次回路と二次回路とを結合し、結合係数が1未満であるトランスと、
前記一次回路及び前記二次回路のそれぞれに配置され、前記トランスを構成するコイルと直列に接続されるキャパシタンスと、
を有し、
前記一次回路及び前記二次回路の回路定数は、前記一次回路と前記二次回路とが同一の周波数で共振し、かつ、前記結合係数の二乗と前記一次回路のQ値と前記二次回路のQ値との積が1になるように設定され、
前記一次回路は、前記トランスにより共振周波数の搬送波を用いて前記二次回路に電力を伝送する、電力伝送装置。 - 一次回路と二次回路とを結合し、結合係数が1未満である第1トランスと、
前記二次回路と三次回路とを結合する第2トランスと、
前記一次回路、前記二次回路及び前記三次回路のそれぞれに配置され、前記第1又は第2トランスを構成するコイルと直列に接続されるキャパシタンスと、
を有し、
前記一次回路、前記二次回路及び前記三次回路の回路定数は、前記一次回路、前記二次回路及び前記三次回路が同一の周波数で共振し、かつ、前記第1トランスの結合係数の二乗と前記一次回路のインダクタンス及び抵抗との積が前記第2トランスの結合係数の二乗と前記三次回路のインダクタンス及び抵抗との積に一致するように設定され、
前記一次回路は、前記第1トランス及び前記第2トランスにより共振周波数の搬送波を用いて前記二次回路を介して前記三次回路に電力を伝送する、電力伝送装置。 - 前記一次回路は、出力電流が前記コイルと前記キャパシタンスとを含む共振回路を経て前記共振周波数において正帰還する増幅器を含む発振回路を更に有することを特徴とする、請求項1又は2に記載の電力伝送装置。
- 前記増幅器の増幅率は、2以上であることを特徴とする、請求項3に記載の電力伝送装置。
- 前記増幅器は、出力電流の全てが前記共振回路を通過するように前記共振回路に接続されている、請求項3に記載の電力伝送装置。
- 前記トランスは、閉磁路を形成する磁性体コアを有さない、請求項1又は2に記載の電力伝送装置。
- 前記一次回路は、電力と共に情報を伝送するために前記搬送波を変調させる、請求項1又は2に記載の電力伝送装置。
- 前記三次回路は、前記第2トランスより得られる電力を全波整流する全波整流回路を更に有し、
前記三次回路のキャパシタンスは、前記第2トランスを構成するコイルと、前記全波整流回路との間に配置される、請求項2に記載の電力伝送装置。 - 前記全波整流回路は、複数の能動素子により構成される、請求項8に記載の電力伝送装置。
- 直列に接続されたコイル及びキャパシタンスを含む二次回路を有する受電装置の前記コイルに対して結合係数が1未満のトランスを形成して結合するコイルと、前記コイルと直列に接続されるキャパシタンスと、を含む一次回路を有し、
前記一次回路の回路定数は、前記一次回路と前記二次回路とが同一の周波数で共振し、かつ、前記結合係数の二乗と前記一次回路のQ値と前記二次回路のQ値との積が1になるように設定され、
前記一次回路は、前記トランスにより共振周波数の搬送波を用いて前記二次回路に電力を伝送する、給電装置。 - 直列に接続されたコイル及びキャパシタンスを含む一次回路を有する給電装置の前記コイルに対して結合係数が1未満のトランスを形成して結合するコイルと、前記コイルに直列に接続されたキャパシタンスと、を含む二次回路を有し、
前記二次回路の回路定数は、前記一次回路と前記二次回路とが同一の周波数で共振し、かつ、前記結合係数の二乗と前記一次回路のQ値と前記二次回路のQ値との積が1になるように設定され、
前記二次回路は、前記トランスで前記一次回路が前共振周波数の搬送波により伝送する電力を受電する、受電装置。 - 直列に接続されたコイル及びキャパシタンスをそれぞれ含み一のトランスを介して結合した二次回路及び三次回路を有する給電装置の前記二次回路のコイルに対して結合係数が1未満の他のトランスを形成して結合するコイルと、前記コイルと直列に接続されるキャパシタンスと、を含む一次回路を有し、
前記一次回路の回路定数は、前記一次回路、前記二次回路及び前記三次回路が同一の周波数で共振し、かつ、前記他のトランスの結合係数の二乗と前記一次回路のインダクタンス及び抵抗との積が前記一のトランスの結合係数の二乗と前記三次回路のインダクタンス及び抵抗との積に一致するように設定され、
前記一次回路は、前記他のトランス及び前記一のトランスにより前記共振周波数の搬送波を用いて前記二次回路を介して前記三次回路に電力を伝送する、給電装置。 - 直列に接続されたコイル及びキャパシタンスを含む一次回路を有する給電装置の前記コイルに対して結合係数が1未満の第1トランスを形成して結合する第1コイルと、前記コイルに直列に接続されたキャパシタンスと、を有する二次回路と、
前記第1コイルと直列に接続された前記二次回路が有する第2コイルに対して第2トランスを形成して結合する第3コイルと、前記第3コイルに直列に接続されたキャパシタンスと、を有する三次回路と、
を有し、
前記二次回路及び前記三次回路の回路定数は、前記一次回路、前記二次回路及び前記三次回路が同一の周波数で共振し、かつ、前記第1トランスの結合係数の二乗と前記一次回路のインダクタンス及び抵抗との積が前記第2トランスの結合係数の二乗と前記三次回路のインダクタンス及び抵抗との積に一致するように設定され、
前記三次回路は、前記第2トランスで前記一次回路が前記共振周波数の搬送波により前記二次回路を介して伝送する電力を受電する、受電装置。
Priority Applications (2)
| Application Number | Priority Date | Filing Date | Title |
|---|---|---|---|
| JP2008168847A JP4561886B2 (ja) | 2008-06-27 | 2008-06-27 | 電力伝送装置、給電装置及び受電装置 |
| US12/492,662 US8319489B2 (en) | 2008-06-27 | 2009-06-26 | Power transfer device, power supply device and power receiving device |
Applications Claiming Priority (1)
| Application Number | Priority Date | Filing Date | Title |
|---|---|---|---|
| JP2008168847A JP4561886B2 (ja) | 2008-06-27 | 2008-06-27 | 電力伝送装置、給電装置及び受電装置 |
Publications (2)
| Publication Number | Publication Date |
|---|---|
| JP2010011654A true JP2010011654A (ja) | 2010-01-14 |
| JP4561886B2 JP4561886B2 (ja) | 2010-10-13 |
Family
ID=41446585
Family Applications (1)
| Application Number | Title | Priority Date | Filing Date |
|---|---|---|---|
| JP2008168847A Expired - Fee Related JP4561886B2 (ja) | 2008-06-27 | 2008-06-27 | 電力伝送装置、給電装置及び受電装置 |
Country Status (2)
| Country | Link |
|---|---|
| US (1) | US8319489B2 (ja) |
| JP (1) | JP4561886B2 (ja) |
Cited By (13)
| Publication number | Priority date | Publication date | Assignee | Title |
|---|---|---|---|---|
| JP2011160501A (ja) * | 2010-01-29 | 2011-08-18 | Casio Computer Co Ltd | 電子機器 |
| JP2012023929A (ja) * | 2010-07-16 | 2012-02-02 | Equos Research Co Ltd | 共鳴コイル |
| JP2012034494A (ja) * | 2010-07-30 | 2012-02-16 | Sony Corp | ワイヤレス給電システム |
| JP2012039674A (ja) * | 2010-08-03 | 2012-02-23 | Equos Research Co Ltd | 共鳴コイル |
| JP2012110199A (ja) * | 2010-10-27 | 2012-06-07 | Equos Research Co Ltd | 電力伝送システム |
| JP2013143889A (ja) * | 2012-01-12 | 2013-07-22 | Panasonic Corp | 非接触電力伝送装置 |
| JP2013219888A (ja) * | 2012-04-06 | 2013-10-24 | Hitachi Cable Ltd | 非接触給電システム |
| JP2013230079A (ja) * | 2012-03-26 | 2013-11-07 | Semiconductor Energy Lab Co Ltd | 受電装置及び給電システム |
| WO2014045571A1 (en) | 2012-09-18 | 2014-03-27 | Panasonic Corporation | Contactless electric power feeding system |
| JP2015050888A (ja) * | 2013-09-04 | 2015-03-16 | 株式会社イージーメジャー | 非接触給電装置 |
| US9252604B2 (en) | 2010-09-15 | 2016-02-02 | Samsung Electronics Co., Ltd. | Apparatus for wireless power transmission and reception |
| JP2017034940A (ja) * | 2015-08-05 | 2017-02-09 | 株式会社フジクラ | 非接触電力伝送システム、非接触電力伝送システムのアンテナ設計方法、および非接触電力伝送方法 |
| JP2018050460A (ja) * | 2014-05-14 | 2018-03-29 | Wqc株式会社 | ワイヤレス電力伝送装置 |
Families Citing this family (21)
| Publication number | Priority date | Publication date | Assignee | Title |
|---|---|---|---|---|
| KR20130016247A (ko) * | 2010-03-04 | 2013-02-14 | 예다 리서치 앤드 디벨럽먼트 캄파니 리미티드 | 효율적이고 튼튼한 무선 에너지 전송 |
| US8310202B2 (en) | 2010-08-17 | 2012-11-13 | Ut-Battelle, Llc | Off-resonance frequency operation for power transfer in a loosely coupled air core transformer |
| US9847675B2 (en) * | 2011-12-16 | 2017-12-19 | Semiconductor Energy Laboratory Co., Ltd. | Power receiving device and power feeding system |
| JP5988210B2 (ja) * | 2012-08-31 | 2016-09-07 | 株式会社エクォス・リサーチ | 電力伝送システム |
| JP5988211B2 (ja) * | 2012-09-28 | 2016-09-07 | 株式会社エクォス・リサーチ | 電力伝送システム |
| WO2014196424A1 (ja) * | 2013-06-05 | 2014-12-11 | 株式会社村田製作所 | 電子装置およびワイヤレス電力伝送システム |
| US10978955B2 (en) | 2014-02-28 | 2021-04-13 | Eagle Harbor Technologies, Inc. | Nanosecond pulser bias compensation |
| US11539352B2 (en) * | 2013-11-14 | 2022-12-27 | Eagle Harbor Technologies, Inc. | Transformer resonant converter |
| US10483089B2 (en) | 2014-02-28 | 2019-11-19 | Eagle Harbor Technologies, Inc. | High voltage resistive output stage circuit |
| JP2017529036A (ja) * | 2014-07-09 | 2017-09-28 | オークランド ユニサービシズ リミテッドAuckland Uniservices Limited | 電動車両に好適な誘導電力システム |
| FR3027151B1 (fr) | 2014-10-08 | 2016-12-09 | Schneider Electric Ind Sas | Circuit electrique transformateur et installation comportant un tel circuit |
| CN105785307A (zh) * | 2016-04-01 | 2016-07-20 | 中国电力工程顾问集团西南电力设计院有限公司 | 用于高电压等级小容量变压器测量仪表校准值的确定方法 |
| CN106160264A (zh) * | 2016-07-08 | 2016-11-23 | 上海交通大学 | 输出特性与负载无关的非接触式传电系统设计方法 |
| US11810761B2 (en) | 2018-07-27 | 2023-11-07 | Eagle Harbor Technologies, Inc. | Nanosecond pulser ADC system |
| US11302518B2 (en) | 2018-07-27 | 2022-04-12 | Eagle Harbor Technologies, Inc. | Efficient energy recovery in a nanosecond pulser circuit |
| TWI783203B (zh) | 2019-01-08 | 2022-11-11 | 美商鷹港科技股份有限公司 | 奈秒脈波產生器電路 |
| US11612047B2 (en) * | 2020-04-14 | 2023-03-21 | Moxtek, Inc. | Planar transformer for an x-ray source |
| US11967484B2 (en) | 2020-07-09 | 2024-04-23 | Eagle Harbor Technologies, Inc. | Ion current droop compensation |
| CN114884369A (zh) * | 2022-05-27 | 2022-08-09 | 深圳市国微电子有限公司 | 一种lc振荡电路、电源芯片以及隔离dc-dc电源 |
| US11824542B1 (en) | 2022-06-29 | 2023-11-21 | Eagle Harbor Technologies, Inc. | Bipolar high voltage pulser |
| JP2025538072A (ja) | 2022-09-29 | 2025-11-26 | イーグル ハーバー テクノロジーズ,インク. | 高電圧プラズマ制御 |
Citations (5)
| Publication number | Priority date | Publication date | Assignee | Title |
|---|---|---|---|---|
| JPH1084304A (ja) * | 1996-04-12 | 1998-03-31 | Philips Electron Nv | 基地局と応答機とにより形成されるシステムの作動方法及びこれに好適なシステム |
| JP2006238548A (ja) * | 2005-02-23 | 2006-09-07 | Matsushita Electric Ind Co Ltd | 無線電力供給装置 |
| WO2007029438A1 (ja) * | 2005-09-01 | 2007-03-15 | National University Corporation Saitama University | 非接触給電装置 |
| JP2007324532A (ja) * | 2006-06-05 | 2007-12-13 | Meleagros Corp | 電力伝送方法、電力伝送装置のコイルの選別方法および使用方法 |
| JP2009278837A (ja) * | 2008-05-18 | 2009-11-26 | Hideo Kikuchi | 誘導電力伝送システム |
Family Cites Families (8)
| Publication number | Priority date | Publication date | Assignee | Title |
|---|---|---|---|---|
| US5619080A (en) * | 1995-11-02 | 1997-04-08 | Power & Ground Systems Corporation | Line filter for reducing AC harmonics |
| US8378523B2 (en) * | 2007-03-02 | 2013-02-19 | Qualcomm Incorporated | Transmitters and receivers for wireless energy transfer |
| JP4561796B2 (ja) * | 2007-08-31 | 2010-10-13 | ソニー株式会社 | 受電装置、および電力伝送システム |
| US8487479B2 (en) * | 2008-02-24 | 2013-07-16 | Qualcomm Incorporated | Ferrite antennas for wireless power transfer |
| US8253278B2 (en) * | 2008-06-05 | 2012-08-28 | Qualcomm Incorporated | Ferrite antennas for wireless power transfer |
| US8174234B2 (en) * | 2009-10-08 | 2012-05-08 | Etymotic Research, Inc. | Magnetically coupled battery charging system |
| US8829727B2 (en) * | 2009-10-30 | 2014-09-09 | Tdk Corporation | Wireless power feeder, wireless power transmission system, and table and table lamp using the same |
| JP5573190B2 (ja) * | 2010-01-21 | 2014-08-20 | ソニー株式会社 | ワイヤレス給電システム |
-
2008
- 2008-06-27 JP JP2008168847A patent/JP4561886B2/ja not_active Expired - Fee Related
-
2009
- 2009-06-26 US US12/492,662 patent/US8319489B2/en not_active Expired - Fee Related
Patent Citations (5)
| Publication number | Priority date | Publication date | Assignee | Title |
|---|---|---|---|---|
| JPH1084304A (ja) * | 1996-04-12 | 1998-03-31 | Philips Electron Nv | 基地局と応答機とにより形成されるシステムの作動方法及びこれに好適なシステム |
| JP2006238548A (ja) * | 2005-02-23 | 2006-09-07 | Matsushita Electric Ind Co Ltd | 無線電力供給装置 |
| WO2007029438A1 (ja) * | 2005-09-01 | 2007-03-15 | National University Corporation Saitama University | 非接触給電装置 |
| JP2007324532A (ja) * | 2006-06-05 | 2007-12-13 | Meleagros Corp | 電力伝送方法、電力伝送装置のコイルの選別方法および使用方法 |
| JP2009278837A (ja) * | 2008-05-18 | 2009-11-26 | Hideo Kikuchi | 誘導電力伝送システム |
Cited By (16)
| Publication number | Priority date | Publication date | Assignee | Title |
|---|---|---|---|---|
| JP2011160501A (ja) * | 2010-01-29 | 2011-08-18 | Casio Computer Co Ltd | 電子機器 |
| JP2012023929A (ja) * | 2010-07-16 | 2012-02-02 | Equos Research Co Ltd | 共鳴コイル |
| JP2012034494A (ja) * | 2010-07-30 | 2012-02-16 | Sony Corp | ワイヤレス給電システム |
| US9024481B2 (en) | 2010-07-30 | 2015-05-05 | Sony Corporation | Wireless feeding system |
| JP2012039674A (ja) * | 2010-08-03 | 2012-02-23 | Equos Research Co Ltd | 共鳴コイル |
| US9252604B2 (en) | 2010-09-15 | 2016-02-02 | Samsung Electronics Co., Ltd. | Apparatus for wireless power transmission and reception |
| JP2012110199A (ja) * | 2010-10-27 | 2012-06-07 | Equos Research Co Ltd | 電力伝送システム |
| JP2013143889A (ja) * | 2012-01-12 | 2013-07-22 | Panasonic Corp | 非接触電力伝送装置 |
| US9641223B2 (en) | 2012-03-26 | 2017-05-02 | Semiconductor Enegry Laboratory Co., Ltd. | Power receiving device and power feeding system |
| JP2013230079A (ja) * | 2012-03-26 | 2013-11-07 | Semiconductor Energy Lab Co Ltd | 受電装置及び給電システム |
| US10615849B2 (en) | 2012-03-26 | 2020-04-07 | Semiconductor Energy Laboratory Co., Ltd. | Power receiving device and power feeding system |
| JP2013219888A (ja) * | 2012-04-06 | 2013-10-24 | Hitachi Cable Ltd | 非接触給電システム |
| WO2014045571A1 (en) | 2012-09-18 | 2014-03-27 | Panasonic Corporation | Contactless electric power feeding system |
| JP2015050888A (ja) * | 2013-09-04 | 2015-03-16 | 株式会社イージーメジャー | 非接触給電装置 |
| JP2018050460A (ja) * | 2014-05-14 | 2018-03-29 | Wqc株式会社 | ワイヤレス電力伝送装置 |
| JP2017034940A (ja) * | 2015-08-05 | 2017-02-09 | 株式会社フジクラ | 非接触電力伝送システム、非接触電力伝送システムのアンテナ設計方法、および非接触電力伝送方法 |
Also Published As
| Publication number | Publication date |
|---|---|
| US20090322307A1 (en) | 2009-12-31 |
| US8319489B2 (en) | 2012-11-27 |
| JP4561886B2 (ja) | 2010-10-13 |
Similar Documents
| Publication | Publication Date | Title |
|---|---|---|
| JP4561886B2 (ja) | 電力伝送装置、給電装置及び受電装置 | |
| Lee et al. | Power transfer efficiency analysis of intermediate-resonator for wireless power transfer | |
| KR101394963B1 (ko) | 무선 전력 송신기, 무선 전력 수신기, 및 그것들을 이용한 무선 전력 전송 방법 | |
| Lee et al. | Recent progress in mid-range wireless power transfer | |
| US20090058189A1 (en) | Long range low frequency resonator and materials | |
| KR20100055069A (ko) | 높은 큐의 영차 근접 자기장 공진기를 이용한 무선 전력 전송 장치 | |
| CN102593964A (zh) | 一种具有方向适应性的磁耦合谐振式无线供电方法及装置 | |
| US20160181870A1 (en) | Wireless power transmission device | |
| JP2012196117A (ja) | ワイヤレス給電装置、受電装置および給電システム | |
| de Freitas et al. | A novel method for data and power transmission through metallic structures | |
| CN106300701A (zh) | 无线输电系统及其输电方法 | |
| CN109546756A (zh) | 无线电力传输设备及其方法 | |
| Chen et al. | A single-wire power transfer system using lumped-parameter LC resonant circuits | |
| Menon et al. | Wireless power transfer to underground sensors using resonant magnetic induction | |
| Chaari et al. | Light LED directly lit up by the wireless power transfer technology | |
| Zable et al. | Performance evaluation of WPT circuit suitable for wireless charging | |
| JP2014183668A (ja) | 非接触電力伝送方法及び非接触電力伝送システム | |
| Mishra et al. | Development of WiTricity based wireless power transmission system | |
| Bolonne et al. | Wireless power transmission for multiple devices | |
| US20140111020A1 (en) | Resonant coil, wireless power transmitter using the same, wireless power receiver using the same | |
| Sukma et al. | Design and simulation of 145 kHz wireless power transfer for low power application | |
| CN109728655A (zh) | 变拓扑结构磁耦合谐振无线电能传输系统及方法 | |
| Singh | Wireless mobile charger | |
| Timilsina et al. | Analysis and optimization of magnetic resonant wireless power transfer system | |
| Gupta et al. | Automatic wireless mobile charger |
Legal Events
| Date | Code | Title | Description |
|---|---|---|---|
| A977 | Report on retrieval |
Free format text: JAPANESE INTERMEDIATE CODE: A971007 Effective date: 20100408 |
|
| A131 | Notification of reasons for refusal |
Free format text: JAPANESE INTERMEDIATE CODE: A131 Effective date: 20100420 |
|
| A521 | Request for written amendment filed |
Free format text: JAPANESE INTERMEDIATE CODE: A523 Effective date: 20100611 |
|
| TRDD | Decision of grant or rejection written | ||
| A01 | Written decision to grant a patent or to grant a registration (utility model) |
Free format text: JAPANESE INTERMEDIATE CODE: A01 Effective date: 20100706 |
|
| A01 | Written decision to grant a patent or to grant a registration (utility model) |
Free format text: JAPANESE INTERMEDIATE CODE: A01 |
|
| A61 | First payment of annual fees (during grant procedure) |
Free format text: JAPANESE INTERMEDIATE CODE: A61 Effective date: 20100719 |
|
| FPAY | Renewal fee payment (event date is renewal date of database) |
Free format text: PAYMENT UNTIL: 20130806 Year of fee payment: 3 |
|
| R151 | Written notification of patent or utility model registration |
Ref document number: 4561886 Country of ref document: JP Free format text: JAPANESE INTERMEDIATE CODE: R151 |
|
| FPAY | Renewal fee payment (event date is renewal date of database) |
Free format text: PAYMENT UNTIL: 20130806 Year of fee payment: 3 |
|
| R250 | Receipt of annual fees |
Free format text: JAPANESE INTERMEDIATE CODE: R250 |
|
| R250 | Receipt of annual fees |
Free format text: JAPANESE INTERMEDIATE CODE: R250 |
|
| R250 | Receipt of annual fees |
Free format text: JAPANESE INTERMEDIATE CODE: R250 |
|
| R250 | Receipt of annual fees |
Free format text: JAPANESE INTERMEDIATE CODE: R250 |
|
| R250 | Receipt of annual fees |
Free format text: JAPANESE INTERMEDIATE CODE: R250 |
|
| R250 | Receipt of annual fees |
Free format text: JAPANESE INTERMEDIATE CODE: R250 |
|
| R250 | Receipt of annual fees |
Free format text: JAPANESE INTERMEDIATE CODE: R250 |
|
| R250 | Receipt of annual fees |
Free format text: JAPANESE INTERMEDIATE CODE: R250 |
|
| LAPS | Cancellation because of no payment of annual fees |
