JP2010010883A - 画像処理装置、及び画像処理方法 - Google Patents
画像処理装置、及び画像処理方法 Download PDFInfo
- Publication number
- JP2010010883A JP2010010883A JP2008165605A JP2008165605A JP2010010883A JP 2010010883 A JP2010010883 A JP 2010010883A JP 2008165605 A JP2008165605 A JP 2008165605A JP 2008165605 A JP2008165605 A JP 2008165605A JP 2010010883 A JP2010010883 A JP 2010010883A
- Authority
- JP
- Japan
- Prior art keywords
- image
- friction
- user
- processing apparatus
- unit
- Prior art date
- Legal status (The legal status is an assumption and is not a legal conclusion. Google has not performed a legal analysis and makes no representation as to the accuracy of the status listed.)
- Granted
Links
Images
Classifications
-
- G—PHYSICS
- G06—COMPUTING OR CALCULATING; COUNTING
- G06F—ELECTRIC DIGITAL DATA PROCESSING
- G06F3/00—Input arrangements for transferring data to be processed into a form capable of being handled by the computer; Output arrangements for transferring data from processing unit to output unit, e.g. interface arrangements
- G06F3/01—Input arrangements or combined input and output arrangements for interaction between user and computer
- G06F3/048—Interaction techniques based on graphical user interfaces [GUI]
- G06F3/0484—Interaction techniques based on graphical user interfaces [GUI] for the control of specific functions or operations, e.g. selecting or manipulating an object, an image or a displayed text element, setting a parameter value or selecting a range
- G06F3/04845—Interaction techniques based on graphical user interfaces [GUI] for the control of specific functions or operations, e.g. selecting or manipulating an object, an image or a displayed text element, setting a parameter value or selecting a range for image manipulation, e.g. dragging, rotation, expansion or change of colour
-
- G—PHYSICS
- G06—COMPUTING OR CALCULATING; COUNTING
- G06F—ELECTRIC DIGITAL DATA PROCESSING
- G06F3/00—Input arrangements for transferring data to be processed into a form capable of being handled by the computer; Output arrangements for transferring data from processing unit to output unit, e.g. interface arrangements
- G06F3/01—Input arrangements or combined input and output arrangements for interaction between user and computer
- G06F3/048—Interaction techniques based on graphical user interfaces [GUI]
- G06F3/0487—Interaction techniques based on graphical user interfaces [GUI] using specific features provided by the input device, e.g. functions controlled by the rotation of a mouse with dual sensing arrangements, or of the nature of the input device, e.g. tap gestures based on pressure sensed by a digitiser
- G06F3/0488—Interaction techniques based on graphical user interfaces [GUI] using specific features provided by the input device, e.g. functions controlled by the rotation of a mouse with dual sensing arrangements, or of the nature of the input device, e.g. tap gestures based on pressure sensed by a digitiser using a touch-screen or digitiser, e.g. input of commands through traced gestures
-
- G—PHYSICS
- G06—COMPUTING OR CALCULATING; COUNTING
- G06T—IMAGE DATA PROCESSING OR GENERATION, IN GENERAL
- G06T11/00—2D [Two Dimensional] image generation
- G06T11/60—Editing figures and text; Combining figures or text
-
- H—ELECTRICITY
- H04—ELECTRIC COMMUNICATION TECHNIQUE
- H04N—PICTORIAL COMMUNICATION, e.g. TELEVISION
- H04N23/00—Cameras or camera modules comprising electronic image sensors; Control thereof
- H04N23/70—Circuitry for compensating brightness variation in the scene
- H04N23/743—Bracketing, i.e. taking a series of images with varying exposure conditions
-
- H—ELECTRICITY
- H04—ELECTRIC COMMUNICATION TECHNIQUE
- H04N—PICTORIAL COMMUNICATION, e.g. TELEVISION
- H04N23/00—Cameras or camera modules comprising electronic image sensors; Control thereof
- H04N23/80—Camera processing pipelines; Components thereof
-
- H—ELECTRICITY
- H04—ELECTRIC COMMUNICATION TECHNIQUE
- H04N—PICTORIAL COMMUNICATION, e.g. TELEVISION
- H04N23/00—Cameras or camera modules comprising electronic image sensors; Control thereof
- H04N23/95—Computational photography systems, e.g. light-field imaging systems
- H04N23/951—Computational photography systems, e.g. light-field imaging systems by using two or more images to influence resolution, frame rate or aspect ratio
Landscapes
- Engineering & Computer Science (AREA)
- Theoretical Computer Science (AREA)
- General Engineering & Computer Science (AREA)
- Multimedia (AREA)
- General Physics & Mathematics (AREA)
- Physics & Mathematics (AREA)
- Signal Processing (AREA)
- Human Computer Interaction (AREA)
- Computing Systems (AREA)
- Image Processing (AREA)
- Studio Devices (AREA)
- Position Input By Displaying (AREA)
- Editing Of Facsimile Originals (AREA)
Abstract
【解決手段】連続して撮影された画像群に含まれる第1画像が表示される表示画面と、ユーザにより擦られた前記表示画面上の摩擦位置を検出する摩擦位置検出部と、前記摩擦位置に対応する前記第1画像の画素領域と、前記画像群に含まれる第2画像の画素領域とを合成する画像合成部とを備え、前記画像合成部は、前記ユーザにより擦られた摩擦量が大きくなるに連れて前記第1画像と前記第2画像との間の撮影時間差が大きくなるように前記第1画像に合成される第2画像を切り替える、画像処理装置が提供される。
【選択図】図10
Description
ここで、後述する説明の流れについて簡単に述べる。まず、図1、図2を参照しながら、本発明の実施形態に係る技術が目的とするところについて簡単に説明する。この中で、同実施形態に係る技術が解決しようとする具体的な課題についても説明する。次いで、図3を参照しながら、同実施形態の技術に関する原理説明を行う。その後、図4〜図9を参照しながら、当該技術を実現することが可能な同実施形態に係る画像処理装置100の機能構成について説明する。
まず、図1、及び図2を参照しながら、以下で説明する実施形態に係る技術が目的とするところについて簡単に説明する。図1、図2は、連続撮影された被写体像の一例を模式的に示した説明図である。以下の説明において、図1の例をケース1、図2の例をケース2と呼ぶことにする。
以下、本発明の一実施形態について説明する。本実施形態は、連続撮影された複数枚の写真を合成する技術に関する。但し、当該技術は、所定のパラメータを変化させながら連続的に撮影された複数枚の写真に対しても適用される。また、本実施形態は、写真が表示された画面上をユーザが擦ることにより、その擦る動作に応じて連続撮影された他の写真を合成処理する技術に関する。そのため、当該技術は、ユーザの操作体系に関する。
まず、図3を参照しながら、本実施形態の手法について原理説明を行う。図3は、本実施形態に係る技術の原理を説明するための原理説明図である。
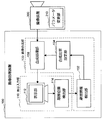
ここで、図4を参照しながら、本実施形態に係る画像処理装置100の機能構成について説明する。図4は、本実施形態に係る画像処理装置100の機能構成を示す説明図である。なお、図4には、画像処理装置100に対して連続撮影された写真データを提供する撮像装置200も描画されている。この撮像装置200及び画像処理装置100により、画像処理システムが形成される。
表示入力部110は、主に、表示部112と、摩擦位置検出部114とにより構成される。上記のタッチパネルは、表示入力部110の一例である。
画像合成部130は、主に、摩擦情報検出部132と、合成比率設定部134と、合成処理部136とにより構成される。なお、画像合成部130の機能は、例えば、図14に示すハードウェア資源のうち、ROM904、RAM906、記憶部920、又はリムーバブル記録媒体928に記録されたコンピュータプログラムに基づいてCPU902により実現されうる。
摩擦情報検出部132は、表示入力部110の摩擦位置検出部114により入力された摩擦位置の情報に基づいて種々の摩擦情報を検出する。この摩擦情報としては、例えば、ユーザに擦られた画素領域、当該画素領域の往復摩擦回数、摩擦の早さ、摩擦の方向、又は摩擦された軌跡の形状等が含まれる。
合成比率設定部134は、摩擦情報検出部132により検出された摩擦情報に基づいて画像の合成比率を設定する。ここで言う画像の合成比率とは、表示部112に表示されている画像(以下、表示画像)における擦られた画素領域の画素値と、合成される画像(以下、被合成画像)の画素値とを合成する際の合成比率を意味している。例えば、合成比率設定部134は、摩擦回数が多くなるに連れて、被合成画像の重みが大きくなるように画素値の合成比率を設定する。但し、摩擦回数に応じて合成する画像を切り替える場合、合成比率は、1又は0に固定されたままである。
合成処理部136は、連続撮影された画像群のうち、最初又は所定の撮影時点に対応する画像を表示部112に表示させる。その後、ユーザは、表示部112に表示された画像を見ながら表示部112の画面上を擦る動作を行う。この擦る動作に応じて摩擦情報が検出され、当該摩擦情報に応じて合成比率設定部134により合成比率が設定される。この合成比率が入力されると、合成処理部136は、合成比率設定部134により設定された合成比率に基づき、撮像装置200により連続撮影された画像を表示部112に表示させた画像に合成する。さらに、合成処理部136は、合成後の画像を表示部112に表示させ、再びユーザに提示する。
ここで、図5〜図9を参照しながら、上記の画像合成処理について、より詳細に説明する。図5は、画像のピクセル数に対応するマトリックスを示す説明図である。図6は、ブラシマトリックスの一例を示す説明図である。図7は、入力操作の一例を示す説明図である。図8は、深度マトリックスの一例を示す説明図である。
ここで、図4を参照しながら、撮像装置200の機能構成について簡単に説明する。但し、撮像装置200の機能は、図15に示したハードウェア構成により実現される。
次に、図10を参照しながら、本実施形態に係る画像処理装置100の動作説明を行う。図10は、本実施形態に係る画像処理装置100の動作を模式的に示す説明図である。但し、ここでは人物写真の瞬きを補正する例を示して説明している。
ここで、図11を参照しながら、画像処理装置100による合成処理S100の流れについて、より詳細に説明する。図11は、本実施形態に係る画像処理装置100による合成処理の流れを示す説明図である。ここで示す一連の処理は、画像処理装置100が有する機能構成の中で、主に、画像合成部130の機能により実現される。
次に、図12A〜図12Cを参照しながら、本実施形態の一応用例について述べる。図12A〜図12Cは、本実施形態に係る技術を花火撮影の場面に適用した場合の例を示す説明図である。ここで示す花火撮影の場面は、撮影者が意図する被写体像が時間差で現れる場合の例である。このように、被写体の状態を制御できないような場面に対しても、本実施形態に係る画像処理装置100は好適に用いられる。
次に、図13を参照しながら、本実施形態の一応用例について述べる。図13は、本実施形態に係る技術を風景撮影の場面に適用した場合の例を示す説明図である。ここで示す風景撮影の場面は、手前と奥とに被写体が存在し、手前と奥とに対して同時にフォーカスを合わせられない場合の例である。このように、どうしても撮影が困難な場面に対しても、本実施形態に係る画像処理装置100は好適に用いられる。
上記の画像処理装置100が有する各構成要素の機能は、例えば、図15に示すハードウェア構成を有する情報処理装置により、上記の機能を実現するためのコンピュータプログラムを用いて実現することが可能である。図15は、上記の画像処理装置100の各構成要素が有する機能を実現することが可能な情報処理装置のハードウェア構成を示す説明図である。この情報処理装置の形態は任意であり、例えば、パーソナルコンピュータ、携帯電話、PHS(Personal Handy−phone System)、PDA(Personal Digital Assistant)等の携帯情報端末、ゲーム機、又は各種の情報家電等の形態がこれに含まれる。
次いで、上記の撮像装置200のハードウェア構成例について説明する。上記の撮像装置200が有する各構成要素の機能は、例えば、図15に示すハードウェア構成により実現することが可能である。図15は、上記の撮像装置200の各構成要素が有する機能を実現することが可能なハードウェア構成の一例を示す説明図である。
最後に、本実施形態の画像処理装置が有する機能構成と、当該機能構成が奏する作用効果について簡単に纏める。
ここで、本実施形態を適用することにより得られる効果について簡単に纏める。但し、本実施形態の各構成により得られる具体的な効果については、これまでの説明の中で既に述べている。そのため、ここで述べるのは、これらの具体的な効果を纏めたものである。まず、上記の実施形態に係る技術を用いると、連続撮影した画像を容易な操作体系で合成することが可能になるという効果が得られる。また、ユーザが意図する位置又は範囲や合成度合いを一連の摩擦動作により変化させて画像を合成することが可能になるという効果が得られる。さらに、実際には撮影が困難な画像を容易に生成することが可能になるという効果が得られる。
110 表示入力部
112 表示部
114 摩擦位置検出部
130 画像合成部
132 摩擦情報検出部
134 合成比率設定部
136 合成処理部
200 撮像装置
210 パラメータ変更部
Claims (7)
- 連続して撮影された画像群に含まれる第1画像が表示される表示画面と、
ユーザにより擦られた前記表示画面上の摩擦位置を検出する摩擦位置検出部と、
前記摩擦位置に対応する前記第1画像の画素領域と、前記画像群に含まれる第2画像の画素領域とを合成する画像合成部と、
を備え、
前記画像合成部は、前記ユーザにより擦られた摩擦量が大きくなるに連れて前記第1画像と前記第2画像との間の撮影時間差が大きくなるように前記第1画像に合成される第2画像を切り替える、画像処理装置。 - 前記画像合成部は、前記摩擦量が大きくなるに連れて前記第1画像に対する前記第2画像の合成比率を増加させ、前記摩擦量が所定の閾値を超過した段階で前記第2画像を前記第1画像からの撮影時間差がより大きい画像に切り替える、請求項1に記載の画像処理装置。
- 前記画像合成部は、前記摩擦量が所定の閾値を所定量だけ超過するまで前記画素領域に切り替え前の前記第2画像を表示し、当該所定量を超過した段階で前記第2画像を切り替える、請求項2に記載の画像処理装置。
- 前記摩擦量は、前記画素領域が摩擦された回数、摩擦時の押圧力、摩擦方向、及び摩擦早さの中から選択される1つの量又は複数の組み合わせにより決定される量である、請求項3に記載の画像処理装置。
- 前記画像群は、撮影時に変更可能な任意のパラメータを変化させながら連続して撮影された複数の画像である、請求項1に記載の画像処理装置。
- 前記パラメータは、被写界深度、画像エフェクト、又はフラッシュを制御するための制御パラメータである、請求項5に記載の画像処理装置。
- 連続して撮影された画像群に含まれる第1画像が表示画面上に表示されている場合に、ユーザにより擦られた前記表示画面上の摩擦位置が検出される摩擦位置検出ステップと、
前記摩擦位置に対応する前記第1画像の画素領域と、前記画像群に含まれる第2画像の画素領域とが合成される画像合成ステップと、
を含み、
前記画像合成ステップでは、前記ユーザにより擦られた摩擦量が大きくなるに連れて前記第1画像と前記第2画像との間の撮影時間差が大きくなるように前記第1画像に合成される第2画像が切り替わる、画像処理方法。
Priority Applications (3)
| Application Number | Priority Date | Filing Date | Title |
|---|---|---|---|
| JP2008165605A JP4513903B2 (ja) | 2008-06-25 | 2008-06-25 | 画像処理装置、及び画像処理方法 |
| US12/490,660 US8106991B2 (en) | 2008-06-25 | 2009-06-24 | Image processing apparatus and image processing method |
| CN2009101495087A CN101616258B (zh) | 2008-06-25 | 2009-06-25 | 图像处理设备和图像处理方法 |
Applications Claiming Priority (1)
| Application Number | Priority Date | Filing Date | Title |
|---|---|---|---|
| JP2008165605A JP4513903B2 (ja) | 2008-06-25 | 2008-06-25 | 画像処理装置、及び画像処理方法 |
Publications (2)
| Publication Number | Publication Date |
|---|---|
| JP2010010883A true JP2010010883A (ja) | 2010-01-14 |
| JP4513903B2 JP4513903B2 (ja) | 2010-07-28 |
Family
ID=41446922
Family Applications (1)
| Application Number | Title | Priority Date | Filing Date |
|---|---|---|---|
| JP2008165605A Expired - Fee Related JP4513903B2 (ja) | 2008-06-25 | 2008-06-25 | 画像処理装置、及び画像処理方法 |
Country Status (3)
| Country | Link |
|---|---|
| US (1) | US8106991B2 (ja) |
| JP (1) | JP4513903B2 (ja) |
| CN (1) | CN101616258B (ja) |
Cited By (1)
| Publication number | Priority date | Publication date | Assignee | Title |
|---|---|---|---|---|
| WO2013157663A1 (ja) * | 2012-04-18 | 2013-10-24 | Isayama Taro | 入力制御方法、コンピュータ、および、プログラム |
Families Citing this family (16)
| Publication number | Priority date | Publication date | Assignee | Title |
|---|---|---|---|---|
| EP2483767B1 (en) | 2009-10-01 | 2019-04-03 | Nokia Technologies Oy | Method relating to digital images |
| SE534551C2 (sv) | 2010-02-15 | 2011-10-04 | Scalado Ab | Digital bildmanipulation innefattande identifiering av ett målområde i en målbild och sömlös ersättning av bildinformation utifrån en källbild |
| SE1150505A1 (sv) | 2011-05-31 | 2012-12-01 | Mobile Imaging In Sweden Ab | Metod och anordning för tagning av bilder |
| CN103765473B (zh) * | 2011-07-15 | 2017-12-05 | 瑞典移动影像股份公司 | 提供视图的调整的数字图像表示的方法以及装置 |
| JP2013162287A (ja) * | 2012-02-03 | 2013-08-19 | Sony Corp | 画像処理装置、画像処理方法、およびプログラム |
| CN103533212A (zh) * | 2012-07-04 | 2014-01-22 | 腾讯科技(深圳)有限公司 | 一种图像合成方法和装置 |
| KR101948692B1 (ko) * | 2012-10-09 | 2019-04-25 | 삼성전자주식회사 | 촬영 장치 및 이미지 합성 방법 |
| US8849064B2 (en) * | 2013-02-14 | 2014-09-30 | Fotonation Limited | Method and apparatus for viewing images |
| US9310908B2 (en) * | 2013-10-30 | 2016-04-12 | Htc Corporation | Color sampling method and touch control device thereof |
| CN103632346B (zh) * | 2013-11-27 | 2017-06-13 | 广东威创视讯科技股份有限公司 | 数字视频图像锐化度调节实现方法及装置 |
| JP6349962B2 (ja) * | 2014-05-27 | 2018-07-04 | 富士ゼロックス株式会社 | 画像処理装置およびプログラム |
| US10671275B2 (en) * | 2014-09-04 | 2020-06-02 | Apple Inc. | User interfaces for improving single-handed operation of devices |
| KR20170123125A (ko) * | 2016-04-28 | 2017-11-07 | 엘지전자 주식회사 | 이동단말기 및 그 제어방법 |
| CN107071300A (zh) * | 2017-03-22 | 2017-08-18 | 努比亚技术有限公司 | 一种图像合成方法及装置 |
| CN113472996B (zh) * | 2020-03-31 | 2022-11-22 | 华为技术有限公司 | 图片传输方法及装置 |
| CN114543674B (zh) * | 2022-02-22 | 2023-02-07 | 成都睿畜电子科技有限公司 | 一种基于图像识别的检测方法及系统 |
Citations (9)
| Publication number | Priority date | Publication date | Assignee | Title |
|---|---|---|---|---|
| JPH0933278A (ja) * | 1995-07-18 | 1997-02-07 | Mazda Motor Corp | 車載機器の操作用表示装置 |
| JP2001045355A (ja) * | 1999-08-02 | 2001-02-16 | Fuji Photo Film Co Ltd | 撮影装置及び集合写真画像の形成方法 |
| JP2001274970A (ja) * | 2000-03-23 | 2001-10-05 | Minolta Co Ltd | プリンタ、画像処理装置および記録媒体 |
| JP2003319244A (ja) * | 2002-04-24 | 2003-11-07 | Ricoh Co Ltd | タッチパネル付きカメラ |
| JP2004038746A (ja) * | 2002-07-05 | 2004-02-05 | Toshiba Corp | 画像編集方法および画像編集システム |
| JP2006033605A (ja) * | 2004-07-20 | 2006-02-02 | Fuji Photo Film Co Ltd | 画像処理装置、画像処理方法及び画像処理プログラム |
| JP2006048415A (ja) * | 2004-08-05 | 2006-02-16 | Advanced Telecommunication Research Institute International | 画像合成装置 |
| JP2006081616A (ja) * | 2004-09-14 | 2006-03-30 | Olympus Corp | 内視鏡 |
| JP2006094030A (ja) * | 2004-09-22 | 2006-04-06 | Casio Comput Co Ltd | 撮像装置、合成画像作成方法及びプログラム |
Family Cites Families (11)
| Publication number | Priority date | Publication date | Assignee | Title |
|---|---|---|---|---|
| US4949180A (en) | 1985-10-11 | 1990-08-14 | Quantel Limited | Video image processing systems |
| US6920619B1 (en) | 1997-08-28 | 2005-07-19 | Slavoljub Milekic | User interface for removing an object from a display |
| JP4518582B2 (ja) | 1998-07-22 | 2010-08-04 | ソニー株式会社 | 画像撮像装置及び方法 |
| JP2004104594A (ja) * | 2002-09-11 | 2004-04-02 | Toshiba Corp | デジタルスチルカメラ及びユーザ指示入力方法 |
| US20040223649A1 (en) | 2003-05-07 | 2004-11-11 | Eastman Kodak Company | Composite imaging method and system |
| US20050024516A1 (en) | 2003-07-31 | 2005-02-03 | Robert Fish | Digital camera |
| WO2006054207A1 (en) | 2004-11-16 | 2006-05-26 | Koninklijke Philips Electronics N.V. | Touchless manipulation of images for regional enhancement |
| US7659923B1 (en) * | 2005-06-24 | 2010-02-09 | David Alan Johnson | Elimination of blink-related closed eyes in portrait photography |
| JP4853320B2 (ja) * | 2007-02-15 | 2012-01-11 | ソニー株式会社 | 画像処理装置、画像処理方法 |
| US7697054B2 (en) * | 2007-03-29 | 2010-04-13 | Hewlett-Packard Development Company, L.P. | Image Manipulator for a camera |
| JP4877242B2 (ja) * | 2008-02-06 | 2012-02-15 | ブラザー工業株式会社 | 画像処理装置および画像処理プログラム |
-
2008
- 2008-06-25 JP JP2008165605A patent/JP4513903B2/ja not_active Expired - Fee Related
-
2009
- 2009-06-24 US US12/490,660 patent/US8106991B2/en not_active Expired - Fee Related
- 2009-06-25 CN CN2009101495087A patent/CN101616258B/zh not_active Expired - Fee Related
Patent Citations (9)
| Publication number | Priority date | Publication date | Assignee | Title |
|---|---|---|---|---|
| JPH0933278A (ja) * | 1995-07-18 | 1997-02-07 | Mazda Motor Corp | 車載機器の操作用表示装置 |
| JP2001045355A (ja) * | 1999-08-02 | 2001-02-16 | Fuji Photo Film Co Ltd | 撮影装置及び集合写真画像の形成方法 |
| JP2001274970A (ja) * | 2000-03-23 | 2001-10-05 | Minolta Co Ltd | プリンタ、画像処理装置および記録媒体 |
| JP2003319244A (ja) * | 2002-04-24 | 2003-11-07 | Ricoh Co Ltd | タッチパネル付きカメラ |
| JP2004038746A (ja) * | 2002-07-05 | 2004-02-05 | Toshiba Corp | 画像編集方法および画像編集システム |
| JP2006033605A (ja) * | 2004-07-20 | 2006-02-02 | Fuji Photo Film Co Ltd | 画像処理装置、画像処理方法及び画像処理プログラム |
| JP2006048415A (ja) * | 2004-08-05 | 2006-02-16 | Advanced Telecommunication Research Institute International | 画像合成装置 |
| JP2006081616A (ja) * | 2004-09-14 | 2006-03-30 | Olympus Corp | 内視鏡 |
| JP2006094030A (ja) * | 2004-09-22 | 2006-04-06 | Casio Comput Co Ltd | 撮像装置、合成画像作成方法及びプログラム |
Cited By (3)
| Publication number | Priority date | Publication date | Assignee | Title |
|---|---|---|---|---|
| WO2013157663A1 (ja) * | 2012-04-18 | 2013-10-24 | Isayama Taro | 入力制御方法、コンピュータ、および、プログラム |
| JPWO2013157663A1 (ja) * | 2012-04-18 | 2015-12-21 | 株式会社Juice Design | 入力制御方法、コンピュータ、および、プログラム |
| JP2016006685A (ja) * | 2012-04-18 | 2016-01-14 | 株式会社Juice Design | 入力制御方法、コンピュータ、および、プログラム |
Also Published As
| Publication number | Publication date |
|---|---|
| US8106991B2 (en) | 2012-01-31 |
| CN101616258A (zh) | 2009-12-30 |
| US20090322926A1 (en) | 2009-12-31 |
| JP4513903B2 (ja) | 2010-07-28 |
| CN101616258B (zh) | 2013-01-02 |
Similar Documents
| Publication | Publication Date | Title |
|---|---|---|
| JP4513903B2 (ja) | 画像処理装置、及び画像処理方法 | |
| JP5567235B2 (ja) | 画像処理装置、撮影装置、プログラム及び画像処理方法 | |
| JP4212109B2 (ja) | 撮影装置および撮影方法 | |
| JP5136669B2 (ja) | 画像処理装置、画像処理方法及びプログラム | |
| CN101931752B (zh) | 摄像装置、以及对焦方法 | |
| CN101465972B (zh) | 在数字图像处理装置中使图像背景模糊的设备和方法 | |
| JP2020162139A (ja) | 撮像装置およびその設定画面 | |
| JP4872797B2 (ja) | 撮像装置、撮像方法および撮像プログラム | |
| US20110193984A1 (en) | Imaging apparatus | |
| WO2017045558A1 (zh) | 景深调节方法、装置及终端 | |
| CN102611835B (zh) | 数字拍摄设备及其控制方法 | |
| US9601158B2 (en) | Moving image selection apparatus for selecting moving image to be combined, moving image selection method, and storage medium | |
| CN101998060B (zh) | 通过使用自动聚焦确定抖动图像的方法和设备 | |
| KR20120002834A (ko) | 참조 영상을 제공하는 촬상장치 및 그의 참조 영상 제공방법 | |
| JP4509081B2 (ja) | デジタルカメラ及びデジタルカメラのプログラム | |
| JP4767904B2 (ja) | 撮像装置及び撮像方法 | |
| JP2013017218A (ja) | 画像処理装置、画像処理方法及びプログラム | |
| JP2011239267A (ja) | 撮像装置及び画像処理装置 | |
| JP2019029954A (ja) | 画像処理装置および画像処理方法 | |
| JP2013115656A (ja) | 撮影機器 | |
| JP2019047436A (ja) | 画像処理装置、画像処理方法、画像処理プログラム及び撮像装置 | |
| JP5777309B2 (ja) | 撮像装置及びその制御方法、並びに画像処理装置及びその制御方法 | |
| EP2138979B1 (en) | Image processing | |
| JP2014138259A (ja) | 撮影機器 | |
| CN103179337B (zh) | 数字拍摄设备及其控制方法 |
Legal Events
| Date | Code | Title | Description |
|---|---|---|---|
| A977 | Report on retrieval |
Free format text: JAPANESE INTERMEDIATE CODE: A971007 Effective date: 20100413 |
|
| TRDD | Decision of grant or rejection written | ||
| A01 | Written decision to grant a patent or to grant a registration (utility model) |
Free format text: JAPANESE INTERMEDIATE CODE: A01 Effective date: 20100420 |
|
| A01 | Written decision to grant a patent or to grant a registration (utility model) |
Free format text: JAPANESE INTERMEDIATE CODE: A01 |
|
| A61 | First payment of annual fees (during grant procedure) |
Free format text: JAPANESE INTERMEDIATE CODE: A61 Effective date: 20100503 |
|
| FPAY | Renewal fee payment (event date is renewal date of database) |
Free format text: PAYMENT UNTIL: 20130521 Year of fee payment: 3 |
|
| R250 | Receipt of annual fees |
Free format text: JAPANESE INTERMEDIATE CODE: R250 |
|
| R250 | Receipt of annual fees |
Free format text: JAPANESE INTERMEDIATE CODE: R250 |
|
| LAPS | Cancellation because of no payment of annual fees |
