JP2010008301A - 分離カラムおよび液体クロマトグラフ - Google Patents

分離カラムおよび液体クロマトグラフ Download PDF

Info

Publication number
JP2010008301A
JP2010008301A JP2008169771A JP2008169771A JP2010008301A JP 2010008301 A JP2010008301 A JP 2010008301A JP 2008169771 A JP2008169771 A JP 2008169771A JP 2008169771 A JP2008169771 A JP 2008169771A JP 2010008301 A JP2010008301 A JP 2010008301A
Authority
JP
Japan
Prior art keywords
separation column
resin coating
monolith rod
rod
filler
Prior art date
Legal status (The legal status is an assumption and is not a legal conclusion. Google has not performed a legal analysis and makes no representation as to the accuracy of the status listed.)
Granted
Application number
JP2008169771A
Other languages
English (en)
Other versions
JP5183322B2 (ja
Inventor
Izumi Ogata
いずみ 緒方
Michihiko Ueda
充彦 植田
Kosaku Toyosaki
耕作 豊崎
Current Assignee (The listed assignees may be inaccurate. Google has not performed a legal analysis and makes no representation or warranty as to the accuracy of the list.)
Hitachi High Tech Corp
Original Assignee
Hitachi High Technologies Corp
Hitachi High Tech Corp
Priority date (The priority date is an assumption and is not a legal conclusion. Google has not performed a legal analysis and makes no representation as to the accuracy of the date listed.)
Filing date
Publication date
Application filed by Hitachi High Technologies Corp, Hitachi High Tech Corp filed Critical Hitachi High Technologies Corp
Priority to JP2008169771A priority Critical patent/JP5183322B2/ja
Publication of JP2010008301A publication Critical patent/JP2010008301A/ja
Application granted granted Critical
Publication of JP5183322B2 publication Critical patent/JP5183322B2/ja
Expired - Fee Related legal-status Critical Current
Anticipated expiration legal-status Critical

Links

Images

Landscapes

  • Treatment Of Liquids With Adsorbents In General (AREA)

Abstract

【課題】
分離カラムにおける、モノリスロッドへの負荷を低減する。
【解決手段】
本発明の分離カラムは、多孔質体で円柱形状に成形され、官能基を化学結合したモノリスロッド1と、前記モノリスロッドの外周に設けられた樹脂被覆材2と、樹脂被覆材2の外周に充填された、充填材3と、試料および移動相を、モノリスロッド1へ流入させ、かつ、充填材3への流入を防止する流路と、を備えている。これにより、モノリスロッド1の材料の熱膨張率と、充填材3の材料の熱膨張率とを近づけることができ、充填材3からモノリスロット1への負荷を低減することができる。
【選択図】図1

Description

本発明は、分離カラム及び液体クロマトグラフに関する。例えば、高速液体クロマトグラフ等に使用される液体試料中の成分を分離する分離カラムに関し、特に高耐圧性を有するものに好適に用いることができる。
従来の高速液体クロマトグラフ等において、一般に使用されている粒子充填型カラムで分析時間を短縮するためには、単位時間当たりの送液量を増やす必要があるが、従来同様の分離性能を維持するためには、充填する粒子径を小さくし粒子表面積を増やす必要がある。すなわち、内径4mm程度の円筒容器に直径5μm程度の粒子を充填した従来のカラムに対して、粒子直径を2μm程度に変更することで分析時間を10分の1に短縮できる。
しかし、粒子径を小さくすることで流動抵抗が増加し、高圧での送液が必要となるため、分析装置本体の高耐圧化が課題である。
この課題を解決するため、粒子充填型カラムと異なり三次元ネットワーク状の骨格とその空隙(流路,マクロポア,スルーポア)が一体となった構造を持つモノリスカラムを使用することで、表面積は増加するが、空隙率が大きく流動抵抗が増加させないカラムが可能となり、例えば、細管内に多孔質体(モノリスロッド,モノリシックシリカロッド)を組み込んだモノリス型シリカカラムで高性能化が図られている。
また、多孔質体は、その外径の均一性,一様性を高精度に成形することが困難であるため、細管と多孔質体との間に隙間を生じやすく、カラム側面からの移動相の漏出を防止するため、多孔質体の外周面に樹脂被覆材を設けることが知られ、例えば特許文献1に記載されている。また、多孔質体の外周面に多孔質体と類似材料である溶融ガラスを被覆する方法もある。
この特許文献1は、「多孔質体の外周面に樹脂被覆材を設けた場合、材料同士の接着力で多孔質体を支持体に支持しているので、互いに接着しやすい材料を選択する制約があり、構造的に高圧力に不向きな構成になっている。また、多孔質体の外周面に溶融ガラスを設けた場合、溶融ガラス接着時に加える高温が多孔質体を修飾する官能基を破壊し、多孔質体の分離性能を劣化させる。」という問題がある。
この問題の解決手法として特許文献2が開示されている。より具体的には、特許文献2には、次のような分離カラムが開示されている。この分離カラムは、モノリスロッドの外周に被覆された被覆材と、被覆材で被覆されたモノリスロッドが挿入された支持体と、被覆材と支持体との間に装着あるいは充填されたロッド固定材とを備え、組み立てられた状態で流入側端部となるロッド固定材の上端面が封止されている。
特開平11−64314号公報(平成11年3月5日 公開) 特開2008−107176号公報(平成20年5月8日 公開)
しかしながら、上記の特許文献2に記載の分離カラムは、次の点で改善の余地がある。特許文献2では、モノリスロッドの周りにロッド固定材を配置しており、このロッド固定材としては、シリコンゴム、流動性のゴムや樹脂、熱硬化性樹脂あるいはガラスや金属を用いている。そのため、モノリスロッドと熱膨張性が異なり、分離カラムの温度変化によりモノリスロッドに対して負荷がかかるという課題がある。
本発明は、上記の課題に鑑みてなされたものであり、モノリスロッドに対する負荷を減らした分離カラムを提供することを目的とする。
上記の課題を解決するために、本発明の分離カラムは、多孔質体で円柱形状に成形され、官能基を化学結合したモノリスロッドと、前記モノリスロッドの外周に設けられた樹脂被覆材と、前記樹脂被覆材の外周に充填された、充填材と、試料および移動相を、前記モノリスロッドへ流入させ、かつ、前記充填材への流入を防止する流路と、を備えていることを特徴としている。
上記構成によれば、モノリスロッドの周りに、充填材を配置している。そのため、モノリスロッドの材料(シリカ)と熱膨張率が近い材料を充填材として用いることができる。それゆえ、モノリスロッドと充填材との熱膨張率を、(モノリスロッドと特許文献2に記載のロッド固定材との熱膨張率よりも)近づけることができ、モノリスロッドへの負荷を低減することができる。
さらに、上記構成によれば、分離カラムは、試料および移動相をモノリスロッドへ流入させ、かつ、充填材への流入を防止する流路を備えている。そのため、充填材への試料および移動相の流入を防止することができる。したがって、次の2つの効果がある。(a)モノリスロッドに対する充填材の体積がクロマトグラムに与える影響が無く、充填材の充填量を予め低減しておく必要が無い。それゆえ、充填材の充填量の制限が無く、充填材の充填作業が容易になる。(b)試料および移動相がモノリスロッドのみに流入し、充填材へは流入しないため、充填材の再配置や流出が起きない。それゆえ、分離カラムの両端に充填材の流出を防ぐフリットが不要であり、デッドボリュームが低減でき、良好なクロマトグラムを得ることができる。
本発明によれば、モノリスロッドへの負荷を低減した分離カラムを提供することができる、という効果を奏する。
〔実施例1〕
図1は、本発明の第1の実施例である、分離カラム(モノリス型の分離カラム)の構造を示す図である。図1において、分離カラムは、中央の円筒形状の分離カラム部と、分離カラム部の上流側の上流接続部と、分離カラム部の下流の下流接続部と、から構成されている。
分離カラム部は、外周側から、支持体4と、充填材3と、樹脂被覆材2と、多孔質材で柱状に成形されたモノリスロッド(モノリシックシリカロッド)1と、が同心状(同心円状)に配置されている。
モノリスロッド1は、オクタデシル基などの官能基を化学結合したものである。このモノリスロッド1は、例えば、直径が1.2〜2.8mmであり、長さが30〜200nmのものを用いることができる。
樹脂被覆材2は、モノリスロッド1の外周を被覆しており、厚さはモノリスロッド1の直径の10%以下である。モノリスロッド1の樹脂被覆処理は、100℃〜150℃程度で行われるため、被覆処理によるモノリスロッド1の官能基破壊は発生しない。樹脂被覆材2の長さはモノリスロッド1よりも両端が長い。また、樹脂被覆材2の寸法は、支持体4の内径の半径とモノリスロッド1の半径の差分の長さを超え、支持体4の外径の半径とモノリスロッド1の半径との差分の長さを超えない寸法である。
充填材3は、支持体4の内部に、樹脂被覆材2で被覆されたモノリスロッド1が挿入された状態で、支持体4と被覆材2の隙間にパッカーを用いて、圧力を徐々に上げながら充填されたものである。充填材3は、粒子径が数マイクロメートルのビーズであり、シリカ、ガラス、石英等の圧縮強度が高く収縮性の低い材質で成っている。充填材3として、球状または破砕型のビーズを用いることができる。また、充填材として、例えばシリカ,ステンレス,テフロン(登録商標),ダイフロン(登録商標),ジルコニア,セラミック,PEEK,べスペル(登録商標),サファイア,ルビー,ダイアモンド,アルミナ,ガラス,石英,チタン,およびUHMWポリエチレンのうちいずれか1または複数から成るものを用いることができる。さらに、充填材の大きさとして、例えば1〜5μmのものを用いることができる。
充填された充填材3は、充填圧力により下流側へ押されながら充填密度を上げ、樹脂被覆材2をモノリスロッド1に押し付ける。モノリスロッド1は外周全体から樹脂被覆材2を経て均等に充填材3に押し付けられる力により支持体4内に固定される。
本実施例では、このように充填材3(例えば、球状のビーズや破砕型のビーズ)をモノリスロッド1の周りに配している。このため、モノリスロッドの材料(シリカ)の熱膨張率と、充填材3の材料の熱膨張率とを近づけることができ、モノリスロッドへの負荷を低減することができる。支持体4は、円筒状であり、ステンレス材によって形成されている。
なお、樹脂被覆材2内面のモノリスロッド1との接着面をエッチング処理により凹凸加工するとモノリスロッド1と樹脂被覆材2との固定力を上げることができる。
充填材3の充填後、樹脂被覆材2の両端を広げ、固定部品5で固定する。このように、樹脂被覆材2が外側へ折れ曲がり、充填材3の端面を封止しているような構成となる。
固定部品5内側と支持体4外側には、両者を互いに固定するためのねじ部6があり、固定部品5はねじ部6により支持体4を両端から締め付け、樹脂被覆材2の両端を押し潰して充填材3を密閉し、充填終了時の配置を固定する。固定部品5には試料及び移動相を分離カラム部へ案内する配管接続部7が設けられている。
本実施例では、分析時に分離カラム入口から送液される試料及び移動相は、樹脂被覆材2の形成する隔壁により、モノリスロッド1にのみ流入する。そのため、樹脂被覆材2はモノリスロッド1に流入した移動相が持つ送液圧力によって外側へ押されるが、送液圧力が充填材3の充填圧力を超えない限り充填材3は再配置せず、樹脂被覆材2を押し戻す。従って、樹脂被覆材2は変形せず、移動相はモノリスロッド1内を一様に通過し、良好なクロマトグラムを得ることができる。
また、樹脂被覆材2は充填材3の押す力によってモノリスロッド1に密着するため、モノリスロッド1と樹脂被覆材2の接着力は分離カラムの耐圧に影響を及ぼさない。従って、樹脂被覆材2の材料選択肢が広がる。
また、試料及び移動相の充填材3への流入が無いため、モノリスロッド1に対する充填材3の体積がクロマトグラムに与える影響が無く、充填材3の充填量を低減する必要が無い。従って、充填材3の充填量制限が無く、充填作業が容易になる。
また、試料及び移動相がモノリスロッド1にのみ流入するため、分離カラムから充填材3の再配置や流出が起きない。従って、分離カラムの両端に充填材3の流出を防ぐフリットが不要でありデッドボリュームが低減するため、良好なクロマトグラムを得ることができる。
以下、その他の実施例について説明する。説明の便宜上、上記の実施例と異なる点について説明し、同一の箇所についてはその説明を省略する。
〔実施例2〕
図2は、本発明の第2の実施例である、分離カラムの構造を示す図である。本実施例は、実施例1の分離カラムの端部に試料及び移動相の流路を備えたシール部品8とシール受部品9を設け、実施例1よりも充填材3の密閉性を向上させた例である。
実施例1と同様に充填材3を充填した後、シール部品8が樹脂被覆材2の内部に固定部品5により固定される。より詳細には、シール部品8は、モノリスロッド1から離れるほど外側に広がるテーパ形状をしており、樹脂被覆材2をシール受部品9へ押し当てつつ外側へ押し広げ、モノリスロッド1の方へ固定部品5のねじ部6の締め付けによって押し込まれている。このように、樹脂被覆材2は、シール部品8とシール受部品9との間に挟まれた構造となる。さらに、このシール部品8は、外側から固定部品5により押圧され、固定されている。
繰り返しになるが、シール部品8は、固定部品5のねじ部6の締め付けによって、樹脂被覆材2外部のシール受部品9のテーパに沿って樹脂被覆材2内部をモノリスロッド1方向へ浸入し、樹脂被覆材2を押し広げる。また、シール受部品9は支持体4に押し付けられ、充填材3を密閉して固定する。
シール受部品9が充填材3を密閉する(封止する)ため、実施例1のように樹脂被覆材2が充填材3面を覆う必要が無く、樹脂被覆材2として伸張性が低いものを使用することができる。従って、分析時の送液圧力によって樹脂被覆材2が伸びて、モノリスロッド1と樹脂被覆材2との間に空隙が生じることも無く、実施例1よりも分離カラムの耐高圧性を向上させることができる。
さらに、本実施例では、実施例1とは異なり、試料および移動相の充填材3への流れ込みを、端面を覆うシール受部品9だけではなく、モノリスロッド1よりも長く、外側へ押し広げられた樹脂被覆材2によっても防止している。そのため、実施例1よりもより強固に試料および移動相の充填材3への流れ込みを防止することができる。
また、本実施例は、内側からシール部、樹脂被覆材、シール受部の順に配置されて、試料および移動相がモノリスロッドへ導かれる構造となっており、シール部は、モノリスロッドから離れるほど外側へ広がって樹脂被覆材およびシール受部を外側へ押し広げており、シール受部が充填材の端面を封止していると表現することもできる。
〔実施例3〕
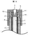
図3は、本発明の第3の実施例である、分離カラムの構造を示す。
本実施例は、実施例1の分離カラムの端部に試料及び移動相流路を備えた流路部品10と、流路部品10を固定するフェラル11と、フェラル11を変形させるテーパ部品12とを内側からこの順に設けており、モノリスロッド1に近い方から順にテーパ部品12,フェラル11を設けており、これらを固定する固定部品5がフェラル11に直接接触するようにしている。
この構成により、後述するように、実施例1および2よりもモノリスロッド1両端の空隙体積の低減が可能な例である。
本実施例では、流路部品10とモノリスロッド1端面との密着を保持しながら固定部品5のねじ部6を締め付ける。固定部品5のねじ部6が締まるにつれ、テーパ部品12のテーパに沿ってフェラル11が変形する共に、樹脂被覆材2と面接触しているフェラル11が下方へ押され、フェラル11が樹脂被覆材2およびテーパ部品12へ押し当てられ、樹脂被覆材2の外周から流路部品10を締め付けて固定する。固定の際に流路部品10とモノリスロッド1の端面と間に空隙が発生しないため、実施例1および2とは異なり両者の間にデッドボリュームが無くなり良好なクロマトグラムを得ることができる。
本実施例に示す分離カラムは、流路部品10を固定するフェラル11と、フェラル11を変形させるテーパ部品と、を備えており、フェラル11は先端をモノリスロッド1側へ向けて位置しており、フェラル11がモノリスロッド1側へ移動することにより流路部品10を締め付けていると表現することができる。ここで、フェラル11の先端とは、フェラル11における先が細い側をいう。
本実施例では、テーパ部品12が充填材3の端面を封止しており、実施例1,2と同様に、試料および移動相の充填材3への流入を防止することができる。さらに、樹脂被覆材2がモノリスロッド1よりも長くなっているため、実施例2と同様に相乗的に試料および移動相の充填材3への流入を防止することができる。
〔実施例4〕
図4は、本発明の第4の実施例である、分離カラムの構造を示す図である。
本実施例は、実施例3の分離カラム両端の流路部品10はそのままに、流路部品10を固定するフェラル11と、フェラル11を変形させるテーパ部品12の配置を逆にした例である。より詳細には、テーパ部品12が固定部品5と直接接触し、テーパ部品12が固定部品5により直接下方へ押される構成となっている。
本実施例の配置により、固定部品5のねじ部6が締まるにつれてフェラル11は変形するが、支持体4の端面とフェラル11の変形部分13との距離は変化しない。つまり、固定部品5とねじ部6との締め付けによりモノリスロッド1側へ移動するのはテーパ部品12であり、図4に示すように、樹脂被覆材2と面接触しているフェラル11は、モノリスロッド1の方へ移動しない。そのため、本実施例では、実施例3の効果に加えて、樹脂被覆材2にシワが生じず、デッドボリュームが無くなり良好なクロマトグラムを得ることができる。
本実施例に示す分離カラムは、流路部品10を固定するフェラル11と、フェラル11を変形させるテーパ部12と、を備えており、フェラル11は先端をモノリスロッド1とは反対側へ向けて位置しており、テーパ部12がモノリスロッド1側へ移動することにより流路部品10を締め付けていると表現することができる。
本実施例では、フェラル11が充填材3の端面を封止しており、実施例1,2と同様に、試料および移動相の充填材3への流入を防止することができる。さらに、樹脂被覆材2がモノリスロッド1よりも長くなっているため、実施例2と同様に相乗的に試料および移動相の充填材3への流入を防止することができる。
〔付記説明〕
上記実施例1〜4における充填材3は全て、直径が数マイクロメートル(例えば、1〜5μm)程度の球形あるいは破砕形のビーズであり、特許文献2に記載されているロッド固定材とは異なる。また、以上の実施例における充填材3は材質がシリカであるが、石英,アルミナ,ガラス,ジルコニアなども考えられる。
また、以上の実施例の構造は、分離カラムの移動相流入側と流出側のいずれにも適用することができる。
さらに、実施例3および4では、実施例1および2とは異なり、流路部品10とモノリスロッド1との密着により、試料および移動相の充填材3への流れ込みを防止している。さらに、実施例3および4では、必須の構成ではないが、図3に示すように、テーパ部品12が充填材3の端面を封止しており、また、図4に示すように、フェラル11が充填材3の端面を封止しているため、いずれの実施例においても試料および移動相の充填材3への流れ込みを相乗的に防止することができる。
なお、実施例3および4と、実施例1および2との他の構成上の相違点として、実施例1では樹脂被覆材2が外側へ折れ曲がっており、実施例2では樹脂被覆材2が外側へ押し広げられているが、本実施例では、樹脂被覆材2はモノリスロッド1に沿った、一直線のものとなっている。
実施例1〜4に記載の分離カラムは、いずれも試料および移動相を、モノリスロッドへ流入させ、かつ、前記充填材への流入を防止する流路を備えている、と表現することができる。
なお、実施例1では、モノリスロッドの長さよりも樹脂被覆材の長さの方が長いことが必須であるが、実施例2〜4では必ずしも必須ではない。これらの実施例では、上述の通り、モノリスロッドの長さが樹脂被覆材の長さよりも長くなくても充填材への試料および移動相の流入を防止することができるためである。
本発明は、樹脂被覆材料選択の制限を低減して耐圧性能と分離性能を向上し、高速分離分析ができる分離カラムを実現することにある、ということもできる。ここで、上記の分離性能には、樹脂被覆材料からの不純物成分の溶出防止も含まれる。
また、本発明は、多孔質体で円柱形状に成形され、官能基を化学結合したモノリスロッドと、前記モノリスロッドの外周に設けられた樹脂被覆材と、前記樹脂被覆材の外周に充填された充填材とを備え、試料および移動相の前記充填材への流入が防止されているということもできる。
また、本発明によれば、試料及び移動相がモノリスロッドにのみ流入する高耐圧性分離カラムの提供が可能になる。また、モノリスロッドを支持する充填材に試料及び移動相が流入しないため、充填材の使用量に制限が無く、充填材の充填が容易である。また、モノリスロッドの官能基が破壊されずにモノリスロッドの被覆が可能であり、分離性能の高いカラムの提供が可能になる。また、充填材の分離カラムからの流出を防ぐフリットが不要であるため、デッドボリュームが低減し、分離カラムの分離性能が向上する。
本発明の分離カラムは、液体クロマトグラフに用いることができる。
本発明の第1の実施例を示す分離カラムの構成図である。 本発明の第2の実施例を示す分離カラムの構成図である。 本発明の第3の実施例を示す分離カラムの構成図である。 本発明の第4の実施例を示す分離カラムの構成図である。
符号の説明
1 モノリスロッド(モノリシックシリカロッド)
2 樹脂被覆材
3 充填材
4 支持体
5 固定部品
6 ねじ部
7 配管接続部
8 シール部品(シール部)
9 シール受部品(シール受部)
10 流路部品
11 フェラル
12 テーパ部品(テーパ部)

Claims (16)

  1. 多孔質体で円柱形状に成形され、官能基を化学結合したモノリスロッドと、
    前記モノリスロッドの外周に設けられた樹脂被覆材と、
    前記樹脂被覆材の外周に充填された、充填材と、
    試料および移動相を、前記モノリスロッドへ流入させ、かつ、前記充填材への流入を防止する流路と、を備えていることを特徴とする、分離カラム。
  2. 請求項1に記載の分離カラムにおいて、
    前記充填材は、球状のビーズであることを特徴とする、分離カラム。
  3. 請求項1に記載の分離カラムにおいて、
    前記充填材は、破砕型のビーズであることを特徴とする、分離カラム。
  4. 請求項1に記載の分離カラムにおいて、
    前記充填材は端面が封止されていることを特徴とする、分離カラム。
  5. 請求項4に記載の分離カラムにおいて、
    前記樹脂被覆材は外側へ折れ曲がって前記充填材の端面を封止していることを特徴とする、分離カラム。
  6. 請求項4に記載の分離カラムにおいて、
    内側からシール部、前記樹脂被覆材、シール受部の順に配置されて、試料及び移動相が前記モノリスロッドへ導かれる構造となっており、
    前記シール部は、前記モノリスロッドから離れるほど外側へ広がって、前記樹脂被覆材および前記シール受部を外側へ押し広げており、
    前記充填材の端面は、前記シール受部により封止されていることを特徴とする、分離カラム。
  7. 請求項6に記載の分離カラムにおいて、
    前記樹脂被覆材の長さは、前記モノリスロッドの長さよりも長いことを特徴とする、分離カラム。
  8. 請求項1に記載の分離カラムにおいて、
    試料及び移動相を前記モノリスロッドへ導く流路部品を備えており、前記流路部品と前記モノリスロッドとが互いに密着していることを特徴とする分離カラム。
  9. 請求項8に記載の分離カラムにおいて、
    前記流路部品を固定するフェラルと、フェラルを変形させるテーパ部と、を備えており、
    前記フェラルは先端をモノリスロッド側へ向けて位置しており、前記フェラルが前記モノリスロッド側へ移動することにより前記流路部品を締め付けることを特徴とする、分離カラム。
  10. 請求項8に記載の分離カラムにおいて、
    前記流路部品を固定するフェラルと、フェラルを変形させるテーパ部と、を備えており、
    前記フェラルは先端をモノリスロッドとは反対側へ向けて位置しており、テーパ部が前記モノリスロッド側へ移動することにより前記流路部品を締め付けることを特徴とする、分離カラム。
  11. 請求項8に記載の分離カラムにおいて、
    前記樹脂被覆材の長さは、前記モノリスロッドの長さよりも長いことを特徴とする、分離カラム。
  12. 請求項1に記載の分離カラムにおいて、
    前記モノリスロッドは、直径が1.2〜2.8mmであり、長さが30〜200nmであることを特徴とする、分離カラム。
  13. 請求項1に記載の分離カラムにおいて、
    前記充填材は、シリカ,ステンレス,テフロン(登録商標),ダイフロン(登録商標),ジルコニア,セラミック,PEEK,べスペル(登録商標),サファイア,ルビー,ダイアモンド,アルミナ,ガラス,石英,チタン,およびUHMWポリエチレンのうちいずれか1または複数から成ることを特徴とする分離カラム。
  14. 請求項1に記載の分離カラムにおいて、
    前記充填材の大きさは1〜5μmであることを特徴とする分離カラム。
  15. 請求項1に記載の分離カラムを備えた、液体クロマトグラフ。
  16. 多孔質体で円柱形状に成形され、官能基を化学結合したモノリスロッドと、
    前記モノリスロッドの外周に設けられた樹脂被覆材と、
    前記樹脂被覆材の外周に充填された充填材とを備え、
    試料および移動相の前記充填材への流入が防止されていることを特徴とする、分離カラム。
JP2008169771A 2008-06-30 2008-06-30 分離カラムおよび液体クロマトグラフ Expired - Fee Related JP5183322B2 (ja)

Priority Applications (1)

Application Number Priority Date Filing Date Title
JP2008169771A JP5183322B2 (ja) 2008-06-30 2008-06-30 分離カラムおよび液体クロマトグラフ

Applications Claiming Priority (1)

Application Number Priority Date Filing Date Title
JP2008169771A JP5183322B2 (ja) 2008-06-30 2008-06-30 分離カラムおよび液体クロマトグラフ

Publications (2)

Publication Number Publication Date
JP2010008301A true JP2010008301A (ja) 2010-01-14
JP5183322B2 JP5183322B2 (ja) 2013-04-17

Family

ID=41588982

Family Applications (1)

Application Number Title Priority Date Filing Date
JP2008169771A Expired - Fee Related JP5183322B2 (ja) 2008-06-30 2008-06-30 分離カラムおよび液体クロマトグラフ

Country Status (1)

Country Link
JP (1) JP5183322B2 (ja)

Cited By (1)

* Cited by examiner, † Cited by third party
Publication number Priority date Publication date Assignee Title
JP2021021585A (ja) * 2019-07-25 2021-02-18 株式会社日立ハイテク カラム、クロマトグラフ装置

Citations (5)

* Cited by examiner, † Cited by third party
Publication number Priority date Publication date Assignee Title
JPH06118074A (ja) * 1992-10-07 1994-04-28 Fuji Shirishia Kagaku Kk フラーレン類の分離法
JPH1164314A (ja) * 1997-08-27 1999-03-05 Kyoto Jushi Seiko Kk クロマトグラフィーカラム
JP2002536651A (ja) * 1999-02-09 2002-10-29 メルク パテント ゲゼルシャフト ミット ベシュレンクテル ハフトング モノリスクロマトグラフィーカラム用の末端器
JP2004177180A (ja) * 2002-11-25 2004-06-24 Chemicals Evaluation & Research Institute 液体クロマトグラフ用カラム
JP2008107176A (ja) * 2006-10-25 2008-05-08 Hitachi High-Technologies Corp 分離カラム及びそれを用いた液体クロマトグラフ

Patent Citations (5)

* Cited by examiner, † Cited by third party
Publication number Priority date Publication date Assignee Title
JPH06118074A (ja) * 1992-10-07 1994-04-28 Fuji Shirishia Kagaku Kk フラーレン類の分離法
JPH1164314A (ja) * 1997-08-27 1999-03-05 Kyoto Jushi Seiko Kk クロマトグラフィーカラム
JP2002536651A (ja) * 1999-02-09 2002-10-29 メルク パテント ゲゼルシャフト ミット ベシュレンクテル ハフトング モノリスクロマトグラフィーカラム用の末端器
JP2004177180A (ja) * 2002-11-25 2004-06-24 Chemicals Evaluation & Research Institute 液体クロマトグラフ用カラム
JP2008107176A (ja) * 2006-10-25 2008-05-08 Hitachi High-Technologies Corp 分離カラム及びそれを用いた液体クロマトグラフ

Cited By (2)

* Cited by examiner, † Cited by third party
Publication number Priority date Publication date Assignee Title
JP2021021585A (ja) * 2019-07-25 2021-02-18 株式会社日立ハイテク カラム、クロマトグラフ装置
JP7288819B2 (ja) 2019-07-25 2023-06-08 株式会社日立ハイテク カラム、クロマトグラフ装置

Also Published As

Publication number Publication date
JP5183322B2 (ja) 2013-04-17

Similar Documents

Publication Publication Date Title
US7811451B2 (en) Separation column and liquid chromatograph using the same
JP5081473B2 (ja) 液体クロマトグラフ及び分離カラム
US3250395A (en) Chromatographic columns
US6068767A (en) Device to improve detection in electro-chromatography
US9562879B2 (en) Pipe containing a metal casing with a plastics material inlay for use in low and high pressure applications, in particular as an HPLC column
Cheong Fritting techniques in chromatography
JP6367172B2 (ja) クロマトグラフカラムに充填する方法
US8496819B2 (en) Separation column for liquid chromatograph apparatus and liquid chromatograph apparatus using thereof
US11125730B2 (en) Flow passage unit
Li et al. Single-particle-frit-based packed columns for microchip chromatographic analysis of neurotransmitters
JP5183322B2 (ja) 分離カラムおよび液体クロマトグラフ
CN104084248A (zh) 一种用于气体分离的填充式微流控芯片
JP2011013166A (ja) 分離カラムおよび液体クロマトグラフ
JP7288819B2 (ja) カラム、クロマトグラフ装置
JP4651505B2 (ja) 高速液体クロマトグラフ用カラム
JP2009216586A (ja) 分離カラムおよびそれを用いた液体クロマトグラフ
Franc et al. Performance and lifetime of slurry packed capillary columns for high performance liquid chromatography
US20140042066A1 (en) Channel unit for liquid chromatograph
JP5038200B2 (ja) 分離カラム及びそれを用いた液体クロマトグラフ装置
US9267927B2 (en) Robust and low backpressure on-column tunneled frit for nano-UPLC-MS applications
JP2015114293A (ja) 液体クロマトグラフ用カラムおよび液体クロマトグラフ装置
JP2025533180A (ja) クロマトグラフィーカラムアダプタおよび流体接続のための使用法
JP2005043188A (ja) 微小径配管製造方法、微小径配管、及びそれを用いたマイクロチップ
JP4660563B2 (ja) 分離カラム及び液体クロマトグラフ
JP5329119B2 (ja) 液体クロマトグラフ装置用の分離カラム及びそれを用いた液体クロマトグラフ装置

Legal Events

Date Code Title Description
A621 Written request for application examination

Free format text: JAPANESE INTERMEDIATE CODE: A621

Effective date: 20110527

A521 Written amendment

Free format text: JAPANESE INTERMEDIATE CODE: A523

Effective date: 20110527

A977 Report on retrieval

Free format text: JAPANESE INTERMEDIATE CODE: A971007

Effective date: 20120823

A131 Notification of reasons for refusal

Free format text: JAPANESE INTERMEDIATE CODE: A131

Effective date: 20121106

A521 Written amendment

Free format text: JAPANESE INTERMEDIATE CODE: A523

Effective date: 20121129

TRDD Decision of grant or rejection written
A01 Written decision to grant a patent or to grant a registration (utility model)

Free format text: JAPANESE INTERMEDIATE CODE: A01

Effective date: 20121218

A61 First payment of annual fees (during grant procedure)

Free format text: JAPANESE INTERMEDIATE CODE: A61

Effective date: 20130115

R150 Certificate of patent or registration of utility model

Free format text: JAPANESE INTERMEDIATE CODE: R150

FPAY Renewal fee payment (event date is renewal date of database)

Free format text: PAYMENT UNTIL: 20160125

Year of fee payment: 3

LAPS Cancellation because of no payment of annual fees