JP2010007600A - エンジン駆動発電機 - Google Patents

エンジン駆動発電機 Download PDF

Info

Publication number
JP2010007600A
JP2010007600A JP2008169128A JP2008169128A JP2010007600A JP 2010007600 A JP2010007600 A JP 2010007600A JP 2008169128 A JP2008169128 A JP 2008169128A JP 2008169128 A JP2008169128 A JP 2008169128A JP 2010007600 A JP2010007600 A JP 2010007600A
Authority
JP
Japan
Prior art keywords
engine
driven generator
axle
wheel
under cover
Prior art date
Legal status (The legal status is an assumption and is not a legal conclusion. Google has not performed a legal analysis and makes no representation as to the accuracy of the status listed.)
Granted
Application number
JP2008169128A
Other languages
English (en)
Other versions
JP5023002B2 (ja
Inventor
Tadafumi Hirose
忠文 広瀬
Masanori Shin
正則 進
Makoto Uchiumi
誠 内海
Current Assignee (The listed assignees may be inaccurate. Google has not performed a legal analysis and makes no representation or warranty as to the accuracy of the list.)
Honda Motor Co Ltd
Original Assignee
Honda Motor Co Ltd
Priority date (The priority date is an assumption and is not a legal conclusion. Google has not performed a legal analysis and makes no representation as to the accuracy of the date listed.)
Filing date
Publication date
Application filed by Honda Motor Co Ltd filed Critical Honda Motor Co Ltd
Priority to JP2008169128A priority Critical patent/JP5023002B2/ja
Priority to CA2669515A priority patent/CA2669515C/en
Priority to EP09163628A priority patent/EP2138684B1/en
Priority to DE602009000051T priority patent/DE602009000051D1/de
Priority to US12/490,670 priority patent/US8328207B2/en
Priority to AU2009202534A priority patent/AU2009202534B2/en
Priority to RU2009124115/06A priority patent/RU2435967C2/ru
Priority to KR1020090057465A priority patent/KR101041922B1/ko
Priority to CN2009101491847A priority patent/CN101614157B/zh
Priority to BRPI0901990-1A priority patent/BRPI0901990B1/pt
Publication of JP2010007600A publication Critical patent/JP2010007600A/ja
Application granted granted Critical
Publication of JP5023002B2 publication Critical patent/JP5023002B2/ja
Expired - Fee Related legal-status Critical Current
Anticipated expiration legal-status Critical

Links

Images

Landscapes

  • Hybrid Electric Vehicles (AREA)
  • Arrangement Or Mounting Of Propulsion Units For Vehicles (AREA)
  • Electric Propulsion And Braking For Vehicles (AREA)

Abstract

【課題】運搬の際に安定させた状態に姿勢を保つことができるエンジン駆動発電機を提供する。
【解決手段】エンジン駆動発電機10は、運搬用の車輪31,32が車軸113を介してアンダカバー25に設けられ、エンジン21がケース17の内部に収容され、ケース17に牽引用の牽引ハンドル125が設けられている。このエンジン駆動発電機10は、エンジン21の駆動軸34が車軸113に対して平行に配置されるとともに、エンジン21のシリンダブロック35が車軸113側に傾斜された状態に配置され、シリンダブロック35の下方側に配置された車軸113が、取付部材33に対して上方に設けられ、車輪31,32がケース17の側壁に対して中央寄りに配置されている。
【選択図】図2

Description

本発明は、運搬用の車輪が設けられ、エンジンがケースの内部に収容され、ケースの上部側で、かつ車輪の反対側に牽引用の牽引ハンドルが設けられたエンジン駆動発電機に関する。
エンジン駆動発電機のなかには、運搬用の車輪や脚部がアンダカバーに設けられるとともに、アンダカバーに取付部材を介してエンジンが設けられ、エンジンがケースの内部に収容され、ケースの上部側で、かつ車輪の反対側に運搬用のハンドルが設けられたものが知られている(例えば、特許文献1参照。)。
特開2005−76550号公報
運搬用のハンドルは、ケースの左右端部からハンドルレバーがケースから離れる方向に略水平に延出され、左右のハンドルレバーの先端部にグリップがそれぞれ設けられている。
エンジン駆動発電機によれば、左右のグリップを把持して持ち上げることで、支持脚を路面の上方に持ち上げた状態に保つことが可能である。
支持脚を路面の上方に持ち上げた状態で、運搬用のハンドルを押すことにより、車輪を回転させてエンジン駆動発電機を運搬できるとされている。
しかし、特許文献1のエンジン駆動発電機は、運搬用の車輪を支える車軸がアンダカバーの下方、すなわち低い位置に配置されている。
車軸が低い位置に配置されているため、車軸からグリップまで延ばした延長線は、エンジン駆動発電機の重心位置に対して下側に位置することになる。
すなわち、エンジン駆動発電機の重心位置が、車軸からグリップまで延ばした延長線に対して上方に位置している。
よって、左右のグリップを持ち上げて車輪を回転させてエンジン駆動発電機を不整地などで運搬する際に、エンジン駆動発電機が運搬方向に対して直交する方向、すなわち左右側にエンジン駆動発電機が傾倒(転倒)しやすくなることが考えられる。
このため、エンジン駆動発電機が左右側に傾倒しないように注意して運搬する必要があり、エンジン駆動発電機を安定させた状態で運搬することができる技術の実用化が望まれていた。
本発明は、運搬の際に安定させた状態に姿勢を保つことができるエンジン駆動発電機を提供することを課題とする。
請求項1に係る発明は、運搬用の車輪が車軸を介してアンダカバーに設けられ、前記アンダカバーに取付部材を介してエンジンが設けられ、前記エンジンがケースの内部に収容され、前記ケースの上部側で、かつ前記車輪の反対側に牽引用の牽引ハンドルが上下方向にスイング移動自在に設けられたエンジン駆動発電機において、前記エンジンの駆動軸が前記車軸に対して平行に配置されるとともに、前記エンジンのシリンダが前記車軸側に傾斜された状態に配置され、前記シリンダの下方側に配置された前記車軸が、前記取付部材に対して上方に設けられ、前記車軸に設けられた前記車輪が前記ケースの側壁に対して中央寄りに配置されたことを特徴とする。
請求項2において、前記車輪は、前記アンダカバーの両隅部にそれぞれ配置されるとともに、前記アンダカバーの両隅部に形成された凹部に収容され、前記凹部から露出した部位が路面に接地することを特徴とする。
請求項3は、前記アンダカバーのうち、前記車輪と反対側の両隅部に脚部が設けられ、
前記車輪および前記脚部で前記アンダカバーを略水平に支えることを特徴とする。
請求項1に係る発明では、エンジンのシリンダを車軸側に傾斜させることで、エンジンの重心位置を下げることができる。
また、シリンダの下方側に車軸を配置して、車軸を取付部材の上方に設け、車軸を高い位置に配置することができる。
よって、エンジン駆動発電機の高さを低く抑えることができる。
このように、エンジンの重心位置を下げ、エンジン駆動発電機の高さを低く抑えることで、エンジン駆動発電機の重心高さを低く抑えることができる。
エンジン駆動発電機の重心高さを低く抑えることで、車軸から牽引ハンドルのグリップまで延ばした延長線を、エンジン駆動発電機の重心位置と略同じ高さにすることができる。
よって、グリップを持ち上げて車輪を回転させることでエンジン駆動発電機を不整地などで運搬する際に、エンジン駆動発電機が運搬方向に対して直交する方向、すなわち左右側にエンジン駆動発電機が傾倒(転倒)し難くなる。
これにより、エンジン駆動発電機を安定させた姿勢に保ち、運搬を容易におこなうことができる。
請求項2に係る発明では、アンダカバーの両隅部に凹部を形成し、それぞれの凹部に車輪を収容した。よって、車輪のうち路面に接する部位のみを、凹部から下方に突出させることができる。
これにより、エンジン駆動発電機の底部を簡単に下げることができる。
請求項3に係る発明では、アンダカバーのうち、車輪と反対側の両隅部に脚部を設けた。
これにより、車輪および脚部でアンダカバーを略水平に支えることができ、エンジン駆動発電機を安定させた姿勢で使用することができる。
本発明を実施するための最良の形態を添付図に基づいて以下に説明する。なお、本発明に係るエンジン駆動発電機10は牽引ハンドル125で引っ張る方向を前方とし、図中前側をFr、後側をRr、左側をL、右側をRとして示す。
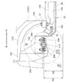
図1は本発明に係るエンジン駆動発電機を示す斜視図、図2は本発明に係るエンジン駆動発電機を示す断面図である。
エンジン駆動発電機10は、本体としての骨格を形成する骨格部材11と、骨格部材11に設けられたエンジン/発電機ユニット12と、エンジン/発電機ユニット12の出力を制御する電装部13と、エンジン/発電機ユニット12に燃料を供給する吸気/燃料供給機構14(図4参照)と、エンジン/発電機ユニット12に冷却風を導く冷却構造15と、エンジン駆動発電機10を運ぶための運搬構造16と、エンジン/発電機ユニット12および電装部13を覆うケース17と、ケース17内の収容空間20を仕切る断熱部材18と、エンジン/発電機ユニット12のエンジン21に設けられたマフラー23(図4参照)とを備えている。
エンジン駆動発電機10は、骨格部材11の底部を構成するアンダカバー25の前端部25aのうち、左右の隅部25c,25dに左右の脚部(脚部)29が設けられ、後端部25bに左右の車輪(運搬用の車輪)31,32が設けられている。
左右の隅部25c,25dは、左右の車輪31,32と反対側の両隅部である。
左右の脚部29は、それぞれラバー材で形成されている。
左右の脚部29および左右の車輪31,32が接地した状態で、アンダカバー25が略水平に配置可能に(支えられるように)構成されている。
これにより、エンジン駆動発電機10を安定させた姿勢で使用することができる。
このエンジン駆動発電機10は、骨格部材11のアンダカバー25に、エンジン/発電機ユニット12が4個の取付部材(マウント部材)33で取り付けられている。
エンジン/発電機ユニット12は、エンジン21と、エンジン21で駆動する発電機22(図4参照)とが一体に設けられている。
発電機22は、エンジン21の駆動軸(クランクシャフト)34に対して同軸上に設けられている(図4参照)。
エンジン21は、シリンダブロック(シリンダ)35が駆動軸34を軸にして左右の車輪31,32側(具体的には、左右の車輪31,32を支持する車軸113側)に角度θ傾斜した状態に配置されている。
なお、図2に示す符号36は、シリンダブロック35のシリンダ中心を示す。
エンジン21のシリンダブロック35を角度θ傾斜させることで、エンジン21の高さH1を低く抑えることができる。
エンジン21の高さH1を低く抑えることで、エンジン駆動発電機10の高さを低く抑えて、エンジン駆動発電機10のコンパクト化を図ることができる。
エンジン21のシリンダブロック35を角度θ傾斜させた状態で、シリンダブロック35の下方に車輪収容空間38を確保することができる。
この車輪収容空間38に、運搬構造16の左右の車輪31,32が配置されている。
車輪収容空間38を利用して左右の車輪31,32を配置することで、エンジン駆動発電機10のコンパクト化を一層良好に図ることができる。
また、シリンダブロック35を角度θ傾斜させることで、シリンダヘッド37を後ケース部47の近傍に配置することができる。
よって、点火プラグや、タペット(カムに従って動き、排気弁や吸気弁に運動を伝える弁機構の部品)を後ケース部47の近傍に配置することができる。
これにより、後ケース部47にメンテナンス用のカバーを設けることで、点火プラグの点検や、タペット調整を外部から容易におこなうことができる。
さらに、シリンダブロック35を角度θ傾斜させることで、シリンダブロック35の吸気口35aを後ケース部47の近傍に配置することができる。
よって、吸気口35aに取り付ける気化器101(図5参照)を後ケース部47の近傍に配置することができる。
これにより、後ケース部47に設けたメンテナンス用のカバーを外すことで、気化器101の点検を外部から容易におこなうことができる。
図3は本発明に係るアンダカバーに車輪を備えた状態を示す断面図である。
アンダカバー25は後端部25bの近傍に車軸横リブ144が左右方向に向けて延出されるように設けられている。
車軸横リブ144は、上方に向けて隆起されることで断面略逆U字状に形成された補強用の部位である。
車軸横リブ144は、断面略逆U字状に形成されることで、車軸113を収容する収容凹部152をアンダカバー25の底面28に有している。
車軸113は、左右方向に向いて、エンジン21の駆動軸34に対して平行に配置されている。
収容凹部152に車軸113が収容された状態で、車軸113が左右の支え軸受211,212で支えられている。
左右の支え軸受211,212は、アンダカバー25の底面28にボルト204…で取り付けられている。
車軸113の左右の端部に左右の車輪31,32がそれぞれ回転自在に取り付けられている。
図2で説明したように、エンジン21のシリンダブロック35の下方に車輪収容空間38を確保することで、車輪収容空間38に運搬構造16の左右の車輪31,32が配置可能になる。
よって、左右の車輪31,32を上方(すなわち、高位置)に配置することが可能になる。これにより、シリンダブロック35の下方に配置された車軸113をエンジン/発電機ユニット12の取付部材33の上方に配置することが可能になる。
具体的には、車軸113の高さH2は、取付部材33の高さH3より大きく(高く)設定されている。
このように、車輪収容空間38を利用して左右の車輪31,32を配置することで、左右の車輪31,32を上方(高位置)に配置することが可能になる。
これにより、エンジン駆動発電機10のコンパクト化を良好に図ることができる。
図4は図1の4−4線断面図である。
エンジン/発電機ユニット12は、エンジン21の駆動軸34が左右方向に向いて横置きに配置された状態でアンダカバー25に取り付けられている。
このエンジン/発電機ユニット12は、エンジン21が駆動することにより駆動軸34が回転する。駆動軸34の回転が冷却ファン85に伝わり、冷却ファン85が回転する。
冷却ファン85が回転することで、発電機22のロータ22aがステータ22bの外周に沿って回転する。ロータ22aが回転することで電力が発電される。
エンジン/発電機ユニット12のエンジン21の上方にマフラー23が設けられている。
マフラー23は、エンジン21のシリンダブロック35(図2参照)から排出された排気ガスを排気口39から排出するものである。
また、エンジン/発電機ユニット12の発電機22の上方に、吸気/燃料供給機構14の燃料タンク41が設けられている。
エンジン/発電機ユニット12、マフラー23および燃料タンク41は、断面略コ字状に形成されたケース17の内部に収容されている。
ケース17は、ポリプロピレン(PP)などの樹脂で形成され、アンダカバー25の上方に設けられている。
ケース17をアンダカバー25の上方に設けることで、ケース17およびアンダカバー25で収容空間20が形成されている。
ケース17は左右の側壁部66,68を有している。左側壁部(ケースの側壁)66に対してケース17の前後方向中央寄りに左車輪31が配置されている。
この左車輪31は、外側面31aが左側壁部66の外側に突出しないように、左側壁部66に対して内側(すなわち、ケース17の前後方向中央寄り)に配置されている。
また、右側壁部(ケースの側壁)68に対してケース17の前後方向中央寄りに右車輪32が配置されている。
この右車輪32は、外側面32aが右側壁部68の外側に突出しないように、右側壁部68に対して内側(すなわち、ケース17の前後方向中央寄り)に配置されている。
冷却構造15は、電装部13のインバータユニット78(図2参照)、エンジン21およびマフラー23などを冷却する手段である。
電装部13は、図2に示すように、エンジン/発電機ユニット12の出力を制御するもので、上半部に操作パネル79を備え、下半部にインバータユニット78を備えている。
操作パネル79には、エンジン始動用のスイッチや、発電された電力を出力するための交流端子や直流端子などが前ケース部46の開口部48から外部に臨むように設けられている。
インバータユニット78は、発電機22の出力周波数を制御する機器である。
図5は図1のエンジン駆動発電機からケースを除去した状態を示す斜視図である。
吸気/燃料供給機構14は、エンジン/発電機ユニット12のエンジン21(図4参照)に燃料(混合気)を供給するものである。
この吸気/燃料供給機構14は、発電機22(図4参照)の上方に配置された燃料タンク41と、エンジン21のシリンダブロック35(図2参照)に設けられた気化器101とを備えている。
燃料タンク41は、エンジン21に供給する燃料を蓄えるタンクである。
気化器101は、燃料タンク41から導かれた燃料を、エアクリーナ(図示せず)から導かれた空気に混合させてエンジン21に供給する機器である。
燃料タンク41や気化器101は、センタフレーム27(断熱部材18)の右側の領域、すなわちクール領域53(図4参照)に配置されている。
なお、図4に示すように、エンジン21やマフラー23は、センタフレーム27(断熱部材18)の左側の領域、すなわちホット領域54に配置されている。
骨格部材11は、エンジン/発電機ユニット12を支持可能に形成されたアンダカバー25と、アンダカバー25の前端部25a近傍に立設された鉛直フレーム26と、鉛直フレーム26の上部中央26aおよびアンダカバー25の後端中央部25eに架け渡されたセンタフレーム27とから構成されている。
アンダカバー25には、前述したように、エンジン21(図4参照)および発電機22を一体に備えたエンジン/発電機ユニット12が4個の取付部材33で取り付けられている。
エンジン21には、始動用のリコイルスタータ111が設けられている。
エンジン21の上方には、排気用のマフラー23(図4参照)が設けられている。
また、センタフレーム27に断熱部材18が設けられている。
この断熱部材18は、図4に示すように、ケース17内の収容空間20をクール領域53およびホット領域54に仕切る部材である。
なお、発電機22(図4参照)の上方には燃料タンク41が設けられている。
また、アンダカバー25に、運搬構造16の左右の車輪31,32が車軸113(図3参照)を介して回転自在に設けられている。
すなわち、図2に示すように、エンジン21のシリンダブロック35を角度θ傾斜させた状態で、シリンダブロック35の下方に車輪収容空間38が確保されている。
この空間を利用して、アンダカバー25の後端部25bのうち、左右の隅部(両隅部)25f、25gに左右のホイールハウス115,116が形成されている。
左右のホイールハウス115,116は、それぞれ上方に略湾曲状に隆起されている。左右のホイールハウス115,116を設けることで、左右のホイールハウス115,116の下方に、左右の車輪31,32が収容可能な左右の凹部(凹部)115a,116aが形成されている。
左ホイールハウス115下方の左凹部115aに左車輪31が配置されている。そして、左車輪31のうち、路面120(図4参照)に接する部位31b(図4も参照)のみが、左凹部115aから下方に突出(露出)されている。
また、右ホイールハウス116下方の右凹部116aに右車輪32が配置されている。
そして、右車輪32のうち、路面120(図4参照)に接する部位32b(図4も参照)のみが、右凹部116aから下方に突出(露出)されている。
これにより、エンジン駆動発電機10の底部を簡単に下げることができる。
なお、左右のホイールハウス115,116は左右対称の部位である。左右の凹部115a,116aは左右対称の部位である。
また、骨格部材11の鉛直フレーム26には、運搬構造16の牽引ハンドル125が設けられている。
具体的には、牽引ハンドル125は、鉛直フレーム26の上部中央26aにハンドル支え部128を介して上下方向にスイング移動自在に支持されている。
鉛直フレーム26の上部中央26aは、ケース17の上部17a(図1参照)側で、かつ車輪31,32の反対側の部位17b(図1参照)に配置されている。
ハンドル支え部128は、鉛直フレーム26の上部中央26aにボルト129…でセンタフレーム27とともに共締めされている。
すなわち、牽引ハンドル125は、ケース17の上部17a側で、かつ車輪31,32の反対側の部位17bに配置されている。
ところで、運搬構造16は、左右の車輪31,32および牽引ハンドル125を備えている。
運搬構造16によれば、牽引ハンドル125を支え軸131を中心にして牽引位置P1まで上方にスイング移動して、牽引ハンドル125のグリップ132を把持して牽引することが可能である。
すなわち、グリップ132を把持して持ち上げることで、左右の脚部29が路面(地面)120から持ち上げられる。
この状態で、グリップ132を牽引することで、左右の車輪31,32が回転してエンジン駆動発電機10を運搬する(運ぶ)ことが可能である。
図6は本発明に係るエンジン駆動発電機の重心位置を示す側面図である。
エンジン駆動発電機10のエンジン21は、シリンダブロック35が駆動軸34を軸にして左右の車輪31,32側(具体的には、左右の車輪31,32を支持する車軸113側)に角度θ傾斜した状態に配置されている。
エンジン21のシリンダブロック35を角度θ傾斜させることで、エンジン21の高さH1を下げて(図2参照)、エンジン駆動発電機10の高さH4を低く抑えている。
また、エンジン21のシリンダブロック35を角度θ傾斜させた状態で、シリンダブロック35の下方に車輪収容空間38(図2参照)が確保されている。
この空間38を利用して、アンダカバー25の後端部25bのうち、左右の隅部25f、25gに左右のホイールハウス115,116が形成されている。
車輪収容空間38を利用して左右の車輪31,32を配置することで、左右の車輪31,32が上方(高位置)に配置されている。
よって、エンジン駆動発電機10の底部、すなわちアンダカバー25の底面28の高さH5が低く抑えられている。
ここで、左右のホイールハウス115,116の下方に左右の凹部115a,116aがそれぞれ形成されている。
図5に示すように、左凹部115aに左車輪31が収容され、右凹部116aに右車輪32が収容されている。
よって、左車輪31のうち、路面120に接する部位31b(図4も参照)のみを、左凹部115aから下方に突出させることができる。
また、右車輪32のうち、路面120に接する部位32b(図4も参照)のみを、右凹部116aから下方に突出させることができる。
これにより、エンジン駆動発電機10の底部、すなわちアンダカバー25の底面28の高さH5を簡単に下げることができる。
このように、エンジン駆動発電機10の高さH2やアンダカバー25の底面28の高さH5を低く抑えることで、エンジン駆動発電機10の重心Gの高さ位置H6を低く抑えることができる。
エンジン駆動発電機10の重心Gの高さH6を低く抑えることで、車軸113から牽引ハンドル125のグリップ132まで延ばした延長線220を、エンジン駆動発電機10の重心G近傍に配置できる。
牽引ハンドル125は、エンジン駆動発電機10を牽引する牽引位置P1に配置されている。
よって、グリップ132を持ち上げて左右の車輪31,32でエンジン駆動発電機10を不整地などで運搬する際に、エンジン駆動発電機10が運搬方向に対して直交する方向、すなわち左右側に傾倒し難くなる。
これにより、エンジン駆動発電機10を安定させた姿勢に保ち、運搬を容易におこなうことができる。
エンジン21のシリンダブロック35を駆動軸34を軸にして車軸113側に角度θ傾斜することで、エンジン21の重心は車軸113側に移動する。
エンジン21の重心を車軸113側に移動することで、エンジン21の重心を左右方向に移動させることなく低く抑えることができる。
図7は本発明に係るエンジン駆動発電機の重心位置を示す背面図である。
エンジン21(図6参照)の重心を左右方向に移動させることなく低く抑えることで、エンジン21の重心をエンジン駆動発電機10の幅方向略中心に配置することができる。
よって、エンジン駆動発電機10の重心Gは、高さH6が低く抑えられるとともに、エンジン駆動発電機10の幅方向略中央に配置されている。
エンジン駆動発電機10の重心Gを幅方向略中央に配置することで、左車輪31とエンジン駆動発電機10の重心Gとを結んだ左側傾斜線221の傾斜角αを小さく抑えることができる。
よって、鉛直線223に対する左側傾斜線221の角度βを大きく確保することができる。この角度βは、エンジン駆動発電機10が左側に傾倒する場合の最大傾斜角である。
これにより、エンジン駆動発電機10が左側に傾倒する場合の最大傾斜角βを大きく確保することができる。
同様に、右車輪32とエンジン駆動発電機10の重心Gとを結んだ右側傾斜線222の傾斜角αを小さく抑えることができる。
これにより、エンジン駆動発電機10が右側に傾倒する場合の最大傾斜角βを大きく確保することができる。
図8(a),(b)は本発明に係るエンジン駆動発電機を牽引ハンドルで運搬する例を説明する図である。
(a),(b)において、牽引ハンドル125を牽引位置P1(図6参照)に配置し、グリップ132の略中央部132a((b)参照)を運搬者225の手226で把持する。
グリップ132を持ち上げて左右の脚部29を路面120から持ち上げる。
この状態で、グリップ132を前方に引っ張ることで、左右の車輪31,32が回転してエンジン駆動発電機10を前方に運搬することができる。
図9は本発明に係るエンジン駆動発電機を牽引ハンドルで運搬する際の左右方向の安定性を説明する図である。
左車輪31とエンジン駆動発電機10の重心Gとを結んだ左側傾斜線221の傾斜角αが小さく抑えられている。よって、エンジン駆動発電機10の最大傾斜角βが大きく確保されている。
これにより、エンジン駆動発電機10を不整地などで運搬する際に、エンジン駆動発電機10が左側に傾倒し難くなる。
また、図7に示すように、右車輪32とエンジン駆動発電機10の重心Gとを結んだ右側傾斜線222の傾斜角αも、左側傾斜線221と同様に小さく抑えられている。
これにより、エンジン駆動発電機10を不整地などで運搬する際に、エンジン駆動発電機10が右側に傾倒し難くなる。
このように、エンジン駆動発電機10を左右側に傾倒し難くすることで、エンジン駆動発電機10の運搬の際に、エンジン駆動発電機10を安定させた姿勢に保つことが可能になり、運搬を容易におこなうことができる。
なお、前記実施の形態で示したケース17、アンダカバー25、左右の脚部29、取付部材33および牽引ハンドル125などは例示した形状に限定するものではなく適宜変更が可能である。
本発明は、運搬用の車輪が設けられ、車輪の反対側に牽引用の牽引ハンドルが設けられたエンジン駆動発電機への適用に好適である。
本発明に係るエンジン駆動発電機を示す斜視図である。 本発明に係るエンジン駆動発電機を示す断面図である。 本発明に係るアンダカバーに車輪を備えた状態を示す断面図である。 図1の4−4線断面図である。 図1のエンジン駆動発電機からケースを除去した状態を示す斜視図である。 本発明に係るエンジン駆動発電機の重心位置を示す側面図である。 本発明に係るエンジン駆動発電機の重心位置を示す背面図である。 本発明に係るエンジン駆動発電機を牽引ハンドルで運搬する例を説明する図である。 本発明に係るエンジン駆動発電機を牽引ハンドルで運搬する際の左右方向の安定性を説明する図である。
符号の説明
10…エンジン駆動発電機、12…エンジン/発電機ユニット、17…ケース、17a…ケースの上部、21…エンジン、25…アンダカバー、25c,25d…左右の隅部(車輪と反対側の両隅部)、25f、25g…左右の隅部(アンダカバーの両隅部)、29…左右の脚部(脚部)、31,32…左右の車輪(運搬用の車輪)、31b,32b…路面に接する部位(凹部から露出した部位)、33…取付部材、34…駆動軸、35…シリンダブロック(シリンダ)、66…左側壁部(ケースの側壁)、68…右側壁部(ケースの側壁)、113…車軸、115a,116a…左右の凹部(凹部)、120…路面、125…牽引ハンドル。

Claims (3)

  1. 運搬用の車輪が車軸を介してアンダカバーに設けられ、前記アンダカバーに取付部材を介してエンジンが設けられ、前記エンジンがケースの内部に収容され、前記ケースの上部側で、かつ前記車輪の反対側に牽引用の牽引ハンドルが上下方向にスイング移動自在に設けられたエンジン駆動発電機において、
    前記エンジンの駆動軸が前記車軸に対して平行に配置されるとともに、前記エンジンのシリンダが前記車軸側に傾斜された状態に配置され、
    前記シリンダの下方側に配置された前記車軸が、前記取付部材に対して上方に設けられ、
    前記車軸に設けられた前記車輪が前記ケースの側壁に対して中央寄りに配置されたことを特徴とするエンジン駆動発電機。
  2. 前記車輪は、
    前記アンダカバーの両隅部にそれぞれ配置されるとともに、前記アンダカバーの両隅部に形成された凹部に収容され、
    前記凹部から露出した部位が路面に接地することを特徴とする請求項1記載のエンジン駆動発電機。
  3. 前記アンダカバーのうち、前記車輪と反対側の両隅部に脚部が設けられ、
    前記車輪および前記脚部で前記アンダカバーを略水平に支えることを特徴とする請求項1または請求項2記載のエンジン駆動発電機。
JP2008169128A 2008-06-27 2008-06-27 エンジン駆動発電機 Expired - Fee Related JP5023002B2 (ja)

Priority Applications (10)

Application Number Priority Date Filing Date Title
JP2008169128A JP5023002B2 (ja) 2008-06-27 2008-06-27 エンジン駆動発電機
CA2669515A CA2669515C (en) 2008-06-27 2009-06-18 Engine generator
DE602009000051T DE602009000051D1 (de) 2008-06-27 2009-06-24 Motorgenerator
US12/490,670 US8328207B2 (en) 2008-06-27 2009-06-24 Engine generator
AU2009202534A AU2009202534B2 (en) 2008-06-27 2009-06-24 Engine generator
EP09163628A EP2138684B1 (en) 2008-06-27 2009-06-24 Engine Generator
RU2009124115/06A RU2435967C2 (ru) 2008-06-27 2009-06-25 Двигатель-генератор
KR1020090057465A KR101041922B1 (ko) 2008-06-27 2009-06-26 엔진 발전기
CN2009101491847A CN101614157B (zh) 2008-06-27 2009-06-26 发动机驱动型发电机
BRPI0901990-1A BRPI0901990B1 (pt) 2008-06-27 2009-06-29 Motor gerador

Applications Claiming Priority (1)

Application Number Priority Date Filing Date Title
JP2008169128A JP5023002B2 (ja) 2008-06-27 2008-06-27 エンジン駆動発電機

Publications (2)

Publication Number Publication Date
JP2010007600A true JP2010007600A (ja) 2010-01-14
JP5023002B2 JP5023002B2 (ja) 2012-09-12

Family

ID=41588370

Family Applications (1)

Application Number Title Priority Date Filing Date
JP2008169128A Expired - Fee Related JP5023002B2 (ja) 2008-06-27 2008-06-27 エンジン駆動発電機

Country Status (1)

Country Link
JP (1) JP5023002B2 (ja)

Cited By (2)

* Cited by examiner, † Cited by third party
Publication number Priority date Publication date Assignee Title
JP2016191331A (ja) * 2015-03-31 2016-11-10 富士重工業株式会社 ポータブル発電機
CN116122959A (zh) * 2023-02-28 2023-05-16 广西玉柴机器股份有限公司 一种整车控制总成排气结构

Citations (21)

* Cited by examiner, † Cited by third party
Publication number Priority date Publication date Assignee Title
JPS4886234U (ja) * 1972-01-24 1973-10-19
JPS5121036U (ja) * 1974-08-02 1976-02-16
JPS5444815U (ja) * 1977-08-29 1979-03-28
JPS54115609U (ja) * 1978-02-02 1979-08-14
JPS559801U (ja) * 1978-01-31 1980-01-22
JPS5749993U (ja) * 1980-09-05 1982-03-20
JPS5833890U (ja) * 1981-08-28 1983-03-05 株式会社クボタ エンジン作業機
JPS5892851U (ja) * 1981-12-14 1983-06-23 本田技研工業株式会社 発動発電機の吊下支持装置
JPS58173730U (ja) * 1982-05-14 1983-11-19 株式会社クボタ 携帯形エンジン発電機
JPS6012633U (ja) * 1983-07-06 1985-01-28 デンヨ−株式会社 エンジン駆動式小型発電機の取手機構
JPS6196086U (ja) * 1984-11-30 1986-06-20
JPS62178134A (ja) * 1986-01-31 1987-08-05 Fuji Heavy Ind Ltd 可搬型発動発電機
JPH05263656A (ja) * 1992-03-19 1993-10-12 Yanmar Diesel Engine Co Ltd 複合作業機セット
JPH07133728A (ja) * 1993-11-10 1995-05-23 Yanmar Diesel Engine Co Ltd 防音型エンジン駆動作業機
JPH10250583A (ja) * 1997-03-13 1998-09-22 Toshikazu Hayashi コンテナ運搬車
JP2002309958A (ja) * 2001-04-13 2002-10-23 Fuji Heavy Ind Ltd 防音型発電機
JP2003138946A (ja) * 2002-09-10 2003-05-14 Yanmar Co Ltd 防音形複合作業機セット
JP2004060569A (ja) * 2002-07-30 2004-02-26 Yamaha Motor Co Ltd エンジン発電機
JP2005076550A (ja) * 2003-09-01 2005-03-24 Honda Motor Co Ltd エンジン駆動式発電機
US6935642B1 (en) * 2002-05-14 2005-08-30 Devilbiss Air Power Company Cart frame generator
JP2008037429A (ja) * 2006-08-01 2008-02-21 Shingo Nishikawa 搬送具

Patent Citations (21)

* Cited by examiner, † Cited by third party
Publication number Priority date Publication date Assignee Title
JPS4886234U (ja) * 1972-01-24 1973-10-19
JPS5121036U (ja) * 1974-08-02 1976-02-16
JPS5444815U (ja) * 1977-08-29 1979-03-28
JPS559801U (ja) * 1978-01-31 1980-01-22
JPS54115609U (ja) * 1978-02-02 1979-08-14
JPS5749993U (ja) * 1980-09-05 1982-03-20
JPS5833890U (ja) * 1981-08-28 1983-03-05 株式会社クボタ エンジン作業機
JPS5892851U (ja) * 1981-12-14 1983-06-23 本田技研工業株式会社 発動発電機の吊下支持装置
JPS58173730U (ja) * 1982-05-14 1983-11-19 株式会社クボタ 携帯形エンジン発電機
JPS6012633U (ja) * 1983-07-06 1985-01-28 デンヨ−株式会社 エンジン駆動式小型発電機の取手機構
JPS6196086U (ja) * 1984-11-30 1986-06-20
JPS62178134A (ja) * 1986-01-31 1987-08-05 Fuji Heavy Ind Ltd 可搬型発動発電機
JPH05263656A (ja) * 1992-03-19 1993-10-12 Yanmar Diesel Engine Co Ltd 複合作業機セット
JPH07133728A (ja) * 1993-11-10 1995-05-23 Yanmar Diesel Engine Co Ltd 防音型エンジン駆動作業機
JPH10250583A (ja) * 1997-03-13 1998-09-22 Toshikazu Hayashi コンテナ運搬車
JP2002309958A (ja) * 2001-04-13 2002-10-23 Fuji Heavy Ind Ltd 防音型発電機
US6935642B1 (en) * 2002-05-14 2005-08-30 Devilbiss Air Power Company Cart frame generator
JP2004060569A (ja) * 2002-07-30 2004-02-26 Yamaha Motor Co Ltd エンジン発電機
JP2003138946A (ja) * 2002-09-10 2003-05-14 Yanmar Co Ltd 防音形複合作業機セット
JP2005076550A (ja) * 2003-09-01 2005-03-24 Honda Motor Co Ltd エンジン駆動式発電機
JP2008037429A (ja) * 2006-08-01 2008-02-21 Shingo Nishikawa 搬送具

Cited By (2)

* Cited by examiner, † Cited by third party
Publication number Priority date Publication date Assignee Title
JP2016191331A (ja) * 2015-03-31 2016-11-10 富士重工業株式会社 ポータブル発電機
CN116122959A (zh) * 2023-02-28 2023-05-16 广西玉柴机器股份有限公司 一种整车控制总成排气结构

Also Published As

Publication number Publication date
JP5023002B2 (ja) 2012-09-12

Similar Documents

Publication Publication Date Title
KR101041922B1 (ko) 엔진 발전기
CA2668350C (en) Engine generator
US8178985B2 (en) Engine generator
JP7292432B2 (ja) 鞍乗り型電動車両
JP5023002B2 (ja) エンジン駆動発電機
JP4977655B2 (ja) エンジン駆動発電機
JP4977656B2 (ja) エンジン駆動発電機
JP4977657B2 (ja) エンジン駆動発電機
WO2005063559A1 (ja) 電動車両
JP4918528B2 (ja) エンジン駆動発電機
WO2024048544A1 (ja) 車両
JP2010007598A (ja) エンジン駆動発電機
JP2010007594A (ja) エンジン駆動発電機

Legal Events

Date Code Title Description
A621 Written request for application examination

Free format text: JAPANESE INTERMEDIATE CODE: A621

Effective date: 20101126

A977 Report on retrieval

Free format text: JAPANESE INTERMEDIATE CODE: A971007

Effective date: 20120112

A131 Notification of reasons for refusal

Free format text: JAPANESE INTERMEDIATE CODE: A131

Effective date: 20120124

A521 Request for written amendment filed

Free format text: JAPANESE INTERMEDIATE CODE: A523

Effective date: 20120306

TRDD Decision of grant or rejection written
A01 Written decision to grant a patent or to grant a registration (utility model)

Free format text: JAPANESE INTERMEDIATE CODE: A01

Effective date: 20120612

A01 Written decision to grant a patent or to grant a registration (utility model)

Free format text: JAPANESE INTERMEDIATE CODE: A01

A61 First payment of annual fees (during grant procedure)

Free format text: JAPANESE INTERMEDIATE CODE: A61

Effective date: 20120618

R150 Certificate of patent or registration of utility model

Ref document number: 5023002

Country of ref document: JP

Free format text: JAPANESE INTERMEDIATE CODE: R150

Free format text: JAPANESE INTERMEDIATE CODE: R150

FPAY Renewal fee payment (event date is renewal date of database)

Free format text: PAYMENT UNTIL: 20150622

Year of fee payment: 3

LAPS Cancellation because of no payment of annual fees