JP2010007524A - 排気ガス浄化装置 - Google Patents

排気ガス浄化装置 Download PDF

Info

Publication number
JP2010007524A
JP2010007524A JP2008166324A JP2008166324A JP2010007524A JP 2010007524 A JP2010007524 A JP 2010007524A JP 2008166324 A JP2008166324 A JP 2008166324A JP 2008166324 A JP2008166324 A JP 2008166324A JP 2010007524 A JP2010007524 A JP 2010007524A
Authority
JP
Japan
Prior art keywords
exhaust gas
catalyst
processing member
gas processing
nox
Prior art date
Legal status (The legal status is an assumption and is not a legal conclusion. Google has not performed a legal analysis and makes no representation as to the accuracy of the status listed.)
Granted
Application number
JP2008166324A
Other languages
English (en)
Other versions
JP5256881B2 (ja
Inventor
Taiji Nagaoka
大治 長岡
Teruo Nakada
輝男 中田
Akihide Ogushi
彰秀 大串
Hiroyuki Yuza
裕之 遊座
Current Assignee (The listed assignees may be inaccurate. Google has not performed a legal analysis and makes no representation or warranty as to the accuracy of the list.)
Isuzu Motors Ltd
Original Assignee
Isuzu Motors Ltd
Priority date (The priority date is an assumption and is not a legal conclusion. Google has not performed a legal analysis and makes no representation as to the accuracy of the date listed.)
Filing date
Publication date
Application filed by Isuzu Motors Ltd filed Critical Isuzu Motors Ltd
Priority to JP2008166324A priority Critical patent/JP5256881B2/ja
Priority to AU2009263542A priority patent/AU2009263542B2/en
Priority to US12/736,982 priority patent/US8561396B2/en
Priority to PCT/JP2009/060344 priority patent/WO2009157292A1/ja
Priority to EP09770002.5A priority patent/EP2305980B1/en
Priority to CN2009801239695A priority patent/CN102076935B/zh
Publication of JP2010007524A publication Critical patent/JP2010007524A/ja
Application granted granted Critical
Publication of JP5256881B2 publication Critical patent/JP5256881B2/ja
Expired - Fee Related legal-status Critical Current
Anticipated expiration legal-status Critical

Links

Images

Classifications

    • FMECHANICAL ENGINEERING; LIGHTING; HEATING; WEAPONS; BLASTING
    • F01MACHINES OR ENGINES IN GENERAL; ENGINE PLANTS IN GENERAL; STEAM ENGINES
    • F01NGAS-FLOW SILENCERS OR EXHAUST APPARATUS FOR MACHINES OR ENGINES IN GENERAL; GAS-FLOW SILENCERS OR EXHAUST APPARATUS FOR INTERNAL-COMBUSTION ENGINES
    • F01N3/00Exhaust or silencing apparatus having means for purifying, rendering innocuous, or otherwise treating exhaust
    • F01N3/08Exhaust or silencing apparatus having means for purifying, rendering innocuous, or otherwise treating exhaust for rendering innocuous
    • F01N3/0807Exhaust or silencing apparatus having means for purifying, rendering innocuous, or otherwise treating exhaust for rendering innocuous by using absorbents or adsorbents
    • F01N3/0814Exhaust or silencing apparatus having means for purifying, rendering innocuous, or otherwise treating exhaust for rendering innocuous by using absorbents or adsorbents combined with catalytic converters, e.g. NOx absorption/storage reduction catalysts
    • FMECHANICAL ENGINEERING; LIGHTING; HEATING; WEAPONS; BLASTING
    • F01MACHINES OR ENGINES IN GENERAL; ENGINE PLANTS IN GENERAL; STEAM ENGINES
    • F01NGAS-FLOW SILENCERS OR EXHAUST APPARATUS FOR MACHINES OR ENGINES IN GENERAL; GAS-FLOW SILENCERS OR EXHAUST APPARATUS FOR INTERNAL-COMBUSTION ENGINES
    • F01N13/00Exhaust or silencing apparatus characterised by constructional features
    • F01N13/009Exhaust or silencing apparatus characterised by constructional features having two or more separate purifying devices arranged in series
    • F01N13/0097Exhaust or silencing apparatus characterised by constructional features having two or more separate purifying devices arranged in series the purifying devices are arranged in a single housing
    • FMECHANICAL ENGINEERING; LIGHTING; HEATING; WEAPONS; BLASTING
    • F01MACHINES OR ENGINES IN GENERAL; ENGINE PLANTS IN GENERAL; STEAM ENGINES
    • F01NGAS-FLOW SILENCERS OR EXHAUST APPARATUS FOR MACHINES OR ENGINES IN GENERAL; GAS-FLOW SILENCERS OR EXHAUST APPARATUS FOR INTERNAL-COMBUSTION ENGINES
    • F01N13/00Exhaust or silencing apparatus characterised by constructional features
    • F01N13/14Exhaust or silencing apparatus characterised by constructional features having thermal insulation
    • FMECHANICAL ENGINEERING; LIGHTING; HEATING; WEAPONS; BLASTING
    • F01MACHINES OR ENGINES IN GENERAL; ENGINE PLANTS IN GENERAL; STEAM ENGINES
    • F01NGAS-FLOW SILENCERS OR EXHAUST APPARATUS FOR MACHINES OR ENGINES IN GENERAL; GAS-FLOW SILENCERS OR EXHAUST APPARATUS FOR INTERNAL-COMBUSTION ENGINES
    • F01N3/00Exhaust or silencing apparatus having means for purifying, rendering innocuous, or otherwise treating exhaust
    • F01N3/02Exhaust or silencing apparatus having means for purifying, rendering innocuous, or otherwise treating exhaust for cooling, or for removing solid constituents of, exhaust
    • FMECHANICAL ENGINEERING; LIGHTING; HEATING; WEAPONS; BLASTING
    • F01MACHINES OR ENGINES IN GENERAL; ENGINE PLANTS IN GENERAL; STEAM ENGINES
    • F01NGAS-FLOW SILENCERS OR EXHAUST APPARATUS FOR MACHINES OR ENGINES IN GENERAL; GAS-FLOW SILENCERS OR EXHAUST APPARATUS FOR INTERNAL-COMBUSTION ENGINES
    • F01N3/00Exhaust or silencing apparatus having means for purifying, rendering innocuous, or otherwise treating exhaust
    • F01N3/08Exhaust or silencing apparatus having means for purifying, rendering innocuous, or otherwise treating exhaust for rendering innocuous
    • F01N3/0807Exhaust or silencing apparatus having means for purifying, rendering innocuous, or otherwise treating exhaust for rendering innocuous by using absorbents or adsorbents
    • F01N3/0828Exhaust or silencing apparatus having means for purifying, rendering innocuous, or otherwise treating exhaust for rendering innocuous by using absorbents or adsorbents characterised by the absorbed or adsorbed substances
    • F01N3/0835Hydrocarbons
    • FMECHANICAL ENGINEERING; LIGHTING; HEATING; WEAPONS; BLASTING
    • F01MACHINES OR ENGINES IN GENERAL; ENGINE PLANTS IN GENERAL; STEAM ENGINES
    • F01NGAS-FLOW SILENCERS OR EXHAUST APPARATUS FOR MACHINES OR ENGINES IN GENERAL; GAS-FLOW SILENCERS OR EXHAUST APPARATUS FOR INTERNAL-COMBUSTION ENGINES
    • F01N3/00Exhaust or silencing apparatus having means for purifying, rendering innocuous, or otherwise treating exhaust
    • F01N3/08Exhaust or silencing apparatus having means for purifying, rendering innocuous, or otherwise treating exhaust for rendering innocuous
    • F01N3/0807Exhaust or silencing apparatus having means for purifying, rendering innocuous, or otherwise treating exhaust for rendering innocuous by using absorbents or adsorbents
    • F01N3/0828Exhaust or silencing apparatus having means for purifying, rendering innocuous, or otherwise treating exhaust for rendering innocuous by using absorbents or adsorbents characterised by the absorbed or adsorbed substances
    • F01N3/0842Nitrogen oxides
    • FMECHANICAL ENGINEERING; LIGHTING; HEATING; WEAPONS; BLASTING
    • F01MACHINES OR ENGINES IN GENERAL; ENGINE PLANTS IN GENERAL; STEAM ENGINES
    • F01NGAS-FLOW SILENCERS OR EXHAUST APPARATUS FOR MACHINES OR ENGINES IN GENERAL; GAS-FLOW SILENCERS OR EXHAUST APPARATUS FOR INTERNAL-COMBUSTION ENGINES
    • F01N3/00Exhaust or silencing apparatus having means for purifying, rendering innocuous, or otherwise treating exhaust
    • F01N3/08Exhaust or silencing apparatus having means for purifying, rendering innocuous, or otherwise treating exhaust for rendering innocuous
    • F01N3/10Exhaust or silencing apparatus having means for purifying, rendering innocuous, or otherwise treating exhaust for rendering innocuous by thermal or catalytic conversion of noxious components of exhaust
    • F01N3/105General auxiliary catalysts, e.g. upstream or downstream of the main catalyst
    • F01N3/106Auxiliary oxidation catalysts
    • FMECHANICAL ENGINEERING; LIGHTING; HEATING; WEAPONS; BLASTING
    • F01MACHINES OR ENGINES IN GENERAL; ENGINE PLANTS IN GENERAL; STEAM ENGINES
    • F01NGAS-FLOW SILENCERS OR EXHAUST APPARATUS FOR MACHINES OR ENGINES IN GENERAL; GAS-FLOW SILENCERS OR EXHAUST APPARATUS FOR INTERNAL-COMBUSTION ENGINES
    • F01N3/00Exhaust or silencing apparatus having means for purifying, rendering innocuous, or otherwise treating exhaust
    • F01N3/08Exhaust or silencing apparatus having means for purifying, rendering innocuous, or otherwise treating exhaust for rendering innocuous
    • F01N3/10Exhaust or silencing apparatus having means for purifying, rendering innocuous, or otherwise treating exhaust for rendering innocuous by thermal or catalytic conversion of noxious components of exhaust
    • F01N3/24Exhaust or silencing apparatus having means for purifying, rendering innocuous, or otherwise treating exhaust for rendering innocuous by thermal or catalytic conversion of noxious components of exhaust characterised by constructional aspects of converting apparatus
    • F01N3/28Construction of catalytic reactors
    • BPERFORMING OPERATIONS; TRANSPORTING
    • B01PHYSICAL OR CHEMICAL PROCESSES OR APPARATUS IN GENERAL
    • B01DSEPARATION
    • B01D2255/00Catalysts
    • B01D2255/90Physical characteristics of catalysts
    • B01D2255/912HC-storage component incorporated in the catalyst
    • BPERFORMING OPERATIONS; TRANSPORTING
    • B01PHYSICAL OR CHEMICAL PROCESSES OR APPARATUS IN GENERAL
    • B01DSEPARATION
    • B01D53/00Separation of gases or vapours; Recovering vapours of volatile solvents from gases; Chemical or biological purification of waste gases, e.g. engine exhaust gases, smoke, fumes, flue gases, aerosols
    • B01D53/34Chemical or biological purification of waste gases
    • B01D53/92Chemical or biological purification of waste gases of engine exhaust gases
    • B01D53/94Chemical or biological purification of waste gases of engine exhaust gases by catalytic processes
    • B01D53/9404Removing only nitrogen compounds
    • B01D53/9409Nitrogen oxides
    • B01D53/9413Processes characterised by a specific catalyst
    • B01D53/9422Processes characterised by a specific catalyst for removing nitrogen oxides by NOx storage or reduction by cyclic switching between lean and rich exhaust gases (LNT, NSC, NSR)
    • BPERFORMING OPERATIONS; TRANSPORTING
    • B01PHYSICAL OR CHEMICAL PROCESSES OR APPARATUS IN GENERAL
    • B01DSEPARATION
    • B01D53/00Separation of gases or vapours; Recovering vapours of volatile solvents from gases; Chemical or biological purification of waste gases, e.g. engine exhaust gases, smoke, fumes, flue gases, aerosols
    • B01D53/34Chemical or biological purification of waste gases
    • B01D53/92Chemical or biological purification of waste gases of engine exhaust gases
    • B01D53/94Chemical or biological purification of waste gases of engine exhaust gases by catalytic processes
    • B01D53/944Simultaneously removing carbon monoxide, hydrocarbons or carbon making use of oxidation catalysts
    • BPERFORMING OPERATIONS; TRANSPORTING
    • B01PHYSICAL OR CHEMICAL PROCESSES OR APPARATUS IN GENERAL
    • B01DSEPARATION
    • B01D53/00Separation of gases or vapours; Recovering vapours of volatile solvents from gases; Chemical or biological purification of waste gases, e.g. engine exhaust gases, smoke, fumes, flue gases, aerosols
    • B01D53/34Chemical or biological purification of waste gases
    • B01D53/92Chemical or biological purification of waste gases of engine exhaust gases
    • B01D53/94Chemical or biological purification of waste gases of engine exhaust gases by catalytic processes
    • B01D53/9445Simultaneously removing carbon monoxide, hydrocarbons or nitrogen oxides making use of three-way catalysts [TWC] or four-way-catalysts [FWC]
    • FMECHANICAL ENGINEERING; LIGHTING; HEATING; WEAPONS; BLASTING
    • F01MACHINES OR ENGINES IN GENERAL; ENGINE PLANTS IN GENERAL; STEAM ENGINES
    • F01NGAS-FLOW SILENCERS OR EXHAUST APPARATUS FOR MACHINES OR ENGINES IN GENERAL; GAS-FLOW SILENCERS OR EXHAUST APPARATUS FOR INTERNAL-COMBUSTION ENGINES
    • F01N2240/00Combination or association of two or more different exhaust treating devices, or of at least one such device with an auxiliary device, not covered by indexing codes F01N2230/00 or F01N2250/00, one of the devices being
    • F01N2240/10Combination or association of two or more different exhaust treating devices, or of at least one such device with an auxiliary device, not covered by indexing codes F01N2230/00 or F01N2250/00, one of the devices being a heat accumulator
    • YGENERAL TAGGING OF NEW TECHNOLOGICAL DEVELOPMENTS; GENERAL TAGGING OF CROSS-SECTIONAL TECHNOLOGIES SPANNING OVER SEVERAL SECTIONS OF THE IPC; TECHNICAL SUBJECTS COVERED BY FORMER USPC CROSS-REFERENCE ART COLLECTIONS [XRACs] AND DIGESTS
    • Y02TECHNOLOGIES OR APPLICATIONS FOR MITIGATION OR ADAPTATION AGAINST CLIMATE CHANGE
    • Y02TCLIMATE CHANGE MITIGATION TECHNOLOGIES RELATED TO TRANSPORTATION
    • Y02T10/00Road transport of goods or passengers
    • Y02T10/10Internal combustion engine [ICE] based vehicles
    • Y02T10/12Improving ICE efficiencies

Landscapes

  • Engineering & Computer Science (AREA)
  • Chemical & Material Sciences (AREA)
  • Combustion & Propulsion (AREA)
  • Mechanical Engineering (AREA)
  • General Engineering & Computer Science (AREA)
  • Chemical Kinetics & Catalysis (AREA)
  • Materials Engineering (AREA)
  • Health & Medical Sciences (AREA)
  • Toxicology (AREA)
  • Exhaust Gas After Treatment (AREA)
  • Exhaust Gas Treatment By Means Of Catalyst (AREA)

Abstract

【課題】酸化触媒又は三元触媒又はNOx浄化触媒とHC吸着材を用いている排気ガス浄化装置において、加速時の内燃機関の運転状態においても、三元触媒又はNOx浄化触媒のHCライトオフ温度上昇までの間は、HC吸着材に流入する排気ガスを効率よく冷却できてHC吸着材でHCを吸着処理できる排気ガス浄化装置を提供する。
【解決手段】内燃機関の排気ガスを浄化する酸化触媒又は三元触媒又はNOx吸蔵還元型触媒を担持した第1排気ガス処理部材3を備える共に、該第1排気ガス処理部材3の下流側にHC吸蔵機能を有する第2排気ガス処理部材4を配置した排気ガス浄化装置1において、前記第2排気ガス処理部材4に流入する排気ガスの温度を冷却させる放熱部5を前記第1排気ガス処理部材3と前記第2排気ガス処理部材4との間に設けると共に、前記放熱部5より上流側を断熱構造に形成し、更にその上流側を保温構造に形成する。
【選択図】図1

Description

本発明は、三元触媒やNOx浄化触媒等の触媒装置を有する排気ガス浄化装置で、ゼオライト等のHC吸着材を使用し、触媒装置とHC吸着材と放熱部との配置を工夫することにより、大気中へのHCの流出量を大幅に減少することができる排気ガス浄化装置に関する。
自動車搭載の内燃機関の排気ガス浄化システムにおけるHCの流出対策に関連して、ゼオライト等の細孔構造を持つ材料が、この材料の細孔に分子径の大きいHC種やアンモニア等を吸着する特性があることが知られており、使用されている。このHCを吸着する材料は、温度が250℃以下ではHC種等を吸着し、それ以上の250℃〜300℃の温度では逆に吸着したHC種等を放出する。300℃以上では酸化触媒、三元触媒、NOx吸蔵還元型触媒、選択還元型NOx触媒等の貴金属を担持する触媒でHC種等を酸化する。このHC種等の放出は高温域では分子運動が活発になるためと思われる。
この材料をHC吸着材として排気ガス浄化システム中に配置しているシステムの場合には、250℃以上ではHCを放出してしまうため、このHC放出の温度領域が、他の酸化触媒(DOC)等のHCライトオフ温度域と重なるようにしないと、これらの排気ガス処理装置の下流側にHCが流出するので、排気ガスの状態が悪化する温度領域ができてしまうという問題がある。
特に、HCの流出対策が必要な触媒システムとして、三元触媒(TWC)やNOx吸蔵還元型触媒(LNT)がある。この三元触媒を使用している排気ガス浄化システムでは、加速時などで燃料を多くする場合には空燃比が深いリッチ側となるため、流出するHCの量が増加する。また、NOx吸蔵還元型触媒を使用している排気ガス浄化システムでは、NOx吸蔵能力を回復するための再生処理時にHCなどをポスト噴射や排気管内直接噴射で供給してリッチ雰囲気とする必要があるため、NOx吸蔵還元型触媒から放出されるNOx量に対応した最適な制御を行なわないと大気中へのHCの流出量が増加する懸念がある。また、三元触媒と同様に加速時にはその懸念が増大する。つまり、加速に伴いNOx吸蔵還元型触媒の触媒温度が上昇して、吸蔵されていたNOxが放出され、この放出されたNOxを還元するNOx再生制御の機会が増加するため、HCの流出量が増加し易くなる。
このHCの流出防止対策として、HC吸着材を三元触媒やNOx吸蔵還元型触媒の下流側(後段)に配置することである程度の効果はあるが、HC吸着材のHC吸着温度域が250℃以下と比較的低温であるため、加速時にような排気ガス温度が急激に高くなる場合には、HCの流出防止に対しては効果が薄いという問題がある。
そのため、これらの排気ガス浄化システムでは、加速時のHC流出の問題に対して、NOx浄化率を犠牲にしてHCの流出の増加を抑える制御を行なっている。例えば、三元触媒の場合には燃料噴射量を抑えて過度のリッチ雰囲気になることを回避する。また、NOx吸蔵還元型触媒の場合には触媒温度が上昇してHC浄化率が向上するまで、NOx吸蔵能力を回復するための空燃比リッチ制御を停止する。
一方、三元触媒とHC吸着浄化触媒の配置に関しては、三元触媒をエンジンルーム内に位置する排気系の上流部に配設するとともに、HC吸着剤と酸素供給剤等を主成分とするHC吸着浄化触媒を、エンジンルーム外に位置するアンダフロア部の排気系の下流部に配設して、三元触媒をエンジンの始動後の早い段階で活性化し、この活性化以前にHC吸着剤がHC脱離温度に上昇することを冷却に車両の走行風を利用しつつ防止するエンジンの排気ガス浄化装置が提案されている(例えば、特許文献1参照)。
また、HC吸着材の上層に三元触媒層を備えてなるHC吸着触媒の上流側に、リーンNOx触媒(NOx吸蔵還元型触媒)を配置し、リーンNOx触媒とHC吸着触媒との間に、排気を冷却するための配管の内外の冷却フィンや配管内のハニカム構造体などからなるヒートマス(熱容量)を設けたり、水などの冷媒によって冷却したりして、HC吸着触媒に導入される排気の温度を積極的に低下させて、リーンNOx触媒の活性化に対して、HC吸着材が脱離開始温度に達するのを確実に遅らせるようにした内燃機関の排気浄化装置が提案されている(例えば、特許文献2参照)。
しかしながら、前者においては、走行速度により、アンダーフロア部に配設したHC吸着剤触媒の温度がバラつき、HC吸着能力が制御し難いという問題があり、後者においては、後流側に選択還元型NOx触媒がないので、HC吸着材より脱離したHCが流出するという問題がある。また、これらの三元触媒とHC吸着浄化触媒や、リーンNOx触媒とHC吸着触媒とは別個に形成され、離間して配設されるため、排気ガス浄化システムが長くなる上に、装置が2分するため取り付けに手間が掛かるという問題がある。
本発明は、上記の状況を鑑みてなされたものであり、その目的は、三元触媒又はNOx浄化触媒とHC吸着材を用いている排気ガス浄化装置において、加速時の内燃機関の運転状態においても、三元触媒又はNOx浄化触媒のHCライトオフ温度上昇までの間は、HC吸着材に流入する排気ガスを効率よく冷却できてHC吸着材でHCを吸着処理できる排気ガス浄化装置を提供することにある。
上記のような目的を達成するための排気ガス浄化装置は、内燃機関の排気ガスを浄化する酸化触媒又は三元触媒又はNOx吸蔵還元型触媒を担持した第1排気ガス処理部材を備える共に、該第1排気ガス処理部材の下流側にHC吸蔵機能を有する第2排気ガス処理部材を配置した排気ガス浄化装置において、前記第2排気ガス処理部材に流入する排気ガスの温度を冷却させる放熱部を前記第1排気ガス処理部材と前記第2排気ガス処理部材との間に設けると共に、前記放熱部より上流側を断熱構造に形成し、更にその上流側を保温構造に形成して構成される。
この構成によれば、第1排気ガス処理部材側を保温構造とし、第1排気ガス処理部材と放熱部との間に断熱構造を設けたので、両者の温度差の増大の促進とその維持を行うことができる。つまり、加速時のように排気ガス温度が上昇する時において、放熱部で排気ガスを冷却して、下流側のHC吸着機能を有する第2排気ガス処理部材に流入する排気ガス温度を低下させて、酸化触媒又は三元触媒又はNOx吸蔵還元型触媒を担持した第1排気ガス処理部材の温度がHCライトオフ温度以上の高温領域になるまでの間、第2排気ガス処理部材を低温領域に維持することができる。
そのため、下流側の第2排気ガス処理部材がHC吸着機能を喪失する温度(例えば、250℃)になる時点では、既に、上流側の酸化触媒又は三元触媒又はNOx還元型触媒の第1排気ガス処理部材は活性化温度以上になり、十分にライトオフHC活性が見込めるようになる。従って、第1排気ガス処理部材が活性化する前においては、HCを確実に下流側の第2排気ガス処理部材で吸着できる。
その結果、加速時等において、従来技術で行っていた、三元触媒の場合の燃料を抑えて過度のリッチ雰囲気になることを抑制する制御や、NOx吸蔵還元型触媒の場合の触媒温度が上昇してHC浄化率が向上するまでの間リッチ還元を停止する等のNOx浄化率を犠牲にしてHCの大気中への流出防止を図るような制御を行なう必要がなくなる。そのため、加速初期からNOx吸蔵能力を回復するためのNOx再生制御におけるNOx還元を十分に行うことができるようになる。
上記の排気ガス浄化装置において、前記放熱部を底部にして前記第1排気ガス処理部材と前記第2排気ガス処理部材を前記放熱部の両側に並列に配置して、前記第1排気ガス処理部材と前記放熱部と前記第2排気ガス処理部材との全体形状をU字形状に配置して構成する。この構成によれば、U字形状の折り曲げ部分である底部に広い面積の放熱部を設けることができるようになるので、排気ガス浄化装置を小型化でき、かつ、配管に取り付ける工数も少なくて済むようになる。
あるいは、上記の排気ガス浄化装置において、前記第1排気ガス処理部材と前記第2排気ガス処理部材を並列に配置すると共に、その間に屈曲した接続通路を設けて、前記第1排気ガス処理部材と前記接続通路と前記第2排気ガス処理部材との全体形状をS字形状に構成すると共に、前記接続通路の一部又は全部を前記放熱部として形成して構成する。この構成によれば、S字形状の折り曲げ部分に広い面積の放熱部を設けることができるようになり、また、流れの拡散を図ることもできるようになる。
あるいは、上記の排気ガス浄化装置において、前記第1排気ガス処理部材と前記第2排気ガス処理部材をT字形状又はL字形状に配置すると共に、その間に屈曲した接続通路を設けて、前記第1排気ガス処理部材と前記接続通路と前記第2排気ガス処理部材との全体形状をT字形状又はL字形状に構成すると共に、前記接続通路の一部又は全部を前記放熱部として形成して構成する。この構成によれば、T字形状又はL字形状の折り曲げ部分に比較的広い面積の放熱部を設けることができるようになるので、排気ガス浄化装置を小型化でき、かつ、配管に取り付ける工数も少なくて済むようになる。
本発明に係る排気ガス浄化装置によれば、三元触媒又はNOx浄化触媒とHC吸着機能を有する排気ガス処理部材を用いている排気ガス浄化装置において、加速時の内燃機関の運転状態においても、三元触媒又はNOx浄化触媒のHCライトオフ温度上昇までの間は、HC吸着材に流入する排気ガスを効率よく冷却できてHC吸着材でHCを吸着処理でき、大気中へのHCの流出を抑制することができる。
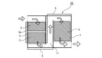
以下、本発明に係る実施の形態の排気ガス浄化装置について、図面を参照しながら説明する。図1に、本発明の第1の実施の形態の排気ガス浄化装置1の構成を示す。この排気ガス浄化装置1は、エンジン(内燃機関)の排気通路に設けられる装置であり、上流側から、酸化触媒(DOC)2、第1排気ガス処理部材である三元触媒(TWC)又はNOx吸蔵還元型触媒(LNT)3、HC吸着機能を有する第2排気ガス処理部材であるHC吸着材4を有して構成される。以下、第1排気ガス処理部材としてNOx吸蔵還元型触媒を用いた場合を例にして説明するが、三元触媒を用いた場合にも本発明を適用できる。
酸化触媒2は、多孔質のセラミックのハニカム構造の担持体に、白金等の酸化触媒を担持させて形成される。この酸化触媒は、排気ガス中のHCやCOを酸化して排気ガスを浄化する役割と、NOx吸蔵還元型触媒3のNOx吸蔵能力を回復するためのNOx再生の際にNOxの還元剤として供給されるHCの一部を酸化して排気ガスの温度を昇温する役割とを持っている。
NOx吸蔵還元型触媒3は、アルカリ金属又はアルカリ土類金属を貴金属と共に担持して形成され、酸素過剰な排気ガス中のNOを酸化して硝酸塩として触媒上に吸着させて、NOxを浄化する。このNOx吸蔵還元型触媒は、排気ガスがリーン空燃比では、NOxを吸蔵し、リッチ空燃比では、吸蔵したNOxを放出すると共に、この放出されたNOxを還元雰囲気中で還元して、NOxを低減する。
第2排気ガス処理部材4としては、セラミック担体やメタル担体にゼオライト系やアルミナ系の多孔質物質をコートした物を使用するHC吸着材を用いる。この構成はHC吸着機能を持つものとして知られている。
この放熱部5は、第1排気ガス処理部材3と第2排気ガス処理部材4を接続する接続通路10に形成され、第1排気ガス処理部材3の排気ガスの流出正面と第2排気ガス処理部材4の排気ガスの流入正面とが放熱面5aに形成される。つまり、第1排気ガス処理部材3と第2排気ガス処理部材4を保持する触媒キャスニングを折り曲げレイアウトとして折り曲げ部の前側に酸化触媒2とNOx吸蔵還元型触媒3を、後ろ側にHC吸着材4を配置する。この構成にすることで折り曲げ部分の放熱部5の放熱面5aから放熱させることが可能となる上、この放熱面5aの面積量の調整により第2排気ガス処理部材4の温度低下量を調整できる。また、排気ガス浄化装置1全体の長さが短くなるのでコンパクトになる。
図2に示すように、この放熱部5は、最も外側をSUS材で形成する放熱面5aで形成する共に、その内側に酸化アルミニウム(アルミナ)又は炭化ケイ素(シリカ)等の厚さ10mm程度の断熱層(アルミナ層)5bを配置し、この放熱面5aと断熱ナ層5bを保持する支持部材5cを設ける。また、この支持部材5cの内側にバッフルブレート5dを浮き構造で配置する。この放熱面5aのSUS層は断熱層5bを保持するためでもあり、断熱層5bは排気ガスの放熱を防止するが、厚さ等を調整することにより放熱効果の調整が可能となる。また、バッフルブレート5dは排気ガスの放熱を防止すると共に、支持部材5cとバッフルブレート5dの間に空気層を設け、この空気層により断熱効果を得る。この構成により、放熱面5aの面積等の調整により、放熱部5の構造を、排気ガス温度を第1排気ガス処理部材3の流出部位から第2排気ガス処理部材4の流入部位に至る間で20℃〜30℃程度低下させる放熱構造になるように形成する。
第1排気ガス処理部材3を収納する第1ケース6と放熱部5の間の接続部分、及び、第2排気ガス処理部材4を収納する第2ケース7と放熱部5の間の接続部分には、熱伝導率が小さく伝電が少ないSUS304又は遮熱材を包んだガスケット、例えば、セラミックファイバー等の材料で形成されたパッキン8を挟持させて断熱構造を形成する。また、第1排気ガス処理部材3を収納する第1ケース6をグラスウールや発泡プラスチック等の保温材6aで囲む等して、第1ケース6側を保温構造とする。これにより、第2排気ガス処理部材4の上流側を断熱構造とし、それより更に上流側を保温構造とする。これにより、第1排気ガス処理部材3と第2排気ガス処理部材4との温度差を大きくする。
次に、第2の実施の形態について説明する。図2に示すような第2の実施の形態の排気ガス浄化装置1Aでは、第2排気ガス浄化部材として選択還元型NOx触媒(SCR触媒)4Aを用いる。この選択還元型NOx触媒4Aは、コージェライトや酸化アルミニウムや酸化チタン等で形成されるハニカム構造等の担持体に、チタニア−バナジウム、β型ゼオライト、酸化クロム、酸化マンガン、酸化モリブデン、酸化チタン、酸化タングステン等を担持して形成される。この構成により、アンモニアを吸着し、このアンモニアでNOxを還元浄化する。この選択還元型NOx触媒4AもHC吸着材4と同様にHC吸着機能を持っている。なお、この選択還元型NOx触媒4AでNOxを浄化する場合には尿素などのアンモニアになる物質を上流側に供給する装置が設けられる。
また、この選択還元型NOx触媒4Aに下流に触媒付きDPF9を設ける。この触媒付きDPF9は、多孔質のセラミックのハニカムのチャンネルの入口と出口を交互に目封じしたモノリスハニカム型ウォールフロータイプのフィルタ等で形成される。このフィルタの部分に白金や酸化セリウム等の触媒を担持する。この触媒付きDPF9により、排気ガス中のPM(粒子状微粒子)は、多孔質のセラミックの壁で捕集される。
この第2の実施の形態の排気ガス浄化装置1Aも第1の実施の形態の排気ガス浄化装置1と同様なU字形状に構成され、同様な効果を奏することが出来る。
次に、第3の実施の形態について説明する。図4に示すように、この第3の実施の形態の排気ガス浄化装置1Bでは、第1排気ガス処理部材3と第2排気ガス処理部材4を並列に配置すると共に、その間に屈曲した接続通路11を設けて、第1排気ガス処理部材3と接続通路11と第2排気ガス処理部材4との全体形状をS字形状に構成する。それと共に、接続通路11の一部又は全部を放熱部5として形成して構成する。
この第3の実施の形態の排気ガス浄化装置1Bによれば、第1及び第2の実施の形態の排気ガス浄化装置1、1Aに比較して、S字形状の折り曲げ部分に広い面積の放熱部5を設けることができるようになる。また、排気ガスの流れを、十分に拡散することができる。
次に、第4の実施の形態について説明する。図5に示すように、この第4の実施の形態の排気ガス浄化装置1Cでは、第1排気ガス処理部材3と第2排気ガス処理部材4をT字形状又はL字形状に配置すると共に、その間に屈曲した接続通路12を設けて、第1排気ガス処理部材3と接続通路12と第2排気ガス処理部材4との全体形状をT字形状又はL字形状に構成する。それと共に、接続通路12の一部又は全部を放熱部5として形成して構成する。
この第4の実施の形態の排気ガス浄化装置1Cによれば、T字形状又はL字形状の折り曲げ部分に比較的広い面積の放熱部5を設けることができるようになるので、排気ガス浄化装置1Cを小型化でき、かつ、配管に取り付ける工数も少なくて済むようになる。この第4の実施の形態の排気ガス浄化装置1Cでは、放熱部5の面積に関して、第1及び第2の実施の形態の排気ガス浄化装置1,1Aと第3の実施の形態の排気ガス浄化装置1Bとの間の面積とすることができる。
次に、第1の実施の形態における実験結果を図6〜図8に示す。この第1の実施の形態では、酸化触媒2がHC酸化機能を有しており、NOx吸蔵還元型触媒3よりも上流側にあるため、酸化触媒2とHC吸着材4との関係でHC流出量が決まってきている。図6に示すように、加速時において、酸化触媒2とHC吸着材4に温度差が生じ、HC吸着材4が昇温して250℃でHCを放出する時点では、酸化触媒2は230℃以上になって十分にHCライトオフ活性が見込めるようになるので、HCの流出が悪化する温度範囲を無くすことができる。その結果、図7に示すように、第1の実施の形態の排気ガス浄化装置1を使用した実施例Aは、HC吸着材を使用しない従来例Bに比べて、HC流出濃度が著しく減少する。また、同じ結果を図8に示すようにHC浄化率で示すと、実施例Aでは、加速の前半ではHC吸着機能による浄化が行われ、後半では酸化触媒によるHCライトオフ活性きのうによる浄化が行われていることが分かる。一方、従来例Bでは、前半のHC吸着機能による浄化が行われ低無いので、HC浄化率は小さくなっている。
従って、上記の構成の排気ガス浄化装置1、1A、1B、1Cによれば、加速時のエンジンの運転状態においても、上流側の三元触媒又はNOx吸蔵還元型触媒等の第1排気ガス処理部材3のHCライトオフ温度上昇までの間、下流側のHC吸着機能を有する第2排気ガス処理部材4、4Aに流入する排気ガスを効率よく冷却できて、この第2排気ガス処理部材4、4AでHCを吸着処理できる。また、断熱構造が同時に容器を形成し、外部も低温化するので、コスト、安全性も同時に達成できる。
その結果、従来技術では、特に加速時において、三元触媒の場合の燃料を抑えて過度のリッチ雰囲気になることを抑制する制御や、NOx吸蔵還元型触媒の場合の触媒温度が上昇してHC浄化率が向上するまでの間リッチ還元を停止する等のNOx浄化率を犠牲にしてHCの大気中への流出防止を図るような制御を行なう必要がなくなる。そのため、加速初期からNOx吸蔵能力を回復するためのNOx再生制御におけるNOx還元を十分に行うことができるようになり、NOx浄化率を改善することができる。
本発明に係る第1の実施の形態の排気ガス浄化装置の構成を示す側断面図である。 放熱部5の構成を示す部分側断面図である。 本発明に係る第2の実施の形態の排気ガス浄化装置の構成を示す側断面図である。 本発明に係る第3の実施の形態の排気ガス浄化装置における第1排気ガス処理部材と第2排気ガス処理部材の配置を示す模式的な図である。 本発明に係る第4の実施の形態の排気ガス浄化装置における第1排気ガス処理部材と第2排気ガス処理部材の配置を示す模式的な図である。 実施例の加速時における酸化触媒とHC吸着材との温度の時間的な変化を示す図である。 実施例と従来例のHC流出濃度を示す図である。 実施例と従来例のHC浄化率を示す図である。
符号の説明
1、1A、1B、1C 排気ガス浄化装置
2 酸化触媒(DOC)
3 NOx吸蔵還元型触媒(LNT)(第1排気ガス処理部材)
4 HC吸着材(第2排気ガス処理部材)
4A 選択還元型NOx触媒(第2排気ガス処理部材)
5 放熱部
5a 放熱面
5b 断熱層
5c 支持部材
5d バッフルブレート
6 第1ケース
6a 保温材(保温構造)
7 第2ケース
8 パッキン(断熱構造)
9 触媒付きDPF
10、11、12 接続通路

Claims (4)

  1. 内燃機関の排気ガスを浄化する酸化触媒又は三元触媒又はNOx吸蔵還元型触媒を担持した第1排気ガス処理部材を備える共に、該第1排気ガス処理部材の下流側にHC吸蔵機能を有する第2排気ガス処理部材を配置した排気ガス浄化装置において、前記第2排気ガス処理部材に流入する排気ガスの温度を冷却させる放熱部を前記第1排気ガス処理部材と前記第2排気ガス処理部材との間に設けると共に、前記放熱部より上流側を断熱構造に形成し、更にその上流側を保温構造に形成したことを特徴とする排気ガス浄化装置。
  2. 前記放熱部を底部にして前記第1排気ガス処理部材と前記第2排気ガス処理部材を前記放熱部の両側に並列に配置して、前記第1排気ガス処理部材と前記放熱部と前記第2排気ガス処理部材との全体形状をU字形状に配置したことを特徴とする請求項1記載の排気ガス浄化装置。
  3. 前記第1排気ガス処理部材と前記第2排気ガス処理部材を並列に配置すると共に、その間に屈曲した接続通路を設けて、前記第1排気ガス処理部材と前記接続通路と前記第2排気ガス処理部材との全体形状をS字形状に構成すると共に、前記接続通路の一部又は全部を前記放熱部として形成したことを特徴とする請求項1記載の排気ガス浄化装置。
  4. 前記第1排気ガス処理部材と前記第2排気ガス処理部材をT字形状又はL字形状に配置すると共に、その間に屈曲した接続通路を設けて、前記第1排気ガス処理部材と前記接続通路と前記第2排気ガス処理部材との全体形状をT字形状又はL字形状に構成すると共に、前記接続通路の一部又は全部を前記放熱部として形成したことを特徴とする請求項1記載の排気ガス浄化装置。
JP2008166324A 2008-06-25 2008-06-25 排気ガス浄化装置 Expired - Fee Related JP5256881B2 (ja)

Priority Applications (6)

Application Number Priority Date Filing Date Title
JP2008166324A JP5256881B2 (ja) 2008-06-25 2008-06-25 排気ガス浄化装置
AU2009263542A AU2009263542B2 (en) 2008-06-25 2009-06-05 Exhaust gas purification apparatus
US12/736,982 US8561396B2 (en) 2008-06-25 2009-06-05 Exhaust gas purification apparatus
PCT/JP2009/060344 WO2009157292A1 (ja) 2008-06-25 2009-06-05 排気ガス浄化装置
EP09770002.5A EP2305980B1 (en) 2008-06-25 2009-06-05 Exhaust gas purification apparatus
CN2009801239695A CN102076935B (zh) 2008-06-25 2009-06-05 排放气体净化装置

Applications Claiming Priority (1)

Application Number Priority Date Filing Date Title
JP2008166324A JP5256881B2 (ja) 2008-06-25 2008-06-25 排気ガス浄化装置

Publications (2)

Publication Number Publication Date
JP2010007524A true JP2010007524A (ja) 2010-01-14
JP5256881B2 JP5256881B2 (ja) 2013-08-07

Family

ID=41444361

Family Applications (1)

Application Number Title Priority Date Filing Date
JP2008166324A Expired - Fee Related JP5256881B2 (ja) 2008-06-25 2008-06-25 排気ガス浄化装置

Country Status (6)

Country Link
US (1) US8561396B2 (ja)
EP (1) EP2305980B1 (ja)
JP (1) JP5256881B2 (ja)
CN (1) CN102076935B (ja)
AU (1) AU2009263542B2 (ja)
WO (1) WO2009157292A1 (ja)

Cited By (5)

* Cited by examiner, † Cited by third party
Publication number Priority date Publication date Assignee Title
KR101498181B1 (ko) * 2014-11-25 2015-03-04 세종공업 주식회사 이중 분사형 우레아 믹싱장치
EP2676016B1 (fr) 2011-02-18 2015-10-14 Peugeot Citroën Automobiles SA Ensemble de post-traitement des gaz d'echappement d'un moteur a combustion suralimente, et vehicule automobile comportant un tel ensemble
WO2015198823A1 (ja) * 2014-06-23 2015-12-30 いすゞ自動車株式会社 内燃機関の排気ガス浄化システム及び内燃機関の排気ガス浄化方法
JP2018062932A (ja) * 2016-10-11 2018-04-19 現代自動車株式会社Hyundai Motor Company 車両の触媒コンバータの断熱構造
EP3181850B1 (de) 2011-08-25 2019-10-09 Volkswagen Aktiengesellschaft Abgasbehandlungseinrichtung, verfahren zur aufbereitung von abgas und kraftfahrzeug

Families Citing this family (16)

* Cited by examiner, † Cited by third party
Publication number Priority date Publication date Assignee Title
ES2569923T3 (es) 2010-01-25 2016-05-13 Peugeot Citroën Automobiles SA Dispositivo de postratamiento de los gases de escape de un motor de combustión interna
US8959900B2 (en) * 2012-03-26 2015-02-24 GM Global Technology Operations LLC Exhaust aftertreatment system for internal combustion engine
US20140170030A1 (en) * 2012-12-14 2014-06-19 International Engine Intellectual Property Company, Llc Aftertreatment System Using LNT and SCR
CN104033220A (zh) * 2014-05-27 2014-09-10 东莞市石碣宇商电子厂 一种汽车尾气的改善方法
JP6179505B2 (ja) * 2014-12-24 2017-08-16 トヨタ自動車株式会社 内燃機関の排気浄化システム
CN104763502B (zh) * 2015-03-08 2017-05-31 北京工业大学 一种车用吸附器进气温度控制系统
EP3085916B1 (fr) * 2015-04-22 2018-12-26 Faurecia Systèmes d'Echappement Dispositif de purification des gaz d'échappement et ligne d'échappement comprenant un tel dispositif
EP3085915B1 (fr) * 2015-04-22 2018-06-06 Faurecia Systèmes d'Echappement Ensemble de purification des gaz d'échappement, ligne d'échappement comprenant un tel ensemble
DE102017102327B4 (de) 2017-02-07 2024-01-11 Volkswagen Aktiengesellschaft Verfahren und Vorrichtung zur Abgasnachbehandlung eines Verbrennungsmotors
CN107762603A (zh) * 2017-10-09 2018-03-06 佛山智北汇科技有限公司 一种新型基于尾气处理技术的汽车排气管
CN108019252A (zh) * 2017-11-23 2018-05-11 郑州源冉生物技术有限公司 环保型发电机烟气除尘降噪音装置
CN108180063B (zh) * 2017-11-24 2019-01-01 浙江大学 面向国六柴油机的折叠式后处理空间布置装置
CN111836951B (zh) * 2018-04-05 2022-05-17 沃尔沃卡车集团 用于燃烧发动机的排气后处理系统
CN111485145B (zh) * 2020-05-29 2021-12-28 苏州撼力合金股份有限公司 一种力学性能优异的铝合金
CN114534462A (zh) * 2022-03-18 2022-05-27 南京工程学院 一种3d打印机废气处理装置
CN116422134B (zh) * 2023-05-29 2025-11-25 永兴阳光贵金属有限公司 一种贵金属尾气回收净化设备

Citations (7)

* Cited by examiner, † Cited by third party
Publication number Priority date Publication date Assignee Title
JPS4833113A (ja) * 1971-08-26 1973-05-08
JPH0178218U (ja) * 1987-11-16 1989-05-25
JPH11210446A (ja) * 1998-01-23 1999-08-03 Nissan Motor Co Ltd 内燃機関の排気浄化装置
JPH11350950A (ja) * 1998-06-05 1999-12-21 Yamaha Motor Co Ltd 内燃機関用排気装置
JP2000008841A (ja) * 1998-06-24 2000-01-11 Sango Co Ltd 排気ガス浄化装置
JP2006348767A (ja) * 2005-06-13 2006-12-28 Mitsubishi Motors Corp 内燃機関の排気浄化装置
JP2007040149A (ja) * 2005-08-02 2007-02-15 Mitsubishi Fuso Truck & Bus Corp 内燃機関の排気浄化装置

Family Cites Families (15)

* Cited by examiner, † Cited by third party
Publication number Priority date Publication date Assignee Title
US4425304A (en) * 1981-01-20 1984-01-10 Toyo Kogyo Co., Ltd. Catalytic converter
DE8812762U1 (de) * 1988-10-11 1989-06-29 Emitec Gesellschaft für Emissionstechnologie mbH, 5204 Lohmar Katalysator mit Doppelmantelsystem
DE4430645A1 (de) * 1994-08-29 1996-03-07 Emitec Emissionstechnologie Katalytischer Reaktor
JPH0985078A (ja) 1995-09-21 1997-03-31 Mazda Motor Corp エンジンの排気ガス浄化装置
US6203764B1 (en) * 1999-01-15 2001-03-20 Midwest Research Institute Vacuum-insulated catalytic converter
SE524648C2 (sv) 2001-09-14 2004-09-14 Scania Cv Ab Behållaranordning, innefattande partikelfilter och katalysatorrenare, inrättad att anordnas i ett avgassystem för en förbränningsmotor
JP2004162626A (ja) * 2002-11-14 2004-06-10 Hitachi Ltd 排ガス浄化装置
JP2006515401A (ja) * 2003-01-14 2006-05-25 エミテック ゲゼルシヤフト フユア エミツシオンス テクノロギー ミツト ベシユレンクテル ハフツング 入れ子式に位置する往流領域及び還流領域を備え同じ側で排ガスの流出入を行う省スペース形排ガス後処理装置
JP2005155404A (ja) * 2003-11-25 2005-06-16 Komatsu Ltd 内燃機関の排気ガス浄化装置
US7765801B2 (en) * 2005-11-30 2010-08-03 Benteler Automotive Corporation Exhaust gas treatment device with insulated housing construction
KR101266897B1 (ko) 2006-03-03 2013-05-23 주식회사 동진쎄미켐 레지스트 박리폐액 재생방법 및 재생장치
GB2447959A (en) * 2007-03-30 2008-10-01 3M Innovative Properties Co Fiber mat containing an organosilicon compound and pollution control device using it
DE202007010435U1 (de) * 2007-07-26 2007-10-25 Heinrich Gillet Gmbh Abgasanlage für Nutzfahrzeuge
US7921640B2 (en) * 2007-12-14 2011-04-12 Gm Global Technology Operations, Llc Exhaust gas waste heat recovery
EP2419613B1 (en) * 2009-04-17 2016-08-17 Unifrax I LLC Exhaust gas treatment device

Patent Citations (7)

* Cited by examiner, † Cited by third party
Publication number Priority date Publication date Assignee Title
JPS4833113A (ja) * 1971-08-26 1973-05-08
JPH0178218U (ja) * 1987-11-16 1989-05-25
JPH11210446A (ja) * 1998-01-23 1999-08-03 Nissan Motor Co Ltd 内燃機関の排気浄化装置
JPH11350950A (ja) * 1998-06-05 1999-12-21 Yamaha Motor Co Ltd 内燃機関用排気装置
JP2000008841A (ja) * 1998-06-24 2000-01-11 Sango Co Ltd 排気ガス浄化装置
JP2006348767A (ja) * 2005-06-13 2006-12-28 Mitsubishi Motors Corp 内燃機関の排気浄化装置
JP2007040149A (ja) * 2005-08-02 2007-02-15 Mitsubishi Fuso Truck & Bus Corp 内燃機関の排気浄化装置

Cited By (7)

* Cited by examiner, † Cited by third party
Publication number Priority date Publication date Assignee Title
EP2676016B1 (fr) 2011-02-18 2015-10-14 Peugeot Citroën Automobiles SA Ensemble de post-traitement des gaz d'echappement d'un moteur a combustion suralimente, et vehicule automobile comportant un tel ensemble
EP3181850B1 (de) 2011-08-25 2019-10-09 Volkswagen Aktiengesellschaft Abgasbehandlungseinrichtung, verfahren zur aufbereitung von abgas und kraftfahrzeug
WO2015198823A1 (ja) * 2014-06-23 2015-12-30 いすゞ自動車株式会社 内燃機関の排気ガス浄化システム及び内燃機関の排気ガス浄化方法
JP2016008518A (ja) * 2014-06-23 2016-01-18 いすゞ自動車株式会社 内燃機関の排気ガス浄化システム及び内燃機関の排気ガス浄化方法
US10415448B2 (en) 2014-06-23 2019-09-17 Isuzu Motors Limited Exhaust gas cleaning system for internal combustion engine and exhaust gas cleaning method for internal combustion engine
KR101498181B1 (ko) * 2014-11-25 2015-03-04 세종공업 주식회사 이중 분사형 우레아 믹싱장치
JP2018062932A (ja) * 2016-10-11 2018-04-19 現代自動車株式会社Hyundai Motor Company 車両の触媒コンバータの断熱構造

Also Published As

Publication number Publication date
AU2009263542A1 (en) 2009-12-30
AU2009263542B2 (en) 2012-01-19
EP2305980A4 (en) 2013-05-15
WO2009157292A1 (ja) 2009-12-30
CN102076935B (zh) 2013-06-26
US8561396B2 (en) 2013-10-22
EP2305980B1 (en) 2014-10-08
CN102076935A (zh) 2011-05-25
EP2305980A1 (en) 2011-04-06
US20110072806A1 (en) 2011-03-31
JP5256881B2 (ja) 2013-08-07

Similar Documents

Publication Publication Date Title
JP5256881B2 (ja) 排気ガス浄化装置
EP2284372B1 (en) Exhaust gas purification method and exhaust gas purificaton system
KR20110041502A (ko) 린번 내연 엔진용 배기 시스템
JPWO2010140262A1 (ja) 内燃機関の排気浄化装置
JP2003307127A (ja) 内燃機関の排気浄化装置及び内燃機関の排気浄化方法
JP2006090185A (ja) 排気ガス浄化装置
JP5233499B2 (ja) 排気ガス浄化システム及び排気ガス浄化方法
JP2009019537A (ja) 排気ガス浄化装置
CN103415679B (zh) 多功能废气净化过滤器和使用其的废气净化装置
JP4390000B2 (ja) NOx吸着装置
JP2008175136A (ja) 排気ガス浄化装置
JP2015206274A (ja) 内燃機関の排気ガス浄化システム及び内燃機関の排気ガス浄化方法
JP2008115775A (ja) 内燃機関の排気浄化システム
JP5094199B2 (ja) 排ガス浄化装置
JP2016094894A (ja) 内燃機関の排気ガス浄化システム及び内燃機関の排気ガス浄化方法
JP2010048112A (ja) 排気ガス浄化システム及び排気ガス浄化方法
JP2009138667A (ja) 排ガス浄化用触媒装置
JP2018003811A (ja) 酸化触媒、及び、排気ガス浄化システム
JP6252375B2 (ja) 内燃機関の排気ガス浄化システム及び内燃機関の排気ガス浄化方法
JP3402132B2 (ja) エンジンの排気浄化装置
JP2008019820A (ja) 排気ガス浄化システム及び排気ガス浄化方法
JP2001241318A (ja) NOx吸着材再生装置及び再生方法
JP2009268978A (ja) Hc吸着触媒
JP2011069231A (ja) 排気ガス浄化装置
JP2004143940A (ja) 排ガス浄化装置及び排ガス浄化方法

Legal Events

Date Code Title Description
A621 Written request for application examination

Free format text: JAPANESE INTERMEDIATE CODE: A621

Effective date: 20110510

RD02 Notification of acceptance of power of attorney

Free format text: JAPANESE INTERMEDIATE CODE: A7422

Effective date: 20120813

A131 Notification of reasons for refusal

Free format text: JAPANESE INTERMEDIATE CODE: A131

Effective date: 20121016

A521 Written amendment

Free format text: JAPANESE INTERMEDIATE CODE: A523

Effective date: 20121211

A131 Notification of reasons for refusal

Free format text: JAPANESE INTERMEDIATE CODE: A131

Effective date: 20130108

A521 Written amendment

Free format text: JAPANESE INTERMEDIATE CODE: A523

Effective date: 20130307

TRDD Decision of grant or rejection written
A01 Written decision to grant a patent or to grant a registration (utility model)

Free format text: JAPANESE INTERMEDIATE CODE: A01

Effective date: 20130326

A61 First payment of annual fees (during grant procedure)

Free format text: JAPANESE INTERMEDIATE CODE: A61

Effective date: 20130408

FPAY Renewal fee payment (event date is renewal date of database)

Free format text: PAYMENT UNTIL: 20160502

Year of fee payment: 3

R150 Certificate of patent or registration of utility model

Free format text: JAPANESE INTERMEDIATE CODE: R150

LAPS Cancellation because of no payment of annual fees