JP2010006506A - 部品供給装置 - Google Patents

部品供給装置 Download PDF

Info

Publication number
JP2010006506A
JP2010006506A JP2008165869A JP2008165869A JP2010006506A JP 2010006506 A JP2010006506 A JP 2010006506A JP 2008165869 A JP2008165869 A JP 2008165869A JP 2008165869 A JP2008165869 A JP 2008165869A JP 2010006506 A JP2010006506 A JP 2010006506A
Authority
JP
Japan
Prior art keywords
component
air
air outlet
path
component supply
Prior art date
Legal status (The legal status is an assumption and is not a legal conclusion. Google has not performed a legal analysis and makes no representation as to the accuracy of the status listed.)
Granted
Application number
JP2008165869A
Other languages
English (en)
Other versions
JP5354152B2 (ja
Inventor
Kenji Enami
健次 江波
Takeshi Kajimoto
武志 梶本
Current Assignee (The listed assignees may be inaccurate. Google has not performed a legal analysis and makes no representation or warranty as to the accuracy of the list.)
NTN Corp
Original Assignee
NTN Corp
NTN Toyo Bearing Co Ltd
Priority date (The priority date is an assumption and is not a legal conclusion. Google has not performed a legal analysis and makes no representation as to the accuracy of the date listed.)
Filing date
Publication date
Application filed by NTN Corp, NTN Toyo Bearing Co Ltd filed Critical NTN Corp
Priority to JP2008165869A priority Critical patent/JP5354152B2/ja
Publication of JP2010006506A publication Critical patent/JP2010006506A/ja
Application granted granted Critical
Publication of JP5354152B2 publication Critical patent/JP5354152B2/ja
Expired - Fee Related legal-status Critical Current
Anticipated expiration legal-status Critical

Links

Images

Landscapes

  • Feeding Of Articles To Conveyors (AREA)

Abstract

【課題】供給対象とする部品の大きさが変わっても安定した達成率および供給能力が得られる部品供給装置を提供する。
【解決手段】トラック(螺旋状搬送路)6の途中に設けられた部品判別部の部品判別ブロック11に、上下方向に延びるスリット形状のエア吹出口12aを有するエア吹出部材12を取り付け、この縦長のエア吹出口12aからエアがほぼ均等に吹き出すようにすることにより、供給対象とする部品の大きさに合わせてエア吹出口の上下方向位置を変えるための部品判別ブロックの交換を不要とし、対象部品変更時の姿勢判別精度の低下を防止して、常時安定した達成率および供給能力が得られるようにした。
【選択図】図2

Description

本発明は、搬送路の途中で部品を所定の姿勢に揃えて次工程に供給する部品供給装置に関する。
表裏や長手方向等で方向性のあるチップ電子部品等の小型の部品を搬送しながら整列させて次工程に供給する部品供給装置では、一般に、部品搬送部材の搬送路の途中に設けた部品判別部で、搬送中の部品の姿勢を光電センサや画像処理機器を用いて判別し、その判別結果に基づいて部品の姿勢を変えたり部品を選別したりして、部品の姿勢を揃えるようにしている。また、その部品の姿勢変換や選別の手段としては、所定姿勢でない部品に搬送路の側壁に設けた小さな円形のエア吹出口からエアを吹き付けて、その部品を反転または排除するようにしたものが多い(例えば、特許文献1参照。)。
特開2000−159334号公報
そして、上記のように部品にエアを吹き付けて部品の姿勢変換や選別を行う部品供給装置を、大きさの異なる複数種類の部品の整列供給に兼用する場合には、供給対象となる部品の大きさに合わせてエア吹出口の上下方向位置を変える必要があるため、通常、エア吹出口の上下方向位置のみが異なる複数の部品判別ブロックを交換しながら使用している。
ところが、部品判別ブロックを交換した際には、交換後の部品判別ブロックの搬送路が光電センサ等による姿勢判別の位置から僅かにずれ、姿勢判別精度が低下しやすいという問題がある。姿勢判別精度が低下すると、所定の姿勢でない部品が次工程に多く供給されたり、選別時に所定の姿勢の部品が排除されたりするケースが増え、達成率(正常供給された部品の個数の全供給個数に対する割合)および供給能力の低下をまねく。
本発明の課題は、供給対象とする部品の大きさが変わっても安定した達成率および供給能力が得られる部品供給装置を提供することである。
上記の課題を解決するため、本発明は、部品搬送部材の搬送路の途中に設けた部品判別部で部品の姿勢を判別し、所定姿勢でない部品に搬送路の側壁に設けたエア吹出口からエアを吹き付けて、その部品を反転または排除するようにした部品供給装置において、前記エア吹出口を上下方向に延びるスリット形状に形成した構成を採用した。
すなわち、部品判別部のエア吹出口を上下方向に延びるスリット形状に形成することにより、供給対象とする部品の大きさに合わせてエア吹出口の上下方向位置を変えるための部品判別ブロックの交換を不要とし、対象部品変更時の姿勢判別精度の低下を防止できるようにしたのである。
上記の構成において、前記スリット形状のエア吹出口を、このエア吹出口よりも広く形成した流路調整空間を介してエア供給路に連通させ、前記流路調整空間にエア吹出口を覆うように流路調整板を設けて、前記エア供給路から流路調整空間に供給されたエアが前記流路調整板を迂回してエア吹出口に到達するようにすれば、エア吹出口からエアがほぼ均等に吹き出し、種々の大きさの部品をより確実に反転または排除することができる。
また、前記搬送路の一部を形成し、前記スリット形状のエア吹出口を有するエア吹出部材を、前記部品搬送部材と別体に形成すれば、エア供給路の出口がエア吹出口となっている従来の装置からの改造を容易に行うことができる。
そして、部品供給装置が、前記搬送路が螺旋状に形成されたボウルフィーダを備えている場合は、その螺旋状搬送路に前記部品判別部を設けることができ、前記搬送路が直線状に形成された直進フィーダを備えている場合は、その直線状搬送路に前記部品判別部を設けることができる。また、前記搬送路がベルトコンベヤで形成されている場合は、そのベルトコンベヤ上に前記部品判別部を設けることができる。
本発明は、大きさの異なる複数種類の部品の供給に兼用される部品供給装置に対して、特に有効に適用できる。
本発明の部品供給装置は、上述したように、部品判別部のエア吹出口を上下方向に延びるスリット形状に形成したものであるから、供給対象とする部品の大きさが変わっても、エア吹出口の上下方向位置を変えるために部品判別ブロックを交換する必要がない。従って、対象部品変更時の姿勢判別精度の低下を防止でき、常時安定した達成率および供給能力が得られる。
以下、図面に基づき、本発明の実施形態を説明する。この部品供給装置は、図1に示すように、振動式のボウルフィーダ1に振動式の直進フィーダ2を接続したもので、直方体形状で表裏の方向性のあるチップ電子部品(以下、単に「部品」と記す。)を整列供給の対象とし、大きさの異なる複数種類の部品の供給に兼用される。そのボウルフィーダ1および直進フィーダ2は、それぞれ基台3上に設けた振動体(図示省略)に部品搬送部材としてのボウル4およびシュート5が連結されており、ボウル4の底部に投入された部品をボウル4およびシュート5の振動により搬送しながら、後述するように表面が上向きの姿勢に揃えて次工程に供給するようになっている。
前記ボウルフィーダ1は、ボウル4の内側にその底部から螺旋状に上昇する搬送路としてのトラック6が形成されており、このトラック6の最上部の排出端が、前記直進フィーダ2のシュート5の供給端に接続されている。また、ボウル4のトラック6の途中には、上流側から順に、部品を単列単層でかつ長手方向が搬送方向に向くように整列させて搬送する整列搬送部7、部品の姿勢を判別して裏面が上向きの部品にエアを吹き付けてその部品を反転する第1の部品判別部8、および部品の姿勢を判別して裏面が上向きの部品をトラック6から排除する第2の部品判別部9が設けられている。
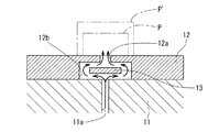
前記第1の部品判別部8は、部品の姿勢を判別するための光電センサ10と、トラック6の一部を形成する部品判別ブロック11とからなる。部品判別ブロック11には、このブロック11と別体に形成されたエア吹出部材12が取り付けられている。
図2および図3に示すように、前記エア吹出部材12は、矩形板状で、断面W字状のトラック6の外側の側壁の一部を形成しており、その表面(側壁の内側面)に上下方向に延びるスリット形状のエア吹出口12aを有している。エア吹出口12aは、エア吹出部材12の裏面側に形成された流路調整空間12bを介して部品判別ブロック11のエア供給路11aに連通している。また、流路調整空間12bはエア吹出口12aよりも広く形成され、その内部にエア吹出口12aを覆うように流路調整板13が設けられている。これにより、エア供給路11aから流路調整空間12bに供給されたエアが、流路調整板13に当たって拡散した後、流路調整板13を迂回してエア吹出口12aに到達し、エア吹出口12aからほぼ均等に吹き出すようになっている。
ここで、エア吹出口12aは、部品の種類によらず、すなわちこの装置が供給対象とする幅寸法最小の部品Pから幅寸法最大の部品P’までのすべての種類の部品について、表面または裏面をトラック6の外側の側壁に沿わせて搬送されてくる部品に確実にエアを吹き付けられる長さに形成されている。従って、この装置では、供給対象とする部品の大きさが変わっても、従来のようにエア吹出口の位置を変えるために部品判別ブロックを交換する必要がない。
そして、光電センサ10による姿勢判別の結果、部品P(P’)がその裏面を上向きにした姿勢となっている場合にのみ、エアがエア供給路11aから流路調整空間12bに供給されてエア吹出口12aから吹き出し、その部品P(P’)を反転して表面が上向きの姿勢に変えるようになっている。
この部品供給装置は、上記の構成であり、供給対象とする部品の大きさが変わっても、従来のように部品判別ブロックの交換によって姿勢判別精度が低下するおそれがなく、安定した達成率および供給能力が得られる。
また、従来の装置に比べると、対象部品変更の際に部品判別ブロックを交換する手間が省けるし、部品判別ブロックの保有数を減らせる分だけコストを削減できる。さらに、エア吹出部材がボウルの部品判別ブロックと別体に形成されているので、エア供給路の出口がエア吹出口となっている従来の装置からの改造も容易である。
なお、上述した実施形態では第1の部品判別部に本発明を適用したが、第2の部品判別部にも本発明を適用できる。その場合の第2の部品判別部の部品判別ブロックは、例えば、図2に示した第1の部品判別部8の部品判別ブロック11の内側の側壁をなくして、裏面が上向きの部品P(P’)をトラック6から排除する形態とすることができる。また、第1および第2の部品判別部は、直進フィーダのシュートの直線状搬送路に設けるようにしてもよい。
さらに、本発明は、搬送路がベルトコンベヤで形成された部品供給装置にも適用でき、その場合はスリット形状のエア吹出口を有する部品判別部をベルトコンベヤ上に設ければよい。
実施形態の部品供給装置の平面図 図1のII−II線に沿った断面図 図2のIII−III線に沿った断面図
符号の説明
1 ボウルフィーダ
2 直進フィーダ
3 基台
4 ボウル
5 シュート
6 トラック
7 整列搬送部
8、9 部品判別部
10 光電センサ
11 部品判別ブロック
11a エア供給路
12 エア吹出部材
12a エア吹出口
12b 流路調整空間
13 流路調整板
P、P’ 部品

Claims (7)

  1. 部品搬送部材の搬送路の途中に設けた部品判別部で部品の姿勢を判別し、所定姿勢でない部品に搬送路の側壁に設けたエア吹出口からエアを吹き付けて、その部品を反転または排除するようにした部品供給装置において、前記エア吹出口を上下方向に延びるスリット形状に形成したことを特徴とする部品供給装置。
  2. 前記スリット形状のエア吹出口を、このエア吹出口よりも広く形成した流路調整空間を介してエア供給路に連通させ、前記流路調整空間にエア吹出口を覆うように流路調整板を設けて、前記エア供給路から流路調整空間に供給されたエアが前記流路調整板を迂回してエア吹出口に到達するようにしたことを特徴とする請求項1に記載の部品供給装置。
  3. 前記搬送路の一部を形成し、前記スリット形状のエア吹出口を有するエア吹出部材を、前記部品搬送部材と別体に形成したことを特徴とする請求項1または2に記載の部品供給装置。
  4. 前記搬送路が螺旋状に形成されたボウルフィーダを備えており、その螺旋状搬送路に前記部品判別部を設けたことを特徴とする請求項1乃至3のいずれかに記載の部品供給装置。
  5. 前記搬送路が直線状に形成された直進フィーダを備えており、その直線状搬送路に前記部品判別部を設けたことを特徴とする請求項1乃至3のいずれかに記載の部品供給装置。
  6. 前記搬送路がベルトコンベヤで形成されており、そのベルトコンベヤ上に前記部品判別部を設けたことを特徴とする請求項1乃至3のいずれかに記載の部品供給装置。
  7. 大きさの異なる複数種類の部品の供給に兼用されることを特徴とする請求項1乃至6のいずれかに記載の部品供給装置。
JP2008165869A 2008-06-25 2008-06-25 部品供給装置 Expired - Fee Related JP5354152B2 (ja)

Priority Applications (1)

Application Number Priority Date Filing Date Title
JP2008165869A JP5354152B2 (ja) 2008-06-25 2008-06-25 部品供給装置

Applications Claiming Priority (1)

Application Number Priority Date Filing Date Title
JP2008165869A JP5354152B2 (ja) 2008-06-25 2008-06-25 部品供給装置

Publications (2)

Publication Number Publication Date
JP2010006506A true JP2010006506A (ja) 2010-01-14
JP5354152B2 JP5354152B2 (ja) 2013-11-27

Family

ID=41587460

Family Applications (1)

Application Number Title Priority Date Filing Date
JP2008165869A Expired - Fee Related JP5354152B2 (ja) 2008-06-25 2008-06-25 部品供給装置

Country Status (1)

Country Link
JP (1) JP5354152B2 (ja)

Citations (5)

* Cited by examiner, † Cited by third party
Publication number Priority date Publication date Assignee Title
JPH0761566A (ja) * 1993-08-27 1995-03-07 Ntn Corp パーツフィーダ
JPH1176952A (ja) * 1997-09-08 1999-03-23 Niigata Eng Co Ltd 分別装置
JP2000198530A (ja) * 1999-01-08 2000-07-18 Shinko Electric Co Ltd 部品の整送装置と排除機構
JP2001002230A (ja) * 1999-06-21 2001-01-09 Shinko Electric Co Ltd 微小部品の姿勢選別装置
JP2001335142A (ja) * 2000-05-23 2001-12-04 Shinko Electric Co Ltd 部品整送方法及びその装置

Patent Citations (5)

* Cited by examiner, † Cited by third party
Publication number Priority date Publication date Assignee Title
JPH0761566A (ja) * 1993-08-27 1995-03-07 Ntn Corp パーツフィーダ
JPH1176952A (ja) * 1997-09-08 1999-03-23 Niigata Eng Co Ltd 分別装置
JP2000198530A (ja) * 1999-01-08 2000-07-18 Shinko Electric Co Ltd 部品の整送装置と排除機構
JP2001002230A (ja) * 1999-06-21 2001-01-09 Shinko Electric Co Ltd 微小部品の姿勢選別装置
JP2001335142A (ja) * 2000-05-23 2001-12-04 Shinko Electric Co Ltd 部品整送方法及びその装置

Also Published As

Publication number Publication date
JP5354152B2 (ja) 2013-11-27

Similar Documents

Publication Publication Date Title
JP5956160B2 (ja) 振動式部品供給装置
JP5354152B2 (ja) 部品供給装置
JP2017119576A (ja) ホッパーおよび物品供給装置
TW201607866A (zh) 振動式零件搬送裝置
CN106865167B (zh) 零件供给器
JP2010214291A (ja) 選別搬送装置
US20080073254A1 (en) High capacity length grading machine
JP5147303B2 (ja) ボルトフィーダ
JP5343507B2 (ja) パーツフィーダの搬送対象物選別装置、及びパーツフィーダ
US10000340B2 (en) Vented bucket
KR101939367B1 (ko) 자세전환장치
JP6278441B2 (ja) 穀物吸引搬送装置
JP2017119574A (ja) ホッパーおよび物品供給装置
JP2007039201A (ja) 部品供給装置
JP2007161360A (ja) 振動式部品供給装置
JP2009249148A (ja) 振動式部品供給装置
JP3982931B2 (ja) 微小部品整列供給装置
JP2018135211A (ja) 粉体供給装置
JP2008156025A (ja) 部品供給装置
JP5625446B2 (ja) ワーク供給装置
JP2007308216A (ja) 振動式部品供給装置
JP5758621B2 (ja) 振動式部品供給装置
JP4999510B2 (ja) 振動式部品供給装置
JP2011050864A (ja) 郵便物自動送り出し装置
JP2003246438A (ja) アキシャルリード型電子部品用搬送装置

Legal Events

Date Code Title Description
A621 Written request for application examination

Free format text: JAPANESE INTERMEDIATE CODE: A621

Effective date: 20110530

A977 Report on retrieval

Free format text: JAPANESE INTERMEDIATE CODE: A971007

Effective date: 20130213

A131 Notification of reasons for refusal

Free format text: JAPANESE INTERMEDIATE CODE: A131

Effective date: 20130219

A521 Request for written amendment filed

Free format text: JAPANESE INTERMEDIATE CODE: A523

Effective date: 20130403

TRDD Decision of grant or rejection written
A01 Written decision to grant a patent or to grant a registration (utility model)

Free format text: JAPANESE INTERMEDIATE CODE: A01

Effective date: 20130730

A61 First payment of annual fees (during grant procedure)

Free format text: JAPANESE INTERMEDIATE CODE: A61

Effective date: 20130813

R150 Certificate of patent or registration of utility model

Ref document number: 5354152

Country of ref document: JP

Free format text: JAPANESE INTERMEDIATE CODE: R150

Free format text: JAPANESE INTERMEDIATE CODE: R150

R250 Receipt of annual fees

Free format text: JAPANESE INTERMEDIATE CODE: R250

R250 Receipt of annual fees

Free format text: JAPANESE INTERMEDIATE CODE: R250

R250 Receipt of annual fees

Free format text: JAPANESE INTERMEDIATE CODE: R250

R250 Receipt of annual fees

Free format text: JAPANESE INTERMEDIATE CODE: R250

R250 Receipt of annual fees

Free format text: JAPANESE INTERMEDIATE CODE: R250

LAPS Cancellation because of no payment of annual fees