JP2010005783A - 電動回転継手 - Google Patents

電動回転継手 Download PDF

Info

Publication number
JP2010005783A
JP2010005783A JP2009112130A JP2009112130A JP2010005783A JP 2010005783 A JP2010005783 A JP 2010005783A JP 2009112130 A JP2009112130 A JP 2009112130A JP 2009112130 A JP2009112130 A JP 2009112130A JP 2010005783 A JP2010005783 A JP 2010005783A
Authority
JP
Japan
Prior art keywords
frame
motor
speed reducer
driver device
circuit board
Prior art date
Legal status (The legal status is an assumption and is not a legal conclusion. Google has not performed a legal analysis and makes no representation as to the accuracy of the status listed.)
Granted
Application number
JP2009112130A
Other languages
English (en)
Other versions
JP5385000B2 (ja
Inventor
Atsushi Harashima
厚志 原島
Shu Kasai
周 笠井
Shigeru Ogiwara
茂 荻原
Masanori Sato
正範 佐藤
Current Assignee (The listed assignees may be inaccurate. Google has not performed a legal analysis and makes no representation or warranty as to the accuracy of the list.)
Mitsuba Corp
Original Assignee
Mitsuba Corp
Priority date (The priority date is an assumption and is not a legal conclusion. Google has not performed a legal analysis and makes no representation as to the accuracy of the date listed.)
Filing date
Publication date
Application filed by Mitsuba Corp filed Critical Mitsuba Corp
Priority to JP2009112130A priority Critical patent/JP5385000B2/ja
Publication of JP2010005783A publication Critical patent/JP2010005783A/ja
Application granted granted Critical
Publication of JP5385000B2 publication Critical patent/JP5385000B2/ja
Expired - Fee Related legal-status Critical Current
Anticipated expiration legal-status Critical

Links

Images

Landscapes

  • Manipulator (AREA)
  • Connection Of Motors, Electrical Generators, Mechanical Devices, And The Like (AREA)
  • Motor Or Generator Cooling System (AREA)

Abstract

【課題】省スペースながら減速機付モータを効率よく冷却できると共に、各減速機付モータの近傍にそれぞれのドライバ装置を配置しつつドライバ装置も効率よく冷却できる電動回転継手を提供する。
【解決手段】電動モータ4は、この回転軸の回転制御を行うためのドライバ装置50を有し、ドライバ装置50の少なくとも一部を第一フレーム2、または第二フレームの何れか一方に内蔵し、継手部15、並びに、第一フレーム2若しくは第二フレームに、電動モータ4を冷却するための冷却通路を設けると共に、この冷却通路の途中に軸流ファン70を設け、ドライバ装置50の少なくとも一部を軸流ファン70の空気吸入側に配置し、かつ電動モータ4を軸流ファン70の空気吐出側に配置した。
【選択図】図2

Description

この発明は、2つのフレームを回動可能に連結する電動回転継手に関するものである。
例えば、多関節型の産業用ロボットや2足歩行型の移動ロボットなどは、一方のフレームと他方のフレームとを回転自在に連結する継手部に減速機付モータを設け、一方のフレームと他方のフレームとが減速機付モータを介して回動自在に連結されている。
ここで、この種のロボットには、内部に減速機付モータの駆動を制御するための制御用CPUやモータ駆動回路(ドライバ装置)が搭載されていることが多い。これら制御用CPUやモータ駆動回路は熱に弱いため、ロボットの外形を形成するフレーム、例えば、胴体部に制御用CPUやモータ駆動回路を集中配置し、胴体部に空気を取り込むための吸気口や胴体部内の熱を放熱するための排気口を設ける場合がある。
また、制御用CPUやモータ駆動回路を集中配置した胴体部において、ロボットを屋外で作業させる場合を考慮し、直接太陽光が当たり易い部分と直接太陽光が当たり難い部分とで胴体部の外表面の色、または表面処理の処理方法を分別する技術が提案されている。これにより、制御用CPUやモータ駆動回路の熱による損傷を効率よく防止しようとしている(例えば、特許文献1参照)。
特開2006−116630号公報
しかしながら、上述の従来技術にあっては、関節部分に搭載されている減速機付モータを効率的に冷却する技術については何ら開示されていない。このため、減速機付モータが高温になり、モータ効率が低下したり、熱によって減速機付モータが損傷したりするおそれがあるという課題がある。
また、減速機付モータは関節部分を構成するので、減速機付モータを省スペースに設置する必要がある。このため、減速機付モータを強制冷却し難いという課題がある。
さらに、胴体部に制御用CPUやモータ駆動回路を集中配置しているため、胴体部が大型化するという課題がある。
そこで、この発明は、上述した事情に鑑みてなされたものであって、省スペースながら減速機付モータを効率よく冷却できると共に、各減速機付モータの近傍にそれぞれのドライバ装置を配置しつつドライバ装置も効率よく冷却できる電動回転継手を提供するものである。
上記の課題を解決するために、請求項1に記載した発明は、一方のフレームと他方のフレームとを連結する継手部に減速機付モータを設け、前記一方のフレームと前記他方のフレームとを前記減速機付モータを介して回動自在に連結した電動回転継手において、前記減速機付モータは、この回転軸の回転制御を行うためのドライバ装置を有し、前記ドライバ装置の少なくとも一部を前記一方のフレーム、または前記他方のフレームの何れか一方に内蔵し、前記継手部、並びに、前記一方のフレーム若しくは前記他方のフレームに、前記減速機付モータを冷却するための冷却通路を設けると共に、この冷却通路の途中に送風ファンを設け、前記ドライバ装置の少なくとも一部を前記送風ファンの空気吸入側に配置し、かつ前記減速機付モータを前記送風ファンの空気吐出側に配置したことを特徴とする。
このように構成することで、フレーム内部の空きスペースを有効活用しつつ1つの送風ファンでドライバ装置と減速機付モータを強制冷却することができる。
しかも、ドライバ装置と比較して発熱し易い減速機付モータを送風ファンの空気吐出側に配置する一方、ドライバ装置を送風ファンの空気吸入側に配置するので、減速機付モータに風速の速い風を吹きつけることができると共に、ドライバ装置に淀みなく新鮮な空気を当てることができる。
請求項2に記載した発明は、前記一方のフレームと前記減速機付モータのケーシングとを一体成形し、前記他方のフレームと前記減速機付モータの減速機とを連係し、前記送風ファン、および前記ドライバ装置の少なくとも一部を前記一方のフレームに内蔵したことを特徴とする。
このように、減速機付モータのケーシングと一方のフレームとを一体成形することで、減速機付モータ全体の放熱面積を増大することができる。
また、一方のフレームに送風ファン、およびドライバ装置の少なくとも一部を内蔵することで、回転電動継手全体の小型化を図ることが可能になる。
請求項3に記載した発明は、前記冷却通路に複数のフィンを空気の流れに沿うように設け、前記複数のフィンを少なくとも前記減速機付モータのケーシングと一体成形したことを特徴とする。
このように構成することで、減速機付モータ全体の放熱面積をさらに増大することができる。
請求項4に記載した発明は、前記ドライバ装置は、ブリッジ回路を構成するスイッチング素子が実装されたモータ駆動回路基板と、このモータ駆動回路基板に電流を供給し、平滑用コンデンサを有する電源回路基板とを分割構成したものであって、前記モータ駆動回路基板を前記減速機付モータ側に配置し、前記電源回路基板を前記送風ファンの空気吸入側に配置したことを特徴とする。
このように、ドライバ装置を分割構成することで、ドライバ装置のレイアウト性を向上できるので、空きスペースを有効活用することができる。
また、モータ駆動回路基板を減速機付モータ側に配置することで、モータ駆動回路基板の発熱をフレームを介して放熱させることができると共に、電源回路基板を送風ファンの空気吸入側に配置することで、電源回路基板を送風ファンを用いて強制冷却できる。
請求項5に記載した発明は、前記送風ファンは、軸流ファンであることを特徴とする。
このように構成することで、送風ファンの厚さ方向を薄型化することが可能になる。
請求項6に記載した発明は、少なくとも2つのフレームを継手部を介して回動可能に連結し、前記フレームのうちの1つのフレームに減速機付モータを設け、前記減速機付モータは、環状のステータと、前記ステータの径方向内側に回転自在に設けられたロータと、前記ロータの一端側に設けられ、前記ロータの回転軸の回転速度を減速して出力する減速機構と、前記回転軸の回転制御を行うためのドライバ装置とを有し、前記減速機構と前記フレームのうちの他のフレームを連結することにより、前記他のフレームを前記継手部を中心にして回動させる電動回転継手であって、前記1つのフレームに、前記減速機付モータを冷却させるための冷却通路を設け、この冷却通路の途中に前記ステータを固定するためのケーシングを一体成形すると共に、前記ドライバ装置の少なくとも一部を配置し、前記冷却通路の一端側に送風ファンを設け、この送風ファンは、空気吐出側を前記冷却通路に向けた形で配置されていることを特徴とする。
このように構成することで、フレーム内部の空きスペースを有効活用しつつ1つの送風ファンでドライバ装置と減速機付モータを強制冷却することができる。また、フレームにモータハウジングを一体成形することで、減速機付モータの放熱面積を大きくすることができる。
請求項7に記載した発明は、前記ステータは、前記ケーシングに内嵌固定される筒状のステータ鉄心と、前記ステータ鉄心から径方向内側に向かって突設された複数のティース部とを有し、前記ティース部は、周方向に等間隔で配置されコイルが巻装される主極と、前記主極間に配置され前記コイルが巻装されない補極とで構成されており、前記コイルと前記補極との空隙に、これらコイル、および補極に接する熱伝導部材を介装したことを特徴とする。
このように構成することで、コイルから生じる熱を主極の他に熱伝達部材を介して補極にも伝達させることができる。
請求項8に記載した発明は、前記ケーシングにヒートシンクを設け、前記ヒートシンクは、前記ケーシングに接するベース部と、前記ベース部から立ち上がるように形成され、各々並列配置された複数のフィンとを有し、前記複数のフィンの先端側に前記ドライバ装置の少なくとも一部を配置し、前記ベース部、前記複数のフィン、および前記ドライバ装置の少なくとも一部で形成される通路を前記冷却通路として構成したことを特徴とする。
このように構成することで、減速機付モータとドライバ装置の放熱面積をさらに大きくすることができる。また、確実にドライバ装置に風をあてることができる。
請求項1に記載した発明によれば、フレーム内部の空きスペースを有効活用しつつ1つの送風ファンでドライバ装置と減速機付モータを強制冷却することができる。
しかも、ドライバ装置と比較して発熱し易い減速機付モータを送風ファンの空気吐出側に配置する一方、ドライバ装置を送風ファンの空気吸入側に配置するので、減速機付モータに風速の速い風を吹きつけることができると共に、ドライバ装置に淀みなく新鮮な空気を当てることができる。
このため、省スペースながら減速機付モータを効率よく冷却できると共に、減速機付モータの近傍にドライバ装置を配置しつつドライバ装置も効率よく冷却することが可能になる。
請求項2に記載した発明によれば、減速機付モータのケーシングと一方のフレームとを一体成形することで、減速機付モータ全体の放熱面積を増大することができる。このため、減速機付モータをさらに効率よく冷却できる。
また、一方のフレームに送風ファン、およびドライバ装置の少なくとも一部を内蔵することで、回転電動継手全体の小型化を図ることが可能になる。
請求項3に記載した発明によれば、減速機付モータ全体の放熱面積をさらに増大することができ、より効率よく減速機付モータを冷却することが可能になる。
請求項4に記載した発明によれば、ドライバ装置を分割構成することで、ドライバ装置のレイアウト性を向上できるので、空きスペースを有効活用することができ、より回転電動継手を小型化することが可能になる。
また、モータ駆動回路基板を減速機付モータ側に配置することで、モータ駆動回路基板の発熱をフレームを介して放熱させることができると共に、電源回路基板を送風ファンの空気吸入側に配置することで、電源回路基板を送風ファンを用いて強制冷却できる。このため、ドライバ装置を効率よく冷却することが可能になる。
請求項5に記載した発明によれば、送風ファンの厚さ方向を薄型化することが可能になり、さらに回転電動継手を小型化することができる。
請求項6に記載した発明によれば、フレーム内部の空きスペースを有効活用しつつ1つの送風ファンでドライバ装置と減速機付モータを強制冷却することができる。また、フレームにモータハウジングを一体成形することで、減速機付モータの放熱面積を大きくすることができる。このため、省スペースながら減速機付モータ、およびドライバ装置を効率よく冷却することが可能になる。
請求項7に記載した発明によれば、コイルから生じる熱を主極の他に熱伝達部材を介して補極にも伝達させることができる。このため、コイルからモータハウジングに至る間に熱伝達経路を十分確保することができ、減速機付モータをさらに効率よく冷却することが可能になる。
請求項8に記載した発明によれば、減速機付モータとドライバ装置の放熱面積をさらに大きくすることができる。また、確実にドライバ装置に風をあてることができる。このため、減速機付モータ、およびドライバ装置をさらに効率よく冷却することが可能になる。
本発明の第一実施形態における電動回転継手の斜視図である。 本発明の第一実施形態における電動回転継手の第二フレームを取り除いた状態の斜視図である。 本発明の第一実施形態における電動回転継手の断面斜視図である。 本発明の第一実施形態における電動回転継手の第二フレームを取り除いた状態の斜視図である。 本発明の第一実施形態における軸流ファンの平面図である。 本発明の実施形態における減速機の断面図である。 本発明の第一実施形態における空気の流れを示す説明図である。 本発明の第一実施形態における空気の流れを示す説明図である。 本発明の第二実施形態における電動回転継手の斜視図である。 本発明の第二実施形態における第一フレームの斜視図である。 図9のA−A線に沿う断面図である。 図11のB部拡大図である。 本発明の第二実施形態における電動回転継手の上面図である。 本発明の第二実施形態における電動回転継手の側面図である。 本発明の第二実施形態における電動回転継手の作用説明図である。 本発明の第二実施形態における他の実施形態の電動回転継手の側面図である。 本発明の第二実施形態における他の実施形態の電動回転継手の作用説明図である。
次に、この発明の第一実施形態を図1〜図8に基づいて説明する。なお、以下の図面において、説明の都合上、最も見易い部分が表れるように、適宜電動回転継手1の向きを変えている。
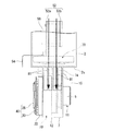
図1〜図3に示すように、電動回転継手1は、例えば、多関節型ロボットなどの産業用ロボットの関節部分に用いられるものであって、第一フレーム2と第二フレーム3とを連結する継手部15に、減速機付モータを構成する電動モータ4、および減速機6を設けている。そして、第一フレーム2と第二フレーム3とを電動モータ4、および減速機6を介して回動可能に連結している。
第一フレーム2、および第二フレーム3は、角筒状に形成されている。また、第一フレーム2、および第二フレーム3は、互いに同一直線上に並設された状態になっており、この直線に交差する軸線Jを中心に回動するようになっている。
電動モータ4は、この回転軸5の軸心が軸線Jに一致するように配設されており、回転軸5に減速機6が取り付けられている。
電動モータ4は、フロントブラケット7と、リヤブラケット8と、これらフロントブラケット7、およびリヤブラケット8の内側に固定されているステータ10と、ステータ10の径方向内側に回転自在に設けられているロータ11とを有している。また、フロントブラケット7の内側に電動モータ4を駆動させるためのドライバ装置50を構成するモータ駆動回路基板51を配設し、リヤブラケット8の内側に回転軸5の回転角度を検出するためのエンコーダ40を配設している。
フロントブラケット7は有底筒状に形成され、第一フレーム2と一体成形されている。
すなわち、第一フレーム2の一部がフロントブラケット7を兼ねた状態になっている。フロントブラケット7の周壁12と第一フレーム2の電動モータ4側の端面2aとの間には、複数のフィン81が軸線Jに略直交する方向に沿って立設されている。フィン81は、軸線Jに対応する位置から第一フレーム2の端面2aに至るまでフロントブラケット7の周壁12に沿うようにして形成されており、軸方向平面視略三角形状になっている。そして、フィン81は、フロントブラケット7の周壁12、および第一フレーム2と一体化されている。
フロントブラケット7の径方向中央には、回転軸5の一端側を回転自在に支持する軸受け14が設けられている。
このように、第一フレーム2とフロントブラケット7を一体成形することにより、恰も第一フレーム2の一部でフロントブラケット7を構成することができる。すなわち、第一フレーム2にステータ10および回転軸5を保持する機能を備えることができる。
一方、リヤブラケット8はアルミニウム製で有底筒状に形成されたものであって、フロントブラケット7の開口部を閉塞するように設けられている。リヤブラケット8の径方向中央には、回転軸5のリヤ側を回転自在に支持する軸受け17が設けられている。
リヤブラケット8の周壁18には、開口部側にステータ10の外周部が挿入固定されている。すなわち、ステータ10は、それぞれフロントブラケット7、およびリヤブラケット8に内嵌固定された状態になっている。なお、フロントブラケット7、およびリヤブラケット8の周壁12,18の軸方向の長さは、これらブラケット7,8内にステータ10を収納した状態で間隙が形成不可能な長さに設定されている。これによって、フロントブラケット7とリヤブラケット8との合わせ面から内部への塵埃の侵入を防止できる。
ステータ10は、磁性を有する金属板を軸方向に積層したり、軟磁性粉体を加圧したりすることで形成されたものであって、略円筒状のステータ鉄心21を有している。ステータ鉄心21の外周部は、フロントブラケット7、およびリヤブラケット8に挿入されている。
ステータ鉄心21の内周側には、複数のティース部(不図示)が径方向内側に向かって突設され、ここに絶縁材であるインシュレータ22を介して複数のコイル(不図示)が巻装されている。
コイルの各端末部は、それぞれピンヘッダなどの端子24を介してドライバ装置50のモータ駆動回路基板51に接続されている。ドライバ装置50は、略円環状に形成されたモータ駆動回路基板51と平面視略長方形状に形成された電源回路基板52とを分割構成したものであって、両者51,52をリード線53を介して電気的に接続している。
ドライバ装置50は、2つの回路基板51,52のうちのモータ駆動回路基板51をフロントブラケット7の内側に配設し、電源回路基板52を第一フレーム2内に配設した状態になっている。したがって、モータ駆動回路基板51は、中央に形成された孔の直径が回転軸5を挿通可能な大きさに設定されていると共に、外径がフロントブラケット7の周壁12の内径よりも小さく設定されている。一方、電源回路基板52の外形状は、第一フレーム2内の空きスペースに収納可能な大きさに設定されている。
モータ駆動回路基板51は各コイル23への通電の切換えを行うものであって、ステータ10とは反対側の面に複数のスイッチング素子48が実装されている他、スイッチング素子48のオン/オフを制御するプリドライブ回路(不図示)などが実装されている。
スイッチング素子48は、FET(Field Effect Transistor;電界効果型トランジスタ)等のトランジスタとFET(トランジスタ)のドレイン−ソース間の逆流を防止するダイオードとをモータ駆動電源(不図示)に対して並列に接続した構成を有している。FETとしてはベアチップが用いられ、このベアチップを樹脂モールドすることによって、FETの占有スペースの縮小化を図っている。スイッチング素子48は相毎のHブリッジ回路を形成しており、それぞれオン/オフに切り換わることによって、各コイル(不図示)に供給する電流が相毎に切り換わるようになっている。
モータ駆動回路基板51に実装されているスイッチング素子48上には、放熱シート46が設けられている。放熱シート46は、スイッチング素子48の配置箇所に対応するように略円環状に形成されている。モータ駆動回路基板51は、放熱シート46を介してフロントブラケット7に固定されている。
電源回路基板52はモータ駆動回路基板51に電流を供給するためのものであって、2つの基板52a,52bで構成され、両者52a,52bをスタッドボルト49で固定している。
電源回路基板52の一方の基板52aには、電源平滑用のアルミ電解コンデンサ58やリード線53、および後述するフレキシブル基板54を接続するためのコネクタ部55などが実装されている。アルミ電解コンデンサ58は、不図示のモータ駆動電源に接続されており、整流された電流の中に含まれている脈流をより直流に近い状態に平滑化するための回路である。これによって、モータ駆動回路基板51のHブリッジ回路に平滑化された電流が供給可能になっている。
電源回路基板52の他方の基板52bは、第一フレーム2の内側に設けられた取り付けベース47に固定され、電源回路基板52全体が第一フレーム2内部において長さ方向平面視で略中央に位置するようになっている。
ここで、図2、図4、図5に示すように、第一フレーム2の電動モータ4側の端面2aには、軸流ファン70が設けられている。軸流ファン70は、空気吸入側70aを電源回路基板52側に向ける一方、空気吐出側70bを電動モータ4側に向けて配置されている。すなわち、第一フレーム2は、軸流ファン70を中心にして、電源回路基板52側が静圧に、電動モータ4側が動圧になっている。
軸流ファン70は、軸方向中央に回転自在に支持されているファンボス71と、ファンボス71の外周面に一体成形されている複数のファンブレード72と、ファンブレード72の周囲を取り囲むように形成されたファンシュラウド73とを有している。
ファンシュラウド73は、ファンブレード72の周囲に配置された筒部73aと筒部73aの電動モータ4側端から第一フレーム2の内壁に向かって拡がるように形成されたスカート部73bとで構成されている。
第一フレーム2の電動モータ4側の端面2aには、ファンシュラウド73の筒部73aに対応する開口部79が形成されている。これによって、第一フレーム2の内部の空気が軸流ファン70に吸い込まれ、開口部79を介して電動モータ4へと吐出されることになる。
すなわち、第一フレーム2からこの第一フレーム2と第二フレーム3とが連結されている継手部15に至るまでに、電動モータ4を冷却するための冷却通路74が設けられていることになる。したがって、軸流ファン70は、冷却通路74の途中に配置された状態になっている。
ここで、フロントブラケット7の周壁12と第一フレーム2の電動モータ4側の端面2aとの間に設けられた複数のフィン81は、軸線Jに略直交する方向に沿って立設されているので、軸流ファン70による送風の流れに沿うように設けられていることになる。このため、複数のフィン81によって空気の流れが遮断されることがないようになっている。
図2、図3に示すように、ロータ11は、中空状に形成された回転軸5と、この回転軸5に外嵌固定された筒状のリングマグネット(不図示)とを有している。リングマグネットは、周方向に磁極が順番に変わるように着磁されている。
このような構成のもと、ステータ10に巻装されているコイル(不図示)に電流が流れると磁界が形成され、この磁界とリングマグネットとの間に生じる磁気的な吸引力や反発力によって回転軸5が回転する。
回転軸5の他端は、リヤブラケット8から突出した状態になっており、ここにセンサマグネット28が取付け部材29を介して設けられている。センサマグネット28は、回転軸5の回転角度を検出するためのエンコーダ40の一方を構成するものであって、2極に着磁されている。取付け部材29は、回転軸5に外嵌固定されている筒部29aと、筒部29aの外側端に設けられた外フランジ部29bとが一体成形されたものである。外フランジ部29bは、センサマグネット28の軸方向の位置決めを行うためのものである。センサマグネット28は、この一端面が外フランジ部29bに当接するようにして固定されている。
リヤブラケット8の軸方向外方には、センサマグネット28よりも軸方向内側に略円環状のエンコーダ基板30が配設されている。このエンコーダ基板30は、リヤブラケット8にカラー31を介してボルト32によって締結固定されている。
エンコーダ基板30は、エンコーダ40の他方を構成するものであって、このエンコーダ基板30上には4つのホール素子41が実装されている他、回転角度検出回路(不図示)などが実装されている。
ホール素子41は、エンコーダ基板30上のセンサマグネット28に対向する位置にロータ11の回転軸を中心とする円周上に90°の間隔を隔てて配置されている。このホール素子41は、センサマグネット28から発生する磁界の変化を回転軸5の位置情報として検出し、所定の波形の信号を回転角度検出回路に出力するようになっている。回転角度検出回路は、ホール素子41からの出力信号に基づいて回転軸5の回転角度を検出する。
なお、エンコーダ基板30は、ドライバ装置50のモータ駆動回路基板51とフレキシブル基板54を介して電気的に接続されている。すなわち、ドライバ装置50の電力をエンコーダ基板30に供給することでホール素子41や回転角度検出回路を駆動させることもできるし、エンコーダ基板30における回転軸5の回転角度位置情報をドライバ装置50に出力することもできる。
回転軸5の一端は、ドライバ装置50のモータ駆動回路基板51、放熱シート46、およびフロントブラケット7を介して軸方向外方に突出した状態になっている。この回転軸5の突出した一端には、減速機6が取り付けられている。
図3、図6に示すように、減速機6は、スラスト方向、およびラジアル方向の両方向の荷重を受けることのできるクロスローラベアリング61とハーモニックドライブ(登録商標)とを一体化したものである。すなわち、減速機6は、回転軸5に外嵌固定されているウェーブジェネレータ62と、このウェーブジェネレータ62の外周に配置されたフレクスプライン63とを有し、フレクスプライン63の外周にクロスローラベアリング61を配置してある。そして、クロスローラベアリング61の内輪(インナーレース)61aがハーモニックドライブ(登録商標)のサーキュラスプライン64も兼ねている。
ウェーブジェネレータ62は、平面視楕円状のカム65と、この外周に設けられたボールベアリング66とで構成されている。カム65の径方向中央には、回転軸5とカム65とを連結するための軸孔67が形成されており、これによって回転軸5とカム65とが一体となって回転する。
ウェーブジェネレータ62のボールベアリング66の外周面に設けられたフレクスプライン63は弾性を有する歯車であって、筒状の歯車本体68と、この歯車本体68の外側端に一体成形された外フランジ部69とで構成されている。
歯車本体68はウェーブジェネレータ62によって楕円状に変形しており、この内周面は、ウェーブジェネレータ62と摺動可能に形成されている。また、歯車本体68の外周面には、歯部78が形成されている。
フレクスプライン63の外フランジ部69には、外周部に肉厚部77が全周に渡って形成されている。この肉厚部77の径方向の幅は、クロスローラベアリング61の外輪(アウターレース)61bの径方向の幅と略一致するように設定されている。また、肉厚部77には複数のボルト孔(不図示)が形成されている。このボルト孔にボルト76が螺入されることによって、外フランジ部69と第二フレーム3とがクロスローラベアリング61の外輪(アウターレース)61bに共締めされた状態になっている。ここで、第二フレーム3のフレクスプライン63に対応する部位には、板状の取付けステー83が一体的に設けられている。これによって、外フランジ部69と第二フレーム3とをクロスローラベアリング61の外輪61bに共締めすることが可能になっている。
クロスローラベアリング61の内輪61aには、内周面側にフレクスプライン63の歯部78と噛合う歯部84が形成されている。フレクスプライン63の歯車本体68はウェーブジェネレータ62によって楕円状に変形しているので、フレクスプライン63の楕円の長軸部分では歯車本体68の歯部78と内輪61aの歯部84、つまり、サーキュラスプライン64とが噛合った状態になっている。一方、フレクスプライン63の楕円の短軸部分では、互いの歯部78,84が完全に離反した状態になる。
また、クロスローラベアリング61の内輪61a(サーキュラスプライン64)の歯部84の歯数は、フレクスプライン63に形成されている歯部78の歯数よりも多く設定されている。
さらに、クロスローラベアリング61の内輪61aには、複数のボルト孔85が形成されており、ここにボルト86が螺入されることによって、クロスローラベアリング61の内輪61aが、第一フレーム2(フロントブラケット7)に締結固定される。
次に、図3、図6に基づいて、電動回転継手1の動作について説明する。
まず、回転軸5が例えば時計回り(図6における矢印A方向)に回転すると、この回転軸5と一体となって減速機6のウェーブジェネレータ62が回転する。
すると、フレクスプライン63の歯車本体68がウェーブジェネレータ62の回転に追随するように弾性変形し、フレクスプライン63の歯部78とサーキュラスプライン64(内輪61a)の歯部84との噛合い位置が順次移動する。
このとき、サーキュラスプライン64(クロスローラベアリング61の内輪61a)は、ボルト86によって第一フレーム2(フロントブラケット7)に締結固定されていると共に、フレクスプライン63の歯部78の歯数がサーキュラスプライン64の歯部84の歯数よりも少なく設定されているので、フレクスプライン63が反時計回り(図6における矢印C方向)に歯数が少ない分だけ回転する。
すると、フレクスプライン63の外フランジ部69にボルト76によって共締めされている第二フレーム3、およびクロスローラベアリング61の外輪61bがフレクスプライン63と一体になって反時計回りに回転する。これによって、第二フレーム3が第一フレーム2に対して軸線Jを中心に回動する。
次に、図7、図8に基づいて、軸流ファン70による空気の流れについて説明する。
図7、図8の矢印に示すように、軸流ファン70を駆動すると、第一フレーム2内の空気が軸流ファン70に吸入され、電動モータ4側に向かって吐出される。このとき、第一フレーム2内、および継手部15は、軸流ファン70を中心にして電源回路基板52側が負圧に、電動モータ4側が正圧になっている。このため、軸流ファン70の電動モータ4側の風速は、電源回路基板52側の風速よりも速くなっている。
軸流ファン70から吐出された空気は、電動モータ4のフロントブラケット7の周壁12に当たり、外側へと流出していく。このとき、吐出された空気は、フィン81の立設方向に沿って外側へと流出する。すなわち、フィン81とフィン81との間から空気が流出する。
電動モータ4は、軸流ファン70から吐出された空気が吹きつけられ、効率よく冷却される。このとき、フロントブラケット7、フィン81、および第一フレーム2は互いに一体成形されているので、フロントブラケット7の熱がフィン81、および第一フレーム2へと伝達される。このため、フィン81、および第一フレーム2は、放熱板としての役割を有する。とりわけ、フィン81とフィン81との間は、空気が流れているので、空気とフィン81との間で熱交換が効率的に行われることになる。
一方、軸流ファン70の負圧側は、正圧側と比較して風速が遅いものの第一フレーム2内の空気が軸流ファン70によって吸入されるため、軸流ファン70が駆動している間、電源回路基板52と熱交換していない新鮮な空気が継続的に流れ込む。このため、第一フレーム2内の空気が淀んでいる場合と比較して効率的に電源回路基板52を冷却することができる。
ここで、電源回路基板52の発熱量は、電流が供給されるコイルを有する電動モータ4の発熱量と比較して少ない。このため、軸流ファン70を電動モータ4側が空気吐出側70bとなるように配置することで、発熱量の多い電動モータ4を効率的に冷却することが可能になる。
また、電動モータ4は大気開放されている継手部15に配置されているのに対し、電源回路基板52は、周囲が取り囲まれている第一フレーム2の内部に配置されている。このため、例え軸流ファン70の空気吸入側70aを電源回路基板52側に向けて配置したとしても電源回路基板52を冷却するのに十分な風速を得ることができる。
ドライバ装置50のモータ駆動回路基板51には、電流が供給されると共にオン/オフが繰り返し切り換わるスイッチング素子48が実装されているので、モータ駆動回路基板51の発熱量も比較的多くなる。
このモータ駆動回路基板51にあっては、放熱シート46を介してフロントブラケット7に固定されているので、モータ駆動回路基板51の熱が放熱シート46を介してフロントブラケット7、フィン81、および減速機6に伝達されることになる。このとき、フロントブラケット7、フィン81、および減速機6には、軸流ファン70から吐出された空気が吹きつけられるので、結果的にモータ駆動回路基板51も効率的に冷却される。
したがって、上述の第一実施形態によれば、第一フレーム2から継手部15に至るまでに電動モータ4を冷却するための冷却通路74を設け、この冷却通路74の途中に軸流ファン70を配置することによって、第一フレーム2の内部の空きスペースを有効活用しつつ1つの軸流ファン70でドライバ装置50と電動モータ4、および減速機6を強制冷却することができる。
しかも、ドライバ装置50の電源回路基板52と比較して発熱し易い電動モータ4を軸流ファン70の空気吐出側70bに配置する一方、電源回路基板52を軸流ファン70の空気吸入側70aに配置するので、電動モータ4、および減速機6に風速の速い風を吹きつけることができると共に、電源回路基板52に淀みなく新鮮な空気を当てることができる。
このため、省スペースながら電動モータ4、および減速機6を効率よく冷却できると共に、電動モータ4の近傍にドライバ装置50を配置しつつドライバ装置50も効率よく冷却することが可能になる。
また、電動モータ4のフロントブラケット7と第一フレーム2とを一体成形することで、電動モータ4全体の放熱面積を増大することができる。このため、電動モータ4をさらに効率よく冷却できる。
さらに、第一フレーム2に軸流ファン70、およびドライバ装置50の電源回路基板52を内蔵することで、電動回転継手1全体の小型化を図ることが可能になる。
そして、フロントブラケット7の周壁12と第一フレーム2の電動モータ4側の端面2aとの間には、複数のフィン81が軸線Jに略直交する方向に沿って立設されているので、電動モータ4全体の放熱面積をさらに増大することができる。このため、より効率よく電動モータ4、および減速機6を冷却することが可能になる。
また、ドライバ装置50をモータ駆動回路基板51と電源回路基板52とで分割構成することにより、ドライバ装置50のレイアウト性を向上できる。
さらに、モータ駆動回路基板51を電動モータ4側に配置することで、モータ駆動回路基板51の発熱を第一フレーム2や減速機6を介して放熱させることができると共に、電源回路基板52を軸流ファン70の空気吸入側70aに配置することで、電源回路基板52を軸流ファン70を用いて強制冷却できる。
このため、各回路基板51,52の役割に応じて効率的に冷却させることが可能になると共に、空きスペースを有効活用することができる。よって、さらに電動回転継手1の小型化を図りつつ、冷却効果を高めてモータ効率を向上させることが可能になる。
そして、強制冷却用のファンとして軸流ファン70を用いることにより、ファン自体の厚さ方向を薄型化することが可能になる。このため、軸流ファン70を設置するための厚さ方向の占有スペースを小型化することができ、より電動回転継手1を小型化することが可能になる。
なお、上述の第一実施形態では、第一フレーム2に軸流ファン70、およびドライバ装置50の電源回路基板52を内装した場合について説明した。しかしながら、これに限られるものではなく、軸流ファン70や電源回路基板52を第二フレーム3に内装してもよい。この場合、放熱板として機能するフィン81は、電動モータ4のフロントブラケット7のみと一体成形するようにし、フィン81と第二フレーム3とは互いに離反した状態にする。
次に、この発明の第二実施形態を図9〜図14に基づいて説明する。なお、第一実施形態と同一態様には、同一符号を付して説明を省略する(以下の実施形態についても同様)。
この第二実施形態において、電動回転継手91は、例えば、多関節型ロボットなどの産業用ロボットの関節部分に用いられるものであって、第一フレーム92と第二フレーム93とがそれぞれ同一直線上に並設され、継手部15を介して回動可能に連結されている点、電動モータ204と減速機6とにより減速機付モータを構成している点等の構成は、前述した第一実施形態と同様である。
ここで、図9、図10に示すように、第二実施形態では、継手部15に電動モータ204、および減速機6が設けられておらず、第一フレーム92に電動モータ204、および減速機6が設けられている。
第一フレーム92は、軸線J方向で対向する一対のプレート96a,96bを有している。各プレート96a,96bは、平面視長方形状に形成されている。各プレート96a,96bの短手方向両側には、これらプレート96a,96bから軸線J方向外側に向かって立ち上がり形成されたリブ97a,97bがそれぞれ設けられている。また、各プレート96a,96bの長手方向であって第二フレーム93側(図10における下側)の一端部には、円環部95が一体成形されている。この円環部95は、継手部15を構成するものである。
さらに、各プレート96a,96bの短手方向両側には、長手方向略中央から他端部(図10における上側端部)に至る間に、両者96a,96bに跨る短辺プレート104a,104bが一体成形されている。これら短辺プレート104a,104b、および各プレート96a,96bによって、第一フレーム92の長手方向略中央から他端部に至る間が角筒状に形成された状態になっている。2つの短辺プレート104a,104bのうち、一方の短辺プレート104a(図10における右側の短辺プレート104a)には、長手方向全体に渡って延在するように立ち上がり形成された複数のフィン117が短手方向に沿って並設されている。
また、一対のプレート96a,96bのうち、一方のプレート96a(図10における紙面手前側)には、長手方向略中央から他端部に至る間の大部分に、略U字状の開口部98が形成されている。この開口部98を介して第一フレーム92の内部には、一対のプレート96a,96bに跨るように設けられた2つのモータハウジング99a,99bが長手方向に沿って並列状態で一体成形されている。
モータハウジング99a,99bは、前述の第一実施形態におけるフロントブラケット7、およびリヤブラケット8に代わって、電動モータ204を固定するためのものである。各モータハウジング99a,99bは、ステータ鉄心21を内嵌固定可能な有底筒状に形成されており、モータハウジング99a,99bの外周面に、短辺プレート104a,104bが当接するようになっている。すなわち、一方の短辺プレート104aと、これに一体形成されている複数のフィン117は、モータハウジング99a,99bに伝達される熱を放熱するためのヒートシンク118として機能する。
また、各プレート96a,96bは、2つのモータハウジング99a,99b、および各短辺プレート104a,104bによって一体化された状態になる。そして、短辺プレート104a,104bの短手方向両側から各プレート96a,96bの短手方向両側が突出した状態になっている。
各モータハウジング99a,99bは、それぞれの開口部101が互いに反対側を向くように配置されている。すなわち、2つのモータハウジング99a,99bのうち、円環部95寄りに配置されている一方のモータハウジング99aは、この開口部101が一方のプレート96b側(図10における右側)に向いた状態で配置されている。他方のモータハウジング99bは、この開口部101が他方のプレート96a側(図10における左側)に向いた状態で配置されている。
さらに、各モータハウジング99a,99bのエンド部(底部)102には、電動モータ204の回転軸5を挿通可能な挿通孔103が形成されている。
モータハウジング99a,99bには、電動モータ204がエンコーダ40を開口部101側に向けた形で配置されている。そして、モータハウジング99a,99bに、それぞれ電動モータ204のステータ鉄心21が内嵌固定されている。このような状態で固定されている各電動モータ204は、モータハウジング99a,99bの挿通孔103を介して突出している回転軸5の一端に、減速機6が取り付けられるようになっている。
すなわち、2つの電動モータ204のうち、円環部95寄りに配置されている一方の電動モータ204は、他方のプレート96a側(図10における左側)に減速機6が設けられるように配置されていることになる。また、他方の電動モータ204は、一方のプレート96b側(図10における右側)に減速機6が設けられるように配置されていることになる(図9参照)。
ここで、図11、図12に示すように、ステータ鉄心21の内周側に突設されたティース部111は、コイル114が巻装されている主極112と、各主極112間に配置されコイル114が巻装されていない補極113とで構成されている。
主極112、および補極113は、それぞれ軸方向平面視で略T字状に形成されている。主極112は、ステータ鉄心21に対して軸方向に沿って着脱自在に設けられている一方、補極113は、ステータ鉄心21に一体成形されている。すなわち、ステータ鉄心21の主極112に対応する箇所には、軸方向に沿って蟻溝115が形成されている一方、主極112の基端には、蟻溝115に嵌合可能な断面略台形状の凸部116が一体成形されている。これにより、ステータ鉄心21に対して主極112が軸方向に沿って着脱自在に固定される。
また、主極112の表面には、絶縁材であるインシュレータ127が装着されており、このインシュレータ127の上からコイル114が巻装されるようになっている。コイル114は、主極112のみに巻装されているが、隣り合うコイル114に補極113が存在することによって、コイル114に電流が供給されると主極112と共に、補極113にも磁束の流れが形成されることになる。
ここで、主極112に巻装されたコイル114と補極113との間の空隙には、熱伝達効率の高い樹脂Pが充填されている。したがって、樹脂Pは、コイル114に密接していると共に、補極113にも密接した状態になっている。
図9、図11、図13に示すように、コイル114の各端末部が接続されているドライバ装置120のモータ駆動回路基板121は、前述の第一実施形態のように、電動モータ4の内部に配置されておらず、第一フレーム92に形成されているヒートシンク118上に載置されている。
モータ駆動回路基板121は、平面視長方形状に形成されており、電動モータ4毎にそれぞれ設けられている。2つのモータ駆動回路基板121は、長手方向に並んで配置されている。これら2つのモータ駆動回路基板121によって、ヒートシンク118の上部が覆われた状態になり、一方の短辺プレート104a、複数のフィン117、およびモータ駆動回路基板121によって囲まれた通路T1が形成される。
モータ駆動回路基板121の外側の面には、複数のスイッチング素子48が実装されている。スイッチング素子48はコイル114の相毎のHブリッジ回路を形成しており、それぞれオン/オフに切り換わることによって、コイル114に供給する電流が相毎に切り換わるようになっている。
ここで、フィン117の立ち上がり高さH1は、短辺プレート104aの短手方向両側から突出する各プレート96a,96bの高さH2よりも短く設定されている。すなわち、モータ駆動回路基板121は、ヒートシンク118と各プレート96a,96bとによって形成された収納部119に収納された状態になっている。そして、各プレート96a,96bの短辺プレート104aから突出した部位は、スイッチング素子48を保護する役割をしている。
また、2つのモータハウジング99a,99bのうち、円環部95寄りに配置されている一方のモータハウジング99aには、円環部95側の下端に、ブラケット123が設けられ、ここに、軸流ファン124が設けられている。ブラケット123は、開口部123aを有する箱状に形成されたものであって、一方のモータハウジング99aの下端からヒートシンク118の下部(図11における下部)を覆うように形成されている。つまり、ブラケット123は、開口部123aを一方のモータハウジング99a側に向けた状態で取り付けられている。ブラケット123により、このブラケット123と一方のモータハウジング99aとの間に、ヒートシンク118の通路T1に連なる通路T2が形成される。
さらに、ブラケット123の底壁123bには、通路T2に連なる送風口125が形成されており、ここに、送風口125を閉塞するように軸流ファン124が設けられている。すなわち、各通路T1,T2は軸流ファン124からの送風が通過する冷却通路131として構成され、冷却通路131の一端に軸流ファン124が設けられると共に、冷却通路131の途中に、モータハウジング99a,99bと、モータ駆動回路基板121とが配置された状態になっている。
軸流ファン124は、空気吸入側124aを円環部95側に向ける一方、空気吐出側124bをモータハウジング99a側に向けて配置されている。つまり、第一フレーム92内は、軸流ファン124を中心にして、モータハウジング99a,99b、およびモータ駆動回路基板121側が動圧に、円環部95側が静圧になっている。
図9に示すように、2つの電動モータ4,4に設けられた減速機6,6には、それぞれ不図示の連結部材の一端が回動自在に取り付けられている。これら2つの連結部材のうちの一方の他端は、第二フレーム93に回動自在に取り付けられている。また、2つの連結部材のうちの他方の他端は、第二フレーム93の第一フレーム92側とは反対側に取り付けられる第三フレーム(不図示)などに取り付けられる。なお、連結部材としては、例えば、連結バーやタイミングベルト等が挙げられる。
第二フレーム93の第一フレーム92側端部は円弧状に形成されており、軸線J方向の両端に円板94,94が設けられている。これら円板94,94は、第一フレーム92の円環部95と協働して継手部15を構成するものである。円板94に円環部95が外嵌されることにより、第二フレーム93が第一フレーム92に対して軸線Jを中心に回動可能に取り付けられる。
このような構成のもと、電動モータ4を駆動すると、減速機6を構成するクロスローラベアリング61の外輪61bが回転し、不図示の連結部材を介して第二フレーム93が軸線Jを中心にして回動する。
次に、図14、図15に基づいて、この第二実施形態の作用について説明する。
図14、図15に示すように、電動モータ4のコイル114で生じる熱は、主極112に伝達される。また、コイル114と補極113との間の空隙に熱伝達効率の高い樹脂Pが充填されているので、樹脂Pを介して補極113に伝達される。これら主極112と補極113とに伝達された熱は、ステータ鉄心21を伝って各モータハウジング99a,99bへと伝達される。
各モータハウジング99a,99bに伝達された熱は、モータハウジング99a,99bの外周面に当接している短辺プレート104a,104bに伝達される(図15における矢印X1参照)。そして、2つの短辺プレート104a,104bのうちの一方の短辺プレート104aには、複数のフィン117が一体成形されているので、この複数のフィン117に熱が伝達される。
一方、モータ駆動回路基板121に実装されているスイッチング素子48で生じる熱は、モータ駆動回路基板121を介してこれが載置されているフィン117に伝達される(図15における矢印Y1参照)。
ここで、一方の短辺プレート104a、フィン117、およびモータ駆動回路基板121によって形成される通路T1は、冷却通路131を構成している。すなわち、冷却通路131には、軸流ファン124から吐出される空気が外部に漏れることなく効率よく流出される(図15における矢印Z1参照)。このため、一方の短辺プレート104a、フィン117、およびモータ駆動回路基板121を冷却するのに十分な風速を得ることができる。このため、一方の短辺プレート104a、フィン117、およびモータ駆動回路基板121は、効率よく冷却される。
したがって、上述の第二実施形態によれば、第一フレーム92内部の空きスペースを有効活用しつつ1つの軸流ファン124でドライバ装置120(モータ駆動回路基板121)と電動モータ4を強制冷却することができる。また、第一フレーム92にモータハウジング99a,99bを一体成形することで、電動モータ4の放熱面積を大きくすることができる。このため、省スペースながら電動モータ4、およびドライバ装置120(モータ駆動回路基板121)を効率よく冷却することが可能になる。
また、一方の短辺プレート104aに複数のフィン117を設け、これらをモータハウジング99a,99bを冷却するためのヒートシンク118として機能させている。これに加え、複数のフィン117の先端にモータ駆動回路基板121を載置している。このため、電動モータ4、およびドライバ装置120(モータ駆動回路基板121)の放熱面積をさらに大きくすることができるので、これらをより効率よく冷却することができる。
さらに、一方の短辺プレート104a、複数のフィン117、およびモータ駆動回路基板121によって囲まれた通路T1と、ブラケット123と一方のモータハウジング99aとの間に形成される通路T2とに風を送り込めばよいので、軸流ファン124のサイズを前述の第一実施形態と比較して小型化することが可能になる。
そして、コイル114と補極113との間に熱伝達効率の高い樹脂Pが充填されているので、コイル114で生じる熱が主極112のみならず、樹脂Pを介して補極113にも十分伝達される。このため、コイル114からモータハウジング99a,99bに至る間に熱伝達経路を十分確保することができ、電動モータ4をさらに効率よく冷却することが可能になる。
なお、上述の第二実施形態では、2つの短辺プレート104a,104bのうちの一方の短辺プレート104aに複数のフィン117を設けた場合について説明した。しかしながら、これに限られるものではなく、他方の短辺プレート104bにも複数のフィン117を設け、ヒートシンク118を形成してもよい。
この場合、図16、図17に示すように、電動モータ4毎に設けられている2つのモータ駆動回路基板121のうちの1つを他方の短辺プレート104b側のフィン117上に載置し、他方の短辺プレート104b、複数のフィン117、およびモータ駆動回路基板121によって囲まれた通路T1’を形成してもよい。
また、図16、図17に示すように、各短辺プレート104a,104bのフィン117上にそれぞれモータ駆動回路基板121を載置する場合、軸流ファン124を取り付けるためのブラケット133は、一方のモータハウジング99aの下部(図17における下部)、および2つのヒートシンク118,118の下部を覆うように形成される。
ブラケット133は、開口部133aを有する箱状に形成され、この開口部133aを一方のモータハウジング99a側に向けて配置する。
このようにブラケット133を形成することにより、このブラケット133と一方のモータハウジング99aとの間には、一方の短辺プレート104a側に通路T2が形成され、他方の短辺プレート104b側に通路T2’が形成される。
また、ブラケット133の底壁133bには、中央の大部分に送風口134が形成されている。送風口125には、これを閉塞するように軸流ファン124が設けられている。
このような構成のもと、軸流ファン124から吐出される空気は、一方のモータハウジング99aの下部で分岐して流出される。そして、空気が通路T1と通路T2とで構成される冷却通路131内と、通路T1’と通路T2’とで構成される冷却通路131’内をそれぞれ通過する。
したがって、各短辺プレート104a,10bに複数のフィン117を設けた場合であっても一方の短辺プレート104aのみにフィン117を設ける場合と同様の効果を奏することができる。
なお、上述の第二実施形態では、ハーモニックドライブ(登録商標)である各減速機6に、それぞれ不図示の連結部材の一端が回動自在に取り付けられ、各連結部材の他端がそれぞれ第二フレーム93や不図示の第三フレームなどに取り付けられる場合について説明した。しかしながら、これに限られるものではなく、減速機6に代わって、例えば、プーリー等を用いた減速機構を採用してもよい。
また、上述の第二実施形態では、主極112に巻装されたコイル114と補極113との間の空隙には、熱伝達効率の高い樹脂Pが充填されている場合について説明した。しかしながら、これに限られるものではなく、コイル114と補極113との間の空隙に、コイル114で生じる熱を補極113に伝達可能な熱伝導部材を介装すればよい。例えば、樹脂Pに代わって放熱シート等を用いてもよい。
さらに、本発明は上述の実施形態に限られるものではなく、本発明の趣旨を逸脱しない範囲において、上述の実施形態に種々の変更を加えたものを含む。
例えば、上述の第一実施形態では、強制冷却用のファンとして軸流ファン70を用いた場合について説明し、上述の第二実施形態では、軸流ファン124を用いた場合について説明した。しかしながら、これに限られるものではなく、軸流ファン70,124以外の他のファン、例えば、シロッコファンなどを用いてもよい。
1,91 電動回転継手
2 第一フレーム(一方のフレーム)
3 第二フレーム(他方のフレーム)
4,204 電動モータ(減速機付モータ)
5 回転軸
6 減速機(減速機構)
7 フロントブラケット(ケーシング)
10 ステータ
11 ロータ
15 継手部
48 スイッチング素子
50,120 ドライバ装置
51,121 モータ駆動回路基板
52 電源回路基板
52a,52b 基板
58 アルミ電解コンデンサ(平滑用コンデンサ)
70 軸流ファン(送風ファン)
70a,124a 空気吸入側
70b,124b 空気吐出側
74,131 冷却通路
81 フィン
91 第一フレーム(1つのフレーム)
92 第二フレーム(他のフレーム)
96a,96b プレート
99a,99b モータハウジング(ケーシング)
104a,104b 短辺プレート(ベース部)
111 ティース部
112 主極
113 補極
114 コイル
117 フィン
118 ヒートシンク
P 樹脂(熱伝導部材)
T1,T1’,T2,T2’ 通路(冷却通路)

Claims (8)

  1. 一方のフレームと他方のフレームとを連結する継手部に減速機付モータを設け、前記一方のフレームと前記他方のフレームとを前記減速機付モータを介して回動自在に連結した電動回転継手において、
    前記減速機付モータは、
    この回転軸の回転制御を行うためのドライバ装置を有し、
    前記ドライバ装置の少なくとも一部を前記一方のフレーム、または前記他方のフレームの何れか一方に内蔵し、
    前記継手部、並びに、前記一方のフレーム若しくは前記他方のフレームに、前記減速機付モータを冷却するための冷却通路を設けると共に、この冷却通路の途中に送風ファンを設け、
    前記ドライバ装置の少なくとも一部を前記送風ファンの空気吸入側に配置し、かつ前記減速機付モータを前記送風ファンの空気吐出側に配置したことを特徴とする電動回転継手。
  2. 前記一方のフレームと前記減速機付モータのケーシングとを一体成形し、
    前記他方のフレームと前記減速機付モータの減速機とを連係し、
    前記送風ファン、および前記ドライバ装置の少なくとも一部を前記一方のフレームに内蔵したことを特徴とする請求項1に記載の電動回転継手。
  3. 前記冷却通路に複数のフィンを空気の流れに沿うように設け、
    前記複数のフィンを少なくとも前記減速機付モータのケーシングと一体成形したことを特徴とする請求項1に記載の電動回転継手。
  4. 前記ドライバ装置は、
    ブリッジ回路を構成するスイッチング素子が実装されたモータ駆動回路基板と、このモータ駆動回路基板に電流を供給し、平滑用コンデンサを有する電源回路基板とを分割構成したものであって、
    前記モータ駆動回路基板を前記減速機付モータ側に配置し、
    前記電源回路基板を前記送風ファンの空気吸入側に配置したことを特徴とする請求項1〜請求項3の何れかに記載の電動回転継手。
  5. 前記送風ファンは、軸流ファンであることを特徴とする請求項1〜請求項4の何れかに記載の電動回転継手。
  6. 少なくとも2つのフレームを継手部を介して回動可能に連結し、前記フレームのうちの1つのフレームに減速機付モータを設け、
    前記減速機付モータは、
    環状のステータと、
    前記ステータの径方向内側に回転自在に設けられたロータと、
    前記ロータの一端側に設けられ、前記ロータの回転軸の回転速度を減速して出力する減速機構と、
    前記回転軸の回転制御を行うためのドライバ装置とを有し、
    前記減速機構と前記フレームのうちの他のフレームを連結することにより、前記他のフレームを前記継手部を中心にして回動させる電動回転継手であって、
    前記1つのフレームに、前記減速機付モータを冷却させるための冷却通路を設け、この冷却通路の途中に前記ステータを固定するためのケーシングを一体成形すると共に、前記ドライバ装置の少なくとも一部を配置し、
    前記冷却通路の一端側に送風ファンを設け、この送風ファンは、空気吐出側を前記冷却通路に向けた形で配置されていることを特徴とする電動回転継手。
  7. 前記ステータは、
    前記ケーシングに内嵌固定される筒状のステータ鉄心と、
    前記ステータ鉄心から径方向内側に向かって突設された複数のティース部とを有し、
    前記ティース部は、
    周方向に等間隔で配置されコイルが巻装される主極と、
    前記主極間に配置され前記コイルが巻装されない補極とで構成されており、
    前記コイルと前記補極との空隙に、これらコイル、および補極に接する熱伝導部材を介装したことを特徴とする請求項6に記載の電動回転継手。
  8. 前記ケーシングにヒートシンクを設け、
    前記ヒートシンクは、
    前記ケーシングに接するベース部と、
    前記ベース部から立ち上がるように形成され、各々並列配置された複数のフィンとを有し、
    前記複数のフィンの先端側に前記ドライバ装置の少なくとも一部を配置し、
    前記ベース部、前記複数のフィン、および前記ドライバ装置の少なくとも一部で形成される通路を前記冷却通路として構成したことを特徴とする請求項6または請求項7に記載の電動回転継手。
JP2009112130A 2008-05-27 2009-05-01 電動回転継手 Expired - Fee Related JP5385000B2 (ja)

Priority Applications (1)

Application Number Priority Date Filing Date Title
JP2009112130A JP5385000B2 (ja) 2008-05-27 2009-05-01 電動回転継手

Applications Claiming Priority (3)

Application Number Priority Date Filing Date Title
JP2008137670 2008-05-27
JP2008137670 2008-05-27
JP2009112130A JP5385000B2 (ja) 2008-05-27 2009-05-01 電動回転継手

Publications (2)

Publication Number Publication Date
JP2010005783A true JP2010005783A (ja) 2010-01-14
JP5385000B2 JP5385000B2 (ja) 2014-01-08

Family

ID=41586836

Family Applications (1)

Application Number Title Priority Date Filing Date
JP2009112130A Expired - Fee Related JP5385000B2 (ja) 2008-05-27 2009-05-01 電動回転継手

Country Status (1)

Country Link
JP (1) JP5385000B2 (ja)

Cited By (8)

* Cited by examiner, † Cited by third party
Publication number Priority date Publication date Assignee Title
JP2012125088A (ja) * 2010-12-10 2012-06-28 Seiko Epson Corp 電気機械装置及びロボット及び車輪
JP2017039181A (ja) * 2015-08-19 2017-02-23 セイコーエプソン株式会社 ロボット制御装置、ロボット、ロボットシステム
CN108032328A (zh) * 2017-12-18 2018-05-15 深圳市优必选科技有限公司 一种舵机组件、机器人关节结构及机器人
JP2019063935A (ja) * 2017-09-29 2019-04-25 セイコーエプソン株式会社 ロボット
WO2020031482A1 (ja) * 2018-08-09 2020-02-13 東京ロボティクス株式会社 ロボットアーム及びロボット
CN114633281A (zh) * 2022-02-28 2022-06-17 浙江大学 一种抗侧倾高功率密度机器人关节驱动单元
WO2022219759A1 (ja) * 2021-04-14 2022-10-20 株式会社Fuji ロボット
CN116117857A (zh) * 2022-09-30 2023-05-16 广东天太机器人有限公司 机器人关节模组

Citations (5)

* Cited by examiner, † Cited by third party
Publication number Priority date Publication date Assignee Title
JPH09323286A (ja) * 1996-05-31 1997-12-16 Yaskawa Electric Corp 産業用ロボットにおける駆動用モータの冷却方法
JPH10257718A (ja) * 1997-03-13 1998-09-25 Toshiba Corp インバータ装置付きモータ
JP2007306741A (ja) * 2006-05-12 2007-11-22 Toshiba Corp 制御装置一体型電動機
JP2008022646A (ja) * 2006-07-13 2008-01-31 Yaskawa Electric Corp 永久磁石型モータ用固定子、永久磁石型モータ、およびその固定子の製造方法
JP2009000196A (ja) * 2007-06-20 2009-01-08 Honda Motor Co Ltd 関節駆動型脚リンク機構及び歩行補助装置

Patent Citations (5)

* Cited by examiner, † Cited by third party
Publication number Priority date Publication date Assignee Title
JPH09323286A (ja) * 1996-05-31 1997-12-16 Yaskawa Electric Corp 産業用ロボットにおける駆動用モータの冷却方法
JPH10257718A (ja) * 1997-03-13 1998-09-25 Toshiba Corp インバータ装置付きモータ
JP2007306741A (ja) * 2006-05-12 2007-11-22 Toshiba Corp 制御装置一体型電動機
JP2008022646A (ja) * 2006-07-13 2008-01-31 Yaskawa Electric Corp 永久磁石型モータ用固定子、永久磁石型モータ、およびその固定子の製造方法
JP2009000196A (ja) * 2007-06-20 2009-01-08 Honda Motor Co Ltd 関節駆動型脚リンク機構及び歩行補助装置

Cited By (14)

* Cited by examiner, † Cited by third party
Publication number Priority date Publication date Assignee Title
JP2012125088A (ja) * 2010-12-10 2012-06-28 Seiko Epson Corp 電気機械装置及びロボット及び車輪
JP2017039181A (ja) * 2015-08-19 2017-02-23 セイコーエプソン株式会社 ロボット制御装置、ロボット、ロボットシステム
JP7130932B2 (ja) 2017-09-29 2022-09-06 セイコーエプソン株式会社 ロボット
JP2019063935A (ja) * 2017-09-29 2019-04-25 セイコーエプソン株式会社 ロボット
CN108032328A (zh) * 2017-12-18 2018-05-15 深圳市优必选科技有限公司 一种舵机组件、机器人关节结构及机器人
CN108032328B (zh) * 2017-12-18 2023-08-04 深圳市优必选科技有限公司 一种舵机组件、机器人关节结构及机器人
WO2020031482A1 (ja) * 2018-08-09 2020-02-13 東京ロボティクス株式会社 ロボットアーム及びロボット
WO2022219759A1 (ja) * 2021-04-14 2022-10-20 株式会社Fuji ロボット
JPWO2022219759A1 (ja) * 2021-04-14 2022-10-20
JP7720907B2 (ja) 2021-04-14 2025-08-08 株式会社Fuji ロボット
CN114633281A (zh) * 2022-02-28 2022-06-17 浙江大学 一种抗侧倾高功率密度机器人关节驱动单元
CN114633281B (zh) * 2022-02-28 2023-12-29 浙江大学 一种抗侧倾高功率密度机器人关节驱动单元
CN116117857A (zh) * 2022-09-30 2023-05-16 广东天太机器人有限公司 机器人关节模组
CN116117857B (zh) * 2022-09-30 2023-08-15 广东天太机器人有限公司 机器人关节模组

Also Published As

Publication number Publication date
JP5385000B2 (ja) 2014-01-08

Similar Documents

Publication Publication Date Title
JP5385000B2 (ja) 電動回転継手
EP2973957B1 (en) Air-cooled electric machine and method of assembling the same
US9077230B2 (en) Electric motor with heat dissipating device
CN1913297B (zh) 车辆用旋转电机
JP2015122856A (ja) 回転電機一体型制御装置
JP2019531044A (ja) 内部冷却システムを有する密閉型回転電気機械
JP7022265B2 (ja) 真空ポンプ
JP4339832B2 (ja) 車両用回転電機
JP2006166681A (ja) モータ制御装置
CN1244061A (zh) 带自冷风扇的电动机
US4859888A (en) Cross flow type cooling fan device
JP5373315B2 (ja) モータ組立体およびポンプ装置
JP6560655B2 (ja) 送風機
US11279201B2 (en) Air cooling of the electronics of a BLDC motor
JP6350651B2 (ja) 電動機装置
JP7086238B1 (ja) 制御装置一体型回転電機
CN101090210A (zh) 风扇及其内转子马达
JP2002354750A (ja) モータ装置
JP4014101B2 (ja) ロータファン駆動装置、及び、このロータファン駆動装置を備えた冷却装置、換気装置、吸排液装置
KR200260280Y1 (ko) 전동기의 냉각구조
KR200359518Y1 (ko) 영구자석 모터
KR102393128B1 (ko) 구동유닛 및 이를 포함하는 쿨링장치
JP2009207295A (ja) 電動モータ、および電動回転継手
TW201107609A (en) Inner-rotor type fan
KR19990069019A (ko) 냉각장치 및 이를 이용한 팬모터

Legal Events

Date Code Title Description
A621 Written request for application examination

Free format text: JAPANESE INTERMEDIATE CODE: A621

Effective date: 20120329

A131 Notification of reasons for refusal

Free format text: JAPANESE INTERMEDIATE CODE: A131

Effective date: 20130514

A977 Report on retrieval

Free format text: JAPANESE INTERMEDIATE CODE: A971007

Effective date: 20130516

A521 Written amendment

Free format text: JAPANESE INTERMEDIATE CODE: A523

Effective date: 20130716

TRDD Decision of grant or rejection written
A01 Written decision to grant a patent or to grant a registration (utility model)

Free format text: JAPANESE INTERMEDIATE CODE: A01

Effective date: 20130917

A61 First payment of annual fees (during grant procedure)

Free format text: JAPANESE INTERMEDIATE CODE: A61

Effective date: 20131003

R150 Certificate of patent or registration of utility model

Ref document number: 5385000

Country of ref document: JP

Free format text: JAPANESE INTERMEDIATE CODE: R150

Free format text: JAPANESE INTERMEDIATE CODE: R150

LAPS Cancellation because of no payment of annual fees