JP2010005652A - 絶縁導線の被覆剥離方法 - Google Patents

絶縁導線の被覆剥離方法 Download PDF

Info

Publication number
JP2010005652A
JP2010005652A JP2008167068A JP2008167068A JP2010005652A JP 2010005652 A JP2010005652 A JP 2010005652A JP 2008167068 A JP2008167068 A JP 2008167068A JP 2008167068 A JP2008167068 A JP 2008167068A JP 2010005652 A JP2010005652 A JP 2010005652A
Authority
JP
Japan
Prior art keywords
coating
core wire
laser
peeling
laser light
Prior art date
Legal status (The legal status is an assumption and is not a legal conclusion. Google has not performed a legal analysis and makes no representation as to the accuracy of the status listed.)
Granted
Application number
JP2008167068A
Other languages
English (en)
Other versions
JP5305223B2 (ja
Inventor
Akira Akasaka
朗 赤坂
Hiroshi Saito
洋志 斎藤
Toshihiko Sato
寿彦 佐藤
Current Assignee (The listed assignees may be inaccurate. Google has not performed a legal analysis and makes no representation or warranty as to the accuracy of the list.)
TDK Corp
Original Assignee
TDK Corp
Priority date (The priority date is an assumption and is not a legal conclusion. Google has not performed a legal analysis and makes no representation as to the accuracy of the date listed.)
Filing date
Publication date
Application filed by TDK Corp filed Critical TDK Corp
Priority to JP2008167068A priority Critical patent/JP5305223B2/ja
Publication of JP2010005652A publication Critical patent/JP2010005652A/ja
Application granted granted Critical
Publication of JP5305223B2 publication Critical patent/JP5305223B2/ja
Active legal-status Critical Current
Anticipated expiration legal-status Critical

Links

Images

Landscapes

  • Manufacturing Cores, Coils, And Magnets (AREA)
  • Removal Of Insulation Or Armoring From Wires Or Cables (AREA)
  • Laser Beam Processing (AREA)
  • Coil Winding Methods And Apparatuses (AREA)

Abstract

【課題】継線箇所から確実に被覆を除去する被覆剥離方法を提供する。
【解決手段】芯線と、芯線を覆う絶縁被覆とから構成される絶縁導線の絶縁被覆を剥離する剥離方法であって、絶縁導線を炉内に入れて加熱し絶縁被覆を脆化させ、絶縁被覆を破断し易くする脆化工程と、絶縁導線の脆化した絶縁被覆に短パルスレーザを照射し、芯線と絶縁被覆との界面に気泡を発生させ、気泡を膨張させて脆化した絶縁被覆を破断して細分化した状態に破裂させ、芯線の表面から除去する被覆剥離工程と、を備えた絶縁導線の被覆剥離方法を提供する。
【選択図】図5

Description

本発明は絶縁導線の被覆剥離方法に関し、特にレーザ光を用いた絶縁導線の被覆剥離方法に関する。
従来から電子機器には導線として絶縁導線が用いられている。この絶縁導線は、一例として、芯線として銅線を使用すると共に芯線を覆う絶縁被覆としてポリウレタン被覆を使用している。ポリウレタン被覆は高耐熱性を備えないため、ポリウレタン被覆を使用した導線を電子機器の電極に継線する場合には、予め被覆を剥離させることなく、継線時の熱により継線と同時に被覆を剥離していた。
また、絶縁導線が使用された電子機器の種類によっては、導線に高耐久性、具体的には高耐熱性が要求されることがあり、この場合に絶縁被覆としてポリアミドイミドが使用される場合がある。ポリアミドイミドは、融点がポリウレタンに比較して高いため、継線時の熱によりポリアミドイミド被覆を剥離させることは容易ではない。よって、継線前に被覆を剥離する必要があり、回転刃等により機械的に剥離する方法や、特許文献1に示すように、レーザにより被覆を溶融させて剥離する方法が提案されていた。
特表2007−516083号公報
上述のポリアミドイミドが被覆された絶縁導線はコイル部品等に巻回されるため、柔軟・弾力性を要求され、故に被覆も柔軟・弾力性を備えている。これに対してレーザを用いた従来の被覆剥離方法では、被覆を破断して剥離させることはできるが、柔軟・弾力性を備えている被覆のため、すべてが破断せずに芯線上に残存する場合があった。この状態で継線を行うと継線箇所に被覆が巻き込まれ、継線不良が発生していた。そこで本発明は、継線箇所から確実に被覆を除去する被覆剥離方法を提供することを目的とする。
上記課題を解決するために本発明は、芯線と、芯線を覆う被覆とから構成される絶縁導線の被覆を剥離する剥離方法であって、絶縁導線を加熱するか紫外線を照射して被覆を脆化させる脆化工程と、絶縁導線の脆化した被覆に短パルスレーザを照射し、芯線と被覆との界面に気泡を発生させ、気泡を膨張させて脆化した被覆を破裂し飛散させて芯線表面から除去する被覆剥離工程と、を備えた絶縁導線の被覆剥離方法を提供する。
このような方法によると、加熱または紫外線照射により被覆が脆くなるため、脆性破壊されやすくなる。この状態でレーザを照射し界面に気泡を発生させ被覆を剥離させると、脆い被覆であるため、容易に細分化されて破断・飛散し、芯線の表面から被覆を確実に除去することができる。
上記方法では、脆化工程において、被覆剥離したい箇所のみ脆化させる選択脆化工程を含むことが好ましい。
この様な方法によると、被覆剥離したい箇所のみ確実に被覆を芯線表面から排除し、それ以外の箇所では芯線を被覆された状態に保つことができる。
本発明の被覆剥離方法によれば、継線箇所において確実に被覆を除去することができる。
本発明の実施の形態による絶縁導線の被覆剥離方法について図1から図11を参照しながら説明する。図1に示されるレーザ剥離機1は、レーザ発振器2と、エキスパンダ3と、マスク4と、転写レンズ5と、ダイクロイックミラー6と、保持台7と、観察装置8とから主に構成されている。
レーザ発振器2は、パルスレーザを照射するYAGレーザ照射装置であり、照射されるパルスレーザの波長が1064nm、パルス幅が100nsec以下であって好ましくは40nsec以下、周波数が20Hz、照射エネルギー量が230mJ/cm±10%程度となる装置である。
エキスパンダ3は、レーザ発振器2から照射されるレーザ光の光路上に配置されており、内部に凸レンズと凹レンズとを備えて一方からレーザ光が入力されて他方から出力する際に、レーザ光の光束径を縮小して出力する装置である。
マスク4はガラスを基材として構成されており、エキスパンダ3を通過したレーザ光の光路上に配置されている。またマスク4は透明な箇所であってレーザ光が透過可能な透過領域4Aと、透過領域4A周縁部分である透過領域周縁部4Bとを備えている。透過領域周縁部4Bは、ブラスト加工等により磨りガラスとなっているため、透過領域周縁部4Bに照射されたレーザ光は散乱して、透過領域4Aに照射されたレーザ光のみマスクを透過可能となっている。また透過領域4Aは、後述の照射領域D(図6)と対応するよう、光路方向と直交する断面が略長方形に構成されている。
マスク4を通過したレーザ光の光路上には、ダイクロイックミラー6が配置されレーザ光を約90度の角度で反射して、転写レンズ5に導光している。またダイクロイックミラー6は、特定の波長(本実施の形態のダイクロイックミラー6については、1064nm付近の波長)のみを反射する特徴を備えているため、通常の可視光は透過可能である。
ダイクロイックミラー6で反射されたレーザ光は転写レンズ5を通過する。転写レンズ5は凸レンズから構成されており、入射されたレーザ光を保持台7上方位置で収束可能としている。また転写レンズ5はその光路方向(以下Z軸方向)に移動可能となっており、故に焦点位置もZ軸方向に移動可能となっている。
保持台7は、レーザ光が照射されるコイル部品10を保持するパレット71と、パレット71を図示せぬ吸着機構により担持すると共に、Z軸方向と直交するX軸方向及びY軸方向に移動可能なX−Yステージ72とから主に構成されている。またパレット71の上方位置には、エアを噴射するエアブロー73が設けられ、X−Yステージ72の下方には集塵機74が配置されている。
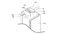
パレット71に保持されているコイル部品10は、差動信号インターフェースに用いられるコモンモードフィルタであり、その寸法は、長手方向で4mm程度であり、図3に示されるように、ドラムタイプのコア11と、二本の被覆導線12と、電極である金属端子13、13とより構成されている。コア11は、フェライト等の磁性粉体から圧縮、焼結等の過程を経て成形されている。
コア11は長手方向に直交する断面が略長方形の巻芯部11Aと、巻芯部11Aの長手方向両端に設けられ、略同一形状の一対の鍔部11B、11Bより構成される。鍔部11B、11Bについては略同一形状であるため、特に明記しない限り片側のみで説明する。
鍔部11Bは、巻芯部11Aと連結する部分である主胴部11Cと、主胴部11Cよりそれぞれ反対方向に延出されている一対の副胴部11D、11Dとから構成されている。
副胴部11D、11Dには、それぞれ金属端子13、13が装着されている。この一対の副胴部11D、11D及び金属端子13、13は、主胴部11Cを挟んで対称に構成されているため、以下一方の副胴部11D及び金属端子13のみについて説明する。
金属端子13、13は、基部13B(図4)の両端より延出される一対の脚部13A及び脚部13Cより略コの字形状に形成されている。この金属端子13は、脚部13A及び脚部13Cで、副胴部11Dを狭持して、副胴部11Dに装着される。
脚部13Aの延出方向側辺からは、切片13Dが延出されている。切片13Dの脚部13A自由端側には固定部13Fが設けられ、脚部13A固定基端側には溶融部13Eが設けられている。また脚部13Cはコイル部品10を図示せぬ基板に実装する際に、基板上の電極と電気的に接合される実装箇所となる。
巻芯部11Aに巻回される二本の被覆導線12は、図4に示されるように、それぞれ銅線である芯線12Aとポリアミドイミドからなる絶縁被覆12Bとから構成される。被覆導線12は、外径が約90μm、芯線径が約70μmである。この被覆導線12の両端部には継線箇所12Cが規定されており、この継線箇所12Cが後述の剥離箇所となる。絶縁被覆12Bは常温下においては、柔軟性及び弾力性を備えており、被覆導線12を巻芯部11Aに巻回する際に、好適に巻芯部11Aに追従することができる。また絶縁被覆12Bを融点近くの温度まで加熱すると、絶縁被覆12Bは硬化して脆くなる(脆化)ため、加熱前に比べて破断し易くなる。よってこの脆化した状態において絶縁被覆12Bに衝撃を加えると、絶縁被覆12Bは容易に破断して細分化される。
ダイクロイックミラー6に関して転写レンズ5の反対側には、観察装置8が配置されている。観察装置8は、ミラー81と、補正レンズ82と、CCDカメラレンズ83と、リアコンバータレンズ84と、CCDカメラ85と、画像処理装置86と、モニタ87と、照明88とから構成されている。ミラー81は、転写レンズ5からダイクロイックミラー6へと向かう直線上(Z軸上)に位置し、その鏡面がZ軸と約45度を成すように配置されている。CCDカメラ85は、CCDカメラ85からミラー81へと向かう直線がZ軸と直交し、CCDカメラ85からミラー81へと向かう直線とミラー81の鏡面とが約45度を成すように配置されている。ダイクロイックミラー6では可視光を透過するため、レーザ光が照射されているコイル部品10の、転写レンズ5及びダイクロイックミラー6を介してミラー81に写っている状態をCCDカメラ85で撮影することができる。補正レンズ82は、CCDカメラ85とミラー81との間に配置されて、収差を補正している。CCDカメラレンズ83は、CCDカメラに像を結ぶためのレンズであり、リアコンバータレンズ84は倍率変更に係るレンズである。画像処理装置86は、CCDカメラ85で撮影した画像を処理してモニタ87に表示する装置であり、照明88は可視光線をコイル部品10に照射して視認しやすくしている。
またレーザ剥離機1は、図2に示されるように、演算装置であるCPU91と、CPU91で行う処理を記憶しているメモリ92とを備えている。CPU91により、レーザ発振器2から照射されるレーザ光を制御すると共に、X−Yステージ72の移動量を制御する搬送系制御部93、エアブロー73及び集塵機74の動作を制御するエアブロー集塵制御部94、転写レンズ5のz軸方向の移動を制御する駆動系制御部95、及び照明88を制御する照明制御部96を備えて各制御を行っている。
図5に示されるフロー図に基づき、レーザ剥離機1で被覆導線12の絶縁被覆12Bを剥離する被覆剥離工程について説明する。先ずS01のステップで、図6に示されるように、被覆導線12が固定部13Fにより脚部13A上に保持された状態で、コイル部品10を図示せぬ炉内に配置して加熱する(脆化工程)。この時の加熱温度は絶縁被覆12Bの融点より低く、かつ絶縁被覆12Bが脆化する温度とする。
加熱後にS02のステップで、図6に示されるように、コイル部品10をパレット71に固定し、この固定したパレット71をX−Yステージ72上に載置する。そしてS03のステップに進み、レーザ剥離機1を起動させるべく図示せぬスタートスイッチをONにする。図示せぬスタートスイッチをONにしたことにより、パレット71がX−Yステージ72上に吸着されて固定される(S04)。この状態でのX−Yステージ72の位置を供給位置と規定する。その後にS05へと進み、搬送系制御部93によりX−Yステージ72を移動させて照射位置に照射領域D(図6)であるコイル部品10の副胴部11D部分を配置する。X−Yステージ72の移動が完了したのをモニタ87で確認した後に(S06)、S07へ進んで、レーザ発振器2からレーザ光を照射し、絶縁被覆12Bを加熱する(被覆剥離工程)。
レーザ発振器2から照射されたレーザ光はエキスパンダ3に入射し、そのレーザ光の光束が縮小されて、その縮小されたレーザ光がマスク4の透過領域4A付近に照射される。この時にエキスパンダ3におけるレーザ光の縮小率は、縮小されたレーザ光の断面内に少なくとも透過領域4Aが入る程度の面積となるような縮小率とすることが好ましい。このような縮小率とすることにより、透過領域4Aを透過するレーザ光の単位面積当たりのエネルギー量を高めることができる。
マスク4に照射されたレーザ光は、照射領域D(図6)に対応した光路方向と直交する断面が略長方形となる部分のみマスク4を透過する。この時に透過領域4A以外の照射位置となる透過領域周縁部4Bでは、レーザ光を散乱してレーザ光がマスク4を透過することを防止している。レーザ光はエキスパンダ3によりその光束が縮小されているため、単位面積当たりのエネルギーは、レーザ発振器2から照射された時より大きくなっている。しかし、マスク4に照射されるレーザ光のエネルギーは、パレット71上の照射位置近傍における収束されたレーザ光のエネルギーより遙かに小さいため、透過領域周縁部4Bがレーザ光により劣化することが抑制され、マスク4の長寿命化を図ることができる。
マスク4を透過したレーザ光は、ダイクロイックミラー6により直角に反射されて転写レンズ5へと照射される。転写レンズ5では、レーザ光の単位面積当たりのエネルギー量を増加させるためにレーザ光を収束させて照射領域へ照射する。この場合に、照射領域の大きさは、マスク4での光束径をφb、照射領域の光束径をφd、マスク4から転写レンズ5までの距離:f0、転写レンズ5から照射領域までの距離:f1とした場合に、φb=f0÷f1×φdの式で算出される。従って、駆動系制御部95により転写レンズ5をZ軸方向に移動し、好適な照射領域となるように予め調整しておく。尚、X−Yステージ72自体をZ軸方向に動かすことも想定されるが、X−Yステージ72は、既にX軸方向、Y軸方向に移動可能な機構を備えているため、更にZ軸方向に動かす機能を備えるとその構成が複雑になり、移動に係る精度の維持が難しくなる。故に転写レンズ5をZ軸方向に移動させる構成を採ることにより、複雑な構成を採る必要が無くなり、X・Y・Z軸方向の制御を高精度に行うことが可能となっている。
転写レンズ5を透過して収束されたレーザ光が照射領域へ照射される。この場合にレーザ光は絶縁被覆12Bを透過して芯線12Aの表面に照射されるため、芯線12Aの表面がレーザ光のエネルギーを吸収し、絶縁被覆12Bと芯線12Aとの間の界面12aが急激に温度上昇する。この温度上昇(常温から1000℃以上への温度変化)が極短時間で起こるため、界面12aの絶縁被覆12Bを構成するポリアミドイミドが化学変化し、溶融することなくガス化する。よって図7(b)に示すように、界面12aに無数の気泡12bが発生する。
レーザ光が照射された箇所の温度上昇により、図7(c)に示すように気泡12bが界面12aに沿って急激に体積膨張し、連続的に芯線12A表面から絶縁被覆12Bを剥離していく。気泡12bの体積膨張が進むと、絶縁被覆12Bが体積膨張に係る応力に耐えられなくなり、図7(d)に示すように、絶縁被覆12Bの気泡12bを覆う箇所が破裂する。この気泡12b発生〜膨張〜破裂までの過程は極短時間で行われるため、絶縁被覆12Bの気泡12bを覆う箇所の破裂は衝撃を伴う。この衝撃により脆化した絶縁被覆12Bは、細分化された状態で破断する。絶縁被覆12Bが細分化されて破断することにより、絶縁被覆12Bの照射領域D境界部分で剥離されない箇所(照射領域D外)と剥離される箇所(照射領域D)とが明確な状態で、絶縁被覆12Bが芯線12A表面より飛散し剥離する。即ち、照射領域D外の絶縁被覆12Bに付着した状態で照射領域Dの絶縁被覆12Bが剥離することが無く、照射領域D外の絶縁被覆12Bから確実に切り離された状態で照射領域Dの絶縁被覆12Bが剥離する。これにより、照射領域Dの絶縁被覆12Bは剥離した後に芯線12A上から確実に除去され、確実に照射領域Dで芯線12Aを露出させることができる。
飛散して除去された絶縁被覆12Bは、エアブロー73で吹き飛ばされて集塵機74で吸い取られる。よってコイル部品10上に飛散した絶縁被覆12Bが残留することが抑制され、後に行われる継線工程において継線不良が生じ難くなっている。そして、図7(e)に示すように、継線箇所12Cの絶縁被覆12Bが全て除去され、図8に示されるように芯線12A表面が露出してレーザ光による剥離が完了する。この時に、レーザ光は、照射領域Dのみにしか照射されないため、照射領域D外にある被覆導線12や、コア11に不要なレーザ光が照射されることが抑制される。従って照射領域D外がレーザ光で加熱されることが無く、コイル部品10の破損を防止することができる。
以上の工程が終了した後に、S08のステップに進み、未だ被覆剥離が完了していない被覆導線があるのならば(S08:NO)、S09へ進んで、X−Yステージ72が移動して未だ被覆剥離が完了していない被覆導線の被覆剥離を行うべくS05へと戻る。全ての被覆導線の被覆剥離が完了している場合ならば(S08:YES)、S10へと進んで、X−Yステージ72を供給位置へと戻す。その後パレット71の吸着を停止し(S11)、パレット71及びパレット71上のコイル部品10を取り出して(S12)、被覆剥離工程が終了する。
被覆剥離工程が終了した後に、露出部分を覆うように溶融部13E(図4)が折り曲げられ、その後に図示せぬレーザ等を用いて、図9に示されるように溶融部13E及び芯線12Aが溶接され、コイル部品10が完成する。この時に継線箇所となる芯線12A上の絶縁被覆12Bは剥離されて確実に取り払われているため、継線箇所に絶縁被覆12Bが巻き込まれることはなく、継線不良を抑制することができる。
本発明による絶縁導線の被覆剥離装置及び被覆剥離方法は、上述した実施の形態に限定されず、特許請求の範囲に記載した範囲で種々の変形や改良が可能である。例えば、上記実施の形態では、加熱手段としてコイル部品10を図示せぬ炉に入れることにより脆化工程を行っているが、他の加熱手段としてレーザ発振器2から照射されたレーザ光を用いて脆化工程を行っても良い。このときにレーザ発振器2から照射されるレーザ光の出力を弱めると共に転写レンズ5を移動させ、絶縁被覆12Bに好適にレーザ光が当たるように調節することにより、融点より低い温度で絶縁被覆12Bを加熱することができる。またレーザ光により脆化工程を行うに際し、レーザ発振器2のほかに低出力の第二レーザ発振器を用いても良い。この第二レーザ発振器としては、CO2レーザ等の遠赤外波長のレーザ光を照射する発信器が例示される。
またレーザ発振器に限らず、他の加熱手段としてキセノンランプや、ハロゲンランプ等の熱線を発する機器を用いても良い。これらのランプ等から照射される熱線をレンズで集光することにより、絶縁被覆12Bを加熱して脆化させることができる。
また図10に示されるように、被覆導線12に直接ヒータチップ99等の発熱体を当接させ、その熱により脆化工程を行っても良い。この時にヒータチップ99は、被覆導線12の外形に添った当接面99Aを備えることが好ましい。この様な構成によると、当接面99Aの全体で絶縁被覆12Bを加熱することができ、より好適に脆化工程を行うことができる。また被覆導線12の剥離不要な箇所は加熱されないため、好適に剥離が必要な箇所のみ剥離させることができる。
また絶縁被覆12Bとしてポリアミドイミドを用いたが、これに限らず加熱されることにより脆化する素材であるならば、他の素材であっても良い。またUV硬化型の樹脂を用いても良い。この場合には、加熱手段に代えて紫外線を照射することにより、脆化工程を行うことができる。
また上述のように、レーザ光や、熱線、及び紫外線を照射する際、図11に示されるように、被覆導線12を挟んで光源の反対側に、反射鏡9を設けても良い。この様な構成によると、一方向からの照射で被覆導線12の略全面を照射することができ、絶縁被覆12Bをより好適に脆化することができる。またレーザ光や、熱線、及び紫外線を照射する際に、図6に示されるように、マスク等により照射領域Dを規定して照射しても良い(選択脆化工程)。この様な構成であれば照射領域D外の被覆導線12が脆化することを抑制することができる。
本発明の実施の形態に係る被覆剥離装置を表す概念図。 本発明の実施の形態に係る被覆剥離装置の制御に係るブロック図。 本発明の実施の形態に係る被覆剥離装置で剥離される絶縁導線を備えたコイル部品の平面図。 本発明の実施の形態に係る被覆剥離装置で剥離される絶縁導線を備えたコイル部品の部分斜視図。 本発明の実施の形態に係る被覆剥離装置での被覆剥離工程に係るチャート。 本発明の実施の形態に係る被覆剥離装置で剥離される絶縁導線を備えたコイル部品の部分平面図。 本発明の実施の形態に係る被覆剥離工程で(a)パルスレーザ照射、(b)気泡発生、(c)気泡膨張、(d)気泡破裂、(e)剥離完了の状態を表す部分断面図。 本発明の実施の形態に係る被覆剥離装置で剥離される絶縁導線を備えたコイル部品の継線完了前の状態の部分斜視図。 本発明の実施の形態に係る被覆剥離装置で剥離される絶縁導線を備えたコイル部品の絶縁導線が継線された状態の部分斜視図。 本発明の実施の形態に係る被覆剥離装置の変更例にかかる被覆導線へヒータチップを当接させた状態を示す図。 本発明の実施の形態に係る被覆剥離装置の変更例にかかる被覆導線への照射状態を示す図。
符号の説明
1・・レーザ剥離機 2・・レーザ発振器 3・・エキスパンダ 4・・マスク
4A・・透過領域 4B・・透過領域周縁部 5・・転写レンズ
6・・ダイクロイックミラー 7・・保持台 8・・観察装置 9・・反射鏡
10・・コイル部品 11・・コア 11A・・巻芯部 11B・・鍔部
11C・・主胴部 11D・・副胴部 12・・被覆導線 12A・・芯線
12B・・絶縁被覆 12C・・継線箇所 12a・・界面 12b・・気泡
13・・金属端子 13A・・脚部 13B・・基部 13C・・脚部
13D・・切片 13E・・溶融部 13F・・固定部 71・・パレット
72・・ステージ 73・・エアブロー 74・・集塵機 81・・ミラー
82・・補正レンズ 83・・カメラレンズ 84・・リアコンバータレンズ
85・・カメラ 86・・画像処理装置 87・・モニタ 88・・照明
91・・CPU 92・・メモリ 93・・搬送系制御部
94・・エアブロー集塵制御部 95・・駆動系制御部 96・・照明制御部

Claims (2)

  1. 芯線と、該芯線を覆う被覆とから構成される絶縁導線の被覆を剥離する剥離方法であって、
    該絶縁導線を加熱するか紫外線を照射して該被覆を脆化させる脆化工程と、
    該絶縁導線の脆化した該被覆に短パルスレーザを照射し、該芯線と該被覆との界面に気泡を発生させ、該気泡を膨張させて脆化した該被覆を破裂し飛散させて該芯線表面から除去する被覆剥離工程と、を備えることを特徴とする絶縁導線の被覆剥離方法。
  2. 該脆化工程において、被覆剥離したい箇所のみ脆化させる選択脆化工程を含むことを特徴とする請求項1に記載の被覆剥離方法。
JP2008167068A 2008-06-26 2008-06-26 絶縁導線の被覆剥離方法 Active JP5305223B2 (ja)

Priority Applications (1)

Application Number Priority Date Filing Date Title
JP2008167068A JP5305223B2 (ja) 2008-06-26 2008-06-26 絶縁導線の被覆剥離方法

Applications Claiming Priority (1)

Application Number Priority Date Filing Date Title
JP2008167068A JP5305223B2 (ja) 2008-06-26 2008-06-26 絶縁導線の被覆剥離方法

Publications (2)

Publication Number Publication Date
JP2010005652A true JP2010005652A (ja) 2010-01-14
JP5305223B2 JP5305223B2 (ja) 2013-10-02

Family

ID=41586718

Family Applications (1)

Application Number Title Priority Date Filing Date
JP2008167068A Active JP5305223B2 (ja) 2008-06-26 2008-06-26 絶縁導線の被覆剥離方法

Country Status (1)

Country Link
JP (1) JP5305223B2 (ja)

Cited By (6)

* Cited by examiner, † Cited by third party
Publication number Priority date Publication date Assignee Title
JP2012096271A (ja) * 2010-11-03 2012-05-24 Trinity Industrial Co Ltd レーザー加工装置
JP2018015765A (ja) * 2016-07-25 2018-02-01 株式会社村田製作所 粉塵対策装置
CN108598782A (zh) * 2018-06-01 2018-09-28 东莞铭普光磁股份有限公司 一种sfp-dd高速信号电连接器及其组装方法
CN111540600A (zh) * 2020-04-29 2020-08-14 安徽英杰精工机械有限公司 一种带有防护组件的盘式多绕线辊筒缠绕机
JP2021184445A (ja) * 2020-05-22 2021-12-02 パナソニックIpマネジメント株式会社 巻線装置及びコモンモードチョークコイル
WO2023176738A1 (ja) * 2022-03-18 2023-09-21 株式会社村田製作所 コイル部品およびコイル部品の製造方法

Citations (6)

* Cited by examiner, † Cited by third party
Publication number Priority date Publication date Assignee Title
JPH01295609A (ja) * 1988-05-24 1989-11-29 Matsushita Electric Ind Co Ltd 絶縁性被覆膜の除去方法および除去装置
JPH05227629A (ja) * 1992-02-14 1993-09-03 Furukawa Electric Co Ltd:The 電気絶縁電線の端末処理方法
JPH0638330A (ja) * 1992-07-17 1994-02-10 Furukawa Electric Co Ltd:The 絶縁電線のエナメル皮膜の剥離方法
JPH09174263A (ja) * 1995-12-22 1997-07-08 Miyachi Technos Corp 被覆線の絶縁被膜除去方法及び装置
JP2004063204A (ja) * 2002-07-26 2004-02-26 Aisin Seiki Co Ltd 導線の接合構造
JP2007151319A (ja) * 2005-11-29 2007-06-14 Tdk Corp 被覆剥離装置及び被覆剥離方法

Patent Citations (6)

* Cited by examiner, † Cited by third party
Publication number Priority date Publication date Assignee Title
JPH01295609A (ja) * 1988-05-24 1989-11-29 Matsushita Electric Ind Co Ltd 絶縁性被覆膜の除去方法および除去装置
JPH05227629A (ja) * 1992-02-14 1993-09-03 Furukawa Electric Co Ltd:The 電気絶縁電線の端末処理方法
JPH0638330A (ja) * 1992-07-17 1994-02-10 Furukawa Electric Co Ltd:The 絶縁電線のエナメル皮膜の剥離方法
JPH09174263A (ja) * 1995-12-22 1997-07-08 Miyachi Technos Corp 被覆線の絶縁被膜除去方法及び装置
JP2004063204A (ja) * 2002-07-26 2004-02-26 Aisin Seiki Co Ltd 導線の接合構造
JP2007151319A (ja) * 2005-11-29 2007-06-14 Tdk Corp 被覆剥離装置及び被覆剥離方法

Cited By (8)

* Cited by examiner, † Cited by third party
Publication number Priority date Publication date Assignee Title
JP2012096271A (ja) * 2010-11-03 2012-05-24 Trinity Industrial Co Ltd レーザー加工装置
JP2018015765A (ja) * 2016-07-25 2018-02-01 株式会社村田製作所 粉塵対策装置
CN108598782A (zh) * 2018-06-01 2018-09-28 东莞铭普光磁股份有限公司 一种sfp-dd高速信号电连接器及其组装方法
CN108598782B (zh) * 2018-06-01 2024-03-26 广东拓亿达电子科技有限公司 一种sfp-dd高速信号电连接器及其组装方法
CN111540600A (zh) * 2020-04-29 2020-08-14 安徽英杰精工机械有限公司 一种带有防护组件的盘式多绕线辊筒缠绕机
JP2021184445A (ja) * 2020-05-22 2021-12-02 パナソニックIpマネジメント株式会社 巻線装置及びコモンモードチョークコイル
WO2023176738A1 (ja) * 2022-03-18 2023-09-21 株式会社村田製作所 コイル部品およびコイル部品の製造方法
JPWO2023176738A1 (ja) * 2022-03-18 2023-09-21

Also Published As

Publication number Publication date
JP5305223B2 (ja) 2013-10-02

Similar Documents

Publication Publication Date Title
JP5305223B2 (ja) 絶縁導線の被覆剥離方法
US8283592B2 (en) Laser welding method
JP2009164310A (ja) 電子部品リペア装置および電子部品リペア方法
KR20090097103A (ko) 엑시머 램프 및 그 엑시머 램프의 제조 방법
JPWO2016147874A1 (ja) 樹脂製チューブの接合方法
JP2007151319A (ja) 被覆剥離装置及び被覆剥離方法
JP2005349477A (ja) メタルピンにメタルフォイルを溶接するための方法及び密閉ランプ容器を貫く電流リードスルーを有するランプ
EP4238684B1 (en) Welding method and laser device
CN101259569A (zh) 制造工件的方法和激光加工设备
JP4275120B2 (ja) コイル部品の製造方法及び製造装置
JP2008155246A (ja) レーザ加工機
CN101533753B (zh) 高压放电灯以及光照射装置
JP5118252B2 (ja) 高圧放電ランプ、ランプユニット、投射型画像表示装置、および高圧放電ランプの製造方法
WO2004081963A1 (ja) 放電ランプの製造方法
JP5216934B1 (ja) 高圧放電ランプおよび当該高圧放電ランプを用いたプロジェクタ
JP6583176B2 (ja) 粉塵対策装置
WO2007004259A1 (ja) 超微細部品の取り外し方法、及び装置
JPH06141432A (ja) 導線の絶縁被膜除去装置
JPH06216516A (ja) 電子部品のはんだ付方法
JP2004079323A (ja) 放電管の製造方法
JP2009125779A (ja) レーザ加工装置、レーザ加工方法およびコイル部品の製造方法
EP1643531A1 (en) Discharge lamp producing method
JPH0228395A (ja) 導体箔除去方法及び装置
CN108807202A (zh) 一种激光制作钎料凸点的方法
CN1937168A (zh) 灯装置及照明器具

Legal Events

Date Code Title Description
A621 Written request for application examination

Free format text: JAPANESE INTERMEDIATE CODE: A621

Effective date: 20110224

A977 Report on retrieval

Free format text: JAPANESE INTERMEDIATE CODE: A971007

Effective date: 20120913

A131 Notification of reasons for refusal

Free format text: JAPANESE INTERMEDIATE CODE: A131

Effective date: 20121004

A521 Request for written amendment filed

Free format text: JAPANESE INTERMEDIATE CODE: A523

Effective date: 20121113

TRDD Decision of grant or rejection written
A01 Written decision to grant a patent or to grant a registration (utility model)

Free format text: JAPANESE INTERMEDIATE CODE: A01

Effective date: 20130603

R150 Certificate of patent or registration of utility model

Free format text: JAPANESE INTERMEDIATE CODE: R150

Ref document number: 5305223

Country of ref document: JP

Free format text: JAPANESE INTERMEDIATE CODE: R150

A61 First payment of annual fees (during grant procedure)

Free format text: JAPANESE INTERMEDIATE CODE: A61

Effective date: 20130616

R250 Receipt of annual fees

Free format text: JAPANESE INTERMEDIATE CODE: R250

R250 Receipt of annual fees

Free format text: JAPANESE INTERMEDIATE CODE: R250