JP2010004324A - 無線電力伝送システム、電力送信装置及びレクテナ基地局 - Google Patents

無線電力伝送システム、電力送信装置及びレクテナ基地局 Download PDF

Info

Publication number
JP2010004324A
JP2010004324A JP2008161472A JP2008161472A JP2010004324A JP 2010004324 A JP2010004324 A JP 2010004324A JP 2008161472 A JP2008161472 A JP 2008161472A JP 2008161472 A JP2008161472 A JP 2008161472A JP 2010004324 A JP2010004324 A JP 2010004324A
Authority
JP
Japan
Prior art keywords
power transmission
base station
phase
pilot signal
rectenna
Prior art date
Legal status (The legal status is an assumption and is not a legal conclusion. Google has not performed a legal analysis and makes no representation as to the accuracy of the status listed.)
Granted
Application number
JP2008161472A
Other languages
English (en)
Other versions
JP4715874B2 (ja
Inventor
Atsushi Yamamoto
敦士 山本
Hiroyuki Sato
裕之 佐藤
Hiroshi Ikematsu
寛 池松
Koji Naemura
康次 苗村
Current Assignee (The listed assignees may be inaccurate. Google has not performed a legal analysis and makes no representation or warranty as to the accuracy of the list.)
Mitsubishi Electric Corp
Original Assignee
Mitsubishi Electric Corp
Priority date (The priority date is an assumption and is not a legal conclusion. Google has not performed a legal analysis and makes no representation as to the accuracy of the date listed.)
Filing date
Publication date
Application filed by Mitsubishi Electric Corp filed Critical Mitsubishi Electric Corp
Priority to JP2008161472A priority Critical patent/JP4715874B2/ja
Priority to US12/357,692 priority patent/US7888586B2/en
Publication of JP2010004324A publication Critical patent/JP2010004324A/ja
Application granted granted Critical
Publication of JP4715874B2 publication Critical patent/JP4715874B2/ja
Active legal-status Critical Current
Anticipated expiration legal-status Critical

Links

Images

Classifications

    • HELECTRICITY
    • H01ELECTRIC ELEMENTS
    • H01QANTENNAS, i.e. RADIO AERIALS
    • H01Q3/00Arrangements for changing or varying the orientation or the shape of the directional pattern of the waves radiated from an antenna or antenna system
    • H01Q3/26Arrangements for changing or varying the orientation or the shape of the directional pattern of the waves radiated from an antenna or antenna system varying the relative phase or relative amplitude of energisation between two or more active radiating elements; varying the distribution of energy across a radiating aperture
    • H01Q3/2605Array of radiating elements provided with a feedback control over the element weights, e.g. adaptive arrays
    • BPERFORMING OPERATIONS; TRANSPORTING
    • B64AIRCRAFT; AVIATION; COSMONAUTICS
    • B64GCOSMONAUTICS; VEHICLES OR EQUIPMENT THEREFOR
    • B64G1/00Cosmonautic vehicles
    • B64G1/22Parts of, or equipment specially adapted for fitting in or to, cosmonautic vehicles
    • B64G1/42Arrangements or adaptations of power supply systems
    • B64G1/428Power distribution and management
    • B64G1/4282Power distribution and management for transmitting power to earth or other spacecraft
    • BPERFORMING OPERATIONS; TRANSPORTING
    • B64AIRCRAFT; AVIATION; COSMONAUTICS
    • B64GCOSMONAUTICS; VEHICLES OR EQUIPMENT THEREFOR
    • B64G1/00Cosmonautic vehicles
    • B64G1/22Parts of, or equipment specially adapted for fitting in or to, cosmonautic vehicles
    • B64G1/66Arrangements or adaptations of apparatus or instruments, not otherwise provided for
    • HELECTRICITY
    • H01ELECTRIC ELEMENTS
    • H01QANTENNAS, i.e. RADIO AERIALS
    • H01Q1/00Details of, or arrangements associated with, antennas
    • H01Q1/12Supports; Mounting means
    • H01Q1/22Supports; Mounting means by structural association with other equipment or articles
    • H01Q1/24Supports; Mounting means by structural association with other equipment or articles with receiving set
    • H01Q1/248Supports; Mounting means by structural association with other equipment or articles with receiving set provided with an AC/DC converting device, e.g. rectennas
    • HELECTRICITY
    • H02GENERATION; CONVERSION OR DISTRIBUTION OF ELECTRIC POWER
    • H02JCIRCUIT ARRANGEMENTS OR SYSTEMS FOR SUPPLYING OR DISTRIBUTING ELECTRIC POWER; SYSTEMS FOR STORING ELECTRIC ENERGY
    • H02J50/00Circuit arrangements or systems for wireless supply or distribution of electric power
    • H02J50/20Circuit arrangements or systems for wireless supply or distribution of electric power using microwaves or radio frequency waves
    • H02J50/27Circuit arrangements or systems for wireless supply or distribution of electric power using microwaves or radio frequency waves characterised by the type of receiving antennas, e.g. rectennas
    • HELECTRICITY
    • H02GENERATION; CONVERSION OR DISTRIBUTION OF ELECTRIC POWER
    • H02JCIRCUIT ARRANGEMENTS OR SYSTEMS FOR SUPPLYING OR DISTRIBUTING ELECTRIC POWER; SYSTEMS FOR STORING ELECTRIC ENERGY
    • H02J50/00Circuit arrangements or systems for wireless supply or distribution of electric power
    • H02J50/40Circuit arrangements or systems for wireless supply or distribution of electric power using two or more transmitting or receiving devices
    • BPERFORMING OPERATIONS; TRANSPORTING
    • B64AIRCRAFT; AVIATION; COSMONAUTICS
    • B64GCOSMONAUTICS; VEHICLES OR EQUIPMENT THEREFOR
    • B64G1/00Cosmonautic vehicles
    • B64G1/22Parts of, or equipment specially adapted for fitting in or to, cosmonautic vehicles
    • B64G1/42Arrangements or adaptations of power supply systems
    • B64G1/44Arrangements or adaptations of power supply systems using radiation, e.g. deployable solar arrays
    • B64G1/443Photovoltaic cell arrays
    • YGENERAL TAGGING OF NEW TECHNOLOGICAL DEVELOPMENTS; GENERAL TAGGING OF CROSS-SECTIONAL TECHNOLOGIES SPANNING OVER SEVERAL SECTIONS OF THE IPC; TECHNICAL SUBJECTS COVERED BY FORMER USPC CROSS-REFERENCE ART COLLECTIONS [XRACs] AND DIGESTS
    • Y10TECHNICAL SUBJECTS COVERED BY FORMER USPC
    • Y10STECHNICAL SUBJECTS COVERED BY FORMER USPC CROSS-REFERENCE ART COLLECTIONS [XRACs] AND DIGESTS
    • Y10S136/00Batteries: thermoelectric and photoelectric
    • Y10S136/291Applications
    • Y10S136/292Space - satellite

Landscapes

  • Engineering & Computer Science (AREA)
  • Remote Sensing (AREA)
  • Power Engineering (AREA)
  • Aviation & Aerospace Engineering (AREA)
  • Computer Networks & Wireless Communication (AREA)
  • Radio Relay Systems (AREA)
  • Variable-Direction Aerials And Aerial Arrays (AREA)
  • Radio Transmission System (AREA)

Abstract

【課題】 この発明は、回路規模の増大を招くことなく、より効率的に、各電力送信装置から送信されるマイクロ波がレクテナ基地局において受信される際の位相を揃えることのできる無線電力伝送システム、電力送信装置及びレクテナ基地局を得ることを目的とする。
【解決手段】 レクテナ基地局は、電力送信装置の識別符号を指定し、この識別符号を含むコマンド信号を送信する。電力送信装置は、パイロット信号受信アンテナ11によりパイロット信号を受信し、追尾受信機19により合成された和信号を復調して、パイロット信号に重畳された識別符号を含むコマンド信号を再生し、コマンド判別器22は予め記憶している識別符号と比較して一致する場合に移相指令を出力する。この移相指令に基づき位相制御部23は移相器14の位相を変更する。レクテナ基地局は受信電力値を検出し、電力値が大きくなるようにコマンド送信を行う。
【選択図】 図4

Description

この発明は、太陽光を受けて光電変換し、得られた電力をもとに生成したマイクロ波を複数の送信装置から送信し、これを受信装置により受信して電力を生成する無線電力伝送システム、これに用いる電力送信装置及びレクテナ基地局に関するものである。
例えば、特許文献1には、宇宙空間の軌道上に配置された発電用の衛星から、地上の受信装置へマイクロ波による電力伝送を行う従来の無線電力伝送システムが記載されている。この従来の無線電力伝送システムでは、発電用の衛星において、レクテナ基地局から送信されるパイロット信号を受信し、レクテナ基地局に対してパイロット返信信号を送信するというものである。パイロット信号はスペクトル拡散変調がされており、各衛星ごとにパイロット信号を識別して基準位相を取り出す。一方、パイロット返信信号にもスペクロラム拡散変調が施され、レクテナ基地局において、各パイロット返信信号の位相情報を抽出して各発電用の衛星の位相遅延が求められ、この位相遅延をパイロット信号の位相に反映するフィードバック系を形成することによって、各発電用の衛星からのマイクロ波の位相を揃え、より大きな電力を得ようとするものである。
特開2005−319853号公報
特許文献1に記載された従来の無線電力伝送システムによれば、地上のレクテナ基地局では、送信するパイロット信号の拡散変調を行い、受信したパイロット返信信号の逆拡散復調を行う回路と、逆拡散により得られた各衛星ごとのパイロット返信信号の位相を比較して、これを一致させるべくフィードバックする回路が必要となり、設備が増大するという問題点がある。また、軌道上の各衛星においても、パイロット信号を逆拡散復調し、パイロット返信信号を拡散変調して生成するための回路が必要となり、回路規模が増大するという問題点とともに、これらの回路を駆動するための電力が必要となり、光電変換によって生成された電力の一部がパイロット信号関係の回路によって消費され、全体の発電効率が低下するという問題点もあった。
この発明は、上記のような問題点を解決するためになされたもので、回路規模の増大を招くことなく、より効率的に、各電力送信装置から送信されるマイクロ波がレクテナ基地局において受信される際の位相を揃えることのできる無線電力伝送システム、電力送信装置及びレクテナ基地局を得ることを目的とする。
請求項1の発明に係る無線電力伝送システムは、複数の電力送信装置からレクテナ基地局にマイクロ波を送信し、上記レクテナ基地局で受信して電力を生成する無線電力伝送システムにおいて、上記レクテナ基地局は、マイクロ波を受信するレクテナと、上記電力送信装置へパイロット信号を送信するパイロット信号送信アンテナと、上記レクテナにより受信した電力値が増大するように、上記電力送信装置の識別符号を指定して上記電力送信装置の位相を変更するコマンド信号を生成する位相監視制御部とを具備し、上記電力送信装置は、マイクロ波を上記レクテナ基地局へ送信する複数の送信アンテナ素子と、上記パイロット信号を受信するパイロット信号受信アンテナと、このパイロット信号受信アンテナにより受信したパイロット信号の到来方向を検出する追尾受信機と、この追尾受信機により検出したパイロット信号の到来方向に、上記複数の送信アンテナ素子から送信するマイクロ波の方向が向くように位相調整を行うビーム駆動制御部と、上記位相監視制御部からの上記コマンド信号に基づいて、上記識別符号が記憶する識別符号と一致する場合に、上記マイクロ波の位相変更を行う位相制御器とを具備したものである。
請求項2の発明に係るレクテナ基地局は、複数の電力送信装置から送信されるマイクロ波を受信し合成して電力を生成するレクテナ基地局において、上記マイクロ波を受信するレクテナと、上記電力送信装置へパイロット信号を送信するパイロット信号送信アンテナと、上記レクテナにより受信した電力値が増大するように、上記電力送信装置の識別符号を指定して上記電力送信装置の位相を変更するコマンド信号を生成する位相監視制御部とを備えたものである。
請求項3の発明に係る電力送信装置は、レクテナ基地局にマイクロ波を送信する電力送信装置において、上記マイクロ波を上記レクテナ基地局へ送信する複数の送信アンテナ素子と、上記レクテナ基地局からのパイロット信号を受信するパイロット信号受信アンテナと、このパイロット信号受信アンテナにより受信したパイロット信号の到来方向を検出する追尾受信機と、この追尾受信機により検出したパイロット信号の到来方向に、上記複数の送信アンテナ素子から送信するマイクロ波の方向が向くように位相調整を行うビーム駆動制御部と、上記レクテナ基地局から送信され、識別符号が指定された位相を変更するコマンド信号に基づき、上記識別符号が記憶する識別符号と一致する場合に、上記マイクロ波の位相変更を行う位相制御器とを備えたものである。
請求項4の発明に係る無線電力伝送システムは、請求項3の発明に係る無線電力伝送システムにおいて、上記レクテナ基地局は、さらに、上記コマンド信号を上記パイロット信号に重畳する変調器を具備し、上記電力送信装置は、さらに、上記追尾受信機により受信するパイロット信号から上記コマンド信号を再生する復調器とを具備したものである。
請求項5の発明に係るレクテナ基地局は、請求項2の発明に係るレクテナ基地局において、さらに、上記コマンド信号を上記パイロット信号に重畳する変調器を備えたものである。
請求項6の発明に係る電力送信装置は、請求項2の発明に係る電力送信装置において、さらに、上記追尾受信機により受信するパイロット信号から上記コマンド信号を再生する復調器とを備えたものである。
請求項1乃至請求項3に記載の発明によれば、レクテナ基地局は、受信したマイクロ波の電力値が増大するように、電力送信装置の識別符号を指定して位相を変更するコマンド信号を生成し、電力送信装置は、コマンド信号において指定された識別符号が自己の識別符号と一致する場合に、送信するマイクロ波の位相変更を行うので、回路規模の増大を抑制することができる。また、請求項4乃至請求項6に記載の発明によれば、さらに、パイロット信号に上記コマンド信号を重畳して送信するので、電力送信装置側のコマンド信号の受信系をパイロット信号の受信系を用いて構成することができる。
実施の形態1
この発明の実施の形態1に係る無線電力伝送システム、電力送信装置及びレクテナ基地局について図1乃至図6を用いて説明する。図1はこの発明の実施の形態1に係る無線電力伝送システムの構成図であり、図1(a)は離散的に配置される発電衛星に設けた電力送信装置からマイクロ波伝送するケースを、図1(b)は機械的に結合された複数の電力送信装置からマイクロ波伝送するケースを表わしている。尚、図1(b)における電力送信装置を含む送信側装置は、宇宙空間に配置されるものや、地球上や成層圏などに配置されるものなどが考えられる。図1(a)において、1は太陽光を受けて光電変換して電力を生成し、マイクロ波により送電する複数の発電衛星であり、2は各発電衛星に設けた電力送信装置である。3は各発電衛星1及び各電力送信装置2を統制する統制衛星であり、主として発電衛星1との間で制御信号及び応答信号の送受信を行って制御するとともに、各発電衛星1(及び電力送信装置2)へ基準信号を送信するものである。4は電力送信装置2からのマイクロ波を受信して電力を生成するレクテナ基地局であり、5は複数のマイクロ波受信アンテナからなるレクテナ、6は電力送信装置2へ向けてパイロット信号を送信するパイロット信号送信アンテナである。レクテナ5及びパイロット信号送信アンテナ6はレクテナ基地局4の一部をなす。図1(b)において、7は複数の電力送信装置2を結合する機械的構造体、8は複数の電力送信装置2を統制する統制部であり、統制部8は各電力送信装置2との間で制御信号及び応答信号の送受信を行って各電力送信装置2を制御するとともに、各電力送信装置2へ基準信号を供給している。
各電力送信装置2はそれぞれマイクロ波をレクテナ基地局4へ向けて送信し、レクテナ基地局4内のレクテナ5によりマイクロ波が受信され合成されるが、このレクテナ5による受信の際に位相が相互にずれていると、レクテナ基地局4で生成される電力は低下することとなる。このような位相のずれは、各電力送信装置2で生成するマイクロ波の基準となる基準信号の位相ずれや、各電力送信装置2(とくに送信パネル部分)の位置変化や姿勢変化を要因として発生する。図2は電力送信装置2の位置及び姿勢変化の例を示しており、図2(a)はn個の送信電力装置2がほぼ独立に運動して位置や姿勢が変化するケースであり、図1(a)に示した複数の発電衛星1を用いた場合に顕著に生じる可能性がある。図2(b)はn個の送信電力装置2が一体として位置変化を生じる場合であり、図1(b)に示した機械的構造体7がほぼ剛体とみなせる場合に顕著に生じる可能性がある。図2(c)はn個の送信電力装置2がその一部において位置や姿勢変化を生じる場合であり、図1(b)に示した機械的構造体7が剛体とはできず、柔軟構造物として形成される場合に顕著に生じる可能性がある。
これらの図2(a)乃至図2(c)において、個々の送信電力装置2に生じている姿勢の変化を方位方向の角度変化θAZ、仰角方向の角度変化θELで表わし、位置の変化を1つの仮想平面Sからの距離ΔLで表わす。姿勢の変化(θAZ、θEL)が生じることによって、各電力送信装置2から送信されるマイクロ波の方向がレクテナ5の方向からずれるので、これを補正するためにパイロット信号が用いられる。即ち、各電力送信装置2はパイロット信号を受信して到来方向を求め、パイロット信号の到来方向へマイクロ波の送信方向が向くように制御される。また、位置の変化ΔLが生じることによって、各電力送信装置2から送信されるマイクロ波は各装置ごとにその変化ΔL分の位相ずれを生じることになる。この位置変化ΔLに起因して生じる位相ずれを補正するための装置構成について検討する必要が生じるものである。
次に、この発明の実施の形態1に係る電力送信装置及びレクテナ基地局の構成を図3乃至図5に基づき説明する。図3は電力送信装置2の送信パネルの外形を示す外形図であり、9は基板、10はマイクロ波を送信する送信アンテナ素子、11はパイロット信号を受信するパイロット信号受信アンテナである。送信アンテナ素子10は基板9の面上にアレイ配置されており、基板に設けた給電線路によりマイクロ波給電されている。図4は電力送信装置2の構成を示す機能ブロック図である。図4において、12は統制衛星3又は統制部8から入力される基準信号の入力端子、13は基準信号を逓倍しキャリア信号を出力する逓倍器、14はキャリア信号の位相を調整する移相器、15はキャリア信号を分配する分配器、16は分配されたキャリア信号を位相調整する移相器、17はキャリア信号を増幅する増幅器である。18は光電変換部であり、光電変換部18にて生成した電力を増幅器17へ入力して所定の電力レベルのマイクロ波が生成され、増幅器17に接続された送信アンテナ素子10から空間へ放射される。増幅器17と送信アンテナ素子10との接続は、1対1に接続されていても良いし、1対4のように1個の増幅器17に対して複数個の送信アンテナ素子10が接続されるものでも良い。19はパイロット信号受信アンテナ11から得られる和信号及び差信号に基づきパイロット信号の到来方向(θAZ、θEL)を求める追尾受信機であり、20はパイロット信号の到来方向(θAZ、θEL)へ送信アンテナ素子10から送信するマイクロ波が向くように各移相器16の位相量を求め、求めた位相量により、各移相器16へ位相設定するビーム駆動制御部である。21は追尾受信機19により受信したパイロット信号の和信号からコマンド信号を復調する復調器、22は電力送信装置2に付された識別符号(この識別符号を自己の識別符号として記憶しているものとする。)と、復調器21により復調して検出されたコマンド信号に含まれる識別符号とを比較し、符号が一致している場合に、移相する指令(移相指令)を出力するコマンド判別器、23は、移相器14に対して位相設定する位相制御部である。
図5はレクテナ基地局の構成を示す機能ブロック図である。図5において、24はレクテナ5により受信したマイクロ波を整流して合成し電力生成する整流合成部であり、25はパイロット信号を生成し出力するパイロット信号送信部、26は電力値Pを監視し、各電力送信装置2の位相制御を行う位相監視制御部である。パイロット信号送信部25において、27は位相監視制御部26から出力されるコマンド信号(制御対象の電力送信装置2の識別符号を含む)によりパイロット信号の搬送波を変調する変調器、28はパイロット信号を増幅等してパイロット信号送信アンテナ6へ出力する送信機である。
次に動作について説明する。レクテナ基地局4のパイロット信号送信アンテナ6から送信されたパイロット信号は、電力送信装置2のパイロット信号受信アンテナ11により受信される。図3にはパイロット信号受信アンテナ11の構成の一例が示されており、この例ではA乃至Gの7つのアンテナ素子により構成されている。いま、アンテナ素子A乃至Gで受信した信号をそれぞれSa乃至Sgとすると、追尾受信機19はパイロット受信アンテナ11により受信した信号を合成して、AZ方向の和信号Sa+Sb+Sc+Sd及び差信号Sa+Sb−Sc−Sdを、EL方向の和信号Sa+Se+Sf+Sg及び差信号Sa+Se−Sf−Sgを生成する。追尾受信機19は、パイロット信号のAZ方向及びEL方向が変化することにより、これらの和信号、差信号の値が変化する性質を利用して、パイロット信号の到来方向であるθAZとθELとを求め出力する。ビーム駆動制御部20はパイロット信号の到来方向である(θAZ、θEL)方向へマイクロ波送信するために、各移相器16に設定する位相量を算出し、移相器16に設定する。このような動作によって、図2(a)乃至図2(c)に示した位置及び姿勢の変化のうち、姿勢により生じるレクテナ基地局4のレクテナ5の方向と電力送信装置から送信するマイクロ波の方向とのずれが補正される。尚、パイロット信号受信アンテナ11の構成及び配置は、図3に示すものに限られるものではなく、上記のような追尾受信に利用できるものであればよい。
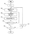
次に図6に基づいて、図2(a)乃至図2(c)に示した位置変化ΔLによって生じる電力送信装置2間の位相ずれを補正する処理について説明する。図6は電力送信装置の位相調整を行う処理シーケンスを示すフローチャートであり、この処理は、レクテナ基地局4の位相監視制御部26によって行われる。いま、電力送信装置2はn台あるものとし、レクテナ基地局4内の位相監視制御部26は、まずステップS1において可変数kを1とし、ステップS2において可変数k=1に対応する1の電力送信装置2をその識別符号により指定する。ステップS3において、位相の変更を指令するコマンド信号(指定した識別符号を含む)をレクテナ基地局4から送信する。識別符号が一致する電力送信装置2は、コマンド信号に基づき、配下の送信パネル全体の位相を一律に所定量変更する。この変更によって、レクテナ基地局4のレクテナ5で受信される電力値Pが変化し、ステップS4において電力値Pを検出する。位相監視制御部26はステップS5で電力値Pが最大となるかの判定を行って、電力値Pが大きくなるように指定した電力送信装置2に対して、繰り返し位相の変更を指令するコマンド信号を送出する。ステップS5の判定により、電力値Pが最大となったところでk=1により指定した電力送信装置2の位相調整を終了し、可変数kがnよりも大きくなっていないことをステップS6により判定し、kを1増加して、次の電力送信装置2の位相調整に移る。これを順々に各電力送信装置ごとに繰り返して行っていくことにより、複数の電力送信装置2から送信されレクテナ5で受信されるマイクロ波の位相が揃い、生成する電力を最大若しくはこれに近い値にすることができる。
なお、位相監視制御部26は、ステップS3乃至ステップS5における電力値Pが最大となる位相値を得るために、位相0度〜360度を所定角度ごとに変更させて各角度で電力値Pを検出しておき、最も大きくなる角度に位相を設定させるように指令する方法や、位相を変更する指令信号中に位相を変更する方向(プラス及びマイナス)を記述し、検出する電力値Pが大きくなる方向に電力送信装置の位相をステップ駆動せしめ、これ以上電力値Pが大きくならないところで指令を終了させる方法などがある。
図5に示したレクテナ基地局4は、位相監視制御部26が可変数kに対応する電力送信装置2の識別符号を指定し(ステップS2)、この識別符号を含むコマンド信号を変調器27へ出力することにより、変調器27においてパイロット信号にコマンド信号が重畳され、送信機28で増幅されて送信されることにより、ステップS3の「位相の変更を指令する」ことが実行される。図4に示す電力送信装置2は、パイロット信号受信アンテナ11により受信し追尾受信機19により合成された和信号を復調して、パイロット信号に重畳されたコマンド信号(含む識別符号)を再生し、コマンド判別器22は予め記憶している識別符号と比較して一致する場合に移相する指令を出力し、この指令を受けて位相制御部23は移相器14の位相を変更する。なお、コマンド信号は、コマンドコードと指定する電力送信装置の識別符号からなるが、専用コマンドである場合にはコマンドコードは無くてもよい。
以上のように、レクテナ基地局4からの指令に基づいて次々と各電力送信装置2の位相を変更していき、レクテナ基地局4において電力値Pを検出しこれが大きくなるよう位相調整を行うことにより、図2(a)乃至図2(c)に示した位置変化ΔLに伴う、マイクロ波の位相ずれの補正ができるとともに、各電力送信装置2に供給される基準信号の位相についても内包されて、この位相調整によって補正されることになり、各電力送信装置2からの位相ずれが補正されてレクテナ基地局4において、より大きな電力を得ることができる。また、従来技術に開示されたような発電用の衛星側にパイロット返信信号を送信するための拡散変調器や送信機を持たせる必要がないので、回路規模の増大を抑えることができ、軽量化が図られるとともに装置の信頼性を向上することができる。また、パイロット信号にコマンド信号を重畳して送信することによって、電力送信装置側のコマンド信号の受信系をパイロット信号の受信系を用いて構成することができ、さらに回路規模の縮小化を図ることができる。
実施の形態2
この発明の実施の形態2に係る無線電力伝送システム、電力送信装置及びレクテナ基地局について図7を用いて説明する。この発明の実施の形態2に係る電力送信装置及びレクテナ基地局は、実施の形態1において図3乃至図5に基づき説明した構成、機能と同等な構成、機能を有している。ここでは、実施の形態2において相違する部分である電力送信装置の位相調整を行う処理シーケンスを図7に基づき説明する。
図7はこの発明の実施の形態2に係る電力送信装置の位相調整を行う処理シーケンスを示すフローチャートであり、この処理は、レクテナ基地局4の位相監視制御部26によって行われる。この処理フローにおいても、電力送信装置2はn台あるものとしている。レクテナ基地局4内の位相監視制御部26は、ステップS8においてレクテナ5により受信して得られる電力値Pを検出する。検出した電力値Pが下側しきい値P2より大きいかどうかをステップS9により判定する。電力値Pが下側しきい値P2より大きい場合には、許容範囲とみなしステップS8及びステップS9を繰り返す。検出した電力値Pが下側しきい値P2以下となるとステップS10に移行し位相調整を開始する。ステップS10からステップS16のシーケンスは実施の形態1において説明した図6におけるステップS1からステップS7のシーケンスと同じであり説明を省略するが、このステップS10からステップS16のシーケンスによって、n台の電力送信装置2の位相調整が順々に各電力送信装置ごとに繰り返して行われ、n台の電力送信装置2から送信されレクテナ5で受信されるマイクロ波の位相が揃い、生成する電力を最大若しくはこれに近い値にすることができる。n台の電力送信装置2の位相調整が終了するとステップS17に移行し、位相調整終了時に検出した電力値Pが上側しきい値P1よりも大きいかどうかを判定する。電力値Pが上側しきい値P1よりも大きい場合には、良好に位相調整ができたものと判断し、ステップS8に戻る。電力値Pが上側しきい値P1以下である場合には、再度、位相調整を行うようにステップS10に戻る。
上側しきい値P1と下側しきい値P2は構築するシステムの性能に応じて所定の値に設定することになる。各電力送信装置2が空間に放出するマイクロ波の電力は、図4に示した光電変換部18や増幅器17の効率、伝送線路における損失、送信パネルの指向性利得などを考慮して最大値を見積もることができ、さらに電力送信装置2から送信されたマイクロ波がレクテナ5で受信され合成される電力についても、位相が揃う条件により適切な解析を行うことにより理論最大値が求められる。この理論最大値に対して、各電力送信装置2での位相分解能や、マイクロ波送信方向のずれによる送信パネルの指向性利得の変化などの要因を考慮して能力値が求められる。例えば、この能力値を上側しきい値P1とし、システムに要求される最低発電能力値を下側しきい値P2に設定する。より具体的には各能力値を考慮して、例えば、合成電力の理論最大値に対して90%レベルを上側しきい値P1とし、80%レベルを下側しきい値P2とするような設定をしても良い。
また、上側しきい値P1及び下側しきい値P2は運用時に適切に再設定される構成としてもよい。実際の位相調整後の電力値Pの検出結果が複数回にわたって、ほぼ特定の値となるような場合には、その値が実ハードウェアの最大能力として把握されることになる。したがって、その特定の値を最大値とし、これに対して90%レベルを上側しきい値P1とし、80%レベルを下側しきい値P2と設定するようにしてもよい。
また、光電変換部18でモニタしている電力情報が電力送信装置2又は統制衛星3(或いは統制部8)から通信回線を用いてレクテナ基地局4へ提供される場合のレクテナ基地局4の構成の別の一例を図8に示す。この場合、レクテナ基地局4は電力情報を受信アンテナ29により受信し、テレメトリ受信機30により復調し再生して位相監視制御部26へ出力する。電力情報に基づいて位相監視制御部26はその時点で得られる電力最大値を知ることができ、上述の上側しきい値P1や下側しきい値P2を再設定するようにしてもよい。なお、図8において図5と同一の符号を付した回路及び部分は、図5におけるそれらの回路及び部分と同一又は相当する回路及び部分を表わす。
実施の形態3
この発明の実施の形態3に係る無線電力伝送システム、電力送信装置及びレクテナ基地局について図9及び図10を用いて説明する。この発明の実施の形態3に係るレクテナ基地局は通信回線により位相の変更を指令するコマンド信号を送信するものであり、また電力送信装置2の電力情報を通信回線により取得するものである。図9はこの発明の実施の形態3に係るレクテナ基地局4の構成を示す機能ブロック図であり、図10はこの発明の実施の形態3に係る電力送信装置2の構成を示す機能ブロック図である。図9において31はコマンド信号を送信するコマンド送信機、32は送受分波器、33は通信回線送受信アンテナ、34はパイロット信号を送信するパイロット信号送信部である。図9において、図5と同一の符号を付した回路及び部分は、図5におけるそれらの回路及び部分と同一又は相当する回路及び部分を表わす。図10において、35はコマンド信号が入力される入力端子である。図10において、図4と同一の符号を付した回路及び部分は、図4におけるそれらの回路及び部分と同一又は相当する回路及び部分を表わす。
位相監視制御部26は、各電力送信装置2へ位相の変更を指令する信号を送信するが、これを通信回線により行ってもよい。この場合、レクテナ基地局4はコマンド送信機31を有し、位相監視制御部26から電力送信装置2の識別符号を含む位相変更の指令(コマンド信号)がコマンド送信機31へ入力されると、コマンド送信機31はこのコマンド信号を通信回線の搬送波に重畳し、送受分波器32及び送受信アンテナ33を介して、電力送信装置2又は統制衛星3(或いは統制部8)へ向けて送信する。電力送信装置2又は統制衛星3(或いは統制部8)はこれを受信し、コマンド信号を再生する。再生されたコマンド信号は入力端子35から入力され、コマンド判別器22により識別符号を比較し、一致する場合には移相指令が出力され、位相制御部23により移相器14の位相設定を行う。
また、光電変換部18でモニタしている電力情報が電力送信装置2又は統制衛星3(或いは統制部8)から通信回線を用いてレクテナ基地局4へ提供される。レクテナ基地局4は電力情報を送受信アンテナ33により受信し、送受分波器32を介してテレメトリ受信機30により復調し再生して位相監視制御部26へ出力する。電力情報に基づいて位相監視制御部26はその時点で得られる電力最大値を知ることができ、実施の形態2において説明した上側しきい値P1や下側しきい値P2を再設定するようにしてもよい。
この発明の実施の形態1に係る無線電力伝送システムの構成を表わす構成図である。 電力送信装置の位置及び姿勢変化の例を表わす模式図である。 電力送信装置の送信パネルの外形を示す外形図である。 電力送信装置2の構成を示す機能ブロック図である。 レクテナ基地局の構成を示す機能ブロック図である。 電力送信装置の位相調整を行う処理シーケンスを示すフローチャートである。 この発明の実施の形態2に係る電力送信装置の位相調整を行う処理シーケンスを示すフローチャートである。 レクテナ基地局構成の別の一例を表わす機能ブロック図である。 この発明の実施の形態3に係るレクテナ基地局の構成を示す機能ブロック図である。 この発明の実施の形態3に係る電力送信装置の構成を示す機能ブロック図である。
符号の説明
2 電力送信装置
4 レクテナ基地局
5 レクテナ
6 パイロット信号送信アンテナ
10 送信アンテナ素子
11 パイロット信号受信アンテナ
14 移相器
16 移相器
19 追尾受信機
20 ビーム駆動制御部
21 復調器
22 コマンド判別器
23 位相制御部
24 整流合成部
25 パイロット信号送信部
26 位相監視制御部
27 変調器
29 受信アンテナ
30 テレメトリ受信機
31 コマンド送信機

Claims (6)

  1. 複数の電力送信装置からレクテナ基地局にマイクロ波を送信し、上記レクテナ基地局で受信して電力を生成する無線電力伝送システムにおいて、
    上記レクテナ基地局は、マイクロ波を受信するレクテナと、上記電力送信装置へパイロット信号を送信するパイロット信号送信アンテナと、上記レクテナにより受信した電力値が増大するように、上記電力送信装置の識別符号を指定して上記電力送信装置の位相を変更するコマンド信号を生成する位相監視制御部とを具備し、
    上記電力送信装置は、マイクロ波を上記レクテナ基地局へ送信する複数の送信アンテナ素子と、上記パイロット信号を受信するパイロット信号受信アンテナと、このパイロット信号受信アンテナにより受信したパイロット信号の到来方向を検出する追尾受信機と、この追尾受信機により検出したパイロット信号の到来方向に、上記複数の送信アンテナ素子から送信するマイクロ波の方向が向くように位相調整を行うビーム駆動制御部と、上記位相監視制御部からの上記コマンド信号に基づいて、上記識別符号が記憶する識別符号と一致する場合に、上記マイクロ波の位相変更を行う位相制御器とを具備したことを特徴とする無線電力伝送システム。
  2. 複数の電力送信装置から送信されるマイクロ波を受信し合成して電力を生成するレクテナ基地局において、上記マイクロ波を受信するレクテナと、上記電力送信装置へパイロット信号を送信するパイロット信号送信アンテナと、上記レクテナにより受信した電力値が増大するように、上記電力送信装置の識別符号を指定して上記電力送信装置の位相を変更するコマンド信号を生成する位相監視制御部とを備えたことを特徴とするレクテナ基地局。
  3. レクテナ基地局にマイクロ波を送信する電力送信装置において、上記マイクロ波を上記レクテナ基地局へ送信する複数の送信アンテナ素子と、上記レクテナ基地局からのパイロット信号を受信するパイロット信号受信アンテナと、このパイロット信号受信アンテナにより受信したパイロット信号の到来方向を検出する追尾受信機と、この追尾受信機により検出したパイロット信号の到来方向に、上記複数の送信アンテナ素子から送信するマイクロ波の方向が向くように位相調整を行うビーム駆動制御部と、上記レクテナ基地局から送信され、識別符号が指定された位相を変更するコマンド信号に基づき、上記識別符号が記憶する識別符号と一致する場合に、上記マイクロ波の位相変更を行う位相制御器とを備えたことを特徴とする電力送信装置。
  4. 上記レクテナ基地局は、さらに、上記コマンド信号を上記パイロット信号に重畳する変調器を具備し、上記電力送信装置は、さらに、上記追尾受信機により受信するパイロット信号から上記コマンド信号を再生する復調器とを具備したことを特徴とする請求項1に記載の無線電力伝送システム。
  5. 請求項2に記載のレクテナ基地局において、さらに、上記コマンド信号を上記パイロット信号に重畳する変調器を備えたことを特徴とするレクテナ基地局。
  6. 請求項3に記載の電力送信装置において、さらに、上記追尾受信機により受信するパイロット信号から上記コマンド信号を再生する復調器とを備えたことを特徴とする電力送信装置。
JP2008161472A 2008-06-20 2008-06-20 無線電力伝送システム、電力送信装置及びレクテナ基地局 Active JP4715874B2 (ja)

Priority Applications (2)

Application Number Priority Date Filing Date Title
JP2008161472A JP4715874B2 (ja) 2008-06-20 2008-06-20 無線電力伝送システム、電力送信装置及びレクテナ基地局
US12/357,692 US7888586B2 (en) 2008-06-20 2009-01-22 Wireless power transfer system, power transmitter, and rectenna base station

Applications Claiming Priority (1)

Application Number Priority Date Filing Date Title
JP2008161472A JP4715874B2 (ja) 2008-06-20 2008-06-20 無線電力伝送システム、電力送信装置及びレクテナ基地局

Publications (2)

Publication Number Publication Date
JP2010004324A true JP2010004324A (ja) 2010-01-07
JP4715874B2 JP4715874B2 (ja) 2011-07-06

Family

ID=41430489

Family Applications (1)

Application Number Title Priority Date Filing Date
JP2008161472A Active JP4715874B2 (ja) 2008-06-20 2008-06-20 無線電力伝送システム、電力送信装置及びレクテナ基地局

Country Status (2)

Country Link
US (1) US7888586B2 (ja)
JP (1) JP4715874B2 (ja)

Cited By (16)

* Cited by examiner, † Cited by third party
Publication number Priority date Publication date Assignee Title
JP2011142708A (ja) * 2010-01-05 2011-07-21 Mitsubishi Electric Corp 無線電力伝送システム、電力送信装置及びレクテナ基地局
WO2011102522A1 (ja) * 2010-02-22 2011-08-25 三菱重工業株式会社 フェーズドアレイアンテナ及びその位相制御方法
JP2011182144A (ja) * 2010-02-26 2011-09-15 Mitsubishi Heavy Ind Ltd フェーズドアレイアンテナ及びその制御方法
JP2012016087A (ja) * 2010-06-29 2012-01-19 Mitsubishi Electric Corp 無線電力伝送システム、レクテナ基地局及び電力送信装置
JP2012084971A (ja) * 2010-10-07 2012-04-26 Ihi Aerospace Co Ltd フェーズドアレイアンテナ装置
WO2013099997A1 (ja) * 2011-12-28 2013-07-04 三菱重工業株式会社 受電装置及び無線電力伝送システム
KR20130111832A (ko) * 2012-04-02 2013-10-11 엘에스전선 주식회사 전송 코일 배열을 이용한 무선 전력 전송 장치 및 무선 전력 전송 시스템
JP2017073930A (ja) * 2015-10-09 2017-04-13 三菱電機株式会社 無線送電装置及び無線送電システム
JP2017220960A (ja) * 2016-06-02 2017-12-14 パナソニック株式会社 無線給電方法
CN107887695A (zh) * 2017-09-27 2018-04-06 西安空间无线电技术研究所 一种具有导引信号发射功能的整流天线
JP2020191781A (ja) * 2014-07-23 2020-11-26 デイヴィッド ハイランド 宇宙ベースの太陽エネルギを収集及び分配するためのシステム及び方法
KR20210121736A (ko) * 2020-03-31 2021-10-08 서울대학교산학협력단 마이크로파 무선전력 전송 방법 및 그 장치
JP2022024926A (ja) * 2020-07-28 2022-02-09 ミネベアミツミ株式会社 給電装置、及び、給電方法
JP2023184683A (ja) * 2010-08-23 2023-12-28 オッシア インコーポレイテッド 無線電力送信システム
JP2024051560A (ja) * 2022-09-30 2024-04-11 株式会社日立製作所 宇宙太陽光エネルギー送受電システム、エネルギー送受電方法及び受信局
US12341351B2 (en) 2007-06-14 2025-06-24 Ossia Inc. Wireless power transmission system

Families Citing this family (202)

* Cited by examiner, † Cited by third party
Publication number Priority date Publication date Assignee Title
US8708901B2 (en) * 2009-12-30 2014-04-29 University Of Seoul Industry Cooperation Foundation Health monitoring system with a waveguide to guide a wave from a power source
KR101743777B1 (ko) * 2010-10-21 2017-06-05 삼성전자주식회사 무선 충전 방법
US9000620B2 (en) * 2011-05-31 2015-04-07 Samsung Electronics Co., Ltd. Apparatus and method of dividing wireless power in wireless resonant power transmission system
US9030161B2 (en) 2011-06-27 2015-05-12 Board Of Regents, The University Of Texas System Wireless power transmission
US8797966B2 (en) 2011-09-23 2014-08-05 Ofinno Technologies, Llc Channel state information transmission
US8879496B2 (en) 2011-12-19 2014-11-04 Ofinno Technologies, Llc Beamforming codeword exchange between base stations
US11502551B2 (en) 2012-07-06 2022-11-15 Energous Corporation Wirelessly charging multiple wireless-power receivers using different subsets of an antenna array to focus energy at different locations
US20140008993A1 (en) 2012-07-06 2014-01-09 DvineWave Inc. Methodology for pocket-forming
US9853458B1 (en) 2014-05-07 2017-12-26 Energous Corporation Systems and methods for device and power receiver pairing
US10439448B2 (en) 2014-08-21 2019-10-08 Energous Corporation Systems and methods for automatically testing the communication between wireless power transmitter and wireless power receiver
US10263432B1 (en) 2013-06-25 2019-04-16 Energous Corporation Multi-mode transmitter with an antenna array for delivering wireless power and providing Wi-Fi access
US10199835B2 (en) 2015-12-29 2019-02-05 Energous Corporation Radar motion detection using stepped frequency in wireless power transmission system
US9843201B1 (en) 2012-07-06 2017-12-12 Energous Corporation Wireless power transmitter that selects antenna sets for transmitting wireless power to a receiver based on location of the receiver, and methods of use thereof
US9859757B1 (en) * 2013-07-25 2018-01-02 Energous Corporation Antenna tile arrangements in electronic device enclosures
US20150326070A1 (en) 2014-05-07 2015-11-12 Energous Corporation Methods and Systems for Maximum Power Point Transfer in Receivers
US9812890B1 (en) 2013-07-11 2017-11-07 Energous Corporation Portable wireless charging pad
US10205239B1 (en) 2014-05-07 2019-02-12 Energous Corporation Compact PIFA antenna
US9438045B1 (en) 2013-05-10 2016-09-06 Energous Corporation Methods and systems for maximum power point transfer in receivers
US10050462B1 (en) 2013-08-06 2018-08-14 Energous Corporation Social power sharing for mobile devices based on pocket-forming
US9991741B1 (en) 2014-07-14 2018-06-05 Energous Corporation System for tracking and reporting status and usage information in a wireless power management system
US9831718B2 (en) 2013-07-25 2017-11-28 Energous Corporation TV with integrated wireless power transmitter
US9838083B2 (en) 2014-07-21 2017-12-05 Energous Corporation Systems and methods for communication with remote management systems
US10211680B2 (en) 2013-07-19 2019-02-19 Energous Corporation Method for 3 dimensional pocket-forming
US9867062B1 (en) 2014-07-21 2018-01-09 Energous Corporation System and methods for using a remote server to authorize a receiving device that has requested wireless power and to determine whether another receiving device should request wireless power in a wireless power transmission system
US10230266B1 (en) 2014-02-06 2019-03-12 Energous Corporation Wireless power receivers that communicate status data indicating wireless power transmission effectiveness with a transmitter using a built-in communications component of a mobile device, and methods of use thereof
US9847677B1 (en) 2013-10-10 2017-12-19 Energous Corporation Wireless charging and powering of healthcare gadgets and sensors
US9252628B2 (en) 2013-05-10 2016-02-02 Energous Corporation Laptop computer as a transmitter for wireless charging
US9899873B2 (en) 2014-05-23 2018-02-20 Energous Corporation System and method for generating a power receiver identifier in a wireless power network
US9893768B2 (en) 2012-07-06 2018-02-13 Energous Corporation Methodology for multiple pocket-forming
US10063106B2 (en) 2014-05-23 2018-08-28 Energous Corporation System and method for a self-system analysis in a wireless power transmission network
US9893554B2 (en) 2014-07-14 2018-02-13 Energous Corporation System and method for providing health safety in a wireless power transmission system
US9876379B1 (en) 2013-07-11 2018-01-23 Energous Corporation Wireless charging and powering of electronic devices in a vehicle
US10206185B2 (en) 2013-05-10 2019-02-12 Energous Corporation System and methods for wireless power transmission to an electronic device in accordance with user-defined restrictions
US20150022008A1 (en) * 2013-05-10 2015-01-22 DvineWave Inc. Home base station for multiple room coverage with multiple transmitters
US9843213B2 (en) 2013-08-06 2017-12-12 Energous Corporation Social power sharing for mobile devices based on pocket-forming
US9806564B2 (en) 2014-05-07 2017-10-31 Energous Corporation Integrated rectifier and boost converter for wireless power transmission
US9906065B2 (en) 2012-07-06 2018-02-27 Energous Corporation Systems and methods of transmitting power transmission waves based on signals received at first and second subsets of a transmitter's antenna array
US9923386B1 (en) 2012-07-06 2018-03-20 Energous Corporation Systems and methods for wireless power transmission by modifying a number of antenna elements used to transmit power waves to a receiver
US10128693B2 (en) 2014-07-14 2018-11-13 Energous Corporation System and method for providing health safety in a wireless power transmission system
US10270261B2 (en) 2015-09-16 2019-04-23 Energous Corporation Systems and methods of object detection in wireless power charging systems
US10992185B2 (en) 2012-07-06 2021-04-27 Energous Corporation Systems and methods of using electromagnetic waves to wirelessly deliver power to game controllers
US9859797B1 (en) 2014-05-07 2018-01-02 Energous Corporation Synchronous rectifier design for wireless power receiver
US9882430B1 (en) 2014-05-07 2018-01-30 Energous Corporation Cluster management of transmitters in a wireless power transmission system
US9847679B2 (en) 2014-05-07 2017-12-19 Energous Corporation System and method for controlling communication between wireless power transmitter managers
US10291066B1 (en) 2014-05-07 2019-05-14 Energous Corporation Power transmission control systems and methods
US9954374B1 (en) 2014-05-23 2018-04-24 Energous Corporation System and method for self-system analysis for detecting a fault in a wireless power transmission Network
US10199849B1 (en) 2014-08-21 2019-02-05 Energous Corporation Method for automatically testing the operational status of a wireless power receiver in a wireless power transmission system
US9912199B2 (en) 2012-07-06 2018-03-06 Energous Corporation Receivers for wireless power transmission
US9787103B1 (en) 2013-08-06 2017-10-10 Energous Corporation Systems and methods for wirelessly delivering power to electronic devices that are unable to communicate with a transmitter
US10291055B1 (en) 2014-12-29 2019-05-14 Energous Corporation Systems and methods for controlling far-field wireless power transmission based on battery power levels of a receiving device
US10256657B2 (en) 2015-12-24 2019-04-09 Energous Corporation Antenna having coaxial structure for near field wireless power charging
US9859756B2 (en) 2012-07-06 2018-01-02 Energous Corporation Transmittersand methods for adjusting wireless power transmission based on information from receivers
US9893555B1 (en) 2013-10-10 2018-02-13 Energous Corporation Wireless charging of tools using a toolbox transmitter
US10128699B2 (en) 2014-07-14 2018-11-13 Energous Corporation Systems and methods of providing wireless power using receiver device sensor inputs
US10038337B1 (en) 2013-09-16 2018-07-31 Energous Corporation Wireless power supply for rescue devices
US10090886B1 (en) 2014-07-14 2018-10-02 Energous Corporation System and method for enabling automatic charging schedules in a wireless power network to one or more devices
US9824815B2 (en) 2013-05-10 2017-11-21 Energous Corporation Wireless charging and powering of healthcare gadgets and sensors
US9941754B2 (en) 2012-07-06 2018-04-10 Energous Corporation Wireless power transmission with selective range
US9793758B2 (en) 2014-05-23 2017-10-17 Energous Corporation Enhanced transmitter using frequency control for wireless power transmission
US8306479B1 (en) * 2012-07-06 2012-11-06 Metropcs Wireless, Inc. Polarization control for cell telecommunication system
US10243414B1 (en) 2014-05-07 2019-03-26 Energous Corporation Wearable device with wireless power and payload receiver
US9891669B2 (en) 2014-08-21 2018-02-13 Energous Corporation Systems and methods for a configuration web service to provide configuration of a wireless power transmitter within a wireless power transmission system
US9948135B2 (en) 2015-09-22 2018-04-17 Energous Corporation Systems and methods for identifying sensitive objects in a wireless charging transmission field
US9876394B1 (en) 2014-05-07 2018-01-23 Energous Corporation Boost-charger-boost system for enhanced power delivery
US10223717B1 (en) 2014-05-23 2019-03-05 Energous Corporation Systems and methods for payment-based authorization of wireless power transmission service
US10312715B2 (en) 2015-09-16 2019-06-04 Energous Corporation Systems and methods for wireless power charging
US10965164B2 (en) 2012-07-06 2021-03-30 Energous Corporation Systems and methods of wirelessly delivering power to a receiver device
US10075008B1 (en) 2014-07-14 2018-09-11 Energous Corporation Systems and methods for manually adjusting when receiving electronic devices are scheduled to receive wirelessly delivered power from a wireless power transmitter in a wireless power network
US9825674B1 (en) 2014-05-23 2017-11-21 Energous Corporation Enhanced transmitter that selects configurations of antenna elements for performing wireless power transmission and receiving functions
US10211682B2 (en) 2014-05-07 2019-02-19 Energous Corporation Systems and methods for controlling operation of a transmitter of a wireless power network based on user instructions received from an authenticated computing device powered or charged by a receiver of the wireless power network
US10224982B1 (en) 2013-07-11 2019-03-05 Energous Corporation Wireless power transmitters for transmitting wireless power and tracking whether wireless power receivers are within authorized locations
US10218227B2 (en) 2014-05-07 2019-02-26 Energous Corporation Compact PIFA antenna
US10211674B1 (en) 2013-06-12 2019-02-19 Energous Corporation Wireless charging using selected reflectors
US9939864B1 (en) 2014-08-21 2018-04-10 Energous Corporation System and method to control a wireless power transmission system by configuration of wireless power transmission control parameters
US10186913B2 (en) 2012-07-06 2019-01-22 Energous Corporation System and methods for pocket-forming based on constructive and destructive interferences to power one or more wireless power receivers using a wireless power transmitter including a plurality of antennas
US9871398B1 (en) 2013-07-01 2018-01-16 Energous Corporation Hybrid charging method for wireless power transmission based on pocket-forming
US9900057B2 (en) 2012-07-06 2018-02-20 Energous Corporation Systems and methods for assigning groups of antenas of a wireless power transmitter to different wireless power receivers, and determining effective phases to use for wirelessly transmitting power using the assigned groups of antennas
US10008889B2 (en) 2014-08-21 2018-06-26 Energous Corporation Method for automatically testing the operational status of a wireless power receiver in a wireless power transmission system
US9899861B1 (en) 2013-10-10 2018-02-20 Energous Corporation Wireless charging methods and systems for game controllers, based on pocket-forming
US9124125B2 (en) 2013-05-10 2015-09-01 Energous Corporation Wireless power transmission with selective range
US9941747B2 (en) 2014-07-14 2018-04-10 Energous Corporation System and method for manually selecting and deselecting devices to charge in a wireless power network
US9876648B2 (en) 2014-08-21 2018-01-23 Energous Corporation System and method to control a wireless power transmission system by configuration of wireless power transmission control parameters
US10193396B1 (en) 2014-05-07 2019-01-29 Energous Corporation Cluster management of transmitters in a wireless power transmission system
US9143000B2 (en) 2012-07-06 2015-09-22 Energous Corporation Portable wireless charging pad
US9966765B1 (en) 2013-06-25 2018-05-08 Energous Corporation Multi-mode transmitter
US10992187B2 (en) 2012-07-06 2021-04-27 Energous Corporation System and methods of using electromagnetic waves to wirelessly deliver power to electronic devices
US10103582B2 (en) 2012-07-06 2018-10-16 Energous Corporation Transmitters for wireless power transmission
US10224758B2 (en) 2013-05-10 2019-03-05 Energous Corporation Wireless powering of electronic devices with selective delivery range
US10381880B2 (en) 2014-07-21 2019-08-13 Energous Corporation Integrated antenna structure arrays for wireless power transmission
US10141768B2 (en) 2013-06-03 2018-11-27 Energous Corporation Systems and methods for maximizing wireless power transfer efficiency by instructing a user to change a receiver device's position
US10124754B1 (en) 2013-07-19 2018-11-13 Energous Corporation Wireless charging and powering of electronic sensors in a vehicle
US12057715B2 (en) 2012-07-06 2024-08-06 Energous Corporation Systems and methods of wirelessly delivering power to a wireless-power receiver device in response to a change of orientation of the wireless-power receiver device
US9941707B1 (en) 2013-07-19 2018-04-10 Energous Corporation Home base station for multiple room coverage with multiple transmitters
US9973021B2 (en) 2012-07-06 2018-05-15 Energous Corporation Receivers for wireless power transmission
US10063105B2 (en) 2013-07-11 2018-08-28 Energous Corporation Proximity transmitters for wireless power charging systems
US10148097B1 (en) 2013-11-08 2018-12-04 Energous Corporation Systems and methods for using a predetermined number of communication channels of a wireless power transmitter to communicate with different wireless power receivers
US10141791B2 (en) 2014-05-07 2018-11-27 Energous Corporation Systems and methods for controlling communications during wireless transmission of power using application programming interfaces
US9887584B1 (en) 2014-08-21 2018-02-06 Energous Corporation Systems and methods for a configuration web service to provide configuration of a wireless power transmitter within a wireless power transmission system
US10090699B1 (en) 2013-11-01 2018-10-02 Energous Corporation Wireless powered house
US9882427B2 (en) 2013-05-10 2018-01-30 Energous Corporation Wireless power delivery using a base station to control operations of a plurality of wireless power transmitters
US9887739B2 (en) 2012-07-06 2018-02-06 Energous Corporation Systems and methods for wireless power transmission by comparing voltage levels associated with power waves transmitted by antennas of a plurality of antennas of a transmitter to determine appropriate phase adjustments for the power waves
US9853692B1 (en) 2014-05-23 2017-12-26 Energous Corporation Systems and methods for wireless power transmission
US10063064B1 (en) 2014-05-23 2018-08-28 Energous Corporation System and method for generating a power receiver identifier in a wireless power network
US9368020B1 (en) 2013-05-10 2016-06-14 Energous Corporation Off-premises alert system and method for wireless power receivers in a wireless power network
US9866279B2 (en) 2013-05-10 2018-01-09 Energous Corporation Systems and methods for selecting which power transmitter should deliver wireless power to a receiving device in a wireless power delivery network
US9819230B2 (en) 2014-05-07 2017-11-14 Energous Corporation Enhanced receiver for wireless power transmission
US9538382B2 (en) 2013-05-10 2017-01-03 Energous Corporation System and method for smart registration of wireless power receivers in a wireless power network
US9419443B2 (en) 2013-05-10 2016-08-16 Energous Corporation Transducer sound arrangement for pocket-forming
US9537357B2 (en) 2013-05-10 2017-01-03 Energous Corporation Wireless sound charging methods and systems for game controllers, based on pocket-forming
US10103552B1 (en) 2013-06-03 2018-10-16 Energous Corporation Protocols for authenticated wireless power transmission
US10003211B1 (en) 2013-06-17 2018-06-19 Energous Corporation Battery life of portable electronic devices
US10021523B2 (en) 2013-07-11 2018-07-10 Energous Corporation Proximity transmitters for wireless power charging systems
US9979440B1 (en) 2013-07-25 2018-05-22 Energous Corporation Antenna tile arrangements configured to operate as one functional unit
US10075017B2 (en) 2014-02-06 2018-09-11 Energous Corporation External or internal wireless power receiver with spaced-apart antenna elements for charging or powering mobile devices using wirelessly delivered power
US9935482B1 (en) 2014-02-06 2018-04-03 Energous Corporation Wireless power transmitters that transmit at determined times based on power availability and consumption at a receiving mobile device
US10158257B2 (en) 2014-05-01 2018-12-18 Energous Corporation System and methods for using sound waves to wirelessly deliver power to electronic devices
US9966784B2 (en) 2014-06-03 2018-05-08 Energous Corporation Systems and methods for extending battery life of portable electronic devices charged by sound
US10153645B1 (en) 2014-05-07 2018-12-11 Energous Corporation Systems and methods for designating a master power transmitter in a cluster of wireless power transmitters
US9973008B1 (en) 2014-05-07 2018-05-15 Energous Corporation Wireless power receiver with boost converters directly coupled to a storage element
US10153653B1 (en) 2014-05-07 2018-12-11 Energous Corporation Systems and methods for using application programming interfaces to control communications between a transmitter and a receiver
US9800172B1 (en) 2014-05-07 2017-10-24 Energous Corporation Integrated rectifier and boost converter for boosting voltage received from wireless power transmission waves
US10170917B1 (en) 2014-05-07 2019-01-01 Energous Corporation Systems and methods for managing and controlling a wireless power network by establishing time intervals during which receivers communicate with a transmitter
US9876536B1 (en) 2014-05-23 2018-01-23 Energous Corporation Systems and methods for assigning groups of antennas to transmit wireless power to different wireless power receivers
US10116143B1 (en) 2014-07-21 2018-10-30 Energous Corporation Integrated antenna arrays for wireless power transmission
US9871301B2 (en) 2014-07-21 2018-01-16 Energous Corporation Integrated miniature PIFA with artificial magnetic conductor metamaterials
US10068703B1 (en) 2014-07-21 2018-09-04 Energous Corporation Integrated miniature PIFA with artificial magnetic conductor metamaterials
US9965009B1 (en) 2014-08-21 2018-05-08 Energous Corporation Systems and methods for assigning a power receiver to individual power transmitters based on location of the power receiver
US9917477B1 (en) 2014-08-21 2018-03-13 Energous Corporation Systems and methods for automatically testing the communication between power transmitter and wireless receiver
US9815573B2 (en) * 2014-09-01 2017-11-14 James Joshua Woods Solar energy conversion and transmission system and method
KR101949963B1 (ko) 2014-10-31 2019-02-19 테스로닉스 인코포레이티드 전자기파들의 정렬을 이용한 무선 에너지 전달
US10530190B2 (en) 2014-10-31 2020-01-07 Teslonix Inc. Wireless energy transfer in a multipath environment
US10256678B2 (en) 2014-10-31 2019-04-09 Teslonix Inc. Wireless energy transfer using alignment of electromagnetic waves
US10474852B2 (en) 2014-10-31 2019-11-12 Teslonix Inc. Charging long-range radio frequency identification tags
US10122415B2 (en) 2014-12-27 2018-11-06 Energous Corporation Systems and methods for assigning a set of antennas of a wireless power transmitter to a wireless power receiver based on a location of the wireless power receiver
US9893535B2 (en) 2015-02-13 2018-02-13 Energous Corporation Systems and methods for determining optimal charging positions to maximize efficiency of power received from wirelessly delivered sound wave energy
US10825417B2 (en) 2015-04-10 2020-11-03 Ossia Inc. Wirelessly powered electronic display apparatuses
US10243412B1 (en) 2015-08-27 2019-03-26 The United States Of America As Represented By The Administrator Of The National Aeronautics And Space Administration Beamforming rectennas, systems and methods for wireless power transfer
US10523033B2 (en) 2015-09-15 2019-12-31 Energous Corporation Receiver devices configured to determine location within a transmission field
US12283828B2 (en) 2015-09-15 2025-04-22 Energous Corporation Receiver devices configured to determine location within a transmission field
US9906275B2 (en) 2015-09-15 2018-02-27 Energous Corporation Identifying receivers in a wireless charging transmission field
US9941752B2 (en) 2015-09-16 2018-04-10 Energous Corporation Systems and methods of object detection in wireless power charging systems
US9893538B1 (en) 2015-09-16 2018-02-13 Energous Corporation Systems and methods of object detection in wireless power charging systems
US10186893B2 (en) 2015-09-16 2019-01-22 Energous Corporation Systems and methods for real time or near real time wireless communications between a wireless power transmitter and a wireless power receiver
US11710321B2 (en) 2015-09-16 2023-07-25 Energous Corporation Systems and methods of object detection in wireless power charging systems
US10199850B2 (en) 2015-09-16 2019-02-05 Energous Corporation Systems and methods for wirelessly transmitting power from a transmitter to a receiver by determining refined locations of the receiver in a segmented transmission field associated with the transmitter
US10008875B1 (en) 2015-09-16 2018-06-26 Energous Corporation Wireless power transmitter configured to transmit power waves to a predicted location of a moving wireless power receiver
US10211685B2 (en) 2015-09-16 2019-02-19 Energous Corporation Systems and methods for real or near real time wireless communications between a wireless power transmitter and a wireless power receiver
US10778041B2 (en) 2015-09-16 2020-09-15 Energous Corporation Systems and methods for generating power waves in a wireless power transmission system
US10158259B1 (en) 2015-09-16 2018-12-18 Energous Corporation Systems and methods for identifying receivers in a transmission field by transmitting exploratory power waves towards different segments of a transmission field
US9871387B1 (en) 2015-09-16 2018-01-16 Energous Corporation Systems and methods of object detection using one or more video cameras in wireless power charging systems
US10033222B1 (en) 2015-09-22 2018-07-24 Energous Corporation Systems and methods for determining and generating a waveform for wireless power transmission waves
US10135295B2 (en) 2015-09-22 2018-11-20 Energous Corporation Systems and methods for nullifying energy levels for wireless power transmission waves
US10020678B1 (en) 2015-09-22 2018-07-10 Energous Corporation Systems and methods for selecting antennas to generate and transmit power transmission waves
US10027168B2 (en) 2015-09-22 2018-07-17 Energous Corporation Systems and methods for generating and transmitting wireless power transmission waves using antennas having a spacing that is selected by the transmitter
US10050470B1 (en) 2015-09-22 2018-08-14 Energous Corporation Wireless power transmission device having antennas oriented in three dimensions
US10153660B1 (en) 2015-09-22 2018-12-11 Energous Corporation Systems and methods for preconfiguring sensor data for wireless charging systems
US10128686B1 (en) 2015-09-22 2018-11-13 Energous Corporation Systems and methods for identifying receiver locations using sensor technologies
US10135294B1 (en) 2015-09-22 2018-11-20 Energous Corporation Systems and methods for preconfiguring transmission devices for power wave transmissions based on location data of one or more receivers
US10333332B1 (en) 2015-10-13 2019-06-25 Energous Corporation Cross-polarized dipole antenna
US10734717B2 (en) 2015-10-13 2020-08-04 Energous Corporation 3D ceramic mold antenna
US9788282B2 (en) 2015-11-30 2017-10-10 Veniam, Inc. Systems and methods for improving fixed access point coverage in a network of moving things
US9948512B2 (en) 2016-01-14 2018-04-17 Veniam, Inc. Systems and methods for remote configuration update and distribution in a network of moving things
US9853485B2 (en) 2015-10-28 2017-12-26 Energous Corporation Antenna for wireless charging systems
US9899744B1 (en) 2015-10-28 2018-02-20 Energous Corporation Antenna for wireless charging systems
US10063108B1 (en) 2015-11-02 2018-08-28 Energous Corporation Stamped three-dimensional antenna
US10027180B1 (en) 2015-11-02 2018-07-17 Energous Corporation 3D triple linear antenna that acts as heat sink
US10135112B1 (en) 2015-11-02 2018-11-20 Energous Corporation 3D antenna mount
US10256677B2 (en) 2016-12-12 2019-04-09 Energous Corporation Near-field RF charging pad with adaptive loading to efficiently charge an electronic device at any position on the pad
US10141771B1 (en) 2015-12-24 2018-11-27 Energous Corporation Near field transmitters with contact points for wireless power charging
US10320446B2 (en) 2015-12-24 2019-06-11 Energous Corporation Miniaturized highly-efficient designs for near-field power transfer system
US10027159B2 (en) 2015-12-24 2018-07-17 Energous Corporation Antenna for transmitting wireless power signals
US11863001B2 (en) 2015-12-24 2024-01-02 Energous Corporation Near-field antenna for wireless power transmission with antenna elements that follow meandering patterns
US10038332B1 (en) 2015-12-24 2018-07-31 Energous Corporation Systems and methods of wireless power charging through multiple receiving devices
US10079515B2 (en) 2016-12-12 2018-09-18 Energous Corporation Near-field RF charging pad with multi-band antenna element with adaptive loading to efficiently charge an electronic device at any position on the pad
US10164478B2 (en) 2015-12-29 2018-12-25 Energous Corporation Modular antenna boards in wireless power transmission systems
JP7557260B2 (ja) 2016-07-01 2024-09-27 エルジー イノテック カンパニー リミテッド 異物質検出方法及びそのための装置及びシステム
US10923954B2 (en) 2016-11-03 2021-02-16 Energous Corporation Wireless power receiver with a synchronous rectifier
EP3552295A1 (en) 2016-12-12 2019-10-16 Energous Corporation Methods of selectively activating antenna zones of a near-field charging pad to maximize wireless power delivered
RU2643177C1 (ru) 2016-12-14 2018-01-31 Самсунг Электроникс Ко., Лтд. Микроволновое беспроводное зарядное устройство с фокусировкой микроволнового поля
US10680319B2 (en) 2017-01-06 2020-06-09 Energous Corporation Devices and methods for reducing mutual coupling effects in wireless power transmission systems
US10389161B2 (en) 2017-03-15 2019-08-20 Energous Corporation Surface mount dielectric antennas for wireless power transmitters
US10439442B2 (en) 2017-01-24 2019-10-08 Energous Corporation Microstrip antennas for wireless power transmitters
WO2018183892A1 (en) 2017-03-30 2018-10-04 Energous Corporation Flat antennas having two or more resonant frequencies for use in wireless power transmission systems
US10511097B2 (en) 2017-05-12 2019-12-17 Energous Corporation Near-field antennas for accumulating energy at a near-field distance with minimal far-field gain
US12074460B2 (en) 2017-05-16 2024-08-27 Wireless Electrical Grid Lan, Wigl Inc. Rechargeable wireless power bank and method of using
US11462949B2 (en) 2017-05-16 2022-10-04 Wireless electrical Grid LAN, WiGL Inc Wireless charging method and system
US12074452B2 (en) 2017-05-16 2024-08-27 Wireless Electrical Grid Lan, Wigl Inc. Networked wireless charging system
EP3412583B1 (en) 2017-06-06 2022-08-03 Airbus Defence and Space GmbH Energy supplying device for spacecraft
CN107134862B (zh) * 2017-06-19 2020-06-30 维沃移动通信有限公司 一种应用处理器、无线充电电路及无线充电控制方法
US10848853B2 (en) 2017-06-23 2020-11-24 Energous Corporation Systems, methods, and devices for utilizing a wire of a sound-producing device as an antenna for receipt of wirelessly delivered power
US10122219B1 (en) 2017-10-10 2018-11-06 Energous Corporation Systems, methods, and devices for using a battery as a antenna for receiving wirelessly delivered power from radio frequency power waves
US11342798B2 (en) 2017-10-30 2022-05-24 Energous Corporation Systems and methods for managing coexistence of wireless-power signals and data signals operating in a same frequency band
US10615647B2 (en) 2018-02-02 2020-04-07 Energous Corporation Systems and methods for detecting wireless power receivers and other objects at a near-field charging pad
US11159057B2 (en) 2018-03-14 2021-10-26 Energous Corporation Loop antennas with selectively-activated feeds to control propagation patterns of wireless power signals
US10796112B2 (en) 2018-05-28 2020-10-06 Teslonix Inc. Protocol layer coordination of wireless energy transfer systems
US11515732B2 (en) 2018-06-25 2022-11-29 Energous Corporation Power wave transmission techniques to focus wirelessly delivered power at a receiving device
US11437735B2 (en) 2018-11-14 2022-09-06 Energous Corporation Systems for receiving electromagnetic energy using antennas that are minimally affected by the presence of the human body
JP2022523022A (ja) 2019-01-28 2022-04-21 エナージャス コーポレイション 無線送電のための小型アンテナ用のシステム及び方法
WO2020163574A1 (en) 2019-02-06 2020-08-13 Energous Corporation Systems and methods of estimating optimal phases to use for individual antennas in an antenna array
KR102812754B1 (ko) * 2019-10-15 2025-05-23 삼성전자주식회사 통신 장치 및 통신 장치의 데이터 수신 방법
BR112022009160A2 (pt) 2019-11-12 2022-07-26 Emrod Ltd Sistema e método para transferência de energia sem fio de longo alcance
CN115336137B (zh) * 2020-03-30 2025-08-05 三菱电机株式会社 无线输电条件学习装置、无线输电条件决定装置、无线输电装置及无线受电装置

Citations (7)

* Cited by examiner, † Cited by third party
Publication number Priority date Publication date Assignee Title
JPS63131428U (ja) * 1987-02-19 1988-08-29
JPH0784035A (ja) * 1993-09-16 1995-03-31 Japan Radio Co Ltd 自動車用前方警戒レーダ装置
JPH10313472A (ja) * 1997-05-14 1998-11-24 Matsushita Electric Ind Co Ltd 無線基地局装置および無線端末装置
JP2002095190A (ja) * 2000-09-14 2002-03-29 Mitsubishi Electric Corp 宇宙太陽光発電方法、及びその方法を用いたシステム
JP2002152108A (ja) * 2000-11-09 2002-05-24 Ntt Docomo Inc 移動通信方法及びその装置
JP2003168912A (ja) * 2001-11-29 2003-06-13 Mitsubishi Electric Corp アンテナ装置
JP2004032879A (ja) * 2002-06-25 2004-01-29 Mitsubishi Heavy Ind Ltd 送電ビーム方向制御装置

Family Cites Families (10)

* Cited by examiner, † Cited by third party
Publication number Priority date Publication date Assignee Title
JP3613142B2 (ja) * 2000-04-24 2005-01-26 三菱電機株式会社 宇宙太陽光発電方法、そのシステム、発電衛星、制御衛星及び電力基地
JP3584868B2 (ja) * 2000-09-14 2004-11-04 三菱電機株式会社 マイクロ波の受信方法及び受信システム
JP3613158B2 (ja) * 2000-09-14 2005-01-26 三菱電機株式会社 宇宙太陽光発電方法、そのシステム、発電衛星及び電力基地
US6417803B1 (en) * 2001-04-03 2002-07-09 The Boeing Company Beam alignment system and method for an antenna
JP3627104B2 (ja) * 2001-11-29 2005-03-09 三菱電機株式会社 発電衛星及び送信アンテナ装置
JP3584925B2 (ja) * 2001-11-29 2004-11-04 三菱電機株式会社 宇宙太陽光発電システム
JP2003309938A (ja) * 2002-04-15 2003-10-31 Mitsubishi Electric Corp 宇宙太陽光発電システム、携行型小電力電子機器、受信アンテナ装置及び電力システム
US6967462B1 (en) * 2003-06-05 2005-11-22 Nasa Glenn Research Center Charging of devices by microwave power beaming
WO2005104331A1 (ja) * 2004-03-30 2005-11-03 Mitsubishi Denki Kabushiki Kaisha レクテナ太陽電池ハイブリッドパネル、及びハイブリッド太陽光発電システム
JP4457745B2 (ja) 2004-05-07 2010-04-28 三菱電機株式会社 衛星、地球局

Patent Citations (7)

* Cited by examiner, † Cited by third party
Publication number Priority date Publication date Assignee Title
JPS63131428U (ja) * 1987-02-19 1988-08-29
JPH0784035A (ja) * 1993-09-16 1995-03-31 Japan Radio Co Ltd 自動車用前方警戒レーダ装置
JPH10313472A (ja) * 1997-05-14 1998-11-24 Matsushita Electric Ind Co Ltd 無線基地局装置および無線端末装置
JP2002095190A (ja) * 2000-09-14 2002-03-29 Mitsubishi Electric Corp 宇宙太陽光発電方法、及びその方法を用いたシステム
JP2002152108A (ja) * 2000-11-09 2002-05-24 Ntt Docomo Inc 移動通信方法及びその装置
JP2003168912A (ja) * 2001-11-29 2003-06-13 Mitsubishi Electric Corp アンテナ装置
JP2004032879A (ja) * 2002-06-25 2004-01-29 Mitsubishi Heavy Ind Ltd 送電ビーム方向制御装置

Cited By (23)

* Cited by examiner, † Cited by third party
Publication number Priority date Publication date Assignee Title
US12341351B2 (en) 2007-06-14 2025-06-24 Ossia Inc. Wireless power transmission system
JP2013081367A (ja) * 2010-01-05 2013-05-02 Mitsubishi Electric Corp 電力送信装置
JP2011142708A (ja) * 2010-01-05 2011-07-21 Mitsubishi Electric Corp 無線電力伝送システム、電力送信装置及びレクテナ基地局
WO2011102522A1 (ja) * 2010-02-22 2011-08-25 三菱重工業株式会社 フェーズドアレイアンテナ及びその位相制御方法
JP2011172170A (ja) * 2010-02-22 2011-09-01 Mitsubishi Heavy Ind Ltd フェーズドアレイアンテナ及びその位相制御方法
JP2011182144A (ja) * 2010-02-26 2011-09-15 Mitsubishi Heavy Ind Ltd フェーズドアレイアンテナ及びその制御方法
JP2012016087A (ja) * 2010-06-29 2012-01-19 Mitsubishi Electric Corp 無線電力伝送システム、レクテナ基地局及び電力送信装置
JP2023184683A (ja) * 2010-08-23 2023-12-28 オッシア インコーポレイテッド 無線電力送信システム
JP2012084971A (ja) * 2010-10-07 2012-04-26 Ihi Aerospace Co Ltd フェーズドアレイアンテナ装置
WO2013099997A1 (ja) * 2011-12-28 2013-07-04 三菱重工業株式会社 受電装置及び無線電力伝送システム
JP2013141099A (ja) * 2011-12-28 2013-07-18 Mitsubishi Heavy Ind Ltd 受電装置及び無線電力伝送システム
KR20130111832A (ko) * 2012-04-02 2013-10-11 엘에스전선 주식회사 전송 코일 배열을 이용한 무선 전력 전송 장치 및 무선 전력 전송 시스템
KR101953913B1 (ko) * 2012-04-02 2019-03-04 엘에스전선 주식회사 전송 코일 배열을 이용한 무선 전력 전송 장치 및 무선 전력 전송 시스템
JP2020191781A (ja) * 2014-07-23 2020-11-26 デイヴィッド ハイランド 宇宙ベースの太陽エネルギを収集及び分配するためのシステム及び方法
JP2017073930A (ja) * 2015-10-09 2017-04-13 三菱電機株式会社 無線送電装置及び無線送電システム
JP2017220960A (ja) * 2016-06-02 2017-12-14 パナソニック株式会社 無線給電方法
CN107887695B (zh) * 2017-09-27 2019-12-20 西安空间无线电技术研究所 一种具有导引信号发射功能的整流天线
CN107887695A (zh) * 2017-09-27 2018-04-06 西安空间无线电技术研究所 一种具有导引信号发射功能的整流天线
KR20210121736A (ko) * 2020-03-31 2021-10-08 서울대학교산학협력단 마이크로파 무선전력 전송 방법 및 그 장치
KR102386094B1 (ko) 2020-03-31 2022-04-14 서울대학교 산학협력단 마이크로파 무선전력 전송 방법 및 그 장치
JP2022024926A (ja) * 2020-07-28 2022-02-09 ミネベアミツミ株式会社 給電装置、及び、給電方法
JP7547705B2 (ja) 2020-07-28 2024-09-10 ミネベアミツミ株式会社 給電装置、及び、給電方法
JP2024051560A (ja) * 2022-09-30 2024-04-11 株式会社日立製作所 宇宙太陽光エネルギー送受電システム、エネルギー送受電方法及び受信局

Also Published As

Publication number Publication date
US20090315412A1 (en) 2009-12-24
JP4715874B2 (ja) 2011-07-06
US7888586B2 (en) 2011-02-15

Similar Documents

Publication Publication Date Title
JP4715874B2 (ja) 無線電力伝送システム、電力送信装置及びレクテナ基地局
JP5696728B2 (ja) 電力送信装置
JP2012217323A (ja) 無線電力伝送システム、電力送信装置及びレクテナ基地局
EP2283540B1 (en) A system and a method for mast vibration compensation
US7340248B2 (en) Calibration apparatus
US20040061644A1 (en) CCE calibration with an array of calibration probes interleaved with the array antenna
EP2911323A1 (en) Method and apparatus for self-calibrating antenna arrays
US6771984B1 (en) Base station device and radio communication method
EP3252922B1 (en) Wireless power feeding method and wireless power feeding device
US20190058245A1 (en) Adaptive phased array antenna architecture
WO2002035648A1 (fr) Récepteur à antenne en réseau et procédé d'étalonnage
US20220200161A1 (en) Phased array antenna device and program
JP3602516B2 (ja) マイクロ波送信システム
US20020198026A1 (en) Method, communications system, and base station for transmitting signals with transmit diversity
US20230024250A1 (en) A wireless receiver
CN1171352C (zh) 无线发送装置及发送方向性调整方法
US20220376755A1 (en) Multi-antenna channel estimation apparatus and method for beamforming
KR101550446B1 (ko) 빔 폭 변형이 가능한 위성안테나 시스템 및 운영방법
US9270360B2 (en) Signal transmitting/receiving apparatus and method for controlling polarization
US8169886B2 (en) Code division multiple access based contingency transmission
EP1146664A1 (en) Array-antenna wireless communication device, and method of generating weight coefficient
JP7369844B1 (ja) 無線電力伝送システム、送電システム、受電システム、送電装置、受電装置及び宇宙太陽光発電衛星
US20250150123A1 (en) Wireless communication system, wireless communication method, and wireless communication device
CN112384825B (zh) 电子转向天线系统的波束对准的改进或与其相关的改进
JP6800244B2 (ja) 自律型放射パターン生成アンテナ制御装置

Legal Events

Date Code Title Description
A621 Written request for application examination

Free format text: JAPANESE INTERMEDIATE CODE: A621

Effective date: 20100107

A977 Report on retrieval

Free format text: JAPANESE INTERMEDIATE CODE: A971007

Effective date: 20100408

A131 Notification of reasons for refusal

Free format text: JAPANESE INTERMEDIATE CODE: A131

Effective date: 20100413

A521 Request for written amendment filed

Free format text: JAPANESE INTERMEDIATE CODE: A523

Effective date: 20100604

A131 Notification of reasons for refusal

Free format text: JAPANESE INTERMEDIATE CODE: A131

Effective date: 20100928

A521 Request for written amendment filed

Free format text: JAPANESE INTERMEDIATE CODE: A523

Effective date: 20101025

TRDD Decision of grant or rejection written
A01 Written decision to grant a patent or to grant a registration (utility model)

Free format text: JAPANESE INTERMEDIATE CODE: A01

Effective date: 20110301

A61 First payment of annual fees (during grant procedure)

Free format text: JAPANESE INTERMEDIATE CODE: A61

Effective date: 20110314

R151 Written notification of patent or utility model registration

Ref document number: 4715874

Country of ref document: JP

Free format text: JAPANESE INTERMEDIATE CODE: R151

FPAY Renewal fee payment (event date is renewal date of database)

Free format text: PAYMENT UNTIL: 20140408

Year of fee payment: 3

R250 Receipt of annual fees

Free format text: JAPANESE INTERMEDIATE CODE: R250

R250 Receipt of annual fees

Free format text: JAPANESE INTERMEDIATE CODE: R250

R250 Receipt of annual fees

Free format text: JAPANESE INTERMEDIATE CODE: R250

R250 Receipt of annual fees

Free format text: JAPANESE INTERMEDIATE CODE: R250

R250 Receipt of annual fees

Free format text: JAPANESE INTERMEDIATE CODE: R250

R250 Receipt of annual fees

Free format text: JAPANESE INTERMEDIATE CODE: R250

R250 Receipt of annual fees

Free format text: JAPANESE INTERMEDIATE CODE: R250

R250 Receipt of annual fees

Free format text: JAPANESE INTERMEDIATE CODE: R250

R250 Receipt of annual fees

Free format text: JAPANESE INTERMEDIATE CODE: R250

R250 Receipt of annual fees

Free format text: JAPANESE INTERMEDIATE CODE: R250