JP2010004202A - 防水構造付き携帯端末装置 - Google Patents

防水構造付き携帯端末装置 Download PDF

Info

Publication number
JP2010004202A
JP2010004202A JP2008159973A JP2008159973A JP2010004202A JP 2010004202 A JP2010004202 A JP 2010004202A JP 2008159973 A JP2008159973 A JP 2008159973A JP 2008159973 A JP2008159973 A JP 2008159973A JP 2010004202 A JP2010004202 A JP 2010004202A
Authority
JP
Japan
Prior art keywords
waterproof
packing
cable
housing
press
Prior art date
Legal status (The legal status is an assumption and is not a legal conclusion. Google has not performed a legal analysis and makes no representation as to the accuracy of the status listed.)
Granted
Application number
JP2008159973A
Other languages
English (en)
Other versions
JP2010004202A5 (ja
JP4438883B2 (ja
Inventor
Masashi Kumagai
正志 熊谷
Shingo Kume
信吾 粂
Current Assignee (The listed assignees may be inaccurate. Google has not performed a legal analysis and makes no representation or warranty as to the accuracy of the list.)
Panasonic Corp
Original Assignee
Panasonic Corp
Priority date (The priority date is an assumption and is not a legal conclusion. Google has not performed a legal analysis and makes no representation as to the accuracy of the date listed.)
Filing date
Publication date
Application filed by Panasonic Corp filed Critical Panasonic Corp
Priority to JP2008159973A priority Critical patent/JP4438883B2/ja
Priority to CN2009801282426A priority patent/CN102100133A/zh
Priority to US12/999,870 priority patent/US20110110022A1/en
Priority to PCT/JP2009/000390 priority patent/WO2009153898A1/ja
Publication of JP2010004202A publication Critical patent/JP2010004202A/ja
Publication of JP2010004202A5 publication Critical patent/JP2010004202A5/ja
Application granted granted Critical
Publication of JP4438883B2 publication Critical patent/JP4438883B2/ja
Expired - Fee Related legal-status Critical Current
Anticipated expiration legal-status Critical

Links

Images

Classifications

    • HELECTRICITY
    • H04ELECTRIC COMMUNICATION TECHNIQUE
    • H04MTELEPHONIC COMMUNICATION
    • H04M1/00Substation equipment, e.g. for use by subscribers
    • H04M1/02Constructional features of telephone sets
    • H04M1/18Telephone sets specially adapted for use in ships, mines, or other places exposed to adverse environment
    • GPHYSICS
    • G06COMPUTING OR CALCULATING; COUNTING
    • G06FELECTRIC DIGITAL DATA PROCESSING
    • G06F1/00Details not covered by groups G06F3/00 - G06F13/00 and G06F21/00
    • G06F1/16Constructional details or arrangements
    • G06F1/1613Constructional details or arrangements for portable computers
    • G06F1/1615Constructional details or arrangements for portable computers with several enclosures having relative motions, each enclosure supporting at least one I/O or computing function
    • G06F1/1616Constructional details or arrangements for portable computers with several enclosures having relative motions, each enclosure supporting at least one I/O or computing function with folding flat displays, e.g. laptop computers or notebooks having a clamshell configuration, with body parts pivoting to an open position around an axis parallel to the plane they define in closed position
    • GPHYSICS
    • G06COMPUTING OR CALCULATING; COUNTING
    • G06FELECTRIC DIGITAL DATA PROCESSING
    • G06F1/00Details not covered by groups G06F3/00 - G06F13/00 and G06F21/00
    • G06F1/16Constructional details or arrangements
    • G06F1/1613Constructional details or arrangements for portable computers
    • G06F1/1633Constructional details or arrangements of portable computers not specific to the type of enclosures covered by groups G06F1/1615 - G06F1/1626
    • G06F1/1656Details related to functional adaptations of the enclosure, e.g. to provide protection against EMI, shock, water, or to host detachable peripherals like a mouse or removable expansions units like PCMCIA cards, or to provide access to internal components for maintenance or to removable storage supports like CDs or DVDs, or to mechanically mount accessories
    • GPHYSICS
    • G06COMPUTING OR CALCULATING; COUNTING
    • G06FELECTRIC DIGITAL DATA PROCESSING
    • G06F1/00Details not covered by groups G06F3/00 - G06F13/00 and G06F21/00
    • G06F1/16Constructional details or arrangements
    • G06F1/1613Constructional details or arrangements for portable computers
    • G06F1/1633Constructional details or arrangements of portable computers not specific to the type of enclosures covered by groups G06F1/1615 - G06F1/1626
    • G06F1/1675Miscellaneous details related to the relative movement between the different enclosures or enclosure parts
    • G06F1/1681Details related solely to hinges
    • HELECTRICITY
    • H04ELECTRIC COMMUNICATION TECHNIQUE
    • H04MTELEPHONIC COMMUNICATION
    • H04M1/00Substation equipment, e.g. for use by subscribers
    • H04M1/02Constructional features of telephone sets
    • H04M1/0202Portable telephone sets, e.g. cordless phones, mobile phones or bar type handsets
    • H04M1/0206Portable telephones comprising a plurality of mechanically joined movable body parts, e.g. hinged housings
    • H04M1/0208Portable telephones comprising a plurality of mechanically joined movable body parts, e.g. hinged housings characterized by the relative motions of the body parts
    • H04M1/0214Foldable telephones, i.e. with body parts pivoting to an open position around an axis parallel to the plane they define in closed position
    • H04M1/0216Foldable in one direction, i.e. using a one degree of freedom hinge

Landscapes

  • Engineering & Computer Science (AREA)
  • Computer Hardware Design (AREA)
  • Theoretical Computer Science (AREA)
  • General Engineering & Computer Science (AREA)
  • Physics & Mathematics (AREA)
  • Human Computer Interaction (AREA)
  • General Physics & Mathematics (AREA)
  • Signal Processing (AREA)
  • Mathematical Physics (AREA)
  • Insertion, Bundling And Securing Of Wires For Electric Apparatuses (AREA)
  • Telephone Set Structure (AREA)
  • Connector Housings Or Holding Contact Members (AREA)

Abstract

【課題】小さい部品、少ない部品で確実な防水機能を実現した携帯端末装置を提供する。
【解決手段】開口部14を有する第一の筐体1と、開口部14を通して第一の筐体1内の電子回路と他の電子回路とを電気的に接続するケーブル5と、ケーブル5が挿通される挿通孔7bが貫通形成されて開口部14に挿入される防水パッキン7とを備え、防水パッキン7は、筒状形状であって、外側に第1防水圧入リブ7cと、内側に第2防水圧入リブ7dとを有し、第1防水圧入リブ7cと第2防水圧入リブ7dとは長さ方向に互いにずれた位置に設けられた防水構造付き携帯端末装置として構成した。
【選択図】図7

Description

本発明は防水構造付き携帯端末装置に関し、特に折り畳み式携帯電話機など複数の筐体に収納された電子回路間を接続するケーブルを用いた防水構造付き携帯端末装置に関する。
いつでもどこでも、場所と環境を選ばずに使用される携帯端末装置である携帯電話機は、防水対策を施したものも実用化されている。例えば、防水性のチューブを用いて複数の筐体に収納された電子回路間を接続するケーブルの防水対策を施したものが知られている(例えば特許文献1、特許文献2参照)。
特開2006−216687号公報 特開2005−325849号公報
しかし、携帯端末装置では、少ない部品で省スペースによる小型化、軽量化が求められる。そのため携帯端末装置に防水機能を付加するには、小さい部品、少ない部品で確実な防水構造を実現することが求められている。
本発明は、開口部を有する筐体と、開口部を通して前記筐体内の電子回路と他の電子回路とを電気的に接続するケーブルと、ケーブルが挿通される挿通孔が貫通形成されて前記開口部に挿入される防水パッキンとを備え、防水パッキンは、筒状形状であって、外側に第1防水圧入リブと、内側に第2防水圧入リブと、を有し、第1防水圧入リブと前記第2防水圧入リブとは挿通孔の軸方向に互いにずれた位置に設けた防水構造を用いて、防水構造付き携帯端末装置を構成している。この構成により、第1防水圧入リブの変形と前記第2防水圧入リブの変形との間の互いの影響を小さくできるので、小さい部品、少ない部品で確実な防水機能を実現した携帯端末装置を提供することができる。
また、本発明は、防水パッキンの第1防水圧入リブは、挿通孔の軸方向の断面が半円形形状であり、防水パッキンの第2防水圧入リブは、挿通孔の軸方向の断面が長方形形状又は台形形状(ただし、角は丸くなっている)であるものを含む。この構成により、組み立て時等に防水パッキンを開口部に挿入する場合には第1防水圧入リブの挿通孔の軸方向の断面が半円形形状なので挿入が容易である一方、筐体を開閉する場合等ケーブルに力が加わった場合でも第2防水圧入リブの挿通孔の軸方向の断面が長方形形状又は台形形状(ただし、角は丸くなっている)なので、接触面積が大きく、確実に防水性を保つことを可能とする。
また、本発明は、防水パッキンは、筒状形状の端部に係止部を有するものを含む。この構成により、係止部が防水パッキンを筐体に押し込むときのストッパーとして機能するため、防水パッキンを防水に適した最適位置に位置させることができる。
また本発明は、防水パッキンは、第1防水圧入リブを第2防水圧入リブよりも係止部と反対側の筒状形状の端部に近い位置に設けたものを含む。この構成により、第1防水圧入リブが内側、すなわち防水パッキンの係止部が外側になるように、防水パッキンを筐体の開口部に挿入しておけば、筐体を開閉する場合等ケーブルに力が加わった場合に防水パッキンが筐体の開口部から少し抜けかかった状態になったとしても、第1防水圧入リブが内側にあるので、防水性を保つことができ、防水性を高めることができる。
また本発明は、防水パッキンの筒状形状を長円形筒状形状とするものを含む。この構成により、長円形筒状形状の短手方向の厚さにより筐体の薄型化を達成しつつ、防水パッキンを筐体に押し込むときの防水パッキンに挿通したケーブルの両側を挿通孔の軸方向に押圧する押圧スペースが確保できる。そのため、押圧スペースを押すことにより、防水パッキンを筐体の挿通孔に押し込むことができる。
また、本発明は、防水パッキンに隣接する位置にケーブル案内溝を有する抜け止め部材を着脱自在に備えるものを含む。そのため、ケーブルに外力が加わっても抜け止め部材がケーブルを所定形状に保ち、ケーブルと防水パッキンの挿通孔の密着を保つ防水機能を実現している。
本発明によれば、小さい部品、少ない部品で確実な防水機能を実現した携帯端末装置を提供することができる。
(実施の形態1)
図1は、本発明の実施の形態1にかかる防水構造付き折り畳み式携帯端末装置の筐体を開いたときの平面図を示す。本発明の実施の形態1にかかる防水構造付き携帯端末装置100は、電話番号等を入力するテンキーなどの操作部を有する第一の筐体1と、液晶表示部を有する第二の筐体2と、両者の筐体を開閉自在に支持する連結部3から構成されている。図2は、本発明の実施の形態1にかかる防水構造付き携帯端末装置100の第一の筐体1から操作パネル13を、第二の筐体2から表示パネル23を、それぞれ外したときの平面図を示している。
第一の筐体1は、2つの部分(ロアーケース1a及びロアーカバー1b)からなり、それぞれの部分の間に防水のためのパッキン12を挟んで複数のネジ4で固定することにより、筐体内に水が浸入することを防いでいる。第二の筐体2も同様に、2つの部分(アッパーケース2a及びアッパーカバー2b)からなり、それぞれの部分の間に防水のためのパッキン22を挟んで複数のネジ4で固定することにより、筐体内に水が浸入することを防いでいる。第一の筐体1と第二の筐体2は、防水性を保つために、例えば比較的硬い樹脂であるPA樹脂などの樹脂製であることが好ましい。
また、第一の筐体1(ロアーカバー1b)には操作パネル13が設けられている。また、第二の筐体2(アッパーカバー2b)には表示パネル23が設けられている。図1では図示していないが、第一の筐体1には、操作制御等を行うための電子回路が実装されたプリント基板が収納されている。また、第二の筐体2には、表示用電子回路が実装されたプリント基板が収納されている。そして、それぞれのプリント基板は、ケーブル5で接続されている。
図2に示したように、第一の筐体1(ロアーケース1a)にはパッキン保持用溝11が設けてあり、第二の筐体2(アッパーケース2a)にはパッキン保持用溝21が設けてある。第一の筐体用パッキン12と第二筐体用パッキン22は、それぞれパッキン保持用溝11とパッキン保持用溝21に嵌めて用いられる。
なお、第一の筐体用パッキン12と第二筐体用パッキン22は、それぞれパッキン保持用溝11とパッキン保持用溝21に嵌めた状態で、パッキン保持用溝11とパッキン保持用溝21から盛り上がる大きさにしている。そのため、ロアーケース1a及びロアーカバー1bとアッパーケース2a及びアッパーカバー2bをそれぞれネジ止めすることにより、第一の筐体1のパッキン保持用溝11で囲まれた範囲と第二の筐体2のパッキン保持用溝21で囲まれた範囲が密閉空間となって防水される。
図2において、ケーブル用防水パッキンの抜け止め部材9は、後に図示するようにコの字形をしていて、第一の筐体1(ロアーケース1a)の抜け止め部材用固定溝99に嵌めこまれることにより、第一の筐体1に固定される。6はネジ穴であり、図1で示したようにネジ4がネジ止めされる。
図3は、図2の第一の筐体1(ロアーケース1a)、第二の筐体2(アッパーケース2a)と連結部3を拡大した平面図である。図3において、第一の筐体1のパッキン保持用溝11の側壁には、ケーブル用パッキン7を固定する開口部であるパッキン用穴14が設けられていて、そのパッキン用穴14にはケーブル用パッキン7が嵌められていることを示している。同様に、第二の筐体2のパッキン保持用溝21の側壁には、ケーブル用パッキン7を固定する開口部であるパッキン用穴24が設けられていて、そのパッキン用穴24にはケーブル用パッキン7が嵌められている。
図4は、第一の筐体1のプリント基板と第二の筐体2のプリント基板を接続するケーブル5を一対のケーブル用パッキン7とともに示した図である。図4に示すように、ケーブル5の両端には、プリント基板に接続する接続端子8を予め固着している。また、ケーブル5は一対のケーブル用パッキン7の抜け止め部7aを筐体の外側にした状態(接続端子8から離れた側にした状態)で、それぞれの挿通孔7bに通している。ケーブル5は、図4のような姿に組み立ててから、図3のように、第一の筐体1と第二の筐体2に組み込まれる。
なお、図3の第一の筐体1のケーブル用防水パッキンの抜け止め部材9は、ケーブル5を組み込む前に一度、第一の筐体1(ロアーケース1a)から取り外しておき、ケーブル5を組み込み、ケーブル用パッキン7を第一の筐体1のパッキン用穴14に嵌めこんだ後に、ケーブル5の上から跨いで押さえるように第一の筐体1(ロアーケース1a)の抜け止め部材用固定溝99に固定する。
抜け止め部材9は、ケーブル用パッキン7が第一の筐体1のパッキン用穴14から抜けないようにする作用と、ケーブル用パッキン7に対してケーブル5が所定の相対角度を保たせる(すなわち、まっすぐな状態を保たせる)作用を果たしている。もし、ケーブル5がケーブル用パッキン7に対して傾いて取り付くと、ケーブル5とケーブル用パッキン7の間に隙間が出来て水が浸入しやすくなるのであるが、抜け止め部材9がケーブル5のケーブル用パッキン7に対する角度を保つことによって防水機能を高めている。
図3の第二の筐体2のケーブル用フック25は、ケーブル用パッキン7を第二の筐体2の開口部であるパッキン用穴24に嵌めこんだ後に、ケーブル5を引っ掛けて固定するためのフックである。ケーブル用フック25は、第二の筐体2に一体成形して、あるいは接着して設けている。第二の筐体2のパッキン用穴24から接続部3に至るケーブル5の長さは、第一の筐体1のパッキン用穴14から接続部3に至るケーブル5の長さより長い。そのため、パッキン用穴24から離れた位置にあるケーブル用フック25にケーブル5を引っ掛けて固定することで、ケーブル5のケーブル用パッキン7に対する角度を保つことができる。このことにより、第二の筐体2においても、ケーブル5とケーブル用パッキン7間の防水機能を高めている。
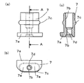
図5に、ケーブル用パッキン7単体の形状を示す。図5(a)はケーブル用パッキン7の平面図、図5(b)はケーブル用パッキン7の正面図、図5(c)は、ケーブル用パッキン7の図5(a)におけるA−A断面図、つまり挿通孔の軸方向の断面図を示している。
ケーブル用パッキン7は中央に挿通孔7bが開いている筒状の形状をしている。筒状形状部分の挿通孔7bの軸に直交する断面形状は長円形をしている。筒状の端部には、筒状部分より外形を大きくした係止部7aを形成している。この係止部7aがケーブル用パッキン7を筐体に押し込むときのストッパーとして機能するため、ケーブル用パッキン7を防水に適した最適位置に位置させることができる。
また、図5(b)に示したように、係止部7aの下の挿通孔7bの両側はケーブル用パッキン7を筐体の開口部であるパッキン用穴24に押し込む際の押圧スペース7eとして用いる。ここで、ケーブル用パッキン7の筒状形状を長円形筒状形状とする。
この構成により、長円形筒状形状の短手方向の厚さにより筐体の薄型化を達成しつつ、ケーブル用パッキン7を筐体に押し込むときのケーブル用パッキン7に挿通したケーブル5の両側を挿通孔7bの軸方向に押圧する押圧スペースが確保できる。そのため、押圧スペース7eを押すことにより、ケーブル用パッキン7を筐体の挿通孔7bに押し込むことができる。なお、ケーブル用パッキン7の挿通孔7bの断面形状(挿通孔7bの軸に直交する断面形状)は、ケーブル5の断面形状に合わせて、円形形状である。
ケーブル用パッキン7の筒状部分の外表面には第1防水圧入リブである凸部7cを環状に設けている。ここで、凸部7cの挿通孔の軸方向の断面形状は、半円形形状をしている。筒状部分の内表面には第2防水圧入リブである、長方形形状の断面(ただし、角は丸くなっている)の長方形形状断面凸部7dを形成している。
ここで、長方形形状断面凸部7dの挿通孔の軸方向の断面形状は、長方形形状の断面(ただし、角は丸くなっている)をしている。この長方形形状断面凸部7dの部分では、内径が挿通孔7bより小さくなっている。また、長方形形状断面凸部7dの挿通孔の軸方向の断面は、長方形形状(ただし、角は丸くなっている)をしている。
この構成により、組み立て時等にケーブル用パッキン7を開口部であるパッキン用穴14、24に挿入する場合には第1防水圧入リブである凸部7cの挿通孔7bの軸方向の断面が半円形形状なので挿入が容易である一方、筐体を開閉する場合等ケーブル5に力が加わった場合でも第2防水圧入リブである長方形形状断面凸部7dの挿通孔7bの軸方向の断面が長方形形状(ただし、角は丸くなっている)なので、接触面積が大きく、確実に防水性を保つことを可能としている。
なお、第2防水圧入リブとして、挿通孔の軸方向の断面形状が長方形形状の断面(ただし、角は丸くなっている)の長方形形状断面凸部7dを説明したが、この代わりに、挿通孔の軸方向の断面形状が台形形状の断面(ただし、角は丸くなっている)の台形形状断面凸部を用いても同様の効果が得られる。
本発明の実施の形態1では、筒状部分の外表面に設けた第1防水圧入リブである凸部7cを係止部7aから遠い位置に形成し、筒状部分の内表面に設けた第2防水圧入リブである長方形形状断面凸部7dを係止部7aの近い位置に形成し、挿通孔の軸方向について両者が重ならないように離している。
このことにより、凸部7cが圧縮されたときの影響ができるだけ長方形形状断面凸部7dに及ばないように、また長方形形状断面凸部7dが圧縮されたときの影響ができるだけ凸部7cに及ばないようにしている。
すなわち、第1防水圧入リブである凸部7cと前記第2防水圧入リブである長方形形状断面凸部7dとを挿通孔7bの軸方向に互いにずれた位置に設けたので、第1防水圧入リブである凸部7cの変形と第2防水圧入リブである長方形形状断面凸部7dの変形との間の互いの影響を小さくできるので、小さい部品、少ない部品で確実な防水機能を実現した携帯端末装置を提供することができる。
また、防水パッキンであるケーブル用パッキン7は、第1防水圧入リブである凸部7cを第2防水圧入リブである長方形形状断面凸部7dよりも係止部7aと反対側の筒状形状の端部に近い位置に設けている。
この構成により、凸部7cが内側、すなわちケーブル用パッキン7の係止部7aが外側になるように、ケーブル用パッキン7を筐体の開口部であるパッキン用穴14、24に挿入しておけば、筐体を開閉する場合等ケーブル5に力が加わった場合にケーブル用パッキン7が筐体の開口部であるパッキン用穴14、24から少し抜けかかった状態になったとしても、凸部7cが長方形形状断面凸部7dや係止部7aより内側にあるので、防水性を保つことができ、防水性を高めることができる。
また、本発明の実施の形態1で、凸部7cの圧縮量と長方形形状断面凸部7dの圧縮量が互いに影響しないようにしたことは、凸部7cと長方形形状断面凸部7dがそれぞれ所要の密着力で筐体あるいはケーブル5とそれぞれ密着するので、確実に防水できるという利点がある。また、凸部7cの圧縮量と長方形形状断面凸部7dの圧縮量を最終調整していく金型製作上においても、個別に圧縮量を最終調整することができるという利点もある。
図6は、ケーブル用防水パッキンの抜け止め部材9単品の斜視図である。抜け止め部材9は略コの字形の部品であり、コの字を形成している溝部9aでケーブル5を覆うように第一の筐体の抜け止め部材用固定溝99に嵌めこまれる。
図7に、ケーブル用パッキン7の挿通孔7bにケーブル5を通し、第一の筐体1の開口部であるパッキン用穴14にケーブル用パッキン7を嵌めこんで、抜け止め部材9をケーブル5の上から第一の筐体の抜け止め部材用固定溝99に嵌め込む手順を示す。
図7(a)は、ケーブル用パッキン7の挿通孔7bにケーブル5を通す前のケーブル用パッキン7とケーブル5の状態を示す。図7(b)は、ケーブル用パッキン7の挿通孔7bにケーブル5を通した後、第一の筐体1のパッキン用穴14にケーブル用パッキン7を嵌め込む寸前の状態を示す。図7(c)は、第一の筐体1のパッキン用穴14にケーブル用パッキン7を嵌め込んだ後、抜け止め部材9をケーブル5の上から第一の筐体の抜け止め部材用固定溝99に嵌め込んだときの状態を示す。
図7(b)で示したように、ケーブル用パッキン7の挿通孔7bにケーブル5を通すと、ケーブル用パッキンの第2防水圧入リブである長方形形状断面凸部7dがケーブル5に密着して一体となる。そして図7(b)の左矢印のように、第一の筐体1のパッキン用穴14にケーブル用パッキン7を嵌め込んでいくのであるが、ケーブル用パッキンは図5(b)で示した挿通孔7bの両側の押圧スペース7eを軸方向に押圧すれば、押圧力をケーブル用パッキン7そのものにかけることが出来る。
そのため、図7(c)のようにケーブル用パッキン7そのものを押圧して、ケーブル用パッキン7を第一の筐体の開口部であるパッキン用穴14に嵌め込むことができる。ケーブル用パッキンの第1防水圧入リブである凸部7cは第一の筐体のパッキン用穴14により圧縮されて密着し、第一の筐体1とケーブル用パッキン7の間での水の浸入を防止する。
なお、第一の筐体のパッキン用穴14の大きさは、ケーブル用パッキン7を押し込んでいく方向にテーパー状に大きくしている。そのため、ケーブル用パッキン7とケーブル5を同時に第一の筐体のパッキン用穴14に一度押し込むと、押し込んだ後はケーブル用パッキン7が抜けにくくなる。
また、図7(c)に示したように、係止部7aが第一の筐体のパッキン用穴14の端面に当たるまでケーブル用パッキン7を嵌め込むと、長方形形状断面凸部7dのある筒状部分の外周面も第一の筐体のパッキン用穴14により押圧される。そのため、第一の筐体のパッキン用穴14とケーブル用パッキンの長方形形状断面凸部7dのある筒状部分の外周面が密着して、第一の筐体1とケーブル用パッキン7の間での水の浸入が防止される。
また、ケーブル用パッキンの長方形形状断面凸部7dも更に圧縮されるので、ケーブル用パッキン7とケーブル5の間が更に密着して防水効果が高まる。
なお、ケーブル用パッキン7の材質については、特に説明しなかったが、シリコンゴム等のパッキン材料を用いることが出来る。また、筐体の開口部であるパッキン用穴14、24の形としては、パッキン用穴14、24というように穴として説明したが、パッキン用穴14、24とパッキン保持用溝11、21がつながった一辺が開口した開口穴としてもよい。
以上説明したように、本発明の実施の形態1によれば、小さい部品、少ない部品で確実な防水機能を実現した携帯端末装置を提供することができる。
また、本発明の実施の形態1では、第一の筐体1と第二の筐体2を開閉するタイプの携帯端末装置100を説明したが、本発明は、第一の筐体1に対して第二の筐体2をスライドするタイプの携帯端末装置、第一の筐体1と第二の筐体2を縦方向及び横方向に開閉するタイプの携帯端末装置などにも用いることが出来る。
本発明は、折り畳み式携帯電話機をはじめ、折り畳み式ゲーム機など、二つの筐体を接続する防水構造付き携帯端末装置に適用することが出来る。また、本発明の防水パッキンは、一つの筐体を接続する防水構造付き携帯端末装置にも適用することが出来る。
本発明の実施の形態1に係る防水構造付き携帯端末装置の筐体を開いたときの平面図 本発明の実施の形態1に係る防水構造付き携帯端末装置を分解して示した平面図 本発明の実施の形態1に係る防水構造付き携帯端末装置の筐体部分の平面図 本発明の実施の形態1に係る防水構造付き携帯端末装置の防水パッキンとケーブルを一体としたときの平面図 (a)本発明の実施の形態1に係る防水構造付き携帯端末装置の防水パッキンの平面図(b)本発明の実施の形態1に係る防水構造付き携帯端末装置の防水パッキンの正面図(c)本発明の実施の形態1に係る防水構造付き携帯端末装置の防水パッキンの断面図 本発明の実施の形態1に係る防水構造付き携帯端末装置の抜け止め部材の斜視図 (a)本発明の実施の形態1に係る防水構造付き携帯端末装置の防水パッキンとケーブルを示す図(b)本発明の実施の形態1に係る防水構造付き携帯端末装置の防水パッキンとケーブルを第一の筐体に嵌め込むときの状態を示す図(c)本発明の実施の形態1に係る防水構造付き携帯端末装置の防水パッキンとケーブルを第一の筐体に嵌め込んだ状態を示す図
符号の説明
1 第一の筐体
2 第二の筐体
3 連結部
5 ケーブル
7 ケーブル用パッキン(防水パッキン)
7a 係止部
7b 挿通孔
7c 凸部(第1防水圧入リブ)
7d 長方形形状断面凸部(第2防水圧入リブ)
7e 押圧スペース
9 抜け止め部材
14,24 パッキン用穴(開口部)

Claims (6)

  1. 開口部を有する筐体と、
    前記開口部を通して前記筐体内の電子回路と他の電子回路とを電気的に接続するケーブルと、
    前記ケーブルが挿通される挿通孔が貫通形成されて前記開口部に挿入される防水パッキンと、を備え、
    前記防水パッキンは、筒状形状であって、前記筒状形状の外側に第1防水圧入リブと、前記筒状形状の内側に第2防水圧入リブと、を有し、前記第1防水圧入リブと前記第2防水圧入リブとは前記挿通孔の軸方向に互いにずれた位置に設けられた
    防水構造付き携帯端末装置。
  2. 前記防水パッキンの前記第1防水圧入リブは、前記挿通孔の軸方向の断面が半円形形状であり、
    前記防水パッキンの前記第2防水圧入リブは、前記挿通孔の軸方向の断面が長方形形状又は台形形状(ただし、角は丸くなっている)である、
    請求項1記載の防水構造付き携帯端末装置。
  3. 前記防水パッキンは、前記筒状形状の端部に係止部を有する
    請求項1又は請求項2記載の防水構造付き携帯端末装置。
  4. 前記防水パッキンは、前記第1防水圧入リブを前記第2防水圧入リブよりも前記係止部と反対側の前記筒状形状の端部に近い位置に設けた
    請求項3記載の防水構造付き携帯端末装置。
  5. 前記防水パッキンの前記筒状形状は、長円形筒状形状である
    請求項1乃至請求項4のいずれか1項に記載の防水構造付き携帯端末装置。
  6. 前記防水パッキンから露出したケーブル部分を覆うことにより、前記防水パッキンに対する前記ケーブルの角度を規制する抜け止め部材を備えた請求項1乃至請求項5のいずれか1項に記載の防水構造付き携帯端末装置。
JP2008159973A 2008-06-19 2008-06-19 防水構造付き携帯端末装置 Expired - Fee Related JP4438883B2 (ja)

Priority Applications (4)

Application Number Priority Date Filing Date Title
JP2008159973A JP4438883B2 (ja) 2008-06-19 2008-06-19 防水構造付き携帯端末装置
CN2009801282426A CN102100133A (zh) 2008-06-19 2009-02-02 具有防水结构的便携式终端装置
US12/999,870 US20110110022A1 (en) 2008-06-19 2009-02-02 Portable terminal device with waterproof structure
PCT/JP2009/000390 WO2009153898A1 (ja) 2008-06-19 2009-02-02 防水構造付き携帯端末装置

Applications Claiming Priority (1)

Application Number Priority Date Filing Date Title
JP2008159973A JP4438883B2 (ja) 2008-06-19 2008-06-19 防水構造付き携帯端末装置

Publications (3)

Publication Number Publication Date
JP2010004202A true JP2010004202A (ja) 2010-01-07
JP2010004202A5 JP2010004202A5 (ja) 2010-02-18
JP4438883B2 JP4438883B2 (ja) 2010-03-24

Family

ID=41433825

Family Applications (1)

Application Number Title Priority Date Filing Date
JP2008159973A Expired - Fee Related JP4438883B2 (ja) 2008-06-19 2008-06-19 防水構造付き携帯端末装置

Country Status (4)

Country Link
US (1) US20110110022A1 (ja)
JP (1) JP4438883B2 (ja)
CN (1) CN102100133A (ja)
WO (1) WO2009153898A1 (ja)

Cited By (1)

* Cited by examiner, † Cited by third party
Publication number Priority date Publication date Assignee Title
JP2011228892A (ja) * 2010-04-19 2011-11-10 Panasonic Corp 折畳電子機器

Families Citing this family (10)

* Cited by examiner, † Cited by third party
Publication number Priority date Publication date Assignee Title
TWI430530B (zh) * 2010-08-02 2014-03-11 A cable - like flexible circuit cable with a waterproof section
JP2013003487A (ja) * 2011-06-21 2013-01-07 Panasonic Liquid Crystal Display Co Ltd 表示装置
KR101850150B1 (ko) * 2011-07-13 2018-04-19 삼성전자주식회사 휴대용 통신 장치
KR101892030B1 (ko) 2012-03-21 2018-08-29 삼성전자주식회사 휴대 단말기의 배터리 커버 방수 장치
KR101929879B1 (ko) * 2012-04-09 2019-03-15 삼성전자주식회사 휴대 단말기
KR102604966B1 (ko) * 2017-02-24 2023-11-22 엘지전자 주식회사 이동 단말기
KR102369614B1 (ko) * 2017-09-05 2022-03-03 삼성전자주식회사 방수 구조를 포함하는 전자 장치
US11294425B2 (en) * 2019-08-20 2022-04-05 Getac Technology Corporation Portable electronic device
EP4336978A4 (en) * 2021-08-10 2024-11-06 Samsung Electronics Co., Ltd. ELECTRONIC DEVICE WITH WATERPROOF STRUCTURE
TWI801214B (zh) * 2022-04-22 2023-05-01 和碩聯合科技股份有限公司 防水電子裝置

Family Cites Families (8)

* Cited by examiner, † Cited by third party
Publication number Priority date Publication date Assignee Title
JPS509593Y1 (ja) * 1970-12-28 1975-03-24
JPS5987186A (ja) * 1982-11-12 1984-05-19 Nec Corp プリントハンマとプラテンの支持機構
JPS5987186U (ja) * 1982-12-03 1984-06-13 株式会社三ツ葉電機製作所 グロメツト
JPS63150429A (ja) * 1986-12-12 1988-06-23 Hitachi Ltd 後備脱塵装置
JPH0313941Y2 (ja) * 1987-03-24 1991-03-28
JP2002164671A (ja) * 2000-11-28 2002-06-07 Canon Inc 出力リード線取出し構造の形成方法及び出力リード線取出し構造、出力リード線取出しユニット、太陽電池モジュール、太陽電池アレイ
US7251512B2 (en) * 2002-05-13 2007-07-31 Nec Corporation Water-proof collapsible cellular terminal apparatus
JP4486461B2 (ja) * 2004-09-27 2010-06-23 富士通株式会社 携帯型電子装置

Cited By (1)

* Cited by examiner, † Cited by third party
Publication number Priority date Publication date Assignee Title
JP2011228892A (ja) * 2010-04-19 2011-11-10 Panasonic Corp 折畳電子機器

Also Published As

Publication number Publication date
WO2009153898A1 (ja) 2009-12-23
JP4438883B2 (ja) 2010-03-24
US20110110022A1 (en) 2011-05-12
CN102100133A (zh) 2011-06-15

Similar Documents

Publication Publication Date Title
JP4438883B2 (ja) 防水構造付き携帯端末装置
JP4880018B2 (ja) 携帯端末装置および筐体防水構造
US20110247924A1 (en) Key button mechanism and electronic device using the same
JP2009059586A (ja) 防水端子構造及び電子機器
KR101966259B1 (ko) 전자 기기의 실링 장치
JP2005348341A (ja) 携帯用電子機器
JP4916388B2 (ja) 携帯用電子機器
JP2008091091A (ja) 電子機器
JP4953941B2 (ja) 携帯用電子機器
JP2010050306A (ja) 防水構造、及び電子機器
JP2013222597A (ja) ジャック構造
JP5163402B2 (ja) コネクタ防水構造、及び電子機器
JP2013106196A (ja) 携帯端末
JP2006287313A (ja) 電子機器の防水構造
TWI407883B (zh) 防水塞及應用該防水塞之電子裝置
JP2008301440A (ja) 電子装置及び電子装置における基板の収納方法
JP2012007697A (ja) パッキン及び防水構造
US20110058314A1 (en) Cover assembly for portable electronic device
JP4624329B2 (ja) 電子機器の防水構造
KR100721146B1 (ko) 카메라 모듈 하우징
KR102337132B1 (ko) 리셉터클 커넥터
JP2010193182A (ja) カメラ付き携帯端末装置
JP2009005002A (ja) 携帯用電子機器
JP5269922B2 (ja) 電子機器および接点部材
JP5503329B2 (ja) 電子機器

Legal Events

Date Code Title Description
A521 Request for written amendment filed

Free format text: JAPANESE INTERMEDIATE CODE: A523

Effective date: 20091111

A621 Written request for application examination

Free format text: JAPANESE INTERMEDIATE CODE: A621

Effective date: 20091111

A871 Explanation of circumstances concerning accelerated examination

Free format text: JAPANESE INTERMEDIATE CODE: A871

Effective date: 20091113

TRDD Decision of grant or rejection written
A975 Report on accelerated examination

Free format text: JAPANESE INTERMEDIATE CODE: A971005

Effective date: 20091208

RD01 Notification of change of attorney

Free format text: JAPANESE INTERMEDIATE CODE: A7421

Effective date: 20091214

A01 Written decision to grant a patent or to grant a registration (utility model)

Free format text: JAPANESE INTERMEDIATE CODE: A01

Effective date: 20091215

A01 Written decision to grant a patent or to grant a registration (utility model)

Free format text: JAPANESE INTERMEDIATE CODE: A01

A61 First payment of annual fees (during grant procedure)

Free format text: JAPANESE INTERMEDIATE CODE: A61

Effective date: 20091228

FPAY Renewal fee payment (event date is renewal date of database)

Free format text: PAYMENT UNTIL: 20130115

Year of fee payment: 3

R151 Written notification of patent or utility model registration

Ref document number: 4438883

Country of ref document: JP

Free format text: JAPANESE INTERMEDIATE CODE: R151

FPAY Renewal fee payment (event date is renewal date of database)

Free format text: PAYMENT UNTIL: 20130115

Year of fee payment: 3

FPAY Renewal fee payment (event date is renewal date of database)

Free format text: PAYMENT UNTIL: 20130115

Year of fee payment: 3

LAPS Cancellation because of no payment of annual fees