JP2010002821A - 液晶表示装置 - Google Patents

液晶表示装置 Download PDF

Info

Publication number
JP2010002821A
JP2010002821A JP2008163090A JP2008163090A JP2010002821A JP 2010002821 A JP2010002821 A JP 2010002821A JP 2008163090 A JP2008163090 A JP 2008163090A JP 2008163090 A JP2008163090 A JP 2008163090A JP 2010002821 A JP2010002821 A JP 2010002821A
Authority
JP
Japan
Prior art keywords
liquid crystal
electrode
signal line
crystal display
counter electrode
Prior art date
Legal status (The legal status is an assumption and is not a legal conclusion. Google has not performed a legal analysis and makes no representation as to the accuracy of the status listed.)
Granted
Application number
JP2008163090A
Other languages
English (en)
Other versions
JP5135076B2 (ja
Inventor
Yoshiharu Owaku
芳治 大和久
Current Assignee (The listed assignees may be inaccurate. Google has not performed a legal analysis and makes no representation or warranty as to the accuracy of the list.)
Japan Display Inc
Original Assignee
Hitachi Displays Ltd
Priority date (The priority date is an assumption and is not a legal conclusion. Google has not performed a legal analysis and makes no representation as to the accuracy of the date listed.)
Filing date
Publication date
Application filed by Hitachi Displays Ltd filed Critical Hitachi Displays Ltd
Priority to JP2008163090A priority Critical patent/JP5135076B2/ja
Publication of JP2010002821A publication Critical patent/JP2010002821A/ja
Application granted granted Critical
Publication of JP5135076B2 publication Critical patent/JP5135076B2/ja
Expired - Fee Related legal-status Critical Current
Anticipated expiration legal-status Critical

Links

Images

Landscapes

  • Liquid Crystal (AREA)

Abstract

【課題】構成が簡単であるにも拘わらず、薄膜トランジスタの半導体層内にリーク電流の発生を抑制でき、高輝度の表示を実現し得る液晶表示装置の提供。
【解決手段】液晶を挟持して対向配置される第1基板と第2基板を備える液晶表示パネルと、この液晶表示パネルの前記第2基板側に配置されるバックライトとからなる液晶表示装置であって、
前記第1基板の液晶側の各画素に、ゲート信号線からの走査信号によってオンされる薄膜トランジスタと、このオンされた薄膜トランジスタを通してドレイン信号線からの映像信号が供給される透明導電材の画素電極と、金属層の対向電極信号線を通して前記映像信号に対して基準となる信号が供給される透明導電材の対向電極とが形成され、
前記薄膜トランジスタは、そのゲート電極が半導体層よりも上層に形成されているとともに、絶縁膜を介して前記対向電極信号線の下層に位置づけられて構成され、
少なくとも電極の形成された領域を除く前記半導体層が前記対向電極信号線に重なって配置されている。
【選択図】図1

Description

本発明は液晶表示装置に係り、特に、各画素に備えられる薄膜トランジスタがいわゆるトップゲート型で構成される液晶表示装置に関する。
液晶表示装置は、その液晶表示パネルの各画素が光透過率を制御されるように構成されているため、該液晶表示パネルの背面にバックライトを備えているのが通常となっている。
また、アクティブ・マトリックス型と称される液晶表示装置は、各画素に薄膜トランジスタを備えて構成されている。これにより、行方向に配列される各画素の薄膜トランジスタをゲート信号線への走査信号の供給によってオンすることによって前記各画素を選択し、この選択に合わせて、列方向に配列されている各画素に共通に接続されているドレイン信号線から前記薄膜トランジスタを通して選択された前記各画素に映像信号を供給するようになっている。
そして、前記薄膜トランジスタは、それが形成される基板に、半導体層、ゲート絶縁膜、ゲート電極の順に形成することによって、ゲート電極が半導体層よりも上層に形成されるいわゆるトップゲート型となっているものが知られている。そして、この場合において、液晶表示パネルの薄膜トランジスタが形成された基板(TFT基板と称する場合がある)をバックライト側に指向させて配置させるようにしたものが知られている。
このような液晶表示装置は、たとえば、下記特許文献1に開示がなされている。
特開2007−219370号公報
しかし、上記特許文献1に開示されている液晶表示装置は、バックライトからの光がTFT基板を通して薄膜トランジスタの半導体層に照射される構成となっている。
このため、このような構成の液晶表示装置において、高輝度の表示を実現しようとしてバックライトの輝度を向上させた場合、薄膜トランジスタの半導体層内にリーク電流を発生せしめる不都合を有していた。そして、これをそのまま放置しておくことは表示品質の向上を妨げる結果となる。
この場合、薄膜トランジスタの半導体層への光の照射を回避するための手段としては種々想定し得るが、いずれも製造工数の増大をもたらし、構成を複雑化させるものであった。
本発明の目的は、構成が簡単であるにも拘わらず、薄膜トランジスタの半導体層内にリーク電流の発生を抑制でき、高輝度の表示を実現し得る液晶表示装置を提供することにある。
本発明は、各画素の対向電極がたとえばITO(Indium Tin Oxide)の透明導電膜で構成され、これら各対向電極に基準信号(映像信号に対して基準となる信号)を供給する金属層からなる対向電圧信号線によって、バックライトからの光を薄膜トランジスタへ照射されるのを回避させた構成としたものである。
本発明の構成は、たとえば、以下のようなものとすることができる。
(1)本発明の液晶表示装置は、たとえば、液晶を挟持して対向配置される第1基板と第2基板を備える液晶表示パネルと、この液晶表示パネルの前記第2基板側に配置されるバックライトとからなる液晶表示装置であって、
前記第1基板の液晶側の各画素に、ゲート信号線からの走査信号によってオンされる薄膜トランジスタと、このオンされた薄膜トランジスタを通してドレイン信号線からの映像信号が供給される透明導電材の画素電極と、金属層の対向電極信号線を通して前記映像信号に対して基準となる信号が供給される透明導電材の対向電極とが形成され、
前記薄膜トランジスタは、そのゲート電極が半導体層よりも上層に形成されているとともに、絶縁膜を介して前記対向電極信号線の下層に位置づけられて構成され、
少なくとも電極の形成された領域を除く前記半導体層が前記対向電極信号線に重なって配置されていることを特徴とする。
(2)本発明の液晶表示装置は、たとえば、(1)において、前記対向電圧信号線は、対向電極と直接に重ねられて形成されていることを特徴とする。
(3)本発明の液晶表示装置は、たとえば、(1)において、前記画素電極の上層に層間絶縁膜を介して前記画素電極と重ねられて前記対向電極が形成され、
前記画素電極は面状の電極から構成され、前記対向電極は複数の並列された線状の電極から構成されていることを特徴とする。
(4)本発明の液晶表示装置は、たとえば、(1)において、前記対向電極の上層に層間絶縁膜を介して前記対向電極と重ねられて前記画素電極が形成され、
前記対向電極は面状の電極から構成され、前記画素電極は複数の並列された線状の電極から構成されていることを特徴とする。
(5)本発明の液晶表示装置は、たとえば、前記第2基板の液晶側の各画素にカラーフィルタを備えることを特徴とする。
なお、上記した構成はあくまで一例であり、本発明は、技術思想を逸脱しない範囲内で適宜変更が可能である。また、上記した構成以外の本発明の構成は、本願明細書全体の記載または図面から明らかにされる。
このような構成からなる液晶表示装置によれば、構成が簡単であるにも拘わらず、薄膜トランジスタの半導体層内にリーク電流の発生を抑制でき、高輝度の表示を実現させることができる。
本発明のその他の効果については、明細書全体の記載から明らかにされる。
本発明の実施例を、図面を参照しながら説明する。なお、各図および各実施例において、同一または類似の構成要素には同じ符号を付し、説明を省略する。
〈実施例1〉
(全体構成)
図2は、本発明の液晶表示装置の全体を示す構成図である。図2において、まず、液晶表示パネルPNLがある。液晶表示パネルPNLは、液晶(図示せず)を挟持して対向配置される透明の基板SUB1および基板SUB2を外囲器とする。前記液晶は基板SUB1に対する基板SUB1の固定を兼ねるシール材(図示せず)によって、これら基板SUB1、SUB2の間に介在されている。液晶表示パネルPNLは、基板SUB1、SUB2の液晶側の面にマトリックス状に配置された多数の画素(図示せず)が形成され、この画素において、それぞれ独立に液晶の光透過率を制御できるようになっている。この画素の構成については後述する。
ここで、液晶表示パネルPNLの基板SUB1は観察者(図示せず)側に配置されるようになっており、該液晶表示パネルPNLの背面、すなわち基板SUB2側にバックライトBLが配置されるようになっている。
バックライトBLは、たとえば、液晶表示パネルPNLと平行に配置された導光板CLBと、導光板CLBの一辺における側壁面に配置された光源LSによって構成されている。光源LSからの光は、導光板CLBの前記側壁面を通して導光板CLB内に入射され全反射を繰り返した後に、液晶表示パネルPNLと平行な面から出射され、この出射光Lは液晶表示パネルPNLの各画素を透過し得るようになっている。なお、バックライトBLは、必ずしもこのような構成に限定されることはなく、たとえば直下型と称されるバックライトであってもよい。
そして、液晶表示パネルPNLの基板SUB1はいわゆるTFT基板と称され、その液晶側の面には、図3に示す回路(等価回路)が形成されている。図3は、等価回路であるが実際の画素の幾何学的配置に対応して描かれ、そのx−y面は、基板SUB1の液晶側の面と対応する。
図3において、図中x方向に延在されy方向に並設されるゲート信号線GLがあり、また、y方向に延在されx方向に並設されるドレイン信号線DLがある。隣接する一対のゲート信号線GLと隣接する一対のドレイン信号線DLで囲まれる領域は画素PIXの領域を構成する。
各画素PIXは、ゲート信号線GLからの走査信号(電圧)によってオンされる薄膜トランジスタTFTと、オンされた薄膜トランジスタTFTを通してドレイン信号線DLからの映像信号(電圧)が供給される画素電極PXと、前記映像信号に対して基準となる基準信号(電圧)が供給される対向電極CTが備えられている。対向電極CTへの基準信号の供給はゲート信号線GLと平行に配置される対向電圧信号線CLを通して行われるようになっている。画素電極PXと対向電極CTとの間には、電圧差に応じた電界が発生し、この電界によって液晶の分子を挙動させるようになっている。
このように構成される回路は、x方向に配列される各画素の薄膜トランジスタTFTをゲート信号線GLへの走査信号の供給によってオンすることによって前記各画素を選択し、この選択に合わせて、y方向に配列されている各画素に共通に接続されているドレイン信号線DLから前記薄膜トランジスタTFTを通して選択された前記各画素の画素電極PXに映像信号を供給するように駆動されるようになっている。
なお、液晶表示パネルPNLの基板SUB2は対向基板と称され、液晶側の面においてブラックマトリックス、カラーフィルタ等が形成されている。
(画素の構成)
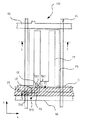
図1は、液晶表示パネルPNLの基板SUB1の液晶側の面に形成された画素PIXの平面図を示し、図3の点線枠の部分に相当する構成図である。また、図4は、図1のIV−IV線における断面図を基板SUB2とともに示し、図5は、図1のV−V線における断面図を基板SUB2とともに示している。
まず、基板SUB1(図3、図4参照)の液晶側の面に、たとえばシリコン窒化膜からなる下地層GW(図3、図4参照)が形成されている。この下地層GWは基板SUB1から後述の半導体層PSに不純物が侵入してしまうのを阻止するようになっている。
下地層GWの上面であって薄膜トランジスタTFTの形成領域に半導体層PSが形成されている。この半導体層PSはたとえばポリシリコン(p−Si)からなり、その一端は後述のドレイン信号線DLの形成領域の一部に、他端は後述の画素電極PXの形成領域の一部に位置づけられるようになっている。 なお、この半導体層PSは、図示していないが、チャネル領域、ドレイン領域、ソース領域に、必要とする導電型の不純物がドープされて形成されている。
基板SUB1の表面には、半導体層PSをも被って絶縁膜GI(図3、図4参照)が形成されている。この絶縁膜GIは、薄膜トランジスタTFTの形成領域において、そのゲート絶縁膜としての機能を有する。
絶縁膜GIの上面には、図1中x方向に走行するゲート信号線GLが形成されている。ゲート信号線GLには、半導体層PSのほぼ中央部を横切るようにして突出部が形成され、この突出部は、薄膜トランジスタTFTのゲート電極GTとして機能するようになっている。
基板SUB1の表面には、ゲート信号線GLをも被って層間絶縁膜IN1(図3、図4参照)が形成されている。ゲート信号線GLと後述のドレイン信号線DLとの層間絶縁を図るためである。
層間絶縁膜IN1の上面には、図中y方向に走行するドレイン信号線DLが形成されている。このドレイン信号線DLは、層間絶縁膜IN1、絶縁膜GIに形成されたスルーホールTH1を通して半導体層PSの一端に接続されている。該ドレイン信号線DLの半導体層PSへの接続部は薄膜トランジスタTFTのたとえばドレイン電極DTとして機能するようになっている。
なお、薄膜トランジスタTFTのソース電極、ドレイン電極は、バイアスの印加によって入れ替わるが、この明細書においては、便宜的に、ドレイン信号線DLに接続される側をドレイン電極、画素電極PXと接続される側をソース電極と称する。
また、半導体層PSの他端には、ドレイン信号線DLの形成の際に同時に形成され、層間絶縁膜IN1、絶縁膜GIに形成されたスルーホールTH2を通して接続されるソース電極STが形成されている。このソース電極STは、異なる層の画素電極PXと電気的に接続される電極で、その接続部は比較的広い面積を有するようにして形成されている。
基板SUB1の表面には、ドレイン信号線DL、ソース電極STをも被うようにして保護膜PAS(図3、図4参照)が形成されている。この保護膜PASは、薄膜トランジスタTFTの液晶との直接の接触を回避させるために設けられ、たとえば、無機絶縁膜および有機絶縁膜の順次積層体から構成されている。有機絶縁膜を用いるのはたとえば表面の平坦化を図らんがためである。
保護膜PASの表面には、たとえばITO(Indium Tin Oxide)の透明導電膜からなる画素電極PXが形成されている。この画素電極PXは、隣接する他の画素領域における画素電極PXと電気的に分離されて形成され、したがって、当該画素領域の僅かな周辺を除いた領域に形成された面状の電極となっている。そして、この画素電極PXは、薄膜トランジスタTFTと隣接する部分において、保護膜PASに形成されたスルーホールTH3を通して前記ソース電極STと電気的に接続されている。
基板SUB1の表面には、画素電極PXをも被って層間絶縁膜IN2が形成され、この層間絶縁膜IN2の上面には、前記画素電極PXと重畳するようにして対向電極CTが形成されている。対向電極CTは、たとえばITO(Indium Tin Oxide)の透明導電膜からなり、並設された複数(図では2個)の線状の電極群で構成されている。この対向電極CTは、図1においては、x方向に隣接する他の画素の対向電極と接続されて形成されている。しかし、これに限らず、さらに、y方向に隣接する他の画素の対向電極と接続されるように構成してもよい。また、隣接する他の画素の対向電極CTと分離されて形成されていてもよい。
そして、ゲート信号線GLと隣接し該ゲート信号線GLと平行に対向電圧信号線CLが形成されている。この対向電圧信号線CLはたとえばAlあるいはCrからなる金属層で形成され、対向電極CTとたとえば直接に重畳して形成されている。これにより、各画素の対向電極CTには該対向電圧信号線CLを通して表示領域外から基準信号が供給されるようになっている。そして、ITO等の透明導電膜からなる対向電極CTは比較的電気的抵抗が大きい材料からなるが、上述のように金属層からなる対向電圧信号線CLを対向電極CTに重畳させて構成することにより、対向電極CTの全体的な電気抵抗の低減化を図る効果を奏する。
さらに、対向電圧信号線CLは、たとえば、そのゲート信号線GL側の辺が、ゲート信号線GLの対向電圧信号線CL側の辺と重ねられるように、幅が広く形成され、この結果、該対向電圧信号線CLは薄膜トランジスタTFTを被うように構成されている。
ここで、対向電圧信号線CLによって被われる薄膜トランジスタTFTは、そのドレイン電極DT、ソース電極STをも含めて被われるようにしてもよいが、少なくとも、ドレイン電極DT、ソース電極ST、ゲート電極GTの形成された領域を除く半導体層PSの部分が被われるようにできればよい。ドレイン電極DT、ソース電極ST、ゲート電極GTは金属層で構成され、それらが遮光膜として機能でき、これら電極が形成された領域を除く半導体層PSを前記対向電圧信号線CLによって遮光する趣旨である。
このようにした場合、図4に示すように、バックライトBLからの出射光Lは、基板SUB2側から照射されるようになっているが、この出射光Lは、対向電圧信号線CLによって、薄膜トランジスタTFTの形成領域に照射されるのを妨げられる。このため、薄膜トランジスタTFTの半導体層PSにリーク電流が発生するのを回避でき、画質が劣化する憂いをなくすことができる。したがって、バックライトBLの輝度を向上させることによって、高輝度の表示を達成させることができる。
この場合、後述するが、基板SUB2側にはカラーフィルタCFが形成されており、このカラーフィルタCFによってバックライトBLからの光を減光させることから、その分、バックライトBLの輝度を向上させることができる。
なお、基板SUB1の表面には、対向電極CT、対向電圧信号線CLをも被って配向膜(図示せず)が形成されている。配向膜は液晶LCに直接に接触する膜からなり、液晶LCの分子の初期配向方向を決定するようになっている。
また、図4、図5に示すように、基板SUB2の液晶側の面には、ブラックマトリックス(遮光膜)BMが形成されている。このブラックマトリックスBMはたとえばドレイン信号線DLを被うようにしy方向に走行して形成されている。基板SUB2上のブラックマトリックスBMの間の画素領域にはカラーフィルタCFが形成され、該カラーフィルタCFは、赤、緑、青のうちのいずれかの色が施されている。また、基板SUB2の表面には、ブラックマトリックスBM、カラーフィルタCFをも被って平坦化膜OCが形成され、この平坦化膜OCの上面には配向膜(図示せず)が形成されている。
〈実施例2〉
図6は、本発明の液晶表示装置の他の実施例を示す構成図で、図4に対応した図となっている。
図4の場合、薄膜トランジスタTFTを被う保護膜PAS上にあって、画素電極PXが形成され、この画素電極PXの上に、層間絶縁膜IN2を介して画素電極PXに重ねられて対向電極CTが形成されたものである。
これに対し、図6の場合、薄膜トランジスタTFTを被う保護膜PAS上にあって、対向電極CTが形成され、この対向電極CTの上に、層間絶縁膜IN2を介して対向電極CTに重ねられて画素電極PXが形成されたものとなっている。この場合、対向電極CTは隣接する他の画素の対向電極CTと電気的に接続されていてもよい面状の電極として構成される。画素電極PXは隣接する他の画素の画素電極PXと電気的に分離された電極で形成されるとともに、並設された複数の線状の電極群から構成される。
そして前記対向電極CTには、図1に示したと同様に、金属層からなる対向電圧信号線CLが直接に重畳されて形成され、下層の薄膜トランジスタTFTを被うようにして形成されている。同様に、バックライトBLからの光を対向電圧信号線CLによって遮光し、薄膜トランジスタTFTに照射されないようにするためである。
なお、この実施例2の場合、画素電極PXは、面状に形成された対向電極CTの下層にある薄膜トランジスタTFTのソース電極STと、スルーホールTH4を通して電気的に接続しなければならないことから、前記対向電極CTには該スルーホールTH4を間に位置づける孔HLが形成されており、対向電極CTと画素電極PXとの短絡を回避させている。
また、上述した各実施例の場合、対向電圧信号線CLはゲート信号線GLと一部重なるように配置させたが、必ずしも重ねる必要はない。
本発明の液晶表示装置の画素の一実施例を示す平面図である。 本発明の液晶表示装置の概略構成の一実施例を示す構成図である。 本発明の液晶表示装置の画素の等価回路を示す図である。 図1のIV−IV線における断面を示す図である。 図1のV−V線における断面を示す図である。 本発明の液晶表示装置の画素の他の実施例を示す断面図である。
符号の説明
PNL……液晶表示パネル、SUB1、SUB2……基板、BL……バックライト、CLB……導光板、LS……光源、GL……ゲート信号線、DL……ドレイン信号線、TFT……薄膜トランジスタ、PX……画素電極、CT……対向電極、CL……対向電圧信号線、PIX……画素、PS……半導体層、GT……ゲート電極、DT……ドレイン電極、ST……ソース電極、GI……絶縁膜、IN1、IN2……層間絶縁膜、PAS……保護膜、BM……ブラックマトリックス、CF……カラーフィルム、OC……平坦化膜、TH1〜TH4……スルーホール、HL……孔。

Claims (5)

  1. 液晶を挟持して対向配置される第1基板と第2基板を備える液晶表示パネルと、この液晶表示パネルの前記第2基板側に配置されるバックライトとからなる液晶表示装置であって、
    前記第1基板の液晶側の各画素に、ゲート信号線からの走査信号によってオンされる薄膜トランジスタと、このオンされた薄膜トランジスタを通してドレイン信号線からの映像信号が供給される透明導電材の画素電極と、金属層の対向電極信号線を通して前記映像信号に対して基準となる信号が供給される透明導電材の対向電極とが形成され、
    前記薄膜トランジスタは、そのゲート電極が半導体層よりも上層に形成されているとともに、絶縁膜を介して前記対向電極信号線の下層に位置づけられて構成され、
    少なくとも電極の形成された領域を除く前記半導体層が前記対向電極信号線に重なって配置されていることを特徴とする液晶表示装置。
  2. 前記対向電圧信号線は、対向電極と直接に重ねられて形成されていることを特徴とする請求項1に記載の液晶表示装置。
  3. 前記画素電極の上層に層間絶縁膜を介して前記画素電極と重ねられて前記対向電極が形成され、
    前記画素電極は面状の電極から構成され、前記対向電極は複数の並列された線状の電極から構成されていることを特徴とする請求項1に記載の液晶表示装置。
  4. 前記対向電極の上層に層間絶縁膜を介して前記対向電極と重ねられて前記画素電極が形成され、
    前記対向電極は面状の電極から構成され、前記画素電極は複数の並列された線状の電極から構成されていることを特徴とする請求項1に記載の液晶表示装置。
  5. 前記第2基板の液晶側の各画素にカラーフィルタを備えることを特徴とする請求項1に記載の液晶表示装置。
JP2008163090A 2008-06-23 2008-06-23 液晶表示装置 Expired - Fee Related JP5135076B2 (ja)

Priority Applications (1)

Application Number Priority Date Filing Date Title
JP2008163090A JP5135076B2 (ja) 2008-06-23 2008-06-23 液晶表示装置

Applications Claiming Priority (1)

Application Number Priority Date Filing Date Title
JP2008163090A JP5135076B2 (ja) 2008-06-23 2008-06-23 液晶表示装置

Publications (2)

Publication Number Publication Date
JP2010002821A true JP2010002821A (ja) 2010-01-07
JP5135076B2 JP5135076B2 (ja) 2013-01-30

Family

ID=41584582

Family Applications (1)

Application Number Title Priority Date Filing Date
JP2008163090A Expired - Fee Related JP5135076B2 (ja) 2008-06-23 2008-06-23 液晶表示装置

Country Status (1)

Country Link
JP (1) JP5135076B2 (ja)

Cited By (4)

* Cited by examiner, † Cited by third party
Publication number Priority date Publication date Assignee Title
JP2013122536A (ja) * 2011-12-12 2013-06-20 Panasonic Liquid Crystal Display Co Ltd 表示パネル、及び表示装置
JP2017021387A (ja) * 2016-10-31 2017-01-26 株式会社ジャパンディスプレイ 液晶表示装置
CN106918966A (zh) * 2015-12-24 2017-07-04 三星显示有限公司 显示装置
JP2018146921A (ja) * 2017-03-09 2018-09-20 パナソニック液晶ディスプレイ株式会社 液晶表示装置

Citations (4)

* Cited by examiner, † Cited by third party
Publication number Priority date Publication date Assignee Title
JP2000089240A (ja) * 1998-09-14 2000-03-31 Nec Corp アクティブマトリクス型液晶表示装置
JP2000111957A (ja) * 1998-08-03 2000-04-21 Nec Corp 液晶表示装置およびその製造方法
JP2002296615A (ja) * 2001-01-29 2002-10-09 Hitachi Ltd 液晶表示装置
JP2007041553A (ja) * 2005-06-30 2007-02-15 Semiconductor Energy Lab Co Ltd 液晶表示装置および作製方法

Patent Citations (4)

* Cited by examiner, † Cited by third party
Publication number Priority date Publication date Assignee Title
JP2000111957A (ja) * 1998-08-03 2000-04-21 Nec Corp 液晶表示装置およびその製造方法
JP2000089240A (ja) * 1998-09-14 2000-03-31 Nec Corp アクティブマトリクス型液晶表示装置
JP2002296615A (ja) * 2001-01-29 2002-10-09 Hitachi Ltd 液晶表示装置
JP2007041553A (ja) * 2005-06-30 2007-02-15 Semiconductor Energy Lab Co Ltd 液晶表示装置および作製方法

Cited By (5)

* Cited by examiner, † Cited by third party
Publication number Priority date Publication date Assignee Title
JP2013122536A (ja) * 2011-12-12 2013-06-20 Panasonic Liquid Crystal Display Co Ltd 表示パネル、及び表示装置
CN106918966A (zh) * 2015-12-24 2017-07-04 三星显示有限公司 显示装置
JP2017021387A (ja) * 2016-10-31 2017-01-26 株式会社ジャパンディスプレイ 液晶表示装置
JP2018146921A (ja) * 2017-03-09 2018-09-20 パナソニック液晶ディスプレイ株式会社 液晶表示装置
US11150526B2 (en) 2017-03-09 2021-10-19 Panasonic Liquid Crystal Display Co., Ltd. Liquid crystal display device comprising a first light shielding unit having an opening that overlaps a contact hole and is entirely surrouned by the first light shielding unit

Also Published As

Publication number Publication date
JP5135076B2 (ja) 2013-01-30

Similar Documents

Publication Publication Date Title
JP5448875B2 (ja) 液晶表示装置
JP5486784B2 (ja) 液晶表示装置
US20230341978A1 (en) Display device including position input function
JP4946135B2 (ja) 液晶表示素子
TWI753527B (zh) 顯示裝置
JP2009223245A (ja) 液晶表示装置
US8553193B2 (en) Pixel structure and display panel having the same
JP4364925B2 (ja) アクティブマトリクス基板、液晶パネル、液晶表示装置、テレビジョン受像機
JP2010008444A (ja) 液晶表示装置
KR20080015696A (ko) 액정 표시 장치
JP5135076B2 (ja) 液晶表示装置
JP2009271103A (ja) 液晶表示装置
JP2005043898A (ja) 液晶表示装置及びこれに含まれる表示板の製造方法
KR102262431B1 (ko) 액정 표시 장치
US20100231561A1 (en) Liquid crystal display device
KR20180046982A (ko) 표시 장치 및 그 제조 방법
JP2014106322A (ja) 液晶表示装置
TWI494649B (zh) Liquid crystal display device
JP2010039228A (ja) 表示装置
JP4441507B2 (ja) 液晶表示装置
JP2010072110A (ja) 液晶表示パネル
JP2004109418A (ja) 液晶表示装置
JP2010054970A (ja) 表示装置
JP5525705B2 (ja) 液晶表示装置
KR102010493B1 (ko) 액정표시장치

Legal Events

Date Code Title Description
A711 Notification of change in applicant

Free format text: JAPANESE INTERMEDIATE CODE: A712

Effective date: 20110218

RD03 Notification of appointment of power of attorney

Free format text: JAPANESE INTERMEDIATE CODE: A7423

Effective date: 20110218

A621 Written request for application examination

Free format text: JAPANESE INTERMEDIATE CODE: A621

Effective date: 20110511

A977 Report on retrieval

Free format text: JAPANESE INTERMEDIATE CODE: A971007

Effective date: 20120926

A131 Notification of reasons for refusal

Free format text: JAPANESE INTERMEDIATE CODE: A131

Effective date: 20121009

A521 Request for written amendment filed

Free format text: JAPANESE INTERMEDIATE CODE: A523

Effective date: 20121016

TRDD Decision of grant or rejection written
A01 Written decision to grant a patent or to grant a registration (utility model)

Free format text: JAPANESE INTERMEDIATE CODE: A01

Effective date: 20121106

A01 Written decision to grant a patent or to grant a registration (utility model)

Free format text: JAPANESE INTERMEDIATE CODE: A01

A61 First payment of annual fees (during grant procedure)

Free format text: JAPANESE INTERMEDIATE CODE: A61

Effective date: 20121112

FPAY Renewal fee payment (event date is renewal date of database)

Free format text: PAYMENT UNTIL: 20151116

Year of fee payment: 3

R150 Certificate of patent or registration of utility model

Free format text: JAPANESE INTERMEDIATE CODE: R150

Ref document number: 5135076

Country of ref document: JP

Free format text: JAPANESE INTERMEDIATE CODE: R150

R250 Receipt of annual fees

Free format text: JAPANESE INTERMEDIATE CODE: R250

R250 Receipt of annual fees

Free format text: JAPANESE INTERMEDIATE CODE: R250

R250 Receipt of annual fees

Free format text: JAPANESE INTERMEDIATE CODE: R250

R250 Receipt of annual fees

Free format text: JAPANESE INTERMEDIATE CODE: R250

R250 Receipt of annual fees

Free format text: JAPANESE INTERMEDIATE CODE: R250

R250 Receipt of annual fees

Free format text: JAPANESE INTERMEDIATE CODE: R250

S531 Written request for registration of change of domicile

Free format text: JAPANESE INTERMEDIATE CODE: R313531

S533 Written request for registration of change of name

Free format text: JAPANESE INTERMEDIATE CODE: R313533

R350 Written notification of registration of transfer

Free format text: JAPANESE INTERMEDIATE CODE: R350

R250 Receipt of annual fees

Free format text: JAPANESE INTERMEDIATE CODE: R250

LAPS Cancellation because of no payment of annual fees