JP2010002645A - 画像形成装置 - Google Patents
画像形成装置 Download PDFInfo
- Publication number
- JP2010002645A JP2010002645A JP2008161150A JP2008161150A JP2010002645A JP 2010002645 A JP2010002645 A JP 2010002645A JP 2008161150 A JP2008161150 A JP 2008161150A JP 2008161150 A JP2008161150 A JP 2008161150A JP 2010002645 A JP2010002645 A JP 2010002645A
- Authority
- JP
- Japan
- Prior art keywords
- image
- intermediate transfer
- image forming
- forming apparatus
- transfer
- Prior art date
- Legal status (The legal status is an assumption and is not a legal conclusion. Google has not performed a legal analysis and makes no representation as to the accuracy of the status listed.)
- Granted
Links
Images
Landscapes
- Electrostatic Charge, Transfer And Separation In Electrography (AREA)
- Control Or Security For Electrophotography (AREA)
Abstract
【解決手段】少なくとも、像担持体101と、中間転写体106と、像担持体上に形成された潜像をトナーにより現像し、得られたトナー像を前記中間転写体に転写する一次転写手段と、中間転写体上のトナー像を転写材に転写する二次転写手段を有する画像形成装置において、前記中間転写体が、少なくとも樹脂と抵抗調整剤から構成された光学的に透明である光学的異方性材料をその厚み方向の一部もしくは全部に含み、一次転写時及び二次転写時において発生し、光学的異方性材料によって中間転写体の端面に集光された放電光を検出する放電光検出手段118を有することを特徴とする画像形成装置。
【選択図】図5
Description
しかしながら、この場合、中間転写体表面の摩耗や耐傷性等を防止することができないという問題がある。
しかしながら、この場合、中間転写体の表層材料として用いた場合、基材との接着性に劣り、前記表層材料が基材から剥離してしまうという問題がある。
しかしながら、この場合、トナー等に対する離型性が十分ではなく、中間転写体表面にトナー粒子やその添加剤等が付着してしまう問題がある。
しかしながら、ギャップ放電に対してはこの過渡現象を定量化する技術も確立されていないため、これまでに効果のある有効な対策手段が確立されていなかった。
また、最終転写段階の転写電位を直前の転写電位よりも大きくし、かつ各転写段階へ移る間に中間転写媒体に所定電圧を印加するフルカラー複写装置が知られている(特許文献32参照)。
また、中間転写体から用紙に可視像を転写する手段に至る前の中間転写体上の電荷を除電する手段を設けた画像形成装置が知られている(特許文献33参照)。
また、転写ローラ表面に1×107Ωcm以上の体積抵抗を有し、かつ感光体の表面硬度より低い硬度を有する絶縁層を形成し、さらに転写バイアスとは逆極性のバイアスを印加し付着トナーを除去する機能を保有せしめた画像形成装置が知られている(特許文献34参照)。
しかしながら、これらの場合、除電手段や電圧印加手段、これらの制御手段や特定の体積抵抗値を有する表面絶縁層等を設ける必要性が有り、装置全体が複雑になり、コストアップや小型化の妨げになるという問題がある。
しかし、絶縁性微粒子とポリアミド酸の親和性が非常に悪いため、両者を混合すると絶縁性微粒子の凝集が生じ、均一な分散を行うことが困難であった。ポリアミド酸溶液が極めて粘稠であることも、均一分散を困難とさせる。そこで、絶縁性微粒子分散液中でポリアミド酸を合成する方法、すなわち、予め絶縁性微粒子を分散させた有機極性溶媒中でジアミン化合物と酸無水化合物を反応させてポリアミド酸溶液を調製する方法が提案されている(特許文献37参照)。
しかし、この方法でも、絶縁性微粒子同士の凝集力が強いため、絶縁性微粒子の凝集が起き、その結果面内での抵抗のばらつきが発生する。したがって、このポリイミド樹脂を中間転写ベルトとして用いた場合、局所的に放電が生じてベルト電荷を変動させ、白抜け画像や濃度ムラといった問題が生じている。
以上の点を鑑みて、これらの従来技術では前記白抜けを十分に防止することができないという問題がある。
これらの電気特性はJIS K 6911法に基づいて測定され、表面抵抗率や体積抵抗率を用いて評価されるのが最も一般的である。表面抵抗率は試料の表面に電極(プローブ)を押し当て、表面を流れる電流を検出して算出され、体積抵抗率は試料上下の電極間に流れる電流を測定して求められる。また、別の表面抵抗測定方法としては、図7に示すように3個の接触端子を被測定部材に当接してその内の2個の端子を電気的に接続し、他の1個の端子との間の抵抗を並列の合成抵抗として測定することによって表面抵抗率を得る方法なども提案されている(特許文献39)。
本発明者らは予てより白抜けと転写過程での放電現象との関係に注目していたが、近年の転写電界用の電源としては多少なりとも放電を抑制するために電流制御型電源を採用するケースが主流であった。しかしながら、電流制御型電源では環境要因やその他の原因により過敏に転写電圧が変動し、1日の稼動時間内で数十〜数百ボルトも変動する例も珍しくなく、先ず放電が実際に発生しているかどうかを出力画像として確認する前に、リアルタイムで検出できる機能が強く望まれていた。
<1> 少なくとも、像担持体と、中間転写体と、像担持体上に形成された潜像をトナーにより現像し、得られたトナー像を前記中間転写体に転写する一次転写手段と、中間転写体上のトナー像を転写材に転写する二次転写手段を有する画像形成装置において、前記中間転写体が、少なくとも樹脂と抵抗調整剤から構成された光学的に透明である光学的異方性材料をその厚み方向の一部もしくは全部に含み、一次転写時及び二次転写時において発生し、光学的異方性材料によって中間転写体の端面に集光された放電光を検出する放電光検出手段を有することを特徴とする画像形成装置。
<3> 上記光学的異方性層が中間転写体の最表層に設けられ、さらにその中に蛍光を発する色材がドープされていることを特徴とする上記<2>に記載の画像形成装置である。
<4> 上記蛍光を発する色材が集光性の蛍光染料であることを特徴とする上記<3>に記載の画像形成装置である。
従って本発明は、本発明にかかる中間転写体を用いる場合に白抜け画像や濃度ムラによる異常画像の発生を防止し、高画質な画像形成装置を提供することができるものである。
(中間転写体)
本発明の中間転写体が必要とする特徴としては従来の中間転写体に要求されていた電気抵抗や耐久性なども必要であるが、特に光学的異方性を有していて転写過程で発生した放電光を集光し、中間転写体端部の光検出機構まで前記放電光を高感度に検出できるものであることが要求される。
本発明でいう光学的異方性とは、光が入射した光軸の延長線上とは異なる軸方向に伝播する現象を称するもので、膜状のサンプルに対して膜面に垂直に光を照射した場合、膜の厚み方向など入射光の光軸とは異なる方向に伝播する性質をいう。本発明に於ける光が汽笛異方性層は、蛍光を発する色材をドープすることによって転写過程で発生した放電光は蛍光を発する色材によって集光されて蛍光に変換され、この蛍光は光学的異方性層内を全反射しながら中間転写体端部まで誘導されるようになる。
本発明の中間転写体は厚み方向の一部もしくは全部が光学的異方性を示すが、膜厚方向の一部に光学的異方性層を形成することが好ましく、光学的異方性層は中間転写体の最表層に設けられ、その中に蛍光を発する色材がドープされていることがより好ましい。また、蛍光を発する色材としては集光性の蛍光染料が好ましい。前記中間転写体を構成する樹脂表面に、集光性の蛍光染料を含有せしめることで、転写ニップ部で発生した放電光を本中間転写体中光学的異方性層に含有される集光性染料でこれを吸収しこれを蛍光に変換して放出し、前記光学的異方性層の中を前記蛍光の内のほとんどが層内を全反射しながら中間転写体端部まで誘導される仕組みにより上記目的を達成することが可能である。
さらに本発明の中間転写体の厚み方向の全部が光学的異方性層を兼ねる場合は後述する蛍光を発する色材が、同じく後述する中間転写体を構成する樹脂層に全体に分散されている状態である。これは前記中間転写体構成樹脂を製膜する際に前記蛍光を発する色材を溶剤に溶解させて前記中間転写体樹脂塗布液にあらかじめ添加することで、形成することが可能である。
本発明で用いる集光性蛍光染料には以下の特性が要求される。
・高耐久性:長時間の光・熱・電界などに対する安定性に優れていること
・強蛍光性:強い蛍光を放出できること
・彩色性:検出部位の感度が高い可視域の蛍光を放出できること
・分散性:樹脂に容易に分散できること
これらの蛍光染料の含有率は、樹脂に対して1〜50wt%が好ましい。また、その発光波長も前記検出部材の感度が高い400〜800nmに最大値を有するものであることが好ましい。
発光波長400nm以下では、本光学的異方性層や中間転写体を構成する樹脂の吸収波長域と重なるため著しく感度低下する。また、800nm以上の近赤外域では干渉効果等による信号ノイズの増加により同じく感度低下を起こす。
前記ポリイミドとしては、特に制限はなく、目的に応じて適宜選択することができ、例えば、下記化学式(1)に示す、芳香族多価カルボン酸無水物、その誘導体と芳香族ジアミンとの縮合反応により得られるポリアミド酸を反応させて得られるものが挙げられ、1つ又は直接結合する2つ以上のフェニル基を含有する剛直性ポリアミド酸と、他の官能基を挟んで直接結合しない2つ以上のフェニル基を含有する屈曲性ポリアミド酸とを少なくとも反応させて得られるものが好適に挙げられる。
前記屈曲性ポリアミド酸としては、前記芳香族多価カルボン酸無水物と、他の官能基を挟んで直接結合しない2つ以上のフェニル基を含有する芳香族ジアミンとの縮合反応により得られるものが挙げられる。
これらは、1種単独あるいは2種以上を混合して用いることも可能である。
また、他の官能基を挟んで直接結合しない2つ以上のフェニル基を含有する芳香族ジアミンとしては、4,4’−ジアミノジフェニルエーテル、3,3’−ジアミノジフェニルエーテル、3,4’−ジアミノジフェニルエーテル、3,3’−ジアミノベンゾフェノン、3,4’−ジアミノベンゾフェノン、4,4’−ジアミノベンゾフェノン、m−アミノベンジルアミン、p−アミノベンジルアミン、3,3’−ジアミノジフェニルメタン、3,4’−ジアミノジフェニルメタン、4,4’−ジアミノジフェニルメタン、ビス(3−アミノフェニル)スルフィド、(3−アミノフェニル)(4−アミノフェニル)スルフィド、ビス(4−アミノフェニル)スルフィド、ビス(3−アミノフェニル)スルフィド、(3−アミノフェニル)(4−アミノフェニル)スルホキシド、ビス(3−アミノフェニル)スルホン、(3−アミノフェニル)(4−アミノフェニル)スルホン、ビス(4−アミノフェニル)スルホン、ビス〔4−(3−アミノフェノキシ)フェニル〕メタン、ビス〔4−(4−アミノフェノキシ)フェニル〕メタン、1,1−ビス〔4−(3−アミノフェノキシ)フェニル〕エタン、1,1−ビス〔4−(4−アミノフェノキシ)フェニル〕−エタン、1,2−ビス〔4−(3−アミノフェノキシ)フェニル〕エタン、1,2−ビス〔4−(4−アミノフェノキシ)フェニル〕エタン、2,2−ビス〔4−(3−アミノフェノキシ)フェニル〕プロパン、2,2−ビス〔4−(4−アミノフェノキシ)フェニル〕プロパン、2,2−ビス〔4−(3−アミノフェノキシ)フェニル〕ブタン、2,2−ビス〔3−(3−アミノフェノキシ)フェニル〕−1,1,1,3,3,3−ヘキサフルオロプロパン、2,2−ビス〔4−(4−アミノフェノキシ)フェニル〕−1,1,1,3,3,3−ヘキサフルオロプロパン、1,3−ビス(3−アミノフェノキシ)ベンゼン、1,3−ビス(4−アミノフェノキシ)ベンゼン、1,4−ビス(3−アミノフェノキシ)ベンゼン、1,4−ビス(4−アミノフェノキシ)ベンゼン、4,4’−ビス(3−アミノフェノキシ)ビフェニル、4,4’−ビス(4−アミノフェノキシ)ビフェニル、ビス〔4−(3−アミノフェノキシ)フェニル〕ケトン、ビス〔4−(4−アミノフェノキシ)フェニル〕ケトン、ビス〔4−(3−アミノフェノキシ)フェニル〕スルフィド、ビス〔4−(4−アミノフェノキシ)フェニル〕スルフィド、ビス〔4−(3−アミノフェノキシ)フェニル〕スルホキシド、ビス〔4−(4−アミノフェノキシ)フェニル〕スルホキシド、ビス〔4−(3−アミノフェノキシ)フェニル〕スルホン、ビス〔4−(4−アミノフェノキシ)フェニル〕スルホン、ビス〔4−(3−アミノフェノキシ)フェニル〕エーテル、ビス〔4−(4−アミノフェノキシ)フェニル〕エーテル、1,4−ビス〔4−(3−アミノフェノキシ)ベンゾイル〕ベンゼン、1,3−ビス〔4−(3−アミノフェノキシ)ベンゾイル〕ベンゼン、4,4’−ビス〔3−(4−アミノフェノキシ)ベンゾイル〕ジフェニルエーテル、4,4’−ビス〔3−(3−アミノフェノキシ)ベンゾイル〕ジフェニルエーテル、4,4’−ビス〔4−(4−アミノ−α,α−ジメチルベンジル)フェノキシ〕ベンゾフェノン、4,4’−ビス〔4−(4−アミノ−α,α−ジメチルベンジル)フェノキシ〕ジフェニルスルホン、ビス〔4−{4−(4−アミノフェノキシ)フェノキシ}フェニル〕スルホン、1,4−ビス〔4−(4−アミノフェノキシ)フェノキシ〕−α,α−ジメチルベンジル〕ベンゼン、1,3−ビス〔4−(4−アミノフェノキシ)−α,α−ジメチルベンジル〕ベンゼン等が挙げられる。
一方、前記屈曲性ポリアミド酸を反応させて得られるポリイミドは、強度(剛性)はあまり高くはないが、耐屈曲性に富むという長所がある。
前記剛直性ポリアミド酸及び屈曲性ポリアミド酸を反応させて得られるポリイミドを中間転写体に用いることにより、剛性が高く、耐屈曲性に富む中間転写体を得ることが可能となる。
次いで、該ポリアミド酸を、NMP(N−メチル−2−ピロリジノン)、DMF(N,N−ジメチルホルムアミド)、DMAc(N,N−ジメチルアセトアミド)等のアミド系溶媒、γ−ブチロラクトン等のポリアミック酸系溶媒、双極子溶媒、乳酸エチル、メトキシメチルプロピオネート、プロピレングリコールモノメチルエーテルアセテート等の溶媒に溶解し、必要な固形分、粘度を有するポリイミド形成ワニスを得る。
前記ポリイミド形成ワニスの加熱条件としては、特に制限はなく、目的に応じて適宜選択することができるが、十分にイミド化を行うためには、100〜400℃が好ましく、250〜400℃がより好ましい。
ポリアミドイミドは分子骨格中に剛直なイミド基と柔軟性を付与するアミド基を有する樹脂であり、本発明に用いられるポリアミドイミドは一般的なものを使用することが出来る。
ポリアミドイミド樹脂を合成する方法として一般的に、(1)イソシアネート法〜酸無水物基を有する3価のカルボン酸の誘導体と芳香族イソシアネートより溶媒中で製造する方法(例えば特公昭44−19274号公報)(2)酸クロライド法〜酸無水物基を有する3価のカルボン酸の誘導体ハライド、最も代表的には前記誘導体クロライドとジアミンから溶媒中で製造する方法(例えば特公昭42−15637号公報)が用いられる。各製造方法について説明する。
酸無水物基を有する3価のカルボン酸の誘導体としては、例えば一般式(I)及び(II)で示す化合物を使用することができる。
これらは何れも使用することが出来るが最も代表的には無水トリメリット酸が用いられる。
また、これらの酸無水物基を有する3価のカルボン酸の誘導体は、目的に応じて単独又は混合して用いられる。
酸無水物基を有する3価のカルボン酸の誘導体ハライドとしては、例えば一般式(III)及び(IV)で示す化合物を使用することができる。
芳香族ジアミンとしては、m−フェニレンジアミン、p−フェニレンジアミン、オキシジアニリン、メチレンジアミン、ヘキサフルオロイソプロピリデンジアミン、ジアミノ−m−キシリレン、ジアミノ−p−キシリレン、1,4−ナフタレンジアミン、1,5−ナフタレンジアミン、2,6−ナフタレンジアミン、2,7−ナフタレンジアミン、2,2’−ビス−(4−アミノフェニル)プロパン、2,2’−ビス−(4−アミノフェニル)へキサフルオロプロパン、4,4’−ジアミノジフェニルスルホン、4,4’−ジアミノジフェニルエーテル、3,3’−ジアミノジフェニルスルホン、3,3’−ジアミノジフェニルエーテル、3,4−ジアミノビフェニル、4,4’−ジアミノベンゾフェノン、3,4−ジアミノジフェニルエーテル、イソプロピリデンジアニリン、3,3’−ジアミノベンゾフェノン、o−トリジン、2,4−トリレンジアミン、1,3−ビス−(3−アミノフェノキシ)ベンゼン、1,4−ビス−(4−アミノフェノキシ)ベンゼン、1,3−ビス−(4−アミノフェノキシ)ベンゼン、2,2−ビス−[4−(4−アミノフェノキシ)フェニル]プロパン、ビス−[4−(4−アミノフェノキシ)フェニル]スルホン、ビス−[4−(3−アミノフェノキシ)フェニル]スルホン、4,4’−ビス−(4−アミノフェノキシ)ビフェニル、2,2’−ビス−[4−(4−アミノフェノキシ)フェニル]へキサフルオロプロパン、4,4’−ジアミノジフェニルスルフィド、3,3’−ジアミノジフェニルスルフィドなどが挙げられる。
使用される有機極性溶媒としては、例えば、ジメチルスルホキシド、ジエチルスルホキシドなどのスルホキシド系溶媒、N,N−ジメチルホルムアミド、N,N−ジエチルホルムアミドなどのホルムアミド系溶媒、N,N−ジメチルアセトアミド、N,N−ジエチルアセトアミドなどのアセトアミド系溶媒、N−メチル−2−ピロリジノン、N−ビニル−2−ピロリジノンなどのピロリジノン系溶媒、フェノール、o−、m−、またはp−クレゾール、キシレノール、ハロゲン化フェノール、カテコールなどのフェノール系溶媒、テトラヒドロフラン、ジオキサン、ジオキソラン等のエーテル系溶媒、メタノール、エタノール、ブタノール等のアルコール系溶媒、ブチルセロソルブ等のセロソルブ系あるいはヘキサメチルホスホルアミド、γ−ブチロラクトンなどを挙げることができ、これらを単独或いは混合溶媒として用いるのが望ましい。溶媒は、ポリアミック酸を溶解するものであれば特に限定されないが、N,N−ジメチルアセトアミド、N−メチル−2−ピロリジノンが特に好ましい。
前記抵抗調整剤としては、所定の電気特性を得られ、かつ放電光の検出に支障が出ない光透過性の高いものが好適であり、さらに重要な用件としてポリイミド樹脂やポリアミドイミド樹脂の硬化温度である200〜400℃程度の高温でも変化し難いものが好ましく、例えば、Niパウダー等の金属微粉末、チタン、スズ、アルミナ、ケイ素、亜鉛、ジルコニア、ITO(インジウム錫オキサイド)、ATO(アンチモン錫オキサイド)等などの金属酸化物、アンチモン等の異原子ドープ金属酸化物、第4級アンモニウム塩基、カルボン酸基、スルホン酸基、硫酸エステル基、リン酸エステル基等の有機化合物、若しくはそれらの重合体、エーテルエステルアミド重合体、エーテルアミドイミド重合体、エチレンオキサイド−エピハロヒドリン共重合体、メトキシポリエチレングリコールアクリレート等の導電性ユニットを有する化合物、若しくはそれらの高分子化合物等の有機帯電防止剤などが挙げられる。この中でも、チタン、スズ、アルミナ、ケイ素、亜鉛、ジルコニア、ITO(インジウム錫オキサイド)、ATO(アンチモン錫オキサイド)等などの金属酸化物からなり、可視光域の一部あるいは全部に光透過性を有する抵抗調整剤が前記ポリイミド硬化温度でも安定であり、また検出感度を比較的に低下せずに使用できることからも最も望ましい。
抵抗調整剤の含有量は抵抗調整剤の種類にもよるが、0.01〜50wt%未満、好ましくは0.1〜30wt%である。
前記ノニオン性の界面活性剤としては、長鎖アルキル基,アルケン基,アルコシキ基等親油性含有オリゴマー、長鎖アルキル基,アルケン基,アルコシキ基等親水性基含有オリゴマー、アルキレンオキサイド付加物などが挙げられる。
前記カチオン性界面活性剤としては、アルキル基含有第4級アンモニウム塩などが挙げられる。
前記アニオン性界面活性剤としては、長鎖アルキル,アルケン,アルコシキ等を含有するスルホン酸、カルボン酸の一価金属塩やリン酸エステルなどが挙げられる。
前記界面活性剤により表面処理されることで分散剤としての機能も附与され、前記ポリイミド樹脂やポリアミドイミド樹脂との親和性が向上し、安定した転写電流経路が形成された中間転写体が得られる。
本発明の中間転写体の形状としては、特に制限はないが、目的に応じて適宜選択することができ、例えば、ドラム状(円筒状)、無端ベルト状などが挙げられ、この中でも無端ベルト状構成のものが好適である。
前記中間転写体の構造としては、特に制限はなく、目的に応じて適宜選択することができ、例えば、前記光学的異方性を有する層のみによる単層構造、樹脂層上に光学的異方性層を有する複層構造などが挙げられる。
本発明の中間転写体の耐久性を改善する目的で、特に端部からの亀裂発生による破断を抑制する目的で端部に補強部材を貼付することで改善することが可能である。前記補強部材としては金属板やセラミック板等の無機系補強剤や板状もしくはテープ状の樹脂を粘着層を介して接着する樹脂系補強部材が好適に用いられる。とりわけ、セルロース、塩化ビニル、PTFE等公知の粘着テープ類により前記中間転写体端部を被覆することにより簡易でかつ良好な耐久性を保持せしめることが可能である。
前記中間転写体の作製方法としては、特に制限はなく、目的に応じて適宜選択することができるが、例えば、前記中間転写体が複層構造である場合には、樹脂層上に光学的異方性層を形成する方法、前記中間転写体が単層構造である場合には、光学的異方性を有する層を無端ベルト状に形成することによりシームレスベルトを得る方法などが挙げられる。
前記中間転写体の作製方法としては、具体的には、前記剛直性ポリアミド酸及び前記屈曲性ポリアミド酸を含む混合ポリアミド酸溶液を成形型内に塗工して、塗膜形成過程と同時に又は塗膜形成後において少なくとも加熱して、イミド化することにより樹脂層を形成し、次に前記の[0021]、[0025]に記載した方法より光学的異方性層を形成して中間転写体を得る方法が好適に挙げられる。
単層構造中間転写体の作製方法としては、例えば、以下の遠心成型法などにより前記ポリイミドを無端ベルト状に形成する方法が好適に挙げられる。
まず、前記ポリイミド形成ワニスを溶剤に溶解又は分散させた液状組成物を調製する。
前記溶剤の種類、含有量としては、前記複層構造中間転写体の場合と同様とすることが可能である。
得られた、ベルト素材としての前記液状組成物を、回転される円筒形状の成形型内部に、流し込んで、前記成形型を高速回転させて、その遠心力により塗布液を拡げ、均一な膜を成膜する。
前記加熱条件としては、前記複層構造中間転写体の場合と同様とすることが可能である。
前記遠心成型法によれば、塗布された前記液状組成物は遠心力により拡げられるので、均一な厚みのポリイミド無端ベルトを得ることが可能となる。
前記界面活性剤としては、例えば、陰イオン界面活性剤、陽イオン界面活性剤、非イオン界面活性剤、両性界面活性剤、などが挙げられる。
前記両性界面活性剤としては、例えば、アラニン、ドデシルジ(アミノエチル)グリシン、ジ(オクチルアミノエチル)グリシン、N−アルキル−N,N−ジメチルアンモニウムべタイン等が挙げられる。
前記難水溶性の無機化合物分散剤としては、例えば、リン酸三カルシウム、炭酸カルシウム、酸化チタン、コロイダルシリカ、ヒドロキシアパタイト、などが挙げられる。
前記中間転写体の作像時の表面線速としては、80〜400mm/sの範囲で駆動するものが一般的であり、本願発明でも好適である。その理由としては当該速度範囲以上で使用すると転写電界が鈍り歪みを生じて転写チリ等の異常画像の増加を招き、前記速度範囲以下の低速では放電が発生し易くなり放電による画像劣化が生じ易くなると共に、高速対応できなくなるという課題が露呈されるためである。
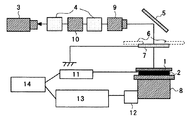
図1に本発明でいう放電光を検出するための装置構成例を示す。
シート部材の放電光検出装置は、観察対象である転写ベルトなどから切り出したサンプルシート1を電極2の上に置き、電極2に外部から電圧を印加することによってサンプルシート1とアースに短絡されたITO(Indium−Tin−Oxide)電極7との間に発生する放電光を、ミラー5を介してイメージインテンシファイア4に導入し、増倍された放電画像を、CCDを内蔵するビデオカメラ3などで取り込む構成となっている。本装置では、微小な発光を捕らえることを目的として、イメージインテンシファイア4(浜松フォトニクス製V1366P)を2つ直列に並べており、それぞれのイメージインテンシファイアの入口側に像を結像するためにレンズ9(PENTAX社製、smcPENTAX−A DENTAL MACRO 1:4 100mm)とレンズ10(PENTAX社製、smc PENTAX−FA 1:2.8 50mm MACRO)が配設されている。サンプルシート1と透明電極7との距離は、ステッピングモーター12を用いてステージ8を動かすことにより、1μmのオーダーで制御され、ステッピングモーター12はステッピングモーターコントローラ13(駿河精機(株)製ステッピングモーターコントローラD70)を介して、パソコン14で制御される。なお、電極2に印加されるバイアスについても、アンプ11(トレック社製、MODEL677A)を介してパソコン14で制御される。
一方では上記放電光の検出による画像品質制御技術の確立が必要であり、上記図1のような大掛かりな放電光検出手段によらず、小さい受光素子で画像形成装置内の転写過程における放電光の発生状態を検出し、白抜け画像が発生しないように装置側のプロセス条件を制御しなければならない。
本発明の画像形成装置は、潜像が形成され、トナー像を担持可能な像担持体と、該像担持体上に形成された潜像をトナーで現像する現像手段と、該現像手段により現像されたトナー像が一次転写される中間転写体と、該中間転写体上に担持されたトナー像を転写材に二次転写する転写手段と、更に必要に応じて適宜選択したその他の手段、例えば、除電手段、クリーニング手段、制御手段等を有してなる中間転写方式の画像形成装置である。
また、前記本発明の画像形成装置における画像形成方法としては、静電潜像形成工程と、現像工程と、転写工程と、定着工程とを少なくとも含み、更に必要に応じて適宜選択したその他の工程、例えば除電工程、クリーニング工程、リサイクル工程、制御工程等を含む。
前記画像形成方法は、前記画像形成装置により好適に実施することができ、前記静電潜像形成工程は前記静電潜像形成手段により行うことができ、前記現像工程は前記現像手段により行うことができ、前記転写工程は前記転写手段により行うことができ、前記定着工程は前記定着手段により行うことができ、前記その他の工程は前記その他の手段により行うことができる。
前記静電潜像形成工程は、静電潜像担持体上に静電潜像を形成する工程である。
前記静電潜像担持体(もしくは感光体)としては、その材質、形状、構造、大きさ、等について特に制限はなく、公知のものの中から適宜選択することができるが、その形状としてはドラム状が好適に挙げられ、その材質としては、例えばアモルファスシリコン、セレン等の無機感光体、ポリシラン、フタロポリメチン等の有機感光体、などが挙げられる。これらの中でも、長寿命性の点でアモルファスシリコン無機感光体やフタロシアニン系ポリメチン顔料を用いた有機感光体が好適に用いられる。
前記静電潜像形成手段は、例えば、前記静電潜像担持体の表面を一様に帯電させる帯電器と、前記静電潜像担持体の表面を像様に露光する露光器とを少なくとも備える。
前記帯電は、例えば、前記帯電器を用いて前記静電潜像担持体の表面に電圧を印加することにより行うことができる。
前記露光器としては、前記帯電器により帯電された前記静電潜像担持体の表面に、形成すべき像様に露光を行うことができる限り特に制限はなく、目的に応じて適宜選択することができるが、例えば、複写光学系、ロッドレンズアレイ系、レーザー光学系、液晶シャッタ光学系、などの各種露光器が挙げられる。
なお、前記静電潜像担持体の裏面側から像様に露光を行う光背面方式を採用してもよい。
前記現像工程は、前記静電潜像を、前記現像剤を用いて現像して可視像を形成する工程である。
前記可視像の形成は、例えば、前記静電潜像を前記現像剤を用いて現像することにより行うことができ、前記現像手段により行うことができる。
前記現像手段は、例えば、前記現像剤を用いて現像することができる限り、特に制限はなく、公知のものの中から適宜選択することができ、例えば、前記現像剤を収容し、前記静電潜像に該現像剤を接触又は非接触的に付与可能な現像器を少なくとも有するものが好適に挙げられる。
前記現像器内では、例えば、前記トナーと前記キャリアとが混合攪拌され、その際の摩擦により該トナーが帯電し、回転するマグネットローラの表面に穂立ち状態で保持され、磁気ブラシが形成される。該マグネットローラは、前記静電潜像担持体(感光体)近傍に配置されているため、該マグネットローラの表面に形成された前記磁気ブラシを構成する前記トナーの一部は、電気的な吸引力によって該静電潜像担持体(感光体)の表面に移動する。その結果、前記静電潜像が該トナーにより現像されて該静電潜像担持体(感光体)の表面に該トナーによる可視像が形成される。
前記現像器に収容させる現像剤は、前記現像剤であるが、該現像剤としては一成分現像剤であってもよいし、二成分現像剤であってもよい。
前記転写工程は、前記可視像を記録媒体に転写する工程であるが、中間転写体を用い、該中間転写体上に可視像を一次転写した後、該可視像を前記記録媒体上に二次転写する態様が好ましく、前記トナーとして二色以上、好ましくはフルカラートナーを用い、可視像を中間転写体上に転写して複合転写像を形成する第一次転写工程と、該複合転写像を記録媒体上に転写する第二次転写工程とを含む態様がより好ましい。
なお、前記中間転写体の形状としては、特に制限はなく、目的に応じて公知の転写体の中から適宜選択することができ、例えば、転写ベルト、転写ドラム態様のものが好適に挙げられる。
前記転写器としては、コロナ放電によるコロナ転写器、転写ベルト、転写ローラ、圧力転写ローラ、粘着転写器、などが挙げられる。
なお、前記記録媒体としては、特に制限はなく、公知の記録媒体(記録紙)の中から適宜選択することができる。
前記定着装置としては、特に制限はなく、目的に応じて適宜選択することができるが、公知の加熱加圧手段が好適である。前記加熱加圧手段としては、加熱ローラと加圧ローラとの組み合わせ、加熱ローラと加圧ローラと無端ベルトとの組み合わせ、などが挙げられる。
前記加熱加圧手段における加熱は、通常、80℃〜200℃が好ましい。
なお、本発明においては、目的に応じて、前記定着工程及び定着手段と共にあるいはこれらに代えて、例えば、公知の光定着器を用いてもよい。
前記除電手段としては、特に制限はなく、前記静電潜像担持体に対し除電バイアスを印加することができればよく、公知の除電器の中から適宜選択することができ、例えば、除電ランプ等が好適に挙げられる。
前記クリーニング手段としては、特に制限はなく、前記静電潜像担持体上に残留する前記電子写真トナーを除去することができればよく、公知のクリーナの中から適宜選択することができ、例えば、磁気ブラシクリーナ、静電ブラシクリーナ、磁気ローラクリーナ、ブレードクリーナ、ブラシクリーナ、ウエブクリーナ等が好適に挙げられる。
前記制御手段としては、前記各手段の動きを制御することができる限り特に制限はなく、目的に応じて適宜選択することができ、例えば、シーケンサ、コンピュータ等の機器が挙げられる。
本発明の画像形成装置は、少なくとも、転写時に検出した放電光の状態に応じて転写条件を制御する制御手段を有するものである。
感光体ドラム101a〜101d、非接触帯電ローラ103a〜103d、現像器104a〜104d、1次転写ローラ105a〜105d、および図示されない4つの露光装置によって各感光体ドラム101a〜101dに作像された球形重合トナーから成るトナー像を中間転ベルト106上に1次転写し、中間転写ベルト106上に1次転写画像を形成する1次転写画像形成部A101〜A104と、中間転写ベルト106上に形成された1次転写画像を図示されない被転写材に転写して2次転写画像を得るための転写電界を形成する2次転写ローラ107、搬送ベルト108、対向ローラ109と、被転写材上の2次転写画像を定着するための定着ローラ110と加圧ローラ111、ヒータを有する加熱ローラ114、定着ベルト115、および空冷ファン113から構成される。
本図に示した画像形成装置は、静電潜像担持体としての感光体ベルト201と、前記感光体ベルト201の周囲に配置されるブラック現像ユニットK、シアン現像ユニットC、マゼンタ現像ユニットM、イエロー現像ユニットYを有する現像手段と、感光体ベルト201に所定のニップ部をもって当接される中間転写ドラム209と、前記中間転写ドラム208に対して、感光体ベルト201と中間転写ドラム209とのニップ部に当接する1次転写ローラ204と、中間転写ドラム209の回転方向下流側で前記中間転写ドラム209に当接する2次転写ローラ205と、前記2次転写ローラ205よりも転写材206の搬送方向下流側に配置される用紙除電手段207と、中間転写ドラム209に対向配置されるクリーニング手段207とを備えている。本構成で、中間転写ドラム209が、円筒状のドラム基材上に光学的異方性を示す表面層を有する複層構造の中間転写体であり、前記本発明は前記中間転写体209が光学的異方性層を有してかつその端部に放電光検出部202乃至は203を配置してなる。
そして、現像ユニットY、M、C、Kによって現像された各色(黒、イエロー、マゼンタ、シアン)のトナー像は、中間転写ドラム208上に逐次転写され、前記カラートナー像が中間転写ドラム208上に重ね合わされる。
中間転写ドラム208の回転に同期して搬送される転写材205が中間転写ドラム208と二次転写ローラ204の間を通過する。この時、二次転写ローラ204には、前記トナー像の帯電極性と反対の極性のバイアス電圧が印加されている。そして、前記中間転写ドラム208上に一次転写されたカラートナー像が、中間転写ドラム208と二次転写ローラ204との間を通過する転写材205に二次転写される。本構成は感光体ベルト201を共用したものだが、各色トナー毎にベルトやドラム構成の感光体が具備され、これが中間転写ドラムに順次一次転写する構成であっても構わない。
一方、中間転写ドラム208上に残留した転写残トナーは、中間転写ドラム208に対向配置されるクリーニング手段207(ブラシ、ローラ等)で除去される。その後、中間転写ドラム208は、不図示の除電手段により除電されて初期化される。
−光学的異方性層を有する中間転写体の作製−
剛直性ポリアミド酸を適量のアミド系の溶媒であるNMP(N−メチル−2−ピロリジノン)に溶解されてなる下記構造式(2)で表される剛直性ポリイミド形成ワニス:UワニスS(商品名:宇部興産社製)と、屈曲性ポリアミド酸を適量のアミド系の溶媒であるNMP(N−メチル−2−ピロリジノン)に溶解されてなる下記構造式(3)で表される屈曲性ポリイミド形成ワニス:UワニスA(商品名:宇部興産社製)を各々重量比で、剛直性ポリイミド形成ワニス:屈曲性ポリイミド形成ワニスが、5:5となるように混合し、混合ワニスを得た。
以下の方法により本発明のシームレスベルト状の中間転写体を作製した。
図6は、遠心成形装置を示す図である。
図6において、円筒形の成形型43を有する遠心成形装置42の回転軸を、水平方向に配置し、該成形型43を500rpmで高速回転させて、該成形型43内のキャビティ44の全面に離型液を塗布し、約50μmの均一な厚みの離型液膜層を形成した。
次に、成形型43の回転速度を100rpmに減速し、ベルト素材液としての前記中間転写体形成用ワニスを、キャビティ内に挿入されるスプレー45のノズル46より噴出させて、キャビティ44の全面に前記中間転写体形成用ワニスを塗布した。
その後、成形型43の回転数を500rpmに上げて、前記中間転写体形成用ワニスの塗布液膜を均一化して、ベルト素材層を形成した。更に、約100℃のドライエアーをスプレー45側からキャビティ44内に導入して、前記ベルト素材層を乾燥させた。次いで、成形型43内からベルト素材層を取り出し、該ベルト素材層を別の成形型内に配置して、約120℃、20分の条件で加熱して、溶媒の乾燥と、予備的にイミド化を行った。更に、前記ベルト素材層を320℃、120分の条件で加熱してイミド化を行い、実施例1で用いる透明かつ平滑なシームレスの中間転写ベルトを作製した。
得られた実施例1の中間転写ベルトの膜厚をミツトヨ社製マイクロメータを用いて求めたところ、80±2μmであった。
上記工程により作製した中間転写ベルトに対して、ポリメチルメタクリレート樹脂(積水化学製エスレックE)100部と集光性蛍光染料(BASF社製LumogenF Red305)5部をトルエン中に溶解した溶液を用い、上記中間転写ベルトを浸漬塗工法によりその表面に蛍光染料含有ポリメチルメタクリレート樹脂膜30μmを設けた。乾燥後ベルト裏面に付着した余分な前記光学的異方性層をトルエン溶液を浸漬した布にて溶解剥離し、前記光学的異方性層を最表層に有する中間転写体を得た。
−放電光観察装置−
図1に示す「放電光観察装置」を用い、転写ベルトに、絶縁破壊電界に満たない垂直電界を印加した際の、転写ベルト表面上の放電光の観察を行った。
図1に示すように、「放電光観察装置」は、観察対象である転写ベルトなどから切り出したサンプルシート1を電極2の上に置き、電極2に外部から電圧を印加することによってサンプルシート1とアースに短絡されたITO (Indium-Tin-Oxide)電極7との間に発生する放電光を、ミラー5を介してイメージインテンシファイア4に導入し、増倍された放電画像を、CCDを内蔵するビデオカメラ3などで取り込む構成となっている。この装置では、微小な発光を捕らえることを目的として、イメージインテンシファイア4(浜松フォトニクス(株)社製V1366P)を2つ直列に並べており、それぞれのイメージインテンシファイアの入口側に像を結像するためにレンズ9(PENTAX社製、smc PENTAX−A DENTAL MACRO 1:4 100mm)とレンズ10(PENTAX社製、smc PENTAX−FA 1:2.8 50mm MACRO)が配設されている。サンプルシート1と透明電極7との距離は、ステッピングモーター12を用いてステージ8を動かすことにより、1μmのオーダーで制御され、ステッピングモーター12はステッピングモータコントローラ13(駿河精機(株)製ステッピングモーターコントローラD70)を介して、パソコン14で制御される。なお、電極2に印加されるバイアスについても、アンプ11(トレック社製、MODEL677A)を介してパソコン14で制御しており、イメージインテンシファイアを直列に配置し、することで、サンプルシート上の微細な放電光をも可視化することに成功している。
前記の「放電光観察装置」を用いて、種々のベルトサンプルを観察した際に観察される放電光を、3つのタイプに分類した模式図を図2に示す。
図2のパターンAは、観察領域内に、局所的な強い放電光が同時複数個観察され、局所的な強い放電光が観察される島状領域が、経時で変化しない場合を表し、パターンBは、観察領域内に、弱い放電光が島状に形成され、局所的な強い放電光が観察される領域が、経時でランダムに同時複数個点滅する場合を表し、パターンCは、観察領域内に、弱い放電光が均一に観察される場合を表す。
そこで上記局所に強い放電光が観察されるような状態を実機で再現し、以下の画像評価を行った。
リコー製カラー複写機Imagio Neo C600改造機を用いて、さらに上記の中間転写ベルトを搭載し、該転写ベルト上の画像評価を実施した。なおImagio Neo C600改造機は、現像は二成分現像方式、転写は中間転写ベルト方式で、外部信号によって任意のタイミングで作像動作を途中で止められるようにした。感光体ドラム上に複数のベタ画像及び細線画像の潜像を書き込み、一次転写の途中で作像プロセスを止め、感光体ドラムユニットと転写ベルトユニットを複写機から取り出し、感光体ドラム上のベタ画像部のパイルハイトを測定し、転写ベルト上の細線部の画像評価を実施した。なお、単位面積当たりのトナー重量M/Aは約0.7mg/cm2に設定した。また、本改造機の上記転写ベルト及び感光体を始めとする各部材の表面線速は250mm/sである。
転写ローラとしては、芯金たる金属ローラの表面に、導電性ゴム材料を被覆したもので、芯金部に、外部電源からバイアスが印加され、導電性ゴム材料としてウレタンゴムにカーボンが分散され、体積抵抗105Ωcm程度に抵抗が調整されているものを用いた。
また、上記局所に強い放電光が観察されるような条件を検討したところ、室温、常湿下で転写電流が35μAにすると、強い放電光が検出されたため、これを本実験の転写条件とした。
前記Imagio Neo C600改造機を用いて、さらに上記の中間転写体を搭載し、2×2ドットパターンを作像し、中間転写ベルト上の画像状態を超深度形状測定顕微鏡(VK8500;キーエンス製)により観察した。この画像を画像解析ソフト(MediaCybernetics製ImagePro)を用いて二値化画像に編集後、ソリッドパターンからトナーが抜けて白抜けとなった部分の面積を定量化し、全面積中の白抜け画像を以下のようにランク評価した。
3 良好、白抜け面積比<1%
2 許容範囲内、白抜け面積比<4%
1 問題、白抜け面積比≧4%
但し、白抜け面積比率の許容範囲は4%以下である。
本実施例での白抜けランクは1であり、図2のタイプA、Bで示されるような局所的な強い放電光が観察される場合に、実機でも白抜け画像が発生することを確認した。
実施例1の画像形成装置において、実際に放電光を検出するために、中間転写体の転写ニップ部の両端面に放電光検出部材として受光素子に浜松フォトニクス社製4分割SiPINフォトダイオードアレイS5981型を用い、これに繋がるライトガイドを前記中間転写体の両端面に接触してその光量変動を測定し、検出した放電光の状態に応じて転写条件を制御した。検出された光電流の最大差分値が5μAを超えないことを確認した後に、転写電流を確認したところ19μAであった。このままの条件で上記2×2ドットパターン画像を出力したところ白抜けランクは3で、非常に良好な画像が出力されることを確認した。
実施例2において、転写電流を大きくし検出された光電流の最大差分値が5μAを超えることを確認した後に、転写電流を確認したところ60μAであった。このままの条件で上記2×2ドットパターン画像を出力したところ白抜けランクは1で、白抜け画像が発生することを確認した。
実施例2において、受光素子の浜松フォトニクス社製4分割SiPINフォトダイオードアレイS5981型に繋がるライトガイドを図3の一次転写ローラ5aの片側の端面に転写ニップ直下部分に3個を設置し、実施例1と同様にして放電光の有無を確認した。検出部の各分割部位の差分値が最大で5μAを越えることを確認し、転写電流を確認したところ30μAであった。以下実施例1と同様にして、上記2×2ドットパターン画像を出力すると顕像化された部分に白抜け画像が発生したため、前記白抜け画像評価方法に基づく評価を行ったところ、本実施例での白抜けランクは1であることを確認した。
実施例4における転写電流をやや下げ、実施例1と同様にして放電光の有無を確認した。検出部の各分割部位の差分値が最大で5μAを越えないことを確認し、転写電流を確認したところ19μAであった。以下実施例1と同様にして、上記2×2ドットパターン画像を出力すると顕像化された部分に白抜け画像は発生しなかったため、前記白抜け画像評価方法に基づく評価を行ったところ、本実施例での白抜けランクは3であることを確認した。
2 電極
3 CCD
4 イメージインテンシファイア
5 ミラー
6 ITO電極固定台
7 ITO電極
8 電極ステージ
9 集光レンズ
10 結像レンズ
11 アンプ
12 ステッピングモーター
13 ステッピングモーターコントローラ
14 制御PC
42 遠心成形装置
43 成形型
44 キャビティ
45 スプレー
46 ノズル
47 ドライエアーの流れ
101a〜101d 感光体ドラム
103a〜103d 帯電ローラ
104a〜104d 現像器
105a〜105d 1次転写ローラ
106 中間転写ベルト
107 2次転写ローラ
108 搬送ベルト
109 対向ローラ
110 定着ローラ
111 加圧ローラ
112 給紙トレイ
113 空冷ファン
114 加熱ローラ
115 定着ベルト
116 光学異方性層
117 光増倍装置
118 受光装置
119 放電光検出装置
201 感光体ベルト K ブラック現像ユニット
202 一次転写放電光検出部
203 二次転写放電光検出部
204 一次転写ローラ
205 二次転写ローラ
206 転写材(紙等)
207 用紙除電手段
208 クリーニング手段
209 中間転写ドラム
301a、301b、301c 接触端子
302 基板
303 内部配線
304a、304b 計測器への配線部
Claims (6)
- 少なくとも、像担持体と、中間転写体と、像担持体上に形成された潜像をトナーにより現像し、得られたトナー像を前記中間転写体に転写する一次転写手段と、中間転写体上のトナー像を転写材に転写する二次転写手段を有する画像形成装置において、前記中間転写体が、少なくとも樹脂と抵抗調整剤から構成された光学的に透明である光学的異方性材料をその厚み方向の一部もしくは全部に含み、一次転写時及び二次転写時において発生し、光学的異方性材料によって中間転写体の端面に集光された放電光を検出する放電光検出手段を有することを特徴とする画像形成装置。
- 上記中間転写体はその膜厚方向の一部に光学的異方性層を形成したことを特徴とする請求項1に記載の画像形成装置。
- 上記光学的異方性層が中間転写体の最表層に設けられ、さらにその中に蛍光を発する色材がドープされていることを特徴とする請求項2に記載の画像形成装置。
- 上記蛍光を発する色材が集光性の蛍光染料であることを特徴とする請求項3に記載の画像形成装置。
- 上記放電光検出手段が受光素子から形成されており、前記受光素子が光電導素子、光起電力素子、光電子放出素子、あるいはこれらの複合素子などから構成されており、転写体の一方もしくは両方の端部に1箇所以上設置されることを特徴とする請求項1〜4のいずれかに記載の画像形成装置。
- 請求項1〜5のいずれかに記載の画像形成装置に用いるプロセスカートリッジであって、像担持体と、転写体と、帯電手段、露光手段、現像手段及びクリーニング手段の少なくとも一つの手段とを一体に支持し、画像形成装置本体に着脱自在であることを特徴とするプロセスカートリッジ。
Priority Applications (1)
| Application Number | Priority Date | Filing Date | Title |
|---|---|---|---|
| JP2008161150A JP5397661B2 (ja) | 2008-06-20 | 2008-06-20 | 画像形成装置 |
Applications Claiming Priority (1)
| Application Number | Priority Date | Filing Date | Title |
|---|---|---|---|
| JP2008161150A JP5397661B2 (ja) | 2008-06-20 | 2008-06-20 | 画像形成装置 |
Publications (2)
| Publication Number | Publication Date |
|---|---|
| JP2010002645A true JP2010002645A (ja) | 2010-01-07 |
| JP5397661B2 JP5397661B2 (ja) | 2014-01-22 |
Family
ID=41584430
Family Applications (1)
| Application Number | Title | Priority Date | Filing Date |
|---|---|---|---|
| JP2008161150A Expired - Fee Related JP5397661B2 (ja) | 2008-06-20 | 2008-06-20 | 画像形成装置 |
Country Status (1)
| Country | Link |
|---|---|
| JP (1) | JP5397661B2 (ja) |
Cited By (1)
| Publication number | Priority date | Publication date | Assignee | Title |
|---|---|---|---|---|
| CN114778081A (zh) * | 2022-04-11 | 2022-07-22 | 深圳锐视智芯科技有限公司 | 一种传感器测试方法、装置、设备及可读存储介质 |
Citations (6)
| Publication number | Priority date | Publication date | Assignee | Title |
|---|---|---|---|---|
| JPH02269980A (ja) * | 1989-04-12 | 1990-11-05 | Furukawa Electric Co Ltd:The | 電力ケーブル又はその接続部の異常検出装置 |
| JP2000208332A (ja) * | 1999-01-12 | 2000-07-28 | Takaoka Electric Mfg Co Ltd | 変圧器監視装置 |
| JP2000267519A (ja) * | 1999-03-15 | 2000-09-29 | Konica Corp | 両面画像形成装置 |
| JP2005181294A (ja) * | 2003-12-23 | 2005-07-07 | General Electric Co <Ge> | 光ファイバによる配線の部分放電又はアーク放電の検出 |
| JP2006030241A (ja) * | 2004-07-12 | 2006-02-02 | Ricoh Co Ltd | 画像形成装置 |
| JP2008020661A (ja) * | 2006-07-13 | 2008-01-31 | Ricoh Co Ltd | 画像形成装置 |
-
2008
- 2008-06-20 JP JP2008161150A patent/JP5397661B2/ja not_active Expired - Fee Related
Patent Citations (6)
| Publication number | Priority date | Publication date | Assignee | Title |
|---|---|---|---|---|
| JPH02269980A (ja) * | 1989-04-12 | 1990-11-05 | Furukawa Electric Co Ltd:The | 電力ケーブル又はその接続部の異常検出装置 |
| JP2000208332A (ja) * | 1999-01-12 | 2000-07-28 | Takaoka Electric Mfg Co Ltd | 変圧器監視装置 |
| JP2000267519A (ja) * | 1999-03-15 | 2000-09-29 | Konica Corp | 両面画像形成装置 |
| JP2005181294A (ja) * | 2003-12-23 | 2005-07-07 | General Electric Co <Ge> | 光ファイバによる配線の部分放電又はアーク放電の検出 |
| JP2006030241A (ja) * | 2004-07-12 | 2006-02-02 | Ricoh Co Ltd | 画像形成装置 |
| JP2008020661A (ja) * | 2006-07-13 | 2008-01-31 | Ricoh Co Ltd | 画像形成装置 |
Cited By (1)
| Publication number | Priority date | Publication date | Assignee | Title |
|---|---|---|---|---|
| CN114778081A (zh) * | 2022-04-11 | 2022-07-22 | 深圳锐视智芯科技有限公司 | 一种传感器测试方法、装置、设备及可读存储介质 |
Also Published As
| Publication number | Publication date |
|---|---|
| JP5397661B2 (ja) | 2014-01-22 |
Similar Documents
| Publication | Publication Date | Title |
|---|---|---|
| JP5434790B2 (ja) | 弾性転写ベルト、及びこれを用いた画像形成装置 | |
| JP2020187344A (ja) | ベルト、中間転写ベルト、及び画像形成装置 | |
| JP7070077B2 (ja) | ベルト、無端ベルト、中間転写ベルト、及び画像形成装置 | |
| JP5321967B2 (ja) | 電子写真用中間転写ベルト及び電子写真装置 | |
| US20160282770A1 (en) | Meander control member, transfer belt, transfer unit, and image-forming apparatus | |
| JP4757125B2 (ja) | 画像形成装置 | |
| US8971765B2 (en) | Intermediate transfer member and method for manufacturing the same, intermediate transfer member unit, and image forming apparatus | |
| JP5397661B2 (ja) | 画像形成装置 | |
| JP5610210B2 (ja) | 中間転写体と製造方法、及びそれを用いた画像形成装置 | |
| JP5482054B2 (ja) | 画像形成装置用の円筒状部材の製造方法 | |
| JP2007164029A (ja) | 中間転写体及びその製造方法、並びに画像形成装置 | |
| JP5326936B2 (ja) | 電子写真用中間転写ベルト及び画像形成装置 | |
| JP5459112B2 (ja) | 電子写真用中間転写方法、電子写真用中間転写システム、画像形成方法及び画像形成装置 | |
| JP2010066430A (ja) | 中間転写体及び画像形成装置 | |
| JP5065577B2 (ja) | シームレスベルトの形成方法、シームレスベルトおよび電子写真装置 | |
| JP2008033184A (ja) | 転写ベルト及び画像形成装置 | |
| JP2004062169A (ja) | シームレスベルト及びその製造方法 | |
| JP5418026B2 (ja) | 電子写真用シームレスベルト及びそれを用いた電子写真装置 | |
| JP5472582B2 (ja) | 電子写真用中間転写ベルト及び電子写真装置 | |
| US12436484B2 (en) | Intermediate transfer belt, transfer device, and image forming apparatus | |
| JP5413725B2 (ja) | 中間転写体の製造方法、及びそれを用いた画像形成装置 | |
| JP2020173321A (ja) | 転写ベルト、転写装置、プロセスカートリッジ及び画像形成装置 | |
| JP2006171573A (ja) | シームレスベルト及びそれを用いた画像形成装置 | |
| JP2008058424A (ja) | 転写体及び画像形成装置 | |
| JP4949663B2 (ja) | シームレスベルト及びそれを用いた画像形成装置 |
Legal Events
| Date | Code | Title | Description |
|---|---|---|---|
| A621 | Written request for application examination |
Free format text: JAPANESE INTERMEDIATE CODE: A621 Effective date: 20110113 |
|
| A977 | Report on retrieval |
Free format text: JAPANESE INTERMEDIATE CODE: A971007 Effective date: 20120926 |
|
| A131 | Notification of reasons for refusal |
Free format text: JAPANESE INTERMEDIATE CODE: A131 Effective date: 20121001 |
|
| A521 | Written amendment |
Free format text: JAPANESE INTERMEDIATE CODE: A523 Effective date: 20121128 |
|
| A131 | Notification of reasons for refusal |
Free format text: JAPANESE INTERMEDIATE CODE: A131 Effective date: 20130816 |
|
| A521 | Written amendment |
Free format text: JAPANESE INTERMEDIATE CODE: A523 Effective date: 20130827 |
|
| TRDD | Decision of grant or rejection written | ||
| A01 | Written decision to grant a patent or to grant a registration (utility model) |
Free format text: JAPANESE INTERMEDIATE CODE: A01 Effective date: 20130926 |
|
| A61 | First payment of annual fees (during grant procedure) |
Free format text: JAPANESE INTERMEDIATE CODE: A61 Effective date: 20131009 |
|
| LAPS | Cancellation because of no payment of annual fees |
