JP2010002417A - 高純度または超高純度液体の導電率を測定するための方法および装置 - Google Patents

高純度または超高純度液体の導電率を測定するための方法および装置 Download PDF

Info

Publication number
JP2010002417A
JP2010002417A JP2009137880A JP2009137880A JP2010002417A JP 2010002417 A JP2010002417 A JP 2010002417A JP 2009137880 A JP2009137880 A JP 2009137880A JP 2009137880 A JP2009137880 A JP 2009137880A JP 2010002417 A JP2010002417 A JP 2010002417A
Authority
JP
Japan
Prior art keywords
conductivity
signal
measuring
liquid
water
Prior art date
Legal status (The legal status is an assumption and is not a legal conclusion. Google has not performed a legal analysis and makes no representation as to the accuracy of the status listed.)
Granted
Application number
JP2009137880A
Other languages
English (en)
Other versions
JP5265456B2 (ja
Inventor
Pascal Rajagopalan
パスカル・ラジヤコパラン
Aristotelis Dimitrakopoulos
アリストテリス・デイミトラコプロス
Ninivin Celine Le
セリーヌ・ル・ニニバン
Antony Vanheghe
アントニー・バンエグ
Current Assignee (The listed assignees may be inaccurate. Google has not performed a legal analysis and makes no representation or warranty as to the accuracy of the list.)
EMD Millipore Corp
Original Assignee
Millipore Corp
Priority date (The priority date is an assumption and is not a legal conclusion. Google has not performed a legal analysis and makes no representation as to the accuracy of the date listed.)
Filing date
Publication date
Application filed by Millipore Corp filed Critical Millipore Corp
Publication of JP2010002417A publication Critical patent/JP2010002417A/ja
Application granted granted Critical
Publication of JP5265456B2 publication Critical patent/JP5265456B2/ja
Active legal-status Critical Current
Anticipated expiration legal-status Critical

Links

Images

Classifications

    • GPHYSICS
    • G01MEASURING; TESTING
    • G01NINVESTIGATING OR ANALYSING MATERIALS BY DETERMINING THEIR CHEMICAL OR PHYSICAL PROPERTIES
    • G01N33/00Investigating or analysing materials by specific methods not covered by groups G01N1/00 - G01N31/00
    • G01N33/18Water
    • GPHYSICS
    • G01MEASURING; TESTING
    • G01NINVESTIGATING OR ANALYSING MATERIALS BY DETERMINING THEIR CHEMICAL OR PHYSICAL PROPERTIES
    • G01N27/00Investigating or analysing materials by the use of electric, electrochemical, or magnetic means
    • G01N27/02Investigating or analysing materials by the use of electric, electrochemical, or magnetic means by investigating impedance
    • G01N27/04Investigating or analysing materials by the use of electric, electrochemical, or magnetic means by investigating impedance by investigating resistance
    • G01N27/06Investigating or analysing materials by the use of electric, electrochemical, or magnetic means by investigating impedance by investigating resistance of a liquid

Landscapes

  • Chemical & Material Sciences (AREA)
  • Health & Medical Sciences (AREA)
  • Life Sciences & Earth Sciences (AREA)
  • Pathology (AREA)
  • General Physics & Mathematics (AREA)
  • Immunology (AREA)
  • Physics & Mathematics (AREA)
  • Analytical Chemistry (AREA)
  • Biochemistry (AREA)
  • General Health & Medical Sciences (AREA)
  • Food Science & Technology (AREA)
  • Medicinal Chemistry (AREA)
  • Engineering & Computer Science (AREA)
  • Chemical Kinetics & Catalysis (AREA)
  • Electrochemistry (AREA)
  • Investigating Or Analyzing Materials By The Use Of Electric Means (AREA)
  • Measurement Of Resistance Or Impedance (AREA)

Abstract

【課題】高純度または超高純度液体、特に水の導電率を、電極を用いて測定する方法を提案すること。
【解決手段】本発明は、高純度または超高純度液体、特に水の導電率を、電極を用いて測定する方法に関する。この方法は、抵抗器Rと、抵抗器Rと並列のコンデンサCpと、直列コンデンサCsとを備える等価電気回路図の形で液体をモデル化することによって、導電率を決定することにあることを特徴とする。本発明はまた、本方法を実施するための装置、およびこのような装置を組み込んだ浄化システムに関する。
【選択図】図1

Description

本発明は、高純度液体または超高純度液体、特に水の導電率を測定する方法に関する。
液体の導電率を測定することは、超純水の使用を必要とする多くの産業分野において、特に化学工業、薬品工業、医薬産業およびエレクトロニクス産業において重要である。
水溶液の導電率は、電極を形成する少なくとも2つの導電材料部品で一般に構成される導電率測定セルを横切るその溶液の抵抗を測定することによって測定される。
導電率測定セルは、測定された抵抗を溶液の導電率と比例関係で関連付けるそのセル定数によって画定される。セル定数は、セルの測定値の精度を決定する。したがって、超高純度液体の導電率を測定するためには、定数が小さいセルを使用することが必要である。
導電率測定は、セルの幾何学的形状、すなわち電極の全面積(s)およびそれら電極間の距離(L)の影響を受ける。これら2つのパラメータにより、セル定数k=L/sが確立される。
導電率は、物質を通る電子の流れの尺度である。導電率は、イオン濃度、イオンの電荷(価数)およびそれらイオンの移動度に正比例する。それらイオンの移動度は温度の関数であり、その結果測定された導電率も温度に依存する。
理論上の純水においては、存在するたった2種類のイオンが、水のH+イオンおよびOH−イオンへの解離に由来する。
25℃では、イオン性汚染物質を含まない水の試料の理論導電率は、0.055μS/cmである、すなわち、その抵抗率(抵抗率は導電率の逆数である)は18.2MΩ・cmである。試料の抵抗率は、試料の測定した抵抗Rとセル定数kとを比例関係で関連付ける方程式ρ=R/kから決定される。1MΩ・cmを超える抵抗率の値では、水が高純度または超高純度であると見なされる。
水の導電率測定の価値ある1つの用途は、水の導電率または抵抗率センサを備える任意の浄化システムに対してである。
導電率を測定する場合、溶液に浸された電極の端子に電位差を印加することが必要である。電気パルスの形の電位差は、電極の面積に関連する電流を誘導する。電極の面積が大きくなればなるほど、セル定数がより小さくなり、測定する電流もそれに応じてより正確になる。電位差を印加することにより、電気回路全体に抵抗および静電容量現象も生じる。特に、セルの幾何学的形状と直結する静電容量が、電極−溶液界面に現れる。小さいセル定数を有する小さいセルは、高い静電容量を誘導する。
水に浸された導電率測定セルは従来から、システムの抵抗および静電容量効果を表す等価電気回路によってモデル化される。
従来の手法では、電極に特有の静電容量および抵抗効果を無視または補償する。したがって、電極間の水のモデルは純抵抗となるか、またはモデルの単純化後は直列静電容量が割り当てられる。
たとえば、従来技術においては、セルの静電容量効果が、定期的な較正によって、またこの現象を低減するよう十分に大きい面積を有する電極を用いることによって補償される。この問題を解決するための1つの方法は、公知の抵抗率の溶液に導電率測定セルを定期的に浸し、セル定数を再計算して電極の状態を考慮することである。
さらに、単純化モデルを使用することが可能であるためには、また分極の危険性を低減するためには、採取した水の質に応じて正確に選択された周波数で電気信号を使用することが必要である。
液体の抵抗率を決定するための様々な従来技術の方法がある。後述する方法は、抵抗器と直列であるコンデンサで構成されている等価電気回路によってモデル化された水に基づいている。
国際公開第88/01740号パンフレットに記載されている中央サンプリング法は、導電率測定セルを周期的に励起することにある。セルの出力信号は、セルに固有の静電容量効果が異なる2つの異なる期間にわたって分析される。第1の間隔の間に得られた信号は、これら2つの時間間隔間の信号差に基づき静電容量効果について補正される。この中央サンプリング法および短いワイヤにより、解方程式からワイヤおよび電極の静電容量効果が排除される。
米国特許出願公開第2007/0024287号明細書に記載されている、高純度または超高純度液体の抵抗率を決定するための第2の方法では、導電率測定セルを通過する交流を測定する。その後、異なる周波数における信号間のインピーダンス差から、液体の抵抗率が計算される。正確に確立された周波数における交流を、導電率測定セルの端子に流す。この電流が測定され、異なる周波数における信号でこの操作が繰り返される。測定された値はセルのインピーダンスに比例し、異なる周波数で得られたインピーダンス間の差を使用して、試料の直列静電容量および抵抗効果を計算することができる。その後、所与の周波数について、静電容量効果の補償を含めて、試験される液体の抵抗率を数学的に決定することが可能である。
前記方法には制限がある。まず、それらの方法は電極の寸法およびセル定数を制限する。次に、分極を制限するために、関与している液体の限られた範囲の導電率値に応じて、特定の周波数で導電率測定セルを使用しなければならない。最後に、セル電極の老化(不動態、腐食等)により、制御することができない電極−溶液界面において静電容量の変更が生じてしまう。
小さい試料の導電率は、たとえば仏国特許出願第0655276号明細書に記載されているように、微小電極が備わっている導電率測定セルを用いて測定することができる。これは、電極の小ささのため、またセンサの高レベルの性能、すなわち、小さいセル定数が維持されるためである。にもかかわらず、微小電極を用いることにより、それら微小電極の小ささのおかげで、大きな静電容量効果が生じることがあり、この静電容量効果はもはや無視することができないことがわかっている。その場合、水中のセルのモデルを修正することが必要である。
国際公開第88/01740号パンフレット 米国特許出願公開第2007/0024287号明細書 仏国特許出願第0655276号明細書 米国特許第6232786号明細書 米国特許出願公開第2003/0173976号明細書 国際公開第2006/036929号パンフレット 欧州特許公開第0672448号明細書
Liu J Gら、"Application of discrete Fourier transform to electronic measurements"、1997年9月9日、information,communications and signal processing,1997.ICICS.,proceedings of 1997 international conference on Singapore 1997年9月9−12日、New York、NY、USA、IEEE、US、1257−1261ページ、XP010264119、ISBN:978−0−7803−3676−6
前記のように、水に浸された導電率測定セルの理論モデルは、システムの構成部品の挙動を特徴付ける、直列または並列の多数の抵抗器およびコンデンサで構成される等価電気回路図によって表される。微小電極を用いる場合の静電容量現象の発生を、モデルにおいて考慮に入れなければならない。単純化モデルの単一抵抗器と直列にコンデンサを加えることでは、試験中のセルの電気的挙動を表すにはもはや十分でないことがすぐに明らかとなる。
したがって、本発明では、抵抗器とコンデンサとの並列接続の組合せと直列にコンデンサを等価電気回路図中に含む、水に浸された導電率測定セル向けの新たなモデルを使用する。この新たなモデルの微小電極についての利点は考慮すべきである。にもかかわらずこの新たなモデルは、微小電極を使用する場合にのみ適用されるのではなく、同心電極に対して、また質がより低い溶液についての測定に対して同等に適用可能であることに留意することが重要である。
本発明のおかげで、純度の高い水の電気モデルにおける直列および並列静電容量の効果を考慮に入れて、導電率を正確に測定することが一般的に可能である。本発明ではまた、試料中に存在する異物も検出する。
より正確には、本発明は、高純度または超高純度液体、特に水の導電率を、電極を用いて測定する方法を提案する。この方法は、抵抗器Rと、前記抵抗器Rと並列のコンデンサCpと、直列コンデンサCsとを備える等価電気回路図の形で液体をモデル化することによって、導電率を決定することにあることを特徴とする。
好ましい特徴によれば、適切な場合には以下を組み合わせる:
− この方法が、一連の基準励起信号を異なる周波数で印加するステップと、所与の周波数で得られた離散測定値を統合することによって、出力信号のスペクトルを再構築するステップと、再構築した経験的信号を理論モデルと比較するステップと、理論モデルと得られた経験信号との差を最小化して、そこから三つ組R、Cp、Csを抽出するステップとを含む。
− 出力信号の再構築したスペクトルに、時間的補間を施して中間周波数における信号の分解能を増大させること、および/または実験的にアクセスできない周波数を考慮に入れるために周波数の補外を施す。
− 再構築した経験的時間信号のフーリエ変換した関数と理論モデルのフーリエ変換との間、または再構築した経験的時間信号と理論モデルのフーリエ変換の逆フーリエ変換との間の比較を行う。
− 最小化ステップが、好ましくはパウエル法または線形計画法を伴うシンプレックス法の形で微分ノルム多次元非線形最小化を使用する。
− 抽出した三つ組R、Cp、Csが測定の擾乱状態に対応するかどうかを、またもし対応するのであれば擾乱の性質を、さらに決定する。
− 決定するステップが、帰属確率計算を使用する。
− 擾乱が、異物、特に粒子、非混和性汚染物質または気泡の存在に対応する。
− 励起信号が、パルス、好ましくは方形波パルスの形で印加される。
− 励起信号の周波数の範囲が、50Hzから5kHzまたは100kHzから20MHzである。
− 導電率が、微小電極によって測定される。
本発明はまた、高純度または超高純度液体、特に水の導電率を測定するための装置に関する。この装置は、上で確立した方法を実行するための制御手段を含むことを特徴とする。
この装置の好ましい特徴によれば、適切な場合には以下を組み合わせる:
− 制御手段がマイクロコントローラを含む。
− マイクロコントローラが、パルス発生器または基準信号発生器によって励起される導電率測定セルに接続されている。
− 各導電率測定セルに、微小電極が備わっている。
本発明は最終的には、前記導電率測定装置を備える浄水システムに関する。
本発明の他の利点は、図面を参照して述べる以下の説明を読むと明らかとなる。
高純度液体用の本発明の等価電気回路モデルを示す図である。 採取した水の導電率およびパラメータを決定するための本発明の方法の全体図である。 水の電気的特性を測定するための本発明のシステムの一実施形態の電子回路図である。 本発明のマイクロコントローラの一実施形態のアルゴリズムを示す図である。 アルゴリズムの信号処理フェーズをより詳細に示す図である。 試験試料のパラメータを決定するアルゴリズムのフェーズをより詳細に示す図である。
以下の説明は非限定的な例として述べられていることを理解されたい。
水などの高純度または超高純度液体の導電率を測定するためには、セル−溶液界面および液体の電気的特性を具体化する等価電気回路図を用いてその液体をモデル化することが必要である。
電極と周囲の電子システムとの間の接続線の電気的効果も考慮に入れられ、コンデンサによってモデル化される。
1オーム程度であるこのモデルの抵抗は、高純度または超高純度液体の抵抗率と比較して無視することができる。
その後このモデルを修正することができ、図1に示す等価回路10によって、本発明に従って液体をモデル化する。この等価回路10は、並列接続したコンデンサ12と抵抗器13との組合せと直列にコンデンサ11を備える。
試験試料の導電率は、全般図14(図2)に従う方法によって決定される。この方法は、特にフーリエまたはラプラス空間における液体の特性に基づき、試験液体の特性を様々な所定のモデルと比較することによって異常な状態を検出する。
より正確に言うと、全般図14は、マイクロコントローラ18によって実行されるアルゴリズムによって制御される電子励起システム16からの電気パルスによって励起される導電率および温度測定セル部15を示している。
温度測定電子機器は従来型であり(たとえば、ホイートストーンブリッジ)、本明細書では詳細には説明しない。しかしながら、それら温度測定電子機器により、液体の測定したパラメータが温度と関連付けられ、したがってそれらパラメータへの温度の影響が考慮に入れられることに留意されたい。
導電率測定セル15に印加される励起により、その2つの電極間に電流が誘導される。溶液を通るその通路によって妨害される、励起に対する応答は、電子測定システム17によってマイクロコントローラ18を経由する。
受信信号はその後、マイクロコントローラ18のアルゴリズムによって処理および解釈され、マイクロコントローラ18は試験溶液の抵抗および静電容量パラメータ19を出力する。マイクロコントローラ18のアルゴリズムは、たとえば固体粒子または気泡によって問題となっている試料が汚染された場合に警報20を発する。
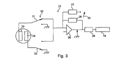
図3における回路21によって示されるように、本発明の一実施形態の電子励起および測定部は、パルス発生器22または基準信号(方形波、正弦波、鋸波等)発生器を備える。この発生器は電圧源であっても電流源であってもよいが、ここでは以下の2つの特性を有するように設計される:
− 水の解離および自動プロトン分解を回避するために、電極間ピーク−ピーク電圧が決して1.23Vを超えないこと。
− 信号の平均電圧がゼロであること。
電流源によって確立されるパルスを使用することができるが、電圧源による励起が電子回路における使用および制御にとってより実用的である。任意のタイプのパルス、方形波、正弦波、鋸波等を使用することができる。ここではこの信号が有限帯域幅を有し、もちろん前記条件を満たす。実際には、正弦波信号を使用することが好ましい。というのは、このような信号が電子回路ではより処理しやすいからである。
パルス発生器22は、その2つの電極23および24(ここでは微小電極)が図3に示してある導電率測定セルに給電する。これらの電極23および24を発生器22のスイッチ31および32によって制御して同じ基準信号で両電極を励起し、それにより非対称の危険性がなくなる。
セルからの信号は、演算増幅器26によって増幅および処理され、抵抗器27および28が信号利得を正確に設定する。基準信号VREFが、演算増幅器26の入力に印加される。抵抗器27および28は、利得抵抗器セレクタ33によって選択される。演算増幅器26からの電圧信号Vsは、アナログ−デジタル変換器29によってアナログ信号からデジタル信号に変換され、この信号がその後マイクロコントローラ18を経由する。
ここでは(図4参照)、システムのパラメータ(抵抗、直列静電容量および並列静電容量から推定される導電率)を決定するためのマイクロコントローラ18のアルゴリズム30がまず、デジタル信号の質を改善してその分析を容易にするための前処理フェーズ31を含む。
その後信号をベクトル抽出フェーズ32中に分析して、システムのパラメータを決定する。これらパラメータはデータベースを経由して、学習フェーズ33中に試験される状態と関連付けられる。抽出フェーズ32からのパラメータはその後、検出フェーズ35中にあらかじめ記録された状態34と比較される。
特定されたパラメータが汚染された試料に由来するのか汚染されていない試料に由来するのかに応じて、警報および後処理フェーズ36は、試料の質に関して警報20を発し、かつ/またはそのパラメータ19(図2参照)を、図示されていないディスプレイ装置に伝達する。
実際には、一連の基準励起信号が、電極の端子に印加される。各信号は、50Hzから5kHzの所与の周波数に対応する。図5を参照すると、前処理フェーズ31中に、所与の周波数に対応するアナログ−デジタル変換器29からのデジタル化信号が、ここでは中央値フィルタ37によってフィルタにかけられて、異常測定点が取り除かれる。その後、このデジタル化信号にローパスフィルタリング38を施して、高い周波数を取り除く。この一連のデジタル信号すべてを統合することによって、時間の関数としての電圧の曲線の形で所与の周波数について出力信号のスペクトルを再構築する。最後に、時間的補間および補外39を信号に施して、中間周波数における分解能を増大させ、また実験的にアクセスできない周波数範囲を一掃する。20個の離散測定値から、たとえば、周波数の関数としての電圧の200個の値のスペクトルを構築することができ、100Hzから5kHzの範囲が一掃される。信号を処理するこの方法により、高周波数でも低周波数でもより多くのデータが生成され、周波数スペクトル全体を高分解能で一掃するために必要な測定時間の損失が回避される。測定した信号は、この段階においては、優れた分解能および優れた信号対雑音比を有する前処理済み時間信号であり、分析する準備ができている。
ここでは(図6参照)、システムのパラメータ(抵抗R、直列静電容量Csおよび並列静電容量Cpから推定される導電率)が、抽出フェーズ32を適用して解の三つ組(R、Cs、Cp)を抽出するアルゴリズム40を用いて決定される。前処理フェーズ31からの前処理済み(特に補間済み)時間信号は、2つの方法によって処理することができる。
前処理済み時間信号を処理する第1の方法は(図6の左側の部分を参照のこと)、フーリエまたはラプラス空間におけるその変換関数を得るための変換41で始まる。このようにして得られた高速フーリエ変換関数(FFT)を、出力信号の理論パラメータに対応する液体のモデル42のFFTと比較する。方形波信号による励起の場合には、出力信号のモデルは、以下の方程式によって与えられる。式中、Tはパルスの継続時間である:
H(jω)=(1−e−jωT)1/jωc+R/(1+jωRC
実験的に得られたフーリエ変換関数と理論モデルから得られたフーリエ変換関数との比較は、経験的ベクトルとモデルベクトルとの間の微分ノルムを確立するフェーズ43中に行われる。実験結果と理論結果との差が、このフェーズ中に決定される。解ベクトル(R、Cs、Cp)を決定するアルゴリズムのこの段階で、これら2つの伝達関数間の相違は、モデルと調整を行っている信号との間の微分ノルムの多次元非線形最小化のフェーズ44中に最適化される。この最適化のおかげで、理論モデルの3つのパラメータの値を変更すると、差異がゼロに向かう傾向にある。最適化は、たとえば、一次導関数の算出(傾斜法)を用いる種類の数理最適化法を用いて、好ましくはパウエル法または線形計画法を伴うシンプレックス法を用いて行われる。最適化の後、システムのパラメータを完全に決定することができ(取得した実際のデータに対応する実験曲線と最も合致するモデル化曲線が決定された)、したがってアルゴリズムが解ベクトル(R、Cs、Cp)へのアクセスをもたらす。
試料の導電率は、上で確立した方程式C=R/kを用いてこのベクトルから導かれる。
前処理済み時間信号を処理するための第2の方法(図6の右側部分を参照のこと)では、液体のモデル42のFFTがフェーズ45中に反転される。液体のモデルはその後、前処理済み時間信号と同次の時間信号となる。これら2つの信号を、微分ノルムを確立するフェーズ43および最適化フェーズ44に基づき、ベクトル(R、Cs、Cp)を決定する第1の方法の場合と同様にして比較する。
したがって、これらのパラメータは既知である。にもかかわらず、本発明では、学習フェーズ33中に、データベース中の測定温度に関連している3つのパラメータのベクトルを保存する(図4参照)。したがって、基礎アルゴリズムは、好ましくはあらかじめ記録された状態のライブラリを備え、そのライブラリの使用を通して、試験から得られた結果によりそのデータベースを充実させることができる。
多くの状態を保存することにより、通常の条件下で、またパラメータR、CpおよびCsのうちの1つ以上に対して重大な擾乱がある、たとえば、液体浄化システムに由来する気泡または樹脂ビーズが存在する条件下で、ベクトル(R、Cp、Cs)の獲得が可能となる。その後、このようにして得られたパラメータに基づき、後述の検出フェーズ35において使用される、RをCpおよびCsに関連付ける多項式関数を確立する。
このようにして試料のパラメータが決定されると、抽出フェーズ32に続いて、それらパラメータが検出フェーズ35中にデータベースに保存された状態と比較される。標準的な数学的方法(標準的な偏差計算、ガウス誤差分散)を用いて、決定されたベクトル(R、Cp、Cs)の、通常の条件に対応する、または擾乱条件に対応する、状態群に帰属する確率をその後算出する。
静電容量および抵抗の挙動は、汚染のタイプに密接に関連している。一例は、気泡の検出である。微小電極の小ささは、抵抗測定、したがって溶液の導電率の値を偽装する気泡の存在を検出することが可能であることを意味する。したがって、泡の存在下においては、液体の抵抗率が空気の抵抗率の影響を受ける。静電容量の値が発散することにも留意されたい。この特定の状態においては、直列静電容量の値が汚染物質を含まない溶液に対して減少する傾向にある一方、並列静電容量の値は上昇する傾向にあることにもさらに留意されたい。樹脂ビーズの存在下においては、これら静電容量の値が非常に著しく、気泡が存在する場合よりも大きく変化するが、抵抗の値は実質的には同じままである。これらのパラメータの具体的な変動は、注目に値するほど十分に大きく、汚染物質を含まない試料との混同の危険性は、検出フェーズ35に従う比較によって取り除かれる。
システムのパラメータが所与の条件に帰属することが決定され、それらパラメータの値が決定されると、警報および後処理フェーズ36が、これらのパラメータの値へのアクセスおよび/または、たとえばディスプレイ装置についての導電率の値へのアクセスをもたらし、試料が汚染されているかどうか、またもし汚染されているのであれば汚染物質のタイプおよびどのように問題を解決するのかを決定する。たとえば、アルゴリズムはパージコマンドを誘発して、より良い条件下で試験を再開することができる。
本発明のこの非限定的な実施例の価値ある用途は、高純度または超高純度水溶液の導電率を、特に浄水システムにおいて測定することである。
他の多数の変形例が状況に応じて実行可能であり、本発明は、説明し示したこの実施例に限定されない。
マイクロコントローラは、汎用プロセッサまたは専用のデジタル信号プロセッサ(DSP)に置き換えることができることを特に留意されたい。より一般的には、少なくとも論理演算装置を備える任意の電子部品が適切である。
気泡または樹脂ビーズを検出する典型的な用途以外の用途においては、励起信号の周波数の範囲が異なることがあり、特に、より生命科学(血球計算、バクテリアの同定等)志向の用途においては100kHzから20MHzとなることがある。
10 等価回路
11、12 コンデンサ
13、27、28 抵抗器
14 全般図
15 導電率および温度測定セル部
16 電子励起システム
17 電子測定システム
18 マイクロコントローラ
19 抵抗および静電容量パラメータ
20 警報
21 回路
22 パルス発生器
23、24 電極
26 演算増幅器
29 アナログ−デジタル変換器
30 アルゴリズム
31 前処理フェーズ
32 ベクトル抽出フェーズ
33 利得抵抗器セレクタ
34 あらかじめ記録された状態
35 検出フェーズ
36 警報および後処理フェーズ
37 中央値フィルタ
38 ローパスフィルタリング
39 時間的補間および補外
40 アルゴリズム
41 変換
42 液体のモデル
43 微分ノルムを確立するフェーズ
44 最適化フェーズ
45 フェーズ

Claims (16)

  1. 高純度または超高純度液体、特に水の導電率を、電極を用いて測定する方法であって、抵抗器Rと、抵抗器Rと並列のコンデンサCpと、直列コンデンサCsとを備える等価電気回路図の形で液体をモデル化することによって、導電率を決定することにあることを特徴とする、方法。
  2. 一連の基準励起信号を異なる周波数で印加するステップと、
    所与の周波数で得られた離散測定値を統合することによって、出力信号のスペクトルを再構築するステップと、
    再構築した経験的信号を理論モデルと比較するステップと、
    理論モデルと得られた経験信号との差を最小化して、そこから三つ組R、Cp、Csを抽出するステップとを含むことを特徴とする、請求項1に記載の方法。
  3. 出力信号の再構築したスペクトルに、時間的補間を施して中間周波数における信号の分解能を増大させること、および/または実験的にアクセスできない周波数を考慮に入れるために周波数の補外を施すことを特徴とする、請求項2に記載の方法。
  4. 再構築した経験的時間信号のフーリエ変換した関数と理論モデルのフーリエ変換との間、または再構築した経験的時間信号と理論モデルのフーリエ変換の逆フーリエ変換との間の比較を行うことを特徴とする、請求項2または3に記載の方法。
  5. 最小化ステップが、好ましくはパウエル法または線形計画法を伴うシンプレックス法の形で微分ノルム多次元非線形最小化を使用することを特徴とする、請求項2から4のいずれか一項に記載の方法。
  6. 抽出した三つ組R、Cp、Csが測定の擾乱状態に対応するかどうかを、またもし対応するのであれば擾乱の性質をさらに決定することを特徴とする、請求項2から5のいずれか一項に記載の方法。
  7. 決定するステップが、帰属確率計算を使用することを特徴とする、請求項6に記載の方法。
  8. 擾乱が、異物、特に粒子、非混和性汚染物質または気泡の存在に対応することを特徴とする、請求項6または7に記載の方法。
  9. 励起信号が、パルス、好ましくは方形波パルスの形で印加されることを特徴とする、請求項2から8のいずれか一項に記載の方法。
  10. 励起信号の周波数の範囲が、50Hzから5kHzまたは100kHzから20MHzであることを特徴とする、請求項2から9のいずれか一項に記載の方法。
  11. 導電率が、微小電極を用いて測定されることを特徴とする、請求項1から10のいずれか一項に記載の方法。
  12. 高純度または超高純度液体、特に水の導電率を、電極を用いて測定するための装置であって、請求項1から11のいずれか一項に記載の方法を実行するための制御手段を備えることを特徴とする、装置。
  13. 制御手段がマイクロコントローラ(18)を含むことを特徴とする、請求項12に記載の装置。
  14. マイクロコントローラ(18)が、パルス発生器(22)または基準信号発生器によって励起される導電率測定セルに接続されていることを特徴とする、請求項13に記載の装置。
  15. 各導電率測定セルに、微小電極23、24が備えられていることを特徴とする、請求項14に記載の装置。
  16. 水の導電率を測定するための請求項12から15のいずれか一項に記載の装置を備える浄水システム。
JP2009137880A 2008-06-23 2009-06-09 高純度または超高純度液体の導電率を測定するための方法および装置 Active JP5265456B2 (ja)

Applications Claiming Priority (2)

Application Number Priority Date Filing Date Title
FR0854130A FR2932893B1 (fr) 2008-06-23 2008-06-23 Procede et dispositif de mesure de conductivite d'un liquide pur ou ultrapur.
FR0854130 2008-06-23

Publications (2)

Publication Number Publication Date
JP2010002417A true JP2010002417A (ja) 2010-01-07
JP5265456B2 JP5265456B2 (ja) 2013-08-14

Family

ID=40597230

Family Applications (1)

Application Number Title Priority Date Filing Date
JP2009137880A Active JP5265456B2 (ja) 2008-06-23 2009-06-09 高純度または超高純度液体の導電率を測定するための方法および装置

Country Status (8)

Country Link
US (1) US8179141B2 (ja)
EP (1) EP2138833B1 (ja)
JP (1) JP5265456B2 (ja)
CN (1) CN101629925B (ja)
BR (1) BRPI0901622A2 (ja)
ES (1) ES2390401T3 (ja)
FR (1) FR2932893B1 (ja)
SG (1) SG158013A1 (ja)

Cited By (1)

* Cited by examiner, † Cited by third party
Publication number Priority date Publication date Assignee Title
JP2014010027A (ja) * 2012-06-29 2014-01-20 Waseda Univ 絶縁電線又はケーブルの温度変化箇所の位置標定方法

Families Citing this family (22)

* Cited by examiner, † Cited by third party
Publication number Priority date Publication date Assignee Title
FR2932270B1 (fr) * 2008-06-06 2010-07-30 Millipore Corp Methode et dispositif de mesure de la purete d'une eau ultrapure
FR2932271B1 (fr) * 2008-06-06 2010-06-11 Millipore Corp Dispositif pour la mesure de la purete d'une eau ultrapure
DE102010060465A1 (de) * 2010-11-09 2012-05-10 Harald Riegel Verfahren zur Kalibrierung einer Leitfähigkeitsmesszelle
DK2567223T3 (da) * 2011-07-20 2014-07-28 Optek Danulat Gmbh Indretning til måling af den elektriske ledningsevne i et flydende, fortrinsvis vandigt, medium
CN102809698B (zh) * 2012-08-24 2014-09-03 福建师范大学 采用两种波形激励信号的溶液电导率的测量系统
CN102830143B (zh) * 2012-08-24 2014-03-12 福建师范大学 三角波激励并积分处理的溶液电导率测量方法
CN103630752B (zh) * 2012-08-24 2016-05-04 福建师范大学 两种频率正弦波叠加信号激励的溶液电导率的测量系统
CN102809697B (zh) * 2012-08-24 2014-09-03 福建师范大学 三角波激励并对响应电流积分处理的溶液电导率测量方法
US10082477B2 (en) 2013-02-12 2018-09-25 Horiba Advanced Techno, Co., Ltd. Resistivity-measuring circuit, cell for measuring liquid sample, resistivity-measuring apparatus, liquid sample control method, and liquid sample control system
US9835573B2 (en) * 2013-03-15 2017-12-05 Ilium Technology Inc. Apparatus and method for measuring electrical properties of matter
CN103424629B (zh) * 2013-07-25 2016-04-13 同济大学 一种测试氧化石墨烯溶液阻抗的简易方法
CN103630753A (zh) * 2013-12-05 2014-03-12 大连世佳精工机械有限公司 一种方波激励的溶液电导率测量方法
CN103706897B (zh) * 2013-12-31 2016-01-20 常州工学院 一种电解加工中电解液的电导率在线测量装置及方法
US9885677B2 (en) * 2014-05-23 2018-02-06 Intel Corporation Liquid quality meter apparatus
ES2530691B1 (es) * 2015-02-02 2015-11-03 Zertan, S.A. Método de medida de la presencia de agua en filtros de gasóleo y sensor de agua para efectuar dicho método
CN107870187A (zh) * 2017-12-15 2018-04-03 杭州遥测物联网技术有限公司 一种低成本高精度的饮用水电导率测量方法及测量电路
DE102017223853A1 (de) * 2017-12-28 2019-07-04 Kautex Textron Gmbh & Co. Kg Verfahren zum Bestimmen einer Qulitätseigenschaft einer Betriebsflüssigkeit in einem Betriebsflüssigkeitsbehälter für ein Kraftfahrzeug und Betriebsflüssigkeitsbehälter zum Durchführen des Verfahrens
GB2593624B (en) * 2018-10-24 2023-05-03 4T2 Sensors Ltd Apparatus for monitoring a fluid
CN111308369B (zh) * 2020-03-25 2022-07-05 中创新航科技股份有限公司 一种电池系统性能分析电路、方法、系统及存储介质
CN114720517B (zh) * 2022-04-12 2025-11-04 杭州诺普泰克仪器仪表有限公司 一种低浓度溶液电导率的测量方法
US12492927B2 (en) 2022-11-23 2025-12-09 Itron International, Llc Capacitive electrical conductivity sensor integrated in a water meter
DE102023208834A1 (de) * 2023-09-12 2025-03-13 Robert Bosch Gesellschaft mit beschränkter Haftung Sensor und Sensorsystem

Citations (3)

* Cited by examiner, † Cited by third party
Publication number Priority date Publication date Assignee Title
JPH0732562U (ja) * 1993-11-18 1995-06-16 秀夫 大西 水分測定器
US6232786B1 (en) * 1996-10-03 2001-05-15 Ysi Incorporated Apparatus and method for measuring conductivity
US20030173976A1 (en) * 1999-10-12 2003-09-18 Gerald Wiegand Highly time resolved impedance spectroscopy

Family Cites Families (13)

* Cited by examiner, † Cited by third party
Publication number Priority date Publication date Assignee Title
FR655276A (fr) 1927-10-18 1929-04-17 Thomson Houston Comp Francaise Dispositif de connexion électrique entre un câble souple et une pièce conductrice
US4118663A (en) * 1977-10-11 1978-10-03 Thomas-Barben Instruments Four electrode conductivity sensor
US4808930A (en) 1986-09-03 1989-02-28 Beckman Industrial Corporation Technique of compensating for capacitive effects in conductivity measurements
US5260663A (en) * 1992-07-14 1993-11-09 Anatel Corporation Methods and circuits for measuring the conductivity of solutions
US5448178A (en) * 1993-11-05 1995-09-05 Nalco Chemical Company Transient technique to determine solution resistance for simple and accurate corrosion rate measurements
US5580444A (en) * 1994-03-14 1996-12-03 Hydrotechnology, Inc. Water quality monitor for a water purification system
DE19844489A1 (de) * 1998-09-29 2000-03-30 Conducta Endress & Hauser Verfahren zum Bestimmen der elektrischen Leitfähigkeit von Flüssigkeiten
US6664793B1 (en) * 2002-03-01 2003-12-16 Allen R. Sampson Fluid presence and qualitative measurements by transient immitivity response
CN1203311C (zh) * 2002-05-24 2005-05-25 梅特勒-托利多仪器(上海)有限公司 一种溶液电导率的测量方法
EP1794583A1 (en) * 2004-09-27 2007-06-13 Source Sentinel, Llc System for monitoring quality of water system
US20070024287A1 (en) * 2005-08-01 2007-02-01 Mesa Laboratories, Inc. Apparatus and method for measuring liquid conductivity and electrode series capacitance
WO2008030585A1 (en) * 2006-09-08 2008-03-13 Rosemount Analytical, Inc. Measuring conductivity of a liquid
CN100485375C (zh) * 2006-09-27 2009-05-06 浙江大学 一种便携式智能水质电导检测装置

Patent Citations (3)

* Cited by examiner, † Cited by third party
Publication number Priority date Publication date Assignee Title
JPH0732562U (ja) * 1993-11-18 1995-06-16 秀夫 大西 水分測定器
US6232786B1 (en) * 1996-10-03 2001-05-15 Ysi Incorporated Apparatus and method for measuring conductivity
US20030173976A1 (en) * 1999-10-12 2003-09-18 Gerald Wiegand Highly time resolved impedance spectroscopy

Non-Patent Citations (1)

* Cited by examiner, † Cited by third party
Title
JPN6011044730; J. G. Liu et al: 'Application of Discrete Fourier Transform to Electronic Measurements' International Conference on Information, Communications and Signal Processing, ICICS 1997 , 19970909, p. 1257-1261, IEEE *

Cited By (1)

* Cited by examiner, † Cited by third party
Publication number Priority date Publication date Assignee Title
JP2014010027A (ja) * 2012-06-29 2014-01-20 Waseda Univ 絶縁電線又はケーブルの温度変化箇所の位置標定方法

Also Published As

Publication number Publication date
CN101629925B (zh) 2013-12-04
US20090315571A1 (en) 2009-12-24
EP2138833A1 (en) 2009-12-30
FR2932893A1 (fr) 2009-12-25
CN101629925A (zh) 2010-01-20
FR2932893B1 (fr) 2010-12-10
EP2138833B1 (en) 2012-09-05
JP5265456B2 (ja) 2013-08-14
BRPI0901622A2 (pt) 2010-04-06
SG158013A1 (en) 2010-01-29
US8179141B2 (en) 2012-05-15
ES2390401T3 (es) 2012-11-12

Similar Documents

Publication Publication Date Title
JP5265456B2 (ja) 高純度または超高純度液体の導電率を測定するための方法および装置
EP2405263B1 (en) Analysis of a dielectric medium
US4822456A (en) Ion measuring apparatus and monitoring system
JPH0529263B2 (ja)
CN105378492B (zh) 测量物质的电学性能的装置和方法
CN106687777B (zh) 用于监测容器中介质的填充水平的方法和装置
CN107003296B (zh) 溶血检测方法和系统
CA2327745C (en) Apparatus and method for conductivity measurement including probe contamination compensation
CN101424652A (zh) 用于测量测量介质中的杂质的方法和设备
JP5214067B2 (ja) 水分濃度検出装置
WO2008021546A2 (en) Impedance measurement of a ph electrode
US7292048B2 (en) Method and apparatus for measuring a dielectric response of an electrical insulating system
RU2700368C1 (ru) Способ определения технического состояния цифрового трансформатора по параметрам частичных разрядов в изоляции
EP1756596B1 (en) Apparatus for monitoring the purity and/or quality of steam
JP7071723B2 (ja) 複素誘電率測定用回路、複素誘電率測定装置及び複素誘電率の測定方法
JP5635087B2 (ja) プラズマ処理システムがウエハを処理できる状態にあるか否かの判定を容易にするための試験システム及び方法並びにプラズマ処理システム
JP2012103219A (ja) 非接触型インピーダンスモニター
CN100454017C (zh) 用于监控参考半电池的方法和设备
JP5009870B2 (ja) 静電容量式センサの異常検出装置
Ghodinde et al. Quantification of urea adulteration with impedance spectroscopy in cow milk
RU2708682C1 (ru) Контактный датчик удельной электрической проводимости жидкости
CN204203359U (zh) 电导率的测试装置和用电设备
Komárek et al. A DSP based prototype for water conductivity measurements
Gruden et al. Experimental interference liability studies on electrode geometry of aqueous solution sensors
CN114355052A (zh) 一种非线性绝缘介质暂态介电特性检测方法及装置

Legal Events

Date Code Title Description
A131 Notification of reasons for refusal

Free format text: JAPANESE INTERMEDIATE CODE: A131

Effective date: 20110830

A601 Written request for extension of time

Free format text: JAPANESE INTERMEDIATE CODE: A601

Effective date: 20111128

A602 Written permission of extension of time

Free format text: JAPANESE INTERMEDIATE CODE: A602

Effective date: 20111201

A521 Request for written amendment filed

Free format text: JAPANESE INTERMEDIATE CODE: A523

Effective date: 20120229

A131 Notification of reasons for refusal

Free format text: JAPANESE INTERMEDIATE CODE: A131

Effective date: 20120626

A601 Written request for extension of time

Free format text: JAPANESE INTERMEDIATE CODE: A601

Effective date: 20120924

A602 Written permission of extension of time

Free format text: JAPANESE INTERMEDIATE CODE: A602

Effective date: 20120927

A521 Request for written amendment filed

Free format text: JAPANESE INTERMEDIATE CODE: A523

Effective date: 20121226

RD02 Notification of acceptance of power of attorney

Free format text: JAPANESE INTERMEDIATE CODE: A7422

Effective date: 20130226

RD04 Notification of resignation of power of attorney

Free format text: JAPANESE INTERMEDIATE CODE: A7424

Effective date: 20130315

TRDD Decision of grant or rejection written
A01 Written decision to grant a patent or to grant a registration (utility model)

Free format text: JAPANESE INTERMEDIATE CODE: A01

Effective date: 20130409

A61 First payment of annual fees (during grant procedure)

Free format text: JAPANESE INTERMEDIATE CODE: A61

Effective date: 20130501

R150 Certificate of patent or registration of utility model

Free format text: JAPANESE INTERMEDIATE CODE: R150

Ref document number: 5265456

Country of ref document: JP

Free format text: JAPANESE INTERMEDIATE CODE: R150

R250 Receipt of annual fees

Free format text: JAPANESE INTERMEDIATE CODE: R250

R250 Receipt of annual fees

Free format text: JAPANESE INTERMEDIATE CODE: R250

S531 Written request for registration of change of domicile

Free format text: JAPANESE INTERMEDIATE CODE: R313531

R350 Written notification of registration of transfer

Free format text: JAPANESE INTERMEDIATE CODE: R350

R250 Receipt of annual fees

Free format text: JAPANESE INTERMEDIATE CODE: R250

R250 Receipt of annual fees

Free format text: JAPANESE INTERMEDIATE CODE: R250

R250 Receipt of annual fees

Free format text: JAPANESE INTERMEDIATE CODE: R250

R250 Receipt of annual fees

Free format text: JAPANESE INTERMEDIATE CODE: R250

R250 Receipt of annual fees

Free format text: JAPANESE INTERMEDIATE CODE: R250

R250 Receipt of annual fees

Free format text: JAPANESE INTERMEDIATE CODE: R250

R250 Receipt of annual fees

Free format text: JAPANESE INTERMEDIATE CODE: R250

R250 Receipt of annual fees

Free format text: JAPANESE INTERMEDIATE CODE: R250