JP2010002134A - 冷凍サイクル装置 - Google Patents

冷凍サイクル装置 Download PDF

Info

Publication number
JP2010002134A
JP2010002134A JP2008161892A JP2008161892A JP2010002134A JP 2010002134 A JP2010002134 A JP 2010002134A JP 2008161892 A JP2008161892 A JP 2008161892A JP 2008161892 A JP2008161892 A JP 2008161892A JP 2010002134 A JP2010002134 A JP 2010002134A
Authority
JP
Japan
Prior art keywords
refrigerant
gas
ejector
liquid separator
evaporator
Prior art date
Legal status (The legal status is an assumption and is not a legal conclusion. Google has not performed a legal analysis and makes no representation as to the accuracy of the status listed.)
Granted
Application number
JP2008161892A
Other languages
English (en)
Other versions
JP5004879B2 (ja
Inventor
Noriaki Matsunaga
訓明 松永
Shin Sekiya
慎 関谷
Current Assignee (The listed assignees may be inaccurate. Google has not performed a legal analysis and makes no representation or warranty as to the accuracy of the list.)
Mitsubishi Electric Corp
Original Assignee
Mitsubishi Electric Corp
Priority date (The priority date is an assumption and is not a legal conclusion. Google has not performed a legal analysis and makes no representation as to the accuracy of the date listed.)
Filing date
Publication date
Application filed by Mitsubishi Electric Corp filed Critical Mitsubishi Electric Corp
Priority to JP2008161892A priority Critical patent/JP5004879B2/ja
Publication of JP2010002134A publication Critical patent/JP2010002134A/ja
Application granted granted Critical
Publication of JP5004879B2 publication Critical patent/JP5004879B2/ja
Expired - Fee Related legal-status Critical Current
Anticipated expiration legal-status Critical

Links

Images

Classifications

    • FMECHANICAL ENGINEERING; LIGHTING; HEATING; WEAPONS; BLASTING
    • F25REFRIGERATION OR COOLING; COMBINED HEATING AND REFRIGERATION SYSTEMS; HEAT PUMP SYSTEMS; MANUFACTURE OR STORAGE OF ICE; LIQUEFACTION SOLIDIFICATION OF GASES
    • F25BREFRIGERATION MACHINES, PLANTS OR SYSTEMS; COMBINED HEATING AND REFRIGERATION SYSTEMS; HEAT PUMP SYSTEMS
    • F25B2341/00Details of ejectors not being used as compression device; Details of flow restrictors or expansion valves
    • F25B2341/001Ejectors not being used as compression device
    • F25B2341/0012Ejectors with the cooled primary flow at high pressure
    • FMECHANICAL ENGINEERING; LIGHTING; HEATING; WEAPONS; BLASTING
    • F25REFRIGERATION OR COOLING; COMBINED HEATING AND REFRIGERATION SYSTEMS; HEAT PUMP SYSTEMS; MANUFACTURE OR STORAGE OF ICE; LIQUEFACTION SOLIDIFICATION OF GASES
    • F25BREFRIGERATION MACHINES, PLANTS OR SYSTEMS; COMBINED HEATING AND REFRIGERATION SYSTEMS; HEAT PUMP SYSTEMS
    • F25B2400/00General features or devices for refrigeration machines, plants or systems, combined heating and refrigeration systems or heat-pump systems, i.e. not limited to a particular subgroup of F25B
    • F25B2400/12Inflammable refrigerants
    • F25B2400/121Inflammable refrigerants using R1234
    • FMECHANICAL ENGINEERING; LIGHTING; HEATING; WEAPONS; BLASTING
    • F25REFRIGERATION OR COOLING; COMBINED HEATING AND REFRIGERATION SYSTEMS; HEAT PUMP SYSTEMS; MANUFACTURE OR STORAGE OF ICE; LIQUEFACTION SOLIDIFICATION OF GASES
    • F25BREFRIGERATION MACHINES, PLANTS OR SYSTEMS; COMBINED HEATING AND REFRIGERATION SYSTEMS; HEAT PUMP SYSTEMS
    • F25B2400/00General features or devices for refrigeration machines, plants or systems, combined heating and refrigeration systems or heat-pump systems, i.e. not limited to a particular subgroup of F25B
    • F25B2400/23Separators

Landscapes

  • Lubricants (AREA)

Abstract

【課題】冷凍サイクル内に空気や水等が混入するリスクを低減し、蒸発器への冷凍機油の循環率を低く抑える、炭素2重結合を有する冷媒を用いた冷凍サイクル装置を提供する。
【解決手段】冷凍サイクル装置100は圧縮機1と凝縮器2とドライヤ3とエジェクタ4と気液分離器5と蒸発器7とを有し、気液分離器5において分離されたガス冷媒は圧縮機1に戻り、気液分離器5において分離された液冷媒は蒸発器7において蒸発した後、エジェクタ4に吸い込まれる。分子構造中に炭素2重結合を有し可燃性である「2、3、3、3−テトラフルオロプロピレン(異性体を含む)」が冷媒として使用され、該冷媒と相互溶解性が乏しく且つ該冷媒より密度の小さい「アルキルベンゼン油」が冷凍機油として用いられる。
【選択図】図1

Description

本発明は冷凍サイクル装置、特に、凝縮機の下流側にエジェクタを配置した冷凍サイクル装置に関するものである。
従来の冷凍サイクル装置は、圧縮機と、凝縮器と、膨張弁(流量調整弁、キャピラリーチューブ等)と、蒸発器と、が順に冷媒配管によって接続されたり、圧縮機と、凝縮器と、エジェクタと、気液分離器と、が順に冷媒配管によって接続されたりしていた。
後者の場合、気液分離器において分離された液冷媒は蒸発器において蒸発した後、エジェクタに吸い込まれ、一方、分離されたガス冷媒は圧縮機に戻り、再度圧縮されるものである。このため、エジェクタは、膨張弁におけるエネルギロスを回収し、圧縮機の入口における冷媒圧力を上昇させるから、圧縮機の負担(圧縮比)が低減する(例えば、特許文献1参照)。
また、冷媒に冷凍機油が溶け込んでいる場合(冷媒との相互溶解性が高く、液冷媒中への冷凍機油溶解比率が高い場合に同じ)、蒸発器側への油循環率が高いまま維持され、熱伝達率の低下を招いて機器の効率を低下させてしまう。このため、気液分離器に粗粒化部材を設けて、液冷媒が粗粒化部材を通過する際、液冷媒に含まれた冷凍機油の粒径を大きくすることによって油分離効率を向上させる発明(冷凍機油の沈降速度を増加させる発明)が開示されている(例えば、特許文献2参照)。
特開平10−205898号公報(第3−4頁、第1図) 特開2006−125719号公報(第4−5頁、第1図)
近年、オゾン層破壊防止の観点から塩素を含まない冷媒への代替が行われたが、これら塩素を含まないHFC冷媒は比較的温暖化係数(地球温暖化可能性に同じ、二酸化炭素の温室効果を基準にした温室効果の度合いを示す値、Global Warming Potential、以下「GWP」と称す)が高いため、冷凍サイクル装置の外への漏洩防止対策が取られたり、機器の廃棄時には冷媒回収義務が課せられたりしている。
しかしながら、回収率がまだ不充分であることから、更にGWPの低い冷媒へ規制される情勢にある。特に、EUではカ−エアコン用に関してはGWPの値が150以下の冷媒へ規制される情勢にあり、その候補冷媒として、二酸化炭素(CO2)などの自然冷媒以外に、ハイドロフルオロオレフィンなどの検討が開始されている。
ハイドロフルオロオレフィンは炭素の2重結合を持つ分子構造である。一般に炭素と炭素との二重結合や三重結合という官能基、言い換えるとアルケンやアルキンのような(不飽和炭化水素)は、さまざまな分子が付加反応するという特徴を持っている。このため、従来の2重結合を持たない冷媒に対して、2重結合を持つ冷媒は、2重結合部が開裂し易く官能基が他の物質と反応し易く化学的安定性が極端に劣る特性を有している。
特に、冷凍回路内にコンタミとして混入した空気や水分との反応によって冷媒の分解が懸念される。また、ハイドロフルオロオレフィンのなかでもテトラフルオロプロピレンは、沸点が−19℃と高い。このため、冬季の外気温度が低いときなど、冷凍サイクルの低圧側は負圧になる可能性が高く、冷凍回路内に空気や水分が混入するおそれが高い。すなわち、冷媒配管に欠陥部等がある場合、そこから混入した空気が冷媒と反応して、冷媒の分解が促進され、スラッジが生成されるリスクが高くなるという問題があった。
さらに、特許文献2に開示された発明では、液冷媒の密度より低い密度の冷凍機油を用いる場合には、冷凍機油が浮上して粗粒化部材を通過しないため、油分離効果が全く得られないという問題があった。
本発明は、上記のような問題を解決するためになされたもので、ハイドロフルオロオレフィンなどの炭素2重結合を有する冷媒を用いた場合にも、低圧側が負圧になる範囲を減らして冷凍サイクル内に空気や水等が混入するリスクを低減することを目的とする。
さらに、冷媒との相互溶解性に乏しく液冷媒より密度の低い冷凍機油を用いる場合にも、蒸発器への冷凍機油の循環率を低く抑えて機器の効率低下を防止することを目的とする。
本発明に係る冷凍サイクル装置は、後記気液分離器において分離された気相状態の冷媒を圧縮する圧縮機と、
該圧縮機において圧縮された冷媒を凝縮する凝縮器と、
該凝縮器において凝縮した冷媒を膨張させると共に、後記蒸発器において蒸発した冷媒を吸引するエジェクタと、
該エジェクタにおいて膨張された冷媒を気相状態の冷媒と液相状態の冷媒とに分離する気液分離器と、
該気液分離器において分離された液相状態の冷媒を蒸発させる蒸発器と、を有し、
前記冷媒として、炭素2重結合を有する冷媒、または炭素2重結合を有する冷媒を含む混合冷媒が使用されてなることを特徴とする。
したがって、本発明に係る冷凍サイクル装置は、エジェクタの下流側に気液分離器を設け、気液分離器において分離された気相状態の冷媒(以下、「ガス冷媒」と称す)を圧縮機に導き、気液分離器において分離された液相状態の冷媒(以下、「液冷媒」と称す)をエジェクタに吸引させ、炭素2重結合を有した冷媒または炭素2重結合を有した冷媒を含む混合冷媒(その他のHFC系、HC系、あるいは自然冷媒などとの混合冷媒)を使用するから、冷凍サイクルの低圧側が大気圧以上に昇圧されるため、冷凍サイクル内に空気や水等が混入するおそれが低減する。よって、冷媒が分解するリスクが低減され、冷凍サイクル装置の長期に渡る安定稼働が図られる。
[実施の形態1]
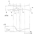
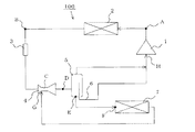
図1〜図3は本発明の実施形態1に係る冷凍サイクル装置を説明するものであって、図1は構成を示す冷媒回路図、図2は構成部材の一部(エジェクタ)の特性を示す圧力分布図、図3は図1に示す回路構成図の各位置における冷媒状態を示すP−H線図(モリエル線図)である。
(回路構成)
図1において、冷凍サイクル装置100は、中温低圧のガス冷媒を吸入圧縮して高温高圧のガス冷媒を吐出する圧縮機1と、高温高圧のガス冷媒を冷却凝縮して中温高圧の液冷媒を吐出する凝縮器2と、凝縮器2の下流側(液配管中)に設置され、前記液冷媒中に水分が含まれていた場合に該水分を除く(または水分量を低減する)ドライヤ3と、ドライヤ3からの液冷媒を減圧(膨張)させると共に、蒸発器7を経由したガス冷媒を、吸い込んで混合するエジェクタ4と、エジェクタ4から出た二相状態の低温低圧冷媒を液冷媒とガス冷媒とに分離する気液分離器5と、気液分離器5から出た液冷媒を蒸発させる蒸発器7と、を有している。
なお、蒸発器7において蒸発して吐出される中温低圧のガス冷媒は、エジェクタ4に吸い込まれる。また、気液分離器5から出た低温低圧のガス冷媒は圧縮機1に吸引される。
なお、前記「低温、中温、高温、低圧、高圧」とは、説明上の便宜であって、高温高圧と中温高圧とが、必ずしも同じ圧力を意味するものではなく、中温高圧と中温低圧とが、必ずしも同じ温度を意味するものではない。
(冷媒)
冷凍サイクル装置100には冷媒として、GWPの値が小さい冷媒(以下、「低GWP冷媒」と称す)が使用されている。たとえば、低GWP冷媒として、分子構造中に炭素2重結合を有し可燃性である「2、3、3、3−テトラフルオロプロピレン(異性体を含む)」が使用される。
2、3、3、3−テトラフルオロプロピレンは可燃下限値(LFL)が、「6.5%」であって、可燃性を有し、大気圧下25℃における沸点は「−29℃」である。すなわち、R410A冷媒の大気圧下25℃における沸点は「−40℃」であるから、これに比べて高い沸点を有している。
また、2、3、3、3−テトラフルオロプロピレンの25℃における液密度は「1094kg/m3」である。
(冷凍機油)
圧縮機1内には、2、3、3、3−テトラフルオロプロピレンとの相互溶解性に乏しく、且つ、2、3、3、3−テトラフルオロプロピレンより液密度の小さいアルキルベンゼン油が封入されている。アルキルベンゼン油の密度は「900〜990kg/m3」であるので、前記液冷媒より密度が小さい。
(動作)
次に、冷凍サイクル装置100における動作について、図1〜図3に基づいて説明する。なお、図1における位置「A、B、C・・・」における冷媒の状態が、図3における状態「A、B、C・・・」に対応している。
まず、圧縮機1 から吐出された高温高圧のガス冷媒(状態A)は、凝縮器2において被加熱媒体である空気等に放熱し、冷媒は凝縮され中温高圧の液冷媒となる(状態B)。そして、該液冷媒に水分が含まれている場合にはドライヤ3において水分を除去(水分量を減少)された後 、該液冷媒はエジェクタ4に流入する。
エジェクタ4では、ドライヤ3を通過した液冷媒がエジェクタノズル部4aで減圧され(状態C)、エジェクタデフューザ部4bで昇圧され、エジェクタ混合部4cに吐出される。一方、エジェクタ吸引部4eからは蒸発器7において蒸発したガス冷媒が吸引される(状態G)。そして、エジェクタデフューザ部4bを通過した冷媒とエジェクタ吸引部4eから吸引された冷媒とが、エジェクタ混合部4cにおいて混合され、エジェクタ出口4dより二相冷媒として吐出される(状態D)。
エジェクタ4から吐出された二相冷媒は、気液分離器5に流入して、ガス冷媒(状態H)と液冷媒(状態E)とに分離される。
分離されたガス冷媒は、圧縮機1に導かれる(状態H)。一方、分離された液冷媒は、蒸発器7に流入し、蒸発器7内で圧力損失を受けながら蒸発し(状態G)、エジェクタ4 のエジェクタ吸引部4eに吸引される。
また、気液分離器5内では、二相冷媒に含まれた冷凍機油が分離され、油戻しパイプ6を介して圧縮機1に戻される。
(作用効果)
したがって、冷凍サイクル装置100において、最も低圧となる範囲(状態E、状態D、状態Hより低圧となる範囲)は、エジェクタ4内部に限定されている。すなわち、ドライヤ3を通過した液冷媒が減圧される部位である「エジェクタノズル部4a」と、蒸発器7を通過したガス冷媒が流れる「エジェクタ吸引部4e(状態G)からエジェクタ混合部4cの範囲」とが、最も低圧となる。
一方、従来のエジェクタを使用せず絞り機構に毛細管等を用いた冷凍サイクルの冷媒状態を図3中に点線で示している。毛細管等のサイクルではエジェクタによる昇圧効果がないため低圧側の圧力がエジェクタを用いた冷凍サイクルに比べて低い。すなわち、エジェクタによって図中「ΔP」の昇圧効果が奏される。
つまり、エジェクタの昇圧効果によって低圧が上昇するため、高沸点冷媒を用いても低圧側が負圧になる可能性のある範囲を、エジェクタ内部に限定することができる。よって、空気や水等が冷凍サイクル内に混入するリスクを低減することができると共に、外気温度が低いときに、蒸発温度の下限値を伸ばすことが可能となるから、温度の制御幅が広いくなっている(拡大されている)。
さらに、圧縮機1が吸引するガス冷媒の圧力が上がるから、圧縮比が低減され、圧縮機1の入力が低減される。また、これによって圧縮機構部の漏れ損失も減少するから、機器の効率が向上するという効果も得られる。
さらに、冷凍サイクル装置100では、冷媒(2、3、3、3−テトラフルオロプロピレン)との相互溶解性の乏しいアルキルベンゼン系冷凍機油を使用するから、圧縮機1や気液分離器5内における冷媒への冷凍機油の冷媒溶解量を少なくすることができるため、相互溶解性の高い冷凍機油に比べて機器への冷媒封入量を減らすことができる。よって、仮に、可燃性を有する前記冷媒が漏洩したとしても、火災の危険性を減少させることが可能になっている。
なお、冷凍サイクル装置100よりドライヤ3を撤去してもよい。冷媒自体あるいは機器への影響がない場合には、循環する冷媒中に含まれる僅かな量の水分は許容されるからである。
(混合冷媒)
以上、冷媒として2、3、3、3−テトラフルオロプロピレンを使用するものを示しているが、本発明はこれに限定するものではなく、炭素2重結合を有する冷媒であれば何れであってもよい。すなわち、エジェクタの昇圧効果によって空気や水等の混入が防止されるため、空気による炭素2重結合が分解するリスクが軽減されるからである。
また、冷媒は、炭素2重結合を有する冷媒と他の冷媒とが混合された混合冷媒であってもよい。たとえば、混合される他の冷媒として、HFC系冷媒(R134a、R32、R410A、R407C等)、HC系冷媒(イソブタン、プロパン等)、自然冷媒(二酸化炭素(CO2)等)などがある。
さらに、2、3、3、3−テトラフルオロプロピレン冷媒が使用される場合、または、2、3、3、3−テトラフルオロプロピレンに替えて「炭素2重結合を有し且つ可燃性を有する冷媒」が使用される場合、凍機油としてアルキルベンゼンに替えて、当該冷媒に対して相互溶解性に乏しいもの、たとえば、PAG等、を用いてもよい。すなわち、かかる特性によって冷媒充填量を減らす効果が得られるからである。
[実施の形態2]
図4は本発明の実施形態2に係る冷凍サイクル装置の一部(気液分離器)を模式的に示す側面視の断面図である。なお、冷凍サイクル装置200の冷媒回路の構成や、構成部材の一部(エジェクタ)の特性は冷凍サイクル装置100(実施の形態1)に同じであるから、冷凍サイクル装置200は前記冷凍サイクル装置100と同様の作用効果を奏する。 以下、冷凍サイクル装置100にない冷凍サイクル装置200の構成と、かかる構成による作用効果について説明する。
図4において、冷凍サイクル装置200の気液分離器50には油分離機構が設けられている。すなわち、気液分離器50の中では、液冷媒、ガス冷媒、冷凍機油が混在するが、それぞれの間に密度差(比重差に同じ)があるため、これを利用して冷凍機油を分離しようとするものである。
冷凍サイクル装置200は、冷媒として2、3、3、3−テトラフルオロプロピレン(25℃における液密度は1094kg/m3)が使用され、該冷媒よりも液密度が低く、且つ、該冷媒との溶解性に乏しいアルキルベンゼン油(25℃における液密度は900〜990kg/m3)が、冷凍機油として封入されている。したがって、気液分離器50において、液冷媒が沈み、液冷媒の上に冷凍機油が常に浮かんでいる。
気液分離器50に設けられた油分離機構は以下のように構成されている。すなわち、密閉容器50aの天面に近い側面(天面でもよい)にエジェクタ4(正確にはエジェクタ出口4d)に連通する二相冷媒パイプ45が設置され、天面に圧縮機1に連通するガスパイプ51が設置され、底面に蒸発器7に連通する液パイプ57が設置されている。
また、油戻しパイプ6が底面を貫通して密閉容器50a内に挿入され、その先端である油吸い込み口6aが底面から所定の高さに位置している。
また、油戻しパイプ6の先端に近い側面には支点腕50bが設置され、支点腕50bの支点50cには、これを中心にして揺動自在(シソー状の運動に同じ)な揺動棒50dが設置されている。そして、揺動棒50dの一方の端部にはフロート8が、他方の端部には栓9が、それぞれ設置されている。
このとき、フロート8は、液冷媒に対して浮くような浮力に設定され、且つ、栓9よりも質量を大きくしている。また、栓9は、油戻しパイプ6の油吸い込み口6aを塞ぐことができるものである。
すなわち、液冷媒の量が少ないとき、フロート8は低い位置にあるから、栓9は持ち上げられる。一方、液冷媒の量が増すと、フロート8は上昇するから、栓9は下降し、やがて、栓9は油吸い込み口6aを閉塞する。そして、液冷媒の量がさらに増したとしても、栓9は油吸い込み口6aを閉塞したままで、フロート8がさらに上昇することはない。
したがって、液冷媒が気液分離器50のなかに貯留されて、液冷媒の液面位置が油戻しパイプ6の上端である油吸い込み口6aに達するまでは、フロート8が下降しているから、栓9は上昇して油吸い込み口6aを開放している。そのため、液冷媒の上層に位置するガス冷媒および冷凍機油は、油戻しパイプ6に吸い込まれ、圧縮機1に戻される。このとき、冷凍機油は液冷媒の液面の上に浮かんでいるから、液パイプ57に流入することがなく、蒸発器7に流入することがない。
一方、液冷媒の貯留量が増えて、液冷媒の液面が油戻しパイプ6の上端である油吸い込み口6aにまで達すると、フロート8が上昇して栓9は下降するから、油吸い込み口6aは閉じられる。したがって、油戻しパイプ6に冷凍機油や液冷媒等が流入することが無く、液冷媒が圧縮機1に吸入されることが無いため、液圧縮による圧縮機1の故障を防ぐ効果もある。
なお、以上は、1本の油戻しパイプ6が密閉容器50aに挿入されているが、本発明はこれに限定するものではなく、油戻しパイプ6の先端近くを複数のパイプに分岐して、それぞれのパイプに前記油分岐機構を設置してもよい。
このとき、複数のパイプの挿入深さを相違させておけば、複数の異なる高さに油吸い込み口6aが形成されることになる。そうすると、貯留される液冷媒の液面高さが低い場合には、低い位置にある油吸い込み口6aから圧縮機1に冷凍機油が戻り、一方、貯留される液冷媒の液面高さが高い場合には、低い位置にある油吸い込み口6aが閉塞され、高い位置にある油吸い込み口6aから圧縮機1に冷凍機油が戻ることになる。
よって、貯留される液冷媒の量が変動する場合であっても、蒸発器7への冷凍機油の流出を常に防止した上で、圧縮機1には冷凍機油を常に(または頻繁に)戻すことが可能になる。
なお、前記形態は、1本の油戻しパイプ6が密閉容器50aに挿入された状態で、密閉容器50a内で複数のパイプに分岐されてもよいし、密閉容器50aの外で複数のパイプに分岐され、複数のパイプが密閉容器50aに挿入されるようにしてもよい。また、それぞれのパイプの形状(内径、断面形状等)や材質は限定するものではない。
本発明に係る冷凍サイクル装置は、冷凍サイクル内に空気や水等が混入するリスクを低減し、蒸発器への冷凍機油の循環率を低く抑えることができるから、炭素2重結合を有する冷媒を使用する各種冷凍サイクル装置として広く利用することができる。
本発明の実施形態1に係る冷凍サイクル装置の構成を示す冷媒回路図。 図1に示す冷凍サイクル装置のエジェクタの特性を示す圧力分布図。 図1に示す回路構成図の各位置における冷媒状態を示すP−H線図。 本発明の実施形態2に係る冷凍サイクル装置の気液分離器を模式的に示す側面視の断面図。
符号の説明
1:圧縮機、2:凝縮器、3:ドライヤ、4:エジェクタ、4a:エジェクタノズル部、4b:エジェクタデフューザ部、4c:エジェクタ混合部、4d:エジェクタ出口、4e:エジェクタ吸引部、5:気液分離器、6:油戻しパイプ、6a:油吸い込み口、7:蒸発器、8:フロート、9:栓、45:二相冷媒パイプ、50:気液分離器(実施の形態2)、50a:密閉容器、50b:支点腕、50c:支点、50d:揺動棒、51:ガスパイプ、57:液パイプ、100:冷凍サイクル装置(実施の形態1)、200:冷凍サイクル装置(実施の形態2)。

Claims (5)

  1. 後記気液分離器において分離された気相部分の冷媒を圧縮する圧縮機と、
    該圧縮機において圧縮された冷媒を凝縮する凝縮器と、
    該凝縮器において凝縮した冷媒を膨張させると共に、後記蒸発器において蒸発した冷媒を吸引するエジェクタと、
    該エジェクタにおいて膨張された冷媒を気相部分と液相部分とに分離する気液分離器と、
    該気液分離器において分離された液相部分を蒸発させる蒸発器と、を有し、
    炭素2重結合を有する冷媒、または炭素2重結合を有する冷媒を含む混合冷媒が使用されてなることを特徴とする冷凍サイクル装置。
  2. 後記気液分離器において分離された気相部分の冷媒を圧縮する圧縮機と、
    該圧縮機において圧縮された冷媒を凝縮する凝縮器と、
    該凝縮器において凝縮した冷媒を膨張させると共に、後記蒸発器において蒸発した冷媒を吸引するエジェクタと、
    該エジェクタにおいて膨張された冷媒を気相部分と液相部分とに分離する気液分離器と、
    該気液分離器において分離された液相部分を蒸発させる蒸発器と、を有し、
    炭素2重結合を有する可燃性冷媒、または炭素2重結合を有する可燃性冷媒を含む混合冷媒が使用され、
    該使用された冷媒との相互溶解性に乏しい冷凍機油が用いられてなることを特徴とする冷凍サイクル装置。
  3. 後記気液分離器において分離された気相部分の冷媒を圧縮する圧縮機と、
    該圧縮機において圧縮された冷媒を凝縮する凝縮器と、
    該凝縮器において凝縮した冷媒を膨張させると共に、後記蒸発器において蒸発した冷媒を吸引するエジェクタと、
    該エジェクタにおいて膨張された冷媒を気相部分と液相部分とに分離する気液分離器と、
    該気液分離器において分離された液相部分を蒸発させる蒸発器と、を有し、
    2、3、3、3−テトラフルオロプロペン冷媒が使用され、且つ、アルキルベンゼン系冷凍機油が用いられてなることを特徴とする冷凍サイクル装置。
  4. 前記気液分離器に油分離機構が設けられ、該油分離機構によって分離された冷凍機油が前記圧縮機に供給されることを特徴とする請求項1乃至3の何れかに記載の冷凍サイクル装置。
  5. 前記凝縮器の下流に、該凝縮器において凝縮した冷媒に含まれる水分の一部または全部を除去する水分除去手段が設置され、
    前記エジェクタが、前記凝縮器において凝縮した冷媒を膨張させると共に、前記蒸発器において蒸発した冷媒を吸引するのに替えて、前記水分除去手段を通過した冷媒を膨張させると共に、前記蒸発器において蒸発した冷媒を吸引することを特徴とする請求項1乃至4の何れかに記載の冷凍サイクル装置。
JP2008161892A 2008-06-20 2008-06-20 冷凍サイクル装置 Expired - Fee Related JP5004879B2 (ja)

Priority Applications (1)

Application Number Priority Date Filing Date Title
JP2008161892A JP5004879B2 (ja) 2008-06-20 2008-06-20 冷凍サイクル装置

Applications Claiming Priority (1)

Application Number Priority Date Filing Date Title
JP2008161892A JP5004879B2 (ja) 2008-06-20 2008-06-20 冷凍サイクル装置

Publications (2)

Publication Number Publication Date
JP2010002134A true JP2010002134A (ja) 2010-01-07
JP5004879B2 JP5004879B2 (ja) 2012-08-22

Family

ID=41583999

Family Applications (1)

Application Number Title Priority Date Filing Date
JP2008161892A Expired - Fee Related JP5004879B2 (ja) 2008-06-20 2008-06-20 冷凍サイクル装置

Country Status (1)

Country Link
JP (1) JP5004879B2 (ja)

Cited By (9)

* Cited by examiner, † Cited by third party
Publication number Priority date Publication date Assignee Title
WO2011135876A1 (ja) * 2010-04-27 2011-11-03 三菱電機株式会社 冷凍サイクル装置及び冷媒循環方法
WO2012053229A1 (ja) * 2010-10-18 2012-04-26 三菱電機株式会社 冷凍サイクル装置及び冷媒循環方法
CN102878715A (zh) * 2012-10-10 2013-01-16 上海海洋大学 一种射流泵节流供液制冷系统
WO2013018148A1 (ja) 2011-08-04 2013-02-07 三菱電機株式会社 冷凍装置
CN105928268A (zh) * 2016-07-13 2016-09-07 上海海洋大学 一种制冷系统中两相射流泵供液的控制方法和控制系统
WO2016181639A1 (ja) * 2015-05-13 2016-11-17 株式会社デンソー 冷凍サイクル装置
JPWO2015136980A1 (ja) * 2014-03-14 2017-04-06 三菱電機株式会社 冷凍サイクル装置
KR101743296B1 (ko) * 2010-12-06 2017-06-02 엘지전자 주식회사 냉매시스템
EP3575710A4 (en) * 2017-01-30 2020-12-23 Daikin Industries, Ltd. REFRIGERATION DEVICE

Families Citing this family (2)

* Cited by examiner, † Cited by third party
Publication number Priority date Publication date Assignee Title
CN104501483B (zh) * 2014-12-30 2017-03-29 珠海格力电器股份有限公司 冷媒迁移系统、制冷系统及空调
JP2018059638A (ja) * 2016-09-30 2018-04-12 株式会社富士通ゼネラル 熱交換器および冷凍サイクル装置

Citations (5)

* Cited by examiner, † Cited by third party
Publication number Priority date Publication date Assignee Title
JP2000129250A (ja) * 1998-10-29 2000-05-09 Toshiba Corp 冷凍サイクル用組成物、乾燥剤、冷媒圧縮機および冷凍装置
JP2002349978A (ja) * 2000-08-04 2002-12-04 Denso Corp エジェクタサイクル
JP2003269824A (ja) * 2002-03-19 2003-09-25 Denso Corp エジェクタサイクル用の気液分離器
WO2007053697A2 (en) * 2005-11-01 2007-05-10 E. I. Du Pont De Nemours And Company Compositions comprising fluoroolefins and uses thereof
JP2007309211A (ja) * 2006-05-18 2007-11-29 Mitsubishi Electric Corp 圧縮機の製造装置及び容器組立体の製造装置及び圧縮機の製造方法

Patent Citations (5)

* Cited by examiner, † Cited by third party
Publication number Priority date Publication date Assignee Title
JP2000129250A (ja) * 1998-10-29 2000-05-09 Toshiba Corp 冷凍サイクル用組成物、乾燥剤、冷媒圧縮機および冷凍装置
JP2002349978A (ja) * 2000-08-04 2002-12-04 Denso Corp エジェクタサイクル
JP2003269824A (ja) * 2002-03-19 2003-09-25 Denso Corp エジェクタサイクル用の気液分離器
WO2007053697A2 (en) * 2005-11-01 2007-05-10 E. I. Du Pont De Nemours And Company Compositions comprising fluoroolefins and uses thereof
JP2007309211A (ja) * 2006-05-18 2007-11-29 Mitsubishi Electric Corp 圧縮機の製造装置及び容器組立体の製造装置及び圧縮機の製造方法

Cited By (15)

* Cited by examiner, † Cited by third party
Publication number Priority date Publication date Assignee Title
CN102869930B (zh) * 2010-04-27 2015-08-05 三菱电机株式会社 制冷循环装置及制冷剂循环方法
JP2011231966A (ja) * 2010-04-27 2011-11-17 Mitsubishi Electric Corp 冷凍サイクル装置
US9207004B2 (en) 2010-04-27 2015-12-08 Mitsubishi Electric Corporation Refrigeration cycle apparatus
CN102869930A (zh) * 2010-04-27 2013-01-09 三菱电机株式会社 制冷循环装置及制冷剂循环方法
WO2011135876A1 (ja) * 2010-04-27 2011-11-03 三菱電機株式会社 冷凍サイクル装置及び冷媒循環方法
US9453668B2 (en) 2010-10-18 2016-09-27 Mitsubishi Electric Corporation Refrigeration cycle apparatus and refrigerant circulating method
WO2012053229A1 (ja) * 2010-10-18 2012-04-26 三菱電機株式会社 冷凍サイクル装置及び冷媒循環方法
KR101743296B1 (ko) * 2010-12-06 2017-06-02 엘지전자 주식회사 냉매시스템
WO2013018148A1 (ja) 2011-08-04 2013-02-07 三菱電機株式会社 冷凍装置
US9429347B2 (en) 2011-08-04 2016-08-30 Mitsubishi Electric Corporation Refrigeration apparatus
CN102878715A (zh) * 2012-10-10 2013-01-16 上海海洋大学 一种射流泵节流供液制冷系统
JPWO2015136980A1 (ja) * 2014-03-14 2017-04-06 三菱電機株式会社 冷凍サイクル装置
WO2016181639A1 (ja) * 2015-05-13 2016-11-17 株式会社デンソー 冷凍サイクル装置
CN105928268A (zh) * 2016-07-13 2016-09-07 上海海洋大学 一种制冷系统中两相射流泵供液的控制方法和控制系统
EP3575710A4 (en) * 2017-01-30 2020-12-23 Daikin Industries, Ltd. REFRIGERATION DEVICE

Also Published As

Publication number Publication date
JP5004879B2 (ja) 2012-08-22

Similar Documents

Publication Publication Date Title
JP5004879B2 (ja) 冷凍サイクル装置
CN204165293U (zh) 制冷循环装置
KR101659949B1 (ko) Lgwp 냉매를 사용한 흡수식 냉각 사이클
US9429347B2 (en) Refrigeration apparatus
CN105579787B (zh) 冷冻循环装置
CN102679604B (zh) 冷冻循环装置
JPWO2014057656A1 (ja) 熱交換装置及びヒートポンプ装置
JP5864533B2 (ja) Lgwp冷媒を用いる吸収冷凍サイクル
CN104471331A (zh) 采用环保的冷水机组制冷剂的带有净化装置的制冷系统
KR20180091950A (ko) 고효율 에어 컨디셔닝 시스템 및 방법
US10245527B2 (en) Solid-liquid separation device
JP2010159952A (ja) 冷媒ガスと非凝縮ガスの分離装置及びその方法
JP5247046B2 (ja) ガソリンベーパ凝縮容器
EP3248663B1 (en) Liquid solid separating device
JP2008275211A (ja) 蒸気圧縮式冷凍サイクル
JP2002349978A (ja) エジェクタサイクル
JP2705770B2 (ja) 冷媒上昇流路付き直接接触式冷却槽
KR101175804B1 (ko) 냉장고용 어큐뮬레이터
JP5273954B2 (ja) ガソリンベーパ凝縮容器
JP2008298307A (ja) 冷凍サイクル
KR20240065296A (ko) 저 gwp 열 전달 조성물
US20220152522A1 (en) Multi stage safe dry condensing
JPH11101517A (ja) 冷凍システム
JPS613964A (ja) 吸収ヒ−トポンプの不凝縮ガス排出装置
JP2005241186A (ja) エジェクタサイクル

Legal Events

Date Code Title Description
A621 Written request for application examination

Free format text: JAPANESE INTERMEDIATE CODE: A621

Effective date: 20100524

A977 Report on retrieval

Free format text: JAPANESE INTERMEDIATE CODE: A971007

Effective date: 20111216

A131 Notification of reasons for refusal

Free format text: JAPANESE INTERMEDIATE CODE: A131

Effective date: 20120110

A521 Written amendment

Free format text: JAPANESE INTERMEDIATE CODE: A523

Effective date: 20120307

TRDD Decision of grant or rejection written
A01 Written decision to grant a patent or to grant a registration (utility model)

Free format text: JAPANESE INTERMEDIATE CODE: A01

Effective date: 20120424

A01 Written decision to grant a patent or to grant a registration (utility model)

Free format text: JAPANESE INTERMEDIATE CODE: A01

A61 First payment of annual fees (during grant procedure)

Free format text: JAPANESE INTERMEDIATE CODE: A61

Effective date: 20120522

FPAY Renewal fee payment (event date is renewal date of database)

Free format text: PAYMENT UNTIL: 20150601

Year of fee payment: 3

R150 Certificate of patent or registration of utility model

Ref document number: 5004879

Country of ref document: JP

Free format text: JAPANESE INTERMEDIATE CODE: R150

Free format text: JAPANESE INTERMEDIATE CODE: R150

R250 Receipt of annual fees

Free format text: JAPANESE INTERMEDIATE CODE: R250

R250 Receipt of annual fees

Free format text: JAPANESE INTERMEDIATE CODE: R250

R250 Receipt of annual fees

Free format text: JAPANESE INTERMEDIATE CODE: R250

LAPS Cancellation because of no payment of annual fees