JP2010001592A - ナノファイバ製造装置、および製造方法 - Google Patents

ナノファイバ製造装置、および製造方法 Download PDF

Info

Publication number
JP2010001592A
JP2010001592A JP2008163529A JP2008163529A JP2010001592A JP 2010001592 A JP2010001592 A JP 2010001592A JP 2008163529 A JP2008163529 A JP 2008163529A JP 2008163529 A JP2008163529 A JP 2008163529A JP 2010001592 A JP2010001592 A JP 2010001592A
Authority
JP
Japan
Prior art keywords
container
raw material
material liquid
discharge hole
discharge
Prior art date
Legal status (The legal status is an assumption and is not a legal conclusion. Google has not performed a legal analysis and makes no representation as to the accuracy of the status listed.)
Granted
Application number
JP2008163529A
Other languages
English (en)
Other versions
JP4954946B2 (ja
Inventor
Takahiro Kurokawa
崇裕 黒川
Hiroto Sumita
寛人 住田
Yoshiaki Tominaga
善章 冨永
Kazunobu Ishikawa
和宜 石川
Mikio Takezawa
幹夫 竹澤
Masahide Yokoyama
政秀 横山
Mitsuhiro Takahashi
光弘 高橋
Current Assignee (The listed assignees may be inaccurate. Google has not performed a legal analysis and makes no representation or warranty as to the accuracy of the list.)
Panasonic Corp
Original Assignee
Panasonic Corp
Priority date (The priority date is an assumption and is not a legal conclusion. Google has not performed a legal analysis and makes no representation as to the accuracy of the date listed.)
Filing date
Publication date
Application filed by Panasonic Corp filed Critical Panasonic Corp
Priority to JP2008163529A priority Critical patent/JP4954946B2/ja
Publication of JP2010001592A publication Critical patent/JP2010001592A/ja
Application granted granted Critical
Publication of JP4954946B2 publication Critical patent/JP4954946B2/ja
Expired - Fee Related legal-status Critical Current
Anticipated expiration legal-status Critical

Links

Images

Landscapes

  • Artificial Filaments (AREA)
  • Spinning Methods And Devices For Manufacturing Artificial Fibers (AREA)
  • Nonwoven Fabrics (AREA)

Abstract

【課題】微細な径の繊維のみから構成され、且つ均一に集積された品質の高いナノファイバを製造することができるナノファイバ製造装置、および製造方法を提供する。
【解決手段】製造装置1は、内部に保持される高分子材料を含む原料液を外部に放出するための放出孔2aが、互いに平行な列を構成するように外壁に形成され、少なくとも放出孔の開口部が導体から形成された容器2と、容器2の前記放出孔と対向して配設される環状電極3とを備えている。放出孔2aから放出された原料液Fまたはその原料液Fより静電爆発により生成される繊維状物質F1は、上記列と略平行な方向であり且つ原料液の放出方向と略垂直な方向に、気流により偏向して移送される。ここで、上記列を構成する各放出孔2aから放出された原料液Fまたは繊維状物質F1が気流により偏向されて進む経路を放出方向に分散させるように気流が気流調整部材41により調整される。
【選択図】図1

Description

本発明は、ナノファイバ製造装置、および製造方法に関し、さらに詳しくは静電爆発を利用してナノファイバを製造する技術に関する。
近年、直径がサブミクロンスケールの繊維状物質であるナノファイバを容易に製造できることから、エレクトロスピニング法(電荷誘導紡糸法)が注目を集めている。エレクトロスピニング法は、溶媒中に高分子材料を分散または溶解させた原料液を空中に放出するとともに、放出の際に原料液を高電圧で帯電させ、原料液を空中で静電爆発させてナノファイバを得る方法である(例えば特許文献1参照)。
より詳細には、高電圧により帯電されて空気中に放出された原料液は空中を飛翔する間に溶媒が蒸発し、体積が減少していく。一方、原料液に付与された電荷は溶媒の蒸発にかかわらず維持されるために、原料液の電荷密度は溶媒の蒸発とともに増大していく。そして、原料液内部の反発方向のクーロン力が原料液の表面張力より大きくなったときに原料液が爆発的に線状に延伸される現象(静電爆発)が生じる。この静電爆発が空中において連続的に発生し、原料液が幾何級数的に線状に細分化されていくことで直径がサブミクロンスケールの微細な繊維が形成される。
また、特許文献2には、回転式の容器から原料液を放出して、エレクトロスピニング法によりナノファイバを製造する製造装置が提案されている。この装置は、図10に示すように、少なくとも1つの押出エレメント51を周壁に有するスプレーヘッド52を円筒状の収集体53の内部に配置し、エレクトロスピニング法によりナノファイバを製造するものである。スプレーヘッド52と収集体53は、その間に電場が発生するように高電圧電源54により電圧が印加される。その状態でスプレーヘッド52を回転させることにより、管55を介してスプレーヘッド52内部に供給される原料液56が、押出エレメント51の先端から電場によって抽出されて、ナノファイバが生成される。生成されたナノファイバは、収集体53の内周面に堆積して収集される。
特許文献2の装置によれば、収集体により収集されるナノファイバは配向性を有するようになるが、収集体の内周面にナノファイバが堆積するので、それを回収するのが非常に困難である。そして、そのことがナノファイバを量産化する上での障害となっている。
そのような問題を解消するために、本発明者等は、図11に示すように、周壁に多数の細孔62が設けられた円筒状の容器61を、軸心を中心に回転させ、内部に保持されたナノファイバの原料液63を細孔62から外部に放出させるとともに、気流により細孔62から放出された原料液を偏向してナノファイバを製造する方法を既に発明している。この方法においては、細孔62から容器61の径方向に放射状に放出される原料液63は、進む方向が気流により容器61の軸方向に変えられる。その気流の方向の先には図示しない長尺帯状の収集体が配されており、その表面にナノファイバが堆積して収集される。そして、収集体を長手方向に送ることによって、ナノファイバを連続的に製造しながら収集することが可能となる。したがって、ナノファイバの量産化が可能となる。なお、図11においては、原料液63等が正電荷を帯びていることを、+(プラス)の符号を丸で囲んだ記号により示している。
特開2005−330624号公報 特開2007−532790号公報
上掲の本発明者等の発明においては、ナノファイバの製造量を増大させるために、容器の周壁に多数の細孔(放出孔)が形成される。また、ナノファイバを収集体上に均一にむらなく堆積させるという観点、並びに容器の製造を容易にするという観点からは、そのような多数の放出孔が容器の周壁に整然と並ぶように形成されるのが好ましい。
このため、図10に示すように、放出孔は、容器の軸方向、つまり気流の方向に互いに平行な列に並ぶように形成される。この結果、各放出孔から放出される原料液ないしはそれから生成されるナノファイバ(以下、原料液等という)が、図に示すように、互いに重なり合う場合がある。このような場合には、下流側にいくほどに重なり合う原料液等の量が多くなり、最下流に位置する放出孔の周囲には帯電した原料液等が充満することになる。その結果、下流側の放出孔から放出される原料液の帯電が阻害されたり、原料液の放出孔からの放出が阻害されたりする場合がある。
原料液の帯電が阻害されると、原料液に与えられる電荷が小さくなり、静電爆発が起こり難くなるために原料液は液滴のままで収集体に到達してしまう。この場合には、微細な径の繊維からなるナノファイバに団子状の高分子物質の塊が混じることになり、そのことが、ナノファイバの品質を低下させる原因となっている。
また、原料液の放出孔からの放出が阻害される場合には、収集体の上に均一にナノファイバを堆積させることが困難となり、この場合にもナノファイバの品質は低下する。
本発明は、上記問題点に鑑みてなされたものであり、微細な径の繊維のみから構成され、且つ均一に集積された品質の高いナノファイバを製造することができるナノファイバ製造装置、および製造方法を提供することを目的としている。
上記目的を達成するために、本発明のナノファイバ製造装置は、内部に保持される高分子材料を含む原料液を外部に放出するための放出孔が、少なくとも1つの列を構成するように外壁に形成され、少なくとも前記放出孔の開口部が導体から形成された容器と、
前記容器の前記放出孔と対向して配設される電極と、
前記容器の前記放出孔から放出される原料液を帯電させるように、前記電極と前記容器との間に電位差を与えるための電源と、
前記原料液を前記放出孔から前記電極に向けて放出させるように、前記原料液に力を加える力印加機構と、
前記放出孔から放出された原料液またはその原料液より静電爆発により生成される繊維状物質を、前記原料液の放出方向と略垂直な方向に、気流により偏向して移送する移送手段と、
前記移送手段により移送される繊維状物質を収集する収集手段とを備え、
前記移送手段は、前記列を構成する各前記放出孔から放出された原料液または前記繊維状物質が前記気流により偏向されて進む経路を前記放出方向に分散させるように前記気流を調整する気流調整手段を含む。
ここで、前記容器は、少なくとも一端が塞がれた円筒形状を有しており、
前記放出孔は、前記容器の周壁に形成されており、
前記力印加機構は、前記原料液を遠心力により前記放出孔から放出させるように前記容器を回転する回転駆動機構から構成されるのが好ましい。
また、前記電極は、前記容器の周囲に同軸に配された略円筒形状の導体から構成されるのが好ましい。
また、前記気流調整手段は、前記放出孔が形成された前記容器の周壁と前記電極との間の空間に前記気流を流入させるための間隙を前記電極との間に存置して、前記気流の前記放出孔よりも上流側に配される略円形の板部材から構成されるのが好ましい。
また、前記板部材は、中央に前記容器が遊嵌される貫通孔を有しているのが好ましい。
また、前記移送手段が、所定圧力の気体を供給する気体供給手段を含み、
前記気流調整手段は、
前記気体供給手段により供給される気体を1時的に保持する中空部を有し、前記放出孔が形成された前記容器の周壁と前記電極との間の空間に前記電極の内周面の近傍の位置から前記中空部に保持された気体を噴出する少なくとも1つの噴出孔もしくは噴出溝が一端面に設けられた円環状部材から構成されるのが好ましい。
前記気流調整手段は、
前記放出孔が形成された前記容器の周壁と前記電極との間の空間に前記気流を流入させるための間隙を前記容器の外周面との間に存置して、前記気流の前記放出孔よりも上流側に配される略円形の板部材と、
前記間隙に配され、前記気流の上流側から下流側に向かって径が大きくなる円筒状部材と、
から構成されるのも好ましい。
また、上記目的を達成するために、本発明のナノファイバ製造方法は、(a)容器の内部に保持された高分子材料を含む原料液を容器の外壁に少なくとも1つの列をなすように形成された放出孔から放出する工程、
(b)前記放出孔から放出される原料液を帯電させる工程、
(c)前記放出された原料液から静電爆発により繊維状物質を生成する工程、
(d)前記放出孔から放出された原料液または前記生成された繊維状物質を、前記原料液の放出方向と略垂直な方向に、気流により偏向して移送する工程、
(e)前記生成された繊維状物質を収集する工程、を含み、
前記工程dは、前記列を構成する各前記放出孔から放出された原料液または前記生成された繊維状物質が前記気流により偏向されて進む経路を前記原料液の放出方向に分散させるように前記気流を調整する工程、を含む。
本発明によれば、気流調整手段により、列に並ぶ各放出孔から放出された原料液または繊維状物質が気流により偏向されて進む経路を、原料液の放出方向に分散させるように上記気流が調整される。これにより、各放出孔から放出され、気流により移送される原料液等の重なり合いが防止されるので、下流側の放出孔から放出される原料液の帯電が阻害されたり、原料液の放出孔からの放出が阻害されたりするのを防止することができる。この結果、放出孔からの原料液の放出量を増大させても、製造されるナノファイバの品質が低下するのを防止することができる。したがって、高分子物質の塊が混入していない微細な径の繊維のみからなる、集積量の均一な高品質のナノファイバを量産化することが可能となる。
以下、図面を参照して本発明の実施の形態を詳細に説明する。
〈実施の形態1〉
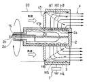
図1は、本発明の実施の形態1に係るナノファイバ製造装置の概略構成を示す、一部を断面にした側面図である。図2は、図1の装置の一部の拡大図である。図3は、図1の装置から環状電極を取り外した状態の、容器2の近傍の部分の斜視図である。
製造装置1は、導体からなる概略円筒形状の、接地された容器2を備えている。容器2は、ナノファイバの原料である高分子材料を分散または溶解してなる原料液Fを一時的に保持するものであり、周壁に原料液Fを外部に放出するための多数の細孔からなる放出孔2a(図2参照)を有している。また、容器2の周囲には、環状電極(誘導電極)3が、内周面を容器2の外周面と一定の距離をおいて対向するように同軸に配設されている。環状電極3は、一方の端子が接地された高電圧電源7の他方の端子と接続されており、これにより容器2の周面には、環状電極3とは逆極性の電荷が誘導される。
また、放出孔2aは、環状電極3と対向する部分の容器2の周壁に、容器2の軸方向に互いに平行な列をなすように等間隔で形成されている。また、上記列は、容器2の周方向に等ピッチで並んでいる。
さらに、容器2は、支持部11により軸受12を介して回転自在に支持される。また、容器2の一端を閉塞している壁面に、中空部2bを貫通して筒状通路2dから外部にまで延びるように回転軸2cが立設されている。また、回転軸2cはモータ13と接続されており、容器2はモータ13により回転駆動される。
容器2の内部には、支持部11の内部を通過して設けられた原料液供給配管15を通して、図示しない原料液タンクから原料液Fが所定の圧力で供給されている。なお、支持部11の内部には、原料液供給配管15と平行にモータ13に電力を供給するための導線等を挿通するための配管31が設けられている。
容器2の内部に供給された原料液Fは、容器2に誘導された、環状電極3とは逆極性の電荷により帯電され、環状電極3と容器2との間の電界により容器2の放出孔2aから環状電極3に向かって放出される。また、容器2をモータ13により所定回転数で回転駆動することによって、原料液Fの放出孔2aからの放出が補助される。
容器2の放出孔2aから放出された原料液Fは、空中を飛翔する間に、溶媒が蒸発して内部の反発方向のクーロン力が増大し、連続的に静電爆発が引き起こされて繊維状に細分化される。このようにして、原料液Fからクーロン力により繊維状物質F1が形成される。
ここで、図1においては、原料液Fと繊維状物質F1とを便宜的に区別している。しかしながら、実際のナノファイバの製造においては原料液Fと繊維状物質F1との区別は曖昧であり、その存在領域の明確な線引きは困難である。したがって、以下の説明では、特に区別の必要のある場合にのみ、原料液F、繊維状物質F1と記載し、それ以外の場合は原料液Fおよび繊維状物質F1を総称して原料液F等と記載する。
そして、容器2の軸方向の一端側には、送風機4が配設されている。送風機4は、原料液F等の進む方向を放出方向(容器2の径方向)と略垂直な方向(容器2の軸方向)に偏向して移送するための気流を発生させるものである。そして、容器2の軸方向の他端側には、原料液Fから静電爆発により生成され、上記気流により移送される繊維状物質(ナノファイバ)F1を収集する収集手段としてのコレクタ5が配設されている。また、送風機4と容器2および環状電極3との間には、上記気流の流路を画成するように筒状の案内体20が配設される。なお、上記気流は、送風機4のみにより発生されるものに限定するものではなく、後述するコレクタ5の吸引機構23や気体噴出口9aからの気体の噴出との協働により、上記気流を発生させるものとすることができる。
そして、案内体20と環状電極3との境界部分には、気流調整部材41が配設されている。気流調整部材41は、中央に容器2が軸方向に遊嵌される容器遊嵌孔41aが穿設された略円形の板状部材である。気流調整部材41は、容器2の放出孔2aが形成された部分よりも上記気流の上流側に配されるものであり、気流調整部材41の外周縁と環状電極3の内周面とは、所定の大きさの隙間を隔てて対向している。送風機4等により発生される気流は、図2に示すように、上記隙間を通るときに一旦加速された後、環状電極3の内周面近傍の位置から容器2の外周面に向かって破線の矢印H1〜H6により示すように広がりながら容器2と環状電極3との間の空間に流入する。
この結果、上記気流の最上流側の放出孔2aから放出された原料液F等は、環状電極3の近傍に到達するまで上記気流の偏向力を受けずに直進し、環状電極3の近傍に到達してはじめて上記偏向力を受けて、進む方向が容器2の軸方向に偏向される。一方、上記気流の最下流側の放出孔2aから放出された原料液F等は、矢印H3、H6により示すような気流により、放出の直後から上記偏向力を受けるために、容器2の近傍で進む方向が容器2の軸方向に偏向される。このようにして、気流の下流側の放出孔2aから放出された原料液F等ほど、容器2の周面から近い位置において進む方向が容器2の軸方向に偏向されるように各放出孔2aから放出された原料液F等の進む経路が分散される。
したがって、気流の上流側の放出孔2aから放出された原料液F等と、下流側の放出孔2aから放出された原料液F等が重なり合うことが防止されるため、最下流側の放出孔2aから放出される原料液Fの帯電が阻害されたり、最下流側の放出孔2aからの原料液Fの放出が阻害されたりすることが防止される。
その結果、コレクタ5により収集される繊維状物質(ナノファイバ)に高分子材料の塊が混入したり、繊維状物質の集積量が不均一になったりするのを防止することができる。
ここで、容器2は外径を10mm〜300mmとするのがよい。容器2の直径が300mmを超えると、上記気流により原料液F等を適度に集中させることが困難となるからである。また、容器2の直径が300mmを超えると、容器2を安定して回転させるためには容器2を支持する支持構造の剛性をかなり高くする必要が生じ、装置が大型化するからである。一方、容器の直径が10mmより小さいと、原料液を放出させるのに十分な遠心力を得るためには回転数を高くする必要があり、その場合にはモータの負荷や振動が増大するために振動対策等を施す必要が生じるからである。以上の点を考慮すると、容器2の外径は、20〜100mmとするのがより好ましい。
また、放出孔2aの径は、0.01〜2mmとするのがよい。また、放出孔2aの形状は円形であることが好ましいが、多角形形状や星形状等であってもよい。また、容器2の回転数は、原料液Fの粘度、原料液Fの組成(高分子物質の種類)、並びに放出孔2aの径に応じて例えば数rpm以上10,000rpm以下の範囲で調節することができる。
また、環状電極(誘導電極)3は、容器2よりも大径の円筒状部材であり、環状電極3の内径は例えば200〜800mmとするのがよい。
また、環状電極3には、電源7から1〜200kVの電圧を印加するのが好ましい。より好ましくは、10kV以上の高電圧を印加するのがよい。特に、容器2と環状電極3との間の電界強度が重要であり、1KV/cm以上の電界強度になるように印加電圧や環状電極3の配置を行うことが好ましい。これにより、容器2と環状電極3との間に均等且つ強い電界を発生させることができる。
なお、環状電極3(誘導電極)は、必ずしも円環状の電極である必要はなく、例えば、軸方向から見た形状が多角形である多角形の環状電極であってもよい。また、そのような誘導電極は、容器2の周面から所定の距離をおいて容器2を囲むように配置されていればよく、例えば、環状の金属線を、容器2を囲むように配置して誘導電極を構成してもよい。なお、誘導電極を環状の金属線とする場合には、例えば案内体20の終端を延長して案内体20により容器2を囲むようにし、案内体20の延長部分の内周面に環状の金属線を配するとともに、案内体20の内周面との間に上記隙間を設けるようにして気流調整部材41を案内体20の内部に設ければよい。
また、原料液F等からの分散媒または溶媒の蒸発を促進して、原料液Fから繊維状物質F1を速やかに生成することができるように、送風機4と容器2との間には、送風機4による送風を加熱するためのヒータ10を設けるのが好ましい。このようにすることで、帯電した原料液Fの蒸発が促進され、静電爆発が早期に起こり生成される繊維状物質F1の繊維径がより細くなり、微細な繊維状物質F1を安定して生成することができる。
また、容器2および環状電極3とコレクタ5との間には送風による原料液F等の流路を規定するための筒体8を設けるのがよい。筒体8は、容器2に向けて開口し内径が環状電極3の外径とほぼ等しい大径部8a、コレクタ5と対向して開口する小径部8b、並びに大径部8aと小径部8bとを接続するように、大径部8a側から小径部8b側に向かって徐々に径が小さくなる中間部8cから構成される。このように、上流側の開口よりも下流側の開口が小さい筒体8を容器2とコレクタ5との間に配置して原料液F等の流路を規定することによって、繊維状物質F1を高密度でむら無く均一に収集体21に収集することが可能となる。
また、大径部8aと中間部8cとの境界近傍、並びに小径部8b、すなわち中間部8cの上流側と下流側とに、筒体8内部に向けて気体を噴出する気体噴出口9aを、筒体8の周方向に所定ピッチで設けるのもよい。気体噴出口9aは、気体供給装置9から供給され、調圧弁9bにより圧力が調整された気体を、筒体8の内方且つ送風機4の送風による気流の下流側に向けて高速で噴出するように配設される。これにより、筒体8の内壁面に原料液F等が付着しないように原料液F等をコレクタ5まで移送することが可能となる。また、送風機4等により発生された気流が加速される。
次に、コレクタ5を説明する。コレクタ5は、送風機4の送風による原料液Fの移送方向と垂直もしくは略垂直に配される、長尺帯状の収集体21と、収集体21をその長手方向に送る送り機構22と、収集体21の容器2と対向する面の裏側から気体を吸引して気流を発生させる吸引機構23とから構成される。
収集用部材21は、その表面に原料液Fから形成される繊維状物質F1を堆積させて収集するための部材である。収集用部材21は、原料液F等を移送する気流が通過可能であり、且つ堆積した繊維状物質F1(ナノファイバ)を容易に分離することができるように、薄くて柔軟性を有する素材から構成されるのが好ましい。好ましい素材の例として、アラミド繊維から形成された網状のシートを挙げることができる。これにテフロン(登録商標)コートを行うと、繊維状物質F1(ナノファイバ)の分離性がさらに向上するためにより好ましい。
一般的には、収集用部材21は、絶縁性材料から構成されるが、これに限定するものではなく、長尺のシート状の部材の中に、カーボンナノファイバ等の導電性材料を混合し、収集用部材21に導電性を持たせるようにしてもよい。
送り機構22は、収集体21を巻き出す巻き出しロール22a、および収集体21を巻き取る巻き取りロール22bを備えている。巻き出しロール22aから巻き出された収集体21は、一方の面を容器2と対向させた状態で送られ、巻き取りロール22bにより巻き取られる。
吸引機構23は、ダクト23a、ダクト23a内に配されたファン23b、ファン23bを制御するファン制御部23c、ダクト23aの収集体21側端部に設けられたダクト入口開口部23d、並びにダクト23aの出口側開口と接続された分散媒・溶媒回収部23eから構成される。ここで、ダクト開口部23dの内径は、筒体8の出口側開口8dの内径とほぼ等しくされるのが好ましい。
次に、以上の構成のナノファイバ製造装置の動作を説明する。
原料液供給配管15を通して原料液Fが内部に供給された容器2をモータ13により回転させることで、原料液Fに、放出孔2aからの放出を補助するような遠心力が働く。また、電源7により環状電極3に高電圧を印加することで、容器2の少なくとも放出孔2aの開口部に環状電極3に印加される電圧とは逆極性の電荷が誘導される。
これにより、容器2と環状電極3との間で電界が発生し、環状電極3に印加された電圧により容器2に誘導された電荷により原料液Fは帯電される。この電界により、帯電した原料液Fに対して環状電極3に向かわせる力が生じる。
原料液Fは、上記電界および遠心力により、放出孔2aから環状電極3に向かって放射状に放出される。放出孔2aから放出された原料液Fは、空中を飛翔する間に分散媒または溶媒が蒸発し、電荷密度が次第に高くなっていく。原料液F内部の反発方向のクーロン力がその表面張力を超えたときに静電爆発が発生し、それを繰り返すことによって原料液Fは繊維状に細分化されて、繊維状物質F1(ナノファイバ)が形成される。
一方、放出孔2aから放出された原料液F、ないしはそれから形成された繊維状物質F1は、送風機4等により発生された気流により、進む方向が放出方向(容器2の径方向)とは略垂直な方向(容器2の軸方向)に変えられてコレクタ5に向かって移送される。このとき、気流調整部材41により、上流側の放出孔2aから放出された原料液F等の進む経路が環状電極3側となり、下流側の放出孔2aから放出された原料液F等の進む経路が容器2側となるように、気流が調整される。これにより、気流の方向に列に並ぶ各放出孔2aから放出される繊維状物質F1の進む経路が容器2の径方向に分散される。この結果、例えば容器2をより高い回転速度で回転させて、より大量の原料液Fを放出孔2aから放出させても、原料液F等が重なり合って、製造されるナノファイバの品質が低下するのを防止することができる。そして、コレクタ5においては、送り機構22により緩やかな速度で送られる収集体21の上に繊維状物質F1が高密度でむら無く堆積し、不織布が形成される。
なお、本実施の形態1においては、電源7により環状電極3に電圧を印加して、容器2の周面に電荷を誘導するものとしたが、電源7により容器2に電圧を印加し、環状電極3に電荷を誘導するものとしてもよい。
ここで、原料液Fに含ませる高分子材料は、ポリプロピレン、ポリエチレン、ポリスチレン、ポリエチレンオキサイド、ポリエチレンテレフタレート、ポリブチレンテレフタレート、ポリエチレンナフタレート、ポリ−m−フェニレンテレフタレート、ポリ−p−フェニレンイソフタレート、ポリフッ化ビニリデン、フッ化ビニリデン−ヘキサフルオロプロピレン共重合体、ポリ塩化ビニル、塩化ビニリデン−アクリレート共重合体、ポリアクリロニトリル、アクリロニトリル−メタクリレート共重合体、ポリカーボネート、ポリアリレート、ポリエステルカーボネート、ナイロン、アラミド、ポリカプロラクトン、ポリ乳酸、ポリグリコール酸、コラーゲン、ポリヒドロキシ酪酸、ポリ酢酸ビニル、ポリペプチド等が好適なものとして例示でき、これらより選ばれる少なくとも1種が使用される。しかしながら、原料液Fに含ませることができる高分子材料はこれらに限られるものではなく、既存の物質であってもナノファイバの原料としての適性が新たに認められたものや、今後に開発される物質でナノファイバの原料としての適性が認められるものを好適に用いることができる。
また、高分子材料を分散または溶解させるための分散媒または溶媒は、メタノール、エタノール、1−プロパノール、2−プロパノール、ヘキサフルオロイソプロパノール、テトラエチレングリコール、トリエチレングリコール、ジベンジルアルコール、1,3−ジオキソラン、1,4−ジオキサン、メチルエチルケトン、メチルイソブチルケトン、メチル−n−ヘキシルケトン、メチル−n−プロピルケトン、ジイソプロピルケトン、ジイソブチルケトン、アセトン、ヘキサフルオロアセトン、フェノール、ギ酸、ギ酸メチル、ギ酸エチル、ギ酸プロピル、安息香酸メチル、安息香酸エチル、安息香酸プロピル、酢酸メチル、酢酸エチル、酢酸プロピル、フタル酸ジメチル、フタル酸ジエチル、フタル酸ジプロピル、塩化メチル、塩化エチル、塩化メチレン、クロロホルム、o−クロロトルエン、p−クロロトルエン、四塩化炭素、1,1−ジクロロエタン、1,2−ジクロロエタン、トリクロロエタン、ジクロロプロパン、ジブロモエタン、ジブロモプロパン、臭化メチル、臭化エチル、臭化プロピル、酢酸、ベンゼン、トルエン、ヘキサン、シクロヘキサン、シクロヘキサノン、シクロペンタン、o−キシレン、p−キシレン、m−キシレン、アセトニトリル、テトラヒドロフラン、N,N−ジメチルホルムアミド、ピリジン、水等が好適なものとして例示でき、これらより選ばれる少なくとも1種が使用される。しかしながら、高分子材料を分散または溶解させるための分散媒または溶媒は、これらに限られるものではなく、既存の物質であってもエレクトロスピニング法における高分子材料の分散媒または溶媒としての適性が新たに認められたものや、今後に開発される物質で分散媒または溶媒としての適性が認められるものを好適に用いることができる。
また、原料液Fには無機質固体材料を混入することも可能である。混入可能な無機質固体材料としては、酸化物、炭化物、窒化物、ホウ化物、珪化物、弗化物、硫化物などを挙げることができる。耐熱性、加工性などの観点からは酸化物を用いるのが好ましい。酸化物としては、Al23、SiO2、TiO2、Li2O、Na2O、MgO、CaO、SrO、BaO、B23、P25、SnO2、ZrO2、K2O、Cs2O、ZnO、Sb23、As23、CeO2、V25、Cr23、MnO、Fe23、CoO、NiO、Y23、Lu23、Yb23、HfO2、Nb25等を例示でき、これらより選ばれる少なくとも1種が使用される。しかしながら、原料液Fに混入される無機質固体材料はこれらに限定されるものではない。
高分子材料と分散媒または溶媒との混合比率は、それらの種類にもよるが、分散媒または溶媒の比率が50〜99重量%となるように混合されるのが好ましい。
〈実施の形態2〉
以下、図面を参照して、本発明の実施の形態2を説明する。実施の形態2は、実施の形態1を改変したものであり、以下、実施の形態1とは異なる部分のみを説明する。
図4は、本発明の実施の形態2に係るナノファイバ製造装置の要部の概略図である。図5は、図4の装置の環状部材の平面図である。
実施の形態2のナノファイバ製造装置は、案内体20と環状電極3との境界部分に中空の環状部材42および仕切り板44を配置し、送風機4を削除したものである。
環状部材42は、外径が環状電極3の外径よりも若干大きく、内径が環状電極3の内径よりも若干小さい、中空部42aを有する部材である。中空部42aには、図示しないポンプにより導管43を通して気体(例えば空気)が所定の圧力で供給される。また、図5に示すように、環状部材42の一端面(環状電極3側端面)には環状電極3と容器2の間の空間に向かって中空部42a内の気体を噴出する噴出孔42bが所定ピッチで円弧状に並ぶように穿設されている。噴出孔42bは、図4に示すように、環状電極3の内周面の直ぐ内側に円弧状に並ぶように設けられている。このため、噴出孔42bから噴出される気体は図4の矢印H11、H12、H13、H14、H15,H16に示すように、環状電極3の内周面近傍の位置から容器2の外周面に向かって広がるように流れる。
この結果、最上流側の放出孔2aから放出された原料液Fは、環状電極3の近傍に到達してはじめて噴出孔42bから噴出された気流の偏向力を受けて容器2の軸方向に進む方向が偏向される。一方、最下流側の放出孔2aから放出された原料液Fは、放出孔2aから放出された直後から、矢印H13により示す気流の偏向力を受けて、容器2の軸方向に進む方向が偏向される。これにより、気流の方向に列をなすように並ぶ各放出孔2aから放出される繊維状物質F1の進む経路を、容器2の径方向に分散させることができる。また、本実施の形態2によれば、より少ない量の気体の供給により実施の形態1と同様の効果を得ることができる。
なお、実施の形態2では、より少ない量の気体により実施の形態1と同様の効果を得るために、円環状に並ぶ噴出孔42bから気体を噴出するものとした。。しかしながら、これに限定するものではなく、噴出孔42bの代わりに、環状部材42の一端面に環状の微細な隙間である噴出溝(図に環状の破線42cで示している)を設けて、この噴出溝から気体を噴出するようにしてもよい。この場合には、必要とされる気体が多くなる可能性はあるが、噴出孔42bから気体を噴射する場合に比べると、容器2の周囲に偏りの無い均一な気流を送ることができる。
〈実施の形態3〉
以下、図面を参照して、本発明の実施の形態3を説明する。本実施の形態3は、実施の形態1を改変したものであり、以下、実施の形態1とは異なる部分のみを説明する。図6は、本発明の実施の形態3に係るナノファイバ製造装置の要部を拡大した断面図である。図7は、図6の装置から環状電極を取り外した状態の、容器2の近傍部分の斜視図である。
実施の形態3のナノファイバ製造装置は、案内体20と環状電極3との境界部分に、円形の板部材45と円筒状部材46を配置したものである。板部材45は、中央に、容器2が軸方向に挿通される挿通孔45aが設けられた略円形の部材である。送風機4等により発生される気流は、挿通孔45aの縁部と容器2の外周面との隙間を通って、容器2と環状電極3との間の空間に流入する。
円筒状部材46は、上記気流の上流側から下流側に向かって径が大きくなる、ラッパ状の部材であり、その中空部に容器2が軸方向に遊嵌される。板部材45と容器2との隙間を通って流れる気流は、破線の矢印H21〜26に示すように、円筒状部材46の外周面に沿って容器2の径方向に広がった後容器2の軸方向と平行に流れていく。この結果、最上流側の放出孔2aから放出された原料液Fは、環状電極3の近傍に到達するまでの間は緩やかなカーブを描くように進む向きが偏向され、環状電極3の近傍に到達すると進む向きが容器2の軸方向と平行になる。また、最下流側の放出孔2aから放出された原料液Fは、放出孔2aから放出された後、比較的早い段階で気流により進む方向が容器2の軸方向に偏向される。これにより、気流の方向に列をなすように並ぶ各放出孔2aから放出される原料液F等の進む経路を容器2の径方向に分散させることができる。
なお、上記各実施の形態においては、放出孔2aは、環状電極3と対向する部分の容器2の周壁に、容器2の軸方向に互いに平行な列をなすように等間隔で形成されているように配置した。しかしながら、これに限定するものではなく、放出孔2aが少なくとも1つの列をなしており、夫々の放出孔2aから出た原料液Fが所定の方向に偏向され、その列をなす放出孔2aから放出された原料液と飛行の軌跡が重なる場合にも、上述した本願発明の格別の効果は発揮される。
また、上記実施の形態では、円筒形状の容器を所定の速度で回転させている。そのような場合には、前記放出孔2aから出た原料液Fは、回転による遠心力と、気流による偏向との関係で、飛行軌跡が放出孔2aの配置により変わるが、各放出孔2aから放出された原料液Fの軌跡が飛行中に重なり合うような全ての場合に、本願発明を適用して上述した格別の効果を発揮させることができる。
〈実施の形態4〉
以下、図面を参照して、本発明の実施の形態4を説明する。本実施の形態4は、実施の形態1を改変したものであり、以下、実施の形態1とは異なる部分のみを説明する。図8は、本発明の実施の形態4に係るナノファイバ製造装置の一部を断面にした概略図である。
実施の形態4のナノファイバ製造装置は、方形箱形の容器2Gの1つの面(図の下面)に少なくとも1つの列をなすように原料液Fを放出する放出孔としての複数のノズル2eを設けるとともに、容器2Gの内部に原料液ポンプ33により原料液Fを原料液溜32から所定圧力で圧送するようにしたものである。容器2Gの下面は接地された平板状の電極3Gと対向しており、容器2Gには負極が接地された高電圧電源7の正極が接続されている。
以上の構成により、容器2Gのノズル2eからプラスに帯電した原料液Fが電極3Gに向かって放出される。そして、容器2Gの下面と電極3Gとの間に向かって容器2Gの下面と平行に送風するように送風機4が配されるとともに、その送風による気流の通路を画成するように実施の形態1と同様の図示しない案内体が配設されている。なお、図8においては、原料液F等が正電荷を帯びていることを、+(プラス)の符号を丸で囲んだ記号により示している。
ノズル2eから電極3Gに向かって放出された原料液Fは、上記気流によりその向きが放出方向と略垂直な方向に偏向される。ここで、上記気流のノズル2eよりも上流側には、電極3Gとの間に所定の間隙を置くようにして気流調整部材41Gが配設されている。
送風機4等により発生された気流は、図8に示すように、上記間隙を通るときに一旦加速された後、電極3Gの近傍の位置から容器2Gの下面に向かって破線の矢印H31〜H33により示すように広がりながら容器2Gと電極3Gとの間の空間に流入する。
この結果、上記気流の最上流側のノズル2eから放出された原料液F等は、電極3Gの近傍に到達するまで上記気流の偏向力を受けずに直進し、電極3Gの近傍に到達してはじめて上記偏向力を受けて、進む方向が容器2の軸方向に偏向される。一方、上記気流の最下流側の放出孔2aから放出された原料液F等は、矢印H32、H33により示すような気流により、放出の直後から上記偏向力を受けるために、容器2Gの近傍で進む方向が放出方向と略垂直な方向に偏向される。このようにして、気流の下流側のノズル2eから放出された原料液F等ほど、容器2Gの周面から近い位置において進む方向が放出方向と略垂直な方向に偏向されるように各放出孔2aから放出された原料液F等の進む経路が分散される。
したがって、気流の上流側のノズル2eから放出された原料液F等と、下流側のノズル2eから放出された原料液F等が重なり合うことが防止されるため、最下流側のノズル2eから放出される原料液Fの帯電が阻害されたり、最下流側のノズル2eからの原料液Fの放出が阻害されたりすることが防止される。
以上のようにして、進む方向が偏向された原料液F等は、方形の筒体8Gの内部を通過し、筒体8Gの出口(図示しない)に実施の形態1と同様にして配置された収集体21の上に堆積して収集される。本実施の形態4に示すように、本発明は、容器が円筒形状の場合に限定されるものではなく、少なくとも1列の放出孔(ノズル2e)を有し、原料液Fに所定圧を印加して原料液Fを放出させ、その原料液Fが帯電され静電爆発によりファイバを生成され、所定の方向に偏向されるような場合においても、気流調整手段により気流を調整することにより、原料液Fの進む経路を放出方向に分散させて、上記各実施の形態と同様の効果を得ることができる。
以下、本発明の実施例を説明する。なお、本発明は、以下の実施例に限定されるものではない。
外径が60mm、内径が59mmである略円筒状の容器2の周壁に、放出孔2aを容器2の軸方向に6個並べて1列とし、容器2の周方向に18列が並ぶように、計108個の放出孔2aを形成した。このとき、放出孔2aの容器2の周方向のピッチは10mmであった。また、放出孔2aの容器2の軸方向のピッチも10mmとした。
そして、放出孔2aの径を0.20mm、0.30mmおよび0.50mmの3通りとして、3種類の容器2を作成した。
これら3種類の容器2を組み込んだ図1と同一構成のナノファイバ製造装置(以下、実施例装置という)を使用し、様々な回転数により容器2を20分間回転させて、ナノファイバを製造した。ここで、環状電極3の直径は、400mmとし、電源7の電圧は60KVとし、その負極を環状電極3に接続し、正極を接地した。また、収集体21の送り量は、5mm/分とした。原料液Fに使用する高分子材料はポリビニルアルコール(PVA)とし、溶媒として水を使用し、溶媒量を90%として高分子材料と混合した。
ここで、放出孔2aの径が0.20mmである容器2を組み込んだ実施例装置により製造されたナノファイバを実施例1とする。また、放出孔2aの径が0.30mmである容器2を組み込んだ実施例装置により製造されたナノファイバを実施例2とする。また、放出孔2aの径が0.50mmである容器2を組み込んだ実施例装置により製造されたナノファイバを実施例3とする。
一方、図1のナノファイバ製造装置から気流調整部材41を削除したナノファイバ製造装置(以下、比較例装置という)に上記3種類の容器2を組み込み、様々な回転数により容器2を20分間回転させて、ナノファイバを製造した。ここで、放出孔2aの径が0.20mmである容器2を組み込んだ比較例装置により製造されたナノファイバを比較例1とする。また、放出孔2aの径が0.30mmである容器2を組み込んだ比較例装置により製造されたナノファイバを比較例2とする。また、放出孔2aの径が0.50mmである容器2を組み込んだ比較例装置により製造されたナノファイバを比較例3とする。
そして、上記実施例1〜3、および比較例1〜3について、製造されたナノファイバを顕微鏡により観察し、高分子物質の塊が混入していない高品質なナノファイバが製造できているかを調査した。その結果を、図8に示す。同図においては、上記高品質のナノファイバを製造することのできた容器2の回転数の上限を、放出孔2aの径毎に白抜きの双頭の矢印で示している。
図8に示すように、実施例1〜3においては、放出孔2aの径が同一である比較例1〜3と比較して、容器2の高い回転数の範囲において、高分子物質の塊の混入していない高品質のナノファイバを製造することができた。これは、実施例1〜3においては、容器2の軸方向に並ぶ各放出孔2aから放出された原料液F等の進む経路が容器2の径方向に分散されたために、容器2を高い回転数で回転させて、放出孔2aからより大量の原料液Fを放出させても、下流側の放出孔2aから放出される原料液Fの帯電が阻害されたりすることがなかったからであると考えられる。
このように、本発明のナノファイバ製造装置によれば、高品質のナノファイバをより高い生産性で製造できることが確かめられた。
本発明のナノファイバ製造装置および製造方法によれば、エレクトロスピニング法を利用してナノファイバを製造する場合に、高品質のナノファイバを高い生産性で製造することが可能となる。
本発明の実施の形態1に係るナノファイバ製造装置の概略構成を示す、一部を断面にした側面図である。 図1の装置の一部の拡大図である。 図1の装置から環状電極を取り外した状態の、容器の近傍部分の斜視図である。 本発明の実施の形態2に係るナノファイバ製造装置の要部の概略図である。 図4の装置の環状部材の平面図である。 本発明の実施の形態3に係るナノファイバ製造装置の要部を拡大した断面図である。 図6の装置から環状電極を取り外した状態の、容器の近傍部分の斜視図である。 本発明の実施の形態4に係るナノファイバ製造装置の要部の一部を断面にした側面図である。 本発明の実施例および比較例を示すグラフ図である。 従来のナノファイバ製造装置の一例の概略図である。 従来の別のナノファイバ製造装置の要部を断面にした側面図である。
符号の説明
1 製造装置
2 容器
2a 放出孔
3 環状電極
4 送風機
5 コレクタ
7 電源
21 収集体
23 吸引機構
41 気流調整部材
42 環状部材
43 導管
45 板部材
46 円筒状部材

Claims (11)

  1. 内部に保持される高分子材料を含む原料液を外部に放出するための放出孔が、少なくとも1つの列を構成するように外壁に形成され、少なくとも前記放出孔の開口部が導体から形成された容器と、
    前記容器の前記放出孔と対向して配設される電極と、
    前記容器の前記放出孔から放出される原料液を帯電させるように、前記電極と前記容器との間に電位差を与えるための電源と、
    前記原料液を前記放出孔から前記電極に向けて放出させるように、前記原料液に力を加える力印加機構と、
    前記放出孔から放出された原料液またはその原料液より静電爆発により生成される繊維状物質を、前記原料液の放出方向と略垂直な方向に、気流により偏向して移送する移送手段と、
    前記移送手段により移送される繊維状物質を収集する収集手段とを備え、
    前記移送手段は、前記列を構成する各前記放出孔から放出された原料液または前記繊維状物質が前記気流により偏向されて進む経路を前記放出方向に分散させるように前記気流を調整する気流調整手段を含む、ナノファイバ製造装置。
  2. 前記容器は、少なくとも一端が塞がれた円筒形状を有しており、
    前記放出孔は、前記容器の周壁に形成されており、
    前記力印加機構は、前記原料液を遠心力により前記放出孔から放出させるように前記容器を回転する回転駆動機構から構成される、請求項1記載のナノファイバ製造装置。
  3. 前記電極は、前記容器の周囲に同軸に配された略円筒形状の導体から構成される、請求項2記載のナノファイバ製造装置。
  4. 前記気流調整手段は、前記放出孔が形成された前記容器の周壁と前記電極との間の空間に前記気流を流入させるための間隙を前記電極との間に存置して、前記気流の前記放出孔よりも上流側に配される略円形の板部材から構成される、請求項3記載のナノファイバ製造装置。
  5. 前記板部材は、中央に前記容器が遊嵌される貫通孔を有している、請求項4記載のナノファイバ製造装置。
  6. 前記移送手段が、所定圧力の気体を供給する気体供給手段を含み、
    前記気流調整手段は、
    前記気体供給手段により供給される気体を1時的に保持する中空部を有し、前記放出孔が形成された前記容器の周壁と前記電極との間の空間に前記電極の内周面の近傍の位置から前記中空部に保持された気体を噴出する少なくとも1つの噴出孔もしくは噴出溝が一端面に設けられた円環状部材から構成される、請求項3記載のナノファイバ製造装置。
  7. 前記気流調整手段は、
    前記放出孔が形成された前記容器の周壁と前記電極との間の空間に前記気流を流入させるための間隙を前記容器の外周面との間に存置して、前記気流の前記放出孔よりも上流側に配される略円形の板部材と、
    前記間隙に配され、前記気流の上流側から下流側に向かって径が大きくなる円筒状部材と、
    から構成される、請求項3記載のナノファイバ製造装置。
  8. 前記容器は、箱形状を有しており、
    前記放出孔は、前記容器の1つの面の壁部に形成されており、
    前記力印加機構は、前記原料液を前記容器の内部に所定圧力で圧送する圧送機構から構成される、請求項1記載のナノファイバ製造装置。
  9. 前記電極は、前記容器の前記1つの面と対向するように配された板状の導体から構成される、請求項8記載のナノファイバ製造装置。
  10. 前記気流調整手段は、前記容器の前記1つの面と前記電極との間の空間に前記気流を流入させるための間隙を前記電極との間に存置して、前記気流の前記放出孔よりも上流側に配される略方形の板部材から構成される、請求項9記載のナノファイバ製造装置。
  11. (a)容器の内部に保持された高分子材料を含む原料液を容器の外壁に少なくとも1つの列をなすように形成された放出孔から放出する工程、
    (b)前記放出孔から放出される原料液を帯電させる工程、
    (c)前記放出された原料液から静電爆発により繊維状物質を生成する工程、
    (d)前記放出孔から放出された原料液または前記生成された繊維状物質を、前記原料液の放出方向と略垂直な方向に、気流により偏向して移送する工程、
    (e)前記生成された繊維状物質を収集する工程、を含み、
    前記工程dは、前記列を構成する各前記放出孔から放出された原料液または前記生成された繊維状物質が前記気流により偏向されて進む経路を前記原料液の放出方向に分散させるように前記気流を調整する工程、を含む、ナノファイバ製造方法。
JP2008163529A 2008-06-23 2008-06-23 ナノファイバ製造装置 Expired - Fee Related JP4954946B2 (ja)

Priority Applications (1)

Application Number Priority Date Filing Date Title
JP2008163529A JP4954946B2 (ja) 2008-06-23 2008-06-23 ナノファイバ製造装置

Applications Claiming Priority (1)

Application Number Priority Date Filing Date Title
JP2008163529A JP4954946B2 (ja) 2008-06-23 2008-06-23 ナノファイバ製造装置

Publications (2)

Publication Number Publication Date
JP2010001592A true JP2010001592A (ja) 2010-01-07
JP4954946B2 JP4954946B2 (ja) 2012-06-20

Family

ID=41583524

Family Applications (1)

Application Number Title Priority Date Filing Date
JP2008163529A Expired - Fee Related JP4954946B2 (ja) 2008-06-23 2008-06-23 ナノファイバ製造装置

Country Status (1)

Country Link
JP (1) JP4954946B2 (ja)

Cited By (2)

* Cited by examiner, † Cited by third party
Publication number Priority date Publication date Assignee Title
KR20140105583A (ko) * 2011-12-21 2014-09-01 이 아이 듀폰 디 네모아 앤드 캄파니 원심 방사 공정으로부터 섬유질 웨브를 레잉하기 위한 방법
JP2019044301A (ja) * 2017-09-04 2019-03-22 花王株式会社 繊維堆積体の製造装置及び繊維堆積体の製造方法

Citations (1)

* Cited by examiner, † Cited by third party
Publication number Priority date Publication date Assignee Title
WO2008062784A1 (en) * 2006-11-24 2008-05-29 Panasonic Corporation Process and apparatus for producing nanofiber and polymer web

Patent Citations (1)

* Cited by examiner, † Cited by third party
Publication number Priority date Publication date Assignee Title
WO2008062784A1 (en) * 2006-11-24 2008-05-29 Panasonic Corporation Process and apparatus for producing nanofiber and polymer web

Cited By (6)

* Cited by examiner, † Cited by third party
Publication number Priority date Publication date Assignee Title
KR20140105583A (ko) * 2011-12-21 2014-09-01 이 아이 듀폰 디 네모아 앤드 캄파니 원심 방사 공정으로부터 섬유질 웨브를 레잉하기 위한 방법
JP2015506417A (ja) * 2011-12-21 2015-03-02 イー・アイ・デュポン・ドウ・ヌムール・アンド・カンパニーE.I.Du Pont De Nemours And Company 遠心紡糸法によって繊維ウェブを積層する方法
US9670595B2 (en) 2011-12-21 2017-06-06 E I Du Pont De Nemours And Company Process for laying fibrous webs from a centrifugal spinning process
US9970128B2 (en) 2011-12-21 2018-05-15 E I Du Pont De Nemours And Company Process for laying fibrous webs from a centrifugal spinning process
KR101980407B1 (ko) 2011-12-21 2019-05-20 이 아이 듀폰 디 네모아 앤드 캄파니 원심 방사 공정으로부터 섬유질 웨브를 레잉하기 위한 방법
JP2019044301A (ja) * 2017-09-04 2019-03-22 花王株式会社 繊維堆積体の製造装置及び繊維堆積体の製造方法

Also Published As

Publication number Publication date
JP4954946B2 (ja) 2012-06-20

Similar Documents

Publication Publication Date Title
US8524140B2 (en) Process of making nanofibers
US8110136B2 (en) Method and apparatus for producing nanofibers and polymer web
JP4591499B2 (ja) ナノファイバー及び高分子ウェブの製造方法と装置
US20100148405A1 (en) Nanofiber producing method and nanofiber producing apparatus
US8475692B2 (en) Nanofiber manufacturing apparatus and nanofiber manufacturing method
JP4877140B2 (ja) ナノファイバーの製造方法及び装置
JP2009270221A (ja) ナノファイバ製造装置
JP4880633B2 (ja) ナノファイバ製造装置、およびナノファイバ製造方法
JP5225827B2 (ja) ナノファイバ製造装置
JP4954946B2 (ja) ナノファイバ製造装置
JP5234355B2 (ja) ナノファイバ製造装置、および製造方法
JP5225885B2 (ja) ナノファイバ製造装置、および製造方法
JP4922237B2 (ja) ナノファイバーの合糸方法及び装置
JP5216516B2 (ja) ナノファイバ製造装置、ナノファイバ製造方法
JP5185090B2 (ja) ナノファイバ製造方法、および製造装置
JP4965525B2 (ja) ナノファイバ製造装置、ナノファイバ製造方法
JP4780140B2 (ja) 不織布製造装置
JP5215207B2 (ja) ナノファイバ製造装置
JP4965521B2 (ja) ナノファイバ製造装置
JP4927793B2 (ja) ナノファイバ製造装置、ナノファイバ製造方法
JP4939467B2 (ja) ナノファイバ製造方法、ナノファイバ製造装置
JP5903603B2 (ja) ナノファイバ製造装置および製造方法
JP2010084295A (ja) ナノファイバ製造装置、ナノファイバ製造方法
JP2009293137A (ja) ナノファイバ製造装置
JP2009256824A (ja) ナノファイバ製造装置、不織布製造装置、ナノファイバ製造方法

Legal Events

Date Code Title Description
A621 Written request for application examination

Free format text: JAPANESE INTERMEDIATE CODE: A621

Effective date: 20100304

A977 Report on retrieval

Free format text: JAPANESE INTERMEDIATE CODE: A971007

Effective date: 20111128

A131 Notification of reasons for refusal

Free format text: JAPANESE INTERMEDIATE CODE: A131

Effective date: 20111208

A521 Written amendment

Free format text: JAPANESE INTERMEDIATE CODE: A523

Effective date: 20120126

TRDD Decision of grant or rejection written
A01 Written decision to grant a patent or to grant a registration (utility model)

Free format text: JAPANESE INTERMEDIATE CODE: A01

Effective date: 20120216

A01 Written decision to grant a patent or to grant a registration (utility model)

Free format text: JAPANESE INTERMEDIATE CODE: A01

A61 First payment of annual fees (during grant procedure)

Free format text: JAPANESE INTERMEDIATE CODE: A61

Effective date: 20120314

R150 Certificate of patent or registration of utility model

Ref document number: 4954946

Country of ref document: JP

Free format text: JAPANESE INTERMEDIATE CODE: R150

Free format text: JAPANESE INTERMEDIATE CODE: R150

FPAY Renewal fee payment (event date is renewal date of database)

Free format text: PAYMENT UNTIL: 20150323

Year of fee payment: 3

LAPS Cancellation because of no payment of annual fees