JP2010001136A - 産業車両のウエイト脱落防止構造 - Google Patents

産業車両のウエイト脱落防止構造 Download PDF

Info

Publication number
JP2010001136A
JP2010001136A JP2008161906A JP2008161906A JP2010001136A JP 2010001136 A JP2010001136 A JP 2010001136A JP 2008161906 A JP2008161906 A JP 2008161906A JP 2008161906 A JP2008161906 A JP 2008161906A JP 2010001136 A JP2010001136 A JP 2010001136A
Authority
JP
Japan
Prior art keywords
weight
frame
stopper plate
pin
industrial vehicles
Prior art date
Legal status (The legal status is an assumption and is not a legal conclusion. Google has not performed a legal analysis and makes no representation as to the accuracy of the status listed.)
Granted
Application number
JP2008161906A
Other languages
English (en)
Other versions
JP5191024B2 (ja
Inventor
Masaya Osugi
匡哉 尾杉
Current Assignee (The listed assignees may be inaccurate. Google has not performed a legal analysis and makes no representation or warranty as to the accuracy of the list.)
TCM Corp
Original Assignee
TCM Corp
Priority date (The priority date is an assumption and is not a legal conclusion. Google has not performed a legal analysis and makes no representation as to the accuracy of the date listed.)
Filing date
Publication date
Application filed by TCM Corp filed Critical TCM Corp
Priority to JP2008161906A priority Critical patent/JP5191024B2/ja
Publication of JP2010001136A publication Critical patent/JP2010001136A/ja
Application granted granted Critical
Publication of JP5191024B2 publication Critical patent/JP5191024B2/ja
Expired - Fee Related legal-status Critical Current
Anticipated expiration legal-status Critical

Links

Images

Landscapes

  • Forklifts And Lifting Vehicles (AREA)

Abstract

【課題】産業車両用ウエイト脱落防止構造を簡単な機構で実現する。
【解決手段】ウエイト脱落防止構造において、ウエイト1をフォークリフトのフレームに対して取付ボルトにより取り付けるとともに、フレームにストッパプレート21を固定し、ストッパプレート21と上方に対向する位置においてウエイト1にピン16を設け、取付ボルトの折損時には、ピン16がストッパプレート21の各係合面に係合することにより、ウエイト1の脱落を防止するようにした。
【選択図】図1

Description

本発明は、フォークリフト等の産業車両のためのウエイト脱落防止構造に関する。
フォークリフトやショベルローダ等の産業車両においては、車両後部にカウンターウエイト(以下、単に「ウエイト」という。)が設けられている。従来のウエイト取付構造は、特開平8−143288号公報の図4に示すように、ウエイトが前方に延びるリアフレームを有しており、当該リアフレームが車両のメインフレームに対して複数の取付ボルトおよびナットにより着脱自在に固定されていた。
また、特開昭62−157195号公報の第1図および第2図に示すウエイト取付構造では、車両のフレーム後端の左右両側に上方に延びる板状のウエイト取付フックが設けられ、ウエイトの前面にウエイト取付フックが係合し得るスリットが形成され、ウエイトのスリットをウエイト取付フックに上方から引っ掛けて係合させるとともに、ウエイトの下端を後方から挿通するボルトによりウエイトをフレームにボルト締めしていた。
しかしながら、特開平8−143288号公報に示すウエイト取付構造では、ウエイトがメインフレームに対して取付ボルトおよびナットで固定されているだけなので、取付ボルトが折損したり、ナットが外れたりすると、ウエイトが下方に脱落する恐れがあった。
また、特開昭62−157195号公報に示すウエイト取付構造では、ウエイト前面のスリットにウエイト取付フックが係合していることにより、ボルトが折損しても、ウエイトが下方に脱落するのは防止されているが、この場合、ウエイトにスリットを形成する必要があるため、全体の構造が複雑になる。
特開平8−143288号公報(図4参照) 特開昭62−157195号公報(第1図および第2図参照)
本発明は、このような従来の実情に鑑みてなされたものであり、本発明が解決しようとする課題は、産業車両用ウエイト脱落防止構造を簡単な機構で実現することにある。
請求項1の発明に係る産業車両用ウエイト脱落防止構造は、ウエイトを産業車両のフレームに対して取付ボルトにより取り付けるとともに、フレームにストッパプレートを固定し、ストッパプレートと上方に対向する位置においてウエイトにピンを設け、取付ボルトの折損時には、ピンがストッパプレートに係合することにより、ウエイトの脱落を防止するようにしている。
請求項1の発明によれば、万一、取付ボルトが折損しても、ウエイトのピンが車両のフレーム側のストッパプレートに係合するので、ウエイトの脱落を確実に防止できる。しかも、この場合には、ウエイトにスリット等の複雑な形状を形成することなく、ウエイトに単にピンを設けるだけでよいので、産業車両のためのウエイト脱落防止構造を簡単な機構で実現できる。
請求項2の発明では、請求項1において、ピンが係合し得る凹状部をストッパプレートが有している。
この場合には、取付ボルトが折損したとき、ウエイトのピンはストッパプレートの凹状部に係合するので、ピンがストッパプレートから容易に外れにくくなっており、これにより、ウエイトの脱落をより確実に防止できる。
請求項3の発明では、請求項2において、凹状部がストッパプレートの上端面に形成された凹状面により構成されている。
請求項4の発明では、請求項1において、ストッパプレートがフレームの左右両側に設けられ、ピンがウエイトの左右両側に設けられている。
この場合には、ウエイトの荷重を2本のピンで均等に分担できるとともに、ウエイトを左右の各ピンを介して左右のストッパプレートで水平に支持することができるので、ウエイトが傾いて支持されることによるウエイト脱落の危険性を回避できる。
請求項5の発明では、請求項1において、ウエイトが、中央の凹状空間を隔てて左右両側からそれぞれ前方に張り出す一対の張出部を有しかつこれらの張出部の後端側を連結する連結部を有する平面視略コ字状の部材であって、各張出部の各内側面にそれぞれピンが固着されており、ストッパプレートが、フレームの後部の左右両側にそれぞれ設けられている。
この場合には、ピンがウエイトの内側に設けられるので、ピンがウエイトの外側に露出するのを防止できる。また、請求項4の発明と同様に、ウエイトの荷重を左右一対のピンで均等に分担できるとともに、ウエイトを各ピンを介して左右一対のストッパプレートで水平に支持することができるので、ウエイトが傾いて支持されることによるウエイト脱落の危険性を回避できる。
請求項6の発明では、請求項5において、ウエイトが連結部の中央から下方に延びる垂下部を有し、取付ボルトが垂下部の下部をフレームの後端に着脱自在に固定している。
請求項7の発明では、請求項6において、ウエイトの各張出部がフレームにボルト締めされている。
請求項8の発明では、請求項1において、当該産業車両がフォークリフトである。
以上のように、本発明によれば、ウエイトを産業車両のフレームに対して取付ボルトにより取り付けるとともに、フレームにストッパプレートを固定し、ストッパプレートと上方に対向する位置においてウエイトにピンを設け、取付ボルトの折損時には、ピンがストッパプレートに係合することにより、ウエイトの脱落を防止するようにしたので、万一、取付ボルトが折損しても、ウエイトのピンが車両のフレーム側のストッパプレートに係合するようになり、これにより、ウエイトの脱落を確実に防止できる。しかも、この場合には、ウエイトにスリット等の複雑な形状を形成することなく、ウエイトに単にピンを設けるだけでよいので、産業車両のためのウエイト脱落防止構造を簡単な機構で実現できる。
以下、本発明の実施例を添付図面に基づいて説明する。
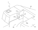
図1ないし図3は、本発明の一実施例による産業車両用ウエイト脱落防止構造を説明するための図であって、図1は本実施例によるウエイト脱落防止構造が設けられたウエイトの全体斜視図、図2は図1のウエイトを前方側から見た斜視部分図、図3は図1のウエイトを車両フレームとともに示す底面図である。なお、図3中、下方は車両の前方を示し、上方は車両の後方を示している。ここでは、産業車両として、フォークリフト用のウエイトを例にとって説明するが、本発明はフォークリフト以外の作業車両にも同様に適用可能である。
図1に示すように、ウエイト(カウンターウエイト)1は、中央の凹状空間1Aを隔てて左右両側からそれぞれ前方に張り出す一対の張出部10、11と、これらの張出部10、11の後端側を連結する連結部12と、連結部12の中央から下方に延びる垂下部13とを有している。ウエイト1は、平面視略コ字状に形成されている。
図1ないし図3に示すように、各張出部10、11の各内側面10a、11aには、それぞれピン15、16の一端が固着されている。各ピン15、16は、凹状空間1Aの中央に向かって水平方向に延びている。
一方、図3に示すように、フォークリフトのフレーム2は、ウエイト1の凹状空間1A内に挿入されており、その後端部は、ウエイト1の垂下部13まで延びている。垂下部13の下部中央には、前後方向に延びる貫通孔13aが形成されており(図1参照)、貫通孔13a内には取付ボルト18が挿入されている。ボルト18のネジ部は、フレーム2の後端部2aに形成された雌ネジに螺合している。これにより、ウエイト1がフレーム2に対して着脱自在にネジ止め固定されている。
フレーム2の左右両側部には、それぞれストッパプレート20、21が固定されている。各ストッパプレート20、21は、それぞれピン15、16と下方または後方に対向する位置に配置されている(図1および図2参照)。逆の言い方をすれば、この場合、ピン15、16は、それぞれストッパプレー20、21と上方または前方に対向する位置に配置されている。各ストッパプレート20、21の上端面には、それぞれピン15、16が上方または前方から係合し得る凹状面が形成されている。図1および図2に示す例では、ストッパプレート21側の凹状面21aのみが示されている。
また、フレーム2の左右両側部において各ストッパプレート20、21の前方には、それぞれウエイト1の各張出部10、11の側に延設されたブラケット24、25が設けられている。各ブラケット24、25には、それぞれボルト26、27が上下方向に挿通しており、これらのボルト26、27は、ウエイト1の各張出部10、11の底面に形成された雌ネジにそれぞれ螺合している。これにより、ウエイト1の各張出部10、11がブラケット24、25を介してフレーム2に着脱自在にネジ止め固定されている。
次に、本実施例の作用効果について説明する。
図3に示すように、取付ボルト18およびボルト26、27により、ウエイト1がフレーム2に取り付けられた状態で、万一、取付ボルト18およびボルト26、27が折損したり、抜け落ちたりした場合、ウエイト1がフレーム2のブラケット24、25の上に載置されているため、ウエイト1は後方に脱落しようとする。
このとき、ウエイト1の張出部10、11の各内側面10a、11aに固定されたピン15、16がウエイト1とともに後方に移動して、それぞれストッパプレート20、21の各係合面に係合する。これにより、ウエイト1の脱落を防止できる。
この場合には、ウエイト1にスリット等の複雑な形状を形成することなく、ウエイト1に単にピン15、16を設けるだけでよいので、フォークリフトのためのウエイト脱落防止構造を簡単な機構で実現できる。
また、取付ボルト18等の折損や抜け落ちのとき、ウエイト1のピン15、16がストッパプレート20,21の各凹状面に係合するので、ピン15、16がストッパプレート20、21から容易に外れにくくなっており、これにより、ウエイト1の脱落をより確実に防止できる。
さらに、ストッパプレート20、21がフレーム2の左右両側に設けられ、ピン15、16がウエイト1の左右両内側面10a、11aに設けられているので、ウエイト1の荷重を2本のピン15、16で均等に分担できるとともに、ウエイト1を左右のピン15、16を介して左右のストッパプレート20、21で水平に支持することができるので、ウエイト1が傾いて支持されることによるウエイト脱落の危険性を回避できる。また、ピン15、16がウエイト1の内側に設けられるので、ピン15、16がウエイト1の外側に露出するのを防止できる。
本発明の一実施例によるウエイト脱落防止構造が設けられたウエイトの全体斜視図である。 図1のウエイトを前方側から見た斜視部分図である。 図1のウエイトを車両フレームとともに示す底面図である。
符号の説明
1: ウエイト
10、11: 張出部
10a、11a: 内側面
12: 連結部
13: 垂下部

15、16:ピン
18: 取付ボルト

2: フレーム
20、21 : ストッパプレート
20a、21a: 凹状面
26、27: ボルト

Claims (8)

  1. 産業車両のウエイト脱落防止構造であって、
    ウエイトを産業車両のフレームに対して取付ボルトにより取り付けるとともに、
    前記フレームにストッパプレートを固定し、
    前記ストッパプレートと上方に対向する位置において前記ウエイトにピンを設け、
    前記取付ボルトの折損時には、前記ピンが前記ストッパプレートに係合することにより、前記ウエイトの脱落を防止するようにした、
    ことを特徴とする産業車両のウエイト脱落防止構造。
  2. 請求項1において、
    前記ストッパプレートは、前記ピンが係合し得る凹状部を有している、
    ことを特徴とする産業車両のウエイト脱落防止構造。
  3. 請求項2において、
    前記凹状部は、前記ストッパプレートの上端面に形成された凹状面により構成されている、
    ことを特徴とする産業車両のウエイト脱落防止構造。
  4. 請求項1において、
    前記ストッパプレートが前記フレームの左右両側に設けられ、前記ピンが前記ウエイトの左右両側に設けられている、
    ことを特徴とする産業車両のウエイト脱落防止構造。
  5. 請求項1において、
    前記ウエイトが、中央の凹状空間を隔てて左右両側からそれぞれ前方に張り出す一対の張出部を有しかつこれらの張出部の後端側を連結する連結部を有する平面視略コ字状の部材であって、前記各張出部の各内側面にそれぞれピンが固着されており、前記ストッパプレートが、前記フレームの後部の左右両側にそれぞれ設けられている、
    ことを特徴とする産業車両のウエイト脱落防止構造。
  6. 請求項5において、
    前記ウエイトが前記連結部の中央から下方に延びる垂下部を有し、前記取付ボルトが前記垂下部の下部を前記フレームの後端に着脱自在に固定している、
    ことを特徴とする産業車両のウエイト脱落防止構造。
  7. 請求項6において、
    前記ウエイトの前記各張出部が、前記フレームにボルト締めされている、
    ことを特徴とする産業車両のウエイト脱落防止構造。
  8. 請求項1において、
    当該産業車両がフォークリフトである、
    ことを特徴とする産業車両のウエイト脱落防止構造。
JP2008161906A 2008-06-20 2008-06-20 産業車両のウエイト脱落防止構造 Expired - Fee Related JP5191024B2 (ja)

Priority Applications (1)

Application Number Priority Date Filing Date Title
JP2008161906A JP5191024B2 (ja) 2008-06-20 2008-06-20 産業車両のウエイト脱落防止構造

Applications Claiming Priority (1)

Application Number Priority Date Filing Date Title
JP2008161906A JP5191024B2 (ja) 2008-06-20 2008-06-20 産業車両のウエイト脱落防止構造

Publications (2)

Publication Number Publication Date
JP2010001136A true JP2010001136A (ja) 2010-01-07
JP5191024B2 JP5191024B2 (ja) 2013-04-24

Family

ID=41583175

Family Applications (1)

Application Number Title Priority Date Filing Date
JP2008161906A Expired - Fee Related JP5191024B2 (ja) 2008-06-20 2008-06-20 産業車両のウエイト脱落防止構造

Country Status (1)

Country Link
JP (1) JP5191024B2 (ja)

Citations (4)

* Cited by examiner, † Cited by third party
Publication number Priority date Publication date Assignee Title
JPS62116092U (ja) * 1986-01-14 1987-07-23
JPS63131873U (ja) * 1987-02-23 1988-08-29
JPH08169696A (ja) * 1994-12-19 1996-07-02 Toyo Umpanki Co Ltd 産業車両のカウンタウェイト
JP2004338821A (ja) * 2003-05-13 2004-12-02 Tcm Corp カウンターウエイト

Patent Citations (4)

* Cited by examiner, † Cited by third party
Publication number Priority date Publication date Assignee Title
JPS62116092U (ja) * 1986-01-14 1987-07-23
JPS63131873U (ja) * 1987-02-23 1988-08-29
JPH08169696A (ja) * 1994-12-19 1996-07-02 Toyo Umpanki Co Ltd 産業車両のカウンタウェイト
JP2004338821A (ja) * 2003-05-13 2004-12-02 Tcm Corp カウンターウエイト

Also Published As

Publication number Publication date
JP5191024B2 (ja) 2013-04-24

Similar Documents

Publication Publication Date Title
CN107128265B (zh) 电池支承结构
JP5327319B2 (ja) 車両ボディ構造
EP2743407B1 (en) Construction machine
CN102864797A (zh) 工程机械
JP5191024B2 (ja) 産業車両のウエイト脱落防止構造
JP2012154054A (ja) 建設機械
JP5840849B2 (ja) アンダーランプロテクタステーの構造
JP2004292131A (ja) フォークリフトのウェイト取付構造
JP5991019B2 (ja) 建設機械
KR100689937B1 (ko) 건설 기계의 선회 프레임 구조
JP5464731B2 (ja) 電気接続箱の取付構造、および電気接続箱
JP2008149888A (ja) パワープラントの支持構造
JP5463695B2 (ja) 乗物シート用スライド装置
JP4301291B2 (ja) 車体の剛性補強構造
JP2018058514A (ja) バンプストッパ構造
JP5240851B2 (ja) 作業機械
JP5431103B2 (ja) 建設機械のカウンタウェイト、カウンタウェイトユニット及びカウンタウェイト取付構造
JP6459032B2 (ja) アンダーランプロテクタの取付構造及びアンダーランプロテクタブラケット
JP6015092B2 (ja) 建設機械の電装品取付構造
JP2021154973A (ja) アンダーランプロテクタ支持構造
JP6459031B2 (ja) アンダーランプロテクタの取付構造及びアンダーランプロテクタブラケット
JP2021046266A (ja) フォークリフト用アタッチメントおよびフォークリフト
JP6801942B1 (ja) ピン抜け防止構造および荷役車両
JP2016196226A (ja) Upブラケットの取付構造
JP2019031234A (ja) クロスメンバの取り付け構造

Legal Events

Date Code Title Description
A621 Written request for application examination

Free format text: JAPANESE INTERMEDIATE CODE: A621

Effective date: 20110531

A977 Report on retrieval

Free format text: JAPANESE INTERMEDIATE CODE: A971007

Effective date: 20130117

TRDD Decision of grant or rejection written
A01 Written decision to grant a patent or to grant a registration (utility model)

Free format text: JAPANESE INTERMEDIATE CODE: A01

Effective date: 20130123

A61 First payment of annual fees (during grant procedure)

Free format text: JAPANESE INTERMEDIATE CODE: A61

Effective date: 20130126

R150 Certificate of patent or registration of utility model

Ref document number: 5191024

Country of ref document: JP

Free format text: JAPANESE INTERMEDIATE CODE: R150

Free format text: JAPANESE INTERMEDIATE CODE: R150

FPAY Renewal fee payment (event date is renewal date of database)

Free format text: PAYMENT UNTIL: 20160208

Year of fee payment: 3

R250 Receipt of annual fees

Free format text: JAPANESE INTERMEDIATE CODE: R250

R250 Receipt of annual fees

Free format text: JAPANESE INTERMEDIATE CODE: R250

S111 Request for change of ownership or part of ownership

Free format text: JAPANESE INTERMEDIATE CODE: R313111

S531 Written request for registration of change of domicile

Free format text: JAPANESE INTERMEDIATE CODE: R313531

S533 Written request for registration of change of name

Free format text: JAPANESE INTERMEDIATE CODE: R313533

R350 Written notification of registration of transfer

Free format text: JAPANESE INTERMEDIATE CODE: R350

LAPS Cancellation because of no payment of annual fees