JP2010001018A - 折りたたみ自転車 - Google Patents

折りたたみ自転車 Download PDF

Info

Publication number
JP2010001018A
JP2010001018A JP2009192630A JP2009192630A JP2010001018A JP 2010001018 A JP2010001018 A JP 2010001018A JP 2009192630 A JP2009192630 A JP 2009192630A JP 2009192630 A JP2009192630 A JP 2009192630A JP 2010001018 A JP2010001018 A JP 2010001018A
Authority
JP
Japan
Prior art keywords
bicycle
tube
seat
item
folding
Prior art date
Legal status (The legal status is an assumption and is not a legal conclusion. Google has not performed a legal analysis and makes no representation as to the accuracy of the status listed.)
Granted
Application number
JP2009192630A
Other languages
English (en)
Other versions
JP2010001018A5 (ja
JP5032537B2 (ja
Inventor
Miko Mihelic
ミヘリック ミコ
Current Assignee (The listed assignees may be inaccurate. Google has not performed a legal analysis and makes no representation or warranty as to the accuracy of the list.)
Studio Moderna SA
Original Assignee
Studio Moderna SA
Priority date (The priority date is an assumption and is not a legal conclusion. Google has not performed a legal analysis and makes no representation as to the accuracy of the date listed.)
Filing date
Publication date
Priority claimed from SI200200308A external-priority patent/SI21365A/sl
Priority claimed from PCT/IB2003/001243 external-priority patent/WO2003086848A1/en
Application filed by Studio Moderna SA filed Critical Studio Moderna SA
Publication of JP2010001018A publication Critical patent/JP2010001018A/ja
Publication of JP2010001018A5 publication Critical patent/JP2010001018A5/ja
Application granted granted Critical
Publication of JP5032537B2 publication Critical patent/JP5032537B2/ja
Anticipated expiration legal-status Critical
Expired - Fee Related legal-status Critical Current

Links

Images

Classifications

    • BPERFORMING OPERATIONS; TRANSPORTING
    • B62LAND VEHICLES FOR TRAVELLING OTHERWISE THAN ON RAILS
    • B62KCYCLES; CYCLE FRAMES; CYCLE STEERING DEVICES; RIDER-OPERATED TERMINAL CONTROLS SPECIALLY ADAPTED FOR CYCLES; CYCLE AXLE SUSPENSIONS; CYCLE SIDE-CARS, FORECARS, OR THE LIKE
    • B62K13/00Cycles convertible to, or transformable into, other types of cycles or land vehicle
    • B62K13/02Cycles convertible to, or transformable into, other types of cycles or land vehicle to a tandem
    • BPERFORMING OPERATIONS; TRANSPORTING
    • B62LAND VEHICLES FOR TRAVELLING OTHERWISE THAN ON RAILS
    • B62KCYCLES; CYCLE FRAMES; CYCLE STEERING DEVICES; RIDER-OPERATED TERMINAL CONTROLS SPECIALLY ADAPTED FOR CYCLES; CYCLE AXLE SUSPENSIONS; CYCLE SIDE-CARS, FORECARS, OR THE LIKE
    • B62K15/00Collapsible or foldable cycles
    • BPERFORMING OPERATIONS; TRANSPORTING
    • B62LAND VEHICLES FOR TRAVELLING OTHERWISE THAN ON RAILS
    • B62KCYCLES; CYCLE FRAMES; CYCLE STEERING DEVICES; RIDER-OPERATED TERMINAL CONTROLS SPECIALLY ADAPTED FOR CYCLES; CYCLE AXLE SUSPENSIONS; CYCLE SIDE-CARS, FORECARS, OR THE LIKE
    • B62K15/00Collapsible or foldable cycles
    • B62K15/006Collapsible or foldable cycles the frame being foldable
    • BPERFORMING OPERATIONS; TRANSPORTING
    • B62LAND VEHICLES FOR TRAVELLING OTHERWISE THAN ON RAILS
    • B62KCYCLES; CYCLE FRAMES; CYCLE STEERING DEVICES; RIDER-OPERATED TERMINAL CONTROLS SPECIALLY ADAPTED FOR CYCLES; CYCLE AXLE SUSPENSIONS; CYCLE SIDE-CARS, FORECARS, OR THE LIKE
    • B62K15/00Collapsible or foldable cycles
    • B62K15/006Collapsible or foldable cycles the frame being foldable
    • B62K15/008Collapsible or foldable cycles the frame being foldable foldable about 2 or more axes
    • BPERFORMING OPERATIONS; TRANSPORTING
    • B62LAND VEHICLES FOR TRAVELLING OTHERWISE THAN ON RAILS
    • B62KCYCLES; CYCLE FRAMES; CYCLE STEERING DEVICES; RIDER-OPERATED TERMINAL CONTROLS SPECIALLY ADAPTED FOR CYCLES; CYCLE AXLE SUSPENSIONS; CYCLE SIDE-CARS, FORECARS, OR THE LIKE
    • B62K25/00Axle suspensions
    • B62K25/04Axle suspensions for mounting axles resiliently on cycle frame or fork
    • B62K25/12Axle suspensions for mounting axles resiliently on cycle frame or fork with rocking arm pivoted on each fork leg
    • B62K25/14Axle suspensions for mounting axles resiliently on cycle frame or fork with rocking arm pivoted on each fork leg with single arm on each fork leg
    • B62K25/16Axle suspensions for mounting axles resiliently on cycle frame or fork with rocking arm pivoted on each fork leg with single arm on each fork leg for front wheel

Landscapes

  • Engineering & Computer Science (AREA)
  • Mechanical Engineering (AREA)
  • Motorcycle And Bicycle Frame (AREA)
  • Air Bags (AREA)
  • Vehicle Step Arrangements And Article Storage (AREA)
  • Diaphragms And Bellows (AREA)
  • Dry Shavers And Clippers (AREA)
  • Steering Devices For Bicycles And Motorcycles (AREA)

Abstract

【課題】 迅速かつ容易にコンパクなサイズに折りたたむことが可能である折りたたみ自転車を提供する。
【解決手段】
折りたたみ可能な自転車が提供される。この折りたたみ可能な自転車の1つの特徴は、この自転車の幾何学的形状を規定するフレームの中心部分が、実質的に剛性であることである。すなわち、ダウンチューブ、シートチューブ、トップチューブおよびベアリングチューブが、互いに対して実質的に固定されている。この折りたたみ式自転車の別の特徴は、フロントホイールが、2つのチューブからなるダウンチューブの間の位置に折りたたまれ得ることである。なお別の特徴は、フレームまたはホイールベースの長さを伸ばさない、タンデム自転車の構成である。この要約書は、読者が本明細書中に含まれる開示の主題を素早く確認することを可能にする、要約書の要件の規則に応じる目的のみで提供される。
【選択図】 図4

Description

本出願は、同時係属中のPCT国際特許出願番号PCT/IB03/01243(2003年3月3日出願、標題「Folding Bicycle」の一部継続出願であり、この継続出願は、本明細書中に参考として援用される。
(発明の分野)
本発明は、一般に、比較的小型の配置に折りたたまれ得、かつ乗車のために展開され得る、折りたたみ自転車に関する。
(発明の背景)
折りたたみ式自転車は、収納または輸送のために比較的小型の配置にされるという利点を有し、収納空間を縮小しようとするユーザー(例えば、とりわけ、通勤通学者(commuter)、レクリエーションファン、およびキャンプする人)に人気がある。既知の折りたたみ自転車は、標準的な非折りたたみ自転車と比較した場合、多くの欠点を有する。例えば、公知の折りたたみ自転車は、2以上の部品のフレームを有し、これらの部品は解体され得るか、折りたたまれ得るか、または入れ子式に短くされ得る。いくつかの公知の折りたたみ自転車において、その折りたたまれた寸法は、それらのホイールの取り外しを介してさらに縮小され得る。
いくつかの従来の自転車折りたたみ継ぎ手(folding joint)は、そのフレームの中心領域に、例えば、ダウンチューブ、トップチューブ、シートチューブおよびヘッドチューブ、またはベアリングチューブのうちの1つ以上の中に設置される。このような配置の欠点は、そのフレームの剛性が低下し、ペダル踏みの効率、およびその全体的な安定性に不利益に影響を及ぼすことである。
このような公知の折りたたみ自転車と関連する別の欠点は、折りたたみを可能にするその継ぎ手が、ギャップを発生させ得るか、または使用の間に「あそび」を発生させ得ることである。このあそびは、曲がる(flex)自転車において生じ、自転車を推進させるために付与される力が、曲がる継ぎ手によって部分的に吸収されるので、ペダル踏みの効率を低下させる。さらに、その継ぎ手自体が、その自転車において弱点であり得、構造的破損、不安定性または他の望ましくない自転車運転(riding)特性を引き起こし得る。
さらなる欠点は、公知の折りたたみ自転車が頻繁に、匹敵する標準的な非折りたたみ自転車のフレームよりも小さいフレームを有することである。このことは、乗り手にとっての人間工学的適切性を低下させる。この結果は、多くの乗り手にとって、快適に乗られ得る距離の減少である。自転車運転が不快であると、ペダル踏みの効率が減少し得、自転車運転特性を減少させ、非折りたたみ自転車と比較して、フロントホイールの異なる位置およびより小さなホイールサイズに起因して、あまり好都合ではない。
従って、自転車運転時に人間工学的に快適な、必要に応じて、一体式中心フレーム構造(unitary central frame structure)を有し、必要に応じて、容易に小型の配置に折りたたまれ得、そして/または必要に応じて、折りたたみおよび展開の繰り返しにも拘わらず、その構造的剛性および完全性を維持し得る折りたたみ自転車が必要である。
(発明の要旨)
本発明は、公知の折りたたみ自転車の欠点(そのうちのいくつかは、上記で議論されている)を、小型のサイズに折りたたみ可能であると同時に、あらゆる折りたたみ継ぎ手なくして、中心フレームをなお有する自転車を提供することによって、大いに解消する。本発明の折りたたみ自転車は、好ましくは、一般に、標準的な非折りたたみ自転車の自転車運転経験および耐久性を提供すると同時に折りたたみ可能である。
本発明の一実施形態は、ダウンチューブ、シートチューブ、トップチューブ、およびベアリングチューブの中心フレームアセンブリを備え、ここでそのダウンチューブ、シートチューブ、トップチューブおよびベアリングチューブは、実質的に互いに固定される。この配置は、非折りたたみ自転車の人間工学的自転車運転特性を増進し得る。
本発明の折りたたみ可能な要素は、必要に応じて、折りたたみ可能なフロントフォークアセンブリ、折りたたみ可能なリヤホイールアセンブリおよび折りたたみ可能なハンドルバーアセンブリを備える。これらのアセンブリの各々は、本発明の選択肢的な特徴であるが、これらのアセンブリはともに機能して、その折りたたみ式自転車の折りたたまれたサイズを縮小し、例えば、その自転車を容易に輸送可能にする。その選択肢的フロントフォークアセンブリは、その下端にフロントホイールを装備し、コネクタ支柱においてまたはその付近で接続される。操作時に、そのフロントフォークアセンブリは、そのフレームにおける上端をそのホイールと、その車軸において接続する連結バーを備える。その継ぎ手は、ロック解除し、そのフレームのダウンチューブアセンブリの方向に、そのフロントフォークアセンブリがその継ぎ手の周りで回転することを可能にするように作動され得る。そのフレームのダウンチューブは、好ましくは、互いに間隔を空けられた、2つの空間的に分離した部分を有する。よって、そのフロントフォークアセンブリが、その継ぎ手の周りで回転されると、そのホイールは、その分離した部分の間の領域に折りたたまれ得、それによって、そのフレームの中心へと、そのダウンチューブの2つの間隔を空けて配置された部分を通って、回転する。あるいは、そのホイールおよびフロントフォークアセンブリは、その継ぎ手の周りに折りたたまれる前に、180°回転し得る。
その選択肢的なハンドルバーアセンブリはまた、その折りたたまれた自転車の折りたたまれた寸法を小さくするように働く。特に、そのハンドルバーは、ロックされているが、ロック解除可能な様式でチューブに取り付けられる。その自転車を折りたたむことが望ましい場合、そのハンドルバーは、ロック解除され、下向きに、好ましくは、そのフレームの中心部分の領域内の位置に回転される。好ましい実施形態において、そのハンドルバーは、折りたたむ前に180°完全に回転され、そのハンドルバーは、次いで、ロック解除され、一方のハンドルグリップが、そのフレームの中心部分の左側に接する位置へと下向きに回転され、もう一方のハンドルグリップは、そのフレームの中心部分右側に接している。次いで、ロック可能な継ぎ手を使用して、そのそれぞれのハンドルバーは、互いに向かって内側に折りたたまれ得、そのハンドルグリップが互いに交差するように、十分量、内側に折りたたまれ得る。
その選択肢的リヤホイールアセンブリはまた、その折りたたまれた自転車の折りたたまれた寸法をさらに小さくするように働く。この実施形態において、支柱アセンブリは、そのシートの直ぐ下からそのリヤホイール車軸までの角度において下がる。好ましくは、その支柱アセンブリは、間隔を空けて配置されたバー、または平行なバーを備え、その間に、そのリヤホイールが取り付けられる。そのシートとそのリヤホイール車軸との間の位置において、その支柱アセンブリは、ロッキングアセンブリを備える。そのロッキングアセンブリが解放されると、そのリヤホイールは、その支柱アセンブリの空間を空けて分離したバーの間で上方向に回転する。好ましい実施形態において、この配置が小型であることは、中間スプロケットとともに、二重トランスミッションチェーンを使用することによって増強され得る。チェーンステイは、そのリヤホイールとともに、そのシートに向かって上方向に折りたたまれる。そのチェーンステイおよびそのリヤホイールの折りたたみを容易にするために、そのチェーンリングからスプロケットへのトランスミッションは、2つのスプロケットおよびシャフトによって完全にされ、すなわち、直列で2つの鎖を構成し、これは、さらなるトランスミッション率を生じる。そのシャフトはまた、ピボットとして働き、そのピボットの周りで、そのチェーンステイおよびそのリヤホイールが折りたたまれる。そのフロントチェーンは、そのフロントチェーンリングとその中間スプロケットとの間にある一方、そのシャフトの上には、そのリヤチェーンが、その中間スプロケットとそのリヤスプロケットとの間にあり、そのフロントスプロケットとそのリヤスプロケットとの間の距離を変化させることなく、そのチェーンステイおよびそのリヤホイールとともに、上方向にずれる。この実施形態において、そのリヤホイールは、そのホイールを上方向に折りたたむ場合、その中間スプロケットの周りで回転する。そのチェーンステイは、そのリヤホイールとともに、そのシートに向かって上方向に折りたたみ可能である。自転車運転位置において、動力は、チェーンを介して、ペダルスプロケットからその中間スプロケットへと伝えられ、次いで、第2のチェーンを介して、その中間スプロケットからそのリヤホイール車軸に取り付けられたリヤホイールスプロケットへと伝えられる。そのリヤホイールが取り外される場合、その自転車の長さは、その折りたたまれた位置においてさらに小さくなり得る。
その折りたたまれた自転車の幅を小さくするために、そのペダルはまた、折りたたまれ得る。
本発明の代替的実施形態において、折りたたみ可能な2人乗り用(tandem)自転車が提供される。この配置において、第2のシートは、そのフロントシートの後ろに設置され、第2のセットのペダルが提供される。その2人乗り用配置において、第2のセットのペダルは、必ずしも必要でない。例えば、フットレスト(footrest)は、二人目の乗り手の足を受容するための任意の適切な位置に付加され得るが、好ましくは、第1のペダルの作動構成要素から安全に離れた位置に付加される。さらに、その第2のシートの代わりとして、またはその第2のシートに加えて、他の選択肢的な構成要素(例えば、チャイルドシート、バスケット、ブリーフケースホルダ、ラックなど)が付加され得る。このような構成要素は、その第2のシートと類似の様式および位置で取り付けられ得る。
さらなる実施形態において、その自転車は、そのスプロケットまたはチェーンリングのうちの1つにおいて、トルクを提供するモーターが装備され得る。
より特定すれば、本発明は以下の項目に関し得る。
(項目1)
折りたたみ式自転車であって、以下:
ダウンチューブ;
シートチューブ;
トップチューブ;および
ベアリングチューブ、
を備え、上記ダウンチューブ、シートチューブ、トップチューブおよびベアリングチューブは、互いに対して実質的に固定されている、折りたたみ式自転車。
(項目2)
項目1に記載の折りたたみ式自転車であって、さらに、以下:
折りたたみ可能なフォークアセンブリであって、以下:
フロントホイールフォーク;
上記フロントホイールフォークに旋回可能に連結されたスイングアーム;および
上記フロントホイールフォークに取り外し可能に連結され、そして上記スイングアームに固定されて取り付けられたスターラップ、
を備える、折りたたみ可能なフォークアセンブリ、
を備える、折りたたみ式自転車。
(項目3)
上記スターラップが、ホイールを収容するための大きさにされている、項目2に記載の折りたたみ式自転車。
(項目4)
上記スイングアームまたは上記スターラップのいずれかに取り外し可能に連結されたホイールをさらに備える、項目2に記載の折りたたみ式自転車。
(項目5)
折りたたみ式自転車であって、以下:
ダウンチューブ;
上記ダウンチューブに接続されたシートチューブ;
上記シートチューブに接続されたトップチューブ;ならびに
上記トップチューブおよび上記ダウンチューブに接続されたベアリングチューブ、
を備え、上記ダウンチューブ、シートチューブ、トップチューブおよびベアリングチューブは、互いに対して実質的に固定されている、折りたたみ式自転車。
(項目6)
自転車用の折りたたみ可能なフォークであって、以下:
フロントホイールフォーク;
上記フロントホイールフォークに旋回可能に連結されたスイングアーム;および
上記フロントホイールフォークに取り外し可能に連結され、そして上記スイングアームに固定されて取り付けられたスターラップ、
を備える、折りたたみ可能なフォークアセンブリ。
(項目7)
上記スイングアームまたは上記スターラップのいずれかに取り外し可能に連結されたホイールをさらに備える、項目6に記載の折りたたみ可能なフォーク。
(項目8)
上記スターラップが、ホイールを収容するための大きさにされている、項目6に記載の折りたたみ可能なフォーク。
(項目9)
自転車のフォークを折りたたむ方法であって、上記方法は、以下の工程:
フロントホイールフォークを約180°回転させる工程;
スターラップを上記フロントホイールフォークから取り外す工程であって、上記スターラップは、取り外し可能に連結されたホイールを備える、工程;
上記ホイールが自転車のダウンチューブの間に位置決めされるような位置に、上記スターラップを上記フロントホイールフォークの周りに提供する工程、
を包含する、方法。
(項目10)
上記自転車のダウンチューブが、少なくとも2つのチューブセグメントを備え、そして上記ホイールの一部分が、上記チューブセグメントのうちの2つの間に位置決めされている、項目9に記載の方法。
(項目11)
上記スターラップが、スイングアームに固定されて取り付けられて、そして上記スイングアームが、上記フロントホイールフォークに旋回可能に取り付けられる、項目9に記載の方法。
(項目12)
上記スターラップが、上記スターラップを上記フロントホイールフォークに取り外し可能に連結しているラッチを外すことによって解放される、項目9に記載の方法。
(項目13)
2人乗り用の折りたたみ可能な自転車であって、以下
単一の運転者を受容するような大きさにされたフレーム、
上記フレームに移動可能に連結され、そして上記単一の運転者を受容するような構造にされた、第一のシート;および
上記フレームに取り外し可能に連結され、そして第二の運転者を受容するような構成にされた、第二のシート、
を備え、上記フレームが、上記単一の運転者を受容するような大きさのままである、2人乗り用の折りたたみ可能な自転車。
(項目14)
上記単一の運転者を受容するような大きさにされた上記フレームが、上記単一の運転者のために構成されたフレーム形状を備える、項目13に記載の2人乗り用の折りたたみ可能な自転車。
(項目15)
上記フレーム形状が、以下:
ダウンチューブ;
シートチューブ;
トップチューブ;および
ベアリングチューブ、
を備え、上記ダウンチューブ、シートチューブ、トップチューブおよびベアリングチューブは、互いに対して実質的に固定されている、項目14に記載の2人乗り用の折りたたみ可能な自転車。
(項目16)
項目13に記載の2人乗り用の折りたたみ可能な自転車であって、さらに、以下:
上記フレームに取り外し可能に連結された、少なくとも2つのホイールであって、ホイールベースを形成する、ホイール、
を備え、上記ホイールベースが、単一の運転者のための大きさであり、そして上記第二のシートが上記フレームに取り外し可能に連結される場合に、実質的に変化されないままである、2人乗り用の折りたたみ可能な自転車。
(項目17)
上記ホイールベースが、上記2つのホイールの間の距離を含む、項目16に記載の2人乗り用の折りたたみ可能な自転車。
(項目18)
上記第二のシートが、上記第一のシートの後ろでありかつリヤホイールの前で、上記フレームに取り外し可能に連結されるように構成される、項目13に記載の2人乗り用の折りたたみ可能な自転車。
(項目19)
上記第二のシートが、シートチューブを備え、上記シートチューブが、第一のリアホイールダウンチューブと第二のリアホイールダウンチューブとの間に、ファスナーによって取り外し可能に連結される、項目13に記載の2人乗り用の折りたたみ可能な自転車。
(項目20)
上記第二のシートが、シートチューブを備え、上記シートチューブが、基部を備え、上記基部が、二重のブラケットの第一の部材と第二の部材との間に位置する第二のシート支持体に取り外し可能に接触するように構成されている、項目13に記載の2人乗り用の折りたたみ可能な自転車。
(項目21)
自転車用の折りたたみ可能なホイールアセンブリであって、以下:
第一のダウンチューブ要素;
上記第一のダウンチューブ要素に取り外し可能に連結された、第二のダウンチューブ要素;
上記第二のダウンチューブ要素に取り付けられた、底部ブラケット要素;
上記底部ブラケット要素に取り付けられた、旋回部材;および
上記底部ブラケット要素に取り外し可能に連結された、ホイール、
を備える、折りたたみ可能なホイールアセンブリ。
(項目22)
上記第一のダウンチューブ要素が、少なくとも2つのチューブを備え、そして上記第二のダウンチューブ要素を受容するように構成されている、項目21に記載の折りたたみ可能なホイールアセンブリ。
(項目23)
上記第二のダウンチューブ要素が、少なくとも2つのチューブを備え、そして上記第一のダウンチューブ要素に取り外し可能に連結するためのファスナーを備える、項目21に記載の折りたたみ可能なホイールアセンブリ。
(項目24)
上記底部ブラケット要素が、少なくとも2つのチューブを備え、そして上記ホイールを取り外し可能に受容するように構成されている、項目21に記載の折りたたみ可能なホイールアセンブリ。
(項目25)
項目21に記載の折りたたみ可能なホイールアセンブリであって、前方底部ブラケット要素をさらに備え、上記前方底部ブラケット要素は、シートに取り付けられ、そして上記旋回部材によって、上記底部ブラケット要素に旋回可能に連結されている、折りたたみ可能なホイールアセンブリ。
(項目26)
上記ホイールが、上記旋回部材の周りで旋回し、その結果、上記ホイールの一部分が、上記第一のダウンチューブ要素を構成する少なくとも2つのチューブの間に位置決めされる、項目21に記載の折りたたみ可能なホイールアセンブリ。
(項目27)
上記旋回部材に回転可能に連結されたスプロケットをさらに備える、項目21に記載の折りたたみ可能なホイールアセンブリ。
(項目28)
上記旋回部材に回転可能に連結されたペダルアセンブリをさらに備える、項目21に記載の折りたたみ可能なホイールアセンブリ。
(項目29)
項目21に記載の折りたたみ可能なホイールアセンブリであって、衝撃吸収体をさらに備え、上記衝撃吸収体は、上記第一のダウンチューブ要素、上記第二のダウンチューブ要素、および上記底部ブラケット要素のうちの少なくとも1つに選択的に取り付けられている、折りたたみ可能なホイールアセンブリ。
(項目30)
上記ホイールに動力を供給するように構成された、電気モーターまたは内燃モーターをさらに備える、項目21に記載の折りたたみ可能なホイールアセンブリ。
(項目31)
自転車のホイールアセンブリを折りたたむ方法であって、上記方法は、以下:
第二のシートステイ要素を第一のシートステイ要素から取り外す工程であって、上記第一のシートステイ要素が、間隔を空けた2つの部材から構成される、工程;および
底部ブラケット要素に取り外し可能に連結されたホイールの一部分が、上記間隔を空けた2つの部材の間に位置決めされるように、上記底部ブラケット要素を旋回させる工程、
を包含する、方法。
(項目32)
上記第二のシートステイ要素が、少なくとも2つのチューブを備え、そして上記第一のシートステイ要素に取り外し可能に連結するためのファスナーを備える、項目31に記載の方法。
(項目33)
上記底部ブラケット要素が、少なくとも2つのチューブを備え、そして上記ホイールを取り外し可能に受容するように構成されている、項目31に記載の方法。
(項目34)
前方底部ブラケット要素をさらに備え、上記前方底部ブラケット要素は、シートチューブに取り付けられており、そして旋回部材によって上記底部ブラケット要素に旋回可能に連結されている、項目31に記載の方法。
(項目35)
自転車用の折りたたみ可能なハンドルバーアセンブリであって、以下:
ベアリングチューブに連結された支持部材;
上記支持部材に旋回可能に連結された、第一のハンドルバー要素;
上記支持部材に旋回可能に連結された、第二のハンドルバー要素;ならびに
第一の部分および第二の部分を備えるファスナーであって、上記第一の部分は、上記第一のハンドルバー要素に取り付けられており、そして上記第二の部分は、上記第二のハンドルバー要素に取り付けられている、ファスナー、
を備える、折りたたみ可能なハンドルバーアセンブリ。
(項目36)
上記第一のファスナー部分および上記第二のファスナー部分の各々が、上記第一のハンドルバー要素および上記第二のハンドルバー要素にそれぞれ旋回可能に連結されている、項目35に記載の折りたたみ可能なハンドルバーアセンブリ。
(項目37)
自転車用のハンドルバーアセンブリを折りたたむ方法であって、以下の工程:
第一のハンドルバー要素と第二のハンドルバー要素とを取り外し可能に接合しているファスナーを解放する工程;および
第一のハンドグリップおよび第二のハンドグリップが互いに隣接して位置決めされるように、上記第一のハンドルバー要素および上記第二のハンドルバー要素を旋回させる工程、
を包含する、方法。
(項目38)
上記第一のハンドグリップおよび第二のハンドグリップが、トップチューブとダウンチューブとの間に位置決めされるように、上記第一のハンドルバー要素および上記第二のハンドルバー要素が旋回される、項目37に記載の方法。
本発明のこれらおよび他の特徴および利点は、以下の発明の詳細な説明を、添付の図面とともに検討することによって理解される。その図面において、類似の参照番号は、全体を通して類似の部品に言及する。
図面のいくつかまたは全ては、例示目的のための模式例であり、示される要素の実際の相対サイズまたは位置を必ずしも示す必要はないことが認識される。
図1は、本発明に従う折りたたみ式自転車の一実施形態の側面図である。 図2は、本発明に従う折りたたみ式自転車の第2の実施形態、すなわち2人乗り用折りたたみ式自転車の側面図である。 図3は、本発明に従う、図2に例示される実施形態の詳細図であり、第2のシートチューブを示す。 図4は、図1の例示される実施形態の側面図であり、折りたたまされた構成において、本発明に従う折りたたみ式自転車を例示する。 図5は、図2に例示される実施形態の詳細図であり、本発明に従うその折りたたみ式ハンドルバーアセンブリを示す。 図6は、図5に例示される実施形態の詳細図であり、折りたたまれた構成において、本発明に従うその折りたたみ式ハンドルバーアセンブリを示す。 図7は、図2に例示される実施形態の詳細図であり、部分的に折りたたまれた構成において、本発明に従うその折りたたみ式フロントフォークアセンブリを示す。 図8は、図7に例示される実施形態の詳細図であり、完全に折りたたまれた構成において、本発明に従うそのフロントフォークアセンブリを示す。 図9は、図2に例示される実施形態の詳細図であり、本発明に従う折りたたみ式リヤホイールアセンブリを示す。 図10は、図9に例示される実施形態の詳細図であり、部分的に折りたたまれた構成において、本発明に従うそのリヤホイールアセンブリを示す。 図11は、本発明に従う折りたたみ式自転車のスプロケット配置の詳細図である。 図12は、図11に示される線12−12に沿って切り取られた、本発明に従う折りたたみ式自転車のスプロケット配置の断面詳細図である。 図13は、本発明に従う折りたたみ式自転車の一実施形態の側面図である。 図14は、図13に例示される実施形態の側面図であり、部分的に折りたたまれた構成において、本発明に従う折りたたみ式自転車を例示する。 図15は、本発明に従う折りたたみ式自転車の一実施形態の側面図である。 図16は、本発明に従う折りたたみ式自転車の一実施形態の側面図である。 図17は、本発明に従う折りたたみ式自転車のモーター付き実施得形態の側面図である。 図18は、本発明に従う2人乗り用折りたたみ式自転車の側面図である。 図19は、本発明に従うペダルの斜視図である。 図20は、本発明に従うペダルの斜視図である。
(発明の詳細な説明)
以下の項において、本発明は、添付の図面を参照して例示によって詳細に示される。この説明全体を通して、示される好ましい実施形態および例は、本発明に対する限定としてではなく、例示とみなされるべきである。本明細書中に示されるように、本発明は、本明細書中に記載される発明の実施形態のいずれか1つ、および任意の等価物に言及する。さらに、この文書全体を通して、「本発明」の種々の実施形態に対する言及は、全ての本願実施形態または方法が、参照される特徴をそなえなければならないことを意味しない。
本発明は、折りたたみ式自転車に関し、この折りたたみ式自転車は、その折りたたまれた状態および折りたたまれていない状態の両方において、互いに同じ関係で種々の構成要素を提供するフレーム外形を備える。本明細書中に規定されるように、「フレーム外形」とは、自転車フレームを構成するチューブの配置をいう。その自転車フレームを備えるチューブ間の関係は、特定の「フレーム外形」全体を作り出す。本発明の折りたたみ式自転車の1つの特徴は、そのフレームコアが、好ましくは、一体式構成である(すなわち、動く部品を接続する継手を含まない)ことである。
図1、13および15を参照すると、本発明の折りたたみ式自転車10の一実施形態が例示される。本発明のこの実施形態は、コアフレームアセンブリ12を備え、このコアフレームアセンブリは、一本のダウンチューブ20(または好ましくは間隔を空けて分離したダウンチューブ165、170)、シートチューブ25、トップチューブ15およびベアリングチューブ30を備え、ここでそのダウンチューブ20、シートチューブ25、トップチューブ15およびベアリングチューブ30は、互いに実質的に固定した関係にある。そのダウンチューブ165、170は、好ましくは、それらの間にギャップを有し、そのギャップは、フロントホイール175とほぼ同じ幅であるか、またはわずかに広い幅である。そのダウンチューブ165、170は、互いに平行であってもよいし、角度がついていてもよいし、または弯曲していてもよい。あるいは、弯曲を有する一本のダウンチューブが提供されるか、または中間部で分離された一本のチューブが提供され、それが上方向に折りたたまれる場合に、そのフロントホイールを収容する形状にされる。
本発明の第2の実施形態は、図2および18に例示される。この実施形態において、2人乗り用折りたたみ式自転車70が提供される。この実施形態は、その単一のシート実施形態10において見出される種々の特徴を備え、ダウンチューブ20または空間的に分離したダウンチューブ165、170のコアフレームアセンブリ、シートチューブ25、トップチューブ15およびベアリングチューブ30を備え、ここでそのダウンチューブ165、170、シートチューブ25、トップチューブ15およびベアリングチューブ30は、実質的に互いに対して固定されている。図2、3および18を参照すると、その2人乗り用折りたたみ式自転車70は、第2のシート40および第2のシートチューブファスナー50とともに、第2のシートチューブ45を備える。好ましくは、その第2のシートチューブファスナー50は、クイックリリースファスナーであるが、ファスナー(例えば、ラッチ、ロック、および適切なナットとボルトの構成)が使用されてもよい。
必要に応じて、1人乗り自転車は、2人乗り用折りたたみ自転車へと、その第2のシートチューブ45を、その上部シートステイ85を備えるその2つの上部シートステイチューブ75、80の間に配置することによって、変換され得る。その上部シートステイ85には、その第2のシートチューブファスナー受容部55が取り付けられ、この受容部は、その第2のシートチューブファスナー50を受容するようなサイズにされる。その第2のシートチューブ45の下端は、その第2のシートチューブ支持体60に対して配置され、図3に示されるように、その2つの前方ボトムブラケットチューブ90、95の間に位置する。この様式で、その折りたたみ式自転車10は、そのフレーム寸法を変化させることも、その自転車ホイールベースを変化させることもなく、2人乗り用折りたたみ式自転車70に変換され得る。
ここで図18を参照すると、その2人乗り用折りたたみ式自転車70は、必要に応じて、中間スプロケットアセンブリ110と連結した第2のペダルアセンブリ107を備え得る。図11および18に示されるように、好ましくはその第2のペダルアセンブリ107は、その第1のペダルアセンブリ100と同じ角度位置において整列される。あるいは、1対のフットレスト(示さず)は、適切で、安全かつ便利な場合、フレームの何れの場所にも(例えば、その2つの前方ボトムブラケットチューブ90、95の上に)取り付けられ得る。
その2人乗り用自転車のさらなる実施形態において、その第2のシート40は、シート40の乗り手が後ろに向き得るように配置される。選択肢的なフットレストは、その後ろに向いている乗り手のシートに快適な休息場所を与えるように提供され得る。同様に、そのシート40は、前に向いているか、または後ろに向いていると、乗り手の快適性を増す背もたれのような快適さが備えられ得る。
図4および14を参照すると、本発明の折りたたみ式自転車10は、折りたたまれた構成において例示される。種々の選択肢的な折りたたみ特徴が、その図面に例示されている。図1、4、13および15における例示された実施形態において、その選択肢的な折りたたみ要素は、折りたたみ式フロントフォークアセンブリ115、折りたたみ式リヤホイールアセンブリ120および折りたたみ式ハンドルバーアセンブリ125を備える。さらに、そのシート35は、必要に応じて、シートロック123を解放し、そのシート取り付けチューブ124が、そのシートチューブ25の中へ滑るようにすることによって、シートチューブ25の中へと引っ込められ得る。よって、好ましくは、そのシート取り付けチューブ124は、シートチューブ25の寸法よりも小さな寸法を有し、シート取り付けチューブ124が、シートチューブ25内で動くことを可能にする。
図5および6に示されるように、その折りたたみ式ハンドルバーアセンブリ125は、ベアリングチューブ30(ヘッドチューブともいわれる)と回転可能に連結された、取り付け部材135(グーズネックともいわれる)を備える。そのハンドルバー140は、ハンドルバーピボット軸130の周りにその取り付け部材135に取り付けられる。好ましくは、そのハンドルバー140は、図1、2および5に例示されるような上を向いた位置から、例えば、図3、4および6に示されるような折りたたまれた下向きの位置まで回転され得る。任意の機構が使用され得、そのハンドルバー140が、自転車運転位置で上を向いて、かつ安全なステアリングを可能にするように十分に固定され、その後、解放可能であり、かつ自転車10、70の折りたたまれた構成において、下向きに回転されるようにする。一実施形態において、そのハンドルバーチューブとその取り付け部材135との間の摩擦ばめが存在し、その取り付け部材は、そのハンドルバーチューブを受容するために適した形状にされる。別の実施形態において、ラッチング機構が提供され、別の実施形態においては、ラチェット機構が提供される。そのハンドルバー要素140は、それらのそれぞれの端部でチュービング、およびハンドル142を備え得る。
一実施形態において、そのそれぞれのハンドルバー要素140は、その自転車の折りたたまれたサイズをさらに小さくするために、内側に同様に折りたたまれ得る。この実施形態において、ハンドルバーピボット軸130は、ハンドルバー140とその取り付け部材135の交点で提供される。一実施形態のハンドルバーラッチ145(これは、ハンドルバー要素140を解放する)は、フックアンドループ(hook−and−loop)型であるが、他の型のラッチ(例えば、クイック−リリースラッチ、または任意の他の型の適切なラッチもしくはファスナー)が使用されてもよい。
ここで図6、7および8を参照すると、そのハンドルバーアセンブリ125を折りたたむ好ましい方法は、ここで記載される。好ましくは、そのハンドルバーアセンブリ125全体は(そのフロントホイール175とともに)、そのアセンブリ全体が、後ろ向きの方向にあるように、約180°回転される。この回転を達成するために、その取り付け部材135は、所望される場合、そのベアリングチューブ30内で回転される。この回転力は、フロントホイール175へと、その関連づけられた取り付け要素を介して伝えられる。この最初の回転の後に、次いで、そのハンドルバーラッチ145は解放されて、各ハンドルバーチューブ140が、その関連づけられた要素とともに、それら自体のハンドルバーピボット軸130の周りに回転するようにされる。本発明の一実施形態において、一方のハンドルバーピボット軸130は、45°の角度を付けられ、他方のハンドルバーピボット軸130は、35°の角度を付けられ、そのハンドルバーチューブ140の端部に取り付けられたそのハンドル142が、トップチューブ15の下に折りたたまれた位置にある場合、互いに接触しないようにされる。
図7および8を参照すると、そのフロントフォークアセンブリ115が例示される。図1に示されるような自転車運転時の構成において、そのフロントフォークアセンブリ115は、そのフロントホイール175を、軸を介してそのフレーム12に装備する。フロントフォークアセンブリ115の要素の任意の配置が使用され得、そのフロントホイール115を回転可能に装備し、必要に応じて、そのフロントホイールが、折りたたみ操作時にそのフレーム12に向かって動くことを可能にすることが認識される。例示された実施形態において、そのフロントフォークアセンブリ115は、そのフレーム12のベアリングチューブ30にピボット可能に取り付けられる。これは、折りたたみ式自転車10が、図1に示されるように、自転車運転時の構成において配置される場合、前方に延びるフロントフォーク150を備える。取り外し可能かつ回転可能に連結されたフロントホイール175を有するスイングアーム155が、フォークピボット軸157の周りに、そのフロントフォーク150にピボット可能に取り付けられる。スターラップラッチ(stirrup latch)180を備えるスターラップ160は、そのスイングアーム155に固定して取り付けられる。そのスイングアーム155およびそのスターラップ160はともに、そのフロントホイール175の周りに配置される。
好ましい実施形態において、そのスターラップラッチ180は、バネロックであるが、他の型のラッチおよびファスナー(例えば、フックアンドループファスナー、またはクイックリリースファスナー)が使用されてもよい。そのフロントフォークアセンブリ115は、そのフロントフォーク150を約180°回転させることによって折りたたまれる。そのスターラップラッチ180は、次いで、解放され、そのスターラップ160を自由にし、図7および8に示されるように、乗り手が、そのスイングアーム155およびスターラップ160を、フォークピボット軸157の周りに回転させるようにする。
折りたたまれた構成の例は、図4および8に例示される。折りたたまれた構成において、そのフロントホイール175は、フレームに向かって動く。これは、好ましくは、そのダウンチューブ20を備える2つのダウンチューブ要素165,170の間に配置される。
別の実施形態のフロントフォークアセンブリ115は、図15、16および17に示されるように、2つのバネまたは衝撃吸収体14を備え得る。これらのバネまたは衝撃吸収体は、フロントフォーク150とそのスターラップ160および/もしくはスイングアーム155のいずれかとの間に取り付けられる。その2つのバネもしくは衝撃吸収体14は、その折りたたみ式自転車10がその運転モードにおいて構成されている場合、そのスターラップラッチ180をその閉じた位置で固定する。そのバネまたは衝撃吸収体14は、任意の型(例えば、エラストマー型、液圧式または空気圧式)であり得る。1以上のバネまたは衝撃吸収体14が、フロントフォークアセンブリ115内のどこの場所でも、任意の適切な位置に取り付けられ得ることが理解される。
その折りたたみ式フロントフォークアセンブリ155の1つの特徴は、ベアリングチューブの「ヘッド角」が、非折りたたみ自転車のヘッド角と同様に構成され得ることである。そのヘッド角は、フロントフォークすくい角を決定し、このフロントフォークすくい角は、ステアリングの「素早さ」に影響を及ぼす。すなわち、本発明のステアリングは、急なフロントフォークすくい角を生じる、より急なヘッド角を有する従来の折りたたみ自転車とは対照的に、非折りたたみ自転車に慣れた乗り手に自然であると感じさせる。これは、比較的素早いステアリングを作り出すために提供され、所望される場合、不安定な、または乱れたステアリングの感触を生じる。
任意のリヤホイールアセンブリ120もまた提供される。リヤホイールをフレーム12に対して回転可能に設置するため、および所望されるように1つ以上のシートアセンブリを設置するために適切な任意のアセンブリが、使用され得る。図示される実施形態において、シートステイは、上部シートステイ85および下部シートステイ185に分割される。上部シートステイ85は、必要に応じて、2つの上部シートステイチューブ75、80を有し得る(図3に示される)。下部シートステイ185は、図3、9、および10に示されるように、必要に応じて、2つの下部シートステイチューブ190、195を備える。下部シートステイ185に、シートステイファスナーレシーバー215が取り付けられており、このレシーバーは、シートステイファスナー210を受容するような大きさにされる。この様式で、下部シートステイ185は、上部シートステイ85に取り外し可能に連結される。好ましくは、シートステイファスナー210は、迅速に解放される型であるが、他の適切なファスナーまたはラッチが使用され得る。また、レシーバーに対するファスナーの配置は、切り替えられ得る。
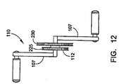
図3、9、および10に示されるように、本発明の1つの特徴は、底部ブラケットが、前方底部ブラケット(2つの前方底部ブラケットチューブ90、95を備える)と後方底部ブラケット(2つの後方底部ブラケットチューブ200、205を備える)とに分割されることである。これらのチューブは、ピボット220によって旋回可能に接続される。中心スプロケットアセンブリ110が、ピボット220の周りに回転可能に連結される。中心スプロケットアセンブリ110は、前方チェーン225によって前方スプロケット105に接続されており、この前方チェーンは、中心スプロケットアセンブリ110の上で前方スプロケット105から第一の中心スプロケット112へと延びる(図11および12に記載されるとおり)。後方チェーン230は、第二の中心スプロケット114を後方ハブ235に接続し、この後方ハブは、1つ以上のスプロケット237を備え得、異なるギア比を提供する。
好ましい2人乗り用自転車の実施形態において、第一のスプロケット105の直径は、第一の中心スプロケット112の直径と同じであり、そして第二の中心スプロケット114の直径は、後方ハブ235上の1つ以上のスプロケット237の直径より大きいが、ペダルアセンブリ100、107のいずれかにおいて発生したペダルの力をリヤホイール240に伝えることを可能にする、任意のスプロケットサイズが使用され得る。
本発明の1つの実施形態において、後方ハブ235は、内部ギアを備え得るか、または後方ハブ235は、外部ギアおよび変速装置を備えて、これらのギアの間でチェーンを移動させ得る。さらに、前方スプロケット105は、図示における2つのスプロケット112、114以外に、さらなるスプロケットを備え得る。この様式で、さまざまなギア比が提供され得る。本発明の1つの特徴は、2つのスプロケットアセンブリ105、110が、ほとんどの自転車速度の要件に適切であり得るギア比を提供することである。
チェーン225および230は、それぞれのスプロケット105、110の間で力を伝達するための機構を提供すると記載されるが、ハブ機構235の力が、乗る人の足または手から適切に駆動されるホイールへと力が適切に伝達されることを可能にする任意の機構を介して伝達され得ることが注目されるべきである。例えば、力は、ペダル100または107から、駆動シャフトを介して、リヤホイール240またはフロントホイール175に伝達され得る。このような駆動シャフトシステムは、広範に公知であり、そして例えば、エンジンから1つ以上のホイールへと推進力を伝達するために、モーター付きの乗り物において使用されている。あるいは、電力供給源65が、推進力を提供するために備えられ得る。電力源65は、電気モーターまたは内燃モーターを備え得、これらは、好ましい実施形態において、折りたたみ可能な自転車10または2人乗り用の折りたたみ可能な自転車70の折りたたまれた寸法を増加させない。
再度図3、9および10を参照して、リヤホイールアセンブリ120を折りたたむ方法が、記載される。シートステイファスナー210がシートステイファスナーレシーバー215から取り外されると、リヤホイール240が、ピボット220の周りでシート35の方へと回転される。前方チェーン225は、前方スプロケット105と後方スプロケット110との間に位置決めされたままであり、一方で、後方チェーン230は、後方スプロケット110と後方ハブ230との間に位置決めされたままである。2つの後方底部ブラケットチューブ200、205は、リヤホイール240とともに上方に移動する。この構成要素の配置は、折りたたみ式プロセスの間、前方スプロケット105と後方スプロケット110との間の寸法を、実質的に一定に維持して、それぞれのチェーン225、230におけるあらゆるたるみを回避する。従って、折りたたみ可能な自転車10の折りたたみ式および展開の間にチェーン225、230が外れることが不可能である。本発明の代替の実施形態は、チェーンの代わりに、駆動ベルト(好ましくは、ギア付きの駆動ベルト)を使用し得る。
図4に示されるように、完全に折りたたまれると、リヤホイール240は、シート35に隣接して位置決めされる。ロックデバイスが、リヤホイール240を折りたたまれた位置に維持するために使用され得る。これは、折りたたまれた自転車10のサイズを大いに減少させ、この自転車が、大きい鞄、リュックサックにおいて運ばれ、そして小さい乗り物に容易に積み込まれることを可能にする。
さらに、折りたたみ可能な自転車10または2人乗り用の折りたたみ可能な自転車70の幅を減少させるために、ペダルもまた折りたたまれ得る。さらに、折りたたみ可能な自転車10、または2人乗り用の折りたたみ可能な自転車70は、折りたたまれた寸法を増加させることなく、電気モーターまたは内燃モーターを備えられ得る。
提供されたフレームアセンブリ12を使用してホイールが適切に折りたたまれる、任意の大きさのホイール直径が使用され得る。例えば、フロントホイール175とリヤホイール240との両方が、直径14インチまたは16インチであり得るが、他のホイールサイズ(たとえば、直径23インチまたはほかのサイズなど)が使用され得る。さらに、折りたたみ可能な自転車10および2人乗り用の折りたたみ可能な自転車70は、ブラケット、ライト、フェンダー、キックスタンド、および他の設備を備え得る。さらに、フレームは、小児、または大きい大人に適合するような大きさにされ得るか、あるいは図16に示されるように、女性用自転車に伝統的に提供されるように、トップチューブ15が、ダウンチューブ20により近く位置決めされ得る。
ここで図19から20を参照すると、折りたたみ可能なペダルアセンブリ11が図示されている。ペダルクランク16に、ペダルマウント51が取り付けられている。細いペダル部材52が、ペダルマウント51に連結される。細いペダル部材52またはペダルマウント51のいずれかが、ペダルクランク16の周りで回転し得ることが理解される。外側フットレスト57が、ペダル旋回軸58の周りに旋回可能に連結され、そして折りたたまれた位置にある場合に、図20に示されるように、折りたたみ可能なペダルアセンブリ11の幅をかなり減少させる。展開された位置にある場合に、図19に示されるように、外側フットレスト57は、細いペダル部材52と組み合わせて、運転者の足を受容するためのかなりの面積を提供する。
従って、折りたたみ可能な自転車が提供されることがわかる。当業者は、本発明が、上記実施形態以外に実施され得ることを理解し、これらの実施形態は、説明の目的で記載されており、そして限定の目的ではない。本明細書および添付の図面に記載される説明および実施例は、本発明の実施形態を記載するのみである。本明細書および図面は、この特許文献の範囲を排他的に限定するとは意図されない。上記実施形態以外の多くの設計が、添付の特許請求の範囲の文言的範囲および/または法律的範囲内にあり、そして本発明は、特許請求の範囲によってのみ限定される。本明細書において議論された特定の実施形態に対する種々の均等物が、同様に、本発明を実施し得ることが、注目される。
10 折りたたみ式自転車
12 コアフレームアセンブリ
15 トップチューブ
20 ダウンチューブ
25 シートチューブ
30 ベアリングチューブ

Claims (1)

  1. 折りたたみ式自転車であって、以下:
    ダウンチューブ;
    シートチューブ;
    トップチューブ;および
    ベアリングチューブ、
    備え、該ダウンチューブ、シートチューブ、トップチューブおよびベアリングチューブは、互いに対して実質的に固定されている、折りたたみ式自転車。
JP2009192630A 2002-12-18 2009-08-21 折りたたみ自転車 Expired - Fee Related JP5032537B2 (ja)

Applications Claiming Priority (6)

Application Number Priority Date Filing Date Title
SI200200308A SI21365A (sl) 2002-12-18 2002-12-18 Sklopljivo kolo
SIP-200200308 2002-12-18
PCT/IB2003/001243 WO2003086848A1 (en) 2002-04-15 2003-03-03 Folding bicycle
IBPCT/IB03/01243 2003-03-03
US10/461,017 US7229089B2 (en) 2002-04-15 2003-06-12 Folding bicycle
US10/461,017 2003-06-12

Related Parent Applications (1)

Application Number Title Priority Date Filing Date
JP2005502443A Division JP4658804B2 (ja) 2002-12-18 2003-12-12 折りたたみ自転車

Related Child Applications (1)

Application Number Title Priority Date Filing Date
JP2012000635A Division JP2012091788A (ja) 2002-12-18 2012-01-05 折りたたみ自転車

Publications (3)

Publication Number Publication Date
JP2010001018A true JP2010001018A (ja) 2010-01-07
JP2010001018A5 JP2010001018A5 (ja) 2011-08-04
JP5032537B2 JP5032537B2 (ja) 2012-09-26

Family

ID=41583081

Family Applications (3)

Application Number Title Priority Date Filing Date
JP2005502443A Expired - Fee Related JP4658804B2 (ja) 2002-12-18 2003-12-12 折りたたみ自転車
JP2009192630A Expired - Fee Related JP5032537B2 (ja) 2002-12-18 2009-08-21 折りたたみ自転車
JP2012000635A Pending JP2012091788A (ja) 2002-12-18 2012-01-05 折りたたみ自転車

Family Applications Before (1)

Application Number Title Priority Date Filing Date
JP2005502443A Expired - Fee Related JP4658804B2 (ja) 2002-12-18 2003-12-12 折りたたみ自転車

Family Applications After (1)

Application Number Title Priority Date Filing Date
JP2012000635A Pending JP2012091788A (ja) 2002-12-18 2012-01-05 折りたたみ自転車

Country Status (25)

Country Link
EP (2) EP2060480A3 (ja)
JP (3) JP4658804B2 (ja)
KR (1) KR100920263B1 (ja)
CN (1) CN100408418C (ja)
AT (1) ATE422462T1 (ja)
AU (1) AU2003296681B2 (ja)
BR (1) BR0317515A (ja)
CA (1) CA2509674C (ja)
CU (1) CU23457A3 (ja)
DK (1) DK1575823T3 (ja)
EA (1) EA008234B1 (ja)
EG (1) EG24492A (ja)
ES (1) ES2320653T3 (ja)
GE (1) GEP20084389B (ja)
HR (1) HRP20050752B1 (ja)
IL (1) IL169079A (ja)
MX (1) MXPA05006542A (ja)
NO (1) NO325574B1 (ja)
NZ (1) NZ540687A (ja)
PL (1) PL209380B1 (ja)
RS (1) RS51765B (ja)
SI (1) SI1575823T1 (ja)
UA (1) UA87451C2 (ja)
WO (1) WO2004054871A2 (ja)
ZA (1) ZA200504680B (ja)

Cited By (1)

* Cited by examiner, † Cited by third party
Publication number Priority date Publication date Assignee Title
JP2012153353A (ja) * 2011-01-27 2012-08-16 Toshio Suzuki スプロケット3箇所付き自転車

Families Citing this family (8)

* Cited by examiner, † Cited by third party
Publication number Priority date Publication date Assignee Title
DE102007037648B4 (de) 2007-08-09 2010-11-25 Topeak, Inc. Faltrad
DE102010042570B4 (de) 2010-10-18 2012-07-26 Jörg Funke Falt- und teilweise zerlegbares Fahrrad
HUP1100396A2 (en) 2011-07-22 2013-01-28 Gabor Gerencser Foldable bicycle
DE202012002736U1 (de) 2012-03-13 2012-05-23 Markus Hartmann Faltrad
TWI592326B (zh) * 2016-03-01 2017-07-21 洪銚亨 折疊車及用於折疊車的折疊機構
KR102303618B1 (ko) 2017-02-24 2021-09-24 아루아나 에너지아 에스/에이 접이식 타원형 자전거의 개량
US11084551B1 (en) 2020-04-22 2021-08-10 Peter Stull Foldable recumbent tricycle frame
IT202000014527A1 (it) * 2020-06-17 2021-12-17 Rosario Cuda Trasmissione di bicicletta

Citations (8)

* Cited by examiner, † Cited by third party
Publication number Priority date Publication date Assignee Title
JPS5225342A (en) * 1975-08-15 1977-02-25 Taku Sasagawa Foldable bicycle for reducing width to half
JPS57205284A (en) * 1981-06-08 1982-12-16 Kikushirou Hashimoto Folding type bicycle
JPS628894U (ja) * 1985-07-02 1987-01-20
JPH01175587A (ja) * 1987-12-28 1989-07-12 Giorgi Gianfranco 折畳み可能な自転車
JPH01237277A (ja) * 1988-03-18 1989-09-21 Seiichi Ogawa 自転車
JPH0699871A (ja) * 1992-09-17 1994-04-12 Fuji Heavy Ind Ltd 携帯用自転車
JPH09207858A (ja) * 1996-02-05 1997-08-12 Matsushita Electric Ind Co Ltd 自転車
GB2373770A (en) * 2001-03-30 2002-10-02 Atb Sales Ltd Folding bicycle

Family Cites Families (13)

* Cited by examiner, † Cited by third party
Publication number Priority date Publication date Assignee Title
GB526773A (en) * 1939-03-31 1940-09-25 Andre Jules Marcelin Improvements in or relating to velocipedes
FR1011990A (fr) * 1949-05-11 1952-07-02 Bicyclette repliable
US3710883A (en) * 1971-10-22 1973-01-16 P Rizzo Folding motorcycle or the like
US4029326A (en) * 1976-01-21 1977-06-14 Blow Jr James H Bicycle construction
US4433852A (en) * 1981-02-12 1984-02-28 Hon Corporation Foldable and portable vehicle
JPS59169286U (ja) * 1983-04-27 1984-11-13 山村 茂 折りたたみ自転車
CN2050024U (zh) * 1988-07-04 1989-12-27 张汉清 便携式自行车
JPH0358882U (ja) * 1989-10-16 1991-06-10
DE4313832A1 (de) * 1993-04-28 1994-11-03 Markus Riese Klappbarer Fahrradrahmen
JPH10119866A (ja) * 1996-10-21 1998-05-12 Kikuo Kondou 自転車の折り畳み式ハンドル
CN2352431Y (zh) * 1998-09-30 1999-12-08 刘尚明 便携式自行车
HRP20100554C1 (hr) * 2002-04-15 2015-11-06 Studio Moderna Sa Sklopivi bicikl
KR100650947B1 (ko) * 2004-04-14 2006-11-29 주식회사 이지업 다기능 자전거

Patent Citations (8)

* Cited by examiner, † Cited by third party
Publication number Priority date Publication date Assignee Title
JPS5225342A (en) * 1975-08-15 1977-02-25 Taku Sasagawa Foldable bicycle for reducing width to half
JPS57205284A (en) * 1981-06-08 1982-12-16 Kikushirou Hashimoto Folding type bicycle
JPS628894U (ja) * 1985-07-02 1987-01-20
JPH01175587A (ja) * 1987-12-28 1989-07-12 Giorgi Gianfranco 折畳み可能な自転車
JPH01237277A (ja) * 1988-03-18 1989-09-21 Seiichi Ogawa 自転車
JPH0699871A (ja) * 1992-09-17 1994-04-12 Fuji Heavy Ind Ltd 携帯用自転車
JPH09207858A (ja) * 1996-02-05 1997-08-12 Matsushita Electric Ind Co Ltd 自転車
GB2373770A (en) * 2001-03-30 2002-10-02 Atb Sales Ltd Folding bicycle

Cited By (1)

* Cited by examiner, † Cited by third party
Publication number Priority date Publication date Assignee Title
JP2012153353A (ja) * 2011-01-27 2012-08-16 Toshio Suzuki スプロケット3箇所付き自転車

Also Published As

Publication number Publication date
KR100920263B1 (ko) 2009-10-05
DK1575823T3 (da) 2009-06-08
WO2004054871A8 (en) 2004-10-28
CA2509674A1 (en) 2004-07-01
KR20050084399A (ko) 2005-08-26
BR0317515A (pt) 2005-11-16
NO20052869L (no) 2005-09-16
EG24492A (en) 2009-08-16
CU23457A3 (es) 2009-12-01
PL378031A1 (pl) 2006-02-20
RS51765B (sr) 2011-12-31
AU2003296681A1 (en) 2004-07-09
RS20050706A (sr) 2008-09-29
AU2003296681B2 (en) 2007-04-05
JP2006511397A (ja) 2006-04-06
ZA200504680B (en) 2006-03-29
WO2004054871A3 (en) 2004-09-16
UA87451C2 (ru) 2009-07-27
IL169079A (en) 2014-05-28
EP1575823A2 (en) 2005-09-21
HK1087387A1 (zh) 2006-10-13
ES2320653T3 (es) 2009-05-27
NO20052869D0 (no) 2005-06-13
HRP20050752A2 (en) 2006-11-30
CA2509674C (en) 2010-11-23
EA008234B1 (ru) 2007-04-27
ATE422462T1 (de) 2009-02-15
EP2060480A3 (en) 2010-08-04
NO325574B1 (no) 2008-06-23
JP5032537B2 (ja) 2012-09-26
EP1575823B1 (en) 2009-02-11
NZ540687A (en) 2007-06-29
GEP20084389B (en) 2008-06-10
CN100408418C (zh) 2008-08-06
PL209380B1 (pl) 2011-08-31
JP4658804B2 (ja) 2011-03-23
JP2012091788A (ja) 2012-05-17
HRP20050752B1 (hr) 2014-02-14
CN1738742A (zh) 2006-02-22
WO2004054871A2 (en) 2004-07-01
MXPA05006542A (es) 2006-03-16
EA200500992A1 (ru) 2005-12-29
SI1575823T1 (sl) 2009-06-30
EP2060480A2 (en) 2009-05-20

Similar Documents

Publication Publication Date Title
US7229089B2 (en) Folding bicycle
JP5032537B2 (ja) 折りたたみ自転車
US20050001404A1 (en) Folding bicycle apparatus and method
JP2006511397A5 (ja)
EP1638835B1 (en) Folding bicycle apparatus and method
HK1129874A (en) Folding bicycle
HK1087387B (en) Folding bicycle
HK1122774A (en) Folding bicycle
HK1069364B (en) Folding bicycle

Legal Events

Date Code Title Description
A521 Request for written amendment filed

Free format text: JAPANESE INTERMEDIATE CODE: A523

Effective date: 20100816

A521 Request for written amendment filed

Free format text: JAPANESE INTERMEDIATE CODE: A523

Effective date: 20110622

A977 Report on retrieval

Free format text: JAPANESE INTERMEDIATE CODE: A971007

Effective date: 20110930

A131 Notification of reasons for refusal

Free format text: JAPANESE INTERMEDIATE CODE: A131

Effective date: 20111005

A521 Request for written amendment filed

Free format text: JAPANESE INTERMEDIATE CODE: A523

Effective date: 20120105

TRDD Decision of grant or rejection written
A01 Written decision to grant a patent or to grant a registration (utility model)

Free format text: JAPANESE INTERMEDIATE CODE: A01

Effective date: 20120605

A01 Written decision to grant a patent or to grant a registration (utility model)

Free format text: JAPANESE INTERMEDIATE CODE: A01

A61 First payment of annual fees (during grant procedure)

Free format text: JAPANESE INTERMEDIATE CODE: A61

Effective date: 20120628

R150 Certificate of patent or registration of utility model

Free format text: JAPANESE INTERMEDIATE CODE: R150

FPAY Renewal fee payment (event date is renewal date of database)

Free format text: PAYMENT UNTIL: 20150706

Year of fee payment: 3

LAPS Cancellation because of no payment of annual fees