JP2010000278A - 洗濯乾燥機 - Google Patents

洗濯乾燥機 Download PDF

Info

Publication number
JP2010000278A
JP2010000278A JP2008162902A JP2008162902A JP2010000278A JP 2010000278 A JP2010000278 A JP 2010000278A JP 2008162902 A JP2008162902 A JP 2008162902A JP 2008162902 A JP2008162902 A JP 2008162902A JP 2010000278 A JP2010000278 A JP 2010000278A
Authority
JP
Japan
Prior art keywords
drying
air
heat
water
exhaust
Prior art date
Legal status (The legal status is an assumption and is not a legal conclusion. Google has not performed a legal analysis and makes no representation as to the accuracy of the status listed.)
Granted
Application number
JP2008162902A
Other languages
English (en)
Other versions
JP4900330B2 (ja
Inventor
Kunihiro Tsuruta
邦弘 鶴田
Hiromi Hirota
弘美 広田
Current Assignee (The listed assignees may be inaccurate. Google has not performed a legal analysis and makes no representation or warranty as to the accuracy of the list.)
Panasonic Corp
Original Assignee
Panasonic Corp
Priority date (The priority date is an assumption and is not a legal conclusion. Google has not performed a legal analysis and makes no representation as to the accuracy of the date listed.)
Filing date
Publication date
Application filed by Panasonic Corp filed Critical Panasonic Corp
Priority to JP2008162902A priority Critical patent/JP4900330B2/ja
Publication of JP2010000278A publication Critical patent/JP2010000278A/ja
Application granted granted Critical
Publication of JP4900330B2 publication Critical patent/JP4900330B2/ja
Expired - Fee Related legal-status Critical Current
Anticipated expiration legal-status Critical

Links

Images

Landscapes

  • Main Body Construction Of Washing Machines And Laundry Dryers (AREA)
  • Detail Structures Of Washing Machines And Dryers (AREA)

Abstract

【課題】ヒートポンプ装置を安定に動作させて、乾燥時のシワ低減と騒音の低減を実現する。
【解決手段】空気循環路29を流れる乾燥用空気の熱を放出する排熱手段30と、洗濯、すすぎ、乾燥の各工程を実行する制御手段40とを備え、前記排熱手段30は、乾燥用空気を排気する開閉自在な排気部31と、乾燥用空気を冷却する循環冷却部32とを有し、前記制御手段40は、乾燥運転を開始してから第1の所定時間(t1)後に送風機26の風量を増加させるとともに、乾燥用空気を前記空気循環路29からの排気から循環冷却に切り替えるようにしたものである。
【選択図】図1

Description

本発明は、乾燥機能を備えた洗濯乾燥機に関するものである。
従来、この種の洗濯乾燥機は、除湿乾燥手段にヒートポンプ装置を用いたものが考えられている(例えば、特許文献1参照)。図10は、ヒートポンプ装置を用いた衣類乾燥装置の系統図である。
この衣類乾燥装置は、DCモータ(図示せず)で駆動する圧縮機1と、圧縮後の高温高圧の冷媒の熱を放熱する放熱器2と、高圧の冷媒の圧力を減圧するための膨張弁もしくはキャピラリーチューブからなる絞り手段3と、減圧されて低圧となった冷媒で周囲から熱を奪う吸熱器4を、冷媒が循環する管路5で連結したヒートポンプ装置6を備えている。衣類乾燥装置は、放熱器2で加熱した乾燥用空気を、衣類7を入れた乾燥庫8を経て吸熱器4へと導き再び放熱器2に戻す送風機9と、この乾燥用空気が流れる風路10を備えている。
乾燥庫8と吸熱器4の間の風路10には、乾燥用空気の熱の一部を外部に放出する排熱手段11が設けられている。この排熱手段11は、風路10に滞留した圧縮機1の入力熱により冷媒圧力が過昇して能力低下を招くことを防止し、安定して衣類が乾燥をおこなわれるようにするために配置される。排熱手段11は、例えば、風路10の上流側に設けた排気口12と、この排気口12を開閉する第1の開閉ダンパ13と、排気口12よりも下流側で吸熱器4の上流側に設けた吸気口14と、この吸気口14を開閉する第2の開閉ダンパ15で構成される。
排熱手段11を作動させて乾燥用空気の熱の一部を外部に放出する場合は、第1の開閉ダンパ13と第2の開閉ダンパ15のそれぞれを開にして、排気口12から乾燥用空気の一部を外部に放出し、吸気口14から外気を導入する。一方、排熱手段11の作動を停止させる場合は、第1の開閉ダンパ13と第2の開閉ダンパ15のそれぞれを閉にする。なお、排熱手段11は、この方式以外に、水で冷却する水冷方式や、空気で冷却する空冷方式がある。風路10には、放熱器2近傍の乾燥用空気の温度を検知するサーミスタなどの温度検知手段16が配置されている。
圧縮機1には、圧縮能力可変手段17が接続されており、温度検知手段16の出力に応じて、そのDCモータ(図示せず)の駆動周波数や駆動電圧などを、インバータ回路で変化させて回転数を変えて圧縮能力を変化させている。排熱手段11には、制御手段18が接続されており、圧縮機1の圧縮能力と温度検知手段16の出力によって、放熱量を制御している。
また、放熱器と吸熱器を接続する風路内に補助冷却手段を配置し、この補助冷却手段として吸熱器に結露した水を用いて冷却することも考えられている(例えば、特許文献2参照)。
特開2007−82586号公報 特開2008−48810号公報
従来のヒートポンプ装置を用いて乾燥させる洗濯乾燥機は、電気ヒータ式と比較して温
風温度が低いので、乾燥時のシワ固着が少ない利点があるが、さらにシワを少なくするために、衣類に当てる風速を速めるのが効果的であるが、温風の風速を速めるために、送風機9の回転数を高くすると風切り音が大きくなり、騒音が大きくなるという新たな課題が生じる。
ヒートポンプ式の洗濯乾燥機は、排熱手段11として第1の開閉ダンパ13と第2の開閉ダンパ15を開閉して、空気の一部を外部に放出するのが効果的であり、構成も簡略で実用的であるが、温風の風速を速めて乾燥時のシワを低減させようとすると、高い回転数で回転する送風機9の風切り音が大ききなり、第1の開閉ダンパ13と第2の開閉ダンパ15が開いた時に漏れるので、排熱と騒音低減を同時に実現する必要があった。
また、風路10を開放しない排熱手段11として、送風ファンで冷却する空冷式や、水で冷却する水冷式があるが。新たな音の発生源となるほか、消費電力や水の使用量が増加するという問題があった。
本発明は、前記課題を解決するもので、ヒートポンプ装置を安定に動作させて、乾燥時のシワ低減と騒音の低減を実現することを目的とする。
前記従来の課題を解決するために、本発明の洗濯乾燥機は、空気循環路を流れる乾燥用空気の熱を放出する排熱手段と、洗濯、すすぎ、乾燥の各工程を実行する制御手段とを備え、前記排熱手段は、乾燥用空気を排気する開閉自在な排気部と、乾燥用空気を冷却する循環冷却部とを有し、前記制御手段は、乾燥運転を開始してから所定時間後に送風機の風量を増加させるとともに、乾燥用空気を前記空気循環路からの排気から循環冷却に切り替えるようにしたものである。
これにより、送風機の風量を増加させるまでは乾燥用空気を空気循環路から排気して効率よく熱を放出し、送風機の風量を増加させると循環冷却に切り替え、乾燥用空気を空気循環路から排気せずに風量を増加にともなう送風機の騒音を空気循環路に閉じ込めて乾燥用空気の熱を放出するので、ヒートポンプ装置を安定に動作させて、乾燥時のシワ低減と騒音の低減を実現することができる。
本発明の洗濯乾燥機は、ヒートポンプ装置を安定に動作させて、乾燥時のシワ低減と騒音の低減を実現することができる。
第1の発明は、衣類を収容する回転槽と、前記回転槽を回転自在に内装した水槽と、圧縮機と圧縮後の高温高圧の冷媒の熱を放熱する放熱器と高圧の冷媒の圧力を減圧するための絞り手段と減圧されて低圧となった冷媒で周囲から熱を奪う吸熱器と冷媒が循環するように冷媒管路で連結したヒートポンプ装置と、前記放熱器と吸熱器を配設し前記水槽と連通する空気循環路と、前記回転槽と前記空気循環路に乾燥用空気を送風する送風機と、前記空気循環路を流れる乾燥用空気の熱を放出する排熱手段と、洗濯、すすぎ、乾燥の各工程を実行する制御手段とを備え、前記排熱手段は、乾燥用空気を排気する開閉自在な排気部と、乾燥用空気を冷却する循環冷却部とを有し、前記制御手段は、乾燥運転を開始してから所定時間後に前記送風機の風量を増加させるとともに、乾燥用空気を前記空気循環路からの排気から循環冷却に切り替えるようにしたことにより、乾燥運転を開始してから所定時間に到達するまでは、制御手段は送風機を第1の回転数で回転させ、排気部を開いて空気循環路を循環する乾燥用空気の一部を排気し、外気を取り入れて効率よく迅速に熱を放出する。乾燥運転の前半は、衣類のシワ固着が発生し難いので、衣類に当てる温風を低
速とし、低い回転数で送風機を回転させることができる。したがって、送風機の風切り音も低いので、騒音となることがない。また、所定時間に到達後は、制御手段は、送風機を第1の回転数より高い第2の回転数で回転させ、循環冷却に切り替えて乾燥用空気の熱を放出している。乾燥後半は、衣類のシワ固着が発生し易いので、衣類に当てる温風の高速にする必要があり、送風機を高い回転数で回転させなければならない。そのため、送風機は大きな風切り音が発生する。しかしながら、排気部を閉じて乾燥用空気の熱を放出しているので、排気部から騒音として漏れることがない。
したがって、送風機の風量を増加させるまでは乾燥用空気を空気循環路から排気し、送風機の風量を増加させると循環冷却に切り替え、乾燥用空気を空気循環路から排気せずに乾燥用空気の熱を放出するので、ヒートポンプ装置の安定に動作させて、乾燥時のシワ低減と騒音の低減を実現することができる。
第2の発明は、特に、第1の発明の水槽に給水する給水手段と、前記給水手段によりすすぎ工程で給水されたすすぎ水を貯留する貯水部を設け、循環冷却部は、前記貯水部に貯められたすすぎ水で空気循環路を冷却するようにしたことにより、すすぎ工程で使用した多量のすすぎ水を乾燥用空気の熱の放出に有効に利用することができる。
第3の発明は、特に、第2の発明の循環冷却部は、貯水部に貯留したすすぎ水を吸熱器で冷却するようにしたことにより、冷却に使用される水の水温を低くすることができ、冷却効果を高めて乾燥用空気の熱を効果的に放出することができる。
第4の発明は、特に、第2または第3の発明の循環冷却部は、乾燥用空気を排気部から排気しているときに貯水部に貯留したすすぎ水を吸熱器で冷却するようにしたことにより、乾燥運転を開始してから循環冷却に切り替えるまでの間に、冷却に使用される水の水温を低くすることができる。
第5の発明は、特に、第1〜第4のいずれか1つの発明において、衣類の布量を検知する布量検知手段を設け、制御手段は、前記布量検知手段により検知した布量に基いて所定時間を設定するようにしたことにより、乾燥運転を開始してから所定の乾燥状態となる時間は衣類の量によって変化するため、所定時間を精度よく設定してシワ固着を少なくすることができる。
以下、本発明の実施の形態を、図面を参照しながら説明する。なお、本発明の形態によって本発明が限定されるものではない。
(実施の形態1)
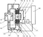
図1は、本発明の第1の実施の形態の洗濯乾燥機の構成を示す系統図、図2は、要部断面図である。図1および図2において、洗濯乾燥機は、圧縮機20と、圧縮後の高温高圧の冷媒の熱を放熱する放熱器21と、高圧の冷媒の圧力を減圧するための絞り手段22と、減圧されて低圧となった冷媒で周囲から熱を奪う吸熱器23と、冷媒が循環する冷媒管路24で連結して構成したヒートポンプ装置25を備えている。
このヒートポンプ装置25は、乾燥用空気を送風する送風機26によって、放熱器21から、衣類27を入れた回転槽28を経て吸熱器23へと導き、再び放熱器21に戻る空気循環路29によって配管接続されている。空気循環路29には、回転槽28からの高温の湿った空気を冷却して除湿する吸熱器23と、この吸熱器23の下流に除湿した乾燥空気を加熱する放熱器21を設けている。送風機26は、乾燥用空気を回転槽28と空気循環路29に送風し循環させて回転槽28内の衣類27を乾燥させる。
空気循環路29には、この空気循環路29を流れる乾燥用空気の熱を外部へ放出する排熱手段30が設けてあり、空気循環路29から乾燥用空気を排気する排気部31と、乾燥用空気が空気循環路29を循環している状態で乾燥用空気を冷却する循環冷却部32を設けている。
排気部31は、循環する乾燥用空気の一部を外に排出する排気口31aと、この排気口31aを開閉する排気弁31bと、空気循環路29内に外気を導入する吸気口31cと、この吸気口31cを開閉する吸気弁31dと、排気弁31bおよび吸気弁31dを駆動する開閉手段31eで構成してあり、排気口31aと吸気口31cを開閉して外部へ放出する熱の調整をおこなう。
循環冷却部32は、冷却用の水を貯める貯水部35と、この貯水部35の水を供給して空気循環路29を冷却する冷却ポンプ36で構成している。貯水部35に貯められる水は給水手段(図示せず)によりすすぎ工程で給水されたすすぎ水であり、すすぎ工程後、好ましくは、汚れの少ない最終のすすぎ工程で使用された水を貯水部35に貯める。貯水部35に貯められる水は、吸熱器23で結露した結露水を使用してもよく、吸熱器23の下方に連結部37を設けて結露水が貯水部35に流れ込むようにしてあり、すすぎ水に加えてもよい。
空気循環路29には、循環する乾燥用空気の温度を検知する温度検知手段38を放熱器21の下流に配置している。この温度検知手段38で検出された乾燥用空気の温度に応じて、圧縮能力可変手段39が圧縮機20の圧縮能力を変化するようになっている。
排気弁31bおよび吸気弁31dを駆動する開閉手段31eと冷却ポンプ36は、これらを制御する制御手段40と接続されている。この制御手段40は、洗濯、すすぎ、乾燥の各工程を設定されたプログラムに基いて逐次実行するとともに、温度検知手段38で検知された乾燥用空気の温度や、圧縮能力可変手段39で検知された圧縮能力(圧縮機20の回転数)に応じて、排気口31aと吸気口31cの開閉制御、および冷却ポンプ36による送水制御をおこない、放出熱の調整をおこなう。また、制御手段40は、送風機26と接続されており、経過時間に応じて回転数の制御をおこなう。なお、循環冷却部32や温度検知手段38は、冷媒管路24に配置してよい。貯水部35の水は排水弁41から機外へ排出される。
衣類を収容する回転槽28は、駆動モータ42により水槽43内に回転自在に設けてあり、洗濯工程およびすすぎ工程では、水槽43に所定量の水を供給しておこなわれる。給水量は回転槽28に投入された衣類の量を布量検知手段44により検知して決定される。そして、制御手段40は、この布量検知手段44により検知した布量に基いて所定時間を設定する。
回転槽28は、回転軸を前上がり傾斜させて設けてあり、前面に衣類を出し入れするドア45を設けている。回転槽28を傾斜させることで洗濯に使用する水量を少なくでき、衣類の出し入れを容易にすることができる。乾燥用空気が循環する空気循環路29は、流入口46と流出口47が水槽43に連通して設けてあり、流入口46は回転槽28の前面側のドア45の近くに位置し、流出口47は後面側に配置され、ヒートポンプ装置25で生成された乾いた温風が流出口47から回転槽28内に供給される。
次に、洗濯乾燥機としての動作を説明する。まず、回転槽28に衣類(洗濯または乾燥をおこなう対象物であり、洗濯または乾燥可能な主として繊維製品である)と洗剤を投入してドア45を閉め、操作部のスイッチ(図示せず)を押すと、駆動モータ42を動作して投入された衣類の量を布量検知手段44により検知し、その量に適した水量が給水され
る。回転槽28は駆動モータ42によって回転動作し、洗濯工程が実行される。
洗濯工程の後、水槽43内の洗濯水を排水し回転槽28を高速回転して脱水工程がおこなわれ、続いて新たな水が給水されて、洗濯工程と同様の動作で汚れと洗剤を洗い流す、すすぎ工程を数回繰り返す。汚れや洗剤成分が洗い流された後の最後のすすぎ工程で使用された水は、続けて乾燥工程を実行するときに貯水部35に貯えられる。
乾燥工程は、回転槽28が回転し、空気循環路29から除湿された温風が送風されて、乾燥がおこなわれる。衣類からの水分を含んだ空気が、送風機26によって流入口46から空気循環路29に流入し、吸熱器23で水分が除去された後、放熱器21で加熱され、乾いた高温の除湿温風が流出口47から回転槽28に吐出され、回転槽28と空気循環路29を乾燥用空気が循環することで乾燥が進む。この間、回転槽28は正転反転を繰り返して衣類を攪拌する。
次に、乾燥運転にともなう各部の動作を図3のタイムチャートで説明する。乾燥運転が開始され第1の所定時間(t1)に到達するまでは、制御手段40は、送風機26を第1の回転数で回転させ、排気口31aと吸気口31cの開閉を制御して、放出熱の調整をおこなう。貯水部35には、乾燥運転に入る前の最終のすすぎ工程で使用された水が貯めてあり、冷却ポンプ36は、この間、送水を停止している。
第1の所定時間(t1)に到達すると、制御手段40は、送風機26を第1の回転数より高い第2の回転数で回転させ、循環冷却部32に冷却水を送る冷却ポンプ36の送水を制御して、放出熱の調整をおこなう。排気口31aと吸気口31cは、この間、閉じている。
なお、吸熱器23で結露する結露水を冷却水とする場合、吸熱器23で結露する結露水は、時間が経過するにつれてその量が増加する。また、貯水部35に溜まった結露水は、第1の所定時間(t1)到達後に冷却ポンプ36により貯水部35と循環冷却部32に循環させる構成としているので、放出熱の調整に使用できる水量を確保することができる。
次に、空気循環路29を流れる乾燥用空気の熱を外部へ放出する排熱手段30の動作について、図4および図5に基いて説明する。図4は、乾燥運転を開始してから第1の所定時間(t1)に到達するまでの制御の流れである。
乾燥運転を開始するとプログラムがスタートし、まず、S1で送風機26を第1の回転数で回転させる。次にS2に進み、乾燥用空気の温度が第1所定温度(67℃)未満か否かが判断される。S2において、乾燥用空気が第1所定温度未満であるとS3に進むが、第1所定温度以上であるとS4に進み、圧縮能力が第1所定値(圧縮機20の回転数70rpm)未満か否かが判断される。S4において圧縮能力が第1所定値未満であると、S5に進んで排気口32aおよび吸気口33aを開き、S3に進む。一方、S4において圧縮能力が第1所定値以上であるとS3に進む。
S3では、乾燥用空気の温度が第2所定温度(63℃)以上か否かが判断される。S3において、乾燥用空気が第2所定温度以上であるとS6に進むが、第2所定温度未満であるとS7に進み、圧縮能力が第2所定値(圧縮機20の回転数95rpm)以上か否かが判断される。S7において圧縮能力が第2所定値以上であると、S8に進んで排気口32aおよび吸気口33aを閉じ、そののちS6に進む。一方、S7において圧縮能力が第2所定値未満であるとS6に進む。
S6では、乾燥運転を開始してからの経過時間が、第1の所定時間(t1)に到達した
か否かが判断され、第1の所定時間に到達していると次のステップ(1)に進むが、到達していないと再びS2に戻り同様の流れを繰り返す。
図5は、第1の所定時間(t1)に到達した後の制御の流れである。第1の所定時間(t1)に到達すると、まず、S11で送風機26を第2の回転数で回転させる。次にS12に進み、乾燥用空気の温度が第1所定温度(67℃)未満か否かが判断される。S12において、乾燥用空気が第1所定温度未満であるとS13に進むが、第1所定温度以上であるとS14に進み、圧縮能力が第1所定値(圧縮機20の回転数70rpm)未満か否かが判断される。S14において圧縮能力が第1所定値未満であると、S15に進んで冷却ポンプ36が循環冷却部32へ送水をおこない、そののちS13に進む。一方、S14において圧縮能力が第1所定値以上であるとS13に進む。
S13では、乾燥用空気の温度が第2所定温度(63℃)以上か否かが判断される。S13において、乾燥用空気が第2所定温度以上であるとS16に進むが、第2所定温度未満であるとS17に進み、圧縮能力が第2所定値(圧縮機20の回転数95rpm)以上か否かが判断される。S17において圧縮能力が第2所定値以上であると、S18に進んで冷却ポンプ37が循環冷却部32へ送水を停止し、その後S16に進む。一方、S17において圧縮能力が第2所定値未満であるとS16に進む。
S16では、第1の所定時間(t1)に到達してからの経過時間が、第2の所定時間(t2)に到達したか否かが判断され、第2の所定時間(t2)に到達していると次のステップ(2)に進むが、到達していないと再びS12に戻り同様の流れを繰り返す。この第2の所定時間(t2)は、例えば、更なる制御の続行や、乾燥運転の終了を判定するための時間であり、更なる制御の続行の場合は図6のS21に進み、乾燥運転の終了の場合は、図6のS29に進む。
ここで、第1の所定時間(t1)と第2の所定時間(t2)について説明する。乾燥前半(乾燥開始から第1の所定時間までの乾燥率領域)は、衣類は水分を多量に含んでいるので柔らかく、衣類に当たる温風の速度の高低に関わらず、シワは固着し難い。一方、乾燥中盤(第1の所定時間から第2の所定時間までの乾燥率領域)は、衣類は水分を僅かしか含んでいないのでやや硬く、一般的な乾燥機に用いられる低速温風による乾燥では、衣類を広げる力が弱いのでシワが多く固着する。そして、乾燥後半以降(第2の所定時間から乾燥終了までの乾燥率領域)は、衣類は水分をほとんど含んでいないので非常に硬く、衣類に当たる温風の速度の高低に関わらず、シワは固着し難い。
第1の所定時間(t1)は、乾燥率で表現すると85〜95%の領域において任意に決めた乾燥率に到達する時期である。第2の所定時間は、乾燥率で表現すると95〜105%の領域において任意に決めた乾燥率に到達する時期である。
本発明は、シワが固着し易い乾燥中盤(第1の所定時間から第2の所定時間までの乾燥率領域)に、送風機26の回転数を高めて高速の温風を衣類に当てて衣類を押し広げ、シワの固着を低減するものである。また、乾燥後半以降(第2の所定時間から乾燥終了までの乾燥率領域)は、衣類に当たる温風の速度の高低に関わらずシワが固着し難いので、送風機26の回転数の高低はシワ固着に対して直接的には関与しない。
したがって、送風機26の回転数の高低は、シワ固着という観点で特別に考慮する必要がないが、送風機26の回転数を高めることによる消費電力の増加を考慮すると、送風機26の回転数は低い方が望ましい。
次に、布量検知手段43による第1の所定時間(t1)と第2の所定時間(t2)の設
定について説明する。これらの所定時間は、予め設定された衣類の量と最適変更時間との相関式に、検知された衣類の量を適用することで実行され、第1の所定時間(t1)および第2の所定時間(t2)が精度よく設定され、衣類に固着するシワを効果的に低減することができる。
布量検知手段44は、衣類を収納した回転槽28を短時間回転させて、衣類の量に関する電気信号(布量検知手段の検出信号)を得る例を、モータ電流で説明する。洗濯開始前に駆動モータ42を作動させて、衣類を収納した回転槽28を短時間回転させると、加速に起因するモータ電流(加速電流)が発生する。また、駆動モータ42の作動を止めると減速に起因するモータ電流(減速電流)が発生する。この加速電流と減速電流の合計電流は衣類量に比例するので、この合計電流を検出すると衣類の量が判明する。
また、これ以外に、回転槽28を短時間正逆回転させた際のモータ電流(または電力)と、回転槽28の回転停止時の慣性で回る惰性回転角度との両方から、衣類の量を検知する方法もあり、衣類の量が多いとモータ電流が多いうえに惰性回転角度が小さく、衣類の量が少ないとモータ電流が少ないうえに惰性回転角度が大きい特性を利用している。さらに、他の布量検知手段43として、重量センサを用いて衣類の重量を測定してもよい。
これら第1の所定時間や第2の所定時間は、タイマーや、空気循環路29に配置した温度検知手段38で検知した温度に基いて決められる時間である。
(実施の形態2)
図6は、本発明の第2の実施の形態における洗濯乾燥機の動作を示すフローチャートであり、第2の所定時間(t2)に到達後から乾燥終了までの制御の流れを示している。図6において、第1の所定時間(t1)到達から起算して第2の所定時間に到達(2)すると、まずS21で送風機26を第2の回転数より低い第3の回転数で回転させる。次にS22に進み、乾燥用空気の温度が第1所定温度(67℃)未満か否かが判断される。S22において、乾燥用空気が第1所定温度未満であるとS23に進むが、第1所定温度以上であるとS24に進み、圧縮能力が第1所定値(圧縮機20の回転数70rpm)未満か否かが判断される。S24において圧縮能力が第1所定値未満であると、S25に進んで排気口31aおよび吸気口31cを開き、その後S23に進む。一方、S24において圧縮能力が第1所定値以上であるとS23に進む。
S23では、乾燥用空気の温度が第2所定温度(63℃)以上か否かが判断される。S23において、乾燥用空気が第2所定温度以上であるとS26に進むが、第2所定温度未満であるとS27に進み、圧縮能力が第2所定値(圧縮機20の回転数95rpm)以上か否かが判断される。S27において圧縮能力が第2所定値以上であると、S28に進んで排気口31aおよび吸気口31cを閉じ、その後S26に進む。一方、S27において圧縮能力が第2所定値未満であるとS26に進む。
S26では、乾燥終了か否かが判断され、乾燥終了である判断されるとS29に進んで乾燥運転を終了するが、乾燥終了でないと判断されると再びS22に戻り同様の流れを繰り返す。S29で乾燥運転が終了するとS30に進み、S31で乾燥運転の終了後、所定時間が経過したか否かが判断される。そして、S31で所定時間が経過したと判断されると、S32に進んで排水弁41開き、貯水部35の水を機外へ排出する。一方、S31で所定時間が経過しないと判断されると再びS31に戻り、所定時間が経過するまでこの流れを繰り返す。
乾燥工程の最終は、衣類のシワ固着が発生し難いので、衣類に当てる温風はその風速を低くしてもよく、結果的に低い回転数で送風機26を回転させることができる。そのため
、排気口31aおよび吸気口31cを開いても、送風機26の風切り音が低いので、排気口31aおよび吸気口31cから風切り音が漏れて騒音となることがない。また、送風機26の消費電力が低減し、空気循環路29への滞留熱が低減する。その結果、洗濯乾燥機は、放出熱の調整を良好におこないながら衣類を安定して乾燥させることができ、衣類のシワ低減と騒音の低下さらには消費電力の低下を一層図ることができる。
なお、送風機26は、第3の回転数を第1の回転数と同じとして回転させてもよい。
(実施の形態3)
図7は、本発明の第3の実施の形態における洗濯乾燥機の動作を示すタイムチャートである。排気口31aおよび吸気口31cは、乾燥開始からすぐに開閉制御が行われるが、第1の所定時間(t1)に到達する直前に開いて乾燥用空気の熱の一部を一旦放出させ、第1の所定時間(t1)に到達すると閉じる。そして、その直後(第1の所定時間到達後)は、冷却ポンプ36を作動させて放出熱の調整をおこなうようにしたものである。その他の構成は実施の形態1と同じであり、詳細な説明は実施の形態1を援用する。
この構成によれば、短時間に第1の所定時間に到達して放出熱の調整に使用できる吸熱器23からの結露水が確保できない場合、あるいは、乾燥運転から開始して貯水部35にすすぎ水がない場合でも、第1の所定時間(t1)に到達する直前に熱が放出されているので、第1の所定時間(t1)到達後は、確保した少量の冷却水で放出熱の調整を良好におこなうことができる。
(実施の形態4)
本実施の形態は、空気循環路29の回転槽28と吸熱器23との間に、第2の温度検知手段48を設け、この第2の温度検知手段48で検知した温度に基いて乾燥終了の判定をおこなうようにしたものである。この第2の温度検知手段48で検知した温度は、第1の所定時間もしくは第2の所定時間に到達したことを判定する温度としても用いられる。その他の構成は実施の形態1と同じであり、詳細な説明は実施の形態1を援用する。
この第2の温度検知手段48は、乾燥開始時の乾燥用空気温度が設定温度を超えている場合は、所定遅延時間を経て、送風機の回転数を変更するようにしている。これは、衣類の乾燥が連続しておこなわれたり、洗濯乾燥機を置いている部屋の室温が、例えば40℃といった異常に高温であると、通常に行われる衣類乾燥で想定していた時間より遥かに短時間で、第1の所定時間や第2の所定時間に到達するので、シワが固着し易い乾燥領域(乾燥率が85〜105%の任意期間)ではなく、それ以前の乾燥領域で、送風機26によってその回転数を第2の回転数まで高めた高速の温風が衣類に当てられることになる。
そのため、送風機26が第2の回転数まで回転数を高めて高速の温風を衣類に当てるタイミングが、高速温風が有効な乾燥領域に送風されるように設定できず、衣類のシワ固着の低減に効果を奏しないことが生じる。
したがって、乾燥開始時の乾燥用空気温度が設定温度を超えている場合は、送風機26は所定遅延時間を経て第2の回転数で回転させることにより、シワ固着の低減に有効な乾燥領域で高速の温風を送風できるようにしたものである。
(実施の形態5)
図8は、本発明の第5の実施の形態における洗濯乾燥機の動作を示すフローチャートである。他の構成は、図1および図2と同じであり、実施の形態1の説明を援用する。本実施の形態は、排気口31aもしくは吸気口31cに開閉異常が生じた場合に、循環冷却部32への冷却ポンプ36の送水制御で放出熱の調整をおこなうようにしたものである。
乾燥運転を開始すると、まず、S40で送風機26を第1の回転数で回転させる。次に、S41に進み排気口31aもしくは吸気口31cの開閉が正常か否かの判断が行われる。S41で開閉が正常と判断されるとS42に進み、乾燥運転が開始されてから第1の所定時間に到達したか否が判断される。一方、S41で開閉が異常と判断されるとS43に進み、循環冷却部32への冷却ポンプ36の送水制御で放出熱の調整をおこなう。
S42において第1の所定時間に到達したと判断されると、S44に進み送風機26を第2の回転数で回転させる。一方、S42において第1の所定時間に到達していないと判断されると、S41で開閉が正常と判断された場合は、S45に進み排気口31aもしくは吸気口31cの開閉制御で放出熱の調整をおこなうとともに、再びS41に戻る。一方、S41で開閉が異常と判断された場合は、S43に進み冷却ポンプ36の送水制御で放出熱の調整をおこなう。
このため、万一、排気口31aもしくは吸気口31cが故障し、開閉異常が生じた場合でも、冷却ポンプ36で代替することができ、ヒートポンプ装置25の放出熱の調整を良好におこないながら衣類を安定して乾燥させることができる。
また、貯水部35は、すすぎ工程で使用したすすぎ水、または吸熱器23で結露した結露水を溜めているので、衣類から脱落した糸屑や小石が混入し易く、この水を使用する冷却ポンプ36に送水異常が生じた場合に、排気部31からの乾燥用空気の排気による排熱に切り替えるようにしたものである。
S42で第1の所定時間に到達し、S44で送風機26を第2の回転数で回転させた後のS46以降の動作について説明する。S46では、冷却ポンプ36の送水異常信号が1回有るか否かが判断され、1回でも送水異常信号が有るとS47に進み、S47で送水異常が本当か否かの判断が行われる。そして、送水異常が本当であるとS48に進み、排気口31aもしくは吸気口31cの開閉は正常か否かの判断が行われる。
S48で排気口31aもしくは吸気口31cの開閉が正常であると判断されると、S49で送風機26を第2の回転数より低い第4の回転数で回転させる。次にS50に進み、排気口31aもしくは吸気口31cの開閉制御で放出熱の調整をおこなう。
また、S46で冷却ポンプ36の送水異常信号がないと、S51に進み、循環冷却部32への冷却ポンプ36の送水制御で放出熱の調整をおこなう。そして、S52で乾燥終了か否かの判断をおこない、乾燥終了と判断されるとS53に進み、プログラムがストップ(乾燥終了)する。一方、S52で乾燥終了でないと判断されると再びS46に戻り、以下は同じ流れを繰り返す。また、S48で排気口31aもしくは吸気口31cの開閉が異常であると判断されると、S54に進み洗濯乾燥機の運転動作を停止させる。
本実施の形態では、冷却ポンプ36が送水異常の信号を出力すると、制御手段40は、送風機26を第2の回転数より低い第4の回転数で回転させるとともに、排熱手段30を排気部31からの乾燥用空気の排気による排熱に切り替えるようにしたものであり、放出熱の調整を良好におこないながら衣類を安定して乾燥させることができ、衣類のシワを低減することができる。
(実施の形態6)
本実施の形態は、冷却ポンプ36に送水異常が生じた場合にその動作を正常に回復させるようにしたものである。冷却ポンプ36の異常を検知する冷却ポンプ異常検知手段を設け、冷却ポンプ36が所定の動作をしないときに、冷却ポンプ36への通電を所定時間停
止し、その後再度通電する動作を所定回数繰り返すようにしたものである。
これにより、貯水部35に混入した異物が冷却ポンプ36に吸込まれて動作が不安定になった場合でも、これを取り除くことができ、冷却ポンプ36の故障を防止して循環冷却部32を円滑に動作させることができる。
なお、他の例として、冷却ポンプ36が作動しないときに、冷却ポンプ36を正回転動作と逆回転動作を所定回数繰り返しおこなうことも効果的であり、同様の作用効果が得られるものである。
(実施の形態7)
図9は、本発明の第7の実施の形態における洗濯乾燥機の系統図である。本実施の形態の特徴は、循環冷却部32の貯水部35に貯留したすすぎ水を吸熱器23で冷却するようにしたことである。他の構成は第1の実施の形態と同じであり、詳細な説明は実施の形態1を援用する。
空気循環路29を循環する乾燥用空気を吸熱器23で冷却した後、冷媒配管24を流れる冷媒は、貯水部35に貯留したすすぎ水を冷却して圧縮機20に戻るように構成している。ヒートポンプ装置25が作動いているときは、乾燥用空気を冷却する吸熱器23で貯水部35に貯められている水も冷媒配管24を流れる冷媒で冷却することができ、乾燥用空気を冷却した後の冷媒を有効に使用して水温を低くすることができる。
また、循環冷却部32は、排気部31から乾燥用空気の熱が放出しているときは冷却ポンプ36は停止し、貯水部35に貯留したすすぎ水を吸熱器23で冷却するようにしたことにより、乾燥運転を開始してから循環冷却に切り替えるまでの間に、冷却に使用される水の水温を十分に下げることができ、排熱効果を高めることができる。
なお、循環冷却部32は、乾燥運転の中盤で送風機26の風量を増加させるまでは、乾燥用空気を排気部31から排気しているときに貯水部35に貯留したすすぎ水を冷却してもよく、一層的確な排熱がおこなえ、ヒートポンプ装置25を安定に動作させることができるとともに、乾燥時のシワと騒音の低減を同時に解消することができる。
以上のように、本発明にかかる洗濯乾燥機は、ヒートポンプ装置の安定に動作させて、乾燥時のシワ低減と騒音の低減を実現することができるので、ヒートポンプ装置を用いた衣類乾燥機および洗濯乾燥機として有用である。
本発明の実施の形態1の洗濯乾燥機の系統図 同洗濯乾燥機の要部断面図 同洗濯乾燥機の動作を示すタイムチャート 同洗濯乾燥機の動作を示すフローチャート 同洗濯乾燥機の動作を示すフローチャート 本発明の実施の形態2の洗濯乾燥機の動作を示すフローチャート 本発明の実施の形態3の洗濯乾燥機の動作を示すフローチャート 本発明の実施の形態5の洗濯乾燥機の動作を示すフローチャート 本発明の実施の形態7の洗濯乾燥機の系統図 従来の衣類乾燥装置の系統図
符号の説明
20 圧縮機
21 放熱器
22 絞り手段
23 吸熱器
24 冷媒管路
25 ヒートポンプ装置
26 送風機
28 回転槽
29 空気循環路
30 排熱手段
31 排気部
31a 排気口
31b 排気弁
31c 吸気口
31d 吸気弁
32 循環冷却部
35 貯水部
36 冷却ポンプ
40 制御手段

Claims (5)

  1. 衣類を収容する回転槽と、前記回転槽を回転自在に内装した水槽と、圧縮機と圧縮後の高温高圧の冷媒の熱を放熱する放熱器と高圧の冷媒の圧力を減圧するための絞り手段と減圧されて低圧となった冷媒で周囲から熱を奪う吸熱器と冷媒が循環するように冷媒管路で連結したヒートポンプ装置と、前記放熱器と吸熱器を配設し前記水槽と連通する空気循環路と、前記回転槽と前記空気循環路に乾燥用空気を送風する送風機と、前記空気循環路を流れる乾燥用空気の熱を放出する排熱手段と、洗濯、すすぎ、乾燥の各工程を実行する制御手段とを備え、前記排熱手段は、乾燥用空気を排気する開閉自在な排気部と、乾燥用空気を冷却する循環冷却部とを有し、前記制御手段は、乾燥運転を開始してから所定時間後に前記送風機の風量を増加させるとともに、乾燥用空気を前記空気循環路からの排気から循環冷却に切り替えるようにした洗濯乾燥機。
  2. 水槽に給水する給水手段と、前記給水手段によりすすぎ工程で給水されたすすぎ水を貯留する貯水部を設け、循環冷却部は、前記貯水部に貯められたすすぎ水で空気循環路を冷却するようにした請求項1記載の洗濯乾燥機。
  3. 循環冷却部は、貯水部に貯留したすすぎ水を吸熱器で冷却するようにした請求項2記載の洗濯乾燥機。
  4. 循環冷却部は、乾燥用空気を排気部から排気しているときに貯水部に貯留したすすぎ水を吸熱器で冷却するようにした請求項2または3記載の洗濯乾燥機。
  5. 衣類の布量を検知する布量検知手段を設け、制御手段は、前記布量検知手段により検知した布量に基いて所定時間を設定するようにした請求項1〜4のいずれか1項に記載の洗濯乾燥機。
JP2008162902A 2008-06-23 2008-06-23 洗濯乾燥機 Expired - Fee Related JP4900330B2 (ja)

Priority Applications (1)

Application Number Priority Date Filing Date Title
JP2008162902A JP4900330B2 (ja) 2008-06-23 2008-06-23 洗濯乾燥機

Applications Claiming Priority (1)

Application Number Priority Date Filing Date Title
JP2008162902A JP4900330B2 (ja) 2008-06-23 2008-06-23 洗濯乾燥機

Publications (2)

Publication Number Publication Date
JP2010000278A true JP2010000278A (ja) 2010-01-07
JP4900330B2 JP4900330B2 (ja) 2012-03-21

Family

ID=41582477

Family Applications (1)

Application Number Title Priority Date Filing Date
JP2008162902A Expired - Fee Related JP4900330B2 (ja) 2008-06-23 2008-06-23 洗濯乾燥機

Country Status (1)

Country Link
JP (1) JP4900330B2 (ja)

Cited By (6)

* Cited by examiner, † Cited by third party
Publication number Priority date Publication date Assignee Title
JP2011239817A (ja) * 2010-05-14 2011-12-01 Toshiba Corp 洗濯乾燥機
EP2458066A1 (en) * 2010-11-26 2012-05-30 Whirlpool Corporation Closed cycle dryer
JP2013220302A (ja) * 2012-04-19 2013-10-28 Toshiba Corp 衣類乾燥機
DE102012212159A1 (de) * 2012-07-11 2014-01-16 BSH Bosch und Siemens Hausgeräte GmbH Abluft-Wäschetrocknung mit Zusatzheizung und Wärmetauscheraggregat
JP2017079927A (ja) * 2015-10-26 2017-05-18 東芝ライフスタイル株式会社 衣類乾燥機
JP2023068687A (ja) * 2021-11-04 2023-05-18 株式会社Fuji 制御装置及び工作機械

Citations (2)

* Cited by examiner, † Cited by third party
Publication number Priority date Publication date Assignee Title
JP2004089415A (ja) * 2002-08-30 2004-03-25 Matsushita Electric Ind Co Ltd 衣類乾燥装置
JP2007082586A (ja) * 2005-09-20 2007-04-05 Matsushita Electric Ind Co Ltd 衣類乾燥装置

Patent Citations (2)

* Cited by examiner, † Cited by third party
Publication number Priority date Publication date Assignee Title
JP2004089415A (ja) * 2002-08-30 2004-03-25 Matsushita Electric Ind Co Ltd 衣類乾燥装置
JP2007082586A (ja) * 2005-09-20 2007-04-05 Matsushita Electric Ind Co Ltd 衣類乾燥装置

Cited By (7)

* Cited by examiner, † Cited by third party
Publication number Priority date Publication date Assignee Title
JP2011239817A (ja) * 2010-05-14 2011-12-01 Toshiba Corp 洗濯乾燥機
EP2458066A1 (en) * 2010-11-26 2012-05-30 Whirlpool Corporation Closed cycle dryer
JP2013220302A (ja) * 2012-04-19 2013-10-28 Toshiba Corp 衣類乾燥機
DE102012212159A1 (de) * 2012-07-11 2014-01-16 BSH Bosch und Siemens Hausgeräte GmbH Abluft-Wäschetrocknung mit Zusatzheizung und Wärmetauscheraggregat
JP2017079927A (ja) * 2015-10-26 2017-05-18 東芝ライフスタイル株式会社 衣類乾燥機
JP2023068687A (ja) * 2021-11-04 2023-05-18 株式会社Fuji 制御装置及び工作機械
JP7748257B2 (ja) 2021-11-04 2025-10-02 株式会社Fuji 制御装置及び工作機械

Also Published As

Publication number Publication date
JP4900330B2 (ja) 2012-03-21

Similar Documents

Publication Publication Date Title
EP2935687B1 (en) A method for controlling a laundry drying machine and a corresponding laundry drying machine
US20160273153A1 (en) Clothes treatment apparatus and method of controlling the same
EP3077588B1 (en) A method for controlling a laundry drying machine of the type comprising a heat pump system and a corresponding laundry drying machine
EP2935686B1 (en) A method for controlling a heat pump system for a laundry drying machine and a corresponding laundry drying machine
JP6486037B2 (ja) 洗濯乾燥機
JP5075771B2 (ja) 洗濯乾燥機
JP4900330B2 (ja) 洗濯乾燥機
US20110289696A1 (en) Method for Operating a Washing Cycle and a Subsequent Drying Cycle in a Laundry Washer-Dryer
CN107794728B (zh) 衣物干燥机
JP6071479B2 (ja) 洗濯乾燥機
JP6486197B2 (ja) 衣類乾燥機
JP2011244979A (ja) 衣類乾燥機
KR101396408B1 (ko) 세탁기 및 그 탈수제어방법
JP2013094215A (ja) 洗濯乾燥機
JP2007143735A (ja) 洗濯乾燥機
JP6716675B2 (ja) 洗濯乾燥機
JP6842261B2 (ja) 衣類乾燥機
JP6466093B2 (ja) 衣類乾燥機
CN107620194B (zh) 洗涤干燥机
JP2007050153A (ja) 洗濯乾燥機
JP2005168547A (ja) 衣類乾燥装置
JP2023165561A (ja) 洗濯乾燥機
JP2010194027A (ja) 衣類乾燥機
JP7667708B2 (ja) 衣類乾燥機
JP2006061353A (ja) 衣類乾燥装置

Legal Events

Date Code Title Description
A621 Written request for application examination

Free format text: JAPANESE INTERMEDIATE CODE: A621

Effective date: 20100311

RD01 Notification of change of attorney

Free format text: JAPANESE INTERMEDIATE CODE: A7421

Effective date: 20100413

A977 Report on retrieval

Free format text: JAPANESE INTERMEDIATE CODE: A971007

Effective date: 20111130

TRDD Decision of grant or rejection written
A01 Written decision to grant a patent or to grant a registration (utility model)

Free format text: JAPANESE INTERMEDIATE CODE: A01

Effective date: 20111206

A01 Written decision to grant a patent or to grant a registration (utility model)

Free format text: JAPANESE INTERMEDIATE CODE: A01

A61 First payment of annual fees (during grant procedure)

Free format text: JAPANESE INTERMEDIATE CODE: A61

Effective date: 20111219

FPAY Renewal fee payment (event date is renewal date of database)

Free format text: PAYMENT UNTIL: 20150113

Year of fee payment: 3

LAPS Cancellation because of no payment of annual fees