JP2009528126A - 手術領域にクリーンエアのゾーンを提供する方法および装置ならびに前記装置の利用 - Google Patents
手術領域にクリーンエアのゾーンを提供する方法および装置ならびに前記装置の利用 Download PDFInfo
- Publication number
- JP2009528126A JP2009528126A JP2008557233A JP2008557233A JP2009528126A JP 2009528126 A JP2009528126 A JP 2009528126A JP 2008557233 A JP2008557233 A JP 2008557233A JP 2008557233 A JP2008557233 A JP 2008557233A JP 2009528126 A JP2009528126 A JP 2009528126A
- Authority
- JP
- Japan
- Prior art keywords
- air
- clean air
- surgical
- zone
- clean
- Prior art date
- Legal status (The legal status is an assumption and is not a legal conclusion. Google has not performed a legal analysis and makes no representation as to the accuracy of the status listed.)
- Pending
Links
- 238000000034 method Methods 0.000 title claims abstract description 27
- 238000005286 illumination Methods 0.000 claims abstract description 27
- 238000001816 cooling Methods 0.000 claims abstract description 26
- 238000001914 filtration Methods 0.000 claims abstract 3
- 239000003570 air Substances 0.000 claims description 285
- 210000005056 cell body Anatomy 0.000 claims description 21
- 239000000725 suspension Substances 0.000 claims description 11
- 239000004744 fabric Substances 0.000 claims description 10
- 239000002826 coolant Substances 0.000 claims description 5
- 239000000463 material Substances 0.000 claims description 5
- XLYOFNOQVPJJNP-UHFFFAOYSA-N water Substances O XLYOFNOQVPJJNP-UHFFFAOYSA-N 0.000 claims description 5
- 210000004027 cell Anatomy 0.000 claims description 2
- 239000002341 toxic gas Substances 0.000 claims description 2
- 230000005855 radiation Effects 0.000 claims 5
- 230000001678 irradiating effect Effects 0.000 claims 3
- 238000007599 discharging Methods 0.000 claims 2
- 239000011148 porous material Substances 0.000 claims 1
- 208000015181 infectious disease Diseases 0.000 description 7
- 239000002245 particle Substances 0.000 description 7
- 238000009423 ventilation Methods 0.000 description 7
- 241000894006 Bacteria Species 0.000 description 4
- 238000010438 heat treatment Methods 0.000 description 3
- 230000005540 biological transmission Effects 0.000 description 2
- 238000009434 installation Methods 0.000 description 2
- 238000001356 surgical procedure Methods 0.000 description 2
- 239000012080 ambient air Substances 0.000 description 1
- 230000001580 bacterial effect Effects 0.000 description 1
- 238000007664 blowing Methods 0.000 description 1
- 238000011109 contamination Methods 0.000 description 1
- 239000003814 drug Substances 0.000 description 1
- 238000005516 engineering process Methods 0.000 description 1
- 239000007788 liquid Substances 0.000 description 1
- 238000012423 maintenance Methods 0.000 description 1
- 230000002093 peripheral effect Effects 0.000 description 1
- 230000001681 protective effect Effects 0.000 description 1
- 239000013589 supplement Substances 0.000 description 1
Images
Classifications
-
- F—MECHANICAL ENGINEERING; LIGHTING; HEATING; WEAPONS; BLASTING
- F24—HEATING; RANGES; VENTILATING
- F24F—AIR-CONDITIONING; AIR-HUMIDIFICATION; VENTILATION; USE OF AIR CURRENTS FOR SCREENING
- F24F13/00—Details common to, or for air-conditioning, air-humidification, ventilation or use of air currents for screening
- F24F13/02—Ducting arrangements
- F24F13/06—Outlets for directing or distributing air into rooms or spaces, e.g. ceiling air diffuser
- F24F13/078—Outlets for directing or distributing air into rooms or spaces, e.g. ceiling air diffuser combined with lighting fixtures
-
- A—HUMAN NECESSITIES
- A61—MEDICAL OR VETERINARY SCIENCE; HYGIENE
- A61G—TRANSPORT, PERSONAL CONVEYANCES, OR ACCOMMODATION SPECIALLY ADAPTED FOR PATIENTS OR DISABLED PERSONS; OPERATING TABLES OR CHAIRS; CHAIRS FOR DENTISTRY; FUNERAL DEVICES
- A61G13/00—Operating tables; Auxiliary appliances therefor
- A61G13/10—Parts, details or accessories
- A61G13/108—Means providing sterile air at a surgical operation table or area
-
- F—MECHANICAL ENGINEERING; LIGHTING; HEATING; WEAPONS; BLASTING
- F24—HEATING; RANGES; VENTILATING
- F24F—AIR-CONDITIONING; AIR-HUMIDIFICATION; VENTILATION; USE OF AIR CURRENTS FOR SCREENING
- F24F3/00—Air-conditioning systems in which conditioned primary air is supplied from one or more central stations to distributing units in the rooms or spaces where it may receive secondary treatment; Apparatus specially designed for such systems
- F24F3/12—Air-conditioning systems in which conditioned primary air is supplied from one or more central stations to distributing units in the rooms or spaces where it may receive secondary treatment; Apparatus specially designed for such systems characterised by the treatment of the air otherwise than by heating and cooling
- F24F3/16—Air-conditioning systems in which conditioned primary air is supplied from one or more central stations to distributing units in the rooms or spaces where it may receive secondary treatment; Apparatus specially designed for such systems characterised by the treatment of the air otherwise than by heating and cooling by purification, e.g. by filtering; by sterilisation; by ozonisation
- F24F3/163—Clean air work stations, i.e. selected areas within a space which filtered air is passed
-
- F—MECHANICAL ENGINEERING; LIGHTING; HEATING; WEAPONS; BLASTING
- F24—HEATING; RANGES; VENTILATING
- F24F—AIR-CONDITIONING; AIR-HUMIDIFICATION; VENTILATION; USE OF AIR CURRENTS FOR SCREENING
- F24F8/00—Treatment, e.g. purification, of air supplied to human living or working spaces otherwise than by heating, cooling, humidifying or drying
- F24F8/10—Treatment, e.g. purification, of air supplied to human living or working spaces otherwise than by heating, cooling, humidifying or drying by separation, e.g. by filtering
- F24F8/108—Treatment, e.g. purification, of air supplied to human living or working spaces otherwise than by heating, cooling, humidifying or drying by separation, e.g. by filtering using dry filter elements
-
- F—MECHANICAL ENGINEERING; LIGHTING; HEATING; WEAPONS; BLASTING
- F24—HEATING; RANGES; VENTILATING
- F24F—AIR-CONDITIONING; AIR-HUMIDIFICATION; VENTILATION; USE OF AIR CURRENTS FOR SCREENING
- F24F2221/00—Details or features not otherwise provided for
- F24F2221/02—Details or features not otherwise provided for combined with lighting fixtures
-
- Y—GENERAL TAGGING OF NEW TECHNOLOGICAL DEVELOPMENTS; GENERAL TAGGING OF CROSS-SECTIONAL TECHNOLOGIES SPANNING OVER SEVERAL SECTIONS OF THE IPC; TECHNICAL SUBJECTS COVERED BY FORMER USPC CROSS-REFERENCE ART COLLECTIONS [XRACs] AND DIGESTS
- Y10—TECHNICAL SUBJECTS COVERED BY FORMER USPC
- Y10S—TECHNICAL SUBJECTS COVERED BY FORMER USPC CROSS-REFERENCE ART COLLECTIONS [XRACs] AND DIGESTS
- Y10S55/00—Gas separation
- Y10S55/29—Air curtains
Landscapes
- Engineering & Computer Science (AREA)
- Health & Medical Sciences (AREA)
- Chemical & Material Sciences (AREA)
- General Engineering & Computer Science (AREA)
- Mechanical Engineering (AREA)
- Combustion & Propulsion (AREA)
- Life Sciences & Earth Sciences (AREA)
- Public Health (AREA)
- Veterinary Medicine (AREA)
- General Health & Medical Sciences (AREA)
- Animal Behavior & Ethology (AREA)
- Biomedical Technology (AREA)
- Surgery (AREA)
- Ventilation (AREA)
- Arrangement Of Elements, Cooling, Sealing, Or The Like Of Lighting Devices (AREA)
- Non-Portable Lighting Devices Or Systems Thereof (AREA)
- Accommodation For Nursing Or Treatment Tables (AREA)
Abstract
本発明は、照明装置(25)を有するエア処理装置(1)によって手術領域(3)にクリーンエアのゾーン(2)を提供するための方法および装置に関するものである。本方法は、エア処理装置(1)と照明装置(25)、および/または、手術領域(3)は、前記エア処理装置(1)と照明装置(25)が手術領域(3)の上方で且つ前記手術領域(3)と該手術領域(3)の位置する手術施設(4)内の天井(32)との間に配置されるような機能的位置へ移動されるかまたは移動されており、エアが、手術施設(4)の上部からエア処理装置(1)内へ受け入れられるかまたは取り込まれ、前記エアは、クリーンエアのゾーン(2)を規定するクリーンエアを提供するためのエア処理装置(1)の中でろ過され、前記エアは、クリーンエアのゾーン(2)を規定するクリーンエアが、当該クリーンエアのゾーン(2)を囲む汚れたエア(8)よりも低い温度を持つようにするため、手術施設(4)内のエア温度より低い温度にエア処理装置(1)の中で冷却され、前記クリーンエアはゆっくりと手術領域(3)に向け下方へ降下し、さらに、前記手術領域(3)の中および周りでクリーンエアのゾーン(2)を規定するクリーンエアが前記エア処理装置(1)からクリーンエアの層流として放射または放出されることを内容とする。本装置は、それ故、上記方法で提供される機能的位置にあるエア処理装置(1)と照明装置(25)、および/または、手術領域(3)のほかに、少なくとも1つの前記エア受け入れまたは取り込み用の吸気口、前記ろ過用のフィルタ装置、前記エア冷却用装置および前記クリーンエアの層流を放射または放出する装置から構成される。
Description
本発明は、エア処理装置によって手術領域にクリーンエアのゾーンを提供するための方法および装置に関するものであり、そこには手術領域を照らす照明装置が設けられている。本発明はまた、前記装置の利用に関する。
手術領域を換気する目的は、手術を受ける患者の感染を可能な限り避けることにある。感染は、手術領域を汚染する細菌を搬送する空中浮遊粒子により引き起こされる。特に、執刀医は空中浮遊粒子を発生する。手術施設内で感染が広がる主な理由のひとつは、露出した患者の手術領域にこれらの粒子が直接降下することである。
現在の改良された手術施設用の換気装置において、手術用の照明は、ほとんどの場合、所謂LAF(層状のエアフロー)−天井、すなわち、層状で下方に向かう空気の流れと手術領域との間に配置されている。その手術用の照明は、ひとつにはその配置により、さらに、もうひとつには照明の加熱の影響でエアの対流によりエアの流れを乱す。いずれの乱れもエアの澱みを生じ、そこでは細菌を搬送する空中浮遊粒子が集中し、手術領域での細菌の増殖のための重要で危険な要素となっている。
現在の換気天井、所謂、LAF−天井は、大抵の場合、病院内に固定して建設された基盤設備/エア処理プラントに結合されている。この基盤設備は、その据付の間、多大な技術を必要とし、さらにその基盤設備とは、ほとんどの場合、建造物あるいは暖房設備と、その据付を遂行する受託業者による水および衛生設備である。技術および受託業者の作業はほとんどの場合、地元の、暖房、水、衛生関係の技術者および受託業者によりもたらされる。彼らは、大抵の場合、医学および感染の伝播についてはほとんど知見を持たない。
また、現在の換気天井、所謂、LAF−天井は、天井と手術領域の間に配置された設備を補うため非常に大量のエアの流れを必要とする。さらに、現在の換気装置は、手術施設の天井内に固定して作られているので、手術施設内で起きるすべての外科手術(で必要なエア流量)を賄わなければならない。それにより、換気装置は大きくなり、大量のろ過された換気エアを必要とし、その結果、高価で、持て余すほど大きい設備となり、さらに高い運転コストがかかる。
大きな換気天井は、また、天井の広がりの中で発生される執刀医の対流の流れを、そのサイズにわたり、賄わなければならない。細菌を搬送する粒子の実質的な部分はこれら対流の流れの中で発生する。
クリーンエアのゾーンを提供する方法および装置は例えば米国特許第5167577号明細書および国際公開第2005/017419号パンフレットにより以前から知られている。しかし、これら方法および装置は手術領域のためのクリーンエアのゾーンを発生させるのに特に適しているわけではない。米国特許第6811593号明細書は、とりわけ手術領域用のエア処理装置に関するものであるが、この装置は水平方向にエアを吹き出すのに適している。この装置は手術施設内で周辺のエア温度に関連させて供給エアの温度を考慮するものでなく、また手術施設内での熱的ゾーンを考慮するものでもない。
したがって、本発明の目的は、特に手術領域と結合して使用するのに適した方法および装置を提供することにある。そして、これは後述の請求項1を特徴付ける手段を含む方法を介し、さらに、後述の請求項18を特徴付ける特色を有する装置によって達成される。
エア処理装置と照明装置を結合し、そして手術領域の上方にそれらを配置、または、逆に手術領域を、エア処理装置と照明装置の下方で確認できるように配置し、そしてエアの流れが低く、手術領域では限定した広がりを有するクリーンエアのゾーンを定めるようにクリーンエアを放射または放出する前記エア処理装置を設計することによって、周囲の汚れたエアとの干渉を最小限とすることが達成され、同時に、手術領域の最適な照明が得られる。またさらに、手術領域上方での澱みのゾーンが回避され、執刀医からの細菌搬送空中浮遊粒子が手術領域に達するのを防ぐ。というのは、その粒子を発生する執刀医は、本来手術領域の外側にいるからである。換言すれば、手術領域での照明が最適にされるとき、手術領域だけでなく照明に関係するエア供給も同時に最適にされる。照明がいかように位置付けされるかにかかわらず、換気がそれと一緒に移動され、そして、そうでない場合に生ずる通常の澱みが除去される。さらに、感染に対するリスクが減少され、設備に対する素人の依存度が減少され、医学関係の提出文書の可能性が増大し、エネルギコストおよびメンテナンスのコストが減少され そして、音量のレベルも低くなる。
本発明の他の目的および利点は、添付の図面および以下の好適実施例の詳細な説明を当業者が検討すれば明白となる。
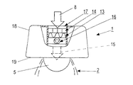
図に示されるエア処理装置は医療中の手術領域にクリーンエアのゾーン2を提供するのに適しており、そこでは照明装置25が手術領域3を照らすため設けられている。エア処理装置1と照明装置25は、その実施例において、移動可能であるように示されており、また手術領域の上部で且つ前記手術領域と手術施設4の天井32の間の機能的な位置に配置されている。代替的に、エア処理装置1と照明装置25が固定されている場合、手術台のように好適に形成されるかまたは規定された手術領域3は、エア処理装置1と照明装置25が手術領域3と手術施設4の天井32の間になお確認されるような機能的な位置に配置を置き換えることも可能である(図7参照)。
手術領域3の有る手術施設4の天井32は、好適には、支持フレーム部材32aの直下の天井部材32bだけでなく支持フレーム部材32aからなる。(図7参照)こうして、エア処理装置1と照明装置25は、天井部材32bと手術領域3の間にあるそのような実施例の配置である。しかし、代替的には、図7のように、エア処理装置1は、その部分が支持フレーム部材32aと天井部材32bの間にあるようにし、一方、そのエア処理装置の他の部分と照明装置25が天井部材32bと手術領域3との間に位置するように設計されることが可能である。それによって、エア処理装置1の異なる部分は、固定、および/または、柔軟性のあるエア管路33を介して結合される。
クリーンエアのゾーン2を規定するフィルタ装置13が、クリーンエアを提供するためのエアをろ過するように設けられている。エアの冷却、および/または、冷却されたエアを取り入れる装置14がクリーンエアを与えるよう設けられており、その装置は、クリーンエアが手術領域3に向けてゆっくり下方へ降下するよう、クリーンエアのゾーン2の周囲の汚れたエアよりも低い温度を有する、クリーンエアのゾーン2を規定している。エア処理装置1は、冷却装置14または、熱伝達液、冷却媒体、冷却したドレン水または類似物をそなえたユニットに結合されることが可能である。冷却用コンブレッサーまたは類似の冷却機械を使用する例では、これはエア処理装置の内部または外部に設けられ、熱伝達または冷却用媒体の導管を介して結合される。大抵の冷却装置はいろんな形態で無駄な熱を発生していることに言及すべきであるが、本発明ではこうした無駄な熱の有無に制約されるものではない。エア処理装置1は、例えば通常の冷えたドレン水に結合することが可能である。また、エア処理装置1は、病院の冷却プラントで作られる熱伝達または冷却用媒体を有する外部の熱伝達または冷却用媒体システムと、あるいは、最終的には、無駄な熱のことを考慮する必要のない外部の冷却機械に結合されることが可能である。
クリーンエアのゾーン2を規定する装置5がクリーンエアの層流を放射または放出するよう設けられている。クリーンエアの層流を放射または放出するこの装置5は、好適には、エア供給ユニットを有する。このユニットは、少なくとも部分的には、セル体6またはその類似物からなり、周囲の汚れたエアがクリーンエアのゾーン2の中へ混入するリスクを最小限にするため層状の部分流のクリーンエアを発生するものである。そのセル体6は、開口したセルおよび/または、布を備えた材料から構成される。そのセル体6は、内側部分9と外側部分10からなり、その内側部分は、通過するクリーンエアが外側部分よりも大きな圧力降下を受けるように設けられている。図4から明らかなように、セル体6の内側部分9と外側部分10は、セル体の材料から構成される。図5から明らかなように、セル体6の内側部分9はセル体の材料から構成され、外側部分10は管状の通過流路11であって、その長さは幅の4乃至10倍で構成される。これにより、クリーンエアのゾーン2の外周部分は最小の乱れとなるようにすることが可能である。
手術領域3の周囲で明確に限定された範囲でクリーンエアのはっきりしたゾーン2のクリーンエアを放射または放出するために、エア供給ユニット5は好適には、少なくとも部分的に半球、実質的には半球、または他の形状を有する。これによって、および好適には、クリーンエアのゾーン2内でのクリーンエアの層流に沿って、クリーンエアのゾーン2に対し、執刀医が手術領域3の前記クリーンエアゾーンの外側に実質的に確認されるような範囲を与えることが可能となる。
エア供給ユニット5に向けて流れるようにされた汚れたエア8はフィルタ装置13を通過し、手術領域3のクリーンエアのゾーン2を形成するのに十分なクリーン度となるようにされる。このフィルタ13は好適には、交換可能なフィルタエレメントを有するならどんな適当な形式のものでもよい。
クリーンエアのゾーン2を規定する冷却装置14はエア温度を低くするよう設けられており、この中でエアは汚れたエア8の周囲よりも低い温度となる。このことは、クリーンエアのゾーン2の中のエアが降下できることに寄与するものであり、それにより、クリーンエアゾーンへの汚れたエアの混入を最小限にすることを可能にする。冷却装置14は、好適には、通過するクリーンエアの温度およびクリーンエアのゾーン2におけるエア流速が可変に制御される。クリーンエアのゾーン2における温度は、例えば、汚れたエア8の周囲よりも0.5乃至5℃低く、さらに、クリーンエアのゾーンにおけるエアの流量は、好適には、1500m3/時である。
エア供給ユニット5へのクリーンエアの流れ15は、好適には、ファン装置16によって供給される。このファン装置16はクリーンエアの流れ15の流速を制御するため制御可能とされることが可能である。ファン装置16により発生されるクリーンエアの流れ15は、本質的に、エア供給ユニット5によって、その流れが主として周囲温度に対しより低い温度であることに起因してゆっくりと下方へ降下するように分配される。
また、エア処理装置1は、少なくとも1つのエア吸気口17を有する。エア吸気口17は手術施設4の上部からエアを受け入れまたは取り入れるために設けられている。
エア処理装置1は、その下側の面にコンテナー18を有しており、エア供給ユニット5を下方に向けて設けている。コンテナー18は、手術施設4の天井32から、または手術施設で移動できるユニットから吊り下げられた懸垂装置20を介している。懸垂装置20は、手術領域3に対し異なる位置にコンテナー18を設置、および異なる手術領域3の間で最終の移動を行うことを可能にする。
前記の懸垂装置20は、例えば、天井台21、第1水平アーム22、第2水平アーム23、および半円状水平アーム24を備えており、前記第1水平アーム22は1つの垂直軸の周りで前記台21に対して旋回可能となるように前記台21上に設けられており、前記第2水平アーム23は、1つの垂直軸の周りで前記第2水平アーム23に対して旋回可能となるように前記第2水平アーム23上に設けられており、また、前記半円状水平アーム24は、1つの垂直軸の周りで前記半円状水平アーム24に対して旋回可能となるように前記半円状水平アーム24上に設けられている。コンテナー18の2つの対向する側にある部材が半円状水平アーム24のところに設けられており、従って、コンテナー18は、水平または実質的に水平で且つコンテナー18に対し正反対に向いた軸Hの周りでアーム24に対し旋回できるようにされている。
コンテナー18は、円柱状または実質的に円柱状であり、幾何学的な、および垂直または実質的に垂直な中心軸Cに関して、エア供給ユニット5と共に芯だしまたは、実質的に芯だしされることが可能である。また、コンテナー18は、エア吸気口17を備え、さらにフィルタ装置13、冷却装置14およびファン装置16を有するよう設計することが可能である。
照明装置25は、エア処理装置1の上および/または、エア処理装置1の近くに、もしくは、エア処理装置1の構成部分の上および/または、その構成部分の近くに設けられることができる。図1の実施例において、照明装置25は、中心軸Cに関し芯だしされた環状のブラケット26を有する。照明装置25は、ブラケット27を介してアーム24と結合されるかまたは、コンテナー18に結合されることが可能であり、その場合には、前記コンテナーがアーム24に対し旋回すると、そのコンテナーの動きに追従する。複数、例えば3個の、ランプ29を備えたランプホルダー28が環状のブラケット26に設けられており、前記ランプ29は手術領域3を照らすことができるように向けられる。前記ランプ29は、好適には、中心軸Cの周りで均等に配置される。
図6から明らかなように、照明装置25は他の方法で設けられ設計されることが可能である。かくして、照明装置25は1つ以上の照明ユニット30、31を有し、その各ユニットに1つ以上のランプ29を備えることが可能である。照明ユニット30、31は、好適には、エア処理装置1と同じ懸垂装置20に取付けられる。照明装置25は上述し図面に示したもの以外の他の方法で設計されることも可能である。
上述した代表的な装置によって、執刀医は手術領域の照明および、同時に手術領域だけでなく照明に関連してエアの供給を最適化することができる。執刀医が照明装置をどのように配置するかにかかわらず、換気はそれと一緒に移動され、その逆もそうである。
エア処理装置1は、クリーンエアのゾーン2を発生させるために手術領域3のところで使用され、そして、このクリーンエアのゾーン2は、執刀医および手術施設4の他の物品が主として確認される範囲の外側のはっきりとした領域を有する。
手術領域3の内部および周囲でクリーンエアのゾーン2の範囲や向きを視覚的に特徴付ける(可視化する)ために、エア処理装置1は、ある装置、好適には、照明装置(図示せず)を備えることが可能である。この照明装置は、クリーンエアの層流を放射または放出するための装置5、好適には、エア供給ユニットの周りに配置されることが可能である。好適実施例においては、この照明装置は、前記装置またはエア供給ユニット5の周りにリング状に配置された発光ダイオードから構成することが可能である。これら発光ダイオードは着色したおよび/または、白色光を放射する。
手術領域とは別の作業領域でまたはその周囲でクリーンエアのゾーン2を、当該クリーンエアゾーンの範囲および向きを可視化して提供することが所望される場合、そうした目的のために上述した装置をこれらの作業領域にて利用可能であることは明白である。
また、エア処理装置1は、好適には、感染を制御する換気として、および/または、感染の伝播を制御するための換気として、および/または、手術領域3の保護的な換気として、もしくは手術領域から有毒な気体を除去するために使用されることが可能である。
本発明は、上述され図面に示したものに限定されるものではなく、後に続く特許請求の範囲に記載した技術的思想の範囲で変形されることが可能である。上で述べたように、エア供給ユニット5は、コンテナー18上にて他の方法で配置されることが可能であり、そしてもしコンテナーがあるならそのコンテナーは他の方法に設計されることが可能である。フィルタ、冷却およびファン装置13、14、16は、コンテナー18とは別の方法で設けられることが可能であり、さらに、懸垂装置20は上述し図面に示したものとは別の方法で設計されることが可能である。
エア供給ユニット5は、少なくとも半球、または実質的に半球形状または、実質的に半球状の断面以外の他の形状を有することが可能である。他の形状の1つの例としては、半球の断面を有する細長い形状のものがある。そのような形状の他の例としては、エア供給ユニット5の下部が半球または実質的に半球であってその上部が他の形状をしている場合である。冷却装置14は熱電子装置とすることが可能である。クリーンエアのはっきりしたゾーン2を発生させるだけでなく当該クリーンエアゾーン2において層流のエアを放射または放出する装置5は同一の装置または異なる装置とすることが可能である。
最後に、結合したエア処理装置および照明装置1、25は、ワイヤまたは同等物で垂下しながら横方向から、および車輪上のフレームから懸垂されることで手術領域3に対し交互に移動されることが可能であり、さらに、エア処理装置および照明装置1、25は、上述した以外の他の方法で互いに、結合されることが可能であるということが主張されるべきである。
Claims (52)
- 照明装置(25)が手術領域(3)を照射するために設けられており、エア処理装置(1)によって前記手術領域(3)にクリーンエアのゾーン(2)を提供する方法であって、
前記エア処理装置(1)と照明装置(25)、および/または、手術領域(3)は、前記エア処理装置(1)と照明装置(25)が手術領域(3)の上方で且つ前記手術領域(3)と該手術領域(3)の位置する手術施設(4)内の天井(32)との間に配置されるような機能的位置へ移動されるかまたは移動されており、
エアが、前記手術施設(4)の上部からエア処理装置(1)内へ受け入れられるかまたは取り込まれ、
前記エアは、前記クリーンエアのゾーン(2)を規定するクリーンエアを提供するためのエア処理装置(1)の中でろ過され、
前記エアは、前記クリーンエアのゾーン(2)を規定するクリーンエアが、当該クリーンエアのゾーン(2)を囲む汚れたエア(8)よりも低い温度を持つようにするため、前記手術施設(4)内のエア温度より低い温度に前記エア処理装置(1)の中で冷却され、
前記クリーンエアはゆっくりと手術領域(3)に向け下方へ降下し、さらに、
前記手術領域(3)の中および周りでクリーンエアのゾーン(2)を規定するクリーンエアが前記エア処理装置(1)からクリーンエアの層流として放射または放出される、
ことを特徴とするクリーンエアのゾーン(2)を提供する方法。 - 前記エア処理装置(1)と照明装置(25)は、前記手術領域(3)に対する移動によって、前記エア処理装置(1)と照明装置(25)が手術領域(3)の上方で且つ前記手術領域(3)と該手術領域(3)の位置する手術施設(4)内の天井(32)との間に配置されるような機能的位置へ移動されるかまたは移動されていることを特徴とする請求項1に記載された方法。
- 前記手術領域(3)は、前記エア処理装置(1)と照明装置(25)に対する移動によって、前記エア処理装置(1)と照明装置(25)が手術領域(3)の上方で且つ前記手術領域(3)と該手術領域(3)の位置する手術施設(4)内の天井(32)との間に配置されるような機能的位置へ移動されるかまたは移動されていることを特徴とする請求項1に記載された方法。
- 前記エア処理および照明装置(1、25)は、照明装置(25)の位置が手術領域(3)に対して変化したときエア処理装置(1)は前記照明装置(25)と共に移動されまた、その逆もそうであることを特徴とする請求項1または2記載の方法。
- 前記クリーンエアのゾーン(2)に受け入れるエアの降下速度を必要に応じて設定するために手術施設(4)で取り囲んでいるエア(8)に対して前記受け入れるエアの温度が制御されることを特徴とする請求項1乃至4のいずれか1項に記載の方法。
- 前記クリーンエアのゾーン(2)は、前記手術領域(3)に向けて下方に広がっていることを特徴とする請求項1乃至5のいずれか1項に記載の方法。
- 前記エア処理装置(1)に対するエアの供給は、前記エア処理装置(1)を通過するエアの流れを必要に応じて設定するために制御されることを特徴とする請求項1乃至6のいずれか1項に記載の方法。
- 前記クリーンエアのゾーン(2)のクリーンエアは、前記取り囲んでいるエアの温度よりも0.5乃至5℃低い温度にされることを特徴とする請求項1乃至7のいずれか1項に記載の方法。
- 前記クリーンエアのゾーン(2)のエアの流れは、100乃至1500m3/時の流量にされることを特徴とする請求項1乃至8のいずれか1項に記載の方法。
- 前記エア処理装置(1)は、前記手術領域(3)の上方で0.1乃至1.5mの高さに配置されることを特徴とする請求項1乃至9のいずれか1項に記載の方法。
- クリーンエアの層流として放出または放射のためのクリーンエアは、エア供給ユニット(5)内の少なくとも1つのセル体(6)または類似物を通過するようにされていることを特徴とする請求項1乃至10のいずれか1項に記載の方法。
- クリーンエアの層流として放出または放射のためのクリーンエアは、少なくとも部分的に半球または実質的に半球の断面を有するセル体(6)、布または類似物の形状でエア供給ユニット(5)を通過するようにされていることを特徴とする請求項1乃至11のいずれか1項に記載の方法。
- クリーンエアの層流として放出または放射のためのクリーンエアは、少なくとも1つのファン装置(16)によってセル体(6)、布または類似物の形状でエア供給ユニット(5)を通過するようにされ、そして、前記セル体(6)は、クリーンエアの流れがそこを通過するとき本質的に当該クリーンエアの流れを分配することを特徴とする請求項1乃至12のいずれか1項に記載の方法。
- クリーンエアの層流として放出または放射のためのクリーンエアは、少なくとも1つの発泡プラスチックのセル体(6)または布の形状でエア供給ユニット(5)を通過するようにされることを特徴とする請求項1乃至13のいずれか1項に記載の方法。
- クリーンエアの層流として放出または放射のためのクリーンエアは、異なる圧力降下特性を有する1以上のセル体(6)の形状でエア供給ユニット(5)を通過するようにされることを特徴とする請求項1乃至14のいずれか1項に記載の方法。
- クリーンエアの層流として放出または放射のためのクリーンエアは、エア供給ユニット(5)の少なくとも1つの内側および外側の部分(9、10)を通過するようにされており、前記内側部分(9)は少なくとも1つのセル体(6)または布を有し、前記外側部分(10)は、前記クリーンエアのゾーン(2)の外側部分(12)が最小の乱気流を有するよう直線的且つ一様に分配されるクリーンエアの部分流(7)を発生するため、長さが幅よりも4乃至10倍大きい通気路(11)を備えていることを特徴とする請求項1乃至15のいずれか1項に記載の方法。
- 前記手術領域(3)の中および周りのクリーンエアのゾーン(2)は、前記クリーンエアのゾーン(2)の範囲および向きを定めるため視覚的に特徴付けられることを特徴とする請求項1乃至16のいずれか1項に記載の方法。
- 照明装置(25)が手術領域(3)を照射するために設けられており、エア処理装置(1)によって前記手術領域(3)にクリーンエアのゾーン(2)を提供する装置であって、
前記エア処理装置(1)と照明装置(25)、および/または、手術領域(3)は、前記エア処理装置(1)と照明装置(25)が手術領域(3)の上方で且つ前記手術領域(3)と該手術領域(3)の位置する手術施設(4)内の天井(32)との間に配置されるような機能的位置にあり、
前記エア処理装置(1)は、前記手術施設(4)の上部からエアを受け入れるかまたは取り込むように設けられた少なくとも1つのエア吸気口(17)を有しており、
前記クリーンエアのゾーン(2)を規定するクリーンエアを提供するためのエアをろ過するために前記エア処理装置(1)内にフィルタ装置(13)が設けられており、
前記クリーンエアのゾーン(2)を規定するクリーンエアが、当該クリーンエアのゾーン(2)を囲む汚れたエア(8)よりも低い温度を持つようにするため、前記手術施設(4)内のエア温度より低い温度にエアを冷却するための装置(14)が前記エア処理装置(1)に設けられており、
前記クリーンエアはゆっくりと手術領域(3)に向け下方へ降下し、さらに、
前記手術領域(3)の中および周りでクリーンエアのゾーン(2)を規定するクリーンエアの層流を放射または放出するために、装置(5)がエア処理装置(1)に設けられている、
ことを特徴とするクリーンエアのゾーン(2)を提供する装置。 - 前記エア処理装置(1)と照明装置(25)は、前記手術領域(3)に対する移動によって、前記エア処理装置(1)と照明装置(25)が手術領域(3)の上方で且つ前記手術領域(3)と該手術領域(3)の位置する手術施設(4)内の天井(32)との間に配置されるよう設けられた機能的位置にあることを特徴とする請求項18に記載された装置。
- 前記手術領域(3)は、前記エア処理装置(1)と照明装置(25)に対する移動によって、前記エア処理装置(1)と照明装置(25)が手術領域(3)の上方で且つ前記手術領域(3)と該手術領域(3)の位置する手術施設(4)内の天井(32)との間に配置されるよう設けられた機能的位置にあることを特徴とする請求項18に記載された装置。
- 前記エア処理および照明装置(1、25)は、照明装置(25)の位置が手術領域(3)に対して変化したときエア処理装置(1)は前記照明装置(25)と共に移動されるように相互に連結されまた、その逆もそうであることを特徴とする請求項18または19に記載の装置。
- 手術領域(3)が位置している手術施設(4)の天井(32)は、支持フレーム部材(32a)の直下に配置された天井部材(32b)だけでなく支持フレーム部材(32a)とからなり、さらに、エア処理装置(1)と照明装置(25)は天井部材(32b)と手術領域(3)の間に配置されていることを特徴とする請求項18乃至21のいずれか1項に記載された装置。
- 前記エア処理装置(1)の部分が支持フレーム部材(32a)と天井部材(32b)の間に配置され、前記エア処理装置(1)の他の部分と照明装置(25)は天井部材(32b)と手術領域(3)の間に配置されていることを特徴とする請求項22に記載された装置。
- 前記支持フレーム部材(32a)と天井部材(32b)の間に配置された前記エア処理装置(1)の部分と、天井部材(32b)と手術領域(3)の間に配置されている前記エア処理装置(1)の他の部分とは、堅い、および/または、柔軟なエア管路(33)を介して相互連結されていることを特徴とする請求項23に記載された装置。
- 前記照明部材(25)は、エア処理装置(25)の上および/または、その近くに設けられ、もしくは、エア処理装置の部分の上および/または、その近くに設けられていることを特徴とする請求項18乃至24のいずれか1項に記載された装置。
- 前記装置は、クリーンエアのゾーン(2)のクリーンエアの温度を設定するための制御装置および/または、クリーンエアのゾーン(2)におけるエアの速度を制御するためにファン装置(16)の速度を制御する制御装置を備えることを特徴とする請求項18乃至25のいずれか1項に記載された装置。
- クリーンエアの層流を放射または放出するための装置(5)を介して流れるエアを供給および取り込むためにエア処理装置(1)にファン装置(16)が設けられており、さらに、前記クリーンエアの層流を放射または放出するための装置は、前記流れがそこを通過するときクリーンエアの流れを本質的に分配するよう設けられていることを特徴とする請求項18乃至26のいずれか1項に記載された装置。
- クリーンエアのゾーン(2)を規定するエアを冷却するための冷却装置(14)は、外部の熱伝達または冷却媒体システム、冷えたドレン水または類似物と相互連結されていることを特徴とする請求項18乃至27のいずれか1項に記載された装置。
- クリーンエアのゾーン(2)を規定するエアを冷却するための冷却装置(14)は、前記エア処理装置(1)に設けられた冷却用コンブレッサーまたは同種の冷却用機械と相互連結されていることを特徴とする請求項18乃至27のいずれか1項に記載された装置。
- クリーンエアのゾーン(2)を規定するエアを冷却するための冷却装置(14)は、熱電子装置であることを特徴とする請求項18乃至27のいずれか1項に記載された装置。
- 前記フィルタ装置(13)は、手術の適用要件に対応したフィルタ等級であることを特徴とする請求項18乃至30のいずれか1項に記載された装置。
- 前記エア処理装置(1)は、当該エア処理装置(1)を前記手術領域(3)に対し異なる位置に位置付け、および/または、異なる手術領域(3)の間での移動を許容する懸垂装置(20)に設けられていることを特徴とする請求項18、19および21乃至31のいずれか1項に記載された装置。
- 前記懸垂装置(20)は、前記手術領域(3)の配置される手術施設(4)の天井(32)に結合されるか、または、手術施設(4)の可動ユニットに設けられていることを特徴とする請求項32に記載された装置。
- 前記クリーンエアの層流を放射または放出するための装置は、クリーンエアの層流(7)を発生するよう設けられた少なくとも1つのセル体(6)または類似の多孔性材料を有するエア供給ユニット(5)からなることを特徴とする請求項18乃至33のいずれか1項に記載された装置。
- 前記クリーンエアの層流を放射または放出するための装置は、少なくとも部分的に半球または実質的に半球の断面を有するエア供給ユニット(5)からなることを特徴とする請求項34に記載された装置。
- 前記クリーンエアの層流を放射または放出するための装置は、1つの内側部分と1つの外側部分(9、10)を備えた少なくとも1つのセル体(6)を有するエア供給ユニット(5)からなり、さらに前記内側部分(9)はその通気クリーンエアが前記外側部分(10)よりも大きい圧力降下を受けることを特徴とする請求項18乃至35のいずれか1項に記載された装置。
- 前記クリーンエアの層流を放射または放出するための装置は、内側部分と外側部分(9、10)がセル体材料、布、または通気路から構成されるセル体(6)を有するエア供給ユニット(5)からなることを特徴とする請求項18乃至36のいずれか1項に記載された装置。
- 前記クリーンエアの層流を放射または放出するための装置は、セル体材料または布からなる内側部分(9)と、管路状の通気路(11)からなりクリーンエアのゾーン(2)の外周部(12)における乱気流が可及的に小さくなるようにするためその長さが幅よりも4乃至10倍大きい外側部分(10)とを備えたセル体(6)または布を有するエア供給ユニット(5)からなることを特徴とする請求項18乃至37のいずれか1項に記載された装置。
- 前記クリーンエアの層流を放射または放出するための装置は、開口セルを持つ発泡性プラスチックまたは布から構成または含むセル体(6)または布を有するエア供給ユニット(5)からなることを特徴とする請求項18乃至38のいずれか1項に記載された装置。
- 前記エア処理装置(1)は、前記手術領域(3)の上方に配置されさらに前記エア吸気口(17)、前記フィルタ装置(13)、前記冷却装置(14)および前記クリーンエアの層流を放射または放出するための装置(5)を備えたコンテナー(18)を含むことを特徴とする請求項18乃至39のいずれか1項に記載された装置。
- 前記照明装置(25)は、前記手術領域(3)を照射するのに適しており、さらに前記クリーンエアの層流を放射または放出するための装置(5)を介して垂直または実質的に垂直に通る幾何学的な中心軸(C)の周りに設けられた複数のランプ(29)を含むことを特徴とする請求項18乃至40のいずれか1項に記載された装置。
- 前記ランプ(29)は、前記中心軸(C)を囲む環状ブラケット(26)に設けられていることを特徴とする請求項41に記載された装置。
- 前記エア処理装置(1)は、前記クリーンエアの層流を放射または放出するための装置(5)が下方に向けて設けられた下面(19)を持つ円柱状または実質的に円柱状のコンテナ(18)を含んでおり、
前記コンテナー(18)および前記クリーンエアの層流を放射または放出するための装置(5)は、幾何学的な、および垂直方向の中心軸(C)と芯だし、または実質的に芯だしされており、
前記コンテナー(18)は、懸垂装置(20)に設けられており、さらに、
前記照明装置(25)は、前記懸垂装置(20)および/または、前記コンテナー(18)に設けられている、
ことを特徴とする請求項40乃至42のいずれか1項に記載された装置。 - 前記コンテナー(18)の対向する側の部材は、前記コンテナー(18)に対し水平方向または実質的に水平方向で且つ正反対方向の幾何学的軸(H)の周りで前記コンテナー(18)が旋回可能なように前記懸垂装置(20)に設けられていることを特徴とする請求項40乃至43のいずれか1項に記載された装置。
- 前記エア処理装置(1)は、前記クリーンエアの層流を放射または放出するための装置(5)が下方に向けて設けられた下面(19)を持つコンテナ(18)を含んでおり、
前記コンテナー(18)は、当該コンテナー(18)を前記手術領域(3)に対し異なる位置に位置付け、および/または、異なる手術領域(3)の間での移動を許容する懸垂装置(20)に設けられており、さらに、
前記コンテナー(18)内には、前記エア吸気口(17)を介して供給されるエアが、当該エアをろ過するためのフィルタ装置(13)へおよび当該フィルタ装置(13)を介して流れるようにするためのファン装置(16)、前記エアを冷却するための冷却装置(14)および前記クリーンエアの層流を放射または放出するための装置(5)が設けられている、
ことを特徴とする請求項18、19および21乃至44のいずれか1項に記載された装置。 - 前記手術領域(3)の中および周りのクリーンエアのゾーン(2)の範囲および向きを視覚的に特徴付けるための装置が前記エア処理装置(1)に設けられていることを特徴とする請求項18乃至45のいずれか1項に記載された装置。
- 前記手術領域(3)の中および周りのクリーンエアのゾーン(2)の範囲および向きを視覚的に特徴付けるための装置は、前記クリーンエアの層流を放射または放出するための装置(5)の周りに設けられた照明装置を含むことを特徴とする請求項46に記載された装置。
- 前記照明装置は、前記クリーンエアの層流を放射または放出するための装置(5)の周りでリングに配置され、さらに前記手術領域(3)に向け着色および/または、白色光を放射する複数の発光ダイオードから構成されることを特徴とする請求項47に記載された装置。
- 前記手術領域(3)は、手術台により形成または規定されることを特徴とする請求項18乃至48のいずれか1項に記載された装置。
- 前記装置は、執刀医が本来、前記クリーンエアのゾーン(2)の外側に確認されるよう前記手術領域(3)周りの限定された範囲を有するクリーンエアのゾーン(2)を提供するために使用されることを特徴とする請求項18乃至49のいずれか1項に記載された装置の利用。
- 前記装置は、患者が前記執刀医のために感染するリスクを減少させるために、および/または、前記手術領域(3)から有毒な気体を除去するために前記手術領域(3)の中および周りにクリーンエアのゾーン(2)を提供するために使用されることを特徴とする請求項18乃至49のいずれか1項に記載された装置の利用。
- 前記装置は、クリーンエアのゾーン(2)の範囲および向きを視覚的に特徴付けることで、手術領域(3)以外の他の作業領域またはその周りに前記クリーンエアのゾーン(2)を提供するために使用されることを特徴とする請求項46乃至48のいずれか1項に記載された装置の利用。
Applications Claiming Priority (2)
| Application Number | Priority Date | Filing Date | Title |
|---|---|---|---|
| SE0600459A SE532219C2 (sv) | 2006-02-28 | 2006-02-28 | Förfarande och anordning för att åstadkomma en renluftzon vid ett operationsområde inom sjukvården och användning av nämnda anordning |
| PCT/SE2007/000177 WO2007100286A1 (en) | 2006-02-28 | 2007-02-26 | Method and device for providing a zone of clean air at an operation area and use of said device |
Publications (1)
| Publication Number | Publication Date |
|---|---|
| JP2009528126A true JP2009528126A (ja) | 2009-08-06 |
Family
ID=38459321
Family Applications (1)
| Application Number | Title | Priority Date | Filing Date |
|---|---|---|---|
| JP2008557233A Pending JP2009528126A (ja) | 2006-02-28 | 2007-02-26 | 手術領域にクリーンエアのゾーンを提供する方法および装置ならびに前記装置の利用 |
Country Status (6)
| Country | Link |
|---|---|
| US (1) | US8066802B2 (ja) |
| EP (1) | EP1988868A4 (ja) |
| JP (1) | JP2009528126A (ja) |
| CN (1) | CN101420928A (ja) |
| SE (1) | SE532219C2 (ja) |
| WO (1) | WO2007100286A1 (ja) |
Cited By (2)
| Publication number | Priority date | Publication date | Assignee | Title |
|---|---|---|---|---|
| JP2013534353A (ja) * | 2010-07-28 | 2013-09-02 | コルポラシオ サニタリア パルク タウリ | ランプ |
| JP2021180827A (ja) * | 2020-05-14 | 2021-11-25 | 社会医療法人蘇西厚生会 まつなみリサーチパーク | シールド |
Families Citing this family (28)
| Publication number | Priority date | Publication date | Assignee | Title |
|---|---|---|---|---|
| CA2652431A1 (en) * | 2006-05-18 | 2007-11-29 | The Boeing Company | Personal environment airflow controller |
| WO2007147259A1 (en) * | 2006-06-23 | 2007-12-27 | Veft Aerospace Technology Inc. | Entrainment air flow control and filtration devices |
| ES2427125T3 (es) * | 2008-09-29 | 2013-10-28 | Epitech Group S.R.L. | Campana móvil de flujo laminar para su uso en podología |
| CN101551079B (zh) * | 2009-05-21 | 2011-01-12 | 重庆邦桥科技有限公司 | 一种手术室照明无影灯 |
| ES2409538B1 (es) * | 2009-08-18 | 2015-03-06 | Lapuente Carlos Ruiz | Dispositivo emisor de flujo laminar |
| CN102667351B (zh) * | 2009-10-07 | 2016-08-10 | 阿桑尼特有限责任公司 | 用于置换身体对流并提供可控的个人呼吸区域的方法和设备 |
| ES2569515T3 (es) * | 2010-03-16 | 2016-05-11 | Airsonett Ab | Tratamiento del asma, de la rinitis alérgica y mejora de la calidad del sueño mediante tratamiento con flujo aéreo laminar controlado por temperatura |
| US8506666B2 (en) | 2010-08-04 | 2013-08-13 | William J. Haslebacher | Filter assembly with improved gasket |
| JP5947369B2 (ja) * | 2011-04-06 | 2016-07-06 | エアソネット・アクチボラゲットAirsonett Ab | 温度制御された層状空気流 |
| US20130344795A1 (en) * | 2012-06-25 | 2013-12-26 | Huntair, Inc. | System and method for delivering air through a boom assembly |
| CN103277713B (zh) * | 2013-05-23 | 2016-05-11 | 重庆市光遥光电节能科技有限公司 | 一种手术无影灯 |
| CN103536398B (zh) * | 2013-10-30 | 2016-02-10 | 中国人民解放军总医院第一附属医院 | 便携式可拆卸多功能多样化军事行动保障装备 |
| DK2881675T3 (en) * | 2013-12-03 | 2019-01-14 | Avidicare Ab | Air Supply System |
| DE102014004922B3 (de) | 2014-04-07 | 2015-03-12 | Innovations-Transfer Uphoff Gmbh &.Co.Kg | Laminarisatorpassagevorrichtung |
| CA2902906C (en) | 2014-09-05 | 2022-07-26 | Broan-Nutone Llc | Exhaust fan light module |
| CN107883508A (zh) * | 2016-09-29 | 2018-04-06 | 殷晓冬 | 装配式和组装式弱湍流集中送风装置 |
| US11408170B2 (en) * | 2019-02-06 | 2022-08-09 | Flexible OR Solutions LLC | Universal pre-fabricated operating room ceiling system |
| TWI741539B (zh) * | 2019-05-02 | 2021-10-01 | 國立成功大學 | 手術煙霧移除裝置及方法 |
| CN110220140B (zh) * | 2019-07-08 | 2024-04-09 | 北京大学第三医院(北京大学第三临床医学院) | 手术室补充照明系统及其控制方法 |
| US12016802B2 (en) | 2019-10-22 | 2024-06-25 | Aerobiotix. Llc | Air treatment system for operating or patient rooms |
| US12390548B2 (en) | 2020-05-14 | 2025-08-19 | Mehrdad Michael HOGHOOGHI | System and method for protecting a workspace from airborne contaminants |
| US11859864B1 (en) | 2020-05-18 | 2024-01-02 | Wunderlich-Malec Engineering, Inc. | Particulate and virus barrier |
| DE102020114416A1 (de) * | 2020-05-29 | 2021-12-02 | Karl Leibinger Medizintechnik Gmbh & Co. Kg | System zur Überwachung einer Operationsleuchtenanordnung |
| US11337876B2 (en) * | 2020-07-27 | 2022-05-24 | V. Tyronne Bryant | Hospital bed shield |
| CN112344493B (zh) * | 2020-11-06 | 2022-05-06 | 山东康诚医用设备工程有限公司 | 一种层流手术室用净化装置 |
| CN112515907B (zh) * | 2020-11-30 | 2023-01-31 | 同济大学 | 适用于手术室的异温异速宽口低速空气幕的层流送风方法 |
| US11529209B2 (en) | 2021-04-16 | 2022-12-20 | Augustine Biomedical + Design, LLC | Aerodynamic surgical light and boom systems |
| US11644187B2 (en) | 2021-04-16 | 2023-05-09 | Augustine Biomedical + Design, LLC | Aerodynamic surgical light and boom systems |
Citations (4)
| Publication number | Priority date | Publication date | Assignee | Title |
|---|---|---|---|---|
| FR2032919A5 (ja) * | 1969-02-28 | 1970-11-27 | Sulzer Ag | |
| JPH048028U (ja) * | 1990-05-07 | 1992-01-24 | ||
| JPH049681Y2 (ja) * | 1987-06-05 | 1992-03-11 | ||
| US20020064038A1 (en) * | 2000-11-25 | 2002-05-30 | Ryszard Kummerfeld | Surgical lamp assembly for mounting on a ceiling |
Family Cites Families (18)
| Publication number | Priority date | Publication date | Assignee | Title |
|---|---|---|---|---|
| GB1065644A (en) * | 1963-10-29 | 1967-04-19 | Union Carbide Corp | Improvements in and relating to surgical lamps |
| DE2337454A1 (de) * | 1973-07-24 | 1975-02-06 | Teves Gmbh Alfred | Luftverteilereinrichtung |
| FI52146C (fi) * | 1974-12-20 | 1977-06-10 | Ahlstroem Oy | Valaisin. |
| FR2348632A7 (fr) * | 1976-04-13 | 1977-11-10 | Delbag Luftfilter Gmbh | Dispositif d'aeration de salles operatoires |
| DE3331299A1 (de) | 1983-08-31 | 1985-03-14 | Heinz Dipl.-Ing. 4390 Gladbeck Hölter | Verfahren und vorrichtung zur gezielten reinluftzufuehrung in das operationsfeld |
| DE3507808A1 (de) * | 1985-03-01 | 1986-09-04 | Herbst, Donald, Dipl.-Ing., 1000 Berlin | Filteranordnung zur versorgung reiner raeume |
| US5094676A (en) * | 1990-05-03 | 1992-03-10 | Karbacher Michael H | Filter/fan assembly |
| SE500707C2 (sv) * | 1990-08-22 | 1994-08-15 | Jk Vvs Projektering Ab | Tilluftdon med halvsfärisk utströmningsdel uppvisande poröst material |
| DE4303192A1 (de) * | 1993-02-04 | 1994-08-11 | Alois Rieth | Beleuchtungsanordnung mit sterilem Luftstrom für ein Operationsfeld |
| US5443625A (en) * | 1994-01-18 | 1995-08-22 | Schaffhausen; John M. | Air filtering fixture |
| AUPO532397A0 (en) * | 1997-02-26 | 1997-03-20 | I.D.E.A. (Industrial Design And Engineering Associates) Pty Ltd | Combined light source/air purifier |
| US6244720B1 (en) * | 1999-12-23 | 2001-06-12 | Charles W. Neff | Air filter and light apparatus |
| SE516775C2 (sv) * | 2000-06-05 | 2002-02-26 | Jan Kristensson | Förfarande och anordning för att åstadkoma ren luft i en lokal |
| SE521052C3 (sv) * | 2001-03-20 | 2003-10-22 | Toul Meditech Ab | Luftreningsanordning avsedd för rening av luft i känsliga miljöer, förfarande för att anordna luftrening i känsliga miljöer samt användning av nämnda luftreningsanordning |
| SE0302201D0 (sv) * | 2003-08-13 | 2003-08-13 | Airson Ab | Lufttillförselanordning |
| US7572309B2 (en) * | 2005-05-06 | 2009-08-11 | Gvs S.P.A. | Filter for venting enclosures, for example containing electrical equipment, such as vehicle lighting units, and exposed to moisture or atmospheric agents |
| US7850753B2 (en) * | 2005-05-06 | 2010-12-14 | Gvs S.P.A. | Vent filter with membrane |
| US8597389B2 (en) * | 2009-07-14 | 2013-12-03 | Quy That Ton | Filtration lighting system |
-
2006
- 2006-02-28 SE SE0600459A patent/SE532219C2/sv unknown
-
2007
- 2007-02-26 CN CNA2007800107755A patent/CN101420928A/zh active Pending
- 2007-02-26 EP EP07709386A patent/EP1988868A4/en not_active Withdrawn
- 2007-02-26 JP JP2008557233A patent/JP2009528126A/ja active Pending
- 2007-02-26 WO PCT/SE2007/000177 patent/WO2007100286A1/en not_active Ceased
- 2007-02-26 US US12/281,000 patent/US8066802B2/en active Active
Patent Citations (4)
| Publication number | Priority date | Publication date | Assignee | Title |
|---|---|---|---|---|
| FR2032919A5 (ja) * | 1969-02-28 | 1970-11-27 | Sulzer Ag | |
| JPH049681Y2 (ja) * | 1987-06-05 | 1992-03-11 | ||
| JPH048028U (ja) * | 1990-05-07 | 1992-01-24 | ||
| US20020064038A1 (en) * | 2000-11-25 | 2002-05-30 | Ryszard Kummerfeld | Surgical lamp assembly for mounting on a ceiling |
Cited By (2)
| Publication number | Priority date | Publication date | Assignee | Title |
|---|---|---|---|---|
| JP2013534353A (ja) * | 2010-07-28 | 2013-09-02 | コルポラシオ サニタリア パルク タウリ | ランプ |
| JP2021180827A (ja) * | 2020-05-14 | 2021-11-25 | 社会医療法人蘇西厚生会 まつなみリサーチパーク | シールド |
Also Published As
| Publication number | Publication date |
|---|---|
| US20090288555A1 (en) | 2009-11-26 |
| EP1988868A1 (en) | 2008-11-12 |
| SE0600459L (sv) | 2007-08-29 |
| WO2007100286A1 (en) | 2007-09-07 |
| SE532219C2 (sv) | 2009-11-17 |
| EP1988868A4 (en) | 2011-06-01 |
| US8066802B2 (en) | 2011-11-29 |
| CN101420928A (zh) | 2009-04-29 |
Similar Documents
| Publication | Publication Date | Title |
|---|---|---|
| JP2009528126A (ja) | 手術領域にクリーンエアのゾーンを提供する方法および装置ならびに前記装置の利用 | |
| EP2181686B1 (en) | A method for ventilating a surgical theater | |
| US4009647A (en) | Clean air zone for surgical purposes | |
| US8308536B2 (en) | Ventilating device for providing a zone of clean air | |
| JP4259874B2 (ja) | センシティブな環境向けの空気清浄装置 | |
| ES2272478T3 (es) | Metodo para proporcionar aire limpio en locales y dispositivo para realizar dicho metodo. | |
| US20190234645A1 (en) | Sterile airflow delivery system | |
| US11555604B2 (en) | Airflow-channeling surgical light system and method | |
| JP2013534353A (ja) | ランプ | |
| EP3317583B1 (en) | Airflow-channeling surgical light system and method | |
| JP6368486B2 (ja) | 斜流式空気清浄装置、及び開口型手術室用照明器具を備えた手術室 | |
| WO2016156581A1 (en) | Improved system and method for ventilation and illumination of an operating room | |
| JP6481283B2 (ja) | 手術室 | |
| JP6017118B2 (ja) | 空調システム | |
| JP6153128B2 (ja) | 手術室用照明装置及びこれを備えた手術室 | |
| JP2010027274A (ja) | 照明装置 | |
| JP6322604B2 (ja) | 空調システム | |
| JP2017208318A (ja) | 照明器具およびこれを備えた開口型照明装置ならびに手術室 | |
| Jacobs et al. | Improved system and method for illumination and ventilation of an operating room | |
| CN112997808A (zh) | 一种食用菌栽培环境控制设施 |
Legal Events
| Date | Code | Title | Description |
|---|---|---|---|
| A621 | Written request for application examination |
Free format text: JAPANESE INTERMEDIATE CODE: A621 Effective date: 20090928 |
|
| A131 | Notification of reasons for refusal |
Free format text: JAPANESE INTERMEDIATE CODE: A131 Effective date: 20111005 |
|
| A02 | Decision of refusal |
Free format text: JAPANESE INTERMEDIATE CODE: A02 Effective date: 20120302 |