JP2009517618A - Oリング無し薄型取付部品および取付部品アセンブリ - Google Patents

Oリング無し薄型取付部品および取付部品アセンブリ Download PDF

Info

Publication number
JP2009517618A
JP2009517618A JP2008543343A JP2008543343A JP2009517618A JP 2009517618 A JP2009517618 A JP 2009517618A JP 2008543343 A JP2008543343 A JP 2008543343A JP 2008543343 A JP2008543343 A JP 2008543343A JP 2009517618 A JP2009517618 A JP 2009517618A
Authority
JP
Japan
Prior art keywords
thin
ring
fitting
protrusion
sealing surface
Prior art date
Legal status (The legal status is an assumption and is not a legal conclusion. Google has not performed a legal analysis and makes no representation as to the accuracy of the status listed.)
Granted
Application number
JP2008543343A
Other languages
English (en)
Other versions
JP2009517618A5 (ja
JP5302002B2 (ja
Inventor
イラジ ガシュガイー,
Original Assignee
エンテグリース,インコーポレイテッド
Priority date (The priority date is an assumption and is not a legal conclusion. Google has not performed a legal analysis and makes no representation as to the accuracy of the date listed.)
Filing date
Publication date
Application filed by エンテグリース,インコーポレイテッド filed Critical エンテグリース,インコーポレイテッド
Publication of JP2009517618A publication Critical patent/JP2009517618A/ja
Publication of JP2009517618A5 publication Critical patent/JP2009517618A5/ja
Application granted granted Critical
Publication of JP5302002B2 publication Critical patent/JP5302002B2/ja
Active legal-status Critical Current
Anticipated expiration legal-status Critical

Links

Images

Classifications

    • FMECHANICAL ENGINEERING; LIGHTING; HEATING; WEAPONS; BLASTING
    • F16ENGINEERING ELEMENTS AND UNITS; GENERAL MEASURES FOR PRODUCING AND MAINTAINING EFFECTIVE FUNCTIONING OF MACHINES OR INSTALLATIONS; THERMAL INSULATION IN GENERAL
    • F16LPIPES; JOINTS OR FITTINGS FOR PIPES; SUPPORTS FOR PIPES, CABLES OR PROTECTIVE TUBING; MEANS FOR THERMAL INSULATION IN GENERAL
    • F16L41/00Branching pipes; Joining pipes to walls
    • F16L41/08Joining pipes to walls or pipes, the joined pipe axis being perpendicular to the plane of a wall or to the axis of another pipe
    • F16L41/086Joining pipes to walls or pipes, the joined pipe axis being perpendicular to the plane of a wall or to the axis of another pipe fixed with screws
    • BPERFORMING OPERATIONS; TRANSPORTING
    • B21MECHANICAL METAL-WORKING WITHOUT ESSENTIALLY REMOVING MATERIAL; PUNCHING METAL
    • B21CMANUFACTURE OF METAL SHEETS, WIRE, RODS, TUBES, PROFILES OR LIKE SEMI-MANUFACTURED PRODUCTS OTHERWISE THAN BY ROLLING; AUXILIARY OPERATIONS USED IN CONNECTION WITH METAL-WORKING WITHOUT ESSENTIALLY REMOVING MATERIAL
    • B21C37/00Manufacture of metal sheets, rods, wire, tubes, profiles or like semi-manufactured products, not otherwise provided for; Manufacture of tubes of special shape
    • B21C37/06Manufacture of metal sheets, rods, wire, tubes, profiles or like semi-manufactured products, not otherwise provided for; Manufacture of tubes of special shape of tubes or metal hoses; Combined procedures for making tubes, e.g. for making multi-wall tubes
    • B21C37/15Making tubes of special shape; Making tube fittings
    • FMECHANICAL ENGINEERING; LIGHTING; HEATING; WEAPONS; BLASTING
    • F04POSITIVE - DISPLACEMENT MACHINES FOR LIQUIDS; PUMPS FOR LIQUIDS OR ELASTIC FLUIDS
    • F04BPOSITIVE-DISPLACEMENT MACHINES FOR LIQUIDS; PUMPS
    • F04B39/00Component parts, details, or accessories, of pumps or pumping systems specially adapted for elastic fluids, not otherwise provided for in, or of interest apart from, groups F04B25/00 - F04B37/00
    • FMECHANICAL ENGINEERING; LIGHTING; HEATING; WEAPONS; BLASTING
    • F04POSITIVE - DISPLACEMENT MACHINES FOR LIQUIDS; PUMPS FOR LIQUIDS OR ELASTIC FLUIDS
    • F04BPOSITIVE-DISPLACEMENT MACHINES FOR LIQUIDS; PUMPS
    • F04B53/00Component parts, details or accessories not provided for in, or of interest apart from, groups F04B1/00 - F04B23/00 or F04B39/00 - F04B47/00
    • F04B53/16Casings; Cylinders; Cylinder liners or heads; Fluid connections
    • FMECHANICAL ENGINEERING; LIGHTING; HEATING; WEAPONS; BLASTING
    • F16ENGINEERING ELEMENTS AND UNITS; GENERAL MEASURES FOR PRODUCING AND MAINTAINING EFFECTIVE FUNCTIONING OF MACHINES OR INSTALLATIONS; THERMAL INSULATION IN GENERAL
    • F16LPIPES; JOINTS OR FITTINGS FOR PIPES; SUPPORTS FOR PIPES, CABLES OR PROTECTIVE TUBING; MEANS FOR THERMAL INSULATION IN GENERAL
    • F16L19/00Joints in which sealing surfaces are pressed together by means of a member, e.g. a swivel nut, screwed on, or into, one of the joint parts
    • F16L19/02Pipe ends provided with collars or flanges, integral with the pipe or not, pressed together by a screwed member
    • FMECHANICAL ENGINEERING; LIGHTING; HEATING; WEAPONS; BLASTING
    • F16ENGINEERING ELEMENTS AND UNITS; GENERAL MEASURES FOR PRODUCING AND MAINTAINING EFFECTIVE FUNCTIONING OF MACHINES OR INSTALLATIONS; THERMAL INSULATION IN GENERAL
    • F16LPIPES; JOINTS OR FITTINGS FOR PIPES; SUPPORTS FOR PIPES, CABLES OR PROTECTIVE TUBING; MEANS FOR THERMAL INSULATION IN GENERAL
    • F16L41/00Branching pipes; Joining pipes to walls
    • F16L41/08Joining pipes to walls or pipes, the joined pipe axis being perpendicular to the plane of a wall or to the axis of another pipe
    • F16L41/12Joining pipes to walls or pipes, the joined pipe axis being perpendicular to the plane of a wall or to the axis of another pipe using attaching means embracing the pipe

Landscapes

  • Engineering & Computer Science (AREA)
  • General Engineering & Computer Science (AREA)
  • Mechanical Engineering (AREA)
  • Gasket Seals (AREA)
  • Mutual Connection Of Rods And Tubes (AREA)
  • Details Of Reciprocating Pumps (AREA)
  • Compressor (AREA)
  • General Details Of Gearings (AREA)

Abstract

本発明の実施形態は、半導体製造工程中に流体をウエハ上に分注するのに有用である、緊密な漏れ止めフィルタおよびポンプ内の流体接続用の新規の取付部品および取付部品アセンブリを提供する。取付部品アセンブリの一実施形態は、Oリング無し薄型取付部品、および薄型雄ネジ固定ナットを備える。ポンプの多岐管は、取付部品および固定ナットを受け入れるための雌ネジ穴を伴って機械加工される。取付部品には、多岐管よりも高い圧縮性がある。最初は、取付部品の一方の端が受入穴の底に接すると、取付部品の端と受入穴の底との間には小さな隙間が存在する。取付部品が押下されると、受入穴の底に接する取付部品の端は、変形して小さい隙間を充填し始め、それによって取付部品と多岐管との間に密封を作り出す。

Description

(関連出願の引用)
本願は、2005年12月2日に出願された、名称「O−RING−LESS LOW PROFILE FITTING AND ASSEMBLY THEREOF」の米国仮特許出願第60/741,667号の優先権を主張し、その内容はすべての目的のために参照によって本願明細書に援用される。
(発明の技術分野)
本発明は、概して流体ポンプに関する。さらに具体的には、本発明の実施形態は、流体ポンプ内での漏れおよび関連する圧力変化の排除に有用なフィルタおよび流体接続用の薄型(low profile)取付部品および取付部品アセンブリに関する。
ポンプ装置によって流体が分注される量および/または速度について精密な制御を必要とする多くの用途がある。半導体処理では、例えば、フォトレジスト化学物質などの光化学物質が半導体ウエハに塗布される量および速度について制御されることが重要である。処理中に半導体ウエハに塗布されるコーティングは、典型的には、オングストロームで測定されるウエハの表面の全面にわたる特定の平坦性および/または均等な厚さを必要とする。処理化学物質がウエハ上に塗布される(つまり分注される)速度は、慎重に制御され、処理液が均一に塗布されることを確実にしなければならない。
現在半導体産業で使用される光化学物質は、典型的に非常に高価であり、1リットルについて$1,000以上もかかる。したがって、最少であるが適当な量の化学物質を使用し、化学物質がポンプ装置によって損傷されないことを確実にすることが大いに望ましい。
残念ながら、これらの望ましい品質は、多くの相互に関係する障害のため、現在のポンプシステムでは達成することが極めて困難となり得る。例えば、取付部品の表面と取付部品が取り付けられるブロックの受入面との間の、フィルタまたは流体接続の密封を改善するために、取付部品アセンブリにおいてOリングがしばしば必要とされる。Oリングは概して、一定期間にわたって劣化し、取付部品アセンブリを漏れやすくし、貴重な流体を無駄にし、望ましくない圧力変化を引き起こす。そのような圧力変化は、流体に損害を与え(つまり、流体の物理的特性を不利に変化させる場合がある)、および/または、ポンプシステムの性能に悪影響する場合がある。
さらに、以前に開発された取付部品および取付部品アセンブリはかさばる傾向があるため、設置面積が小さく、高さ制限のあるポンプで使用するのに適切ではない。流体ポンプ内のフィルタおよび流体接続用のOリング無し薄型取付部品および取付部品アセンブリの必要性がある。本発明の実施形態は、これらの必要およびそれ以上に対応することが可能である。
本発明の実施形態は、以前に開発されたポンプシステムおよび方法における取付部品の不利な点を実質的に排除または軽減する、新規の取付部品および取付部品アセンブリを提供する。さらに具体的には、本発明の実施形態は、Oリングの存在による漏れの可能性を排除することが可能である、Oリング無し薄型取付部品およびそのアセンブリを提供する。
本発明の一実施形態は、半導体製造工程において有用な、流体ポンプ内のフィルタおよび流体接続用のOリング無し薄型取付部品および取付部品アセンブリを提供する。
本発明の別の実施形態は、Oリング無し薄型取付部品、および薄型雄ネジ固定ナットから成る薄型取付部品アセンブリを提供する。
一実施形態では、多岐管(例えば分注ブロック)は、Oリング無し薄型取付部品および薄型雄ネジ固定ナットの両方を、それぞれ対応して受け入れるための1つ以上の雌ネジ穴を伴って機械加工される。具体的には、各受入穴は、Oリング無し薄型取付部品の一方の端に整合する底部、および薄型固定ナットの雄ネジ部に整合する雌ネジ部を有する。多岐管は第1の材料でできており、取付部品は第2の材料でできている。第2の材料は、第1の材料とは異なり、第1の材料よりも高い圧縮性を有する。Oリング無し薄型取付部品は、固定ナットで多岐管上に固定される。最初は、取付部品の一方の端が受入穴の底に接すると、取付部品の端と受入穴の底との間に小さな隙間がある。取付部品が押下されると、受入穴の底に接する取付部品の端は、変形して小さい隙間を満たし始め、よって密封を完成し、取付部品と多岐管との間の漏れを排除する。
一実施形態では、Oリング無し薄型取付部品は、固定ナットによって押下される。別の実施形態では、Oリング無し薄型取付部品は、固定ナットによって押下される管によって、押下される。
本発明の実施形態によって提供される利点は、多数となり得る。例として、Oリングがないため、Oリングと関連する全ての従来の問題は排除される。欠落したOリングおよび/またはOリングの劣化によって引き起こされる漏れの可能性がない。また、取付部品アセンブリにおいて、取付部品の薄型は、それに取り付けられた管が動かされるときに固定ナットにかかる力を軽減し、よってネジが外れる問題を軽減する。さらに、Oリング無しおよび薄型設計は、機械加工の費用を削減する。
本発明およびその利点のさらに完全な理解は、類似参照番号が類似特徴を示す添付図面と関連して、次の説明を参照することによって得ることができる。
本発明の好ましい実施形態は、必ずしも一定の縮尺で描かれるとは限らない図を参照して下記で説明され、図中、類似番号は、様々な図面の類似および対応部分を指すために使用される。
本発明の実施形態は、ポンプシステムにおける流体およびフィルタ接続用の取付部品および取付部品アセンブリを対象とする。そのようなポンプシステムは、半導体製造工程中に、流体をウエハ上に送液して正確に分注するための多段(「多段式」)ポンプを採用することができる。具体的には、本発明の実施形態は、多段ポンプ内のフィルタおよび流体接続用のOリング無し薄型取付部品およびそのアセンブリを提供する。本願で説明されるようなポンプを採用する多段ポンプおよびポンプシステムは、限定ではなく一例として提供され、本発明の実施形態は、その他のポンプ設計および構造に対して利用および/または適切に実装することが可能であることに、留意すべきである。Oリング無し薄型取付部品および取付部品アセンブリの実施形態は、下記でさらに詳しく説明する。
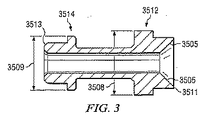
図1は、本発明の一実施形態による、Oリング無し取付部品3500の概略図である。取付部品3500の一方の端は、ブロック(例えば、図7〜15の分注ブロック205)から機械加工される受入穴の一部となり得る、受入密封面と結合するように、成形、形成、または構成される嵌合密封面を有する。取付部品3500の他方の端は、用途(例えば、フィルタを接続する)によって、任意の望ましいサイズおよび構造となり得る、管状接続(例えば、管)を受け入れる、または嵌入するように成形、形成、または構成することが可能である。図1に示される例示的実施形態では、取付部品3500は、第1の端3501および第2の端3502を有する。矢印3503によって示されるような方向の取付部品3500の上面図を、図2に示す。線A−A’によって示されるような取付部品3500の断面図を、図3に示す。
図1〜3を参照すると、第1の端3501は、第1の直径3506および第2の直径3507によって画定される密封面3505を有する。第1の直径3506は、取付部品3500の第1の端3501の先端に位置する縁3511の内径(I.D.)である。第2の直径3507は、取付部品3500の内径(つまり、取付部品3500の貫通穴)である。密封面3505は、第1の直径3506から第2の直径3507へ傾斜し(例えば、86度)、それは一実施形態によると、突起3512のすぐ前で始まる。この例では、突起3512は、密封面3505を支え、第1の端3501を特徴付ける支持構造物の一部として見なすことが可能である。第2の端3502は、突起3514およびその開口部の周囲の外形3513によって特徴付けられる。第2の端3502は、任意の適切な用途特有の形状およびサイズとなり得る。より具体的には、第2の端3502は、用途によって、様々な種類の管および管状連結器に嵌合するように成形、形成、または構成することが可能である。図1〜3に示される例示的実施形態では、突起3512および突起3514は異なる直径を有する。具体的には、突起3512の直径3508は、突起3514の直径3509よりも大きい。直径3508と直径3509の差は、固定ナットが突起3514の上方を摺動し、突起3512によって停止させられることを可能にする。取付部品3500に対するそのような固定ナットの一実施形態は、図4〜9を参照して下記でさらに詳しく説明する。
図1〜3に図示されるように、取付部品3500は、ブロック、棒、またはその他の成形物でできている。一実施形態によると、取付部品3500は、受入端(例えば、図7〜15の分注ブロック205から機械加工される雌ネジ受入穴)における受入密封面の材料よりも、高い圧縮性がある(つまり、より柔らかい)材料でできている。一実施形態では、取付部品3500は、Teflon(登録商標)PFAでできており、分注ブロック205は、PTFEまたは変性PTFEでできている。当業者であれば十分に理解できるように、後者は前者よりもより硬質の材料である(つまり、より低い圧縮性を有する)。
図4は、受入端(例えば、図7の分注ブロック205上の受入穴3770)上に取付部品3500を固定するための固定ナット3600の概略図である。図4に示される例示的実施形態では、固定ナット3600は、第1の端3601および第2の端3602を有する。矢印3603によって示されるような方向の固定ナット3600の上面図を、図5に示す。線B−B’によって示されるような固定ナット3600の断面図を、図6に示す。
図4〜6を参照すると、第1の端3601は、穴3604のある平面を有し、工具の使用(例えば、約80〜10in./lbトルクを提供することができるトルクレンチまたはその他の適当な工具を使用して、分注ブロック205上に取付部品3500をしっかりと固定する)を容易にすることができる。本発明の実施形態では、固定ナット3600は非常に薄型であり、それは、いったん固定ナット3600が取付部品3500を分注ブロック205上に固定すると、固定ナット3600の第1の端3601のごく一部のみが、分注ブロック205から突出することを意味する。一実施形態では、固定ナット3600の薄型設計は、取り付け後の突出を高さ0.2インチ未満に減少させる。この薄型設計は、固定ナット3600の1つの特性である。
固定ナット3600のもう1つの特性は、雄ネジ式であることである。図6に示されるように、ロックナット3600は雄ネジ3777を有する。図6に示されるような雄ネジ3777は、例示的となるように意図されていることを、理解すべきである。雄ネジ3777の数ならびにサイズは、受入端における受入器(例えば、図7のブロック205の受入穴3770)の雌ネジが雄ネジ3777に整合する限り、嵌合するように実装することが可能である。
図6が図示するように、第1の端3601および第2の端3602は、必要ではないが、ほぼ同じ外径を有することが可能である。この例では、第1の端3601および第2の端3602は、同じ外径3608、および異なる内径3606および3607を有する。第1の端3601における内径3606は、第2の端3602における内径3607よりも小さい。結果として、第2の端3602には、固定ナット3600のもう1つの特性である、陥凹領域3609がある。陥凹領域3609は、取付部品3500の第1の端3501を下に圧迫して、取付部品3500と分注ブロック205との間の安定したかみ合いおよび厳重な密封を確保するのに役立ち、このことは、図7〜9を参照して下記でさらに詳しく説明する。
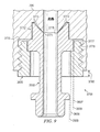
図7は、本発明の一実施形態による、多岐管(例えば、分注ブロック205)上に組み立てられる取付部品アセンブリの斜視図である。ほとんど任意の多岐管(つまり、流体または気体を受け入れる、および/または分配するための1つ以上の開口部があるチャンバまたはパイプ)を、本願で開示される本発明の実施形態を利用するように構築または構成することができる。例として、分注ブロック205の一部を図7〜15に示す。取付部品アセンブリ3700用の受入器は、用途によって適切に実装することが可能であるため、図面は限定的となるように意図されていない。例えば、分注ブロック205はポンプ100の一部となり得て、そのことは、図10および15を参照して下記でさらに詳しく説明する。取付部品アセンブリ3700用の適当な受入器を伴う適切な多岐管のその他の実施も可能であり、図7〜15に示されるような分注ブロック205に限定されない。
この例では、取付部品アセンブリ3700は、取付部品3500および固定ナット3600を備える。図7に例示されるように、取付部品3500および固定ナット3600を分注ブロック205上に取り付けるためには、取付部品3500は、固定ナット3600と分注ブロック205との間に配置される。固定ナット3600の第2の端3602が分注ブロック205に直面するように配置される一方で、取付部品3500の第1の端3501は、密封面3505が分注ブロック205に直面するように、分注ブロック205に向かって配置される。図9に図示されるように、固定ナット3600の内径3606は、突起3514の外径3509よりも大きく、突起3512の外径3508よりも小さい。このようにして、固定ナット3600は、取付部品3500の突起3514の上方を摺動することが可能であり、内径3607によって画定される固定ナット3600の陥凹領域3609は、停止部としての機能を果たすことが可能である。つまり、固定ナット3600の雄ネジ3777は、それに応じて受け入れるように機械加工される受入穴3770の雌ネジ3778に受け止められ、取付部品3500を定位置にネジで締め、陥凹領域3609は、取付部品3500の突起3512を捕らえて、それを押下する。
図8は、本発明の一実施形態による、分注ブロック205上に組み立てられるような、取付部品アセンブリ3700の斜視図である。図5を参照して上記に説明するように、固定ナット3600上の穴3604は、分注ブロック205上に取付部品3500を固定することを容易にすることができる。取付部品アセンブリ3700の独自の設計により、取付部品3500を固定すると、取付部品3500と分注ブロック205との間の密封が完成し、それによって、流体または気体の進入および漏れを防ぐ、緊密または完全な閉鎖を作り出す。そのような密封が作り出される方法についての詳細は、図9を参照して下記で説明する。取付部品3500を分注ブロック205上に固定した後、取付部品アセンブリ3700は、取付部品3500の第2の端3502を介して使える状態である。
図9は、図7〜8の取付部品アセンブリ3700の断面図である。この例では、受入穴3770は、分注ブロック205から機械加工される。受入穴3770の内部(例えば、寸法および構造)は、固定ナット3600の外部と関連して、取付部品3500の第1の端3501の外部の一部と実質的に整合する。より具体的には、図9に示されるように、受入穴3770の内部は、固定ナット3600の雄ネジ3777と整合する雌ネジ3778、および、取付部品3500の第1の端3501の密封面3505および外形と整合する陥凹領域3772を有する。
固定ナット3600が取付部品3500を定位置にネジで締めると、固定ナット3600の陥凹領域3609は、取付部品3500の突起3512を捕らえて、それを押下する。最初は、取付部品3500の第1の端3501の一部は、点3771(つまり、密封面3505が内径3507と接合する場所、図9参照)において受入穴3770の一部に触れ、第1の端3501の表面と受入穴3770との間に1つ以上のわずかな隙間3773があってもよい。隙間3773を、解説の目的で図9に誇張して示す。隙間の実際の量は実施によって変化してもよい。
取付部品3500が、固定ナット3600によって押下されると、取付部品3500の第1の端3501の一部が変形し始める。取付部品3500は、分注ブロック205よりも軟質の材料で作られる(つまり、より高い圧縮性を有する)ように設計されているため、そのような変形が可能である。固定ナット3600は、取付部品3500よりも硬い材料でできている。よって、固定ナット3600が分注ブロック205に対して取付部品3500を押下し続けると(つまり、トルクレンチなどの工具で固定ナット3600をしっかり締めることによって)、取付部品3500の縁3511は、変形して隙間3773を満たし、取付部品3500と分注ブロック205との間の密封を完成させる。
図10は、本発明の実施形態を利用するポンプ100の部分アセンブリの図表示である。より具体的には、図10は、分注ブロック205に、フィルタ取付部品335、340、および345を加えるステップを図示する。この例では、ナット350、355、360は、フィルタ取付部品335、340、345を保持するために使用される。一実施形態によると、薄型フィルタ取付部品(例えば、フィルタ取付部品335)および対応する薄型ナット(例えば、ナット350)は、薄型フィルタ接続(つまり、取付部品アセンブリ)を構成する。薄型フィルタ接続は、フィルタ(例えば、フィルタ120)が、分注ブロック205に密着することを可能にし、このことは、ポンプ100の全体的な寸法を減少させるのに役立つ。例として、図1〜9を参照して上記に説明されるように、フィルタ取付部品335、340、345は、取付部品3500の実施形態を実施し、ナット350、355、360は、固定ナット3600の実施形態を実装する。各フィルタ取付部品は、分注ブロック205の流路のうちの1つ(例えば、送液チャンバ、放出口、分注チャンバなど)につながる。ポンプ100は、多段または単段ポンプとなり得る。ポンプ100の例は、参照することによりその内容が本願に組み込まれる、Gonnellaら[代理人整理番号ENTG1720−1]による「SYSTEM AND METHOD FOR MULTIPLE−STAGE PUMP WITH REDUCED FORM FACTOR」と題された、___に出願された米国特許出願第___号にある。
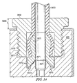
図11は、本発明の別の実施形態による、Oリング無し薄型取付部品アセンブリを介して多岐管に接続される管の斜視図である。より具体的には、図11は、固定ナット3802および取付部品3801を有する流体取付部品アセンブリ3800の一実施形態を図示する。この例では、取付部品3801は、管3803の一方の端に押し込まれる。固定ナット3802は、上記の固定ナット3600と同様に、外側が雄ネジ式で、内側が空洞である(つまり、貫通穴を有する)。当業者であれば十分理解できるように、固定ナット3802は、図11に示されるものに限定されず、管3803が取付部品3801を通り越して摺動できるようにし、分注ブロック205上でネジ締めすることが可能である限り、嵌合するように変更することが可能である。例えば、固定ナット3802は、固定ナット3600の穴3604のような特徴を伴って変更し、工具の使用を容易にすることが可能である。さらに、固定ナット3802は、六角頭を有する必要がない。
一実施形態では、取付部品3801は、管3803用のキャップ端としての機能を果たし、固定ナット3802のネジ端に嵌入することが可能な、市販のスリーブとなり得る(図14に示される断面図を参照)。固定ナット3802の内径は、管3803の外径に嵌合するように十分大きい。図11に示されるように、管3803および固定ナット3802は、物理的に付着していない(つまり、管3803の周りで固定ナット3802を回転させることが可能である)。管3803および固定ナット3802の分断は、管3803の動きに関連してネジが外れる問題を有利に排除する。
図12は、本発明の別の実施形態により機械加工された受入穴の斜視図である。より具体的には、受入穴3970は、管3803および取付部品アセンブリ3800を受け入れるための分注ブロック205から機械加工される。図15を参照して今後詳しく説明されるように、受入穴3970の一実施形態は、分注ブロック205の流路をポンプ100の流体ラインと接続する外部注入口である。当業者であれば、本願で開示される流体取付部品アセンブリの実施形態は、外部注入口ならびに様々な分注ブロックを流体ラインに接続するために利用することが可能であり、よってここで示されるものによって限定されないことが、十分理解されるであろう。図12に図示されるように、分注ブロック205は、2つ以上の受入穴3970を有することが可能であり、その各々は、固定ナット3802の雄ネジ3977と整合する雌ネジ3978を伴って、かつ管3803から突き出す取付部品の端の外形3801と整合する陥凹領域3972を伴って、機械加工される。
図13は、本発明の一実施形態による、分注ブロック205上に組み立てられている取付部品アセンブリ3800を示す側面図である。より具体的には、図13は、分注ブロック205の受入穴3970(図示せず)に部分的に螺入された固定ナット3802を示す。固定ナット3802および管3803は物理的に付着していないため、管3803の動き(例えば、屈曲)は固定ナット3802に影響しない(例えば、管3803を曲げても、固定ナット3802が緩んだり、ネジが外れたりしない)。
図14は、本発明の別の実施形態による、図13の断面図である。図14は、流体取付部品アセンブリ3800の薄型特性を例示する。分注ブロック205から突出する流体取付部品アセンブリ3800の唯一の部分は、高さ3980によって制限される。一実施形態では、高さ3980は1インチの約4分の1(0.25インチ)である。形状にかかわらず、固定ナット3802の頭を縮小して高さ3980を減少させることが可能であり、取付部品アセンブリ3800の一部が分注ブロック205から突出する。一実施形態では、高さの低い固定ナット3802を機械加工し、固定ナット3802の最上面上に固定ナット3600の穴3604と同様の穴を追加することによって、このことが達成される。固定ナット3802は、レンチ平面のない、固定ナット3602のように見えることが可能である。
図14の例では、最初は、固定ナット3802が取付部品3801を定位置にネジで締めると、取付部品3801の一部が点3971(つまり、図9を参照して上記に説明されるように、密封面3505が取付部品3500の内径3507と接合する場所と同様である)において受入穴3970の一部に接するか、または接触する。取付部品3801の表面と受入穴3970との間に、1つ以上のわずかな隙間3973があってもよい。図14に示されるような隙間3973は、例示的となるように意図されている。隙間3973の実際の量は実施によって変化してもよい。後で説明されるように、取付部品3801を点3971において分注ブロック205と接触させると、取付部品3801と分注ブロック205との間の密封を完成させることに加えて、空所を有利に排除する。
当業者であれば、管3803は、図11〜14に示されるものに限定されないことが十分に理解できる。一部の実施形態では、管3803は、取付部品3801を管または別の管状装置に接続する一方の端を有する、管状アダプタとなり得る。他方の端は実施によって変化してもよい。そのような管状アダプタ3803は、嵌合するように変更することが可能であり、取付部品3801および固定ナット3802を介して種々の装置を分注ブロック205に接続し、このことは、既存の空気および/または流体取付部品を後から取り付けるのに特に有用である。
取付部品3801は、分注ブロック205よりも高い圧縮性を有する材料で作られるように設計されている。さらに、取付部品3801は、管3803をわずかに固定ナット3802の内壁に対して押す膨隆部分を有する。固定ナット3802は、停止部としての機能を果たし、管3803を捕らえる陥凹領域3972(固定ナット3600の陥凹領域3609と同様である)を有するように設計されている。このようにして、固定ナット3802が分注ブロック205に螺入すると、固定ナット3802の内壁は管3803を下に押し、次に、取付部品3801を分注ブロック205に対して押下する。固定ナット3802が押下し続けると(つまり、トルクレンチなどの工具で固定ナット3802をしっかり締めることによって)、取付部品3801の端部分は、変形して隙間3973を満たし始め(点3971から陥凹領域3972に向かって)、取付部品3801と分注ブロック205との間の密封を完成させる。
図15は、ポンプ100用のポンプアセンブリの一実施形態の図表示である。ポンプ100は、ポンプ100を通る様々な流体流路を画定し、送液チャンバ155および分注チャンバ185を少なくとも部分的に画定する、分注ブロック205を含むことが可能である。分注ポンプブロック205は、PTFE、変性PTFE、またはその他の材料の単一ブロックとなり得る。これらの材料は多くのプロセス流体と反応しないか、または最低限に反応性であるため、これらの材料の使用は、流路およびポンプチャンバが、最低限の付加的ハードウエアで分注ブロック205に直接機械加工されることを可能にする。分注ブロック205は結果的に、統合流体多岐管を提供することによって、配管の必要性を軽減する。
分注ブロック205は、例えば、それを通って流体が受け入れられる注入口210、放出区分中に流体を放出するための放出口215、および分注区分中にそれを通って流体が分注される分注口220を含む、様々な外部注入口および排出口を含むことが可能である。本願で開示される発明の実施形態は、外部浄化口を含む、分注ブロック205の外部注入口および排出口を流体ラインに接続するために、利用することが可能である。より具体的には、取付部品アセンブリ3800の一実施形態は、注入口210用の入力流体取付部品アセンブリとして実装することが可能であり、取付部品アセンブリ3800の一実施形態は、放出口215用の放出取付部品アセンブリとして実装することが可能であり、かつ取付部品アセンブリ3800の一実施形態は、分注口220用の出力取付部品アセンブリとして実装することが可能である。流体接続に対するその他の実装も可能である。
分注ブロック205は、流体を送液ポンプ(図示せず)、分注ポンプ(図示せず)、およびフィルタ120へ送る。ポンプカバーまたはハウジング225は、送液モータおよび分注モータを損傷から保護することが可能である一方で、ピストンハウジング227は、ピストン(図示せず)の保護を提供することが可能である。いずれのハウジングも、ポリエチレンまたはその他のポリマーで形成することが可能である。弁板230は、流体の流れを多段ポンプ100の様々な部品へ方向付けるように構成することが可能な弁のシステム(図示せず)用の弁ハウジングを提供する。弁板230は、いくつかの弁制御注入口(例えば、235、240、245、250、255)を含み、それぞれは、圧力または真空をその対応する隔膜に加えるための弁に対応する。注入口235、240、245、250、255に圧力または真空を選択的に加えることによって、対応する弁が開閉される。注入口235、240、245、250、および255に関する付加的な教示は、Gonnellaら[代理人整理番号1720−1]による「SYSTEM AND METHOD FOR MULTIPLE−STAGE PUMP WITH REDUCED FORM FACTOR」と題された、___に出願された米国特許出願第___号にある。
弁制御ガスおよび真空は、弁制御多岐管(上カバー263によって覆われる)から、分注ブロック205を通って弁板230へとつながる弁制御送液ライン260を介して、弁板230へ提供される。弁制御ガス送液口265は、加圧ガスを弁制御多岐管に提供し、真空口270は、真空(または低圧)を弁制御多岐管に提供する。弁制御多岐管は、三方弁の役割を果たし、送液ライン260を介して加圧ガスまたは真空を弁板230の適切な注入口へ送り、対応する弁を作動させる。
図15は、流体の液滴が電子機器を格納する多段ポンプ100に進入することを防ぐことが可能である、いくつかの特徴も図示する。流体の液滴は、例えば、操作者が管を注入口210、排出口215、または放出口220から接続または切断すると、発生し得る。「防滴」特徴は、潜在的に有害な化学物質の液滴が、ポンプ、特に電子機器チャンバに進入することを防ぐように設計されており、ポンプが「防水」(例えば、漏れを伴わずに流体中に潜水可能である)であることを必ずしも必要としない。その他の実施形態によると、ポンプは完全に密封することが可能である。
一実施形態によると、分注ブロック205は、上カバー263と交わる分注ブロック205の縁から外側に突き出す、垂直に突出しているフランジまたは口縁272を含むことが可能である。一実施形態によると、最上縁上で、上カバー263の最上部は、口縁272の上面と重なる。これにより、分注ブロック205および上カバー263の最上接合部分の付近の液滴は、接合部分を通るよりもむしろ、分注ブロック205上を流れる傾向がある。しかし、側面では、上カバー263は口縁272の基部と重なり、またはそうでなければ、口縁272の外面から内部で相殺される。これにより、液滴は、上カバー263と分注ブロック205との間よりもむしろ、上カバー263および口縁272によって作り出される角を伝って流れる傾向がある。また、ゴム密封を上カバー263の上縁と裏板271との間に配置し、液滴が上カバー263と裏板271との間で漏れることを防ぐ。
分注ブロック205は、電子機器を格納するポンプ100の領域から離れて傾斜する分注ブロック205内で画定される傾斜面を含む、傾斜特徴273も含むことが可能である。結果として、分注ブロック205の最上部の付近の液滴は、電子機器から離れて導かれる。また、ポンプカバー225は、分注ブロック205の外側縁からやや内側に向かって相殺することも可能であるため、ポンプ100の側面に垂れる液滴は、ポンプカバー225およびポンプ100のその他の部分の接合部分を通り過ぎて流れるようになる。
本発明の一実施形態によると、金属カバーが分注ブロック205と接合する場合、金属カバーの垂直面は、分注ブロック205の対応する垂直面からやや内部で相殺することが可能である(例えば、1インチの1/64、または0.396875ミリメートル)。また、多段ポンプ100は、密封、傾斜特徴、およびその他の特徴を含み、液滴が電子機器を格納する多段ポンプ100の部分に侵入することを防ぐことが可能である。裏板271は、「防滴」多段ポンプ100を推進する特徴を含むことが可能である。
図10および15に示されるような多段ポンプ100の実施形態は、コンパクト設計を有する。この点で、本願で開示されるOリング無し薄型取付部品および取付部品アセンブリの実施形態は、大いに望ましく有益となり得る。より具体的には、取付部品アセンブリ3700は、図10に示されるように、フィルタ接続にとって特に有用となり得て、取付部品アセンブリ3800は、図15に示されるように、流体接続にとって特に有用となり得る。
図16は、多岐管から突出する軸の周りに嵌合する、従来技術の取付部品アセンブリの図表示である。より具体的には、取付部品アセンブリ3990は、取付部品3991およびナット3992を備える。取付部品3991は、多岐管3994から突き出し、外側が雄ネジ式である軸3993に挿入される。管3995は、内側が雌ネジ式であるナット3992によって、取付部品3991の上に、および軸3993の上方に押下される。いくつかの欠点がある。第1に、取付部品アセンブリ3990は、流体ポンプ内で望ましい特徴ではない、厚みが大きい。第2に、時間がかかり浪費的ではないにしても、多岐管3994から軸3993を機械加工することは困難かつ高価である。より重要なことには、取付部品3991と多岐管3994との間には厳重な密封がなく、このことは漏れが問題となり得ることを意味する。さらに、取付部品3991とナット3992との間に空所があり、このことは流体の結晶化が問題となり得ることを意味する。最後に、取付部品アセンブリ3900の嵩高な設計は、管3995が曲げられるときに問題を引き起す可能性が高い。
図17は、アダプタを使用する、別の従来技術の取付部品アセンブリの図表示である。より具体的には、取付部品アセンブリ3996は、膨らませた管類3999を多岐管(図示せず)に接続するためのアダプタ3997およびナット3998を備える。ナット3998は、内側が雌ネジ式であり、外側が雄ネジ式であるアダプタ3997にネジで取り付ける。取り付けられると、その本体の下のネジ部以外に、取付部品アセンブリ3996の他の部分は、図16に示されるように軸3993が多岐管3994から突き出すのによく似て、多岐管から突き出す。この従来の設計により、漏れおよび空所などの欠点が残る。さらに、嵩高で厚いことは、膨らませた管類3999が曲げられるときに問題を引き起す可能性が高い。
本願で開示される取付部品アセンブリの実施形態には、多くの場所を取らない特徴および特性があり、多岐管からの最低限の突出のある望ましい薄型を有利に達成する一方で、各取付部品と多岐管との間の安定した密封を確保する。例えば、Oリング無し薄型接続/取付部品アセンブリは、フィルタ(例えば、図15のフィルタ120)、管(例えば、図14の管3803)、または管状アダプタが多岐管(例えば、分注ブロック205)に密着することを可能にし、このことは、多岐管を具体化するポンプの全体的な寸法を望ましく減少させることに役立ち、このことは、次にポンプを具体化するポンプシステムの全体的な寸法を減少させることに役立つ。薄型設計は、管の動きと関連する影響を軽減することにも役立つ。
別の利点は、本願で開示される取付部品アセンブリの再利用に関する。具体的には、Oリング無し薄型取付部品アセンブリは、密封を失ったり、または漏れの問題を引き起こしたりせずに、何度か分解して再び組み立てる(つまり再利用)することが可能である。例えば、フィルタ取付部品アセンブリ3700は、固定ナット3600を外すことによって分解し、そして再び固定ナット3600をしっかりと締めることによって再び組み立てることが可能である。取付部品3500の弾性のため、固定ナット3600をしっかりと締めると、最初に組み立てた時と同じように、取付部品3500および分注ブロック250との間の密封を完成することが可能である。同様に、流体取付部品アセンブリ3800は、固定ナット3802を外すことによって分解し、そして再び固定ナット3802をしっかりと締めることによって再び組み立てることが可能であり、取付部品3801と分注ブロック250との間の密封を完成させる。
さらに別の例として、図9を参照して、取付部品アセンブリ3700は、高さ3780によって分注ブロック205から突き出すことが示される。一実施形態では、高さ3780は約0.20インチ以下である。しかし、適切な工具で固定ナット3600にトルクを与えることが可能である限り、受入穴3770を、固定ナット3600の高さおよび構造を収容できる深さおよび構造に機械加工することが可能である(例えば、固定ナット3600の第1の端3601の平面は、分注ブロック205の表面と同じ高さであるか、またはわずかに低い)。取付部品アセンブリ3800は、同様に変更することが可能である。
上記の有利な特徴および特性に加えて、本発明の1つの重要な利点は、Oリングが必要でないことである。Oリングの削除は、従来の取付部品および取付部品アセンブリにおけるOリングに関する全ての欠点(例えば、漏れやすい、寿命の制限など)を排除する。
もう1つの利点は、本願で開示される本発明の実施形態による取付部品アセンブリは、漏れを防ぐことに加えて、流体が結晶化する場合のある空所を排除するか、または実質的に減少させる厳重な密封を提供することが可能であることである。例として、図9を参照して、上記に説明されるように、最初は、取付部品3500は点3771において分注ブロック205に接するか、または接触し、取付部品3500の第1の端3501の表面と、受入穴3770の陥凹領域3772との間にわずかな隙間3773を残す。隙間3773は上記に説明されるように、実質的に排除され、空域内の流体の結晶化を回避する。取付部品3500および分注ブロック205をまず点3771に接触させることで、密封および適切な密封を確保する。そうでなければ、取付部品3500および分注ブロック205が点3771で最初に交わらなければ、密封が完成する前に隙間3773を満たすことができ、点3771の周囲に流路内の可能な空域を残す。同様の理由により、空域および隙間は、図14に示される実施形態で有利に排除される。
さらに別の利点は、分注ブロック205から受入穴3770および/または受入穴3970を機械加工する費用の削減である。従来のポンプシステムは、柱型の取付部品、および雄ネジのある柱型構造(例えば、軸)が整合することを必要とする雌ネジナットを使用する。その嵩高なサイズおよび大きな厚みに加えて、これらの軸は、分注ブロックから機械加工することが困難かつ不経済である。フィルタ取付部品アセンブリ3700および流体取付部品アセンブリ3800の薄型設計は、対応する受入穴を機械加工するために必要な材料およびステップの量を最小にし、材料、場所、時間、および金銭を効果的に節約する。
本発明は、具体的実施形態を参照して本願で詳細に説明されているが、説明はほんの一例であり、限定的な意味で解釈されないことを理解すべきである。したがって、本発明の実施形態および本発明の付加的な実施形態の詳細の多数の変更は、本説明を参照する当業者にとって明白となり、かつ行うことができることを、さらに理解すべきである。そのような変更および付加的な実施形態の全ては、本発明の範囲および精神内であることが、検討される。それに応じて、本発明の範囲は、次の請求項およびその法上の同等物によって決定されるべきである。
図1は、本発明の一実施形態による取付部品の概略図である。 図2は、本発明の一実施形態による、図1の取付部品の上面図である。 図3は、本発明の一実施形態による、図1の取付部品の断面図である。 図4は、図1の取付部品の実施形態に対する固定ナットの概略図である。 図5は、本発明の一実施形態による、図4の固定ナットの上面図である。 図6は、本発明の一実施形態による、図4の固定ナットの断面図である。 図7は、本発明の一実施形態による、ブロック上に取り付けられた取付部品アセンブリの斜視図である。 図8は、本発明の一実施形態による、ブロック上に取り付けられた図7の取付部品アセンブリの斜視図である。 図9は、本発明の一実施形態による、図7の取付部品アセンブリの断面図である。 図10は、本発明の実施形態を利用する、多段ポンプ(「多段式ポンプ」)の部分アセンブリの図表示である。 図11は、本発明の別の実施形態による、取付部品アセンブリを利用してブロックに接続される管の斜視図である。 図12は、本発明の別の実施形態による、図11の管および取付部品アセンブリを受け入れるための、図11のブロックから機械加工される受入穴の斜視図である。 図13は、本発明の一実施形態による、図11の取付部品アセンブリ、管、およびブロックの側面図である。 図14は、本発明の別の実施形態による、図11の取付部品アセンブリ、管、およびブロックの断面図である。 図15は、そのように組み立てられる本発明の実施形態を示す、多段ポンプ用のポンプアセンブリの図表示である。 図16は、多岐管から突き出た軸の周りに嵌合する、従来技術の取付部品アセンブリの図表示である。 図17は、アダプタを使用する、別の従来技術の取付部品アセンブリの図表示である。

Claims (20)

  1. Oリング無し薄型取付部品アセンブリであって、
    Oリング無し薄型取付部品と、
    多岐管の受入穴の中に該Oリング無し薄型取付部品を押下して、該Oリング無し薄型取付部品と該多岐管との間の密封を完成させる薄型固定ナットと
    を備え、
    該多岐管は、第1の材料でできており、該Oリング無し薄型取付部品は、第2の材料でできており、該第2の材料は、該第1の材料よりも高い圧縮性を有し、該受入穴は、該Oリング無し薄型取付部品の第1の端に実質的に整合する底部、および該薄型固定ナットの雄ネジ部に実質的に整合する雌ネジ部を有する、Oリング無し薄型取付部品アセンブリ。
  2. 前記Oリング無し薄型取付部品の前記第1の端は、嵌合密封面を有し、前記受入穴は、受入密封面を有し、該嵌合密封面と該受入密封面とは、実質的に整合する形状を有する、請求項1に記載のOリング無し薄型取付部品アセンブリ。
  3. 前記嵌合密封面は、縁の第1の直径および貫通穴の第2の直径によって画定され、該嵌合密封面は、該縁から該貫通穴へ傾斜している、請求項2に記載のOリング無し薄型取付部品アセンブリ。
  4. 前記嵌合密封面および前記受入密封面の前記実質的に整合する形状は、前記縁の一部が前記多岐管に接する前に、前記貫通穴の一部が該多岐管に接することができるように構成される、請求項3に記載のOリング無し薄型取付部品アセンブリ。
  5. 前記Oリング無し薄型取付部品は、管状接続を受け入れるために、またはそれに嵌入するために成形される第2の端を有する、請求項1に記載のOリング無し薄型取付部品アセンブリ。
  6. 前記管状接続は、流体接続またはフィルタ接続である、請求項5に記載のOリング無し薄型取付部品アセンブリ。
  7. 前記Oリング無し薄型取付部品は、第1の突起および第2の突起を有する、請求項1に記載のOリング無し薄型取付部品アセンブリ。
  8. 前記第1の突起および前記第2の突起の直径間の差は、前記薄型固定ナットが、該第2の突起の上方を摺動し、該第1の突起によって停止させられることを可能にする、請求項1に記載のOリング無し薄型取付部品アセンブリ。
  9. 前記薄型固定ナットの第1の端は、1つ以上の穴がある平面を有する、請求項1に記載のOリング無し薄型取付部品アセンブリ。
  10. 前記薄型固定ナットの第2の端は、2つの異なる直径を有することにより、前記Oリング無し薄型取付部品の突起を捕らえるための陥凹領域を結果としてもたらす、請求項1に記載のOリング無し薄型取付部品アセンブリ。
  11. 縁の第1の直径および貫通穴の第2の直径によって画定される嵌合密封面であって、該嵌合密封面は該縁から該貫通穴へ傾斜している、嵌合密封面と、
    該嵌合密封面を支える第1の突起と、
    該嵌合密封面および該第1の突起によって特徴付けられる第1の端と、
    少なくとも2つの内径を有する第2の端と、
    該少なくとも2つの内径によって画定される陥凹領域と、
    該第2の端を支える第2の突起であって、該第1の突起および該第2の突起の直径間の差は、薄型固定ナットが、該第2の突起の上方を摺動し、かつ該第1の突起によって停止させられることを可能にする、第2の突起と
    を備える、Oリング無し薄型取付部品。
  12. 前記Oリング無し薄型取付部品よりも高い圧縮性を有する、請求項11に記載のOリング無し薄型取付部品。
  13. 前記第1の端は、前記Oリング無し薄型取付部品よりも低い圧縮性を有する多岐管から機械加工される受入穴の底部に実質的に整合する、請求項11に記載のOリング無し薄型取付部品。
  14. 前記受入穴は、前記嵌合密封面に実質的に整合する受入密封面、および前記薄型固定ナットの雄ネジ部に実質的に整合する雌ネジ部を有し、前記Oリング無し薄型取付部品を押下すると、該薄型固定ナットは、該Oリング無し薄型取付部品と前記多岐管との間の密封を完成させる、請求項13に記載のOリング無し薄型取付部品。
  15. 前記嵌合密封面と前記受入密封面とは、前記縁の一部が前記多岐管に接する前に、前記貫通穴の一部が該多岐管に接することができるように構成される、請求項14に記載のOリング無し薄型取付部品。
  16. 前記第2の端は、管状接続を受け入れるため、またはそれに嵌合するために成形される、請求項13に記載のOリング無し薄型取付部品。
  17. 前記管状接続は、流体接続またはフィルタ接続である、請求項16に記載のOリング無し薄型取付部品。
  18. 前記薄型固定ナットの第1の端は、1つ以上の穴がある平面を有する、請求項1に記載のOリング無し薄型取付部品。
  19. 平面および1つ以上の穴によって特徴付けられる第1の端と、
    前記Oリング無し薄型取付部品の第1の突起を捕らえるための、少なくとも2つの直径によって画定される陥凹領域によって特徴付けられる、第2の端と、
    該Oリング無し薄型取付部品の第2の突起の上方を摺動する貫通穴と、
    多岐管の受入穴の中に該Oリング無し薄型取付部品をネジで締めるための雄ネジ外部と
    を備える、Oリング無し薄型取付部品用の薄型固定ナット。
  20. 前記1つ以上の穴は、トルクレンチを受け入れるように構成される、請求項19に記載の薄型固定ナット。
JP2008543343A 2005-12-02 2006-11-20 Oリング無し薄型取付部品および取付部品アセンブリ Active JP5302002B2 (ja)

Applications Claiming Priority (3)

Application Number Priority Date Filing Date Title
US74166705P 2005-12-02 2005-12-02
US60/741,667 2005-12-02
PCT/US2006/044981 WO2007067343A2 (en) 2005-12-02 2006-11-20 O-ring-less low profile fittings and fitting assemblies

Related Child Applications (1)

Application Number Title Priority Date Filing Date
JP2013034523A Division JP2013130295A (ja) 2005-12-02 2013-02-25 Oリング無し薄型取付部品および取付部品アセンブリ

Publications (3)

Publication Number Publication Date
JP2009517618A true JP2009517618A (ja) 2009-04-30
JP2009517618A5 JP2009517618A5 (ja) 2010-01-14
JP5302002B2 JP5302002B2 (ja) 2013-10-02

Family

ID=38123368

Family Applications (2)

Application Number Title Priority Date Filing Date
JP2008543343A Active JP5302002B2 (ja) 2005-12-02 2006-11-20 Oリング無し薄型取付部品および取付部品アセンブリ
JP2013034523A Withdrawn JP2013130295A (ja) 2005-12-02 2013-02-25 Oリング無し薄型取付部品および取付部品アセンブリ

Family Applications After (1)

Application Number Title Priority Date Filing Date
JP2013034523A Withdrawn JP2013130295A (ja) 2005-12-02 2013-02-25 Oリング無し薄型取付部品および取付部品アセンブリ

Country Status (5)

Country Link
US (1) US7547049B2 (ja)
JP (2) JP5302002B2 (ja)
KR (1) KR20080073778A (ja)
TW (1) TW200726918A (ja)
WO (1) WO2007067343A2 (ja)

Cited By (11)

* Cited by examiner, † Cited by third party
Publication number Priority date Publication date Assignee Title
US7850431B2 (en) 2005-12-02 2010-12-14 Entegris, Inc. System and method for control of fluid pressure
US7897196B2 (en) 2005-12-05 2011-03-01 Entegris, Inc. Error volume system and method for a pump
US7940664B2 (en) 2005-12-02 2011-05-10 Entegris, Inc. I/O systems, methods and devices for interfacing a pump controller
US7946751B2 (en) 2006-03-01 2011-05-24 Entegris, Inc. Method for controlled mixing of fluids via temperature
US8025486B2 (en) 2005-12-02 2011-09-27 Entegris, Inc. System and method for valve sequencing in a pump
US8029247B2 (en) 2005-12-02 2011-10-04 Entegris, Inc. System and method for pressure compensation in a pump
US8083498B2 (en) 2005-12-02 2011-12-27 Entegris, Inc. System and method for position control of a mechanical piston in a pump
US8172546B2 (en) 1998-11-23 2012-05-08 Entegris, Inc. System and method for correcting for pressure variations using a motor
US8382444B2 (en) 2005-12-02 2013-02-26 Entegris, Inc. System and method for monitoring operation of a pump
US8814536B2 (en) 2004-11-23 2014-08-26 Entegris, Inc. System and method for a variable home position dispense system
US9631611B2 (en) 2006-11-30 2017-04-25 Entegris, Inc. System and method for operation of a pump

Families Citing this family (15)

* Cited by examiner, † Cited by third party
Publication number Priority date Publication date Assignee Title
US8753097B2 (en) 2005-11-21 2014-06-17 Entegris, Inc. Method and system for high viscosity pump
CN101583796B (zh) 2005-11-21 2012-07-04 恩特格里公司 多级泵及形成多级泵的方法
US7684446B2 (en) * 2006-03-01 2010-03-23 Entegris, Inc. System and method for multiplexing setpoints
KR101029363B1 (ko) * 2008-12-04 2011-04-13 주식회사 에이에스티젯텍 알루미늄 프로파일을 이용한 에어탱크 제조방법
US8727744B2 (en) * 2010-02-26 2014-05-20 Entegris, Inc. Method and system for optimizing operation of a pump
US8684705B2 (en) 2010-02-26 2014-04-01 Entegris, Inc. Method and system for controlling operation of a pump based on filter information in a filter information tag
GB201015679D0 (en) * 2010-09-20 2010-10-27 Cummins Ltd Variable geometry turbine
TWI563351B (en) 2010-10-20 2016-12-21 Entegris Inc Method and system for pump priming
EP2752589A4 (en) * 2011-08-31 2015-04-22 Aoyama Seisakusho NOT BLOCKING MOTHER
WO2013052082A1 (en) 2011-10-03 2013-04-11 Entegris, Inc Modular filter cassette
SG11201502555QA (en) 2012-10-01 2015-04-29 Entegris Inc Purification system
US9970321B2 (en) * 2013-12-10 2018-05-15 United Technologies Corporation Housing support nut connection
US10763189B2 (en) * 2014-08-29 2020-09-01 International Business Machines Corporation Sealing arrangement
WO2018217437A1 (en) * 2017-05-24 2018-11-29 Strelow John L Reciprocating pumps and closures therefore
SG11202103185XA (en) * 2018-10-15 2021-04-29 Electro Scientific Industries Inc Systems and methods for use in handling components

Citations (5)

* Cited by examiner, † Cited by third party
Publication number Priority date Publication date Assignee Title
US1664125A (en) * 1926-11-10 1928-03-27 John R Lowrey Hose coupling
US2457384A (en) * 1947-02-17 1948-12-28 Ace Glass Inc Clamp for spherical joints
JPS5181413U (ja) * 1974-12-23 1976-06-29
JPS5481119U (ja) * 1977-11-19 1979-06-08
JPS54165812U (ja) * 1978-05-15 1979-11-21

Family Cites Families (122)

* Cited by examiner, † Cited by third party
Publication number Priority date Publication date Assignee Title
US269626A (en) * 1882-12-26 brauee
US826018A (en) * 1904-11-21 1906-07-17 Isaac Robert Concoff Hose-coupling.
US2153664A (en) * 1937-03-08 1939-04-11 Dayton Rubber Mfg Co Strainer
US2215505A (en) 1938-06-13 1940-09-24 Byron Jackson Co Variable capacity pumping apparatus
US2328468A (en) * 1940-12-07 1943-08-31 Laffly Edmond Gabriel Coupling device for the assembly of tubular elements
GB661522A (en) 1949-03-31 1951-11-21 Eureka Williams Corp Improvements in or relating to oil burners
US2631538A (en) 1949-11-17 1953-03-17 Wilford C Thompson Diaphragm pump
US2673522A (en) 1951-04-10 1954-03-30 Bendix Aviat Corp Diaphragm pump
US2757966A (en) * 1952-11-06 1956-08-07 Samiran David Pipe coupling
US3072058A (en) 1961-08-18 1963-01-08 Socony Mobil Oil Co Inc Pipe line control system
US3227279A (en) 1963-05-06 1966-01-04 Conair Hydraulic power unit
US3327635A (en) 1965-12-01 1967-06-27 Texsteam Corp Pumps
DE1910093A1 (de) 1969-02-28 1970-09-10 Wagner Josef Fa Farbspritzanlage
US3741298A (en) 1971-05-17 1973-06-26 L Canton Multiple well pump assembly
JPS4971508A (ja) 1972-11-13 1974-07-10
US3895748A (en) 1974-04-03 1975-07-22 George R Klingenberg No drip suck back units for glue or other liquids either separately installed with or incorporated into no drip suck back liquid applying and control apparatus
US4023592A (en) 1976-03-17 1977-05-17 Addressograph Multigraph Corporation Pump and metering device
US4093403A (en) 1976-09-15 1978-06-06 Outboard Marine Corporation Multistage fluid-actuated diaphragm pump with amplified suction capability
US4705461A (en) 1979-09-19 1987-11-10 Seeger Corporation Two-component metering pump
SE416889B (sv) 1979-12-27 1981-02-16 Imo Industri Ab Forfarande for blandning av tva vetskor med olika viskositet samt anordning for genomforande av forfarandet
US4483665A (en) 1982-01-19 1984-11-20 Tritec Industries, Inc. Bellows-type pump and metering system
JPS59177929A (ja) 1983-03-28 1984-10-08 Canon Inc サツクバツクポンプ
US4541455A (en) 1983-12-12 1985-09-17 Tritec Industries, Inc. Automatic vent valve
US4614438A (en) 1984-04-24 1986-09-30 Kabushiki Kaisha Kokusai Technicals Method of mixing fuel oils
US4601409A (en) 1984-11-19 1986-07-22 Tritec Industries, Inc. Liquid chemical dispensing system
JPH0135027Y2 (ja) * 1985-01-29 1989-10-25
US4597721A (en) 1985-10-04 1986-07-01 Valco Cincinnati, Inc. Double acting diaphragm pump with improved disassembly means
SE451153B (sv) 1986-01-20 1987-09-07 Dominator Ab Sett att endra trycket i pneumatiska eller hydrauliska system och anordning for att genomfora settet
US4690621A (en) 1986-04-15 1987-09-01 Advanced Control Engineering Filter pump head assembly
DE3631984C1 (de) 1986-09-19 1987-12-17 Hans Ing Kern Dosierpumpe
US4824073A (en) 1986-09-24 1989-04-25 Stanford University Integrated, microminiature electric to fluidic valve
US4821997A (en) 1986-09-24 1989-04-18 The Board Of Trustees Of The Leland Stanford Junior University Integrated, microminiature electric-to-fluidic valve and pressure/flow regulator
US4966646A (en) 1986-09-24 1990-10-30 Board Of Trustees Of Leland Stanford University Method of making an integrated, microminiature electric-to-fluidic valve
US4943032A (en) 1986-09-24 1990-07-24 Stanford University Integrated, microminiature electric to fluidic valve and pressure/flow regulator
JPS63173866A (ja) 1987-01-09 1988-07-18 Hitachi Ltd 無脈動ポンプの制御方式
US5246347A (en) 1988-05-17 1993-09-21 Patients Solutions, Inc. Infusion device with disposable elements
US4952386A (en) 1988-05-20 1990-08-28 Athens Corporation Method and apparatus for purifying hydrogen fluoride
US4950134A (en) 1988-12-27 1990-08-21 Cybor Corporation Precision liquid dispenser
US5167837A (en) 1989-03-28 1992-12-01 Fas-Technologies, Inc. Filtering and dispensing system with independently activated pumps in series
US5062770A (en) 1989-08-11 1991-11-05 Systems Chemistry, Inc. Fluid pumping apparatus and system with leak detection and containment
DE3928949A1 (de) 1989-08-31 1991-03-14 Wagner Gmbh J Membranpumpe
US5135031A (en) 1989-09-25 1992-08-04 Vickers, Incorporated Power transmission
JP2803859B2 (ja) 1989-09-29 1998-09-24 株式会社日立製作所 流動体供給装置およびその制御方法
US5061574A (en) 1989-11-28 1991-10-29 Battelle Memorial Institute Thick, low-stress films, and coated substrates formed therefrom
US5316181A (en) 1990-01-29 1994-05-31 Integrated Designs, Inc. Liquid dispensing system
US5061156A (en) 1990-05-18 1991-10-29 Tritec Industries, Inc. Bellows-type dispensing pump
US5262068A (en) 1991-05-17 1993-11-16 Millipore Corporation Integrated system for filtering and dispensing fluid having fill, dispense and bubble purge strokes
US5527161A (en) 1992-02-13 1996-06-18 Cybor Corporation Filtering and dispensing system
US5380019A (en) 1992-07-01 1995-01-10 Furon Company Spring seal
US5344195A (en) * 1992-07-29 1994-09-06 General Electric Company Biased fluid coupling
US5261442A (en) 1992-11-04 1993-11-16 Bunnell Plastics, Inc. Diaphragm valve with leak detection
US5490765A (en) 1993-05-17 1996-02-13 Cybor Corporation Dual stage pump system with pre-stressed diaphragms and reservoir
US6190565B1 (en) 1993-05-17 2001-02-20 David C. Bailey Dual stage pump system with pre-stressed diaphragms and reservoir
US6203759B1 (en) 1996-05-31 2001-03-20 Packard Instrument Company Microvolume liquid handling system
US5511797A (en) 1993-07-28 1996-04-30 Furon Company Tandem seal gasket assembly
JPH0727150U (ja) 1993-10-07 1995-05-19 大日本スクリーン製造株式会社 シリカ系被膜形成用塗布液吐出装置
US5350200A (en) * 1994-01-10 1994-09-27 General Electric Company Tube coupling assembly
US5434774A (en) 1994-03-02 1995-07-18 Fisher Controls International, Inc. Interface apparatus for two-wire communication in process control loops
DE4412668C2 (de) 1994-04-13 1998-12-03 Knf Flodos Ag Pumpe
US5476004A (en) 1994-05-27 1995-12-19 Furon Company Leak-sensing apparatus
US5447287A (en) 1994-06-24 1995-09-05 Robertshaw Controls Company Fuel control device and methods of making the same
US5580103A (en) 1994-07-19 1996-12-03 Furon Company Coupling device
US5599100A (en) 1994-10-07 1997-02-04 Mobil Oil Corporation Multi-phase fluids for a hydraulic system
US5546009A (en) 1994-10-12 1996-08-13 Raphael; Ian P. Detector system using extremely low power to sense the presence or absence of an inert or hazardous fuild
US5575311A (en) 1995-01-13 1996-11-19 Furon Company Three-way poppet valve apparatus
US5653251A (en) 1995-03-06 1997-08-05 Reseal International Limited Partnership Vacuum actuated sheath valve
US5652391A (en) 1995-05-12 1997-07-29 Furon Company Double-diaphragm gauge protector
DE19525557A1 (de) 1995-07-13 1997-01-16 Knf Flodos Ag Dosierpumpe
US5645301A (en) 1995-11-13 1997-07-08 Furon Company Fluid transport coupling
US5991279A (en) 1995-12-07 1999-11-23 Vistar Telecommunications Inc. Wireless packet data distributed communications system
US5793754A (en) 1996-03-29 1998-08-11 Eurotherm Controls, Inc. Two-way, two-wire analog/digital communication system
US5839828A (en) 1996-05-20 1998-11-24 Glanville; Robert W. Static mixer
US6378907B1 (en) 1996-07-12 2002-04-30 Mykrolis Corporation Connector apparatus and system including connector apparatus
JPH1049072A (ja) * 1996-08-06 1998-02-20 Hitachi Ltd ガス放電型表示装置とその製造方法
US5947702A (en) 1996-12-20 1999-09-07 Beco Manufacturing High precision fluid pump with separating diaphragm and gaseous purging means on both sides of the diaphragm
JP3854691B2 (ja) 1997-01-14 2006-12-06 キヤノン株式会社 無線通信システムおよび無線通信装置
EP0863538B1 (en) 1997-03-03 2003-05-21 Tokyo Electron Limited Coating apparatus and coating method
JP3940854B2 (ja) 1997-03-25 2007-07-04 Smc株式会社 サックバックバルブ
KR100252221B1 (ko) 1997-06-25 2000-04-15 윤종용 반도체장치 제조용 습식 식각장치 및 습식 식각장치내의 식각액 순환방법
US5967173A (en) 1997-07-14 1999-10-19 Furon Corporation Diaphragm valve with leak detection
US6033302A (en) 1997-11-07 2000-03-07 Siemens Building Technologies, Inc. Room pressure control apparatus having feedforward and feedback control and method
US5848605A (en) 1997-11-12 1998-12-15 Cybor Corporation Check valve
JP4011210B2 (ja) 1998-10-13 2007-11-21 株式会社コガネイ 薬液供給方法および薬液供給装置
US7029238B1 (en) 1998-11-23 2006-04-18 Mykrolis Corporation Pump controller for precision pumping apparatus
CN1175182C (zh) 1998-11-23 2004-11-10 米利波尔公司 用于精密泵设备的泵调节器
US6203288B1 (en) 1999-01-05 2001-03-20 Air Products And Chemicals, Inc. Reciprocating pumps with linear motor driver
JP2000265949A (ja) 1999-03-18 2000-09-26 Toyota Autom Loom Works Ltd 可変容量型圧縮機
DE29909100U1 (de) 1999-05-25 1999-08-12 ARGE Meibes/Pleuger, 30916 Isernhagen Rohrleitungsanordnung mit Filter
US6330517B1 (en) 1999-09-17 2001-12-11 Rosemount Inc. Interface for managing process
US6250502B1 (en) 1999-09-20 2001-06-26 Daniel A. Cote Precision dispensing pump and method of dispensing
US6478547B1 (en) 1999-10-18 2002-11-12 Integrated Designs L.P. Method and apparatus for dispensing fluids
DE19950222A1 (de) 1999-10-19 2001-04-26 Bosch Gmbh Robert Verfahren und Vorrichtung zur Diagnose eines Kraftstoffversorgungssystems
JP3361300B2 (ja) 1999-10-28 2003-01-07 株式会社イワキ チューブフラムポンプ
US6325932B1 (en) 1999-11-30 2001-12-04 Mykrolis Corporation Apparatus and method for pumping high viscosity fluid
US7247245B1 (en) 1999-12-02 2007-07-24 Entegris, Inc. Filtration cartridge and process for filtering a slurry
US6348124B1 (en) 1999-12-14 2002-02-19 Applied Materials, Inc. Delivery of polishing agents in a wafer processing system
US6497680B1 (en) 1999-12-17 2002-12-24 Abbott Laboratories Method for compensating for pressure differences across valves in cassette type IV pump
JP3308264B2 (ja) 2000-05-09 2002-07-29 株式会社全教図 ロール型スクリーン表出装置
US6474950B1 (en) 2000-07-13 2002-11-05 Ingersoll-Rand Company Oil free dry screw compressor including variable speed drive
US6925072B1 (en) 2000-08-03 2005-08-02 Ericsson Inc. System and method for transmitting control information between a control unit and at least one sub-unit
US6618628B1 (en) 2000-10-05 2003-09-09 Karl A. Davlin Distributed input/output control systems and methods
WO2002040160A1 (de) 2000-11-17 2002-05-23 Tecan Trading Ag Vorrichtung und verfahren zum abtrennen von proben aus einer flüssigkeit
US6708239B1 (en) 2000-12-08 2004-03-16 The Boeing Company Network device interface for digitally interfacing data channels to a controller via a network
US6540265B2 (en) * 2000-12-28 2003-04-01 R. W. Beckett Corporation Fluid fitting
US6554579B2 (en) 2001-03-29 2003-04-29 Integrated Designs, L.P. Liquid dispensing system with enhanced filter
US6767877B2 (en) 2001-04-06 2004-07-27 Akrion, Llc Method and system for chemical injection in silicon wafer processing
US6805841B2 (en) 2001-05-09 2004-10-19 The Provost Fellows And Scholars Of The College Of The Holy And Undivided Trinity Of Queen Elizabeth Near Dublin Liquid pumping system
GB2384947B (en) 2002-02-01 2006-01-18 Sendo Int Ltd Enabling and/or inhibiting an operation of a wireless communicatons unit
US6914543B2 (en) 2002-06-03 2005-07-05 Visteon Global Technologies, Inc. Method for initializing position with an encoder
US6837484B2 (en) 2002-07-10 2005-01-04 Saint-Gobain Performance Plastics, Inc. Anti-pumping dispense valve
DE10233127C1 (de) * 2002-07-20 2003-12-11 Porsche Ag Vorrichtung zur Wanddurchführung von Rohrleitungen, Schläuchen oder elektrischen Kabeln für Kraftfahrzeuge
US7013223B1 (en) 2002-09-25 2006-03-14 The Board Of Trustees Of The University Of Illinois Method and apparatus for analyzing performance of a hydraulic pump
US20040072450A1 (en) 2002-10-15 2004-04-15 Collins Jimmy D. Spin-coating methods and apparatuses for spin-coating, including pressure sensor
WO2004068406A2 (en) * 2003-01-30 2004-08-12 Chase Medical, L.P. A method and system for image processing and contour assessment
JP4206308B2 (ja) 2003-08-01 2009-01-07 株式会社日立ハイテクノロジーズ 液体クロマトグラフ用ポンプ
JP4377639B2 (ja) 2003-09-18 2009-12-02 株式会社日立ハイテクノロジーズ ポンプおよびクロマトグラフ用液体ポンプ
DE102004014793A1 (de) 2004-03-24 2005-10-20 Bosch Rexroth Ag Verfahren zur Datenübertragung
US7272452B2 (en) 2004-03-31 2007-09-18 Siemens Vdo Automotive Corporation Controller with configurable connections between data processing components
US7363195B2 (en) 2004-07-07 2008-04-22 Sensarray Corporation Methods of configuring a sensor network
US20060083259A1 (en) 2004-10-18 2006-04-20 Metcalf Thomas D Packet-based systems and methods for distributing data
JP5079516B2 (ja) 2004-11-23 2012-11-21 インテグリス・インコーポレーテッド 可変定位置ディスペンスシステムのためのシステムおよび方法
US20080089361A1 (en) 2005-10-06 2008-04-17 Metcalf Thomas D System and method for transferring data

Patent Citations (5)

* Cited by examiner, † Cited by third party
Publication number Priority date Publication date Assignee Title
US1664125A (en) * 1926-11-10 1928-03-27 John R Lowrey Hose coupling
US2457384A (en) * 1947-02-17 1948-12-28 Ace Glass Inc Clamp for spherical joints
JPS5181413U (ja) * 1974-12-23 1976-06-29
JPS5481119U (ja) * 1977-11-19 1979-06-08
JPS54165812U (ja) * 1978-05-15 1979-11-21

Cited By (17)

* Cited by examiner, † Cited by third party
Publication number Priority date Publication date Assignee Title
US8172546B2 (en) 1998-11-23 2012-05-08 Entegris, Inc. System and method for correcting for pressure variations using a motor
US8814536B2 (en) 2004-11-23 2014-08-26 Entegris, Inc. System and method for a variable home position dispense system
US8382444B2 (en) 2005-12-02 2013-02-26 Entegris, Inc. System and method for monitoring operation of a pump
US8662859B2 (en) 2005-12-02 2014-03-04 Entegris, Inc. System and method for monitoring operation of a pump
US8025486B2 (en) 2005-12-02 2011-09-27 Entegris, Inc. System and method for valve sequencing in a pump
US8029247B2 (en) 2005-12-02 2011-10-04 Entegris, Inc. System and method for pressure compensation in a pump
US8083498B2 (en) 2005-12-02 2011-12-27 Entegris, Inc. System and method for position control of a mechanical piston in a pump
US7940664B2 (en) 2005-12-02 2011-05-10 Entegris, Inc. I/O systems, methods and devices for interfacing a pump controller
US7850431B2 (en) 2005-12-02 2010-12-14 Entegris, Inc. System and method for control of fluid pressure
US9309872B2 (en) 2005-12-02 2016-04-12 Entegris, Inc. System and method for position control of a mechanical piston in a pump
US8678775B2 (en) 2005-12-02 2014-03-25 Entegris, Inc. System and method for position control of a mechanical piston in a pump
US9262361B2 (en) 2005-12-02 2016-02-16 Entegris, Inc. I/O systems, methods and devices for interfacing a pump controller
US8870548B2 (en) 2005-12-02 2014-10-28 Entegris, Inc. System and method for pressure compensation in a pump
US9025454B2 (en) 2005-12-02 2015-05-05 Entegris, Inc. I/O systems, methods and devices for interfacing a pump controller
US7897196B2 (en) 2005-12-05 2011-03-01 Entegris, Inc. Error volume system and method for a pump
US7946751B2 (en) 2006-03-01 2011-05-24 Entegris, Inc. Method for controlled mixing of fluids via temperature
US9631611B2 (en) 2006-11-30 2017-04-25 Entegris, Inc. System and method for operation of a pump

Also Published As

Publication number Publication date
TW200726918A (en) 2007-07-16
JP2013130295A (ja) 2013-07-04
KR20080073778A (ko) 2008-08-11
WO2007067343A3 (en) 2008-12-04
WO2007067343A2 (en) 2007-06-14
US7547049B2 (en) 2009-06-16
JP5302002B2 (ja) 2013-10-02
US20070126233A1 (en) 2007-06-07

Similar Documents

Publication Publication Date Title
JP5302002B2 (ja) Oリング無し薄型取付部品および取付部品アセンブリ
JP4166871B2 (ja) 連結装置
JP2565300Y2 (ja) 逆止弁
US7896021B2 (en) Quick change check valve system
WO2008076962A1 (en) Check valve
CN1550747B (zh) 管道装置以及包含该管道装置的管道系统
WO2007100106A1 (ja) 流体機器ユニット構造
CN100400955C (zh) 直螺纹可调孔口端
US7758321B2 (en) Pump apparatus
US6168400B1 (en) Check valve module
JP2848807B2 (ja) 自動ガス抜き機構付き往復動ポンプ
JP4741575B2 (ja) 高圧分析機器のための流体制御装置
JP3947746B2 (ja) 管継手構造を有する流体機器
US20040084108A1 (en) Sealed O-ring connector
WO2005066535A1 (ja) 流体継手及び継手一体型集積ユニット
CN218919249U (zh) 电池注液装置
JPH10332010A (ja) 標準的な吸い上げポンプによって通常のあるいは加速された重力下で液体を輸送するための装置
KR20210151532A (ko) 튜브피팅유닛 및 이를 포함하는 기판처리장치
JP3984928B2 (ja) 半導体製造装置等の配管システム
CN112840152A (zh) 套筒以及具有套筒的接头
KR100489554B1 (ko) 맥동 감소장치
KR101416531B1 (ko) 절곡형 유니온 조인트 및 이를 챔버에 설치하는 방법
CN222334510U (zh) 新风阀门结构及废气处理设备
JP3512759B2 (ja) 流体移送パイプ接続構造
JPS6357882A (ja) 液中浸漬エア駆動形ポンプ

Legal Events

Date Code Title Description
A521 Request for written amendment filed

Free format text: JAPANESE INTERMEDIATE CODE: A523

Effective date: 20090318

A521 Request for written amendment filed

Free format text: JAPANESE INTERMEDIATE CODE: A523

Effective date: 20091118

A621 Written request for application examination

Free format text: JAPANESE INTERMEDIATE CODE: A621

Effective date: 20091118

A521 Request for written amendment filed

Free format text: JAPANESE INTERMEDIATE CODE: A523

Effective date: 20091209

RD03 Notification of appointment of power of attorney

Free format text: JAPANESE INTERMEDIATE CODE: A7423

Effective date: 20120217

RD04 Notification of resignation of power of attorney

Free format text: JAPANESE INTERMEDIATE CODE: A7424

Effective date: 20120307

A977 Report on retrieval

Free format text: JAPANESE INTERMEDIATE CODE: A971007

Effective date: 20120323

A131 Notification of reasons for refusal

Free format text: JAPANESE INTERMEDIATE CODE: A131

Effective date: 20120327

A521 Request for written amendment filed

Free format text: JAPANESE INTERMEDIATE CODE: A523

Effective date: 20120620

A02 Decision of refusal

Free format text: JAPANESE INTERMEDIATE CODE: A02

Effective date: 20121023

A521 Request for written amendment filed

Free format text: JAPANESE INTERMEDIATE CODE: A523

Effective date: 20130225

A911 Transfer to examiner for re-examination before appeal (zenchi)

Free format text: JAPANESE INTERMEDIATE CODE: A911

Effective date: 20130409

TRDD Decision of grant or rejection written
A01 Written decision to grant a patent or to grant a registration (utility model)

Free format text: JAPANESE INTERMEDIATE CODE: A01

Effective date: 20130521

A61 First payment of annual fees (during grant procedure)

Free format text: JAPANESE INTERMEDIATE CODE: A61

Effective date: 20130620

R150 Certificate of patent or registration of utility model

Free format text: JAPANESE INTERMEDIATE CODE: R150

Ref document number: 5302002

Country of ref document: JP

Free format text: JAPANESE INTERMEDIATE CODE: R150

R250 Receipt of annual fees

Free format text: JAPANESE INTERMEDIATE CODE: R250

R250 Receipt of annual fees

Free format text: JAPANESE INTERMEDIATE CODE: R250

R250 Receipt of annual fees

Free format text: JAPANESE INTERMEDIATE CODE: R250

R250 Receipt of annual fees

Free format text: JAPANESE INTERMEDIATE CODE: R250

R250 Receipt of annual fees

Free format text: JAPANESE INTERMEDIATE CODE: R250

R250 Receipt of annual fees

Free format text: JAPANESE INTERMEDIATE CODE: R250

R250 Receipt of annual fees

Free format text: JAPANESE INTERMEDIATE CODE: R250

R250 Receipt of annual fees

Free format text: JAPANESE INTERMEDIATE CODE: R250

R250 Receipt of annual fees

Free format text: JAPANESE INTERMEDIATE CODE: R250