JP2009166318A - 加硫タイヤの検査装置及びその方法 - Google Patents

加硫タイヤの検査装置及びその方法 Download PDF

Info

Publication number
JP2009166318A
JP2009166318A JP2008005755A JP2008005755A JP2009166318A JP 2009166318 A JP2009166318 A JP 2009166318A JP 2008005755 A JP2008005755 A JP 2008005755A JP 2008005755 A JP2008005755 A JP 2008005755A JP 2009166318 A JP2009166318 A JP 2009166318A
Authority
JP
Japan
Prior art keywords
tire
vulcanized tire
vulcanized
type display
reading
Prior art date
Legal status (The legal status is an assumption and is not a legal conclusion. Google has not performed a legal analysis and makes no representation as to the accuracy of the status listed.)
Granted
Application number
JP2008005755A
Other languages
English (en)
Other versions
JP5057288B2 (ja
Inventor
Toshio Tanaka
利夫 田中
Toshinari Matsumoto
俊成 松本
Kakutaro Tada
拡太郎 多田
Current Assignee (The listed assignees may be inaccurate. Google has not performed a legal analysis and makes no representation or warranty as to the accuracy of the list.)
Yokohama Rubber Co Ltd
Original Assignee
Yokohama Rubber Co Ltd
Priority date (The priority date is an assumption and is not a legal conclusion. Google has not performed a legal analysis and makes no representation as to the accuracy of the date listed.)
Filing date
Publication date
Application filed by Yokohama Rubber Co Ltd filed Critical Yokohama Rubber Co Ltd
Priority to JP2008005755A priority Critical patent/JP5057288B2/ja
Publication of JP2009166318A publication Critical patent/JP2009166318A/ja
Application granted granted Critical
Publication of JP5057288B2 publication Critical patent/JP5057288B2/ja
Expired - Fee Related legal-status Critical Current
Anticipated expiration legal-status Critical

Links

Images

Landscapes

  • Chemical & Material Sciences (AREA)
  • Tyre Moulding (AREA)
  • Health & Medical Sciences (AREA)
  • Chemical Kinetics & Catalysis (AREA)
  • Medicinal Chemistry (AREA)
  • Polymers & Plastics (AREA)
  • Organic Chemistry (AREA)

Abstract

【課題】加硫タイヤが正しい加硫用金型によって加硫されたか否かを容易且つ確実に検査することが可能であり、また、加硫タイヤの周方向の均一性を向上可能な加硫用金型内におけるスプライス部の配置を容易に特定可能な加硫タイヤの検査装置及びその方法を提供する。
【解決手段】タイヤ幅方向の一方の側面に貼付型表示部材QRが貼付されるとともに、加硫用金型によってタイヤ幅方向一方の側面に凹凸状表示部BAが形成され、凹凸状表示部BAの情報と貼付型表示部材QRの情報とを比較することにより、その加硫タイヤTが正しい加硫用金型によって加硫されたか否かを検査できる。また、凹凸状表示部BAのタイヤ周方向の位置と貼付型表示部材QRのタイヤ周方向の位置との角度差を検出し、その検出結果と加硫タイヤTのRFVの測定結果とを貼付型表示部材QRのシリアル番号情報を介して対応させる。
【選択図】図1

Description

本発明は、例えば自動車用空気入りタイヤの製造工程において、加硫成形後のタイヤを検査する加硫タイヤの検査装置及びその方法に関するものである。
一般に、この種の加硫タイヤの検査装置としては、加硫用金型によって幅方向一方の側面に凹凸状のバーコード表示部が形成された加硫タイヤを横置き状態で所定方向に搬送可能なコンベアと、コンベアの途中に設けられ、コンベアによって搬送されている加硫タイヤを横置き状態で回転自在に支持する支持装置と、支持装置によって回転支持されている加硫タイヤのバーコード表示部の表示情報を読取るバーコードリーダとを備えたものが知られている(例えば、特許文献1参照。)。
特開昭60−143941号公報
ところで、前記検査装置では、加硫タイヤのバーコード表示部がその加硫タイヤの製品コード等の情報を有しており、読取った情報からその加硫タイヤの製品コードを判定することができるので、例えば搬送コンベアの前記検査装置よりも下流側において、加硫タイヤを製品コードごとに異なる搬送経路に自動的に振り分けることが可能である。
しかしながら、前記加硫タイヤのバーコード表示部は加硫用金型によって形成されるので、未加硫タイヤを間違った加硫用金型で加硫した場合でも、その加硫タイヤは前記検査装置によってバーコード表示部に表示された製品コードの加硫タイヤとして判定される。即ち、前記検査装置によって加硫タイヤが検査された後に、その加硫タイヤの加硫に正しい加硫用金型が用いられたか否かを例えば目視によって検査する必要があり、目視検査を行う分だけ生産効率が低下するという問題点があった。
一方、未加硫タイヤはカーカス部材やサイド部材の周方向の端部が重ね合わせられたスプライス部を有しており、加硫タイヤにおいて前記スプライス部があった位置の特性と他の位置の特性との差を小さくすることができれば、加硫タイヤの周方向の均一性を向上することができる。また、加硫用金型は一般に高い寸法精度で形成されているが、わずかな寸法誤差の発生を完全に防止することは難しく、キャビティを全周に亘って均一に形成することが難しい。さらに、同一製品コード用の加硫用金型が複数ある場合、各加硫用金型は前記寸法誤差によってそれぞれ異なる特性を有している。このため、未加硫タイヤを加硫用金型内に配置する際に、スプライス部をその加硫用金型の特性に応じた位置に配置することにより、加硫タイヤの周方向の均一性を向上することができる。しかしながら、スプライス部を配置する位置は加硫用金型ごとに異なるので、加硫タイヤの周方向の均一性を向上可能な加硫用金型内におけるスプライス部の配置を容易に特定することができないという問題点があった。
本発明は前記問題点に鑑みてなされたものであり、その目的とするところは、加硫タイヤが正しい加硫用金型によって加硫されたか否かを容易且つ確実に検査することが可能であり、また、加硫タイヤの周方向の均一性を向上可能な加硫用金型内におけるスプライス部の配置を容易に特定可能な加硫タイヤの検査装置及びその方法を提供することにある。
本発明は前記目的を達成するために、タイヤ幅方向の何れか一方の側面に貼付型表示部材が貼付された未加硫タイヤを加硫用金型で加硫して成る加硫タイヤを検査する加硫タイヤの検査装置において、前記加硫用金型によって加硫タイヤにおける幅方向一方の側面に形成された凹凸状表示部の表示情報を読取る第1読取装置と、加硫タイヤに貼付されている貼付型表示部材の表示情報を読取る第2読取装置とを備えている。
これにより、タイヤ幅方向の何れか一方の側面に貼付型表示部材が貼付された未加硫タイヤが加硫用金型によって加硫されるとともに、加硫用金型によってタイヤ幅方向一方の側面に凹凸状表示部が形成され、第1読取装置によって凹凸状表示部の表示情報が読取られ、第2読取装置によって貼付型表示部材の表示情報が読取られることから、凹凸状表示部材から読取られる情報と貼付型表示部材から読取られる情報を比較することにより、加硫タイヤが正しい加硫用金型によって加硫されたか否かを容易且つ確実に検査することが可能である。
また、本発明は、タイヤ幅方向の何れか一方の側面におけるタイヤ構成部材のスプライス部に貼付型表示部材が貼付された未加硫タイヤを加硫用金型で加硫して成る加硫タイヤを検査する加硫タイヤの検査方法において、前記加硫用金型によって加硫タイヤにおける幅方向一方の側面に形成された凹凸状表示部の表示情報を第1読取手段によって読取るとともに、加硫タイヤに貼付されている貼付型表示部材の表示情報を第2読取手段によって読取る読取工程と、凹凸状表示部のタイヤ周方向の位置と貼付型表示部材のタイヤ周方向の位置との角度差を検出する角度差検出工程と、角度差検出工程の検出結果を貼付型表示部材の表示情報と対応するように保存する第1保存工程と、加硫タイヤの周方向の均一性を測定する均一性測定工程と、均一性測定工程の測定結果を貼付型表示部材の表示情報と対応するように保存する第2保存工程と、第1保存工程によって保存した角度差の検出結果と第2保存工程によって保存した均一性の測定結果とを貼付型表示部材の表示情報を介して対応させる対応工程とを含むようにしている。
これにより、タイヤ幅方向の何れか一方の側面に貼付型表示部材が貼付された未加硫タイヤが加硫用金型によって加硫されるとともに、加硫用金型によってタイヤ幅方向一方の側面に凹凸状表示部が形成され、凹凸状表示部の表示情報を読取るとともに、貼付型表示部材の表示情報を読取ることから、凹凸状表示部材から読取られる情報と貼付型表示部材から読取られる情報を比較することにより、加硫タイヤが正しい加硫用金型によって加硫されたことを容易且つ確実に検査することが可能である。また、貼付型表示部材は未加硫タイヤにおけるタイヤ構成部材のスプライス部に貼付されているので、凹凸状表示部のタイヤ周方向の位置と貼付型表示部材のタイヤ周方向の位置との角度差を検出することにより、加硫用金型内におけるスプライス部の位置を判定することが可能となる。さらに、角度差の検出結果と加硫タイヤにおける周方向の均一性の測定結果とを貼付型表示部材の表示情報を介して対応させていることから、貼付型表示部材がシリアル番号等の加硫タイヤごとに異なる情報を有している場合には、加硫用金型内におけるスプライス部の位置と加硫タイヤの周方向の均一性との関係を容易に得ることができる。
本発明によれば、加硫タイヤが正しい加硫用金型によって加硫されたか否かを容易且つ確実に検査することができるので、タイヤの生産効率を向上する上で極めて有利である。また、加硫用金型内におけるスプライス部の位置と加硫タイヤの周方向の均一性との関係を容易に得ることができるので、加硫タイヤの周方向の均一性を向上可能な加硫用金型内におけるスプライス部の配置を容易に特定することができ、タイヤ品質の向上を図る上で極めて有利である。
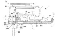
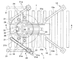
図1乃至図10は本発明の一実施形態を示すもので、図1は加硫タイヤ検査装置の平面図、図2及び図3は図1におけるA−A線断面図、図4はユニフォーミティ測定装置の一部断面正面図、図5は加硫タイヤ検査装置及びユニフォーミティ測定装置のブロック図、図6は制御装置の動作を示すフローチャート、図7は加硫タイヤの断面図、図8は制御装置の動作を示すフローチャート、図9は解析結果の一例を示す表、図10は解析結果の一例を示すグラフである。
この加硫タイヤ検査装置1は、加硫タイヤTを横置き状態で所定の搬送方向に搬送可能な搬送コンベア10と、搬送コンベア10によって搬送されている加硫タイヤTを搬送方向所定位置において横置き状態で回転自在に支持する支持装置20とを備えている。加硫タイヤTは、未加硫タイヤの状態においてタイヤ幅方向の一方におけるサイド部材のスプライス部に周知のQRコード等が印刷された貼付型表示部材QRが貼付されたものであり、加硫用金型によってタイヤ幅方向の一方に周知のバーコード表示から成る凹凸状表示部BAが設けられたものである。凹凸状表示部BAは少なくともそのタイヤの製品コードの情報を有しており、貼付型表示部材QRは少なくともそのタイヤの製品コード及びシリアル番号の情報を有している。
搬送コンベア10は前記搬送方向に並設けられた複数の搬送ローラ11を有し、各搬送ローラ11のうち一部の搬送ローラ11が回転駆動されることにより、加硫タイヤTを所定方向に搬送するようになっている。また、凹凸状表示部BAが設けられた側が下側に配置されるように加硫タイヤTが搬送される(図2及び図3参照)。搬送コンベア10は一対のアーム12aから成るタイヤ送りゲート12を有し、タイヤ送りゲート12は前記搬送方向所定位置側に加硫タイヤTを1つずつ送り出すようになっている。
支持装置20は、搬送コンベア10上の加硫タイヤTに搬送方向下流側から当接可能な一対の外周側ローラ21と、上下方向に回動自在に設けられた回動フレイム22と、回動フレイム22の上面に設けられた第1支持ローラ23と、回動フレイム22に固定された複数の第2支持ローラ24と、回動フレイム22に前記搬送方向に移動自在に取付けられた可動フレイム25と、可動フレイム25の先端に設けられた一対の内周側ローラ26とを有する。
各外周側ローラ21は上下方向に延びる円筒状に形成され、それぞれアーム21aの一端に回転可能に支持されている。各アーム21aは搬送コンベア10の幅方向に回動可能となるように他端を支持されている。このため、各アーム21aが搬送コンベア10の幅方向内側に回動し、各アーム21aが図1における実線の位置に配置されると、各外周側ローラ21が加硫タイヤTの外周面に搬送方向下流側から当接し、タイヤ送りゲート12から送り出された加硫タイヤTを搬送コンベア10上で停止させることができる。この加硫タイヤTが停止する位置が前記搬送方向所定位置である。また、各アーム21aが搬送コンベア10の幅方向外側に回動し、各アーム21aが図1における二点鎖線の位置に配置されると、搬送方向所定位置に保持されていた加硫タイヤTが搬送コンベア10上を搬送方向下流側に移動する。各外周側ローラ21のうち一方の外周側ローラ21にベルト21bを介して駆動力を加える電動モータ21cが設けられ、電動モータ21cの回転量を検出する回転計21dも設けられている。
回動フレイム22は矩形板状に形成されるとともに、上下方向に回動可能となるように一端を支持され、図示しないエアシリンダによって上下方向に回動するようになっている。各外周側ローラ21によって加硫タイヤTが搬送方向所定位置に配置されている状態で、回動フレイム22が上側に回動し、回動フレイム22が図2に示す位置に配置されると、回動フレイム22に設けられた各支持ローラ23,24が搬送コンベア10の各搬送ローラ11よりも上方に突出し、加硫タイヤTが各支持ローラ23,24によって支持される。ここで、各支持ローラ23,24は加硫タイヤTを回転可能に支持するように形成されている。一方、回動フレイム22が下側に回動し、回動フレイム22が図3に示す位置に配置されると、回動フレイム22に設けられた各支持ローラ23,24が搬送コンベア10の各搬送ローラ11の下方に配置され、各支持ローラ23,24によって支持されていた加硫タイヤTが各搬送ローラ11上に載置される。回動フレイム22の上面には一対のレール22aが設けられ、各レール22aは前記搬送方向に延びるように形成されている。
可動フレイム25は各レール22aに移動可能に係合し、図示しないエアシリンダの駆動力によって各レール22a上を移動するようになっている。即ち、可動フレイム25は前記搬送方向に移動自在である。各内周側ローラ26は上下方向に延びる円筒状に形成され、互いに搬送ローラ10の幅方向に並ぶように配置されている。各外周側ローラ21によって加硫タイヤTが搬送方向所定位置に配置されるとともに、各支持ローラ23,24によって加硫タイヤTが支持されている状態で、可動フレイム25が搬送方向下流側に移動すると、各内周側ローラ26が加硫タイヤTのビード部にタイヤ径方向の内側から当接する。これにより、加硫タイヤTが搬送方向所定位置において径方向に位置決めされる。可動フレイム25の先端側には上下方向に延びるレール25aが固定されている。
可動フレイム25の先端側には可動部材27が設けられ、可動部材27は可動フレイム25のレール25aに上下方向に移動可能に係合している。また、可動部材27の下方には上下方向に移動自在なロッド28aを有するエアシリンダ28が設けられ、エアシリンダ28は可動フレイム25のレール25aの下端に固定されている。エアシリンダ28のロッド28aの長さ方向の中間部分には板状部材28bが固定されるとともに、可動部材27の下端にも板状部材27aが設けられ、各板状部材27a,28bは互いに対向するように配置されている。また、エアシリンダ28のロッド28aの上端は板状部材27aを上下方向に挿通している。さらに、板状部材28bと板状部材27aとの間にはコイルスプリング29が設けられ、エアシリンダ28のロッド28aはコイルスプリング29を上下方向に挿通している。可動部材27の上端には回転可能な当接ローラ27bが設けられている。さらに、可動部材27には周知のレーザー変位計から成るとともに凹凸状表示部BAをバーコードとして読取可能な第1読取装置31が取付けられ、また、可動部材27には周知のCCDカメラから成るとともにQRコードを読取可能な第2読取装置32も取付けられている。各外周側ローラ21によって加硫タイヤTが搬送方向所定位置に配置されるとともに、各支持ローラ23,24によって加硫タイヤTが支持されている状態で、エアシリンダ28によって可動部材27を上方に移動させると、当接ローラ27bが加硫タイヤTのタイヤ幅方向一方のビード部に下方から当接し、当接ローラ27bが当接した後の可動部材27の上方への移動がスプリング29によって吸収される(図2参照)。即ち、エアシリンダ28及びスプリング29は、当接ローラ27bが加硫タイヤTの側面のビード部に当接するように、可動部材を加硫タイヤT側に向かって付勢するようになっている。これにより、当接ローラ27bを加硫タイヤTのビード部に確実に当接させることができ、可動部材27に取付けられた各読取装置31,32と加硫タイヤTとの距離を常に一定に保つことができる。ここで、当接ローラ27bは加硫タイヤTの回転を許容するように形成されている。
回転計21d、第1読取装置31及び第2読取装置32は例えば周知のマイクロコンピュータから成る制御装置40に接続されている。また、制御装置40には例えば周知のハードディスクから成る第1保存部41及び第2保存部42が接続されている。
以上のように構成された加硫タイヤ検査装置において、加硫タイヤTを検査する場合は、先ず、タイヤ送りゲート12によって搬送コンベア10上の加硫タイヤTが1つだけ送り出され、その加硫タイヤTが各外周側ローラ21によって搬送方向所定位置に配置される。この時、回動フレイム22は下側に回動した状態になっている。続いて、回動フレイム22が上側に回動し、各支持ローラ23,24によって加硫タイヤTが支持される。続いて、可動フレイム25が搬送方向下流側に移動し、各内側ローラ26が加硫タイヤTのビード部に径方向内側から当接する。これにより、加硫タイヤTが搬送方向所定位置において横置き状態で支持される。また、可動部材27が上方に移動し、可動部材27の当接ローラ27bが加硫タイヤTのビード部に当接する。
次に、加硫タイヤTを回転させながら、加硫タイヤTの凹凸状表示部BA及び貼付型表示部材QRの表示情報を第1読取装置31及び第2読取装置32によってそれぞれ読取る。この時の制御装置40の動作について図6に示すフローチャートを参照しながら説明する。
先ず、電動モータ21cを作動させる(S1)。これにより、加硫タイヤTが搬送方向所定位置で回転する。続いて、第1読取装置31に凹凸状表示部BAの表示情報を読取るための読取動作を行わせる(S2)。ステップS2によって凹凸状表示部BAの表示情報が読取られると(S3)、第2読取装置32に貼付型表示部材QRの表示情報を読取るための読取動作を行わせる(S4)。続いて、ステップS4によって貼付型表示部材QRの表示情報が読取られると(S5)、加硫用金型内における未加硫タイヤTの方向は正常であったと判定する(S6)。一方、ステップS2またはステップS4によって表示情報が読取られない場合は(S2,S4)、加硫用金型内における未加硫タイヤTの方向が正常ではなかったと判定する(S7)。本実施形態では、未加硫タイヤの状態においてタイヤ幅方向の一方に貼付型表示部材QRが貼付され、加硫用金型によってタイヤ幅方向の一方に凹凸状表示部BAが設けられるようになっており、さらに、搬送コンベア10上で凹凸状表示部BAが設けられた側が下側に配置されることから、図7(a)に示すように加硫タイヤTが成形されている場合は、加硫用金型内における未加硫タイヤTの方向は正常であったと判定され、例えば図7(b)に示すように加硫タイヤTが成形されている場合は、加硫用金型内における未加硫タイヤTの方向が正常ではなかったと判定される。
続いて、ステップS6を行った後に、第1読取装置31によって読取られた製品コード情報と第2読取装置32によって読取られた製品コード情報とが一致している場合は(S8)、正しい加硫用金型によって加硫されたと判定し(S9)、一致していない場合は(S8)、間違った加硫用金型によって加硫されたと判定する(S10)。
続いて、凹凸状表示部BAのタイヤ周方向の位置と貼付型表示部材QRのタイヤ周方向の位置との角度差を検出する(S11)。例えば、第1読取装置31によって凹凸状表示部BAが読取られた際のタイヤの回転位置を0°とみなし、第2読取装置32によって貼付型表示部材QRが読取られた際のタイヤの回転位置を回転計21dに基づいて検出し、貼付型表示部材QRが検出された際のタイヤの回転位置を前記角度差とすることができる。尚、加硫タイヤTの回転位置を直接回転計等によって検出することも可能である。
続いて、ステップS11で検出した角度差を貼付型表示部材QRのシリアル番号の情報と対応するように第1保存部41に保存し(S12)、電動モータ21cを停止させる(S13)。
以上のように凹凸状表示部BA及び貼付型表示部材QRの表示情報を読取った後は、可動部材27、可動フレイム25及び回動フレイム22をそれぞれ移動または回動するとともに、各外周側ローラ21を搬送コンベア10の幅方向外側に移動することにより、加硫タイヤTが搬送コンベア10を搬送方向下流側に搬送され、例えば図4に示すような周知のユニフォーミティ測定装置2によって周方向の均一性が測定される。
この場合、ユニフォーミティ測定装置2には、加硫タイヤTの貼付型表示部材QRの表示情報を読取可能なUF用読取装置50が設けられ、ユニフォーミティ測定装置2による例えばRFV(タイヤ径方向の荷重変動)の測定結果を貼付型表示部材QRから読取ったシリアル番号の情報と対応するように保存可能なUF用制御装置60が設けられている。尚、RFVは加硫タイヤの周方向の均一性を示す特性の一つであり、RFVの代わりにLFV(タイヤ幅方向の荷重変動)等の加硫タイヤの周方向の均一性を示す他の特性を用いることも可能である。また、UF用制御装置60は制御装置40と接続されており、制御装置40には解析開始ボタン43が設けられている。解析開始ボタン43が操作された際の制御装置40の動作について図8に示すフローチャートを参照しながら説明する。
先ず、解析開始ボタン43が操作されると(S21)、シリアル番号の情報と対応するようにUF用制御装置60に保存されているユニフォーミティ測定装置2のRFVの測定結果を第2保存部42に保存する(S22)。続いて、第1保存部31に保存されている角度差の検出結果と第2保存部32に保存されているRFVの測定結果とをシリアル番号の情報を介して対応させる。これにより、例えば図9に示すような表を作成することができるとともに、図10に示すようなグラフを作成することができる。尚、本実施形態ではシリアル番号の情報を介して角度差の検出結果とRFVの測定結果とを対応させるものを示したが、シリアル番号の情報の代わりに加硫タイヤTを一つ一つ判別可能な他の情報を用いることも可能である。
このように、本実施形態によれば、タイヤ幅方向の一方の側面に貼付型表示部材QRが貼付された未加硫タイヤが加硫用金型によって加硫されるとともに、加硫用金型によってタイヤ幅方向一方の側面に凹凸状表示部BAが形成され、第1読取装置31によって凹凸状表示部BAの表示情報が読取られ、第2読取手段によって貼付型表示部材QRの表示情報が読取られることから、凹凸状表示部BAから読取られる情報と貼付型表示部材QRから読取られる情報とを比較することにより、その加硫タイヤTが正しい加硫用金型によって加硫されたか否かを容易且つ確実に検査することが可能であり、タイヤの生産効率を向上する上で極めて有利である。
また、第1読取装置31はタイヤ幅方向一方の側面に設けられた凹凸状表示部BAの表示情報を読取可能であるとともに、第2読取装置32はタイヤ幅方向一方の側面に貼付された貼付型表示部材QRの表示情報を読取可能であり、貼付型表示部材QRは未加硫タイヤにおけるタイヤ幅方向一方の側面に貼付されていることから、加硫用金型内における未加硫タイヤTの方向が正常であったか否かを容易且つ確実に検査することが可能であり、タイヤの生産効率を向上する上で極めて有利である。
また、貼付型表示部材QRは未加硫タイヤTにおけるサイド部材のスプライス部に貼付されているので、凹凸状表示部BAのタイヤ周方向の位置と貼付型表示部材QRのタイヤ周方向の位置との角度差を検出することにより、加硫用金型内におけるスプライス部の位置を判定することが可能となる。さらに、角度差の検出結果と加硫タイヤTのRFVの測定結果とを貼付型表示部材QRの表示情報におけるシリアル番号を介して対応させていることから、加硫用金型内におけるスプライス部の位置と加硫タイヤTのRFVの測定結果との関係を容易に得ることができる。即ち、加硫タイヤTの周方向の均一性を向上可能な加硫用金型内におけるスプライス部の配置を容易に特定することができ、タイヤ品質の向上を図る上で極めて有利である。
また、加硫タイヤTを横置き状態で搬送可能な搬送コンベア10と、搬送コンベア10によって搬送されている加硫タイヤTを搬送方向所定位置において横置き状態で回転自在に支持する支持装置20とを有し、支持装置20によって回転している加硫タイヤTの凹凸状表示部BAの表示情報を第1読取装置31によって読取るように構成し、支持装置20によって回転している加硫タイヤTの貼付型表示部材QRの表示情報を第2読取手段32によって読取るように構成したことから、各読取手段31,32による読取りを加硫タイヤTの搬送途中で行うことができ、生産性の向上を図る上で有利である。
また、各読取装置31,32が上下方向に移動可能な可動部材27に取付けられるとともに、可動部材27には当接ローラ27bが設けられ、エアシリンダ28及びコイルスプリング29は、当接ローラ27bが加硫タイヤTの側面に当接するように、支持装置20によって支持されている加硫タイヤT側に向かって可動部材27を付勢するようになっている。これにより、当接ローラ27bを加硫タイヤTのビード部に確実に当接させることができ、可動部材27に取付けられた各読取装置31,32と加硫タイヤTとの距離を常に一定に保つことができる。
尚、本実施形態では、ステップS6,S7,S9、S10において判定を行うものを示したが、その判定結果を所定の表示手段によって表示することも可能であり、所定の保存手段によって保存することも可能である。また、その判定結果を用いて加硫タイヤを自動的に選別することも可能である。
また、本実施形態では、UF用制御装置60に保存されているユニフォーミティ測定装置2のRFVの測定結果を第2保存部42に保存するようにしたものを示したが、ユニフォーミティ測定装置2の測定結果を直接第2保存部42に保存することも可能である。
尚、本実施形態では、解析開始ボタン43の操作に基づいて角度差の検出結果とRFVの測定結果と対応させるものを示した。これに対し、所定時間おきに前記対応を行うことも可能であり、その他のタイミングで前記対応を行うことも可能である。
また、本実施形態では、タイヤ幅方向の一方に凹凸状表示部BA及び貼付型表示部材QRが設けられた加硫タイヤTを検査するものを示した。これに対し、タイヤ幅方向の一方に凹凸状表示部BAが設けられ、タイヤ幅方向の他方に貼付型表示部材QRが設けられた加硫タイヤTを検査することも可能である。この場合、第2読取装置32を加硫タイヤTの上方に配置することにより、前述と同様の作用効果を達成することができる。
尚、本実施形態では、未加硫タイヤにおけるタイヤ構成部材の1つであるサイド部材のスプライス部に貼付型表示部材QRが貼付されたものを示した。これに対し、未加硫タイヤにおける別のタイヤ構成部材であるカーカス部材のスプライス部に貼付型表示部材QRを貼付することも可能であり、この場合でも前述と同様の作用効果を達成することが可能である。
また、本実施形態では、エアシリンダ28及びコイルスプリング29によって可動部材27を加硫タイヤT側に付勢するものを示したが、エアシリンダ28及びコイルスプリング29の代わりに可動部材27を加硫タイヤT側に付勢可能な他の機構を設けることも可能である。
本発明における一実施形態を示す加硫タイヤ検査装置の平面図 図1におけるA−A線断面図 図1におけるA−A線断面図 ユニフォーミティ測定装置の一部断面正面図 加硫タイヤ検査装置及びユニフォーミティ測定装置のブロック図 制御装置の動作を示すフローチャート 加硫タイヤの断面図 制御装置の動作を示すフローチャート 解析結果の一例を示す表 解析結果の一例を示すグラフ
符号の説明
1…加硫タイヤ検査装置、2…ユニフォーミティ測定装置、10…搬送コンベア、11…搬送ローラ、12…タイヤ送りゲート、12a…アーム、20…支持装置、21…外周側ローラ、21a…アーム、21c…電動モータ、21d…回転計、22…回動フレイム、23…第1支持ローラ、24…第2支持ローラ、25…可動フレイム、26…内周側ローラ、27…可動部材、27b…当接ローラ、28…エアシリンダ、28a…ロッド、29…コイルスプリング、31…第1読取装置、32…第2読取装置、40…制御装置、41…第1保存部、42…第2保存部、50…UF用読取装置、60…UF用制御装置、T…加硫タイヤ、BA…凹凸状表示部、QR…貼付型表示部材。

Claims (5)

  1. タイヤ幅方向の何れか一方の側面に貼付型表示部材が貼付された未加硫タイヤを加硫用金型で加硫して成る加硫タイヤを検査する加硫タイヤの検査装置において、
    前記加硫用金型によって加硫タイヤにおける幅方向一方の側面に形成された凹凸状表示部の表示情報を読取る第1読取装置と、
    加硫タイヤに貼付されている貼付型表示部材の表示情報を読取る第2読取装置とを備えた
    ことを特徴とする加硫タイヤの検査装置。
  2. 前記加硫タイヤを横置き状態で所定の搬送方向に搬送可能な搬送手段と、
    前記搬送手段によって搬送されている加硫タイヤを搬送方向所定位置において横置き状態で回転自在に支持する支持手段とを備え、
    前記第1読取装置を、支持手段によって回転している加硫タイヤの凹凸状表示部の表示情報を読取るように構成し、
    前記第2読取装置を、支持手段によって回転している加硫タイヤの貼付型表示部材の表示情報を読取るように構成した
    ことを特徴とする請求項1記載の加硫タイヤの検査装置。
  3. 前記加硫タイヤにおける凹凸状表示部のタイヤ周方向の位置と貼付型表示部材のタイヤ周方向の位置との角度差を検出する角度差検出手段と、
    前記角度差検出手段の検出結果を貼付型表示部材の表示情報と対応するように保存可能な保存手段とを備えた
    ことを特徴とする請求項1または2記載の加硫タイヤの検査装置。
  4. 前記各読取装置が取付けられるとともに、上下方向に移動可能に設けられた可動部材と、
    可動部材に設けられた当接ローラと、
    当接ローラが加硫タイヤの側面に当接するように、支持手段によって支持されている加硫タイヤ側に向かって可動部材を付勢する付勢手段とを備えた
    ことを特徴とする請求項2記載の加硫タイヤの検査装置。
  5. タイヤ幅方向の何れか一方の側面におけるタイヤ構成部材のスプライス部に貼付型表示部材が貼付された未加硫タイヤを加硫用金型で加硫して成る加硫タイヤを検査する加硫タイヤの検査方法において、
    前記加硫用金型によって加硫タイヤにおける幅方向一方の側面に形成された凹凸状表示部の表示情報を第1読取手段によって読取るとともに、加硫タイヤに貼付されている貼付型表示部材の表示情報を第2読取手段によって読取る読取工程と、
    凹凸状表示部のタイヤ周方向の位置と貼付型表示部材のタイヤ周方向の位置との角度差を検出する角度差検出工程と、
    角度差検出工程の検出結果を貼付型表示部材の表示情報と対応するように保存する第1保存工程と、
    加硫タイヤの周方向の均一性を測定する均一性測定工程と、
    均一性測定工程の測定結果を貼付型表示部材の表示情報と対応するように保存する第2保存工程と、
    第1保存工程によって保存した角度差の検出結果と第2保存工程によって保存した均一性の測定結果とを貼付型表示部材の表示情報を介して対応させる対応工程とを含む
    ことを特徴とする加硫タイヤの検査方法。
JP2008005755A 2008-01-15 2008-01-15 加硫タイヤの検査装置及びその方法 Expired - Fee Related JP5057288B2 (ja)

Priority Applications (1)

Application Number Priority Date Filing Date Title
JP2008005755A JP5057288B2 (ja) 2008-01-15 2008-01-15 加硫タイヤの検査装置及びその方法

Applications Claiming Priority (1)

Application Number Priority Date Filing Date Title
JP2008005755A JP5057288B2 (ja) 2008-01-15 2008-01-15 加硫タイヤの検査装置及びその方法

Publications (2)

Publication Number Publication Date
JP2009166318A true JP2009166318A (ja) 2009-07-30
JP5057288B2 JP5057288B2 (ja) 2012-10-24

Family

ID=40968074

Family Applications (1)

Application Number Title Priority Date Filing Date
JP2008005755A Expired - Fee Related JP5057288B2 (ja) 2008-01-15 2008-01-15 加硫タイヤの検査装置及びその方法

Country Status (1)

Country Link
JP (1) JP5057288B2 (ja)

Cited By (2)

* Cited by examiner, † Cited by third party
Publication number Priority date Publication date Assignee Title
JP6465263B1 (ja) * 2017-10-04 2019-02-06 横浜ゴム株式会社 空気入りタイヤ
WO2019069487A1 (ja) * 2017-10-04 2019-04-11 横浜ゴム株式会社 空気入りタイヤ

Citations (6)

* Cited by examiner, † Cited by third party
Publication number Priority date Publication date Assignee Title
JPS60143941A (ja) * 1983-12-29 1985-07-30 Yokohama Rubber Co Ltd:The タイヤ回転装置
JPH10702A (ja) * 1996-06-18 1998-01-06 Yokohama Rubber Co Ltd:The 故障タイヤの検出方法
JP2001030257A (ja) * 1999-05-18 2001-02-06 Bridgestone Corp ラジアルタイヤの製造方法
JP2004216640A (ja) * 2003-01-10 2004-08-05 Yokohama Rubber Co Ltd:The タイヤマーキングシステム
JP2004345310A (ja) * 2003-05-26 2004-12-09 Yokohama Rubber Co Ltd:The タイヤ識別標識刻印方法
WO2007091315A1 (ja) * 2006-02-08 2007-08-16 Toyo Tire & Rubber Co., Ltd. タイヤの製造方法および製造設備

Patent Citations (6)

* Cited by examiner, † Cited by third party
Publication number Priority date Publication date Assignee Title
JPS60143941A (ja) * 1983-12-29 1985-07-30 Yokohama Rubber Co Ltd:The タイヤ回転装置
JPH10702A (ja) * 1996-06-18 1998-01-06 Yokohama Rubber Co Ltd:The 故障タイヤの検出方法
JP2001030257A (ja) * 1999-05-18 2001-02-06 Bridgestone Corp ラジアルタイヤの製造方法
JP2004216640A (ja) * 2003-01-10 2004-08-05 Yokohama Rubber Co Ltd:The タイヤマーキングシステム
JP2004345310A (ja) * 2003-05-26 2004-12-09 Yokohama Rubber Co Ltd:The タイヤ識別標識刻印方法
WO2007091315A1 (ja) * 2006-02-08 2007-08-16 Toyo Tire & Rubber Co., Ltd. タイヤの製造方法および製造設備

Cited By (3)

* Cited by examiner, † Cited by third party
Publication number Priority date Publication date Assignee Title
JP6465263B1 (ja) * 2017-10-04 2019-02-06 横浜ゴム株式会社 空気入りタイヤ
WO2019069487A1 (ja) * 2017-10-04 2019-04-11 横浜ゴム株式会社 空気入りタイヤ
US11207926B2 (en) 2017-10-04 2021-12-28 The Yokohama Rubber Co., Ltd. Pneumatic tire

Also Published As

Publication number Publication date
JP5057288B2 (ja) 2012-10-24

Similar Documents

Publication Publication Date Title
JP5322764B2 (ja) タイヤ成型装置
JP6715859B2 (ja) 車輪用タイヤを製造するための方法およびプラントにおいてタイヤを検査するための方法および装置
JP6005276B2 (ja) タイヤ搬送方法、タイヤ搬送固定装置、および、タイヤ検査システム
JP5616100B2 (ja) 長尺物品の製造方法
CN111386184B (zh) 用于检测将塑料预制件形成塑料容器的过程的方法和装置
US11885715B2 (en) Method for checking tyres configured for overturning tyres perpendicular to a tyre rotation axis
JP7031106B2 (ja) タイヤ内面形状測定装置およびタイヤ内面形状測定方法
RU2682059C1 (ru) Способ контроля качества шин для колес транспортных средств
JP5057288B2 (ja) 加硫タイヤの検査装置及びその方法
KR102466857B1 (ko) 차륜용 타이어 검사 방법 및 장치
KR101345213B1 (ko) 완성타이어 반전장치
TW201945705A (zh) 輪胎試驗機的輪圈尺寸管理方法
CN112105915A (zh) 用于检查由塑料预成型件成为塑料容器的成型过程的方法和设备
WO2007091314A1 (ja) グリーンタイヤの検査装置とその方法
JP7419931B2 (ja) 生タイヤの一次成形体の検査方法
JP7518360B2 (ja) タイヤの製造方法及びタイヤの加硫装置
KR20110065022A (ko) 완성타이어의 내경 측정장치
JP7741425B1 (ja) タイヤ成形装置の検査方法およびタイヤの成形方法
CN222671717U (zh) 用于检查轮胎的内表面的检查单元、以及包括检查单元的轮胎加工组件
JP4322054B2 (ja) タルク自動塗布装置
JP2005271542A (ja) シート状部材の先端傾斜角度判定方法及びその装置
KR0121439B1 (ko) 타이어 원주측정장치
KR100446436B1 (ko) 가류기 블래더의 게이지 측정장치
JP2010260303A (ja) ビード部矯正装置への加硫タイヤの取付方法及びその装置
KR20180033756A (ko) 타이어 반제품의 결함 감지 방법 및 장치

Legal Events

Date Code Title Description
A621 Written request for application examination

Free format text: JAPANESE INTERMEDIATE CODE: A621

Effective date: 20090925

A977 Report on retrieval

Free format text: JAPANESE INTERMEDIATE CODE: A971007

Effective date: 20111028

A131 Notification of reasons for refusal

Free format text: JAPANESE INTERMEDIATE CODE: A131

Effective date: 20111114

A521 Request for written amendment filed

Free format text: JAPANESE INTERMEDIATE CODE: A523

Effective date: 20120112

TRDD Decision of grant or rejection written
A01 Written decision to grant a patent or to grant a registration (utility model)

Free format text: JAPANESE INTERMEDIATE CODE: A01

Effective date: 20120709

A01 Written decision to grant a patent or to grant a registration (utility model)

Free format text: JAPANESE INTERMEDIATE CODE: A01

FPAY Renewal fee payment (event date is renewal date of database)

Free format text: PAYMENT UNTIL: 20150810

Year of fee payment: 3

R150 Certificate of patent or registration of utility model

Ref document number: 5057288

Country of ref document: JP

Free format text: JAPANESE INTERMEDIATE CODE: R150

Free format text: JAPANESE INTERMEDIATE CODE: R150

A61 First payment of annual fees (during grant procedure)

Free format text: JAPANESE INTERMEDIATE CODE: A61

Effective date: 20120722

FPAY Renewal fee payment (event date is renewal date of database)

Free format text: PAYMENT UNTIL: 20150810

Year of fee payment: 3

R250 Receipt of annual fees

Free format text: JAPANESE INTERMEDIATE CODE: R250

R250 Receipt of annual fees

Free format text: JAPANESE INTERMEDIATE CODE: R250

R250 Receipt of annual fees

Free format text: JAPANESE INTERMEDIATE CODE: R250

R250 Receipt of annual fees

Free format text: JAPANESE INTERMEDIATE CODE: R250

R250 Receipt of annual fees

Free format text: JAPANESE INTERMEDIATE CODE: R250

R250 Receipt of annual fees

Free format text: JAPANESE INTERMEDIATE CODE: R250

LAPS Cancellation because of no payment of annual fees