JP2009143753A - SiCハニカム用接合材およびハニカム構造体 - Google Patents
SiCハニカム用接合材およびハニカム構造体 Download PDFInfo
- Publication number
- JP2009143753A JP2009143753A JP2007321143A JP2007321143A JP2009143753A JP 2009143753 A JP2009143753 A JP 2009143753A JP 2007321143 A JP2007321143 A JP 2007321143A JP 2007321143 A JP2007321143 A JP 2007321143A JP 2009143753 A JP2009143753 A JP 2009143753A
- Authority
- JP
- Japan
- Prior art keywords
- honeycomb
- bonding material
- sic
- honeycomb structure
- binder
- Prior art date
- Legal status (The legal status is an assumption and is not a legal conclusion. Google has not performed a legal analysis and makes no representation as to the accuracy of the status listed.)
- Pending
Links
Images
Landscapes
- Filtering Of Dispersed Particles In Gases (AREA)
- Ceramic Products (AREA)
- Catalysts (AREA)
- Processes For Solid Components From Exhaust (AREA)
- Filtering Materials (AREA)
Abstract
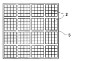
【解決手段】本発明のハニカム構造体1は、多孔質のSiCセラミックスよりなるハニカム分体2と、二つのハニカム分体2の間に位置し、ハニカム分体2を接合するSiCハニカム用接合材層5と、を有するハニカム構造体1であって、SiCハニカム用接合材層5は、平均粒径(D50)が5μm以下のSiCよりなる微細粉末と、平均粒径(D50)が5〜100μmのSiCよりなる粗大粉末と、繊維長が10μm〜1mmの無機繊維と、各粉末および無機繊維が分散した分散媒と、有機バインダおよび/または無機バインダよりなるバインダと、を有する接合材より形成されたことを特徴とする。
【選択図】図4
Description
本発明のSiCハニカム用接合材は、多孔質のSiCセラミックスよりなるハニカム分体を接合してハニカム構造体とするSiCハニカム用接合材である。つまり、本発明の接合材は、多孔質のSiCセラミックスよりなるハニカム分体を接合してハニカム構造体を形成するときに、ハニカム分体を接合するために用いられる接合材である。
本発明のハニカム構造体は、多孔質のSiCセラミックスよりなるハニカム分体と、二つのハニカム分体の間に位置し、ハニカム分体を接合するSiCハニカム用接合材層と、を有するハニカム構造体である。すなわち、本発明のハニカム構造体は、従来公知のハニカム構造体のように、複数部のハニカム分体を接合材で接合した構成となっている。このような構成は、ハニカム分体ごとにその特性(細孔特性など)を変化させることができ、ハニカム構造体全体に所望の性能を付与できる。
平均粒径(D50)が38μmのSiC粉末(粗大粉末)(信濃電気製錬株式会社製、商品名:GP#400)、D50が1.0μmのSiC粉末(微細粉末)(信濃電気製錬株式会社製、商品名:SER−A10)、繊維長が1mm以下のムライトよりなる無機繊維(新日化サーマルセラミックス株式会社製、商品名:SC1260−A10)、1.5wt%でカルボキシルメチルセルロース(CMC)を含む水溶液よりなる有機バインダ(ダイセル化学工業株式会社製、商品名:DN400H)、コロイダルシリカよりなる無機バインダ(日産化学工業株式会社製、商品名:スノーテックスO)を表1に示した割合で秤量し、混練した。これにより、本実施例のSiCハニカム用接合材が調製された。
D50が38μmのSiC粉末(粗大粉末)、D50が0.8μmのSiC粉末(微細粉末)、1.5wt%でカルボキシルメチルセルロース(CMC)を含む水溶液よりなる有機バインダ、コロイダルシリカよりなる無機バインダを表1に示した割合で秤量し、混練した。ここで、SiC粉末やバインダは実施例において用いたものと同様なものを用いた。これにより、本比較例のSiCハニカム用接合材が調製された。
D50が0.8μmのSiC粉末(微細粉末)、繊維長が1mm以下のムライトよりなる無機繊維、1.5wt%でカルボキシルメチルセルロース(CMC)を含む水溶液よりなる有機バインダ、コロイダルシリカよりなる無機バインダを表1に示した割合で秤量し、混練した。ここで、SiC粉末、無機繊維やバインダは実施例において用いたものと同様なものを用いた。これにより、本比較例のSiCハニカム用接合材が調製された。
実施例および各比較例のハニカム構造体の評価として、まず、接合材層の断面を走査型電子顕微鏡(SEM)で観察した。
2:ハニカム分体
3:封止材
4:外周材層
5:接合材層
Claims (2)
- 多孔質のSiCセラミックスよりなるハニカム分体を接合してハニカム構造体とするSiCハニカム用接合材であって、
該SiCハニカム用接合材は、
平均粒径(D50)が5μm以下のSiCよりなる微細粉末と、
平均粒径(D50)が5〜100μmのSiCよりなる粗大粉末と、
繊維長が10μm〜1mmの無機繊維と、
各該粉末および該無機繊維が分散した分散媒と、
有機バインダおよび/または無機バインダよりなるバインダと、
を有することを特徴とするSiCハニカム用接合材。 - 多孔質のSiCセラミックスよりなるハニカム分体と、
二つの該ハニカム分体の間に位置し、該ハニカム分体を接合するSiCハニカム用接合材層と、
を有するハニカム構造体であって、
該SiCハニカム用接合材層は、
平均粒径(D50)が5μm以下のSiCよりなる微細粉末と、
平均粒径(D50)が5〜100μmのSiCよりなる粗大粉末と、
繊維長が10μm〜1mmの無機繊維と、
各該粉末および該無機繊維が分散した分散媒と、
有機バインダおよび/または無機バインダよりなるバインダと、
を有する接合材より形成されたことを特徴とするハニカム構造体。
Priority Applications (1)
| Application Number | Priority Date | Filing Date | Title |
|---|---|---|---|
| JP2007321143A JP2009143753A (ja) | 2007-12-12 | 2007-12-12 | SiCハニカム用接合材およびハニカム構造体 |
Applications Claiming Priority (1)
| Application Number | Priority Date | Filing Date | Title |
|---|---|---|---|
| JP2007321143A JP2009143753A (ja) | 2007-12-12 | 2007-12-12 | SiCハニカム用接合材およびハニカム構造体 |
Related Child Applications (1)
| Application Number | Title | Priority Date | Filing Date |
|---|---|---|---|
| JP2013054874A Division JP2013144640A (ja) | 2013-03-18 | 2013-03-18 | ハニカム構造体 |
Publications (1)
| Publication Number | Publication Date |
|---|---|
| JP2009143753A true JP2009143753A (ja) | 2009-07-02 |
Family
ID=40914835
Family Applications (1)
| Application Number | Title | Priority Date | Filing Date |
|---|---|---|---|
| JP2007321143A Pending JP2009143753A (ja) | 2007-12-12 | 2007-12-12 | SiCハニカム用接合材およびハニカム構造体 |
Country Status (1)
| Country | Link |
|---|---|
| JP (1) | JP2009143753A (ja) |
Cited By (1)
| Publication number | Priority date | Publication date | Assignee | Title |
|---|---|---|---|---|
| CN111747768A (zh) * | 2019-03-27 | 2020-10-09 | 日本碍子株式会社 | 接合材料及碳化硅系蜂窝结构体 |
Citations (2)
| Publication number | Priority date | Publication date | Assignee | Title |
|---|---|---|---|---|
| WO2003067041A1 (en) * | 2002-02-05 | 2003-08-14 | Ibiden Co., Ltd. | Honeycomb filter for exhaust gas decontamination, adhesive, coating material and process for producing honeycomb filter for exhaust gas decontamination |
| JP2007191329A (ja) * | 2006-01-17 | 2007-08-02 | Tokyo Yogyo Co Ltd | SiC系接合材 |
-
2007
- 2007-12-12 JP JP2007321143A patent/JP2009143753A/ja active Pending
Patent Citations (2)
| Publication number | Priority date | Publication date | Assignee | Title |
|---|---|---|---|---|
| WO2003067041A1 (en) * | 2002-02-05 | 2003-08-14 | Ibiden Co., Ltd. | Honeycomb filter for exhaust gas decontamination, adhesive, coating material and process for producing honeycomb filter for exhaust gas decontamination |
| JP2007191329A (ja) * | 2006-01-17 | 2007-08-02 | Tokyo Yogyo Co Ltd | SiC系接合材 |
Cited By (2)
| Publication number | Priority date | Publication date | Assignee | Title |
|---|---|---|---|---|
| CN111747768A (zh) * | 2019-03-27 | 2020-10-09 | 日本碍子株式会社 | 接合材料及碳化硅系蜂窝结构体 |
| DE102020001820B4 (de) | 2019-03-27 | 2024-11-07 | Ngk Insulators, Ltd. | Verwendung eines bindematerials zum verbinden von seitenflächen mehrerer siliciumcarbid-basierter wabensegmente |
Similar Documents
| Publication | Publication Date | Title |
|---|---|---|
| JP4870558B2 (ja) | ハニカム構造体及びシール材層 | |
| JP5042632B2 (ja) | ハニカム構造体 | |
| JP5042633B2 (ja) | ハニカム構造体 | |
| JP5031562B2 (ja) | ハニカム構造体 | |
| CN100450577C (zh) | 过滤器和过滤器集合体 | |
| JP5134377B2 (ja) | ハニカムセグメント及びハニカム構造体 | |
| JP5037809B2 (ja) | ハニカム構造体 | |
| WO2005063653A9 (ja) | ハニカム構造体 | |
| WO2003084640A1 (en) | Honeycomb filter for clarification of exhaust gas | |
| WO2006087932A1 (ja) | ハニカム構造体 | |
| JPWO2005026074A1 (ja) | セラミック焼結体およびセラミックフィルタ | |
| KR20060056269A (ko) | 벌집형 구조체 및 그 제조 방법 | |
| KR20070088464A (ko) | 벌집형 구조체 | |
| JP5103378B2 (ja) | ハニカム構造体 | |
| KR20060054439A (ko) | 허니컴 구조체 및 그 제조 방법 | |
| JPWO2013125713A1 (ja) | ハニカム構造体 | |
| JP2001097777A (ja) | 多孔質炭化珪素焼結体、ハニカムフィルタ、セラミックフィルタ集合体 | |
| JP4997064B2 (ja) | 接合材組成物及びその製造方法並びに接合体及びその製造方法 | |
| JPWO2006098191A1 (ja) | ハニカム構造体 | |
| WO2009118810A1 (ja) | ハニカム構造体 | |
| JP2009196104A (ja) | ハニカム構造体 | |
| JP4402732B1 (ja) | ハニカム構造体 | |
| JP5190878B2 (ja) | ハニカム構造体 | |
| JP2013144640A (ja) | ハニカム構造体 | |
| US20090010817A1 (en) | Honeycomb filter |
Legal Events
| Date | Code | Title | Description |
|---|---|---|---|
| A621 | Written request for application examination |
Free format text: JAPANESE INTERMEDIATE CODE: A621 Effective date: 20101025 |
|
| A977 | Report on retrieval |
Free format text: JAPANESE INTERMEDIATE CODE: A971007 Effective date: 20111017 |
|
| A131 | Notification of reasons for refusal |
Free format text: JAPANESE INTERMEDIATE CODE: A131 Effective date: 20111101 |
|
| A521 | Request for written amendment filed |
Free format text: JAPANESE INTERMEDIATE CODE: A523 Effective date: 20111226 |
|
| A131 | Notification of reasons for refusal |
Free format text: JAPANESE INTERMEDIATE CODE: A131 Effective date: 20120619 |
|
| A521 | Request for written amendment filed |
Free format text: JAPANESE INTERMEDIATE CODE: A523 Effective date: 20120808 |
|
| A02 | Decision of refusal |
Free format text: JAPANESE INTERMEDIATE CODE: A02 Effective date: 20121218 |
|
| A521 | Request for written amendment filed |
Free format text: JAPANESE INTERMEDIATE CODE: A523 Effective date: 20130318 |
|
| A911 | Transfer to examiner for re-examination before appeal (zenchi) |
Free format text: JAPANESE INTERMEDIATE CODE: A911 Effective date: 20130326 |
|
| A912 | Re-examination (zenchi) completed and case transferred to appeal board |
Free format text: JAPANESE INTERMEDIATE CODE: A912 Effective date: 20130510 |
