JP2008511368A - 時間的変化を伴う構成の構造体を表示する画像形成システム - Google Patents

時間的変化を伴う構成の構造体を表示する画像形成システム Download PDF

Info

Publication number
JP2008511368A
JP2008511368A JP2007529103A JP2007529103A JP2008511368A JP 2008511368 A JP2008511368 A JP 2008511368A JP 2007529103 A JP2007529103 A JP 2007529103A JP 2007529103 A JP2007529103 A JP 2007529103A JP 2008511368 A JP2008511368 A JP 2008511368A
Authority
JP
Japan
Prior art keywords
image
reference image
over time
changes
data
Prior art date
Legal status (The legal status is an assumption and is not a legal conclusion. Google has not performed a legal analysis and makes no representation as to the accuracy of the status listed.)
Pending
Application number
JP2007529103A
Other languages
English (en)
Inventor
オリヴィエル ジェラルド
チュアン ゼン
パスカル アレン
ダミアン ドリミエル
Current Assignee (The listed assignees may be inaccurate. Google has not performed a legal analysis and makes no representation or warranty as to the accuracy of the list.)
Koninklijke Philips NV
Original Assignee
Koninklijke Philips NV
Koninklijke Philips Electronics NV
Priority date (The priority date is an assumption and is not a legal conclusion. Google has not performed a legal analysis and makes no representation as to the accuracy of the date listed.)
Filing date
Publication date
Application filed by Koninklijke Philips NV, Koninklijke Philips Electronics NV filed Critical Koninklijke Philips NV
Publication of JP2008511368A publication Critical patent/JP2008511368A/ja
Pending legal-status Critical Current

Links

Images

Classifications

    • GPHYSICS
    • G06COMPUTING OR CALCULATING; COUNTING
    • G06TIMAGE DATA PROCESSING OR GENERATION, IN GENERAL
    • G06T13/00Animation
    • G06T13/203D [Three Dimensional] animation
    • GPHYSICS
    • G06COMPUTING OR CALCULATING; COUNTING
    • G06TIMAGE DATA PROCESSING OR GENERATION, IN GENERAL
    • G06T19/00Manipulating 3D models or images for computer graphics
    • GPHYSICS
    • G06COMPUTING OR CALCULATING; COUNTING
    • G06TIMAGE DATA PROCESSING OR GENERATION, IN GENERAL
    • G06T2210/00Indexing scheme for image generation or computer graphics
    • G06T2210/41Medical

Landscapes

  • Engineering & Computer Science (AREA)
  • Physics & Mathematics (AREA)
  • General Physics & Mathematics (AREA)
  • Theoretical Computer Science (AREA)
  • Computer Graphics (AREA)
  • Computer Hardware Design (AREA)
  • General Engineering & Computer Science (AREA)
  • Software Systems (AREA)
  • Ultra Sonic Daignosis Equipment (AREA)
  • Magnetic Resonance Imaging Apparatus (AREA)
  • Image Processing (AREA)
  • Apparatus For Radiation Diagnosis (AREA)

Abstract

本発明は、時間的に変化する構成の構造体を示す画像データを表示する画像形成システムに関する。この画像形成システムは、構造体の変化する構成を示すデータを処理し、予め選択した構成による当該構造体の基準画像を有する表示を奏し、時間につき構成が変化する当該構造体の変化する画像に、その基準画像を重ねる表示処理手段を有する。

Description

本発明は、時間とともに変化する構成を有する構造体(例えば動いている心臓など)を監視するのに用いられる画像形成システムに関する。
心臓周期における左心室(LV:Left Ventricle)の拡張が、心臓の健康に関係していることが知られている。画像形成技術により、静的ボリューム(3D)画像及びダイナミックボリューム(4D)画像の発生が可能となる。超音波、CT又はMRI画像形成のような心臓画像形成システムは、心臓周期において当該LVの画像を形成するために開発されてきたものである。特定の超音波画像形成技術は、国際特許出願に係る文献のWO2004003851に開示されている。
そこで、視覚化の有用な様式が考案されたのである。
本発明の目的は、構造体の構成がどのように時間とともに変化するかについて有益な技術的理解を与える画像表示に対し対話動作及び/又は観察をすることを観察者が可能とする視覚化のモダリティを提供することである。
第1の態様によれば、本発明は、時間的に変化する構成の構造体を表す画像データを表示する画像形成システムであって、前記構造体の変化する構成を示すデータを処理し、予め規定した構成による当該構造体の基準画像を有する表示を奏し、時間につき構成が変化する当該構造体の変化する画像に前記基準画像を重ねる表示処理手段を有するシステムを提供する。
したがって、本発明は、基準画像に対して変化する構成の構造体の動く連続的画像を提供することを可能とする。これは、質的及び量的な検査の双方に資するものとなる。本発明は、心臓の評価に関連した特定の用途があるものの、当業者であれば、本発明は、時間とともに変化する構成を有する他の構造体を確認する分野もあることが容易に分かる筈である。
有益なのは、当該システムが、時間とともに変化するにつれ当該構造体の構成を示すデータを取り込むデータ取得手段を含むことである。一実施例において、当該システムは、当該データを取り込むための超音波画像形成装置を含むのがよい。この取得手段は、処理のために3Dボリュームデータを取り込むのが好ましい。
他の態様によれば、本発明は、時間的に変化する構成の構造体を示す画像データを処理する方法であって、前記構造体の変化する構成を示すデータを処理すること、所定の構成の当該構造体の基準画像を有する表示を奏すること、及び時間につき構成が変化する当該構造体の変化画像に前記基準画像を重ねること、を有する方法を提供する。
当該基準画像は、静止したままで当該変動画像の構成が時間につき変わる当該構造体の静的な画像とするのが好ましい。
当該システムは、3D画像形成システムを有するのが好ましく、基準画像及び/又は変動画像は、3D再生画像とするのが有益である。
時間的に変動する構造体は、周期的に構成が変わることが多く、その変化する画像は、当該構造体の周期的に変化する3Dボリュームを表すのが有益である。基準画像は、当該構造体の最大ボリュームを表すのが有益である。例えば、モニタされる構造体は、心臓の左心室(LV)を有するものとすることができ、この場合、基準画像は、LV拡張末期(ED)を示すものとするのが有益である。
確認される画像は、当該構造体の境界とするのが有益であり、このため、当該データは、当該構造体の境界を表す。
特定の実現形態では、本発明は、心臓の左心室(LV)を画像形成する方法であって、拡張末期におけるLVの基準画像を有する表示を奏し、心臓の拍動のサイクルを通じてLVの変動画像に基準画像を重ねる方法を提供する。
他の態様によれば、本発明は、当該方法の動作を可能とする命令のセットを有するコンピュータプログラム製品を提供する。
以下、本発明のこれらの態様及びその他の態様を次に説明する実施例に基づいて明らかにする。
以下に、添付図面を参照して例証により本発明を詳細に説明する。
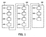
図面を参照すると、図1は、LV鼓動の視覚化をなす本発明による技術によりなされるステップのフローチャートを示している。患者のLVは、心臓周期のED(拡張末期)フェーズ(ブロック110)を確認するため、超音波画像形成及び/又はECGのような従来の監視技術を用いて初期の段階でモニタされる(ブロック100)。
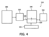
模範的技術においては、3D超音波心臓検査システムを用いることができる。このシステムは、ディジタル画像列を取り込むための手段を有し、その取り込んだ3Dボリュームデータを処理するためのディジタル処理システムに関連づけられる。図4に示される検査システム550は、表示及び/又は記憶手段530,540に画像データを供給するために少なくとも1つの出力506を有する処理システムに画像データを供給するための手段を有する。この表示及び記憶手段は、それぞれワークステーション510のスクリーン及びメモリとすることができる。ワークステーション510はまた、キーボード531及びマウス532を有してもよい。
画像処理システム520は、ワークステーション510の適切にプログラムされたコンピュータとしてもよいし、或いは本発明による方法ステップの機能を果たすように構成されたフィルタ、論理演算子、メモリなどの回路手段を有する特定用途向けプロセッサとしてもよい。処理システム520は、当該方法ステップを行うために処理システム520の計算手段により実行されるべきプログラム命令を有するコンピュータプログラム製品を用いてもよい。
3Dボリューム取得の後、当該心臓周期のEDフェーズにおけるLVに対応する3D画像データは、図2において分かるようにLVの計算された境界400を生成するように処理される。
そして、コンピュータアルゴリズムは、コンピュータ生成の境界内の一連のポイントを選択するようにユーザを促し(ブロック120)、当該境界内の画像の領域を完全にカバーする3Dの網目を生成するために情報を用い(ブロック130)、LVの表面を規定する。(このセグメンテーション技術は、「有限要素法」に関連しており、これは画像データの解析に用いられる幾つかの標準的な数学的技術のうちの1つである)。この態様において、基準網目は、心臓周期におけるLVのEDフェーズに対して得られる。必要に応じて、コンピュータにより生成された網目をこの段階(ブロック140)で変更することができる。
LVのES(収縮末期)(ブロック200)フェーズは、その後、LVの境界が再度決められる形で同様に確認され(ブロック210)、対応の網目が一連のポイントを選択(ステップ220)するユーザによって発生される(ステップ230)。ここでも、この網目は、必要に応じて変更可能である(ブロック240)。
心臓周期のED(ブロック100)及びES(ブロック200)フェーズの判定の後、LVの境界は、EDからESまで(ブロック310)の選択された時間間隔(ブロック300)で心臓周期内の3D画像の列から判定され、対応の網目が自動的に発生され(ブロック320)、必要に応じて変更することができる(ブロック330)。
本発明においては、その後システムが、予め選択された構成(LVのEDフェーズ)における構造体の基準画像を有する画像表示に、時間に対して変化するのにつれて当該構造体の変化画像を重ねるようにレンダリングする。
したがって、連続的に取り込んだ網目フレームを再生することによって、3DのLV境界は、生の鼓動する対象として表示されることが可能であり、ED基準網目内に表示されるときには、心臓周期において現フレームと基準フレーム500との間に明確な乖離を確認することができる(図3)。さらに、網目の重ね合わせは、全体の動きの強調も兼ね、当該LVは、例えば1呼吸の間において担当することができる。このような視覚画像は、時間につき変化するにつれLVの表面の動きの収集される評価を提供し、これにより、1つのフレーム時間しか示さない従来技術とは対照的に、その視覚画像は、心臓周期全体にわたりLV境界の変化を示すことになる。
なお、この画像の視覚化はここでは網目の形態で提示したが、本発明の範囲から外れない他の視覚的処置も可能であることを理解されたい。したがって、基準網目及び時間的に変動する網目が画像を簡単に表すことが分かる。このデータは、同様にLVの表面の他の表現を生成するように操作することもできる。
また、主として超音波画像形成技術を説明したが、本発明は、例えば磁気共鳴映像法(MRI)又はコンピュータ断層撮影(CT)などの他の技術を用いて得られる画像データを操作し表示するために用いることができる。
さらに、上述した実施例は、本発明を限定するのではなく例証するものであり、当業者であれば、添付の請求項により規定されるような本発明の範囲を逸脱することなく数多くの代替えの実施例を構成することができる。請求項において、括弧内に付された参照符号は、当該請求項を限定するものと解釈してはならない。「有する」及び「有し」などの文言は、いずれの請求項又は明細書全体において挙げられた他の要素又はステップの存在を排除するものではない。要素の単数表現は、そのような要素の複数の存在を排除するものではないし、逆に複数表現も単数の存在を排除するものでもない。本発明は、複数の個別の要素を有するハードウェアにより、また適切にプログラムされたコンピュータにより実施可能である。複数の手段を列挙する装置の請求項においては、これら手段の幾つかが同一アイテムのハードウェアにより具現化されてもよい。或る方策が相互に異なる従属請求項において挙げられている過ぎない点は、これら方策の組み合わせを活用することができないことを示すものではない。
本発明によるシステムの動作を表す概略的フローチャート。 コンピュータにより生成された境界を示す患者の心臓のLVの超音波画像を示す図。 3DのED網目が重ねられた心臓周期内の異なる時間期間におけるLVの一連の3D網目フレームを示す図。 データ取得システムの概略図。

Claims (13)

  1. 時間的に変化する構成の構造体を表す画像データを表示する画像形成システムであって、前記構造体の変化する構成を示すデータを処理し、予め選択した構成による当該構造体の基準画像を有する表示を奏し、時間につき構成が変化する当該構造体の変化する画像に前記基準画像を重ねる表示処理手段を有するシステム。
  2. 請求項1に記載のシステムであって、前記基準画像は、静止したままで当該変化する画像の構成が時間につき変化する前記構造体の静的画像である、システム。
  3. 請求項1に記載のシステムであって、当該システムは、3D画像形成システムを有し、前記基準画像及び/又は変化画像は、3D処理画像である、システム。
  4. 請求項1に記載のシステムであって、前記時間的に変化する構造体は、周期的に構成が変化し、前記変化画像は、当該構造体の周期的に変化する3Dボリュームを表す、システム。
  5. 請求項1に記載のシステムであって、前記基準画像は、前記構造体の最大体積を示す、システム。
  6. 請求項1に記載のシステムであって、前記構造体は、心臓の左心室を有する、システム。
  7. 請求項6に記載のシステムであって、前記基準画像は、左心室拡張末期を表す、システム。
  8. 請求項1に記載のシステムであって、前記データは、前記構造体の境界を示す、システム。
  9. 請求項1に記載のシステムであって、前記構造体を示すデータを取り込むための手段を含むシステム。
  10. 請求項9に記載のシステムであって、前記データを取り込むための超音波装置を含むシステム。
  11. 時間的に変化する構成の構造体を示す画像データを処理する方法であって、前記構造体の変化する構成を示すデータを処理すること、予め選択した構成の当該構造体の基準画像を有する表示を奏すること、及び時間につき構成が変化する当該構造体の変化画像に前記基準画像を重ねること、を有する方法。
  12. 心臓の左心室を画像にする方法であって、拡張末期における左心室の基準画像を有する表示を奏すること、及び心臓の拍動サイクルにおいて前記左心室の変化画像に前記基準画像を重ねること、を有する方法。
  13. 請求項11又は請求項12に記載の方法を行うための命令のセットを有するコンピュータプログラム製品。
JP2007529103A 2004-08-31 2005-08-26 時間的変化を伴う構成の構造体を表示する画像形成システム Pending JP2008511368A (ja)

Applications Claiming Priority (2)

Application Number Priority Date Filing Date Title
US60580804P 2004-08-31 2004-08-31
PCT/IB2005/052803 WO2006025005A2 (en) 2004-08-31 2005-08-26 Imaging system for displaying a structure of temporally changing configuration

Publications (1)

Publication Number Publication Date
JP2008511368A true JP2008511368A (ja) 2008-04-17

Family

ID=35677551

Family Applications (1)

Application Number Title Priority Date Filing Date
JP2007529103A Pending JP2008511368A (ja) 2004-08-31 2005-08-26 時間的変化を伴う構成の構造体を表示する画像形成システム

Country Status (3)

Country Link
EP (1) EP1794719A2 (ja)
JP (1) JP2008511368A (ja)
WO (1) WO2006025005A2 (ja)

Cited By (2)

* Cited by examiner, † Cited by third party
Publication number Priority date Publication date Assignee Title
JP2012515010A (ja) * 2009-01-13 2012-07-05 コーニンクレッカ フィリップス エレクトロニクス エヌ ヴィ 画像ベースの臨床試験評価
WO2013150911A1 (ja) * 2012-04-04 2013-10-10 コニカミノルタ株式会社 画像生成装置及びプログラム

Families Citing this family (1)

* Cited by examiner, † Cited by third party
Publication number Priority date Publication date Assignee Title
DE102006020864A1 (de) * 2006-05-04 2007-11-08 Siemens Ag Verfahren zur Ermittlung und Anzeige von wenigstens einer Information über ein Zielvolumen

Citations (4)

* Cited by examiner, † Cited by third party
Publication number Priority date Publication date Assignee Title
JPH09313485A (ja) * 1996-06-04 1997-12-09 Toshiba Corp 超音波ドプラ診断装置および超音波ドプラ診断の方法
JPH11290325A (ja) * 1998-04-09 1999-10-26 Hitachi Medical Corp 超音波診断装置
JP2002085409A (ja) * 2000-09-18 2002-03-26 Toshiba Corp 超音波診断装置
JP2004195028A (ja) * 2002-12-19 2004-07-15 Aloka Co Ltd 超音波診断装置

Family Cites Families (2)

* Cited by examiner, † Cited by third party
Publication number Priority date Publication date Assignee Title
FR2545349B1 (fr) * 1983-05-04 1986-09-26 Duret Francois Procede de saisie de la forme d'organes humains ou d'anomalies pathologiques et dispositif pour sa mise en oeuvre
AU2003239740A1 (en) 2002-06-28 2004-01-19 Koninklijke Philips Electronics N.V. Image processing method for displaying information relating to parietal motions of a deformable 3-d object

Patent Citations (4)

* Cited by examiner, † Cited by third party
Publication number Priority date Publication date Assignee Title
JPH09313485A (ja) * 1996-06-04 1997-12-09 Toshiba Corp 超音波ドプラ診断装置および超音波ドプラ診断の方法
JPH11290325A (ja) * 1998-04-09 1999-10-26 Hitachi Medical Corp 超音波診断装置
JP2002085409A (ja) * 2000-09-18 2002-03-26 Toshiba Corp 超音波診断装置
JP2004195028A (ja) * 2002-12-19 2004-07-15 Aloka Co Ltd 超音波診断装置

Cited By (4)

* Cited by examiner, † Cited by third party
Publication number Priority date Publication date Assignee Title
JP2012515010A (ja) * 2009-01-13 2012-07-05 コーニンクレッカ フィリップス エレクトロニクス エヌ ヴィ 画像ベースの臨床試験評価
WO2013150911A1 (ja) * 2012-04-04 2013-10-10 コニカミノルタ株式会社 画像生成装置及びプログラム
JP5408400B1 (ja) * 2012-04-04 2014-02-05 コニカミノルタ株式会社 画像生成装置及びプログラム
US9990735B2 (en) 2012-04-04 2018-06-05 Konica Minolta, Inc. Image generation device that acquires images based on a periodic variation of an anatomical structure

Also Published As

Publication number Publication date
WO2006025005A2 (en) 2006-03-09
EP1794719A2 (en) 2007-06-13
WO2006025005A3 (en) 2006-05-11

Similar Documents

Publication Publication Date Title
JP5322548B2 (ja) X線ct装置、医用画像処理装置および医用画像処理プログラム
JP6318739B2 (ja) 画像処理装置、およびプログラム
JP6222228B2 (ja) 画像処理装置及びプログラム
EP2545528B1 (en) Motion visualisation in angiographic images
JP5897308B2 (ja) 医用画像処理装置
JP5566370B2 (ja) 医用画像処理装置及び方法
JP2006524087A (ja) 血管造影x線写真撮影用の機器
JP2007167656A (ja) 対象の運動の解析方法および断層撮影装置
JP5029702B2 (ja) 画像生成装置、画像生成方法およびプログラム
JP2021027982A (ja) 画像処理装置及び画像処理方法
CN101355904A (zh) 用于重建至少一部分目标的精密再现的重建单元
CN102223843B (zh) 冠状动脉树的可视化
JP2011036300A (ja) 画像処理装置
JP2010154982A (ja) X線コンピュータ断層撮影装置および画像処理装置
JP5380231B2 (ja) 医用画像表示装置および方法ならびにプログラム
JP2019180545A (ja) 予測装置、予測方法、及び予測プログラム
JP2011067279A (ja) 医療用画像処理装置及び医療用画像処理プログラム
JP2010057795A (ja) 画像表示装置およびプログラム
CN101479769A (zh) 基于模型确定周期性收缩对象的收缩状态
JP2008511368A (ja) 時間的変化を伴う構成の構造体を表示する画像形成システム
JP5408493B2 (ja) 医療用画像処理装置及び医療用画像処理プログラム
JP2013040829A (ja) ボリュームデータ処理装置及び方法
JP5722984B2 (ja) 医療用画像処理装置及び医療用画像処理プログラム
JP2005136594A (ja) 画像処理装置及びその制御方法
JPWO2010079689A1 (ja) 画像表示装置およびプログラムおよび画像表示方法

Legal Events

Date Code Title Description
A621 Written request for application examination

Free format text: JAPANESE INTERMEDIATE CODE: A621

Effective date: 20080826

A131 Notification of reasons for refusal

Free format text: JAPANESE INTERMEDIATE CODE: A131

Effective date: 20110125

A02 Decision of refusal

Free format text: JAPANESE INTERMEDIATE CODE: A02

Effective date: 20111004