JP2008166314A - 半導体装置及び封止用エポキシ樹脂組成物 - Google Patents
半導体装置及び封止用エポキシ樹脂組成物 Download PDFInfo
- Publication number
- JP2008166314A JP2008166314A JP2006350682A JP2006350682A JP2008166314A JP 2008166314 A JP2008166314 A JP 2008166314A JP 2006350682 A JP2006350682 A JP 2006350682A JP 2006350682 A JP2006350682 A JP 2006350682A JP 2008166314 A JP2008166314 A JP 2008166314A
- Authority
- JP
- Japan
- Prior art keywords
- epoxy resin
- resin composition
- compound
- sealing
- sulfur
- Prior art date
- Legal status (The legal status is an assumption and is not a legal conclusion. Google has not performed a legal analysis and makes no representation as to the accuracy of the status listed.)
- Pending
Links
Images
Classifications
-
- H—ELECTRICITY
- H01—ELECTRIC ELEMENTS
- H01L—SEMICONDUCTOR DEVICES NOT COVERED BY CLASS H10
- H01L2224/00—Indexing scheme for arrangements for connecting or disconnecting semiconductor or solid-state bodies and methods related thereto as covered by H01L24/00
- H01L2224/01—Means for bonding being attached to, or being formed on, the surface to be connected, e.g. chip-to-package, die-attach, "first-level" interconnects; Manufacturing methods related thereto
- H01L2224/26—Layer connectors, e.g. plate connectors, solder or adhesive layers; Manufacturing methods related thereto
- H01L2224/31—Structure, shape, material or disposition of the layer connectors after the connecting process
- H01L2224/32—Structure, shape, material or disposition of the layer connectors after the connecting process of an individual layer connector
- H01L2224/321—Disposition
- H01L2224/32151—Disposition the layer connector connecting between a semiconductor or solid-state body and an item not being a semiconductor or solid-state body, e.g. chip-to-substrate, chip-to-passive
- H01L2224/32221—Disposition the layer connector connecting between a semiconductor or solid-state body and an item not being a semiconductor or solid-state body, e.g. chip-to-substrate, chip-to-passive the body and the item being stacked
- H01L2224/32245—Disposition the layer connector connecting between a semiconductor or solid-state body and an item not being a semiconductor or solid-state body, e.g. chip-to-substrate, chip-to-passive the body and the item being stacked the item being metallic
-
- H—ELECTRICITY
- H01—ELECTRIC ELEMENTS
- H01L—SEMICONDUCTOR DEVICES NOT COVERED BY CLASS H10
- H01L2224/00—Indexing scheme for arrangements for connecting or disconnecting semiconductor or solid-state bodies and methods related thereto as covered by H01L24/00
- H01L2224/01—Means for bonding being attached to, or being formed on, the surface to be connected, e.g. chip-to-package, die-attach, "first-level" interconnects; Manufacturing methods related thereto
- H01L2224/42—Wire connectors; Manufacturing methods related thereto
- H01L2224/44—Structure, shape, material or disposition of the wire connectors prior to the connecting process
- H01L2224/45—Structure, shape, material or disposition of the wire connectors prior to the connecting process of an individual wire connector
- H01L2224/45001—Core members of the connector
- H01L2224/4501—Shape
- H01L2224/45012—Cross-sectional shape
- H01L2224/45015—Cross-sectional shape being circular
-
- H—ELECTRICITY
- H01—ELECTRIC ELEMENTS
- H01L—SEMICONDUCTOR DEVICES NOT COVERED BY CLASS H10
- H01L2224/00—Indexing scheme for arrangements for connecting or disconnecting semiconductor or solid-state bodies and methods related thereto as covered by H01L24/00
- H01L2224/01—Means for bonding being attached to, or being formed on, the surface to be connected, e.g. chip-to-package, die-attach, "first-level" interconnects; Manufacturing methods related thereto
- H01L2224/42—Wire connectors; Manufacturing methods related thereto
- H01L2224/44—Structure, shape, material or disposition of the wire connectors prior to the connecting process
- H01L2224/45—Structure, shape, material or disposition of the wire connectors prior to the connecting process of an individual wire connector
- H01L2224/45001—Core members of the connector
- H01L2224/45099—Material
- H01L2224/451—Material with a principal constituent of the material being a metal or a metalloid, e.g. boron (B), silicon (Si), germanium (Ge), arsenic (As), antimony (Sb), tellurium (Te) and polonium (Po), and alloys thereof
- H01L2224/45138—Material with a principal constituent of the material being a metal or a metalloid, e.g. boron (B), silicon (Si), germanium (Ge), arsenic (As), antimony (Sb), tellurium (Te) and polonium (Po), and alloys thereof the principal constituent melting at a temperature of greater than or equal to 950°C and less than 1550°C
- H01L2224/45139—Silver (Ag) as principal constituent
-
- H—ELECTRICITY
- H01—ELECTRIC ELEMENTS
- H01L—SEMICONDUCTOR DEVICES NOT COVERED BY CLASS H10
- H01L2224/00—Indexing scheme for arrangements for connecting or disconnecting semiconductor or solid-state bodies and methods related thereto as covered by H01L24/00
- H01L2224/01—Means for bonding being attached to, or being formed on, the surface to be connected, e.g. chip-to-package, die-attach, "first-level" interconnects; Manufacturing methods related thereto
- H01L2224/42—Wire connectors; Manufacturing methods related thereto
- H01L2224/44—Structure, shape, material or disposition of the wire connectors prior to the connecting process
- H01L2224/45—Structure, shape, material or disposition of the wire connectors prior to the connecting process of an individual wire connector
- H01L2224/45001—Core members of the connector
- H01L2224/45099—Material
- H01L2224/451—Material with a principal constituent of the material being a metal or a metalloid, e.g. boron (B), silicon (Si), germanium (Ge), arsenic (As), antimony (Sb), tellurium (Te) and polonium (Po), and alloys thereof
- H01L2224/45138—Material with a principal constituent of the material being a metal or a metalloid, e.g. boron (B), silicon (Si), germanium (Ge), arsenic (As), antimony (Sb), tellurium (Te) and polonium (Po), and alloys thereof the principal constituent melting at a temperature of greater than or equal to 950°C and less than 1550°C
- H01L2224/45144—Gold (Au) as principal constituent
-
- H—ELECTRICITY
- H01—ELECTRIC ELEMENTS
- H01L—SEMICONDUCTOR DEVICES NOT COVERED BY CLASS H10
- H01L2224/00—Indexing scheme for arrangements for connecting or disconnecting semiconductor or solid-state bodies and methods related thereto as covered by H01L24/00
- H01L2224/01—Means for bonding being attached to, or being formed on, the surface to be connected, e.g. chip-to-package, die-attach, "first-level" interconnects; Manufacturing methods related thereto
- H01L2224/42—Wire connectors; Manufacturing methods related thereto
- H01L2224/47—Structure, shape, material or disposition of the wire connectors after the connecting process
- H01L2224/48—Structure, shape, material or disposition of the wire connectors after the connecting process of an individual wire connector
- H01L2224/4805—Shape
- H01L2224/4809—Loop shape
- H01L2224/48091—Arched
-
- H—ELECTRICITY
- H01—ELECTRIC ELEMENTS
- H01L—SEMICONDUCTOR DEVICES NOT COVERED BY CLASS H10
- H01L2224/00—Indexing scheme for arrangements for connecting or disconnecting semiconductor or solid-state bodies and methods related thereto as covered by H01L24/00
- H01L2224/01—Means for bonding being attached to, or being formed on, the surface to be connected, e.g. chip-to-package, die-attach, "first-level" interconnects; Manufacturing methods related thereto
- H01L2224/42—Wire connectors; Manufacturing methods related thereto
- H01L2224/47—Structure, shape, material or disposition of the wire connectors after the connecting process
- H01L2224/48—Structure, shape, material or disposition of the wire connectors after the connecting process of an individual wire connector
- H01L2224/481—Disposition
- H01L2224/48151—Connecting between a semiconductor or solid-state body and an item not being a semiconductor or solid-state body, e.g. chip-to-substrate, chip-to-passive
- H01L2224/48221—Connecting between a semiconductor or solid-state body and an item not being a semiconductor or solid-state body, e.g. chip-to-substrate, chip-to-passive the body and the item being stacked
- H01L2224/48245—Connecting between a semiconductor or solid-state body and an item not being a semiconductor or solid-state body, e.g. chip-to-substrate, chip-to-passive the body and the item being stacked the item being metallic
- H01L2224/48247—Connecting between a semiconductor or solid-state body and an item not being a semiconductor or solid-state body, e.g. chip-to-substrate, chip-to-passive the body and the item being stacked the item being metallic connecting the wire to a bond pad of the item
-
- H—ELECTRICITY
- H01—ELECTRIC ELEMENTS
- H01L—SEMICONDUCTOR DEVICES NOT COVERED BY CLASS H10
- H01L2224/00—Indexing scheme for arrangements for connecting or disconnecting semiconductor or solid-state bodies and methods related thereto as covered by H01L24/00
- H01L2224/73—Means for bonding being of different types provided for in two or more of groups H01L2224/10, H01L2224/18, H01L2224/26, H01L2224/34, H01L2224/42, H01L2224/50, H01L2224/63, H01L2224/71
- H01L2224/732—Location after the connecting process
- H01L2224/73251—Location after the connecting process on different surfaces
- H01L2224/73265—Layer and wire connectors
-
- H—ELECTRICITY
- H01—ELECTRIC ELEMENTS
- H01L—SEMICONDUCTOR DEVICES NOT COVERED BY CLASS H10
- H01L2924/00—Indexing scheme for arrangements or methods for connecting or disconnecting semiconductor or solid-state bodies as covered by H01L24/00
- H01L2924/10—Details of semiconductor or other solid state devices to be connected
- H01L2924/11—Device type
- H01L2924/13—Discrete devices, e.g. 3 terminal devices
- H01L2924/1301—Thyristor
-
- H—ELECTRICITY
- H01—ELECTRIC ELEMENTS
- H01L—SEMICONDUCTOR DEVICES NOT COVERED BY CLASS H10
- H01L2924/00—Indexing scheme for arrangements or methods for connecting or disconnecting semiconductor or solid-state bodies as covered by H01L24/00
- H01L2924/15—Details of package parts other than the semiconductor or other solid state devices to be connected
- H01L2924/181—Encapsulation
Landscapes
- Compositions Of Macromolecular Compounds (AREA)
- Structures Or Materials For Encapsulating Or Coating Semiconductor Devices Or Solid State Devices (AREA)
Abstract
【課題】半導体素子の各電極とリードとを接合するワイヤがマイグレーションを起こし難く、耐湿信頼性、高温保管性に優れた半導体装置を提供すること。
【解決手段】半導体素子と、該半導体素子を固定するダイパッドと、複数のリードとを封止用エポキシ樹脂組成物により封止してなり、前記半導体素子の各電極パッドと前記リードとがワイヤで接合されている半導体装置であって、
前記ワイヤが銀純度99.9重量%以上の純銀製ワイヤであり、
前記封止用エポキシ樹脂組成物が含硫黄元素化合物を含むことを特徴とする半導体装置。
【選択図】 なし
【解決手段】半導体素子と、該半導体素子を固定するダイパッドと、複数のリードとを封止用エポキシ樹脂組成物により封止してなり、前記半導体素子の各電極パッドと前記リードとがワイヤで接合されている半導体装置であって、
前記ワイヤが銀純度99.9重量%以上の純銀製ワイヤであり、
前記封止用エポキシ樹脂組成物が含硫黄元素化合物を含むことを特徴とする半導体装置。
【選択図】 なし
Description
本発明は、半導体装置及びこれに用いる封止用エポキシ樹脂組成物に関するものである。
従来からダイオード、トランジスタ、集積回路等の電子部品は、主にエポキシ樹脂組成物を用いて封止されている。特に集積回路では、エポキシ樹脂、フェノール樹脂系硬化剤、及び溶融シリカ、結晶シリカ等の無機充填材を配合した耐熱性、耐湿性に優れたエポキシ樹脂組成物が用いられている。ところが近年、電子機器の小型化、軽量化、高性能化の市場動向において、半導体素子の高集積化が年々進み、また半導体装置の表面実装化が促進されるなかで、半導体素子の封止に用いられているエポキシ樹脂組成物への要求は益々厳しいものとなってきている。更に半導体装置に対するコストダウンの要求も激しく従来の金線接続ではコストが高いため、アルミ、銀合金、銅などの金属による接合も一部採用されている。しかしながら、特に自動車用途においては、コストに加え高温保管特性、耐湿信頼性といった電気的信頼性も要求され、前記非金ワイヤではマイグレーション、腐食、電気抵抗値増大といった問題があり必ずしも満足できるものではなかった。
特に銀製ワイヤを用いた半導体装置においては、耐湿信頼性試験において銀がマイグレーションを起こし易すく信頼性にかけるといった欠点を解決するために、から外側を絶縁皮膜で被覆したり(例えば、特許文献1参照。)、他の金属と合金化したりする(例えば、特許文献2参照。)ことで改良しようとしたものもあるが、極めてコストが高くなり必ずしも満足できるものではなかった。
本発明は、半導体素子の各電極とリードとを接合するワイヤがマイグレーションを起こし難く、耐湿信頼性、高温保管性に優れた半導体装置を提供するものである。
このような目的は、下記[1]〜[10]に記載の本発明により達成される。
[1] 半導体素子と、該半導体素子を固定するダイパッドと、複数のリードとを封止用エポキシ樹脂組成物により封止してなり、前記半導体素子の各電極パッドと前記リードとがワイヤで接合されている半導体装置であって、前記ワイヤが銀純度99.9重量%以上の純銀製ワイヤであり、前記封止用エポキシ樹脂組成物が含硫黄元素化合物を含むことを特徴とする半導体装置。
[2] 前記含硫黄元素化合物がメルカプト基を有する化合物、及び/又は、温度60℃、相対湿度60%以上の高温高湿下でメルカプト基を有する化合物を生成する化合物であることを特徴とする第[1]項記載の半導体装置。
[3] 前記含硫黄元素化合物が含硫黄元素シランカップリング剤であることを特徴とする第[1]項記載の半導体装置。
[4] 前記含硫黄元素化合物が下記一般式(1)で表される化合物であることを特徴とする第[1]項記載の半導体装置。
[1] 半導体素子と、該半導体素子を固定するダイパッドと、複数のリードとを封止用エポキシ樹脂組成物により封止してなり、前記半導体素子の各電極パッドと前記リードとがワイヤで接合されている半導体装置であって、前記ワイヤが銀純度99.9重量%以上の純銀製ワイヤであり、前記封止用エポキシ樹脂組成物が含硫黄元素化合物を含むことを特徴とする半導体装置。
[2] 前記含硫黄元素化合物がメルカプト基を有する化合物、及び/又は、温度60℃、相対湿度60%以上の高温高湿下でメルカプト基を有する化合物を生成する化合物であることを特徴とする第[1]項記載の半導体装置。
[3] 前記含硫黄元素化合物が含硫黄元素シランカップリング剤であることを特徴とする第[1]項記載の半導体装置。
[4] 前記含硫黄元素化合物が下記一般式(1)で表される化合物であることを特徴とする第[1]項記載の半導体装置。
[5] 前記封止用エポキシ樹脂組成物が臭素化合物及び酸化アンチモンを含まないことを特徴とする第[1]項ないし第[4]項のいずれかに記載の半導体装置。
[6] 半導体素子と、該半導体素子を固定するダイパッドと、複数のリードとを封止用エポキシ樹脂組成物により封止してなり、前記半導体素子の各電極パッドと前記リードとが純銀製ワイヤで接合されている半導体装置に用いる封止用エポキシ樹脂組成物であって、前記封止用エポキシ樹脂組成物が含硫黄元素化合物を含むことを特徴とする封止用エポキシ樹脂組成物。
[7] 前記含硫黄元素化合物がメルカプト基を有する化合物、及び/又は、温度60℃、相対湿度60%以上の高温高湿下でメルカプト基を有する化合物を生成する化合物であることを特徴とする第[6]項記載の封止用エポキシ樹脂組成物。
[8] 前記含硫黄元素化合物が含硫黄元素シランカップリング剤であることを特徴とする第[6]項記載の封止用エポキシ樹脂組成物。
[9] 前記含硫黄元素化合物が下記一般式(1)で表される化合物であることを特徴とする第[6]項記載の封止用エポキシ樹脂組成物。
[6] 半導体素子と、該半導体素子を固定するダイパッドと、複数のリードとを封止用エポキシ樹脂組成物により封止してなり、前記半導体素子の各電極パッドと前記リードとが純銀製ワイヤで接合されている半導体装置に用いる封止用エポキシ樹脂組成物であって、前記封止用エポキシ樹脂組成物が含硫黄元素化合物を含むことを特徴とする封止用エポキシ樹脂組成物。
[7] 前記含硫黄元素化合物がメルカプト基を有する化合物、及び/又は、温度60℃、相対湿度60%以上の高温高湿下でメルカプト基を有する化合物を生成する化合物であることを特徴とする第[6]項記載の封止用エポキシ樹脂組成物。
[8] 前記含硫黄元素化合物が含硫黄元素シランカップリング剤であることを特徴とする第[6]項記載の封止用エポキシ樹脂組成物。
[9] 前記含硫黄元素化合物が下記一般式(1)で表される化合物であることを特徴とする第[6]項記載の封止用エポキシ樹脂組成物。
[10] 前記封止用エポキシ樹脂組成物が臭素化合物及び酸化アンチモンを含まないことを特徴とする第[6]項ないし第[9]項のいずれかに記載の封止用エポキシ樹脂組成物。
本発明に従うと、半導体素子の各電極とリードとを接合するワイヤがマイグレーションを起こし難く、耐湿信頼性、高温保管性に優れた半導体装置を得ることができる。
半導体素子と、該半導体素子を固定するパッドと、複数のリードとを封止用エポキシ樹脂組成物により封止してなり、前記半導体素子の各電極と前記リードとがワイヤで接合されている半導体装置であって、前記ワイヤが銀純度99.9重量%以上の純銀製ワイヤであり、前記封止用エポキシ樹脂組成物が含硫黄元素化合物を含むことにより、半導体素子の各電極とリードとを接合するワイヤがマイグレーションを起こし難く、耐湿信頼性、高温保管性に優れた半導体装置を得ることができるものである。
以下、各成分について詳細に説明する。
以下、各成分について詳細に説明する。
本発明に用いられる純銀製ワイヤは、銀純度99.9重量%以上のものである。一般に純銀に対して各種元素(ドーパント)を添加することでマイグレーション自体は改善することが出来るが、0.1重量%以上の大量のドーパントを添加すると、ワイヤが硬くなることで接合時にパッド側にダメージを与え、接合不足起因の耐湿信頼性の低下、高温保管特性の低下、電気抵抗値の増大といった不具合を生じる。また、コストが上昇するという点でも不利な面がある。これに対し、銀純度99.9重量%以上の純銀製ワイヤであれば、ワイヤは充分な柔軟性を有しているため、接合時にパッド側にダメージを与えることがなく、接合不足起因の耐湿信頼性の低下、高温保管特性の低下、電気抵抗値の増大といった不具合が発生する恐れがない。本発明は、含硫黄元素化合物を含む封止用樹脂組成物を用いることで、マイグレーションをも起こし難くすることができるため、耐湿信頼性、高温保管性に優れた半導体装置を得ることができるものである。
以下、本発明の封止用エポキシ樹脂組成物について説明する。
本発明の封止用エポキシ樹脂組成物は含硫黄元素化合物を含むものである。含硫黄元素化合物としては、特に限定するものではないが、メルカプト基を有する化合物、又は温度60℃、相対湿度60%以上の高温高湿下でメルカプト基を有する化合物を生成する化合物が好ましく、含硫黄元素シランカップリング剤、下記一般式(1)で表される化合物がより好ましい。これら硫黄元素を含有する化合物を樹脂組成物中に添加することで、銀がマイグレーションする際に、銀イオンをAg2Sの不導体に変換しマイグレーションを抑えることが可能となるものである。
本発明の封止用エポキシ樹脂組成物は含硫黄元素化合物を含むものである。含硫黄元素化合物としては、特に限定するものではないが、メルカプト基を有する化合物、又は温度60℃、相対湿度60%以上の高温高湿下でメルカプト基を有する化合物を生成する化合物が好ましく、含硫黄元素シランカップリング剤、下記一般式(1)で表される化合物がより好ましい。これら硫黄元素を含有する化合物を樹脂組成物中に添加することで、銀がマイグレーションする際に、銀イオンをAg2Sの不導体に変換しマイグレーションを抑えることが可能となるものである。
本発明の封止用エポキシ樹脂組成物で用いられる含硫黄元素シランカップリング剤は、特に構造に制限はないが、例えば、γ−メルカプトプロピルトリメトキシシラン、γ−メルカプトプロピルトリエトキシシラン、ビス(3−トリエトキシシリルプロピル)テトラスルファン、ビス(3−トリエトキシシリルプロピル)ジスルファン等があげられる。含硫黄元素シランカップリング剤の配合割合に関しては特に制限はないが、好ましくは樹脂組成物中に0.05重量%以上0.5重量%以下、更に好ましくは0.1重量%以上0.3重量%以下の範囲である。上記下限値を下回わらない範囲であれば、十分なマイグレーション抑止効果が発揮される。また、上記上限値を超えない範囲であれば、揮発分増大による成形品ボイドの発生を抑えることができる。
また、本発明の封止用エポキシ樹脂組成物で用いられる一般式(1)で表される化合物は、特に構造に制限はないが、例えば、3−アミノ−1,2,4−トリアゾール−5−チオール、3,5−ジメルカプト−1,2,4−トリアゾール、5−メルカプト−1,2,4−トリアゾール−3−メタノール、2−(4'−モルホリノジチオ)ベンゾチアゾールなどが挙げられる。一般式(1)式で表される化合物の配合割合としては特に限定するものではないが、樹脂組成物全体に対して、0.01重量%以上0.5重量%以下であることが好ましい。上記下限値を下回わらない範囲であれば、十分なマイグレーション抑止効果が発揮される。また、上記上限値を超えない範囲であれば、樹脂組成物の粘度上昇による充填性の低下を抑えることができる。
本発明の封止用エポキシ樹脂組成物には、含硫黄元素化合物の他、エポキシ樹脂、硬化剤、硬化促進剤、無機充填材を用いることができる。
本発明の封止用エポキシ樹脂組成物に用いることができるエポキシ樹脂は、1分子内にエポキシ基を2個以上有するモノマー、オリゴマー、ポリマー全般であり、その分子量、分子構造を特に限定するものではないが、例えば、フェノールノボラック型エポキシ樹脂、オルソクレゾールノボラック型エポキシ樹脂、ジシクロペンタジエン変性エポキシ樹脂、ナフトールノボラック型エポキシ樹脂、フェニレン骨格を有するフェノールアラルキル型エポキシ樹脂、ビフェニレン骨格を有するフェノールアラルキル型エポキシ樹脂、フェニレン骨格を有するナフトールアラルキル型エポキシ樹脂、ビフェニレン骨格を有するナフトールアラルキル型エポキシ樹脂、スチルベン型エポキシ樹脂、トリフェノールメタン型エポキシ樹脂、アルキル変性トリフェノールメタン型エポキシ樹脂、トリアジン核含有エポキシ樹脂等が挙げられ、これらは1種類を単独で用いても2種類以上を併用してもよい。エポキシ樹脂全体の配合割合としては特に限定されないが、樹脂組成物全体に対して、3重量%以上15重量%以下であることが好ましく、5重量%以上13重量%以下であることがより好ましい。エポキシ樹脂全体の配合割合が上記範囲内であると、耐半田性の低下、流動性の低下等を引き起こす恐れが少ない。
本発明の封止用エポキシ樹脂組成物に用いることができるエポキシ樹脂は、1分子内にエポキシ基を2個以上有するモノマー、オリゴマー、ポリマー全般であり、その分子量、分子構造を特に限定するものではないが、例えば、フェノールノボラック型エポキシ樹脂、オルソクレゾールノボラック型エポキシ樹脂、ジシクロペンタジエン変性エポキシ樹脂、ナフトールノボラック型エポキシ樹脂、フェニレン骨格を有するフェノールアラルキル型エポキシ樹脂、ビフェニレン骨格を有するフェノールアラルキル型エポキシ樹脂、フェニレン骨格を有するナフトールアラルキル型エポキシ樹脂、ビフェニレン骨格を有するナフトールアラルキル型エポキシ樹脂、スチルベン型エポキシ樹脂、トリフェノールメタン型エポキシ樹脂、アルキル変性トリフェノールメタン型エポキシ樹脂、トリアジン核含有エポキシ樹脂等が挙げられ、これらは1種類を単独で用いても2種類以上を併用してもよい。エポキシ樹脂全体の配合割合としては特に限定されないが、樹脂組成物全体に対して、3重量%以上15重量%以下であることが好ましく、5重量%以上13重量%以下であることがより好ましい。エポキシ樹脂全体の配合割合が上記範囲内であると、耐半田性の低下、流動性の低下等を引き起こす恐れが少ない。
本発明の封止用エポキシ樹脂組成物に用いることができる硬化剤は、エポキシ樹脂と反応して硬化させるものであれば特に限定されず、それらの具体例としてはフェノール樹脂系硬化剤、ビスフェノールAなどのビスフェノール化合物、無水マレイン酸、無水フタル酸、無水ピロメリット酸などの酸無水物およびメタフェニレンジアミン、ジアミノジフェニルメタン、ジアミノジフェニルスルホンなどの芳香族アミンなどが挙げられこれらを単独で用いても、2種以上の硬化剤を併用しても良い。
これらの硬化剤の中でも特にフェノール樹脂系硬化剤を用いることが好ましい。フェノール樹脂系硬化剤は、1分子内にフェノール性水酸基を2個以上有するモノマー、オリゴマー、ポリマー全般を言い、その分子量、分子構造を特に限定するものではないが、例えばフェノールノボラック樹脂、クレゾールノボラック樹脂、ナフトールアラルキル樹脂、トリフェノールメタン樹脂、テルペン変性フェノール樹脂、ジシクロペンタジエン変性フェノール樹脂、フェノールアラルキル樹脂、フェニレン骨格を有するフェノールアラルキル樹脂、ナフタレン骨格を持つもの等が挙げられ、これらは1種類を単独で用いても2種類以上を併用してもよい。フェノール樹脂系硬化剤全体の配合割合としては特に限定されないが、樹脂組成物全体に対して、2重量%以上8重量%以下であることが好ましく、2.5重量%以上7重量%以下であることがより好ましい。フェノール樹脂系硬化剤の配合割合が上記範囲内であると、耐半田性の低下、流動性の低下等を引き起こす恐れが少ない。
また、全エポキシ樹脂のエポキシ基数(Ep)と全フェノール樹脂系硬化剤のフェノール性水酸基数(Ph)との当量比(Ep/Ph)としては、0.5〜2が好ましく、0.7〜1.5がより好ましい。上記範囲内であれば、耐湿性、硬化性などの低下を抑えることができる。
本発明の封止用エポキシ樹脂組成物に用いることができる硬化促進剤は、エポキシ樹脂のエポキシ基と硬化剤(たとえば、フェノール樹脂系硬化剤のフェノール性水酸基)との架橋反応を促進させるものであればよく、一般に封止材料に使用するものを用いることができる。例えば、1、8−ジアザビシクロ(5、4、0)ウンデセン−7等のジアザビシクロアルケン及びその誘導体;トリフェニルホスフィン、メチルジフェニルホスフィン等の有機ホスフィン類;2−メチルイミダゾール等のイミダゾール化合物;テトラフェニルホスホニウム・テトラフェニルボレート等のテトラ置換ホスホニウム・テトラ置換ボレート;ホスフィン化合物とキノン化合物との付加物等が挙げられ、これらは1種類を単独で用いても2種以上を併用しても差し支えない。硬化促進剤の配合割合としては特に限定されないが、樹脂組成物全体に対して、0.05重量%以上1重量%以下であることが好ましく、0.1重量%以上0.5重量%以下であることがより好ましい。硬化促進剤の配合割合が上記範囲内であると、硬化性の低下や流動性の低下を引き起こす恐れが少ない。
硬化促進剤のうちでは、流動性の観点で、ホスフィン化合物とキノン化合物との付加物がより好ましい。ホスフィン化合物とキノン化合物との付加物に用いられるホスフィン化合物としては、例えば、トリフェニルホスフィン、トリ−p−トリルホスフィン、ジフェニルシクロヘキシルホスフィン、トリシクロヘキシルホスフィン、トリブチルホスフィンなどが挙げられる。また、ホスフィン化合物とキノン化合物との付加物に用いられるキノン化合物としては、例えば、1,4−ベンゾキノン、メチル−1,4−ベンゾキノン、メトキシ−1,4−ベンゾキノン、フェニル−1,4−ベンゾキノン、1,4−ナフトキノンなどが挙げられる。これらホスフィン化合物とキノン化合物との付加物のうち、トリフェニルホスフィンと1,4−ベンゾキノンとの付加物が好ましい。ホスフィン化合物とキノン化合物との付加物の製造方法としては特に制限はないが、例えば、原料として用いられるホスフィン化合物とキノン化合物とを両者が溶解する有機溶媒中で付加反応させて単離すればよい。
本発明の封止用エポキシ樹脂組成物に用いることができる無機充填材の種類については特に制限はなく、一般に封止材料に用いられているものを使用することができる。例えば溶融シリカ、結晶シリカ、2次凝集シリカ、アルミナ、チタンホワイト、水酸化アルミニウム、タルク、クレー、ガラス繊維等が挙げられ、これらは1種類を単独で用いても2種類以上を併用してもよい。特に溶融シリカが好ましい。溶融シリカは、破砕状、球状のいずれでも使用可能であるが、含有量を高め、且つエポキシ樹脂組成物の溶融粘度の上昇を抑えるためには、球状シリカを主に用いる方がより好ましい。更に球状シリカの含有量を高めるためには、球状シリカの粒度分布をより広くとるよう調整することが好ましい。全無機充填材の含有割合は、成形性、信頼性のバランスから樹脂組成物全体に対して、84重量%以上92重量%以下であることが好ましく、更に好ましくは87重量%以上92重量%以下である。上記下限値を下回わらない範囲であれば、低吸湿性、低熱膨張性が得られるため、耐半田性が不十分となる恐れが少ない。また、上記上限値を超えない範囲であれば、流動性が低下し成形時に充填不良等が生じたり、高粘度化による半導体装置内のワイヤ流れ等の不都合が生じたりする恐れが少ない。
本発明の封止用エポキシ樹脂組成物は、更に必要に応じて、酸化ビスマス水和物等の無機イオン交換体;炭酸カルシウム、クレー、ハイドロタルサイト類といったpH緩衝材;γ−グリシドキシプロピルトリメトキシシラン等のカップリング剤;カーボンブラック、ベンガラ等の着色剤;シリコーンゴム等の低応力成分;カルナバワックス等の天然ワックス、合成ワックス、ステアリン酸亜鉛等の高級脂肪酸及びその金属塩類もしくはパラフィン等の離型剤;酸化防止剤等の各種添加剤を適宜配合してもよい。更に、必要に応じて無機充填材をエポキシ樹脂あるいはフェノール樹脂で予め処理して用いてもよく、処理の方法としては、溶媒を用いて混合した後に溶媒を除去する方法や、直接無機充填材に添加し、混合機を用いて処理する方法等がある。
本発明の封止用エポキシ樹脂組成物は、前述の各成分を、例えば、ミキサー等を用いて常温混合したもの、更にその後、ロール、ニーダー、押出機等の混練機で溶融混練し、冷却後粉砕したものなど、必要に応じて適宜分散度や流動性等を調整したものを用いることができる。
本発明の封止用エポキシ樹脂組成物を用いて、半導体素子等の電子部品を封止し、半導体装置を製造するには、トランスファーモールド、コンプレッションモールド、インジェクションモールド等の従来からの成形方法で硬化成形すればよい。
本発明の封止用エポキシ樹脂組成物を用いて、半導体素子等の電子部品を封止し、半導体装置を製造するには、トランスファーモールド、コンプレッションモールド、インジェクションモールド等の従来からの成形方法で硬化成形すればよい。
本発明で封止を行う半導体素子としては、特に限定されるものではなく、例えば、集積回路、大規模集積回路、トランジスタ、サイリスタ、ダイオード、固体撮像素子等が挙げられる。
本発明の半導体装置の形態としては、特に限定されないが、例えば、デュアル・インライン・パッケージ(DIP)、プラスチック・リード付きチップ・キャリヤ(PLCC)、クワッド・フラット・パッケージ(QFP)、スモール・アウトライン・パッケージ(SOP)、スモール・アウトライン・Jリード・パッケージ(SOJ)、薄型スモール・アウトライン・パッケージ(TSOP)、薄型クワッド・フラット・パッケージ(TQFP)、テープ・キャリア・パッケージ(TCP)、ボール・グリッド・アレイ(BGA)、チップ・サイズ・パッケージ(CSP)等が挙げられる。
上記トランスファーモールドなどの成形方法で封止された半導体装置は、そのまま、或いは80℃〜200℃程度の温度で、10分〜10時間程度の時間をかけて完全硬化させた後、電子機器等に搭載される。
本発明の半導体装置の形態としては、特に限定されないが、例えば、デュアル・インライン・パッケージ(DIP)、プラスチック・リード付きチップ・キャリヤ(PLCC)、クワッド・フラット・パッケージ(QFP)、スモール・アウトライン・パッケージ(SOP)、スモール・アウトライン・Jリード・パッケージ(SOJ)、薄型スモール・アウトライン・パッケージ(TSOP)、薄型クワッド・フラット・パッケージ(TQFP)、テープ・キャリア・パッケージ(TCP)、ボール・グリッド・アレイ(BGA)、チップ・サイズ・パッケージ(CSP)等が挙げられる。
上記トランスファーモールドなどの成形方法で封止された半導体装置は、そのまま、或いは80℃〜200℃程度の温度で、10分〜10時間程度の時間をかけて完全硬化させた後、電子機器等に搭載される。
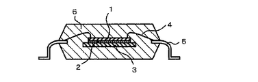
図1は、本発明に係る半導体装置の一例について、断面構造を示した図である。ダイパッド3上に、ダイボンド材硬化体2を介して半導体素子1が固定されている。半導体素子1の電極パッドとリード5との間は純銀製ワイヤ4によって接続されている。半導体素子1は、封止用樹脂組成物の硬化体6によって封止されている。
以下に本発明の実施例を示すが、本発明はこれらに限定されるものではない。配合割合は重量部とする。
実施例1
(ボンディングワイヤ)
純銀製ワイヤ(4N):純度99.99%、線径25μm
実施例1
(ボンディングワイヤ)
純銀製ワイヤ(4N):純度99.99%、線径25μm
フェノール樹脂系硬化剤2:フェノールビフェニルアラルキル型樹脂(明和化成(株)製、MEH−7851SS。水酸基当量203、軟化点67℃。) 6.04重量部
硬化促進剤1:トリフェニルホスフィン 0.35重量部
溶融球状シリカ(平均粒径22μm) 86.00重量部
シランカップリング剤:γ−グリシドキシプロピルトリメトキシシラン
0.20重量部
カーボンブラック 0.20重量部
グリセリントリモンタン酸エステル(クラリアントジャパン(株)製、リコルブWE4。滴点82℃、酸価25mgKOH/g、平均粒径45μm、粒径106μm以上の粒子0.0重量%。) 0.20重量部
をミキサーを用いて混合した後、表面温度が95℃と25℃の2本ロールを用いて混練し、冷却後粉砕してエポキシ樹脂組成物を得た。得られたエポキシ樹脂組成物の特性を以下の方法で評価した。結果を表1に示す。
硬化促進剤1:トリフェニルホスフィン 0.35重量部
溶融球状シリカ(平均粒径22μm) 86.00重量部
シランカップリング剤:γ−グリシドキシプロピルトリメトキシシラン
0.20重量部
カーボンブラック 0.20重量部
グリセリントリモンタン酸エステル(クラリアントジャパン(株)製、リコルブWE4。滴点82℃、酸価25mgKOH/g、平均粒径45μm、粒径106μm以上の粒子0.0重量%。) 0.20重量部
をミキサーを用いて混合した後、表面温度が95℃と25℃の2本ロールを用いて混練し、冷却後粉砕してエポキシ樹脂組成物を得た。得られたエポキシ樹脂組成物の特性を以下の方法で評価した。結果を表1に示す。
評価方法
スパイラルフロー:低圧トランスファー成形機(コータキ精機株式会社製、KTS−15)を用いて、EMMI−1−66に準じたスパイラルフロー測定用の金型に、金型温度175℃、注入圧力6.9MPa、硬化時間120秒の条件でエポキシ樹脂組成物を注入し、流動長を測定した。単位はcm。80cm以下であるとパッケージ未充填などの成形不良が生じる場合がある。
スパイラルフロー:低圧トランスファー成形機(コータキ精機株式会社製、KTS−15)を用いて、EMMI−1−66に準じたスパイラルフロー測定用の金型に、金型温度175℃、注入圧力6.9MPa、硬化時間120秒の条件でエポキシ樹脂組成物を注入し、流動長を測定した。単位はcm。80cm以下であるとパッケージ未充填などの成形不良が生じる場合がある。
耐マイグレーション性:アルミニウム電極パッドを形成したTEG(TEST ELMENT GROUP)チップ試験(3.5mm×3.5mm)をリードフレーム(42アロイ製)のダイパッド部に接着し、TEGチップのアルミニウム電極パッドとリードフレームの各リードとをワイヤボンディングした。これを、低圧トランスファー成形機(コータキ精機株式会社製、KTS−125)を用いて、金型温度175℃、圧力9.8MPa、硬化時間2分の条件でエポキシ樹脂組成物により封止成形して、16ピンSOP(small out−line package)を作製した。作製したパッケージを、175℃、8時間で後硬化した後、導通していない隣同士の端子間に85℃/85%RH中で20Vの直流バイアス電圧を500Hr掛けて、端子間の抵抗値変化をみた。n=5で試験を行い、初期値の1/10に抵抗値が低下したものをマイグレーション発生と判定した。不良時間はn=5ヶの平均値。全てのパッケージで500時間まで初期値の1/10までの抵抗値低下がなかったものは500<とした。
高温保管特性:アルミニウム電極パッドを形成したTEGチップ(3.5mm×3.5mm)をリードフレーム(42アロイ製)のダイパッド部に接着し、TEGチップのアルミニウム電極パッドとリードフレームの各リードとをデージーチェーンになるようにワイヤボンディングした。これを、低圧トランスファー成形機(コータキ精機株式会社製、KTS−125)用いて、金型温度175℃、圧力9.8MPa、硬化時間2分の条件でエポキシ樹脂組成物により封止成形して、16ピンSOP(small out−line package)を作製した。作製したパッケージを、175℃、8時間で後硬化した後、高温保管試験(185℃)を行った。配線間の電気抵抗値が初期値に対し20%増加したパッケージを不良と判定し、不良になるまでの時間を測定した。不良時間はn=5ヶの平均値。単位は時間。全てのパッケージで500Hrまで不良発生のなかったものは500<とした。
耐湿信頼性:アルミニウム回路を形成したTEGチップ(3.5mm×3.5mm、アルミニウム回路は保護膜なしの剥き出し)をリードフレーム(42アロイ製)のダイパッド部に接着し、アルミニウムパッドとリードフレームの各リードとをワイヤボンディングした。これを、低圧トランスファー成形機(コータキ精機株式会社製、KTS−125)を用いて、金型温度175℃、圧力9.8MPa、硬化時間2分の条件でエポキシ樹脂組成物により封止成形して、16ピンSOP(small out−line package)を作製した。作製したパッケージを、175℃、8時間で後硬化した後、IEC68−2−66に準拠しHAST(Highly Accelerated temperature and humidity Stress Test)試験を行った。試験条件は130℃85%RH20V印加で回路のオープン不良有無を測定した。1パッケージあたり4端子を持ち1端子でも回路がオープンしたら不良とした。不良時間はn=5パッケージの平均値。単位は時間。全てのパッケージで500Hrまで不良発生のなかったものは500<とした。
実施例2〜12、比較例1〜6
表1、2、3の配合に従い、実施例1と同様にしてエポキシ樹脂組成物を得て、実施例1と同様にして評価した。結果を表1、2、3に示す。
実施例1以外で用いたボンディングワイヤ及び封止用エポキシ樹脂組成物の原材料を以下に示す。
(ボンディングワイヤ)
銀製ワイヤ(3N):純度99.9%、銅0.1%ドーピング品、線径25μm
表1、2、3の配合に従い、実施例1と同様にしてエポキシ樹脂組成物を得て、実施例1と同様にして評価した。結果を表1、2、3に示す。
実施例1以外で用いたボンディングワイヤ及び封止用エポキシ樹脂組成物の原材料を以下に示す。
(ボンディングワイヤ)
銀製ワイヤ(3N):純度99.9%、銅0.1%ドーピング品、線径25μm
(封止用エポキシ樹脂組成物の原材料)
含硫黄元素シランカップリング剤1:γ−メルカプトプロピルトリメトキシシラン(信越化学(株)製、KBM−803P。)
含硫黄元素シランカップリング剤2:ビス(3−トリエトキシシリルプロピル)テトラスルファン((株)ジーイー東芝シリコーン(株)製、A1289。)
トリアゾール系化合物2:下記式(4)で示される3,5−ジメルカプト−1,2,4−トリアゾール(試薬)
含硫黄元素シランカップリング剤1:γ−メルカプトプロピルトリメトキシシラン(信越化学(株)製、KBM−803P。)
含硫黄元素シランカップリング剤2:ビス(3−トリエトキシシリルプロピル)テトラスルファン((株)ジーイー東芝シリコーン(株)製、A1289。)
トリアゾール系化合物2:下記式(4)で示される3,5−ジメルカプト−1,2,4−トリアゾール(試薬)
エポキシ樹脂2:ビフェニレン骨格を有するフェノールアラルキル型エポキシ樹脂(日本化薬(株)製、NC3000P。軟化点58℃、エポキシ当量273)
エポキシ樹脂3:ビフェニル型エポキシ樹脂(ジャパン・エポキシ・レジン(株)製、YX−4000K。エポキシ当量195、融点105℃)
エポキシ樹脂4:ビフェニル型エポキシ樹脂(東都化成(株)、エポトートYSLV−80XY。エポキシ当量190、融点80℃以下)
エポキシ樹脂5:ジシクロペンタジエン変性フェノール樹脂(大日本インキ工業(株)製、HP7200L。エポキシ当量244、融点53℃)
エポキシ樹脂6:オルソクレゾールノボラック型エポキシ樹脂(日本化薬(株)製、EOCN−1020 62。エポキシ当量200、軟化点62℃。)
エポキシ樹脂7:臭素化エポキシ樹脂(日本化薬(株)製、BREN−S。エポキシ当量285、軟化点83℃)
フェノール樹脂系硬化剤1:フェノールベンズアルデヒド重縮合樹脂(明和化成(株)製、MEH−7500。水酸基当量97、軟化点107℃。)
フェノール樹脂系硬化剤3:パラキシレン変性ノボラック型フェノール樹脂(三井化学(株)製、XLC−4L。水酸基当量168、軟化点62℃。)
フェノール樹脂系硬化剤4:フェノールノボラック樹脂(住友ベークライト(株)製、PR−HF−3。軟化点80℃、水酸基当量105。)
硬化促進剤2:トリフェニルホスフィンと1,4−ベンゾキノンとの付加物
三酸化アンチモン
エポキシ樹脂3:ビフェニル型エポキシ樹脂(ジャパン・エポキシ・レジン(株)製、YX−4000K。エポキシ当量195、融点105℃)
エポキシ樹脂4:ビフェニル型エポキシ樹脂(東都化成(株)、エポトートYSLV−80XY。エポキシ当量190、融点80℃以下)
エポキシ樹脂5:ジシクロペンタジエン変性フェノール樹脂(大日本インキ工業(株)製、HP7200L。エポキシ当量244、融点53℃)
エポキシ樹脂6:オルソクレゾールノボラック型エポキシ樹脂(日本化薬(株)製、EOCN−1020 62。エポキシ当量200、軟化点62℃。)
エポキシ樹脂7:臭素化エポキシ樹脂(日本化薬(株)製、BREN−S。エポキシ当量285、軟化点83℃)
フェノール樹脂系硬化剤1:フェノールベンズアルデヒド重縮合樹脂(明和化成(株)製、MEH−7500。水酸基当量97、軟化点107℃。)
フェノール樹脂系硬化剤3:パラキシレン変性ノボラック型フェノール樹脂(三井化学(株)製、XLC−4L。水酸基当量168、軟化点62℃。)
フェノール樹脂系硬化剤4:フェノールノボラック樹脂(住友ベークライト(株)製、PR−HF−3。軟化点80℃、水酸基当量105。)
硬化促進剤2:トリフェニルホスフィンと1,4−ベンゾキノンとの付加物
三酸化アンチモン
実施例1〜12は、電極パッドとリードとを接合するワイヤとして銀純度99.99重量%の純銀製ワイヤ(4N)を用い、かつ封止用エポキシ樹脂組成物が含硫黄元素化合物を含むものであり、含硫黄元素化合物の種類と配合割合、エポキシ樹脂とフェノール樹脂系硬化剤の組合せと配合割合、硬化促進剤の種類、無機充填材の配合割合を変えたものを含むものであるが、いずれも、良好な耐マイグレーション性、高温保管特性、耐湿信頼性が得られた。
一方、含硫黄元素化合物を用いていない比較例1〜3では、耐マイグレーション性が劣る結果となった。また、それに加えて臭素化エポキシ樹脂又は酸化アンチモンを用いた比較例2、3では、高温保管特性、耐湿信頼性も劣る結果となった。
また、電極パッドとリードとを接合するワイヤとして銀純度99.9重量%の銀製ワイヤ(3N)を用いた比較例4〜6では、高温保管特性が劣る結果となった。
一方、含硫黄元素化合物を用いていない比較例1〜3では、耐マイグレーション性が劣る結果となった。また、それに加えて臭素化エポキシ樹脂又は酸化アンチモンを用いた比較例2、3では、高温保管特性、耐湿信頼性も劣る結果となった。
また、電極パッドとリードとを接合するワイヤとして銀純度99.9重量%の銀製ワイヤ(3N)を用いた比較例4〜6では、高温保管特性が劣る結果となった。
本発明により得られる半導体装置は、半導体素子の各電極とリードとを接合するワイヤがマイグレーションを起こし難く、耐湿信頼性、高温保管性に優れたものであるため、工業的な樹脂封止型半導体装置、特に表面実装用の樹脂封止型半導体装置の製造に好適に用いることができる。
1 半導体素子
2 ダイボンド材硬化体
3 ダイパッド
4 ワイヤ
5 リード
6 封止用樹脂組成物の硬化体
2 ダイボンド材硬化体
3 ダイパッド
4 ワイヤ
5 リード
6 封止用樹脂組成物の硬化体
Claims (10)
- 半導体素子と、該半導体素子を固定するダイパッドと、複数のリードとを封止用エポキシ樹脂組成物により封止してなり、前記半導体素子の各電極パッドと前記リードとがワイヤで接合されている半導体装置であって、
前記ワイヤが銀純度99.9重量%以上の純銀製ワイヤであり、
前記封止用エポキシ樹脂組成物が含硫黄元素化合物を含むことを特徴とする半導体装置。 - 前記含硫黄元素化合物がメルカプト基を有する化合物、及び/又は、温度60℃、相対湿度60%以上の高温高湿下でメルカプト基を有する化合物を生成する化合物であることを特徴とする請求項1記載の半導体装置。
- 前記含硫黄元素化合物が含硫黄元素シランカップリング剤であることを特徴とする請求項1記載の半導体装置。
- 前記封止用エポキシ樹脂組成物が臭素化合物及び酸化アンチモンを含まないことを特徴とする請求項1ないし請求項4のいずれかに記載の半導体装置。
- 半導体素子と、該半導体素子を固定するダイパッドと、複数のリードとを封止用エポキシ樹脂組成物により封止してなり、前記半導体素子の各電極パッドと前記リードとが純銀製ワイヤで接合されている半導体装置に用いる封止用エポキシ樹脂組成物であって、
前記封止用エポキシ樹脂組成物が含硫黄元素化合物を含むことを特徴とする封止用エポキシ樹脂組成物。 - 前記含硫黄元素化合物がメルカプト基を有する化合物、及び/又は、温度60℃、相対湿度60%以上の高温高湿下でメルカプト基を有する化合物を生成する化合物であることを特徴とする請求項6記載の封止用エポキシ樹脂組成物。
- 前記含硫黄元素化合物が含硫黄元素シランカップリング剤であることを特徴とする請求項6記載の封止用エポキシ樹脂組成物。
- 前記封止用エポキシ樹脂組成物が臭素化合物及び酸化アンチモンを含まないことを特徴とする請求項6ないし請求項9のいずれかに記載の封止用エポキシ樹脂組成物。
Priority Applications (1)
| Application Number | Priority Date | Filing Date | Title |
|---|---|---|---|
| JP2006350682A JP2008166314A (ja) | 2006-12-26 | 2006-12-26 | 半導体装置及び封止用エポキシ樹脂組成物 |
Applications Claiming Priority (1)
| Application Number | Priority Date | Filing Date | Title |
|---|---|---|---|
| JP2006350682A JP2008166314A (ja) | 2006-12-26 | 2006-12-26 | 半導体装置及び封止用エポキシ樹脂組成物 |
Publications (1)
| Publication Number | Publication Date |
|---|---|
| JP2008166314A true JP2008166314A (ja) | 2008-07-17 |
Family
ID=39695451
Family Applications (1)
| Application Number | Title | Priority Date | Filing Date |
|---|---|---|---|
| JP2006350682A Pending JP2008166314A (ja) | 2006-12-26 | 2006-12-26 | 半導体装置及び封止用エポキシ樹脂組成物 |
Country Status (1)
| Country | Link |
|---|---|
| JP (1) | JP2008166314A (ja) |
Cited By (6)
| Publication number | Priority date | Publication date | Assignee | Title |
|---|---|---|---|---|
| JP2010114408A (ja) * | 2008-10-10 | 2010-05-20 | Sumitomo Bakelite Co Ltd | 半導体装置 |
| JPWO2010041651A1 (ja) * | 2008-10-10 | 2012-03-08 | 住友ベークライト株式会社 | 半導体装置 |
| WO2015146764A1 (ja) * | 2014-03-24 | 2015-10-01 | 住友ベークライト株式会社 | 封止用樹脂組成物、および半導体装置 |
| KR20170003413A (ko) * | 2015-06-30 | 2017-01-09 | 린텍 가부시키가이샤 | 점착성 조성물, 점착 시트 및 표시체 |
| KR20170003409A (ko) * | 2015-06-30 | 2017-01-09 | 린텍 가부시키가이샤 | 마이그레이션 방지제, 점착제 및 점착 시트 |
| JPWO2014203777A1 (ja) * | 2013-06-20 | 2017-02-23 | 住友ベークライト株式会社 | 半導体装置 |
Citations (3)
| Publication number | Priority date | Publication date | Assignee | Title |
|---|---|---|---|---|
| JPH09275120A (ja) * | 1996-04-04 | 1997-10-21 | Nippon Steel Corp | 半導体装置 |
| JP2005281584A (ja) * | 2004-03-30 | 2005-10-13 | Sumitomo Bakelite Co Ltd | エポキシ樹脂組成物及び半導体装置 |
| JP2006131655A (ja) * | 2004-11-02 | 2006-05-25 | Sumitomo Bakelite Co Ltd | エポキシ樹脂組成物及び半導体装置 |
-
2006
- 2006-12-26 JP JP2006350682A patent/JP2008166314A/ja active Pending
Patent Citations (3)
| Publication number | Priority date | Publication date | Assignee | Title |
|---|---|---|---|---|
| JPH09275120A (ja) * | 1996-04-04 | 1997-10-21 | Nippon Steel Corp | 半導体装置 |
| JP2005281584A (ja) * | 2004-03-30 | 2005-10-13 | Sumitomo Bakelite Co Ltd | エポキシ樹脂組成物及び半導体装置 |
| JP2006131655A (ja) * | 2004-11-02 | 2006-05-25 | Sumitomo Bakelite Co Ltd | エポキシ樹脂組成物及び半導体装置 |
Cited By (14)
| Publication number | Priority date | Publication date | Assignee | Title |
|---|---|---|---|---|
| JPWO2010041651A1 (ja) * | 2008-10-10 | 2012-03-08 | 住友ベークライト株式会社 | 半導体装置 |
| CN103295977A (zh) * | 2008-10-10 | 2013-09-11 | 住友电木株式会社 | 半导体装置 |
| JP2010114408A (ja) * | 2008-10-10 | 2010-05-20 | Sumitomo Bakelite Co Ltd | 半導体装置 |
| JPWO2014203777A1 (ja) * | 2013-06-20 | 2017-02-23 | 住友ベークライト株式会社 | 半導体装置 |
| WO2015146764A1 (ja) * | 2014-03-24 | 2015-10-01 | 住友ベークライト株式会社 | 封止用樹脂組成物、および半導体装置 |
| JP2015183077A (ja) * | 2014-03-24 | 2015-10-22 | 住友ベークライト株式会社 | 封止用樹脂組成物、および半導体装置 |
| KR20170003413A (ko) * | 2015-06-30 | 2017-01-09 | 린텍 가부시키가이샤 | 점착성 조성물, 점착 시트 및 표시체 |
| KR20170003409A (ko) * | 2015-06-30 | 2017-01-09 | 린텍 가부시키가이샤 | 마이그레이션 방지제, 점착제 및 점착 시트 |
| CN106318284A (zh) * | 2015-06-30 | 2017-01-11 | 琳得科株式会社 | 抗迁移剂、粘着剂及粘着片 |
| JP2017014378A (ja) * | 2015-06-30 | 2017-01-19 | リンテック株式会社 | マイグレーション防止剤、粘着剤および粘着シート |
| CN106318284B (zh) * | 2015-06-30 | 2021-09-14 | 琳得科株式会社 | 抗迁移剂、粘着剂及粘着片 |
| TWI772262B (zh) * | 2015-06-30 | 2022-08-01 | 日商琳得科股份有限公司 | 黏著片 |
| KR102478197B1 (ko) | 2015-06-30 | 2022-12-15 | 린텍 가부시키가이샤 | 점착성 조성물, 점착 시트 및 표시체 |
| KR102559140B1 (ko) * | 2015-06-30 | 2023-07-24 | 린텍 가부시키가이샤 | 마이그레이션 방지제, 점착제 및 점착 시트 |
Similar Documents
| Publication | Publication Date | Title |
|---|---|---|
| JP5532258B2 (ja) | 半導体装置 | |
| JP5393207B2 (ja) | 半導体装置 | |
| CN102666724A (zh) | 半导体密封用环氧树脂组合物、其固化体及半导体装置 | |
| US20150054146A1 (en) | Semiconductor device | |
| JP5470806B2 (ja) | 半導体装置並びに封止用エポキシ樹脂組成物及びその製造方法 | |
| JPWO2011043058A1 (ja) | 半導体装置 | |
| JP6330658B2 (ja) | 半導体装置 | |
| JPWO2004074344A1 (ja) | エポキシ樹脂組成物及び半導体装置 | |
| JP2008174711A (ja) | エポキシ樹脂組成物および半導体装置 | |
| JP2013209450A (ja) | 半導体封止用エポキシ樹脂組成物 | |
| JP5141132B2 (ja) | 半導体封止用エポキシ樹脂組成物及び半導体装置 | |
| JP6094573B2 (ja) | 半導体装置 | |
| JP2008166314A (ja) | 半導体装置及び封止用エポキシ樹脂組成物 | |
| JP5526963B2 (ja) | 半導体封止用エポキシ樹脂組成物及び半導体装置 | |
| JP2005281584A (ja) | エポキシ樹脂組成物及び半導体装置 | |
| JP4930145B2 (ja) | 半導体封止用エポキシ樹脂組成物及び半導体装置 | |
| JP4645147B2 (ja) | エポキシ樹脂組成物及び半導体装置 | |
| JP2008195874A (ja) | エポキシ樹脂組成物、及び半導体装置 | |
| JP5055778B2 (ja) | エポキシ樹脂組成物、エポキシ樹脂成形材料及び半導体装置 | |
| JP2015110686A (ja) | 半導体封止用エポキシ樹脂組成物、その硬化体及び半導体装置 |
Legal Events
| Date | Code | Title | Description |
|---|---|---|---|
| A621 | Written request for application examination |
Free format text: JAPANESE INTERMEDIATE CODE: A621 Effective date: 20090430 |
|
| A977 | Report on retrieval |
Free format text: JAPANESE INTERMEDIATE CODE: A971007 Effective date: 20090813 |
|
| A131 | Notification of reasons for refusal |
Free format text: JAPANESE INTERMEDIATE CODE: A131 Effective date: 20120214 |
|
| A02 | Decision of refusal |
Free format text: JAPANESE INTERMEDIATE CODE: A02 Effective date: 20120703 |
