JP2008009835A - 操作表示装置 - Google Patents
操作表示装置 Download PDFInfo
- Publication number
- JP2008009835A JP2008009835A JP2006181163A JP2006181163A JP2008009835A JP 2008009835 A JP2008009835 A JP 2008009835A JP 2006181163 A JP2006181163 A JP 2006181163A JP 2006181163 A JP2006181163 A JP 2006181163A JP 2008009835 A JP2008009835 A JP 2008009835A
- Authority
- JP
- Japan
- Prior art keywords
- fingerprint
- finger
- fingerprint information
- unit
- display device
- Prior art date
- Legal status (The legal status is an assumption and is not a legal conclusion. Google has not performed a legal analysis and makes no representation as to the accuracy of the status listed.)
- Pending
Links
- 230000006870 function Effects 0.000 claims description 27
- 238000000034 method Methods 0.000 description 20
- 238000010586 diagram Methods 0.000 description 3
- 230000000694 effects Effects 0.000 description 3
- 238000012790 confirmation Methods 0.000 description 2
- 230000004044 response Effects 0.000 description 2
- 239000011521 glass Substances 0.000 description 1
- 239000004973 liquid crystal related substance Substances 0.000 description 1
- 239000004065 semiconductor Substances 0.000 description 1
- 238000012795 verification Methods 0.000 description 1
Images
Landscapes
- Position Input By Displaying (AREA)
- Facsimiles In General (AREA)
- Control Or Security For Electrophotography (AREA)
- Collating Specific Patterns (AREA)
Abstract
【課題】指紋の登録データを最小限に抑えつつ、セキュリティ性を確保することができる操作表示装置を提供する。
【解決手段】指をスライドさせることで指紋を読み取るスイープ型指紋センサと、指紋の情報を記憶する指紋情報記憶手段と、前記スイープ型指紋センサで読み取った指紋の情報と前記指紋情報記憶手段に記憶している指紋の情報とを比較して、合致しているかを判定する使用判定手段とを具備した操作表示装置において、前記スイープ型指紋センサで読み取った前記指紋の情報から前記指のスライド方向を認識する方向認識手段を設けた。
【選択図】図10
【解決手段】指をスライドさせることで指紋を読み取るスイープ型指紋センサと、指紋の情報を記憶する指紋情報記憶手段と、前記スイープ型指紋センサで読み取った指紋の情報と前記指紋情報記憶手段に記憶している指紋の情報とを比較して、合致しているかを判定する使用判定手段とを具備した操作表示装置において、前記スイープ型指紋センサで読み取った前記指紋の情報から前記指のスライド方向を認識する方向認識手段を設けた。
【選択図】図10
Description
本発明は、複写機やATMなどに搭載されている操作表示装置に関するものである。
従来から、複写機やATMなどにはテンキーやタッチパネルなどからなる操作表示装置が搭載されており、セキュリティ性を確保するために、指紋認証により各種操作を実行可能にするものが知られている。ここで、指紋による認証方法としては、一人の使用者が複数の指の指紋を登録し、操作表示装置の複数の機能のそれぞれについて複数の指紋のいずれかを対応させておき、各機能に対応した指紋を用いて使用者の認識を行うものがある(例えば、特許文献1参照)。
特開2003−163762号公報
ところで、一人の使用者が複数の指紋を登録すると、指紋の登録データだけでデータ量が膨大になり、メモリ容量を増大しなければならない虞がある。
そこで、本発明は、上記事情を鑑みてなされたものであり、指紋の登録データを最小限に抑えつつ、セキュリティ性を確保することができる操作表示装置を提供することを目的とする。
上記の課題を解決するために、請求項1に記載した発明は、指をスライドさせることで指紋を読み取るスイープ型指紋センサと、指紋の情報を記憶する指紋情報記憶手段と、前記スイープ型指紋センサで読み取った指紋の情報と前記指紋情報記憶手段に記憶している指紋の情報とを比較して、合致しているかを判定する使用判定手段とを具備した操作表示装置において、前記スイープ型指紋センサで読み取った前記指紋の情報から前記指のスライド方向を認識する方向認識手段を設けたことを特徴とする。
このように構成することで、一つの指紋で複数の認証パターンを作成することができる。
このように構成することで、一つの指紋で複数の認証パターンを作成することができる。
請求項2に記載した発明は、前記方向認識手段によって認識された前記指のスライド方向の一つ又は複数の組み合わせが、複数の操作機能のそれぞれに対して関連づけられていることを特徴とする。
このように構成することで、操作表示装置で実行可能な複数の機能の各機能毎に認証パターンを設定することができる。
このように構成することで、操作表示装置で実行可能な複数の機能の各機能毎に認証パターンを設定することができる。
請求項1に記載した発明によれば、一つの指紋で複数の認証パターンを作成することができるため、指紋の登録データを最小限に抑えることができ、装置内のメモリ容量を増大しなくても済むという効果がある。
請求項2に記載した発明によれば、操作表示装置で実行可能な複数の機能の各機能毎に認証パターンを設定することができるため、セキュリティ性を確保することができる効果がある。
次に、本発明の実施形態を図1〜図12に基づいて説明する。
本実施形態では、操作表示装置が複写機に搭載された場合について説明する。
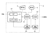
図1に示すように、複写機1は、図示しない画像記憶部、画像処理部、印刷部及び制御部などを備えた複写機本体3が下部に形成されている。複写機本体3の上部手前側に複写機1の各種操作を実行するための操作部5と、透明電極からなるタッチパネル7が表面に配置された表示部9とを備えた操作表示装置11が構成され、複写機本体3の上部で操作表示装置11以外の部分には、原稿画像を自動的に給紙するための自動原稿送り装置(ADF)13と、原稿画像を読み取るためのスキャナ部15とを備えた画像読取部17が構成されている。
本実施形態では、操作表示装置が複写機に搭載された場合について説明する。
図1に示すように、複写機1は、図示しない画像記憶部、画像処理部、印刷部及び制御部などを備えた複写機本体3が下部に形成されている。複写機本体3の上部手前側に複写機1の各種操作を実行するための操作部5と、透明電極からなるタッチパネル7が表面に配置された表示部9とを備えた操作表示装置11が構成され、複写機本体3の上部で操作表示装置11以外の部分には、原稿画像を自動的に給紙するための自動原稿送り装置(ADF)13と、原稿画像を読み取るためのスキャナ部15とを備えた画像読取部17が構成されている。
図2に示すように、操作表示装置11は、操作部5と表示部9とから構成されている。操作部5は、使用者による各種の操作指示を受け付け、当該操作指示内容を制御部31に出力する複数のボタン19で構成されたものである。ボタン19は、複写作業などを開始する指示をするスタートキー19a、複写枚数などを設定するテンキー19b、初期設定画面を起動などするファンクションキー19cなどから構成されている。また、テンキー19bと表示部9との間には、スイープ型指紋センサ21が設けられている。
スイープ型指紋センサ21は、各種操作を行う際にセキュリティ性を向上させるために指紋認証を行い、使用許諾の判定をするために設けられている。スイープ型指紋センサ21は、指紋27の一部分の画像を連続的に読み取り、それらを画像処理することで指紋27の形状を認識するセンサである。
図3に示すように、スイープ型指紋センサ21は、指23の幅よりも大きな横幅を持つ矩形の感知部25を有しており、この感知部25の上面を指23が縦方向にスライド動作する間に、指紋27の部分画像を連続的に読み取り可能に構成されている。
図4、図5に示すように、読み取られた指紋27の複数の部分画像29a〜29pは、隣接する部分画像同士の相互に指紋形状が重複する部分を重なるように画像処理し、一つの指紋27として認識することができ、その後、指紋27の特徴情報を生成することで認証するための指紋情報として確定するように構成されている。
図3に示すように、スイープ型指紋センサ21は、指23の幅よりも大きな横幅を持つ矩形の感知部25を有しており、この感知部25の上面を指23が縦方向にスライド動作する間に、指紋27の部分画像を連続的に読み取り可能に構成されている。
図4、図5に示すように、読み取られた指紋27の複数の部分画像29a〜29pは、隣接する部分画像同士の相互に指紋形状が重複する部分を重なるように画像処理し、一つの指紋27として認識することができ、その後、指紋27の特徴情報を生成することで認証するための指紋情報として確定するように構成されている。
使用者を限定する場合などには、予め使用者の指紋情報を複写機1内の指紋情報記憶部に登録しておき、使用する際にスイープ型指紋センサ21にて認証を行い、各種操作を実行可能に構成されている。また、本実施形態では、指をスライドする方向を認識することができるように構成されている。
次に、図6に示すように、操作部5は上述の通り、ボタン19による操作指示が制御部31へ出力されるように構成されている。また、表示部9はカラー又はモノクロ液晶ディスプレイ(LCD)で構成されており、制御部31から入力された表示指示に基づいて各種画像、文字、図形などで各種情報を表示するとともに、使用者が表示部9に表示された機能キーに触れることによってタッチパネル7が機能し、入力された操作指示を制御部31に出力する。
画像読取部17は、自動原稿送り装置(ADF)13とスキャナ部15とを備えている。このような画像読取部17は、制御部31による制御の下に、自動原稿送り装置13から供給された原稿がガラス面上に送られ、複写機本体3に内蔵されたスキャナ部15にて原稿の画像を順次読み取り、原稿画像の色彩を示すカラー画像データを画像記憶部33に出力する。
画像記憶部33は、ハードディスクなどの外部記憶装置或いは/及び半導体メモリから構成されており、画像読取部17から入力された原稿画像のカラー画像データを記憶する。この画像記憶部33は、制御部31による制御の下に、読み取られた原稿画像のカラー画像データの書き込みを行うと共に、当該カラー画像データを読み出して画像処理部35に出力する。
画像処理部35は、制御部31による制御の下に、画像記憶部33から入力されたカラー画像データを印刷用のデータに画像変換して印刷部37に出力する。
印刷部37は、制御部31による制御の下に、印刷紙を搬送しつつ当該印刷紙にトナーを付着させることにより、上記カラー画像データに基づいて原稿画像を印刷紙上に出力する印刷手段である。
制御部31は、操作部5或いは表示部9のタッチパネル7から入力される操作指示、内部メモリに記憶された制御プログラム及び各種制御用データなどに基づいて、複写機1の全体動作を制御するものである。即ち、制御部31は、上記操作指示、制御プログラム及び各種制御用データなどに基づいて制御演算を行うCPU(Central Processing Unit)及び他の各部(つまり操作部5、表示部9、画像読取部17、画像記憶部33、画像処理部35、及び印刷部37)とのデータ授受を行う各種入出力インタフェース回線などから構成されており、上記他の各部を統括的に制御することによって、画像読取部17が読み取った原稿画像を印刷部37より印刷することが可能となる。
また、本実施形態では、制御部31には、管理者及び使用者の指紋27の情報が指紋情報記憶手段により記憶されている図示しない指紋情報記憶部が接続され、指紋の照合を行う図示しない使用判定手段を備えている。使用判定手段は、スイープ型指紋センサ21が読み取った指紋の情報と予め指紋情報記憶部が記憶している指紋の情報とを比較、照合し、設定されている照合率の範囲内で両者が合致しているか否かを判定するように構成されている。更に、制御部31は、指23のスライド方向を認識することができる方向認識手段を備えている。
次に、作用について説明する。
複写機1は、電源がONされており、スタンバイ状態である。この状態でコピーをするときは、コピーをする原稿を自動原稿送り装置13にセットし、表示部9のタッチパネル7や操作部5のテンキー19bなどで用紙サイズ、コピー枚数、濃度、倍率などを設定し、スタートボタン19aを押すことでコピーが開始される。
複写機1は、電源がONされており、スタンバイ状態である。この状態でコピーをするときは、コピーをする原稿を自動原稿送り装置13にセットし、表示部9のタッチパネル7や操作部5のテンキー19bなどで用紙サイズ、コピー枚数、濃度、倍率などを設定し、スタートボタン19aを押すことでコピーが開始される。
コピーが開始されると、原稿は自動原稿送り装置13からスキャナ部15へと搬送され、スキャナ部15において原稿が読み取られる。読み取られた原稿の画像データは複写機本体3の内部に設けられた画像記憶部33から画像処理部35へと送られた後、印刷部37へデータが送られると、複写機本体3に内蔵されたトナーにより印刷紙へ印字され、印刷物として排出される。
ここで、使用者を限定して複写機1を運用したい場合などには、使用者の認証を行い、許可された者のみが各種操作を実行可能になるセキュリティモードがある。本実施形態では、スイープ型指紋センサ21を用いて、セキュリティモードの管理を行っている。
ここで、使用者を限定して複写機1を運用したい場合などには、使用者の認証を行い、許可された者のみが各種操作を実行可能になるセキュリティモードがある。本実施形態では、スイープ型指紋センサ21を用いて、セキュリティモードの管理を行っている。
まず、複写機1に管理者の指紋を登録する手順を説明する。
図7に示すように、ステップ1(S1)では、管理者の指紋27が全く登録されていない状態で複写機1が起動した場合、複写機1の表示部9には管理者登録用の画面を表示する。次に、ステップ2(S2)では、スイープ型指紋センサ21にて、表示された情報にしたがって管理者となる個人の指紋27の受付を行う。ステップ3(S3)では、スイープ型指紋センサ21にて指紋27を読み取った後に、表示部9に管理者としての登録をするか否かの確認を求めるメッセージを表示する。ステップ4(S4)では、表示部9に表示された登録確認を求めるメッセージに対して、「YES」か「NO」を選択し、「YES」を選択した場合は、ステップ5(S5)へ進み、「NO」を選択した場合は、ステップ1へ戻り、再度管理者登録を行うようにする。ステップ5では、受け付けた指紋27の情報を管理者識別情報に関連付けて指紋情報記憶部に記憶し(指紋情報記憶手段)、処理を終了する。
図7に示すように、ステップ1(S1)では、管理者の指紋27が全く登録されていない状態で複写機1が起動した場合、複写機1の表示部9には管理者登録用の画面を表示する。次に、ステップ2(S2)では、スイープ型指紋センサ21にて、表示された情報にしたがって管理者となる個人の指紋27の受付を行う。ステップ3(S3)では、スイープ型指紋センサ21にて指紋27を読み取った後に、表示部9に管理者としての登録をするか否かの確認を求めるメッセージを表示する。ステップ4(S4)では、表示部9に表示された登録確認を求めるメッセージに対して、「YES」か「NO」を選択し、「YES」を選択した場合は、ステップ5(S5)へ進み、「NO」を選択した場合は、ステップ1へ戻り、再度管理者登録を行うようにする。ステップ5では、受け付けた指紋27の情報を管理者識別情報に関連付けて指紋情報記憶部に記憶し(指紋情報記憶手段)、処理を終了する。
次に、使用者の指紋を登録する手順を説明する。
図8に示すように、ステップ11(S11)では、個人認識の機能に対応した指紋27をスイープ型指紋センサ21に読み取らせる。ステップ12(S12)では、スイープ型指紋センサ21で読み取った指紋27の情報と、指紋情報記憶部に記憶してある管理者の指紋27の情報とを使用判定手段にて照合し、設定されている照合率の範囲内で両者が合致しているか否かにより、管理者として認識できるか否かを判定する。管理者として合致した場合は、ステップ13(S13)へと進み、合致しなかった場合は、ステップ14(S14)へと進む。ステップ14では、表示部9に管理者機能の使用の不許可を通知するメッセージを表示し、処理を終了する。ステップ13では、管理者が実行することができる機能が表示部9に表示される。
図8に示すように、ステップ11(S11)では、個人認識の機能に対応した指紋27をスイープ型指紋センサ21に読み取らせる。ステップ12(S12)では、スイープ型指紋センサ21で読み取った指紋27の情報と、指紋情報記憶部に記憶してある管理者の指紋27の情報とを使用判定手段にて照合し、設定されている照合率の範囲内で両者が合致しているか否かにより、管理者として認識できるか否かを判定する。管理者として合致した場合は、ステップ13(S13)へと進み、合致しなかった場合は、ステップ14(S14)へと進む。ステップ14では、表示部9に管理者機能の使用の不許可を通知するメッセージを表示し、処理を終了する。ステップ13では、管理者が実行することができる機能が表示部9に表示される。
ステップ15(S15)では、使用者登録機能が選択され、使用者の指紋を受け付ける画面が表示される。ステップ16(S16)では、スイープ型指紋センサ21にて、表示された情報にしたがって使用者となる個人の指紋の受付を行う。ステップ17(S17)では、表示部9に使用者としての登録をするか否かの確認を求めるメッセージを表示する。ステップ18(S18)では、表示部9に表示された登録確認を求めるメッセージに対して、「YES」か「NO」を選択し、「YES」を選択した場合は、ステップ19(S19)へ進み、「NO」を選択した場合は、ステップ15へ戻り、再度使用者登録を行うようにする。ステップ19では、受け付けた指紋の情報を使用者識別情報に関連付けて指紋情報記憶部に記憶し(指紋情報記憶手段)、処理を終了する。
次に、使用者が各種機能を操作実行する手順を説明する。
図9に示すように、ステップ21(S21)では、個人認識の機能に対応した指紋27をスイープ型指紋センサ21に読み取らせる。ステップ22(S22)では、スイープ型指紋センサ21で読み取った指紋の情報と、指紋情報記憶部に記憶してある使用者の指紋の情報とを使用判定手段にて照合し、設定されている照合率の範囲内で両者が合致しているか否かにより、使用者として認識できるか否かを判定する。使用者として合致した場合は、ステップ23(S23)へと進み、合致しなかった場合は、ステップ24(S24)へと進む。ステップ24では、表示部9に使用者として認識されなかったため、使用不可を通知するメッセージを表示し、処理を終了する。ステップ23では、使用者が実行することができる機能が表示部9に表示される。
図9に示すように、ステップ21(S21)では、個人認識の機能に対応した指紋27をスイープ型指紋センサ21に読み取らせる。ステップ22(S22)では、スイープ型指紋センサ21で読み取った指紋の情報と、指紋情報記憶部に記憶してある使用者の指紋の情報とを使用判定手段にて照合し、設定されている照合率の範囲内で両者が合致しているか否かにより、使用者として認識できるか否かを判定する。使用者として合致した場合は、ステップ23(S23)へと進み、合致しなかった場合は、ステップ24(S24)へと進む。ステップ24では、表示部9に使用者として認識されなかったため、使用不可を通知するメッセージを表示し、処理を終了する。ステップ23では、使用者が実行することができる機能が表示部9に表示される。
このとき、図10に示すように、各機能を実行するための指のスライド方向の組み合わせを示す一覧も表示される。例えば、使用者がスライドパターン下+下(指を下から上に2回スライドさせるパターン)を行い、それが認証されると、「実行」キーが機能するようになり、スライドパターン上+下(指を上から下に1回スライドさせ、その後に下から上に1回スライドさせるパターン)を行い、それが認証されると、「枚数設定」キーが機能するようになる。このように各種機能毎に割り当てられたスライドパターンにしたがって指をスライドさせることで、各種機能の設定や実行をすることができる。
ステップ25(S25)では、実行したい機能を選択し、選択した指定機能に関連付けられた指のスライド方向の組み合わせにしたがって指をスライドさせ、その情報を受け付ける。ステップ26(S26)では、受け付けた指紋のスライドパターンと予め設定されているスライドパターンとが合致したか否かを方向認識手段により判断する。合致した場合にはステップ27(S27)へ進み、合致しなかった場合にはステップ28(S28)へ進む。ステップ28では、使用の不許可を通知するメッセージを表示する。次に、ステップ29(S29)では、ステップ28の回数、つまり指紋のスライドパターンがある規定回数以上連続して合致しなかったか否かを判断する。規定回数以上の場合には処理を終了し、規定回数より少ない回数の場合は、ステップ25へ戻り、再度操作を繰り返すことができる。
ステップ27では、選択した指定機能の操作の受付を行い、例えば、コピー枚数の設定や、FAX番号の設定などを行うことができ、ステップ30(S30)へと進む。ステップ30では、他に継続して実行したい機能があるか否かを選択し、継続したい場合にはステップ23へ戻り、継続しない場合には処理を終了する。
次に、指のスライド方向の認識方法(方向認識手段)について説明する。
図11(A)、(B)、図12に示すように、指23をスイープ型指紋センサ21に対して上から下に向かってスライドさせた場合と、下から上に向かってスライドさせた場合とで、画像メモリ内に読み取られた指紋情報は上下が逆の画像として読み取ることができる。
具体的に説明をする。指23を上から下の方向にスライドさせた場合は、図4に示す部分画像29aが一番初めに読み取られ、順次29b、29c、・・・、29pの順に読み取られる。そうすると隣接する各部分画像同士をある規定値以内で上下にずらすことでお互いに重なり合わせることができる。それらを画像処理すると図11(A)の指紋情報として確定する。
図11(A)、(B)、図12に示すように、指23をスイープ型指紋センサ21に対して上から下に向かってスライドさせた場合と、下から上に向かってスライドさせた場合とで、画像メモリ内に読み取られた指紋情報は上下が逆の画像として読み取ることができる。
具体的に説明をする。指23を上から下の方向にスライドさせた場合は、図4に示す部分画像29aが一番初めに読み取られ、順次29b、29c、・・・、29pの順に読み取られる。そうすると隣接する各部分画像同士をある規定値以内で上下にずらすことでお互いに重なり合わせることができる。それらを画像処理すると図11(A)の指紋情報として確定する。
次に、指23を下から上の方向にスライドさせた場合は、部分画像29pが一番初めに読み取られ、順次29o、29n、・・・、29aの順に読み取られる。つまり、図12に示すような連続した部分画像として読み取られる。そうすると、隣接する各部分画像同士をある規定値以内で上下にずらしてもお互いに重なり合わせることができない。その場合には、部分画像29a〜29pのそれぞれを上下反転させた後に、隣接する各部分画像同士をある規定値以内で上下にずらしてお互いに重なり合わせてみる。それらを画像処理すると、図11(B)の指紋情報として確定する。
ここで、それぞれの指紋27の特徴点の情報も上下鏡像の関係になっているため、その位置関係を判定することで、指23のスライド方向を認識することができる。
ここで、それぞれの指紋27の特徴点の情報も上下鏡像の関係になっているため、その位置関係を判定することで、指23のスライド方向を認識することができる。
本実施形態では、一人の使用者から一本の指の指紋を登録するだけで良いため、複写機内のメモリ容量を増大することなく、多くの使用者の情報を登録することができる。そのため、複写機の寸法を小型化することができる効果も期待できる。
また、スイープ型指紋センサを用いて、更に方向認識手段により指のスライド方向を認識することが可能であるため、各種機能毎に指のスライド方向の組み合わせを設定することができる。そのため、セキュリティ性を確保することができる。
また、スイープ型指紋センサを用いて、更に方向認識手段により指のスライド方向を認識することが可能であるため、各種機能毎に指のスライド方向の組み合わせを設定することができる。そのため、セキュリティ性を確保することができる。
尚、この発明は上述した実施の形態に限られるものではなく、例えば以下のような態様も採用可能である。
本実施形態では、複写機に搭載した場合の説明をしたが、複合機やATMなどに搭載しても良い。
本実施形態では、スイープ型指紋センサに対して指を上下にスライドさせるように配置した場合の説明をしたが、スイープ型指紋センサの配置を90°回転させて配置し、指を左右にスライドさせるようにしても良い。
本実施形態では、各機能を実行するための指のスライド方向の組み合わせを示す一覧を表示する場合の説明をしたが、一覧表は表示させずに例えばセキュリティカードなどにのみ表示しておき、それを持っていないと操作できないようにしても良い。
本実施形態では、複写機に搭載した場合の説明をしたが、複合機やATMなどに搭載しても良い。
本実施形態では、スイープ型指紋センサに対して指を上下にスライドさせるように配置した場合の説明をしたが、スイープ型指紋センサの配置を90°回転させて配置し、指を左右にスライドさせるようにしても良い。
本実施形態では、各機能を実行するための指のスライド方向の組み合わせを示す一覧を表示する場合の説明をしたが、一覧表は表示させずに例えばセキュリティカードなどにのみ表示しておき、それを持っていないと操作できないようにしても良い。
11…操作表示装置 21…スイープ型指紋センサ 23…指 27…指紋
Claims (2)
- 指をスライドさせることで指紋を読み取るスイープ型指紋センサと、指紋の情報を記憶する指紋情報記憶手段と、前記スイープ型指紋センサで読み取った指紋の情報と前記指紋情報記憶手段に記憶している指紋の情報とを比較して、合致しているかを判定する使用判定手段とを具備した操作表示装置において、
前記スイープ型指紋センサで読み取った前記指紋の情報から前記指のスライド方向を認識する方向認識手段を設けたことを特徴とする操作表示装置。 - 前記方向認識手段によって認識された前記指のスライド方向の一つ又は複数の組み合わせが、複数の操作機能のそれぞれに対して関連づけられていることを特徴とする請求項1に記載の操作表示装置。
Priority Applications (1)
| Application Number | Priority Date | Filing Date | Title |
|---|---|---|---|
| JP2006181163A JP2008009835A (ja) | 2006-06-30 | 2006-06-30 | 操作表示装置 |
Applications Claiming Priority (1)
| Application Number | Priority Date | Filing Date | Title |
|---|---|---|---|
| JP2006181163A JP2008009835A (ja) | 2006-06-30 | 2006-06-30 | 操作表示装置 |
Publications (1)
| Publication Number | Publication Date |
|---|---|
| JP2008009835A true JP2008009835A (ja) | 2008-01-17 |
Family
ID=39067963
Family Applications (1)
| Application Number | Title | Priority Date | Filing Date |
|---|---|---|---|
| JP2006181163A Pending JP2008009835A (ja) | 2006-06-30 | 2006-06-30 | 操作表示装置 |
Country Status (1)
| Country | Link |
|---|---|
| JP (1) | JP2008009835A (ja) |
Cited By (7)
| Publication number | Priority date | Publication date | Assignee | Title |
|---|---|---|---|---|
| JP2009297990A (ja) * | 2008-06-12 | 2009-12-24 | Konica Minolta Business Technologies Inc | 画像形成装置、画像形成方法、および、画像形成プログラム |
| KR101312097B1 (ko) | 2012-10-29 | 2013-09-25 | 크루셜소프트 주식회사 | 지문 인식 방법, 장치 및 컴퓨터 판독 가능한 기록 매체 |
| WO2014050281A1 (ja) * | 2012-09-25 | 2014-04-03 | Necビッグローブ株式会社 | 人物認証用辞書更新方法、人物認証用辞書更新装置、記録媒体及び人物認証システム |
| JP2017151551A (ja) * | 2016-02-22 | 2017-08-31 | レノボ・シンガポール・プライベート・リミテッド | 情報処理装置、情報処理方法、及びコンピュータが実行可能なプログラム |
| CN108139864A (zh) * | 2015-10-13 | 2018-06-08 | 华为技术有限公司 | 使用指纹识别的操作方法、装置、移动终端 |
| US11442600B2 (en) | 2016-10-14 | 2022-09-13 | Huawei Technologies Co., Ltd. | Screen display method and terminal |
| US11468153B2 (en) | 2018-03-28 | 2022-10-11 | Huawei Technologies Co., Ltd. | Terminal device management method and terminal device |
Citations (1)
| Publication number | Priority date | Publication date | Assignee | Title |
|---|---|---|---|---|
| JP2005063020A (ja) * | 2003-08-08 | 2005-03-10 | Canon Inc | 認識装置 |
-
2006
- 2006-06-30 JP JP2006181163A patent/JP2008009835A/ja active Pending
Patent Citations (1)
| Publication number | Priority date | Publication date | Assignee | Title |
|---|---|---|---|---|
| JP2005063020A (ja) * | 2003-08-08 | 2005-03-10 | Canon Inc | 認識装置 |
Cited By (12)
| Publication number | Priority date | Publication date | Assignee | Title |
|---|---|---|---|---|
| JP2009297990A (ja) * | 2008-06-12 | 2009-12-24 | Konica Minolta Business Technologies Inc | 画像形成装置、画像形成方法、および、画像形成プログラム |
| US8699050B2 (en) | 2008-06-12 | 2014-04-15 | Konica Minolta Business Technologies, Inc. | Image forming device, image forming method, and image forming program |
| WO2014050281A1 (ja) * | 2012-09-25 | 2014-04-03 | Necビッグローブ株式会社 | 人物認証用辞書更新方法、人物認証用辞書更新装置、記録媒体及び人物認証システム |
| JP2014067171A (ja) * | 2012-09-25 | 2014-04-17 | Nec Biglobe Ltd | 人物認証用辞書更新方法、人物認証用辞書更新装置、人物認証用辞書更新プログラム及び人物認証システム |
| KR101312097B1 (ko) | 2012-10-29 | 2013-09-25 | 크루셜소프트 주식회사 | 지문 인식 방법, 장치 및 컴퓨터 판독 가능한 기록 매체 |
| CN108139864A (zh) * | 2015-10-13 | 2018-06-08 | 华为技术有限公司 | 使用指纹识别的操作方法、装置、移动终端 |
| JP2018518751A (ja) * | 2015-10-13 | 2018-07-12 | 華為技術有限公司Huawei Technologies Co.,Ltd. | 指紋認識を用いる操作方法、装置、およびモバイル端末 |
| US10685100B2 (en) | 2015-10-13 | 2020-06-16 | Huawei Technologies Co., Ltd. | Operation method with fingerprint recognition, apparatus, and mobile terminal |
| US11366889B2 (en) | 2015-10-13 | 2022-06-21 | Huawei Technologies Co., Ltd. | Matrix processing method and apparatus, and logic circuit |
| JP2017151551A (ja) * | 2016-02-22 | 2017-08-31 | レノボ・シンガポール・プライベート・リミテッド | 情報処理装置、情報処理方法、及びコンピュータが実行可能なプログラム |
| US11442600B2 (en) | 2016-10-14 | 2022-09-13 | Huawei Technologies Co., Ltd. | Screen display method and terminal |
| US11468153B2 (en) | 2018-03-28 | 2022-10-11 | Huawei Technologies Co., Ltd. | Terminal device management method and terminal device |
Similar Documents
| Publication | Publication Date | Title |
|---|---|---|
| JP5929572B2 (ja) | 操作表示装置およびプログラム | |
| JP3773442B2 (ja) | 画像形成装置 | |
| CN101330558B (zh) | 图像处理设备 | |
| JP5729574B2 (ja) | 画像形成装置 | |
| JP2006172180A (ja) | 認証装置及び画像形成装置 | |
| JP2022182801A (ja) | 表示装置及び画像形成装置 | |
| JP5153173B2 (ja) | 表示装置及びこれを備えた画像形成装置 | |
| US20180054311A1 (en) | Authenticating device for performing user authentication by using password, and image forming apparatus | |
| JP2008009835A (ja) | 操作表示装置 | |
| US20150035747A1 (en) | Operating device and image processing apparatus | |
| JP2015028733A (ja) | 操作装置および画像処理装置 | |
| JP6081506B2 (ja) | 認証装置 | |
| CN104683651B (zh) | 认证装置 | |
| JP6074968B2 (ja) | 画像処理装置及び制御プログラム | |
| US20120162684A1 (en) | Image processing apparatus and computer program product | |
| JP2009171418A (ja) | 画像処理装置および画像処理方法 | |
| JP5831715B2 (ja) | 操作装置および画像処理装置 | |
| JP2011234158A (ja) | 画像形成装置 | |
| JP5202487B2 (ja) | 画像読取装置 | |
| CN107835334B (zh) | 密码输入装置、以及图像处理装置 | |
| CN113342219B (zh) | 信息处理装置 | |
| JP4836040B2 (ja) | 複合機、認証方法および認証プログラム | |
| JP5704762B2 (ja) | 表示入力装置及びこれを備えた画像形成装置 | |
| JP2004037760A (ja) | 画像形成装置 | |
| JP2008219899A (ja) | デジタル複合装置及びデジタル複合装置の認証プログラムを記憶する記憶媒体 |
Legal Events
| Date | Code | Title | Description |
|---|---|---|---|
| A621 | Written request for application examination |
Free format text: JAPANESE INTERMEDIATE CODE: A621 Effective date: 20090527 |
|
| A02 | Decision of refusal |
Free format text: JAPANESE INTERMEDIATE CODE: A02 Effective date: 20111018 |