JP2007296177A - X線透視撮影装置 - Google Patents
X線透視撮影装置 Download PDFInfo
- Publication number
- JP2007296177A JP2007296177A JP2006127447A JP2006127447A JP2007296177A JP 2007296177 A JP2007296177 A JP 2007296177A JP 2006127447 A JP2006127447 A JP 2006127447A JP 2006127447 A JP2006127447 A JP 2006127447A JP 2007296177 A JP2007296177 A JP 2007296177A
- Authority
- JP
- Japan
- Prior art keywords
- foot
- ray
- operator
- foot switch
- image
- Prior art date
- Legal status (The legal status is an assumption and is not a legal conclusion. Google has not performed a legal analysis and makes no representation as to the accuracy of the status listed.)
- Withdrawn
Links
Images
Landscapes
- Apparatus For Radiation Diagnosis (AREA)
Abstract
【課題】術者が表示モニタから目を離さなくても、フットスイッチを容易にかつ間違いなく操作してX線透視およびX線撮影を行う。
【解決手段】保持装置の両端の一方側に、検診台上の被検者にX線を照射するX線管装置を支持し、他方側に、被検者を透過したX線を受像するX線受像機を支持する。天井には、支持装置によって複数個の表示モニタ8を支持する。検診台の下方の支持部の設置箇所に近い床に、透視用フットスイッチと、撮影用フットスイッチと、ブレーキ(BL)解除用フットスイッチとを設ける。3個のフットスイッチの上方箇所において、支持部に、術者の足との相対位置を検出するカメラ13を設け、カメラ13で撮影された3個のフットスイッチそれぞれの映像10A,11A,12Aと術者の足Fとの相対位置を、ひとつの表示モニタ8に、被検者の透視像または撮影像と同一画像面内で表示する。
【選択図】図2
【解決手段】保持装置の両端の一方側に、検診台上の被検者にX線を照射するX線管装置を支持し、他方側に、被検者を透過したX線を受像するX線受像機を支持する。天井には、支持装置によって複数個の表示モニタ8を支持する。検診台の下方の支持部の設置箇所に近い床に、透視用フットスイッチと、撮影用フットスイッチと、ブレーキ(BL)解除用フットスイッチとを設ける。3個のフットスイッチの上方箇所において、支持部に、術者の足との相対位置を検出するカメラ13を設け、カメラ13で撮影された3個のフットスイッチそれぞれの映像10A,11A,12Aと術者の足Fとの相対位置を、ひとつの表示モニタ8に、被検者の透視像または撮影像と同一画像面内で表示する。
【選択図】図2
Description
この発明は、被検者を載せる検診台と、その検診台上の被検者にX線を照射するX線管装置と、X線管装置から照射されて被検者を透過したX線を受像するX線受像機と、X線管装置およびX線受像機を保持する保持装置と、X線管装置およびX線受像機による透視および撮影を術者の足によって行うフットスイッチと、透視画像および撮影画像を表示する表示モニタとを備えたX線透視撮影装置に関する。
この種のX線透視撮影装置としては、従来、次のように構成されたものが知られている。
すなわち、天井に敷設されたレールに台車が支持され、その台車に保持装置(アーム)が支持されるとともに、その保持装置にX線管装置(X線管)とX線受像機(イメージインテンシファイア)とが支持されている。
また、天井には、支持装置によって表示モニタ(ディスプレイ)が支持されている。
すなわち、天井に敷設されたレールに台車が支持され、その台車に保持装置(アーム)が支持されるとともに、その保持装置にX線管装置(X線管)とX線受像機(イメージインテンシファイア)とが支持されている。
また、天井には、支持装置によって表示モニタ(ディスプレイ)が支持されている。
一方、床に設置された支持部に検診台(ベッド)が支持され、その検診台に横臥した被検者にX線管装置からX線を照射し、透過したX線をX線受像機に入射して電気信号に変換し、画像処理装置により被検者の透視像を作成し、その透視像を表示モニタに表示するように構成されている。検診台の設置箇所に近い床に、X線透視およびX線撮影を行うためのフットスイッチが設けられている。
このようなX線透視撮影装置において、術者が保持装置や検診台を移動させるとともに被検者の患部にカテーテルを挿入し、造影剤を注入して血管像を撮影する場合、フットスイッチを操作してX線透視による透視像を表示モニタで見ながらカテーテルを正確に患部まで操作し、所定位置に到達したことを確認してから、フットスイッチによりX線撮影に切り替えるようにしている(例えば、特許文献1参照)。
特開平9−220220号公報(図4)
しかしながら、従来例の場合、X線透視やX線撮影のためにフットスイッチを操作するときに、術者は、両手でカテーテルの操作や保持装置や検診台の移動操作をも行わなければならず、フットスイッチとして形状や配置に工夫を施していても、フットスイッチを踏み間違える不都合があった。
また、足元を確認してフットスイッチを踏もうとすると、表示モニタから目を離さなければならず、X線透視およびX線撮影の効率が低下する不都合があった。
また、足元を確認してフットスイッチを踏もうとすると、表示モニタから目を離さなければならず、X線透視およびX線撮影の効率が低下する不都合があった。
この発明は、上述のような事情に鑑みてなされたものであって、術者が表示モニタから目を離さなくても、フットスイッチを容易にかつ間違いなく操作してX線透視およびX線撮影を行うことができるようにすることを目的とする。
請求項1に係る発明は、上述のような目的を達成するために、次のような構成をとる。
すなわち、被検者を載せる検診台と、前記検診台上の被検者にX線を照射するX線管装置と、前記X線管装置から照射されて前記被検者を透過したX線を受像するX線受像機と、前記X線管装置およびX線受像機を保持する保持装置と、前記X線管装置およびX線受像機による透視および撮影を術者の足によって行うフットスイッチと、透視画像および撮影画像を表示する表示モニタとを備えたX線透視撮影装置において、
前記フットスイッチと術者の足との相対位置を検出する足元操作部検出手段と、前記表示モニタまたはそれに近接した位置に設けられて前記足元操作部検出手段で検出された前記フットスイッチと術者の足との相対位置を表示する足元操作部表示部とを備えたことを特徴としている。
すなわち、被検者を載せる検診台と、前記検診台上の被検者にX線を照射するX線管装置と、前記X線管装置から照射されて前記被検者を透過したX線を受像するX線受像機と、前記X線管装置およびX線受像機を保持する保持装置と、前記X線管装置およびX線受像機による透視および撮影を術者の足によって行うフットスイッチと、透視画像および撮影画像を表示する表示モニタとを備えたX線透視撮影装置において、
前記フットスイッチと術者の足との相対位置を検出する足元操作部検出手段と、前記表示モニタまたはそれに近接した位置に設けられて前記足元操作部検出手段で検出された前記フットスイッチと術者の足との相対位置を表示する足元操作部表示部とを備えたことを特徴としている。
(作用・効果)
請求項1に係る発明のX線透視撮影装置の構成によれば、フットスイッチと術者の足との相対位置を足元操作部検出手段で検出し、その検出したフットスイッチと術者の足との相対位置を、表示モニタまたはそれに近接した位置に設けられた足元操作部表示部に表示し、術者が表示モニタを見ながらフットスイッチの位置を確認して操作し、X線透視およびX線撮影を行うことができる。
請求項1に係る発明のX線透視撮影装置の構成によれば、フットスイッチと術者の足との相対位置を足元操作部検出手段で検出し、その検出したフットスイッチと術者の足との相対位置を、表示モニタまたはそれに近接した位置に設けられた足元操作部表示部に表示し、術者が表示モニタを見ながらフットスイッチの位置を確認して操作し、X線透視およびX線撮影を行うことができる。
したがって、術者が表示モニタから目を離さなくても、フットスイッチを容易にかつ間違いなく操作してX線透視およびX線撮影を行うことができるから、フットスイッチを踏み間違えることを良好に回避できるとともに、足元の確認のために表示モニタから目を離さずに済み、X線透視およびX線撮影の効率を向上できる。
また、請求項2に係る発明は、請求項1に記載のX線透視撮影装置において、足元操作部検出手段をカメラで構成し、足元操作部表示部を前記カメラからの映像を表示するように構成する。
(作用・効果)
請求項2に係る発明のX線透視撮影装置の構成によれば、フットスイッチと術者の足との相対位置をカメラで捉え、その映像を表示モニタまたはそれに近接した位置に設けられた足元操作部表示部に表示することができる。
したがって、フットスイッチと術者の足との相対位置をそのままの姿で確認できるから、フットスイッチに対する操作性を向上できる。
請求項2に係る発明のX線透視撮影装置の構成によれば、フットスイッチと術者の足との相対位置をカメラで捉え、その映像を表示モニタまたはそれに近接した位置に設けられた足元操作部表示部に表示することができる。
したがって、フットスイッチと術者の足との相対位置をそのままの姿で確認できるから、フットスイッチに対する操作性を向上できる。
以上説明したように、請求項1に係る発明のX線透視撮影装置の構成によれば、フットスイッチと術者の足との相対位置を足元操作部検出手段で検出し、その検出したフットスイッチと術者の足との相対位置を、表示モニタまたはそれに近接した位置に設けられた足元操作部表示部に表示し、術者が表示モニタを見ながらフットスイッチの位置を確認して操作し、X線透視およびX線撮影を行うことができる。
したがって、術者が表示モニタから目を離さなくても、フットスイッチを容易にかつ間違いなく操作してX線透視およびX線撮影を行うことができるから、フットスイッチを踏み間違えることを良好に回避できるとともに、足元の確認のために表示モニタから目を離さずに済み、X線透視およびX線撮影の効率を向上できる。
次に、この発明の実施例について、図面に基づいて詳細に説明する。
図1は、この発明の実施例1に係るX線透視撮影装置の一部省略全体斜視図であり、天井に敷設されたレール1に台車2が支持されるとともに、その台車2に保持装置3が支持され、その保持装置3の両端の一方側に、検診台4上の被検者MにX線を照射するX線管装置5が支持されるとともに、他方側に、X線管装置5から照射されて被検者Mを透過したX線を受像するX線受像機6が支持されている。
また、天井には、支持装置7によって固定位置変更可能に複数個の表示モニタ8が支持されている。この表示モニタ8の個数としては、1個でも良く、その個数に限定されるものでは無い。
また、天井には、支持装置7によって固定位置変更可能に複数個の表示モニタ8が支持されている。この表示モニタ8の個数としては、1個でも良く、その個数に限定されるものでは無い。
検診台4は、床に設置された支持部9に固定位置変更可能に支持され、その検診台4に横臥した被検者MにX線管装置5からX線を照射し、透過したX線をX線受像機6に入射して電気信号に変換し、画像処理装置(図示せず)により被検者Mの透視像や撮影像を作成し、その透視像を表示モニタ8に表示するように構成されている。
検診台4の下方の支持部9の設置箇所に近い床に、X線透視を術者の足によって行うための透視用フットスイッチ10と、X線撮影を術者の足によって行うための撮影用フットスイッチ11と、検診台4を移動するために固定用ブレーキを術者の足によって解除するためのブレーキ(BL)解除用フットスイッチ12とが設けられている。
3個のフットスイッチ10,11,12の上方箇所において、支持部9に、術者の足との相対位置を検出する足元操作部検出手段としてのカメラ13が設けられ、3個のフットスイッチ10,11,12と術者の足Fとの相対位置を撮影するように構成されている。
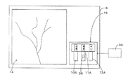
図2の表示モニタの画面を示す正面図に示すように、ひとつの表示モニタ8において、被検者Mの透視像または撮影像を表示する被検者像表示部14と同一画像面内に、カメラ13で撮影された3個のフットスイッチ10,11,12それぞれの映像10A,11A,12Aと術者の足Fとの相対位置を表示する足元操作部表示部15が設けられている。
図2の表示モニタの画面を示す正面図に示すように、ひとつの表示モニタ8において、被検者Mの透視像または撮影像を表示する被検者像表示部14と同一画像面内に、カメラ13で撮影された3個のフットスイッチ10,11,12それぞれの映像10A,11A,12Aと術者の足Fとの相対位置を表示する足元操作部表示部15が設けられている。
上記構成により、透視用フットスイッチ10によって透視してその透視像を被検者像表示部14に表示させ、被検者Mの位置調整のためにブレーキ(BL)解除用フットスイッチ12を操作するときに、足元操作部表示部15でブレーキ(BL)解除用フットスイッチ12の位置を確認して誤操作無く固定用ブレーキを術者の足Fによって解除し、検診台4を移動させることができる。
また、透視像によって撮影位置を確認した後には、足元操作部表示部15で撮影用フットスイッチ11の位置を確認して誤操作無く撮影を行うことができる。
また、透視像によって撮影位置を確認した後には、足元操作部表示部15で撮影用フットスイッチ11の位置を確認して誤操作無く撮影を行うことができる。
図3は、この発明の実施例2に係るX線透視撮影装置の表示モニタの画面を示す正面図であり、実施例1と異なるところは次の通りである。
すなわち、表示モニタ8の下部に補助モニタ21が付設され、その補助モニタ21に、3個のフットスイッチ10,11,12それぞれの映像10A,11A,12Aと術者の足Fとの相対位置を表示する足元操作部表示部22が設けられている。他の構成は実施例1と同じであり、同一図番を付してその説明は省略する。
補助モニタ21としては、表示モニタ8に連ねて設けられずにやや離れて設けるものでも良く、本発明としては、要するに、足元操作部表示部22を表示モニタ8に近接した位置に設けるものであれば良い。
すなわち、表示モニタ8の下部に補助モニタ21が付設され、その補助モニタ21に、3個のフットスイッチ10,11,12それぞれの映像10A,11A,12Aと術者の足Fとの相対位置を表示する足元操作部表示部22が設けられている。他の構成は実施例1と同じであり、同一図番を付してその説明は省略する。
補助モニタ21としては、表示モニタ8に連ねて設けられずにやや離れて設けるものでも良く、本発明としては、要するに、足元操作部表示部22を表示モニタ8に近接した位置に設けるものであれば良い。
図4は、この発明の実施例2に係るX線透視撮影装置の要部の概略平面図、図5は実施例3の表示モニタの正面図であり、実施例1と異なるところは次の通りである。
術者の靴31の先端に発信器32が付設されている。一方、3個のフットスイッチ10,11,12の上方に、水平方向に所定間隔を隔てて、第1、第2および第3の受信器33,34,35が設けられている。
術者の靴31の先端に発信器32が付設されている。一方、3個のフットスイッチ10,11,12の上方に、水平方向に所定間隔を隔てて、第1、第2および第3の受信器33,34,35が設けられている。
第1、第2および第3の受信器33,34,35にコントローラ36が接続され、そのコントローラ36に表示モニタ8が接続されている。
コントローラ36には、発信器位置算出手段37と画像作成手段38とが備えられている。
コントローラ36には、発信器位置算出手段37と画像作成手段38とが備えられている。
発信器位置算出手段37には、第1、第2および第3の受信器33,34,35が接続され、発信器32からの信号を受信するに伴って第1、第2および第3の受信器33,34,35からの受信信号が入力され、基準時間と時間差の相違に基づいて、表示モニタ8の画像面に対応させた、発信器32の3個のフットスイッチ10,11,12との相対位置、すなわち、足元操作部と3個のフットスイッチ10,11,12との相対位置を算出し、その算出した位置に対応する位置信号を出力するようになっている。発信器32と第1、第2および第3の受信器33,34,35と発信器位置算出手段37とから成る構成をして足元操作部検出手段と称する。
画像作成手段38では、発信器位置算出手段37からの位置信号に基づいて、足元操作部としての発信器32の位置を赤丸39の画像とし、その赤丸39を3個のフットスイッチ10,11,12それぞれの映像10A,11A,12Aを表示した画像に組み込んだ画像を作成し、その作成した画像信号を表示モニタ8に出力し、3個のフットスイッチ10,11,12に対する術者の足元位置を表示するようになっている。他の構成は実施例1と同じであり、同一図番を付してその説明は省略する。
この実施例3において、足元操作部としての発信器32の位置を示すのに、赤丸39に代えて矢印にするなど、各種の変形が可能である。
この実施例3において、足元操作部としての発信器32の位置を示すのに、赤丸39に代えて矢印にするなど、各種の変形が可能である。
上記実施例では、透視用フットスイッチ10と撮影用フットスイッチ11とは別にブレーキ(BL)解除用フットスイッチ12とを設けているが、本発明としては、ブレーキ(BL)解除用フットスイッチ12を設けない場合にも適用できる。また、ブレーキ(BL)解除用フットスイッチ12とは別に、あるいはそれに加えて、参照画像を重ね合わせて表示する、いわゆるMAP透視を行うためのフットスイッチであるとか、X線管装置とX線受像機とを2対設けて第1の透視と第2の透視とを行うように構成したX線透視撮影装置において、第1の透視を行うためのフットスイッチと第2の透視を行うためのフットスイッチを設けている場合などにも適用できる。
4…検診台
5…X線管装置
6…X線受像機
8…表示モニタ
10…透視用フットスイッチ
11…撮影用フットスイッチ
12…ブレーキ解除用フットスイッチ
13…カメラ(足元操作部検出手段)
15…足元操作部表示部
21…足元操作部表示部
32…発信器(足元操作部検出手段)
33…第1の受信器(足元操作部検出手段)
34…第2の受信器(足元操作部検出手段)
35…第3の受信器(足元操作部検出手段)
37…発信器位置検出手段(足元操作部検出手段)
M…被検者
5…X線管装置
6…X線受像機
8…表示モニタ
10…透視用フットスイッチ
11…撮影用フットスイッチ
12…ブレーキ解除用フットスイッチ
13…カメラ(足元操作部検出手段)
15…足元操作部表示部
21…足元操作部表示部
32…発信器(足元操作部検出手段)
33…第1の受信器(足元操作部検出手段)
34…第2の受信器(足元操作部検出手段)
35…第3の受信器(足元操作部検出手段)
37…発信器位置検出手段(足元操作部検出手段)
M…被検者
Claims (2)
- 被検者を載せる検診台と、前記検診台上の被検者にX線を照射するX線管装置と、前記X線管装置から照射されて前記被検者を透過したX線を受像するX線受像機と、前記X線管装置およびX線受像機を保持する保持装置と、前記X線管装置およびX線受像機による透視および撮影を術者の足によって行うフットスイッチと、透視画像および撮影画像を表示する表示モニタとを備えたX線透視撮影装置において、前記フットスイッチと術者の足との相対位置を検出する足元操作部検出手段と、前記表示モニタまたはそれに近接した位置に設けられて前記足元操作部検出手段で検出された前記フットスイッチと術者の足との相対位置を表示する足元操作部表示部とを備えたことを特徴とするX線透視撮影装置。
- 請求項1に記載のX線透視撮影装置において、足元操作部検出手段がカメラであり、足元操作部表示部が前記カメラからの映像を表示するものであるX線透視撮影装置。
Priority Applications (1)
| Application Number | Priority Date | Filing Date | Title |
|---|---|---|---|
| JP2006127447A JP2007296177A (ja) | 2006-05-01 | 2006-05-01 | X線透視撮影装置 |
Applications Claiming Priority (1)
| Application Number | Priority Date | Filing Date | Title |
|---|---|---|---|
| JP2006127447A JP2007296177A (ja) | 2006-05-01 | 2006-05-01 | X線透視撮影装置 |
Publications (1)
| Publication Number | Publication Date |
|---|---|
| JP2007296177A true JP2007296177A (ja) | 2007-11-15 |
Family
ID=38766197
Family Applications (1)
| Application Number | Title | Priority Date | Filing Date |
|---|---|---|---|
| JP2006127447A Withdrawn JP2007296177A (ja) | 2006-05-01 | 2006-05-01 | X線透視撮影装置 |
Country Status (1)
| Country | Link |
|---|---|
| JP (1) | JP2007296177A (ja) |
Cited By (5)
| Publication number | Priority date | Publication date | Assignee | Title |
|---|---|---|---|---|
| JP2012179281A (ja) * | 2011-03-02 | 2012-09-20 | Toshiba Corp | X線診断装置 |
| JP2016174792A (ja) * | 2015-03-20 | 2016-10-06 | 株式会社島津製作所 | X線透視撮影装置 |
| JP2019000589A (ja) * | 2017-06-20 | 2019-01-10 | キヤノンメディカルシステムズ株式会社 | X線診断装置 |
| US20190090838A1 (en) * | 2017-09-25 | 2019-03-28 | Shimadzu Corporation | X-ray fluoroscopy and imaging apparatus |
| JP2022077911A (ja) * | 2020-11-12 | 2022-05-24 | キヤノンメディカルシステムズ株式会社 | 操作装置及びx線診断システム |
-
2006
- 2006-05-01 JP JP2006127447A patent/JP2007296177A/ja not_active Withdrawn
Cited By (7)
| Publication number | Priority date | Publication date | Assignee | Title |
|---|---|---|---|---|
| JP2012179281A (ja) * | 2011-03-02 | 2012-09-20 | Toshiba Corp | X線診断装置 |
| JP2016174792A (ja) * | 2015-03-20 | 2016-10-06 | 株式会社島津製作所 | X線透視撮影装置 |
| JP2019000589A (ja) * | 2017-06-20 | 2019-01-10 | キヤノンメディカルシステムズ株式会社 | X線診断装置 |
| US20190090838A1 (en) * | 2017-09-25 | 2019-03-28 | Shimadzu Corporation | X-ray fluoroscopy and imaging apparatus |
| JP2022077911A (ja) * | 2020-11-12 | 2022-05-24 | キヤノンメディカルシステムズ株式会社 | 操作装置及びx線診断システム |
| JP7526639B2 (ja) | 2020-11-12 | 2024-08-01 | キヤノンメディカルシステムズ株式会社 | 操作装置及びx線診断システム |
| US12171602B2 (en) | 2020-11-12 | 2024-12-24 | Canon Medical Systems Corporation | Operation device and X-ray diagnosis system |
Similar Documents
| Publication | Publication Date | Title |
|---|---|---|
| JP5675117B2 (ja) | X線ct装置及びx線ct装置の制御プログラム | |
| JP2011024721A (ja) | X線診断装置 | |
| JP6056974B2 (ja) | X線撮影装置 | |
| WO2012098949A1 (ja) | 移動型x線装置 | |
| JP4656001B2 (ja) | 回診用x線装置 | |
| JP2007296177A (ja) | X線透視撮影装置 | |
| JP5441491B2 (ja) | X線診断装置 | |
| JP5621244B2 (ja) | X線撮影装置 | |
| JPH09276259A (ja) | X線診断装置 | |
| JP2010167134A (ja) | 乳房画像撮影システム | |
| JP6540399B2 (ja) | 放射線透視撮影装置 | |
| JP2008307130A (ja) | X線画像診断装置 | |
| JPH08336526A (ja) | X線透視撮影装置 | |
| JP5523722B2 (ja) | X線画像診断装置 | |
| JP5959972B2 (ja) | X線診断装置 | |
| JP5333279B2 (ja) | 放射線撮影装置 | |
| JP5371705B2 (ja) | X線診断装置 | |
| JP3132394U (ja) | X線透視撮影装置 | |
| JP2019180871A (ja) | X線透視撮影装置 | |
| JP5424583B2 (ja) | X線画像診断装置、及びその制御方法 | |
| KR101615001B1 (ko) | 천장형 엑스선 촬영장치 및 그 제어방법 | |
| JP5251724B2 (ja) | X線透視撮影装置 | |
| JP2010284375A (ja) | X線診断装置 | |
| JP6355895B2 (ja) | X線診断装置 | |
| JP5428882B2 (ja) | 放射線撮影装置 |
Legal Events
| Date | Code | Title | Description |
|---|---|---|---|
| A621 | Written request for application examination |
Free format text: JAPANESE INTERMEDIATE CODE: A621 Effective date: 20080904 |
|
| A761 | Written withdrawal of application |
Free format text: JAPANESE INTERMEDIATE CODE: A761 Effective date: 20090826 |