JP2007293133A - 画像形成装置 - Google Patents

画像形成装置 Download PDF

Info

Publication number
JP2007293133A
JP2007293133A JP2006122714A JP2006122714A JP2007293133A JP 2007293133 A JP2007293133 A JP 2007293133A JP 2006122714 A JP2006122714 A JP 2006122714A JP 2006122714 A JP2006122714 A JP 2006122714A JP 2007293133 A JP2007293133 A JP 2007293133A
Authority
JP
Japan
Prior art keywords
recording medium
toner
fixing
image forming
unit
Prior art date
Legal status (The legal status is an assumption and is not a legal conclusion. Google has not performed a legal analysis and makes no representation as to the accuracy of the status listed.)
Granted
Application number
JP2006122714A
Other languages
English (en)
Other versions
JP4149485B2 (ja
Inventor
Atsushi Tanaka
篤史 田中
Kenji Asakura
建治 朝倉
Current Assignee (The listed assignees may be inaccurate. Google has not performed a legal analysis and makes no representation or warranty as to the accuracy of the list.)
Sharp Corp
Original Assignee
Sharp Corp
Priority date (The priority date is an assumption and is not a legal conclusion. Google has not performed a legal analysis and makes no representation as to the accuracy of the date listed.)
Filing date
Publication date
Application filed by Sharp Corp filed Critical Sharp Corp
Priority to JP2006122714A priority Critical patent/JP4149485B2/ja
Priority to US11/790,569 priority patent/US7546080B2/en
Priority to CN200710101058.5A priority patent/CN100561367C/zh
Publication of JP2007293133A publication Critical patent/JP2007293133A/ja
Application granted granted Critical
Publication of JP4149485B2 publication Critical patent/JP4149485B2/ja
Active legal-status Critical Current
Anticipated expiration legal-status Critical

Links

Images

Classifications

    • GPHYSICS
    • G03PHOTOGRAPHY; CINEMATOGRAPHY; ANALOGOUS TECHNIQUES USING WAVES OTHER THAN OPTICAL WAVES; ELECTROGRAPHY; HOLOGRAPHY
    • G03GELECTROGRAPHY; ELECTROPHOTOGRAPHY; MAGNETOGRAPHY
    • G03G15/00Apparatus for electrographic processes using a charge pattern
    • G03G15/20Apparatus for electrographic processes using a charge pattern for fixing, e.g. by using heat
    • G03G15/2003Apparatus for electrographic processes using a charge pattern for fixing, e.g. by using heat using heat
    • G03G15/2014Apparatus for electrographic processes using a charge pattern for fixing, e.g. by using heat using heat using contact heat
    • G03G15/2017Structural details of the fixing unit in general, e.g. cooling means, heat shielding means
    • G03G15/2025Structural details of the fixing unit in general, e.g. cooling means, heat shielding means with special means for lubricating and/or cleaning the fixing unit, e.g. applying offset preventing fluid

Landscapes

  • Physics & Mathematics (AREA)
  • General Physics & Mathematics (AREA)
  • Fixing For Electrophotography (AREA)
  • Control Or Security For Electrophotography (AREA)
  • Electrostatic Charge, Transfer And Separation In Electrography (AREA)
  • Color Electrophotography (AREA)

Abstract

【課題】 湿式定着方式の画像形成装置において、定着液の付与によるトナーの流動、凝集、記録媒体におけるカール、しわなどの発生を防止し、定着液が浸透し難い記録媒体にも強い付着力でトナーを定着させる。
【解決手段】 トナー像形成手段2と、中間転写手段3と、転写手段4と、定着液付与手段5と、搬送手段6と、定着手段7と、記録媒体供給手段8と、記録媒体検知手段50とを含む画像形成装置1において、記録媒体検知手段50による記録媒体の厚み、材質などの検知結果に応じて、定着液付与手段5による記録媒体への定着液付与量を制御する。
【選択図】 図1

Description

本発明は、画像形成装置に関する。
複写機、プリンタ、ファクシミリなどに多く採用される電子写真方式の画像形成装置においては、表面に光導電性物質を含む感光層を形成した感光体を用い、感光体表面に電荷を付与して均一に帯電させた後、種々の作像プロセスにて画像情報に対応する静電潜像を形成し、この静電潜像に現像手段からトナーを含む現像剤を供給し、現像してトナー像とし、このトナー像を紙などの記録媒体に直接転写するかまたは中間転写媒体に一旦転写した後に記録媒体に転写することが行なわれる。そして、記録媒体に転写されるトナー像を記録媒体上に定着させるためには、加熱手段を含む現像ローラなどを用いる熱定着方式の定着手段によって記録媒体を加熱および加圧するのが一般的である。
熱定着方式の画像形成装置としては、たとえば、中間転写媒体である中間転写ベルトを加熱ローラにより張架することにより、中間転写ベルトひいては中間転写ベルト上に転写されるトナー像を加熱し、加熱状態で記録媒体に転写定着するものが挙げられる(たとえば、特許文献1参照)。特許文献1の画像形成装置は、消費電力が比較的に少ないという特徴を有する。しかしながら、この画像形成装置では、記録媒体を加熱しないので、転写定着時にトナー像と記録媒体とが接触すると、トナー像の温度が低下し、これによってトナー像の未定着、オフセットなどの画像劣化が生じるという欠点がある。また、中間転写ベルト上のトナー像を加熱するとともに、トナー像を転写定着する前の記録媒体をも加熱し、加熱状態でトナー像を記録媒体に転写定着する画像形成装置が提案される(たとえば、特許文献2参照)。特許文献2の画像形成装置では、トナー像の記録媒体への定着力は向上するものの、トナー像のみならず、記録媒体をも加熱するので、熱容量の大きい加熱手段が必要になり、消費電力が大きくなり、画像形成装置における全消費電力のうちの半分以上を占めることになる。
一方で、時代は、地球温暖化対策として省エネルギー化を志向しており、電子写真方式の画像形成装置が汎用されることも相俟って、電子写真方式の画像形成装置においても、トナー像を記録媒体に定着させる際の消費電力の低減が求められる。また、熱定着方式では、前述のように、装置内部で加熱手段が用いられ、装置内部が高温になるので、構成部材の耐熱性を高める必要があり、材料コストが増大する。また、熱定着方式では、定着部分が所定の温度まで上昇しないと定着できないので、所定の温度に達するまでの時間すなわちウォームアップ時間が長くなる傾向にある。さらに、熱定着方式では、多色トナー像の記録媒体への定着が、単色トナー像の定着に比べて、時間を要するという問題がある。したがって、多色トナー像の定着時間の短縮化が要望される。このような要望に鑑み、水と、水に溶解または分散できかつトナーを軟化または膨潤させる作用を有する液体とを含む定着液を用いる湿式定着方式が提案されている。この方式では、定着液の付与により軟化または膨潤状態にしたトナー像を記録媒体に付着させ、加圧することによって、トナー像を記録媒体に定着させる。湿式定着方式は、熱定着方式に比べて消費電力が非常に少ないので、省エネルギーという観点からは有用な方式である。また、多色トナー像の定着時間の点からも、多量の熱量を必要としないので、熱定着方式に比べて定着時間の短縮が可能である。したがって、湿式定着方式のさらなる改良について、種々の提案がなされている。
たとえば、中間転写媒体または記録媒体上に担持されるトナー像に対して、複数の微細孔を有する定着液噴出部材から、トナー付着部分のみに定着液を付与し、付与した定着液を加熱する定着装置が提案されている(たとえば、特許文献3参照)。すなわち、この定着装置では、中間転写媒体または記録媒体上のトナー像に定着液を付与した後に、加熱を行う方式が採用される。しかしながら、未定着のトナー像は室温下ではトナー粒子が物理的または化学的な結合力を持たずに集合した塊にすぎない。したがって、未定着のトナー像に直接定着液のような液状物を付与すると、トナー粒子が軟化および/または膨潤して粒子同士の結合力が増す前に、トナー粒子の流動または凝集が起こり易い。その結果、定着後の画像エッジに滲みが生じ、また均一であるべきハーフトーン部分に不均一なむらが生じ、高品位画質を得ることはできない。トナー粒子の流動または凝集が起こった後に加熱しても、元の状態に戻し得ないのは言うまでもない。また、特許文献3の定着装置においては、中間転写媒体にトナー像を担持させる場合は、中間転写媒体である中間転写ベルトにフッ素処理などの撥水処理を施す構成を採ることによって、該中間転写ベルトのトナー像形成領域に定着液を付与しても、定着液がトナー像形成領域のトナー付着部分(画像部)のみに存在し、トナー付着部分の間のトナー非付着部分(非画像部)には定着液が留まらない。しかしながら、記録媒体における画像部のみに定着液を付与すると、画像部では伸縮が生じ、非画像部では伸縮が起こらないので、画像部を中心にしわが生じるのを避け得ない。特に、記録媒体として、紙繊維を水で漉いて作成される記録紙が使われる場合は、その傾向が顕著である。勿論、トナーの膨潤に必要な最低限量の定着液を付与すれば、このような不都合は生じない。しかしながら、最低限量は極めて微量であるため、最低限量を正確に計量することは困難である。また、画像部のみに定着液を付与すると、画像部の周囲の非画像部にカブリなどによって付着するトナーは、定着されずに記録媒体上に残留し、手、衣服などを汚すことがある。
なお、特許文献1の画像形成装置において、加熱状態にある転写ベルト上のトナー像を非加熱の記録媒体に転写定着する際に、トナー像に定着液を付与することが考えられる。しかしながら、特許文献1のように、転写定着時に熱供給を行わずかつ他に特段の方策を講じない場合に、トナー像と記録媒体との付着力およびトナー粒子同士の付着力を高めるためには、定着液が多量に必要になる。定着液を多量に使用すると、記録媒体にしわ、カールなどが生じるのを避け得ない。また、定着液を頻繁に補給する必要が生じるかまたは大容量の定着液貯留タンクが必要になり、メンテナンス性が損なわれるかまたは装置の大型化を招く。さらに、従来の湿式定着方式の画像形成装置によって、オーバーヘッドプロジェクタ用シート(以後「OHPシート」と称す)などの樹脂シート、コート紙といった定着液が浸透し難い記録媒体にトナー像を定着させると、トナーの付着力が不充分になり、トナー画像の部分的な剥落などを起こすおそれがある。
特開平10−63121号公報 特開2004−151626号公報 特開2004−109747号公報
本発明の目的は、定着液の付与によるトナーの流動、凝集ひいてはトナー像の乱れがなく、記録媒体にカール、しわなどが発生せず、熱エネルギひいては電力消費量および定着液消費量を低減化でき、多色トナー像でも比較的短時間での定着が可能であり、定着液が浸透し難い記録媒体にも強い付着力でトナーを定着できる湿式定着方式の画像形成装置を提供することである。
本発明は、
トナー像を形成するトナー像形成手段と、トナー像形成手段により形成されるトナー像を記録媒体に転写する転写手段と、トナーを軟化および/または膨潤させる有機溶剤と水とを含み、トナーを記録媒体に定着させる定着液を記録媒体表面のトナー像に接触付与する定着液付与手段と、記録媒体を加熱する加熱手段とを含む画像形成装置おいて、
記録媒体に関する情報を検知する記録媒体検知手段と、
記録媒体検知手段による検知結果に応じて、定着液付与手段によるトナー像への定着液の付与量を制御する定着液制御手段とを含むことを特徴とする画像形成装置である。
また本発明の画像形成装置は、
記録媒体検知手段が記録媒体の厚さを検知することを特徴とする。
さらに本発明の画像形成装置は、
記録媒体検知手段が記録媒体の材質を検知することを特徴とする。
さらに本発明の画像形成装置は、
記録媒体を搬送する搬送手段と、
搬送手段による記録媒体の搬送速度を制御する搬送速度制御手段とを含み、
記録媒体検知手段による、記録媒体が樹脂シートまたはコート紙であるとの検知結果に応じて、
搬送速度制御手段が、
搬送手段による記録媒体の搬送速度を、記録媒体が普通紙であると検知された場合よりも遅い速度に制御することを特徴とする。
さらに本発明の画像形成装置は、
加熱手段が、
トナー像を構成するトナーのガラス転移点よりも高い温度に記録媒体を加熱することを特徴とする。
さらに本発明の画像形成装置は、
加熱手段が、
トナー像を構成するトナーの軟化点よりも高い温度に記録媒体を加熱することを特徴とする。
さらに本発明の画像形成装置は、
加熱手段による加熱および定着液付与手段による定着液の接触付与が、記録媒体おける少なくともトナー像形成領域を含んで行われることを特徴とする。
さらに本発明の画像形成装置は、
定着液付与手段が、記録媒体に付与する前の定着液を保温する定着液保温手段をさらに含むことを特徴とする。
さらに本発明の画像形成装置は、
定着液が、トナーの記録媒体への付着力を高める接着剤をさらに含むことを特徴とする。
さらに本発明の画像形成装置は、
トナーが、ポリエステルと、ポリエステルよりもガラス転移点の低いワックス成分とを含むことを特徴とする。
さらに本発明の画像形成装置は、トナーの体積平均粒径が2〜7μmであることを特徴とする。
本発明によれば、トナー像形成手段と、転写手段と、トナー像を担持する記録媒体に定着液を接触付与する定着液付与手段と、加熱手段と、記録媒体検知手段と、定着液付与手段による記録媒体への定着液付与量を制御する定着液制御手段とを含む湿式定着方式の画像形成装置が提供される。一般に、記録媒体の種類によって定着液の記録媒体への浸透量、浸透速度などが異なり、たとえば、一般的な厚みの記録媒体に適量の定着液を付与すると、記録媒体が薄紙の場合には定着液量が過剰になり、記録媒体が厚紙の場合には定着液が不足する傾向にある。したがって、本発明の画像形成装置によれば、記録媒体の種類に応じて記録媒体への定着液の付与量液を変更する。たとえば、記録媒体検知手段が、記録媒体はOHPシートであると検知すると、記録媒体が普通紙である場合よりも定着液の付与量を減らすように制御する。このように構成することによって、定着液付与によるトナー像の乱れ、記録媒体におけるしわ、カールなどの発生が防止され、OHPシート、コート紙などの定着液が浸透し難い記録媒体であっても強い付着力でトナーを定着できる。また、適量の定着液がトナー像に付与されるので、多色トナー像でも画像の乱れを起こすことなく比較的短時間での定着が可能になる。また、当該トナー像の定着に適する量の定着液を付与できるので、定着液の無駄な消費を防ぎ、定着液の消費量を低減化できる。さらに、前述のような定着液付与量の制御によって、定着液の機能がほぼ最大限に発揮され、加熱手段による加熱を必要最小限に留め得るので、電力消費量をも減らすことができる。さらに、本発明の画像形成装置によれば、湿式定着方式によって高画質画像を安定的に形成できる。
本発明によれば、記録媒体検知手段が記録媒体の厚みを検知し、その検知結果に応じて定着液付与量を制御することによって、画像形成装置自体が自動的に最適な定着液付与量を選択するので、定着強度が高くかつ、しわ、カールなどがない高画質画像を安定的に形成できる。
本発明によれば、記録媒体検知手段が記録媒体の材質を検知し、その検知結果に応じて定着液付与量を制御することによって、定着液の付与による記録媒体上でのトナー流れ、トナーの凝集ひいてはトナー像の乱れが防止され、画像の記録媒体への定着強度が充分に高く、画像再現性の良好な高画質画像を安定的に形成できる。たとえば、記録媒体がOHPシート、コート紙などの定着液が浸透し難い記録媒体である場合には、記録媒体が普通紙である場合よりも定着液の付与量を減らすように制御すれば、定着液付与時のトナーの流動、凝集などを防止できる。
本発明によれば、本発明の画像形成装置が記録媒体の搬送手段と搬送速度制御手段とをさらに含む場合に、記録媒体検知手段が記録媒体は樹脂シートまたはコート紙であると検知すると、搬送速度制御手段が、搬送手段による記録媒体の搬送速度を、記録媒体が普通紙である場合よりも遅い速度に制御することによって、定着液付与時に、記録媒体上で定着液が移動または流動するのを一層防止できる。その結果、トナーの流動、凝集などが一層起こり難くなる。
本発明によれば、加熱手段によりトナー像を構成するトナーのガラス転移点よりも高い温度(たとえばガラス転移点よりも5〜10℃高い温度)に加熱すると、定着液と加熱との相乗作用によって、トナーが速やかに軟化してトナー同士およびトナーと記録媒体との付着力が増加する。その結果、定着液付与時に、定着液の流動に伴うトナーの流動、凝集などをさらに確実に防止できる。なお、熱定着方式において、トナーのガラス転移点よりも5〜10℃程度高い温度で加熱しても、トナー像を記録媒体に連続的にかつ円滑に定着できない。
本発明によれば、加熱手段によりトナー像を構成するトナーの軟化点よりも高い温度(たとえばトナーの軟化点よりも5〜10℃高い温度)に加熱すると、定着液と加熱との相乗作用によって、トナーが速やかに軟化してトナー同士およびトナーと記録媒体との付着力が増加する。その結果、定着液付与時に、定着液によるトナーの流動、凝集などを一層確実に防止できる。
本発明によれば、記録媒体の少なくともトナー像形成領域を加熱しかつ少なくとも該領域に定着液を付与するように構成することによって、定着液付与によるトナーおよび記録媒体の温度低下を補う熱量を、定着液付与の瞬間にその場で供給できる。その結果、定着液付与直後のトナー、記録媒体および定着液の温度が、非加熱下で定着液を付与するのに比べて高くなるので、付与直後の定着液のトナー像への拡散・浸透が早くなり、トナーの膨潤・軟化が瞬時にかつ広範囲に生じて短時間でトナー像を記録媒体に定着でき、該トナー像は記録媒体に対して充分な付着力を有する。さらに、付与後の定着液の温度を上昇させることによって、定着液を短時間で乾燥できる。
本発明によれば、記録媒体へ付与する前の定着液を保温する定着液保温手段を設けることによって、定着液の付与によるトナーの温度低下を一層防止できる。すなわち、定着液中の成分が揮発し難い程度の温度に定着液を保温することによって、トナーに対する定着液付与と加熱との相乗作用が一層高効率で発揮され、トナー像の記録媒体への転写定着を円滑にかつ連続的に行い得る。
本発明によれば、定着液が有機溶剤および水のほかにさらに接着剤を含むことによって、トナー同士およびトナーと記録媒体との付着力が一層高まるので、トナー像を記録媒体に一層安定的に定着できる。
本発明によれば、トナーとして、ポリエステルとポリエステルよりもガラス転移点の低いワックスとを含むものを用いるのが好ましい。ポリエステルは定着液に含まれる有機溶剤によって膨潤・軟化し易く、膨潤・軟化状態で透明化する。このため、何色かのトナー像を重ね合わせて形成されるカラートナー像を定着液によって定着させると、ポリエステルは透明化して着色剤のみが鮮明化する減法混色が起こり、鮮やかな発色を有する定着画像が得られる。また、結着樹脂よりもガラス転移点が低いワックスは加熱によって容易に軟化するので、トナーのガラス転移点よりも低温でもトナー同士およびトナーと記録媒体との付着力が増加する。このため、定着液付与時におけるトナーの流れ、凝集などの発生をより一層確実に防止できる。さらに、ワックスが軟化し、ワックスの存在箇所からトナー粒子内部に定着液が浸透し易くなるので、定着液付与時にトナー全体が短時間で膨潤軟化し、記録媒体への転写時に充分な付着力でトナー像を定着できるとともに、トナー像の重ね合わせによる充分な発色を得ることができる。
本発明によれば、本発明の画像形成装置で用いるトナーとして、体積平均粒子が2〜7μmのトナーを用いることによって、発色の良好な定着画像が得られる。また、OHPシートの定着画像についても、オーバーヘッドプロジェクタに装着した際の透過画像が明るくなる。
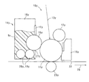
図1は、本発明の実施の第1形態である画像形成装置1の構成を模式的に示す断面図である。図2は、図1に示す画像形成装置1の要部(後述のトナー像形成手段2)の構成を拡大して示す断面図である。図3は、図1に示す画像形成装置1の要部(後述の転写手段4、定着液付与手段5の一部、搬送手段6および定着手段7)の構成を拡大して示す断面図である。図4は、後述の定着ローラ40の構成を模式的に示す断面図である。画像形成装置1は、イエロー、マゼンタ、シアンおよびブラックの4色のトナー像を順次重ね合わせて転写するタンデム構成の電子写真方式の画像形成装置である。画像形成装置1は、トナー像形成手段2と、中間転写手段3と、転写手段4と、定着液付与手段5と、搬送手段6と、定着手段7と、記録媒体供給手段8と、記録媒体検知手段50と、図示しない定着液制御手段および搬送速度制御手段とを含む。
トナー像形成手段2は、作像ユニット10y,10m,10c,10bを含む。作像ユニット10y,10m,10c,10bは、後述する中間転写ベルト22の回転駆動方向(副走査方向)、すなわち矢符28の方向の上流側からこの順番に一列に配置され、デジタル信号などとして入力される各色の画像情報に対応する静電潜像を形成し、該静電潜像に対応する色のトナーを供給し、現像して各色のトナー像を形成する。すなわち、作像ユニット10yはイエローの画像情報に対応するトナー像を形成し、作像ユニット10mはマゼンタの画像情報に対応するトナー像を形成し、作像ユニット10cはシアンの画像情報に対応するトナー像を形成し、作像ユニット10bはブラックの画像情報に対応するトナー像を形成する。作像ユニット10yは、感光体ドラム11yと、帯電ローラ12yと、光走査ユニット13と、現像装置14yと、ドラムクリーナ15yとを含む。
感光体ドラム11yは、図示しない駆動手段によって軸線回りに回転駆動可能に支持され、その表面に静電潜像ひいてはトナー像が形成される感光層を有するローラ状部材である。感光体ドラム11yとしては、たとえば、図示しない導電性基体と、導電性基体表面に形成される感光層とを含むものが挙げられる。導電性基体には、円筒状、円柱状、シート状などの導電性基体を使用でき、その中でも円筒状導電性基体が好ましい。感光層には、たとえば、有機感光層、無機感光層などを使用できる。有機感光層としては、電荷発生物質を含む樹脂層と電荷輸送物質を含む樹脂層との積層体、1つの樹脂層中に電荷発生物質と電荷輸送物質とを含む樹脂層などが挙げられる。無機感光層としては、酸化亜鉛、セレン、アモルファスシリコンなどから選ばれる1種または2種以上を含む層が挙げられる。導電性基体と感光層との間には、下地層を介在させてもよく、感光層の表面には主に感光層を保護するための表面層を設けてもよい。本実施の形態では、導電性基体であり、接地電位(GND)に接続されるアルミニウム素管と、アルミニウム素管の表面に形成される厚さ20μmの有機感光層とを含み、直径30mmの感光体ドラムを使用する。有機感光層は電荷発生層と電荷輸送層との積層体として形成される。また本実施の形態では、感光体ドラム11yは、時計回りの方向に周速度100mm/sで回転駆動する。
帯電ローラ12yは、図示しない駆動手段によって軸線回りに回転駆動可能に支持され、感光体ドラム11yの表面を所定の極性および電位に帯電させるローラ状部材である。帯電ローラ12yには図示しない電源が接続され、該電源から電圧の印加を受けることによって、感光体ドラム11y表面を帯電させる。本実施の形態では、帯電ローラ12yによって、感光体ドラム11y表面が−600Vに帯電される。帯電ローラ12yに代えて、ブラシ型帯電器、チャージャー型帯電器、スコロトロンなどのコロナ帯電器などを使用できる。
光走査ユニット13は、帯電ローラ12yによって帯電された感光体ドラム11y表面に、イエローの画像情報に対応する信号光13yを照射し、感光体ドラム11y表面にイエローの画像情報に対応する静電潜像を形成する。光走査ユニット13には、半導体レーザなどを使用できる。本実施の形態では、−600Vに帯電した感光体ドラム11y表面に、露光電位−70Vの静電潜像を形成する。
現像装置14yは、現像ローラ16yと、現像ブレード17yと、現像槽18yと、撹拌ローラ19y,20yとを含む。現像ローラ16yは、その表面にイエロートナー9yを担持し、このイエロートナー9yを、現像ローラ16yと感光体ドラム11yとの最近接部(現像ニップ部)において、感光体ドラム11y表面の静電潜像に供給する。現像ローラ16yは、現像槽18y内に収容され、現像槽18yの感光体ドラム11yを臨む面に形成される開口部21yからその一部が外方に向けて突出し、感光体ドラム11yと圧接しかつ軸線回りに回転駆動可能に設けられ、図示しない固定磁極を内包するローラ状部材である。現像ローラ16yは、感光体ドラム11yと逆方向に回転駆動する。したがって、現像ニップ部において、現像ローラ16yと感光体ドラム11yとは同じ方向に回転駆動する。また、現像ローラ16yには図示しない電源が接続され、該電源から直流電圧(現像電圧)が印加される。これによって、現像ローラ16y表面のイエロートナー9yが静電潜像に円滑に供給される。本実施の形態では、現像ローラ16yは、感光体ドラム11yの周速度の1.5倍である150mm/sの周速度で回転する。また、現像ローラ16yには、−240Vの直流電圧が現像電位として印加される。現像ローラ16y表面のイエロートナー層が現像ニップ部において感光体ドラム11yと接触し、静電潜像にイエロートナー9yが供給される。現像ブレード17yは、一端が現像槽18yによって支持され、他端が現像ローラ16y表面に圧接するように設けられる板状部材であり、現像ローラ16y表面に担持されるイエロートナー層を均一化(層規制)する。現像槽18yは前記のように感光体ドラム11yを臨む面に開口部21yが形成され、内部空間を有する容器状部材である。現像槽18yは、その内部空間に現像ローラ16yと撹拌ローラ19y,20yとを内蔵し、かつイエロートナー9yを貯留する。現像槽18yには、イエロートナー9yの消費状況に応じて、図示しないトナーカートリッジからイエロートナー9yが補給される。本実施の形態では、イエロートナー9yは磁性キャリアと混合された2成分現像剤の形態で使用されるけれども、それに限定されず、イエロートナー9yのみを含む1成分現像剤の形態でも使用できる。撹拌ローラ19y,20yは、現像槽18yの内部空間において互いに圧接しかつ軸線回りに回転駆動可能に設けられるスクリュー状ローラ部材である。撹拌ローラ19yは、現像ローラ16yを臨み、現像ローラ16yと圧接するように設けられる。撹拌ローラ19y,20yは、それぞれの回転駆動によって、図示しないトナーカートリッジから現像槽18y内に補給されるイエロートナー9yと、予め現像槽18y内に充填される磁性キャリアとを混合して現像ローラ16yの周辺に送給する。本実施の形態では、感光体ドラム11y、現像ローラ16y、現像ブレード17yおよび撹拌ローラ19y,20yがそれぞれ圧接するように設けられるけれども、それに限定されず、感光体ドラム11yと現像ローラ16y、現像ローラ16yと現像ブレード17y、現像ローラ16yと撹拌ローラ19yおよび撹拌ローラ19yと撹拌ローラ20yとがそれぞれ間隙を有して離隔するように設けてもよい。
ドラムクリーナ15yは、後述のように、感光体ドラム11y表面のイエロートナー像を中間転写ベルト22に転写した後、感光体ドラム11y表面に残留するイエロートナー9yを除去、回収する。
作像ユニット10yによれば、帯電ローラ12yによって帯電状態にある感光体ドラム11yの表面に、光走査ユニット13からイエローの画像情報に対応する信号光13yを照射して静電潜像を形成し、該静電潜像に現像装置14yからイエロートナー9yを供給して該静電潜像を現像し、イエロートナー像を形成する。このイエロートナー像は、後述のように、感光体ドラム11y表面に圧接して矢符28の方向に回転駆動する中間転写ベルト22に転写される。感光体ドラム11y表面に残留するイエロートナー9yはドラムクリーナ15yによって除去され、回収される。この画像(トナー像)形成動作が繰返し実行される。作像ユニット10m,10c,10bは、イエロートナー9yに代えて、マゼンタトナー9m、シアントナー9cまたはブラックトナー9bを使用する以外は、作像ユニット10yに類似する構造を有するので、同一の参照符号を付し、かつ各参照符号の末尾にマゼンタを示す「m」、シアンを示す「c」およびブラックを示す「b」を付し、説明を省略する。
トナー9y,9m,9c,9b(以後特に断らない限り「トナー9」と総称する)は、結着樹脂、着色剤および離型剤を含有する。結着樹脂としては、後述する定着液30によって膨潤または軟化する樹脂であれば特に制限されず、たとえば、ポリスチレン、スチレンの置換体の単独重合体、スチレンおよびその置換体から選ばれる2種以上の共重合体であるスチレン系共重合体、ポリ塩化ビニル、ポリ酢酸ビニル、ポリエチレン、ポリプロピレン、ポリエステル、ポリウレタンなどが挙げられる。結着樹脂は1種を単独で使用できまたは2種以上を併用できる。これらの結着樹脂の中でも、カラートナー用としては、保存性、耐久性、定着液30による膨潤または軟化制御などの観点から、軟化点100〜150℃、ガラス転移点が50〜80℃の結着樹脂が好ましく、前記の軟化点およびガラス転移点を有するポリエステルが特に好ましい。ポリエステルは入手容易な有機溶剤によって膨潤・軟化し易く、膨潤・軟化状態で透明になる。結着樹脂が前記のポリエステルである場合は、イエロー、マゼンタ、シアンおよびブラックから選ばれる2種以上のトナー像が重ね合わされた多色トナー像を定着液30によって記録媒体Pに定着させると、ポリエステル自体は透明化するので、減法混色によって充分な発色が得られる。また、熱定着方式で使用されるトナーに含まれる結着樹脂よりも軟化点または分子量の高い樹脂を用いても、定着液30による定着が可能である。軟化点または分子量の高い樹脂を用いれば、現像の際の負荷による劣化が防止され、長期にわたって高画質画像が得られる。本実施の形態では、ガラス転移点60℃、軟化点120℃のポリエステルを用いる。
着色剤としては、従来から電子写真方式の画像形成に用いられるトナー用顔料および染料を使用できる。その中でも、定着液30の塗布によって、特にトナー像の記録媒体Pへの転写定着時に滲みなどが発生するのを防止するために、定着液30に溶解しない顔料が好ましい。顔料としては、たとえば、アゾ系顔料、ベンズイミダゾロン系顔料、キナクリドン系顔料、フタロシアニン系顔料、イソインドリノン系顔料、イソインドリン系顔料、ジオキサジン系顔料、アントラキノン系顔料、ペリレン系顔料、ぺリノン系顔料、チオインジゴ系顔料、キノフタロン系顔料、金属錯体系顔料などの有機系顔料、カーボンブラック、酸化チタン、モリブデンレッド、クロムイエロー、チタンイエロー、酸化クロムおよびベルリンブルーなどの無機系顔料、アルミニウム粉などの金属粉などが挙げられる。顔料は1種を単独で使用できまたは2種以上を併用できる。
離型剤としては、たとえば、ワックスを使用できる。ワックスとしてはこの分野で常用されるものを使用でき、その中でも、定着液30によって膨潤または軟化するものが好ましい。その具体例としては、たとえば、ポリエチレンワックス、ポリプロピレンワックス、パラフィンワックスなどが挙げられる。本実施の形態では、軟化点が50℃で、トナー9の結着樹脂よりも軟化点が低く、かつ軟化点が70℃である低分子ポリエチレンワックスを用いる。結着樹脂よりも軟化点の低いワックスを用いると、結着樹脂ひいてはトナー9の軟化点よりも低い温度下でワックスが軟化することによって、トナー同士およびトナー9の記録媒体Pへの付着力が増加する。したがって、定着液30のトナー像への付与時に、トナー9の流動、凝集などを防止できる。さらに、ワックスが軟化することによって、ワックスの存在箇所からトナー粒子内部に定着液30が浸透し易くなる。このため、定着液30の塗布時にトナー9全体が短時間で膨潤・軟化するので、記録媒体Pへの転写定着時に充分な定着強度が得られると同時に、トナー像の重ね合わせによる充分な発色が得られる。
トナー9は、結着樹脂、着色剤および離型剤のほかに、帯電制御剤、流動性向上剤、定着促進剤、導電材などの一般的なトナー添加剤の1種または2種以上を含有できる。トナー9は、着色剤、離型剤などを結着樹脂に分散して粉砕する粉砕法、着色剤、離型剤、結着樹脂のモノマーなどを均一に分散した後、結着樹脂のモノマーを重合させる重合法、結着樹脂粒子、着色剤、離型剤などを凝集剤の存在下に凝集させ、得られる凝集物を加熱する凝集法などの公知の方法に従って製造できる。なお、トナー9の形状は、表面積を大きくするために、完全球形よりは不定形の方が好ましい。これによって、定着液30と接触し易くなるので、定着液30の消費量を低減化し得ると同時に、トナー像の短時間での定着および乾燥が可能になる。トナー9の体積平均粒径は特に制限されないけれども、好ましくは2〜7μmである。このような小粒径トナーを用いると、トナー像の単位面積当りのトナー表面積が大きくなり、定着液30との接触面積が増加するので、トナー9を短時間で記録媒体Pに定着させ得る。短時間での定着は、定着液30の消費量の低減化にも寄与する。また、定着液30が速やかに乾燥するので、記録媒体Pにしわ、カールなどが発生することがない。また、トナー9の粒径が小さいほど、重量は同じ場合でも記録媒体Pに対する被覆率が向上するので、より少ない付着量で高画質画像を形成できる。すなわち、トナー消費量の低減化と高画質化とを両立できる。体積平均粒径が2μm未満では、流動性が低下し、現像動作におけるトナーの感光体ドラムへの供給、現像装置における撹拌、トナーの帯電などが不充分になる。その結果、トナー量の不足、逆極性トナーの増加などが起こり、現像時に高画質なトナー像が得られない。一方、体積平均粒径が7μmを超えると、トナー粒子の中心まで膨潤しにくい大粒径粒子の含有率が増加するので、定着画像の発色が悪くなると共に、OHPシートにおいては透過画像が暗くなる。
トナー9としては、たとえば、結着樹脂と顔料(着色剤)とワックス(離型剤)とを含み、トナーの軟化点100〜130℃、トナーのガラス転移点50〜80℃で、その体積平均粒子径が2〜7μmのものが好ましい。軟化点の高いトナー9は現像時の負荷に対しては高い耐久性を有するものの、熱定着では充分に定着および発色しない。しかしながら、このような高軟化点のトナーであっても、定着液30を用いた画像形成装置1であれば化学的にトナーを膨潤軟化する方式を採用するので、高品位定着画像の形成に好適に使用できる。本実施の形態では、トナー9としては、着色剤含有量がトナー9全量の12重量%、ワックス含有量がトナー9全量の7重量%および残部がポリエステル(結着樹脂、ガラス転移点60℃、軟化点120℃)からなり、体積平均粒径6μmの負帯電性の絶縁性非磁性トナーを用いる。このトナーを用いて所定の画像濃度(X−Rite社製310による反射濃度測定値が1.4)を得るには、単位面積当たり5g/mのトナー量が必要である。
中間転写手段3は、中間転写ベルト22と、中間転写ローラ23y,23m,23c,23bと、支持ローラ24,25,26と、ベルトクリーナ27とを含む。
中間転写ベルト22は、支持ローラ24,25,26によって張架されてループ状の移動経路を形成する無端ベルト状のトナー像担持手段であり、感光体ドラム11y,11m,11c,11bとほぼ同じ周速度で矢符28の方向に回転する。中間転写ベルト22としては、定着液30がその内部に浸透しない構成であれば特に制限されないけれども、たとえば、フィルム状基材と、フィルム状基材の表面に形成される弾性樹脂層と、弾性樹脂層の表面に形成されるフッ素樹脂含有被覆層とを含む積層体、フィルム状基材とその表面に形成されるフッ素樹脂含有被覆層との積層体などが挙げられる。被覆層表面がトナー像担持面22aになる。フィルム状基材には、たとえば、ポリイミド、ポリカーボネートなどの樹脂材料、フッ素ゴムなどのゴム材料をフィルム状に成形したものを使用できる。フッ素樹脂被覆層は、PTFE(ポリテトラフルオロエチレン)、PFA(テトラフルオロエチレンとパーフルオロアルキルビニルエーテルとの共重合体)、これらの混合物などのフッ素樹脂を含んで構成される。フィルム状基材、弾性樹脂層およびフッ素樹脂含有被覆層の1または2以上には、中間転写ベルト22としての電気抵抗値を調整するために、導電材が配合されてもよい。導電材としては、たとえば、ファーネスブラック、サーマルブラック、チャネルブラック、グラファイトカーボンなどが挙げられる。中間転写ベルト22はベルト形態に限定されず、たとえば、ドラム形態に形成することもできる。本実施の形態では、厚さ100μmのポリイミドフィルムからなる基材層に、PTFEおよびPFAを8:2(重量比)の割合で含むフッ素樹脂組成物からなる厚さ20μmの被覆層を積層し、各層に中間転写ベルトとしての適正な電気抵抗値を有するようにカーボンブラックを配合したベルト状の中間転写ベルト22を使用する。中間転写ベルト22のトナー像担持面22aは、その回転方向(矢符28の方向)上流側から、感光体ドラム11y,11m,11c,11bにこの順番で圧接する。中間転写ベルト22の感光体ドラム11y,11m,11c,11bに圧接する位置が、各色トナー像の中間転写ベルト22への転写位置(中間転写ニップ部)である。本実施の形態では中間転写ベルト22は、感光体ドラム11y,11m,11c,11bとほぼ同じ周速度で矢符28の方向に回転駆動する。
中間転写ローラ23y,23m,23c,23bは、それぞれ、中間転写ベルト22を介して感光体ドラム11y,11m,11c,11bに対向してトナー像担持面22aの反対面に圧接し、かつ図示しない駆動手段によってその軸線回りに回転駆動可能に設けられるローラ状部材である。中間転写ローラ23y,23m,23c,23bには、たとえば、金属製軸体と、該金属製軸体の表面に被覆される導電性層とを含むローラ状部材が用いられる。軸体は、たとえば、ステンレス鋼などの金属から形成される。軸体の直径は特に制限されないけれども、好ましくは8〜10mmである。導電性層は中間転写ベルト22に高電圧を均一に印加するためのものであり、たとえば、導電性弾性体から形成される。導電性弾性体としてはこの分野で常用されるものを使用でき、たとえば、エチレン・プロピレン・ジエンゴム(EPDM)、発泡EPDM、発泡ウレタンなどのマトリックス中にカーボンブラックなどの導電材を分散させた導電性弾性体が挙げられる。中間転写ローラ23y,23m,23c,23bには、感光体ドラム11y,11m,11c,11bの表面に形成されるトナー像を中間転写ベルト22上に転写するために、トナーの帯電極性とは逆極性の中間転写バイアスが定電圧制御によって印加される。これによって、感光体ドラム11y,11m,11c,11bに形成されるイエロー、マゼンタ、シアンおよびブラックのトナー像が中間転写ベルト22のトナー像担持面22aにおける中間転写ニップ部に順次重ね合わさって転写され、多色トナー像が形成される。ただし、イエロー、マゼンタ、シアンおよびブラックの一部のみの画像情報が入力される場合は、作像ユニット10y,10m,10c,10bのうち、入力される画像情報の色に対応する作像ユニットのみにおいてトナー像が形成される。
支持ローラ24,25,26は、図示しない駆動手段によって軸心回りに回転駆動可能に設けられ、中間転写ベルト22を張架して矢符28の方向に回転駆動させる。支持ローラ24,25,26には、たとえば、直径30mmおよび肉厚1mmのアルミニウム製パイプ状ローラが用いられる。支持ローラ25は電気的に接地される。なお、支持ローラ25は後述するように転写手段4としての機能をも有する。
ベルトクリーナ27は、中間転写ベルト22のトナー像担持面22a上のトナー像を後述の転写手段4において記録媒体Pに転写した後、トナー像担持面22aに残存するトナーを除去する部材である。ベルトクリーナ27は、クリーニングブレード27aと、トナー容器27bとを含む。クリーニングブレード27aは、中間転写ベルト22を介して支持ローラ26に対向しかつ図示しない加圧手段によってトナー像担持面22aに圧接するように設けられ、トナー像担持面22a上の残存トナー、紙粉などを掻き取る板状部材である。クリーニングブレード27aには、たとえば、ウレタンゴムなどのゴム材料からなるブレードを使用できる。トナー容器27bは、クリーニングブレード27aによって掻き取られた残存トナー、オフセットトナー、紙粉などを貯留する。
中間転写手段3によれば、感光体ドラム11y,11m,11c,11b上に形成される各色トナー像が、中間転写ベルト22のトナー像担持面22aの中間転写ニップ部に重ね合わされて転写され、トナー像が形成される。このトナー像が転写手段4によって記録媒体Pへ転写された後、中間転写ベルト22のトナー像担持面22a上に残留するトナーなどがベルトクリーナ27によって除去され、トナー像担持面22aには引き続きトナー像が転写される。
転写手段4は、支持ローラ25と転写ローラ29とを含む。転写ローラ29は、中間転写ベルト22を介して支持ローラ25に圧接し、かつ軸線方向に回転駆動可能に設けられ、主に加圧ローラとして機能するローラ状部材である。転写ローラ29にはこの分野で常用されるものを使用できるけれども、本実施の形態では、直径10mmの芯金表面に、カーボンブラックを含む厚さ4mmのウレタンゴム層を設けたローラ状部材が用いられる。また本実施の形態では、転写ローラ29は1N/cmの線圧で支持ローラ25に押圧される。また本実施の形態では、転写ローラ29の芯金には、トナー像の記録媒体Pへの転写時に、+1kVの転写バイアス電圧が印加される。転写手段4によれば、支持ローラ25と転写ローラ29との圧接部(転写ニップ部)に、膨潤・軟化状態にあるトナー像が搬送されると、それに同期して、後述する記録媒体供給手段8から記録媒体Pが送給され、中間転写ベルト22上のトナー像が記録媒体Pの表面に押圧されて転写され、記録媒体P表面にトナー像が担持される。
定着液付与手段5は、定着液供給手段31と、定着液貯留槽32と、供給管33と、定着ローラ40とを含む。なお、定着ローラ40は、定着液付与手段5において記録媒体Pに定着液30を接触付与するローラ状部材として用いられるとともに、後述の定着手段7においてトナー像を記録媒体Pに定着させるためのローラ状部材として用いられる。
定着液供給手段31は、定着液槽31aと、供給ローラ31bとを含む。定着液槽31aは内部空間を有する容器状部材であり、供給ローラ31bおよび定着液30を収容する。定着液槽31aの定着ローラ40を臨む側面には、開口31cが形成される。供給ローラ31bは、その一部が定着液槽31の開口31cから外方に向けて突出して定着ローラ40表面に圧接し、かつ別の一部が定着液槽31a内に収容される定着液30に浸漬するように設けられるローラ状部材である。また、供給ローラ31bは、軸線回りに回転駆動可能に支持され、定着ローラ40の回転駆動に伴って従動回転する。このような構成を有することによって、供給ローラ31bは、定着液槽31aの内部空間に収容される定着液30をその表面に担持し、定着ローラ40との圧接部分において定着ローラ40表面に定着液30を付与する。供給ローラ31bには、たとえば、金属製芯金と、金属製芯金の表面に形成されかつ定着液30に含まれる後述の溶媒成分との親和性に優れる材料からなる被覆層とを含むローラ状部材が用いられる。定着液30の溶媒成分との親和性に優れる材料としては、たとえば、シリコーンゴム、フッ素ゴム、ウレタンゴムなどが挙げられる。これらの中でも、表面エネルギーが小さく、トナー9が付着し難いことから、シリコーンゴム、フッ素ゴムなどが好ましい。定着液供給手段31によれば、定着ローラ40の表面に定着液30を供給する。
定着液貯留槽32は内部空間を有する容器状部材であり、その内部空間に定着液30を貯留する。定着液貯留槽32は、画像形成装置1内部に据え置き型として設置し、定着液30が消費された時点で、定着液貯留槽32に形成される図示しない定着液補給口から定着液30を補充する方式を採ってもよい。また、定着液貯留槽32を画像形成装置1から脱着可能なカートリッジ形式に構成し、定着液30が消費された時点で新しい定着液貯留槽32と交換する方式を採ってもよい。
定着液貯留槽32の内部に貯留される定着液30としては、トナー9に含まれる結着樹脂、離型剤などを膨潤・軟化させ得る溶媒成分を含む従来から公知のものをいずれも使用でき、その中でも1または2種以上の有機溶剤と水とを含むものが好ましい。ここで有機溶剤としては、結着樹脂、離型剤などを膨潤・軟化させることができかつ水に溶解または分散可能なものを使用でき、たとえば、ハイドロフルオロエーテル類、ハイドロフルオロエーテル類とそれ以外の有機溶剤(以後「補助溶剤」と称す)との混合物などが挙げられる。ハイドロフルオロエーテル類は表面張力および粘度が小さいので、トナー粒子間、トナー9と記録媒体Pとの間などにも浸透する。このため、補助溶剤との混合物である場合には、補助溶剤がトナー9同士の界面、トナー9と記録媒体との接触面などに運ばれ、瞬時にトナー9を膨潤・軟化させ得る。また、ハイドロフルオロエーテル類は蒸発潜熱が小さいので、室温でも短時間で乾燥する。ハイドロフルオロエーテル類としては、たとえば、メチルノナフルオロブチルエーテル、メチルノナフルオロイソブチルエーテル(COCH)、エチルノナフルオロブチルエーテル、エチルノナフルオロイソブチルエーテル(COC)、1,1,2,2−テトラフルオロエチル−2,2,2−トリフルオロエチルエーテル(CHFCFOCHCF)などが挙げられる。ハイドロフルオロエーテル類は1種を単独で使用できまたは2種以上を併用できる。ハイドロフルオロエーテル類の含有量は特に制限されないけれど、好ましくは定着液30全量の50〜95重量%、さらに好ましくは60〜90重量%である。ハイドロフルオロエーテル類の含有量が50重量%未満では、定着液30としての浸透力が小さくなり、トナー像を構成するトナー量が多い場合に、表面のトナーのみが膨潤軟化し、トナー像とトナー担持体である記録媒体Pとの接触面に存在するトナーが充分に膨潤・軟化しない。このため、トナー像の記録媒体Pに対する付着力が低下し、記録媒体Pに強固に定着した画像が得られない。ハイドロフルオロエーテル類が90%を越えると、トナー3の膨潤、軟化作用が弱くなって、十分な定着強度が得られない。
補助溶剤としては、たとえば、アルコール類(メタノール、エタノール、プロパノール、イソプロパノール、ブタノールなど)、ケトン類(アセトン、メチルエチルケトン、メチルブチルケトン、メチルイソブチルケトン、ジエチルケトンなど)、エーテル類(メチルエチルエーテル、ジエチルエーテル、メチルブチルエーテル、メチルイソブチルエーテルン、ジメチルエーテルなど)、カルボン酸(ギ酸、酢酸、プロピオン酸、酪酸など)と低級アルコール(メタノール、エタノール、プロパノールなど)とのエステル類などが挙げられる。この中でも、エーテル類およびエステル類が好ましく、エステル類が特に好ましい。エステル類の中ではジエチルエーテルが特に好ましい。エステル類の中では酢酸エチル、酢酸メチル、ギ酸エチル、ギ酸メチルなどが好ましく、酢酸エチルが特に好ましい。これらの補助溶剤は常温で揮発するとともに、ポリエステルを初めとするトナー9の結着樹脂を膨潤軟化する作用に優れる。補助溶剤は1種を単独で使用できまたは2種以上を併用できる。ハイドロフルオロエーテル類と補助溶剤との使用割合は特に制限されないけれども、ハイドロフルオロエーテル類100重量部に対して、補助溶剤を1〜100重量部使用するのが好ましい。また、補助溶剤の定着液30における含有量は、前記したハイドロフルオロエーテル類との使用割合を満たした上で、好ましくは定着液30全量の5重量%以上、さらに好ましくは10重量%以上である。水は、有機溶剤または有機溶剤と補助溶剤の使用量に対し、全量が100になる残部量を使用する。
定着液30は、水および有機溶剤のほかに、界面活性剤、分散助剤などを含有できる。界面活性剤は、たとえば、有機溶剤の定着液30中での分散性を向上させ、トナー9と定着液30との濡れ性を向上させる。界面活性剤としては、ラウリル硫酸エステルナトリウム塩などの高級アルコール硫酸エステル塩、オレイン酸ナトリウムなどの高級脂肪酸金属塩、脂肪酸誘導体硫酸エステル塩、リン酸エステルなどの陰イオン(アニオン)界面活性剤、四級アンモニウム塩、複素環アミンなどの陽イオン(カチオン)界面活性剤、アミノ酸エステル、アミノ酸などの両性イオン(ノニオン)界面活性剤、非イオン性界面活性剤、ポリオキシアルキレンアルキルエーテル、ポリオキシエチレンアルキルアミンなどが挙げられる。界面活性剤は1種を単独で使用できまたは2種以上を併用できる。分散助剤としては、たとえば、ジエチレングリコール、トリエチレングリコール、ポリエチレングリコール、モノブチルエーテル、ジエチレングリコールモノメチルエーテルなどのカップリング剤が挙げられる。分散助剤は1種を単独で使用できまたは2種以上を併用できる。さらに、定着液30は接着剤を含むことができる。接着剤としては、定着液30に溶解または分散し得るものであれば特に制限されず、たとえば、クロロプレンゴム、ニトリルゴム、SBRゴムなどの高分子エラストマーを主成分とするゴム系接着剤、酢酸ビニル、EVA、アクリル樹脂などの合成樹脂を水中に均一に分散させたエマルジョン接着剤などが挙げられる。これによって、トナー9と記録媒体Pとの付着力が、トナーの膨潤・軟化だけでなく、接着剤によっても付与されるので、トナー9と記録媒体Pとの付着力を向上させることができ、トナー像の記録媒体Pへの定着強度を増加させることができる。
供給管33は、一端が定着液供給手段31に接続され、他端が定着液貯留槽32に接続され、定着液貯留槽32内の定着液30を定着液槽31aに供給するパイプ状部材である。供給管33上には図示しない定着液補給手段が設けられる。定着液30の補給は、たとえば、定着液槽31aに設けられる図示しない液量検知手段による定着液30の残量の検知結果に応じて行われる。液量検知手段の検知結果は、画像形成装置1の全動作を制御する図示しないCPU(Central Processing Unit)の記憶部に入力される。CPUの演算部は、記憶部に予め入力される定着液の補給が必要な液量と、液量検知手段の検知結果とを記憶部から取り出して比較し、現在の残量が定着液30の補給が必要な液量よりも少ないと判断した場合に、制御信号を定着液補給手段に送り、定着液30の定着液供給手段31への補給を行う。定着液30の補給は、たとえば、液量検知手段による検知結果に応じて、CPUが定着液供給手段31の内部に所定量の定着液30が充填されたと判断した場合に、CPUは定着液補給手段に送り、定着液30の補給を停止する。定着液補給手段には、たとえば、電磁式バルブなどを使用できる。
本実施の形態では、定着液供給手段31、定着液貯留槽32および供給管33の少なくとも1つの部材の内部および/または周辺に、図示しない定着液保温手段を設けることができる。定着液保温手段は、定着液30の液温を、室温より高く、かつ定着液30に含まれる有機溶剤などの成分の揮発が著しく進行しない程度の温度に保持することを目的とするものであり、具体的には各種ヒータなどの一般的な加熱手段が用いられる。定着液保温手段による加熱は、たとえば、定着液30の組成に応じて保温温度を予め設定した上で、定着液供給手段31、定着液貯留槽32または供給管33に設けられる図示しない温度センサによる検知結果に応じて、図示しないCPUによって制御される。
定着ローラ40は、図示しない駆動手段によって軸心回りに回転駆動可能に支持され、加圧ローラ44に圧接するように設けられるローラ状部材であり、芯金41と、芯金41の表面に形成される弾性層42と、弾性層42の表面に形成される表層43とを含む。弾性層42は弾性材料によって構成され、弾性材料は好ましくはゴム材料であり、特に好ましくは定着液30によって膨潤しないゴム材料である。膨潤しないゴム材料を用いると、定着ローラ40の外径が不変に保持されるので、定着ローラ40と加圧ローラ44との圧接部(定着ニップ部)における記録媒体Pの搬送速度をほぼ一定に維持できる。定着液30によって膨潤しないゴム材料としては、たとえば、エチレン−プロピレンゴム(EPDM)、ブチルゴム、ニトリルゴム、クロロプレンゴム、スチレンブタジエンゴムなどが挙げられる。表層43は合成樹脂、好ましくはフッ素樹脂によって構成される。フッ素樹脂としては、たとえば、PTFE(ポリテトラフルオロエチレン)、PFA(テトラフルオロエチレン・パーフルオロアルキルビニルエーテル共重合体)、FEP(テトラフルオロエチレン・ヘキサフルオロプロピレン共重合体)、ETFE(テトラフルオロエチレン・エチレン共重合体)、PVDF(ポリビニリデンフルオライド)、PCTFE(ポリクロロトリフルオロエチレン)、これらの2種以上の混合物などが挙げられる。本実施の形態では、芯金41の表面に硬度20度(JIS−A)のEPDMゴムからなる厚さ3mmの弾性層42を形成し、弾性層42の表面にPAFからなる厚さ80μmの表層43を形成してなる外径30mmの定着ローラ40を用いる。
定着液付与手段5によれば、定着液貯留槽32内に貯留される定着液30を、供給管33を介して定着液供給手段31の定着液槽31aに供給し、この定着液30を定着液供給ローラ31b表面に付着させる。定着液供給ローラ31bは、定着ローラ40との圧接部において定着液30を定着ローラ40表面に付着させる。定着ローラ40は、後述するように、定着ローラ40と加圧ローラ44との圧接部において記録媒体Pに定着液30を接触付与する。
搬送手段6は、搬送ベルト34と、駆動ローラ35と、テンションローラ37と、温度センサ38とを含む。搬送ベルト34は、駆動ローラ35とテンションローラ37との間に張架されてループ状の搬送経路を形成する無端ベルトであり、転写手段4によって転写されたトナー像を担持する記録媒体Pを加熱下に矢符39の方向すなわち定着手段7に向けて搬送する。搬送ベルト34には、たとえば、導電剤を添加して導電性を付与した厚さ100μmのポリイミドフィルムの少なくとも記録媒体搬送面に、PTFEからなる厚さ10μmの被覆層を設けたものを使用できる。駆動ローラ35は、図示しない駆動手段により、軸線回りに回転駆動可能に設けられるローラ状部材である。駆動ローラ35には、たとえば、アルミニウムなどの金属からなる中空ローラを使用できる。駆動ローラ35の内部には、加熱手段36が設けられる。加熱手段36は、後述する図示しない制御手段によって、駆動ローラ35に張架される搬送ベルト34の温度をほぼ一定に保持する。この搬送ベルト34に搬送されるトナー像担持記録媒体Pは、搬送ベルト34によって間接的に加熱される。トナー像担持記録媒体Pは熱容量が小さいので、少ない熱量で所望の温度に加熱することができ、消費電力量の増大を招くことがない。加熱状態にあるトナー像担持記録媒体Pに定着液30を付与すると、付与直後の定着液30の拡散、浸透が早まるので、トナー9の定着液30による膨潤・軟化が瞬時にかつ広範囲に生じ、トナー9の流動、凝集などを防止できるので、定着強度の高い高画質画像が得られる。また、トナー像担持記録媒体Pとの接触によって、定着液30の液温が上昇するので、余分な定着液30を短時間で乾燥させることができる。したがって、画像形成装置1の単位時間当たりの出力枚数であるスループットを向上させ得る。を加熱する加熱手段36には、たとえば、ハロゲンランプ、赤外線ヒータなどの非接触加熱方式の加熱ヒータ、ローラ状、板状などの加熱手段を使用できる。また、本実施の形態では、加熱手段36にハロゲンランプを用い、搬送ベルト34の温度は70℃に保持され、記録媒体P上のトナー像はトナー9のガラス転移点である60℃よりも若干低い56℃程度に加熱される。テンションローラ37は、搬送ベルト34が弛まないように、搬送ベルト34に所定の張力を付与する。テンションローラ37には、たとえば、金属製軸体と、金属製軸体の表面に形成される被覆層とを含んで構成される。また、金属製軸体のみからなるものでもよい。金属製軸体の材料には、たとえば、ステンレス鋼が使用され、被覆層の材料にはたとえばフッ素ゴムが使用される。温度センサ38は、搬送ベルト34の搬送方向(矢符39の方向)の、駆動ローラ35よりも下流側における、搬送ベルト34のトナー像担持記録媒体Pの搬送面とは反対側の面近傍に設けられる。温度センサ38による検知結果は、CPU(不図示)の記憶部に入力される。CPUの演算部は、記憶部に予め入力される搬送ベルト34の設定温度と温度センサ38による検知結果とを記憶部から取り出して両者を比較し、検知結果が設定温度よりも低いと判定した場合には、判定結果に応じて制御信号を図示しない加熱手段36の電源に送り、電源から加熱手段36に必要量の電圧を印加することによって、加熱手段36が発熱する。このようにして、搬送ベルト34の温度がほぼ一定に保持される。
本実施の形態では、搬送ベルト34の温度を70℃とし、定着液30が付与される定着手段7に搬送されるトナー像の温度を、トナー9のガラス転移点(60℃)よりも低い温度とするけれども、それに限定されず、搬送ベルト34の温度を80℃とし、定着手段7に搬送されるトナー像の温度を、トナー9のガラス転移点(60℃)よりも高い温度としてもよい。これによって、定着液30を付与する前にトナー9が軟化し、トナー9同士およびトナー9と記録媒体Pとの付着力が増加し、定着液付与時に、定着液30の付与によるトナーの流動、凝集などを防止できる。また、搬送ベルト34の温度を140℃とし、定着手段7に搬送されるトナー像の温度を、トナー9の軟化点(120℃)よりも高い温度とすることが好ましい。これによって、トナー9が充分軟化してトナー9同士およびトナー9と記録媒体Pとの付着力がさらに増加し、定着液付与時の定着液30によるトナーの流動、凝集などを一層確実に防止できる。搬送手段6によれば、転写手段6によってトナー像が転写された記録媒体Pに対し、設定温度に加熱しながら定着液30を付与することによって、トナー像を構成するトナーを充分に膨潤・軟化させた後、このトナー像担持記録媒体Pを定着手段7に送給する。
定着手段7は、定着ローラ40と、加圧ローラ44と、排紙ローラ45とを含む。定着ローラ40については前述のとおりである。加圧ローラ44は、定着ローラ40の回転に従動回転可能に支持され、定着ローラ40に圧接するように設けられるローラ状部材であり、定着ローラ40と同様に芯金と弾性層と表層とを含む。芯金、弾性層および表層の形成に用いられる材料も、定着ローラ40と同様である。本実施の形態では、芯金の表面に硬度50度(JIS−A)のEPDMゴムからなる厚さ3mmの弾性層を形成し、弾性層の表面にPAFからなる厚さ80μmの表層を形成してなる外径30mmの加圧ローラ44を用いる。また、本実施の形態では、加圧ローラ44は、定着ローラ40に対して10N/cmの押圧力で圧接する。搬送手段6によって加熱されたトナー9からなるトナー像を担持する記録媒体Pが定着ローラ40と加圧ローラ44との圧接部(定着ニップ部)を通過する際に、定着ローラ40によって記録媒体P上のトナー像に定着液30が付与され、トナー像を構成するトナー9が膨潤・軟化する。それとともに、トナー像が定着ローラ40と加圧ローラ44とによって記録媒体Pに押圧され、記録媒体Pに画像として定着される。排紙ローラ45は、定着ローラ40と加圧ローラ44との定着ニップ部から搬送される画像定着済記録媒体Pを画像形成装置1の外部側面に設けられる排紙トレイ49に排出する一対のローラ状部材である。これら一対のローラは互いに圧接するように設けられ、それぞれの軸線方向に回転駆動可能に支持される。定着手段7によれば、トナー像を担持する記録媒体Pが定着ニップ部を通過することによって、トナー像に定着液30の接触付与と加圧とが施され、トナー像は画像として記録媒体Pに定着され、排紙ローラ45を介してトレイ49に排出される。定着手段7において、定着液30の付与と加圧とを同時に行うことによって、定着強度、画質などを一層向上させ得る。
記録媒体供給手段8は、記録媒体Pを貯留する記録媒体カセット46と、記録媒体Pを搬送路に1枚ずつ送給するピックアップローラ47と、中間転写ベルト22上のトナー像が転写ニップ部に搬送されるのに同期して、該ニップ部に記録媒体Pを送給する1対のレジストローラ48とを含んで構成される。記録媒体供給手段8によれば、記録媒体カセット46内に貯留される記録媒体Pが、ピックアップローラ47により1枚ずつ搬送路に送給され、さらに、レジストローラ48によって転写ニップ部に送給され、トナー像を転写される。
記録媒体検知手段50は、記録媒体供給手段8におけるピックアップローラ47とレジストローラ48との間の記録媒体搬送路近傍に設けられ、記録媒体Pの種類を検知し、その検知結果を図示しないCPUの記憶部に入力する。また、画像形成装置1の図示しない上面部分に設けられる図示しない操作パネルにおいて、記録媒体Pの種類を指定する領域を設け、使用者によって記録媒体Pの種類を指定してCPUに入力する構成としてもよい。また、画像形成装置1に接続される外部情報端末機器からCPUに入力される画像情報の中から、CPUが記録媒体Pの種類に関する情報を取り出す形で記録媒体Pの種類を検知しても良い。記録媒体Pの種類とは、記録媒体Pの材質、厚み、マーキングなどである。画像形成装置1では、記録媒体検知手段50による検知結果に応じて、定着液制御手段として機能するCPUがトナー像担持記録媒体Pへの定着液付与量を制御する。本実施の形態では、記録媒体検知手段50として紙厚検知センサを用いる。紙厚検知センサには、反射型フォトセンサ、記録媒体PにLEDなどの光を照射して反射光量から厚み、材質などを検知するセンサなどの光センサ、記録媒体Pに施されるマーキングを読み取って記録媒体Pの材質、厚みなどを検知するマーキングセンサ、超音波センサなどが用いられる。本実施の形態では、記録媒体検知手段50は、前述のように記録媒体供給手段8におけるピックアップローラ47とレジストローラ48との間の記録媒体搬送路近傍に設けられるけれども、それに限定されず、転写ニップ部とレジストローラ48との間の記録媒体搬送路近傍、搬送ベルト34の記録媒体Pの載置部分近傍などに設けてもよい。
図示しないCPUは、定着液制御手段として機能する。定着液付与量は、記録媒体検知手段50によって記録媒体Pの厚みを検知する場合においては、たとえば、次のようにして制御される。記録媒体Pには、たとえば、普通紙、カラーコピー用紙、OHPシート、コート紙などがあり、厚みは多種多様である。記録媒体Pの厚みおよび材質に応じて、定着液30の記録媒体Pへの染込み量、染込み速度などが異なる。たとえば、厚みが小さいと定着液付与量を少なくでき、厚みが大きいと定着液付与量を増加させることが必要である。したがって、記録媒体Pの厚みおよび材質に応じて適切な定着液付与量を決定し、その値をデータテーブルとしてCPUの記憶部に予め入力する。たとえば、普通紙への定着液付与量は、厚み約0.09mmの一般的な普通紙では約2.5mg/cm、厚み約0.07mmの薄紙では約0.5mg/cm、厚み約0.2mmの厚紙では約3.5mg/cmである。また、記録媒体PがOHPシート、コート紙などの定着液30が染込み難い記録媒体Pである場合、厚みが約0.09mmであっても普通紙と同じ約2.5mg/cmの定着液付与量では、記録媒体P表面を定着液30が流過し、トナー9の流動・凝集などが発生し、画像再現性および画質が著しく低下する。したがって、OHPシート、コート紙などへの定着液付与量は約0.5mg/cmに設定される。記録媒体Pの厚みおよび/または材質に応じて適切な定着液付与量を選択することによって、しわ、トナーの流動・凝集、定着強度不足などが生ずるのを防止でき、画像再現性が良好になり、高画質画像が得られる。また、1枚1枚の記録媒体Pについて最適量の定着液30を付与できるので、定着液30を無駄なく効率的に使用でき、定着液消費量を低減化できる。定着液付与量は、たとえば、定着ローラ40の回転周速度を変更することによって制御できる。定着ローラ40の回転周速度を高めれば、定着液付与量は多くなり、回転周速度を低下させれば、定着液付与量は少なくなる。また、定着液付与量は定着ローラ40における表面の材質、定着ローラ40の外径などによっても変化する。したがって、使用する定着ローラ40を選定し、実験などによって回転周速度と定着液付与量との関係を測定し、データテーブルとしてCPUの記憶部に予め入力する。記録媒体検知手段50による検知結果(記録媒体Pの厚み)が記憶部に入力されると、CPUの演算部は記憶部から検知結果とデータテーブルとを取り出して比較し、最適な定着付与量および定着ローラ40の回転周速度を判定する。CPUの制御部は、演算部の判定結果に応じて、定着ローラ40を回転駆動させる図示しない駆動手段に駆動電力を供給する図示しない電源に制御信号を送り、定着ローラ40の回転周速度を変更する。これによって、記録媒体Pの厚みに応じた定着液付与量の制御が可能になる。
CPUは、記録媒体検知手段50による検知結果に応じて、搬送手段6によるトナー像担持記録媒体Pの搬送速度を制御する搬送速度制御手段としても機能する。この場合、記録媒体検知手段50による検知結果は、記録媒体Pの材質であることが好ましい。すなわち、記録媒体Pの材質に応じて、搬送手段6における搬送ベルト34の回転駆動速度(搬送速度)を制御するのが好ましい。トナー像担持記録媒体Pは一定温度に加熱されている搬送ベルト34上を搬送されるけれども、記録媒体Pの材質によってトナー像に伝達される熱量は変化し、定着ニップ部に導入される直前のトナー像の状態が変化し、最適量の定着液を付与しても定着強度が若干低下するおそれがある。記録媒体Pの材質に応じて搬送ベルト34による搬送速度を制御することによって、記録媒体Pの材質に関係なく、トナー像が常に同じ状態で定着ニップ部に導入され、トナー像の記録媒体Pへの定着が行われる。したがって、記録媒体Pの材質および搬送ベルト34の加熱温度に応じて適切な搬送速度を決定し、その値をデータテーブルとしてCPUの記憶部に予め入力する。本実施の形態では、記録媒体Pが普通紙である場合は100mm/sec程度、OHPシート、コート紙などの定着液30が浸透し難いかまたは全く浸透しない記録媒体Pである場合は50mm/sec程度である。搬送速度は、たとえば、駆動ローラ35の回転周速度を変更することによって制御できる。駆動ローラ35の回転周速度を高めれば、搬送速度が速くなり、回転周速度を低下させれば、搬送速度が遅くなる。したがって、駆動ローラ35の回転周速度と搬送速度との関係を測定し、データテーブルとしてCPUの記憶部に予め入力する。記録媒体検知手段50による検知結果(記録媒体Pの材質)が記憶部に入力されると、CPUの演算部は記憶部から検知結果とデータテーブルとを取り出して比較し、駆動ローラ35の最適な回転周速度を判定する。CPUの制御部は、演算部の判定結果に応じて、駆動ローラ35を回転駆動させる図示しない駆動手段に駆動電力を供給する図示しない電源に制御信号を送り、駆動ローラ35の回転周速度を変更する。これによって、記録媒体Pの材質に応じた搬送速度の制御が可能になる。
画像形成装置1には、図示しない制御手段が設けられる。制御手段は、たとえば、画像形成装置1の内部空間における上部に設けられ、図示しない、制御部、演算部、記憶部などからなる中央処理装置(CPU)を備えるマイクロコンピュータなどによって実現される処理回路を含む。CPUの記憶部には、画像形成装置1の上面に配置される図示しない操作パネルを介する画像形成命令、画像形成装置1内部の各所に配置される図示しないセンサなどからの検知結果、外部機器からの画像情報などが入力され、入力される各種データ(画像形成命令、検知結果、画像情報など)に基づいて演算部による判定が行われ、演算部の判定結果に応じて制御部から制御信号が送付され、画像形成装置1の全動作が制御される。記憶部には、この分野で常用されるものを使用でき、たとえば、リードオンリィメモリ(ROM)、ランダムアクセスメモリ(RAM)、ハードディスクドライブ(HDD)などが挙げられる。外部機器には、画像情報の形成または取得が可能であり、かつ画像形成装置に電気的に接続可能な電気・電子機器を使用でき、たとえば、コンピュータ、デジタルカメラ、テレビ、ビデオレコーダ、DVDレコーダ、ファクシミリ装置などが挙げられる。制御手段は、前述の処理回路とともに電源を含み、電源は制御手段だけでなく、画像形成装置1内部における各装置にも電力を供給する。
画像形成装置1によれば、トナー像形成手段2によって中間転写ベルト22上に形成されるトナー像が転写手段4によって記録媒体Pに転写され、トナー像担持記録媒体Pが得られる。トナー像担持記録媒体Pは搬送手段6によって定着ニップ部に向けて搬送されながら適度に加熱され、定着ニップ部において定着液付与手段5による定着液30の接触付与および加圧を受け、それによってトナー像が記録媒体Pに定着され、排紙トレイ49に排出される。この動作中、記録媒体搬送路近傍に設けられる記録媒体検知手段50が記録媒体Pの厚み、材質などを検知し、検知結果に応じて定着液30の付与量、搬送手段6における記録媒体Pの搬送速度などを制御する。
図5は、本発明の実施の第2形態である画像形成装置51の要部の構成を模式的に示す断面図である。画像形成装置51は、画像形成装置1に類似し、対応する部分については同一の参照符号を付すかまたは図示を省略して説明を省略する画像形成装置51は、画像形成装置1における搬送手段6および定着手段7に代えて、搬送手段52および定着手段53を有することを特徴とする。また、定着液付与手段5の定着液貯留槽32内に定着液保温手段55が設けられることを特徴とする。
定着液付与手段5において、定着液貯留槽32の内部には、定着液保温手段55が設けられ、定着液30の液温を一定温度に保持するように構成される。定着液保温手段55は、温度センサ56と、加熱手段57とを含む。加熱手段57にはヒータを使用する。温度センサによる検知結果は図示しないCPUの記憶部に入力され、CPUの演算部は記憶部に予め入力される保温設定温度と温度センサ56による検知結果とを記憶部から取り出して両者を比較し、温度センサ56による検知結果が保温設定温度よりも低いと判定した場合には、CPUの制御部が判定結果に応じて制御信号を加熱手段57に電力を供給する図示しない電源に送り、定着液30の液温を保温設定温度まで上昇させる加熱を行う。本実施の形態では、定着液30の保温設定温度は40℃である。このように構成することによって、定着液30の付与時にトナー9の温度が低下しすぎることを防止でき、定着時に加熱による軟化と定着液による軟化とが相乗的に作用し、良好な定着状態を確保できる。
搬送手段52は、搬送ベルト34と、駆動ローラ35と、テンションローラ54と、温度センサ38とを含む。テンションローラ54は、図示しない駆動手段によって軸心回りに回転駆動可能にまたは駆動ローラ35の回転に従動回転可能に設けられ、駆動ローラ35と協働して搬送ベルト34を張架する。また、テンションローラ54は搬送ベルト34を介して定着手段53の定着ローラ40に圧接するように設けられ、その内部に加熱手段36が設けられる。すなわち、テンションローラ54は、搬送手段52において搬送ベルト34に張力を付与する機能および搬送ベルト34を設定温度に加熱する機能を有するとともに、定着手段53において加圧ローラとしての機能をも有する。また、温度センサ38は、テンションローラ54の表面温度を検知するためにテンションローラ54の表面近傍に設けられる。テンションローラ54の表面温度と、搬送ベルト34の表面温度との相関関係は、予め求めることができる。したがって、テンションローラ54の表面温度を制御することによって、搬送ベルト34の表面温度を制御できる。また、トナー像の温度は搬送ベルト34の表面温度にほぼ等しくなるので、搬送ベルト34の表面温度を制御することによって、定着手段53に搬送されるトナー像の温度を制御できる。テンションローラ54の表面温度の制御は、画像形成装置1における搬送ベルト34の温度制御と同様に、温度センサ38の検知結果を図示しないCPUが判定し、CPUは判定結果に応じて加熱手段36に接続される図示しない電源に制御信号を送ることによって行われる。本実施の形態では、テンションローラ54の表面温度は70℃に設定され、搬送ベルト34の定着液付与領域の温度はトナー9のガラス転移点(60℃)よりも若干低い温度となるよう設定される。これによって、定着手段53に搬送されるトナー像の温度も、搬送ベルト34の定着液付与領域の温度とほぼ等しくなる。
本実施の形態では、テンションローラ54の表面温度を70℃、定着手段53に搬送されるトナー像の温度をトナー9のガラス転移点(60℃)よりも低い温度とするけれども、それに限定されず、たとえば、テンションローラ54の表面温度を80℃、搬送ベルト34の表面温度をトナー9のガラス転移点(60℃)よりも高い温度としてもよい。この場合には、定着液30の付与前にトナー9の軟化が始まり、トナー9同士およびトナー9と記録媒体との付着力が増加するので、定着液30の接触付与によるトナー9の流動、凝集などを確実に防止できる。さらに、テンションローラ54の表面温度を140℃、搬送ベルト34の表面温度をトナー9の軟化点(120℃)よりも高い温度としてもよい。この場合には、トナー9が充分に軟化し、トナー9同士およびトナー9と記録媒体との付着力がさらに増加するので、定着液30の接触付与によるトナー9の流動、凝集などを一層確実に防止できる。
このように構成すれば、定着液30の付与によるトナー9および記録媒体Pの温度低下を補う熱量をその場で供給できる。その結果、定着液30の付与直後のトナー9、記録媒体Pおよび定着液30の温度が適度に高くなるので、定着液30のトナー像への拡散、浸透が早く、トナー9の膨潤・軟化が瞬時に広範囲に生じ、トナー像を充分な付着力で記録媒体Pに定着できる。さらに、付与後の定着液30の温度上昇によって、トナー9の膨潤・軟化に関与しない定着液30を短時間で乾燥させることができる。
搬送手段52によれば、転写手段4においてトナー像が転写された記録媒体Pが搬送ベルト34に載置されて矢符39の方向に搬送される際に、搬送ベルト34による間接加熱を受け、トナー像を構成するトナー9同士およびトナー9と記録媒体Pとの粘着力が増加した状態で定着手段53に搬送され、定着液30の接触付与および加圧を受けて記録媒体Pに定着される。
定着手段53は、定着ローラ30と、テンションローラ54と、排紙ローラ45とを含む。テンションローラ54は、前述のように、加熱ローラとして機能する。搬送手段52から、定着ローラ30とテンションローラ54との圧接部(定着ニップ部)に送給されるトナー像定着済記録媒体Pはこの圧接部において加熱加圧を受け、それによってトナー像が記録媒体Pに一層強固に定着し、記録媒体P上に画像が形成される。画像形成済記録媒体Pは排紙ローラ45を介して画像形成装置51外部に設けられる図示しない排紙トレイに排出される。
本発明の画像形成装置において、中間転写ベルト、搬送ベルト、各ローラなどに用いられる材料、層構造、寸法などは、前述のものに限定されず、電子写真方式の画像形成分野で常用されるものをそのまままたは適宜変更して使用できる。また、ローラに代えて、ベルトなどの無端状部材を使用できる。さらに中間転写ベルト、搬送ベルトなどは無端状部材とされるけれども、ローラ形態にすることもできる。本発明の画像形成装置は、各実施の形態において、タンデム方式のカラー画像形成装置として示すけれども、それに限定されず、たとえば、中間転写ベルトが1回回転する毎に1色の画像を重ね合わせる、いわゆる4回転方式のカラー画像形成装置とすることもできる。また、カラー画像形成装置に限定されず、単色画像形成装置とすることもできる。このような本発明の画像形成装置は、たとえば、複写機、プリンタ、ファクシミリ、これらの2種以上の複合機として使用される。
本発明の実施の第1形態である画像形成装置の構成を模式的に示す断面図である。 図1に示す画像形成装置の要部の構成を拡大して示す断面図である。 図1に示す画像形成装置の要部の構成を拡大して示す断面図である。 図1に示す画像形成装置で用いられる定着ローラの構成を模式的に示す断面図である。 本発明の実施の第2形態である画像形成装置の要部の構成を模式的に示す断面図である。
符号の説明
1,51 画像形成装置
2 トナー像形成手段
3 中間転写手段
4 転写手段
5 定着液付与手段
6,52 搬送手段
7,53 定着手段
8 記録媒体供給手段
9 トナー
10y,10m,10c,10b 作像ユニット
22 中間転写ベルト
29 転写ローラ
30 定着液
31 定着液供給手段
34 搬送ベルト
35 駆動ローラ
36 加熱手段
37,54 テンションローラ
38 温度センサ
40 定着ローラ
44 加圧ローラ
46 記録媒体カセット
47 ピックアップローラ
48 レジストローラ
50 記録媒体検知手段

Claims (11)

  1. トナー像を形成するトナー像形成手段と、トナー像形成手段により形成されるトナー像を記録媒体に転写する転写手段と、トナーを軟化および/または膨潤させる有機溶剤と水とを含み、トナーを記録媒体に定着させる定着液を記録媒体表面のトナー像に接触付与する定着液付与手段と、記録媒体を加熱する加熱手段とを含む画像形成装置おいて、
    記録媒体に関する情報を検知する記録媒体検知手段と、
    記録媒体検知手段による検知結果に応じて、定着液付与手段によるトナー像への定着液の付与量を制御する定着液制御手段とを含むことを特徴とする画像形成装置。
  2. 記録媒体検知手段は、
    記録媒体の厚さを検知することを特徴とする請求項1記載の画像形成装置。
  3. 記録媒体検知手段は、
    記録媒体の材質を検知することを特徴とする請求項1記載の画像形成装置。
  4. 記録媒体を搬送する搬送手段と、
    搬送手段による記録媒体の搬送速度を制御する搬送速度制御手段とを含み、
    記録媒体検知手段による、記録媒体が樹脂製シートまたはコート紙であるとの検知結果に応じて、
    搬送速度制御手段は、
    搬送手段による記録媒体の搬送速度を、記録媒体が普通紙であると検知された場合よりも遅い速度に制御することを特徴とする請求項3記載の画像形成装置。
  5. 加熱手段は、
    トナー像を構成するトナーのガラス転移点よりも高い温度に記録媒体を加熱することを特徴とする請求項1〜4のいずれか1つに記載の画像形成装置。
  6. 加熱手段は、
    トナー像を構成するトナーの軟化点よりも高い温度に記録媒体を加熱することを特徴とする請求項1〜5のいずれか1つに記載の画像形成装置。
  7. 加熱手段による加熱および定着液付与手段による定着液の接触付与は、
    記録媒体おける少なくともトナー像形成領域を含んで行われることを特徴とする請求項1〜6のいずれか1つに記載の画像形成装置。
  8. 定着液付与手段は、
    記録媒体に付与する前の定着液を保温する定着液保温手段をさらに含むことを特徴とする請求項1〜7のいずれか1つに記載の画像形成装置。
  9. 定着液が、トナーの記録媒体への付着力を高める接着剤をさらに含むことを特徴とする請求項1〜8のいずれか1つに記載の画像形成装置。
  10. トナーが、ポリエステルと、ポリエステルよりもガラス転移点の低いワックス成分とを含むことを特徴とする請求項1〜9のいずれか1つに記載の画像形成装置。
  11. トナーの体積平均粒径が2〜7μmであることを特徴とする請求項1〜10のいずれか1つに記載の画像形成装置。
JP2006122714A 2006-04-26 2006-04-26 画像形成装置 Active JP4149485B2 (ja)

Priority Applications (3)

Application Number Priority Date Filing Date Title
JP2006122714A JP4149485B2 (ja) 2006-04-26 2006-04-26 画像形成装置
US11/790,569 US7546080B2 (en) 2006-04-26 2007-04-26 Image forming apparatus
CN200710101058.5A CN100561367C (zh) 2006-04-26 2007-04-26 图像形成装置

Applications Claiming Priority (1)

Application Number Priority Date Filing Date Title
JP2006122714A JP4149485B2 (ja) 2006-04-26 2006-04-26 画像形成装置

Publications (2)

Publication Number Publication Date
JP2007293133A true JP2007293133A (ja) 2007-11-08
JP4149485B2 JP4149485B2 (ja) 2008-09-10

Family

ID=38648456

Family Applications (1)

Application Number Title Priority Date Filing Date
JP2006122714A Active JP4149485B2 (ja) 2006-04-26 2006-04-26 画像形成装置

Country Status (3)

Country Link
US (1) US7546080B2 (ja)
JP (1) JP4149485B2 (ja)
CN (1) CN100561367C (ja)

Cited By (3)

* Cited by examiner, † Cited by third party
Publication number Priority date Publication date Assignee Title
JP2008203361A (ja) * 2007-02-16 2008-09-04 Ricoh Co Ltd 定着装置及び画像形成装置
JP2012189639A (ja) * 2011-03-08 2012-10-04 Ricoh Co Ltd 画像形成装置
JP2018020576A (ja) * 2017-10-05 2018-02-08 株式会社リコー 画像形成装置、画像形成方法及びその画像形成方法により印刷した印刷物、並びに、印刷物の生産方法

Families Citing this family (11)

* Cited by examiner, † Cited by third party
Publication number Priority date Publication date Assignee Title
JP4153518B2 (ja) * 2004-12-17 2008-09-24 シャープ株式会社 画像形成装置
US7684083B2 (en) * 2007-05-16 2010-03-23 Xerox Corporation Systems and methods for enhancing images produced in image forming devices with background adjustment materials deposited based on characteristic of image receiving medium
JP4863946B2 (ja) * 2007-07-19 2012-01-25 株式会社リコー 交換ユニット、画像形成装置、および画像形成装置の交換ユニット取り付け方法
JP2009069256A (ja) * 2007-09-11 2009-04-02 Ricoh Co Ltd 定着液の定温保持装置、および画像形成装置
JP2011215564A (ja) * 2009-07-01 2011-10-27 Ricoh Co Ltd 定着液、定着方法、定着装置、画像形成方法及び画像形成装置
CN102190179B (zh) * 2010-03-15 2014-05-14 株式会社东芝 记录介质除去装置及其方法、消色装置、裁断装置
JP2011237506A (ja) 2010-05-07 2011-11-24 Ricoh Co Ltd 定着装置、画像形成装置及び定着方法
CN104685421B (zh) 2012-07-12 2020-03-20 惠普印迪戈股份公司 用于调色剂施加的方法和装置
CN107797114A (zh) * 2016-09-02 2018-03-13 法雷奥汽车内部控制(深圳)有限公司 一种用于机动车的超声波传感器
JP2020024285A (ja) * 2018-08-07 2020-02-13 エイチピー プリンティング コリア カンパニー リミテッドHP Printing Korea Co., Ltd. 画像形成システム、電流制御プログラム
US20250222708A1 (en) * 2024-01-09 2025-07-10 Xerox Corporation System and method for measuring primer parameters in inkjet printers

Family Cites Families (3)

* Cited by examiner, † Cited by third party
Publication number Priority date Publication date Assignee Title
JP3042414B2 (ja) 1996-08-13 2000-05-15 富士ゼロックス株式会社 画像形成装置及び画像形成方法
JP4354164B2 (ja) 2002-09-20 2009-10-28 株式会社リコー 画像形成装置
JP4056853B2 (ja) 2002-11-01 2008-03-05 株式会社リコー 加熱定着装置

Cited By (3)

* Cited by examiner, † Cited by third party
Publication number Priority date Publication date Assignee Title
JP2008203361A (ja) * 2007-02-16 2008-09-04 Ricoh Co Ltd 定着装置及び画像形成装置
JP2012189639A (ja) * 2011-03-08 2012-10-04 Ricoh Co Ltd 画像形成装置
JP2018020576A (ja) * 2017-10-05 2018-02-08 株式会社リコー 画像形成装置、画像形成方法及びその画像形成方法により印刷した印刷物、並びに、印刷物の生産方法

Also Published As

Publication number Publication date
CN100561367C (zh) 2009-11-18
JP4149485B2 (ja) 2008-09-10
US20070253757A1 (en) 2007-11-01
US7546080B2 (en) 2009-06-09
CN101063843A (zh) 2007-10-31

Similar Documents

Publication Publication Date Title
US7747207B2 (en) Image forming apparatus controlling a droplet size of a fixing solution
US7546080B2 (en) Image forming apparatus
JP4153518B2 (ja) 画像形成装置
CN101051208B (zh) 图像形成装置
JP4391481B2 (ja) 画像形成装置
US7734237B2 (en) Image forming apparatus with fixing fluid application device
JP4241594B2 (ja) 画像形成装置
JP4393951B2 (ja) トナー定着液、トナー定着方法、トナー定着装置および画像形成装置
JP4664400B2 (ja) 画像形成装置、中断制御プログラムおよび記録媒体
JP4149459B2 (ja) 定着液塗布装置および画像形成装置
CN100449420C (zh) 图像形成装置
JP4365337B2 (ja) 画像形成装置
JP4528201B2 (ja) 定着液付与装置および画像形成装置
JP4585478B2 (ja) 画像形成装置
JP4387327B2 (ja) 画像形成装置
JP4933228B2 (ja) 定着装置および画像形成装置
JP4387341B2 (ja) 画像形成装置
JP2006293169A (ja) 画像形成装置
JP2007316165A (ja) 画像形成装置および画像形成方法
JP2007163796A (ja) 画像形成装置
JP2009031371A (ja) 現像装置、トナーカートリッジ、画像形成装置、カプセル構造物および現像剤
JP2009008996A (ja) 定着装置およびそれを備えた画像処理装置、プログラム、記録媒体

Legal Events

Date Code Title Description
A977 Report on retrieval

Free format text: JAPANESE INTERMEDIATE CODE: A971007

Effective date: 20080403

A131 Notification of reasons for refusal

Free format text: JAPANESE INTERMEDIATE CODE: A131

Effective date: 20080408

A521 Request for written amendment filed

Free format text: JAPANESE INTERMEDIATE CODE: A523

Effective date: 20080523

TRDD Decision of grant or rejection written
A01 Written decision to grant a patent or to grant a registration (utility model)

Free format text: JAPANESE INTERMEDIATE CODE: A01

Effective date: 20080624

A01 Written decision to grant a patent or to grant a registration (utility model)

Free format text: JAPANESE INTERMEDIATE CODE: A01

A61 First payment of annual fees (during grant procedure)

Free format text: JAPANESE INTERMEDIATE CODE: A61

Effective date: 20080625

FPAY Renewal fee payment (event date is renewal date of database)

Free format text: PAYMENT UNTIL: 20110704

Year of fee payment: 3

R150 Certificate of patent or registration of utility model

Free format text: JAPANESE INTERMEDIATE CODE: R150

Ref document number: 4149485

Country of ref document: JP

Free format text: JAPANESE INTERMEDIATE CODE: R150

FPAY Renewal fee payment (event date is renewal date of database)

Free format text: PAYMENT UNTIL: 20110704

Year of fee payment: 3

FPAY Renewal fee payment (event date is renewal date of database)

Free format text: PAYMENT UNTIL: 20120704

Year of fee payment: 4

FPAY Renewal fee payment (event date is renewal date of database)

Free format text: PAYMENT UNTIL: 20120704

Year of fee payment: 4

FPAY Renewal fee payment (event date is renewal date of database)

Free format text: PAYMENT UNTIL: 20130704

Year of fee payment: 5