JP2007282968A - 遊技媒体検知装置 - Google Patents

遊技媒体検知装置 Download PDF

Info

Publication number
JP2007282968A
JP2007282968A JP2006115473A JP2006115473A JP2007282968A JP 2007282968 A JP2007282968 A JP 2007282968A JP 2006115473 A JP2006115473 A JP 2006115473A JP 2006115473 A JP2006115473 A JP 2006115473A JP 2007282968 A JP2007282968 A JP 2007282968A
Authority
JP
Japan
Prior art keywords
light
output
disturbance light
signal
flip
Prior art date
Legal status (The legal status is an assumption and is not a legal conclusion. Google has not performed a legal analysis and makes no representation as to the accuracy of the status listed.)
Granted
Application number
JP2006115473A
Other languages
English (en)
Other versions
JP5017914B2 (ja
Inventor
Kimitada Fujimoto
公資 藤本
Kazunobu Yoshida
和申 吉田
Current Assignee (The listed assignees may be inaccurate. Google has not performed a legal analysis and makes no representation or warranty as to the accuracy of the list.)
Omron Corp
Original Assignee
Omron Corp
Omron Tateisi Electronics Co
Priority date (The priority date is an assumption and is not a legal conclusion. Google has not performed a legal analysis and makes no representation as to the accuracy of the date listed.)
Filing date
Publication date
Application filed by Omron Corp, Omron Tateisi Electronics Co filed Critical Omron Corp
Priority to JP2006115473A priority Critical patent/JP5017914B2/ja
Publication of JP2007282968A publication Critical patent/JP2007282968A/ja
Application granted granted Critical
Publication of JP5017914B2 publication Critical patent/JP5017914B2/ja
Expired - Fee Related legal-status Critical Current
Anticipated expiration legal-status Critical

Links

Images

Landscapes

  • Slot Machines And Peripheral Devices (AREA)

Abstract

【課題】交流外乱光や直流外乱光などの外乱光を受光しても誤動作することがなく、遊技機からコインやパチンコ玉などの遊技媒体を不正に払い出させる行為を防止することができる遊技媒体検知装置を提供する。
【解決手段】交流外乱光が検出されると交流外乱光モニター信号VcがHとなり、直流外乱光が検出されると直流外乱光モニター信号VdがHとなる。よって、外乱光がある場合にはオアゲート105の出力がHとなり、各フリップ・フロップ回路96〜98のプリセット端子PRにはフリップ・フロップ回路102のQ出力が入力され、記憶ループが構成される。同様に、外乱光がある場合には、各フリップ・フロップ回路96〜98のクリア端子CLにはフリップ・フロップ回路102の−Q出力が入力され、記憶ループが構成される。従って、外乱光を検出した場合には、コイン検知装置の出力を外乱光発生直前の状態にロックする。
【選択図】図14

Description

本発明は、遊技媒体検知装置に関する。具体的にいうと、本発明は遊技機においてコインやパチンコ玉などの換金性を有する遊技媒体の通過を検知し、若しくは遊技媒体の通過枚数を計数するための遊技媒体検知装置に関する。
図1はスロットマシンやパチンコ台などの遊技機内部に組み込まれている従来のコイン検知装置11の構成を示す回路図である。図2はコイン検知装置11で用いられている信号処理回路23の構成を示す回路図である。図3はコイン検知装置11の各部の信号波形を示すタイムチャートである。以下、このコイン検知装置11の構成及び動作を説明する。
発振器12では一定周波数のパルス信号が発生しており、タイミング発生回路13では、発振器12のパルス信号に同期して一定周波数のクロック信号が生成される(図3(a))。クロック信号は、LED駆動回路14へ出力され、LED駆動回路14はクロック信号に同期させて間欠的にLED15から発光パルスを出力させる(図3(b))。
フォトダイオード16は、LED15から出射された光を受光できるように配置されている。フォトダイオード16は、プリアンプ18、コンデンサ19及びバッファ回路20を介してコンパレータ21の非反転入力端子に接続されている。
このときLED15とフォトダイオード16との間にコインが存在する場合には、コインによって遮光されるのでフォトダイオード16は信号を出力しない(図3(d)(e)におけるコイン有りの期間)。一方、LED15とフォトダイオード16との間にコインが存在しない場合には、LED15から出射した光がフォトダイオード16で受光されるので、フォトダイオード16からは信号(以下、PD出力信号Vpdという。)が出力される(図3(d)(e)におけるコイン無しの期間)。PD出力信号Vpdは、プリアンプ18で増幅された後、コンデンサ19で直流成分をカットされてバッファ回路20を通り、コンパレータ21の非反転入力端子へ入力する(以下、この入力信号を受光信号Vrという。)。
コンパレータ21の反転入力端子には基準電源22が接続されており、コンパレータ21は基準電源22により与えられる基準電圧Vrefと受光信号Vrの電圧とを比較し(図3(e))、比較信号Vcomを生成する。比較信号Vcomは、受光信号Vrが基準電圧Vrefよりも大きいときにH(ハイ)状態となり、基準電圧Vrefよりも小さいときにL(ロー)状態となり、この比較信号Vcomはゲート回路17を通って信号処理回路23へ送られる。
ゲート回路17には、タイミング発生回路13のクロック信号が入力されており、ゲート回路17はクロック信号(つまり、LED15の発光タイミング)に同期して受光ゲートを開き(図3(c))、コンパレータ21から出力される比較信号Vcomを通過可能にする。
信号処理回路23は、図2に示すように、1段目のフリップ・フロップ回路26(FF1)、2段目のフリップ・フロップ回路27(FF2)、3段目のフリップ・フロップ回路28(FF3)からなる3段構成のシフトレジスタ29を有している。フリップ・フロップ回路26、27及び28の各Q出力はアンドゲート30の入力に接続され、アンドゲート30の出力はフリップ・フロップ回路32のセット端子Sに接続されている。また、フリップ・フロップ回路26、27及び28の各−Q(Qバー)出力はアンドゲート31の入力に接続され、アンドゲート31の出力はフリップ・フロップ回路32のリセット端子Rに接続されている。
LED15とフォトダイオード16との間にコインが存在し、コンパレータ21から出力される比較信号Vcomが3クロック以上続けてL状態となった場合には、アンドゲート30の出力(フリップ・フロップ回路32のセット端子S)がL状態となるので、フリップ・フロップ回路32のQ出力は3クロック遅れてL状態(検知出力)となる(図3(f)〜(i))。
これに対し、LED15とフォトダイオード16との間にコインが存在せず、コンパレータ21から出力される比較信号Vcomが3クロック以上続けてH状態となった場合には、アンドゲート31の出力(フリップ・フロップ回路32のリセット端子R)がH状態となるので、フリップ・フロップ回路32のQ出力は3クロック遅れてH状態(非検知出力)となる(図3(f)〜(i))。
よって、コインがLED15とフォトダイオード16の間を通過する間に3クロック以上のクロック信号が発生するように構成しておくことにより、当該コイン検知装置11によってコインを検知することができ、検知結果を出力回路24を介して外部へ出力することができる。なお、低電圧回路25は、電源電圧Vccを降圧してコイン検知装置11の各部へ電源を供給するものである。
このような構成のコイン検知装置11では、単に外乱光を照射しただけでは非検知となるので問題は無い。しかし、コイン検知装置11に直流外乱光が照射されると、コイン検知装置11が誤動作する問題が明らかになった。図4は遊技媒体が存在しない場合において強い直流外乱光を照射したときの各部の信号波形を示す図である。コインが存在しないので、フォトダイオード16はLED15で間欠的に発光する光を受光しているが、ここに図4(e)で示すようなタイミングで強い直流外乱光が照射されると、LED15の光に強い直流外乱光が重畳する結果、プリアンプ18の出力(以下、増幅信号Vaという。)が飽和し、コンデンサ19で直流成分がカットされることによりコンパレータ21に入力される受光信号Vrは基準電圧Vref以下となる(図4(g))。その結果、フリップ・フロップ回路26、27、28が順次L状態となり、コイン検知装置11の出力が検知状態となる(図4(h)〜(k))。
図5(a)(b)及び図6(a)(b)は直流外乱光が大きくなることによって増幅信号Vaが飽和して受光信号Vrが基準電圧Vref以下となる様子を説明する図である。図5(a)(b)及び図6(a)(b)はいずれも、クロック信号とプリアンプ18から出力される増幅信号Vaと、コンパレータ21に入力される受光信号Vrとを表わしている。外乱光がない場合には、図5(a)に示すように、増幅信号Vaはプリアンプ18の飽和電圧Vsat以下となっており、受光信号Vrが基準電圧Vrefを超えている。また、直流外乱光があっても、直流外乱光が弱い場合も、図5(b)に示すように、増幅信号Vaはプリアンプ18の飽和電圧Vsat以下となっており、受光信号Vrが基準電圧Vrefを超えている。
これに対し、図6(a)に示すように、少し強い直流外乱光が照射された場合には、増幅信号Vaはプリアンプ18の飽和電圧Vsatを超えてピーク部分が鈍っているが、この場合にはまだ受光信号Vrが基準電圧Vrefを超えている。しかしながら、さらに強い直流外乱光が照射された場合には、図6(b)に示すように、増幅信号Vaはプリアンプ18の飽和電圧Vsatを超えてピーク部分がさらに大きく鈍り、コンデンサ19によって増幅信号Vaの直流成分がカットされる結果、ついには受光信号Vrが基準電圧Vrefよりも小さくなる。その結果、LED15とフォトダイオード16との間で遮光されたのと同じ状態が作り出されることになる。
よって、例えばスロットマシンの返却口などから強い直流外乱光を照射すると、コイン検知装置11が誤動作してコインが投入されていないにも拘わらず誤ってコインを検知してしまう。そして、これを繰り返すことによってコイン枚数を誤カウントさせるという不正行為が行なわれる恐れがあった。
また、このような構成のコイン検知装置11では、クロック周波数よりも大きな周波数の外乱光が照射された場合にも誤動作する。図7はLED15とフォトダイオード16との間が遮光されている場合において、クロック周波数よりも大きな周波数の外乱光が照射されたときの各部の信号波形を示す図である。LED15とフォトダイオード16との間が遮光されているので、フォトダイオード16からはLED15によるPD出力信号Vpdは出力されないが、ここにクロック周波数よりも大きな周波数で外乱光が照射される(図7(e))と、コンパレータ21には外乱光による受光信号Vrが入力され(図7(f))、クロック信号の立ち下がり時に受光信号Vrが基準電圧Vref以上となり、しかも外乱光が3クロック以上継続していると、各フリップ・フロップ回路26、27、28のQ出力がH状態となる(図7(g)〜(i))。従って、LED15とフォトダイオード16との間が遮光されているにも拘わらず、コイン検知装置11は誤動作して非検知状態となる(図7(j))。
よって、例えばコイン検知装置11の隙間や返却口からプラスチックの板(セル)などの異物を挿入してLED15とフォトダイオード16との間を遮光状態に保っておき、クロック周波数よりも大きな周波数の外乱光を一定の間隔をあけて繰り返し照射すれば、外乱光を照射した期間と期間の間の非照射期間でコインが通過したのと同じ状態を作り出すことができ、これによって大量の枚数のコイン等を不正にカウントさせることが可能になる。
なお、特許文献1に開示されている光電センサでは、外乱光の有無を検知し、外乱光がある場合には、その入光時間をカウントし、入光時間が一定時間以上継続した場合のみ警告を発するようにしている。しかし、このような光電センサは警告を発するだけであって誤作動を防ぐものではないので、この光電センサを遊技機に用いた場合には、警告を発しているうちに不正行為(ゴト行為)が完了してしまう恐れがあり、対策としては不十分であった。
特公平6−87035号公報 特開2002−248210号公報
本発明は上記のような技術的課題に鑑みてなされたものであり、その目的とするところは、交流外乱光や直流外乱光などの外乱光を受光しても誤動作することがなく、遊技機からコインやパチンコ玉などの遊技媒体を不正に払い出させる行為を防止できる遊技媒体検知装置を提供することにある。
本発明にかかる遊技媒体検知装置は、発光素子と、前記発光素子から出射された光が遊技媒体で遮光又は反射されたことを検知する受光素子とを備えた遊技媒体検知装置であって、前記受光素子からの信号に基づいて遊技媒体の有無を判別する判別手段と、前記判別手段による判別結果を示す判別信号を出力する出力手段と、前記受光素子に入射する外乱光を検知する外乱光検知手段と、前記外乱光検知手段が外乱光を検知すると、前記出力手段から出力される判別信号を固定する誤作動防止手段とを有することを特徴とする。ここで、遊技媒体とは、スロットマシンやパチンコ台等の遊技機で用いられるコインやメダル、パチンコ玉などを指す。
本発明にかかる遊技媒体検知装置は、外乱光が検知された場合には、判別手段の判別結果に拘わらず、出力手段から出力される判別結果を外乱光を検知する直前の判別信号に固定するので、遊技媒体検知装置が外乱光によって誤動作させられる恐れがない。よって、不正行為(ゴト行為)によって遊技媒体を誤検知させられたり、遊技媒体を誤って計数させられたりするのを防止することができる。
本発明にかかる遊技媒体検知装置のある実施態様は、前記誤作動防止手段が、前記外乱光検知手段が外乱光を検知しなくなったら、前記出力手段から出力される判別信号の固定を解除することを特徴とする。かかる実施態様によれば、出力手段から出力される判別信号が自動的に固定から解除されるので、手動で固定を解除する手間が必要ない。また、自動的に固定が解除されるので、不正行為者に誤動作防止の機能を気づかれにくく、セキュリティ性が高くなる。
本発明にかかる遊技媒体検知装置の別な実施態様は、前記発光素子が間欠的にパルス光を出射し、前記外乱光検知手段が、前記受光素子から出力される信号のうちから直流成分を弁別することによって直流外乱光を検知するものである。かかる実施態様によれば、外乱光の種類を特定することができ、正規の発光パルスと外乱光とを確実に区別することができる。また、外乱光を検知するための受光素子として遊技媒体検知用の受光素子を用いることができるので、遊技媒体検知装置の構成を簡略にしてコストを安価にできる。
本発明にかかる遊技媒体検知装置のさらに別な実施態様は、前記発光素子が一定の発光タイミングでパルス光を出射し、前記外乱光検知手段が、前記受光素子から出力される信号のうちから前記発光タイミング外における交流成分を弁別することによって交流直流外乱光を検知するものである。かかる実施態様によれば、交流外乱光と正規の発光パルスとを確実に区別することができる。また、外乱光を検知するための受光素子として遊技媒体検知用の受光素子を用いることができるので、遊技媒体検知装置の構成を簡略にしてコストを安価にできる。
本発明にかかる遊技媒体検知装置のさらに別な実施態様は、前記誤作動防止手段が、前記判別手段ないし前記出力手段の少なくとも一方を構成する電気回路において、その出力部分と入力部分との間で記憶ループを形成することによって前記出力手段から出力される判別信号を固定するものである。より具体的には、前記判別手段ないし前記出力手段の少なくとも一方が、前記受光素子からの信号を順次各段へ転送するシフトレジスタと、前記シフトレジスタの各段の出力の論理積を出力するアンドゲートとを有し、前記アンドゲートの出力と前記シフトレジスタのプリセット端子又はクリア端子との間で記憶ループを形成するようにする。かかる実施態様によれば、簡単な構成によって出力手段から出力される判別信号を固定することができる。
なお、本発明の以上説明した構成要素は、可能な限り任意に組み合わせることができる。
以下、本発明の実施例を図面に従って詳細に説明する。
図8は遊技ホールに設置されるスロットマシン41の外観斜視図である。このスロットマシン41は、前面の遊技操作面の一側にコインMを1枚ずつ受入れる投入口42を有し、この投入口42に投入された正規の大きさのコインMを内部に取込み、不適な大きさのコイン類を外部の返却口43に返却する選別機能を内蔵している。また、投入口42の横には返却ボタン44を設けており、この返却ボタン44をプレーヤが遊技中止するために押下操作した場合もコインMを返却口43に返却処理する。
図9はスロットマシン41の前面扉45を片開き式に開口したときの、前面扉45及びスロットマシン本体46の内面状態を示す概略図である。前面扉45を開かれたスロットマシン本体46内には、上部に3つのリール47を設け、その下方にコイン取込み用のホッパ48と、コイン返却通路(図示せず)と、電源装置49とを装備している。
一方、前面扉45の内面には、上部にリールカバー50を設け、その下方に投入コイン選別装置(コインセレクタ)51と、返却口43とを配設している。
図10は投入コイン選別装置51の斜視図であって、図11はその分解斜視図である。この投入コイン選別装置51は、コ形基板52と開閉板53とを一体に組合せて投入コイン選別用のコイン通路54を形成したものであって、その外側をコ形カバー55で覆って一体化されている。
コイン通路54は、スロットマシン41の投入口42と接続対応する入口56と下方の出口57との間を、上下方向にほぼ垂直な垂直路54aと、緩やかに傾斜する傾斜路54bとの両者で連続的につないで構成している。
傾斜路54bのコ形基板52側には、傾斜路54bと平行する上側に該通路の上側の一部を形成する可動ガイド板58を配設してあり、ここを転動通過するコインMの上部を保持して搬送ガイドする。また、傾斜路54bの出口57の直前にはコイン検知装置59が設けられており、コイン検知装置59によって通過したコインMの枚数をカウントする。
コ形基板52のコイン通路54の内面には、垂直路54aから傾斜路54bにかけて平行な複数条のリブ60を等間隔に形成している。
開閉板53は、コ形基板52の軸受61に軸支される軸62を有し、この軸62を中心として回動自在にコ形基板52の軸受61に装着され、通常はバネ63によってコ形基板52に開閉板53の一部が当接するように付勢されて一体化されている。よって、コイン通路54の片側では、開閉板53がコ形基板52に対設して該通路54の片側を形成するガイド構造を有しており、コ形基板52及び開閉板53の間でコイン通路54が形成されている。
開閉板53の内面側には、図示しないが、コ形基板52の垂直路54aとの対向面に、コ形基板52側のリブ60と同方向の同様な複数条のリブを形成している。したがって、コイン通路54内では、両面のリブの線接触作用をコインMが受けることにより、投入されたコインMの通過抵抗を一層軽減して円滑な搬送を促進する。
さらに、コイン通路54は、起立状態にあるコインMの厚み方向に対して15°程度傾斜している。特に、コ形基板52の傾斜路54bは、上方ほど開閉板53側へ突出するように傾斜しており、傾斜路54bでは転動搬送されるコインMは上部が開閉板53側へ傾いた状態で搬送される。開閉板53には、図10に示すように、傾斜路54bに沿って開口する楕円状の排出口64を中央部に大きく開口している。
これにより、正規のコインMよりも直径の小さな不正コインM´(例えば、他店コインや偽コイン)が投入されたときは、傾斜路54bを転動通過する不正コインM´は傾斜路54b内で下部だけがガイドされ、上部は可動ガイド板58で保持されることなく転動する。そのため、この不正コインM´は自重で傾斜路54bから脱落し、開閉板53の排出口64から排出される。排出口64から排出された不正コインM´は、返却口43から前面扉45の下皿65へ返却される。
一方、正規の大きさのコインMが投入されたときには、コインMはその上部を可動ガイド板58で保持されつつ傾斜路54bを転動通過し、正規の取り込み方向となる出口57から排出される。
また、プレーヤが返却ボタン44を押すと、回動カム66の先端が開閉板53を押し上げるように動き、これに連動して開閉板53は軸62を中心に回動してコ形基板52との対向面間を大きく開くので、コインMがコイン通路54から排出され、返却口43から下皿65へ返却される。
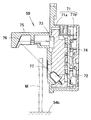
図12は、傾斜路54bの出口57付近に設けられているコイン検知装置59の構造を示す断面図である。このコイン検知装置59は、前面ケース71aと背面カバー71bとからなるケーシング71内に、発光ダイオード(LED)等の発光素子72、フォトダイオード(PD)等の受光素子73及び回路基板74を納めたものである。発光素子72は、投光方向が斜め上方を向くようにしてケーシング71内に納められており、前面ケース71aの投光窓77を通して前方斜め上方へ光を出射する。前面ケース71aの前面上部には庇部75が延出されていて、庇部75の下面前部にはミラー面76が形成されており、庇部75の基部に受光素子73を配置している。しかして、発光素子72から斜め上方へ出射した光がミラー面76で反射した後、受光素子73に入射するように構成されている。また、発光素子72から出射された光がミラー面76に達するまでの光路は、傾斜路54bを転動するコイルの上部が通る位置を通過するようにコイン検知装置59が配置されている。
よって、コインMが傾斜路54bを転動していない時には、発光素子72から斜め上方へ向けて出射された光は、ミラー面76で反射された後、受光素子73に入射して受光される。一方、傾斜路54bを転動しているコインMが発光素子72の前方を通過している時には、発光素子72から出射された光はコインMで遮られるので、受光素子73によって受光されなくなる。従って、受光素子73の受光状態に基づいてコインMが74bを通過したことを検知でき、あるいは通過したコインMの枚数を計数することができる。
以下、このコイン検知装置59の構成とコイン検知動作を具体的に説明する。図13は、上記回路基板74上に構成されているコイン検知装置59の回路を示す図である。発振器81では一定周波数のパルス信号が発生しており、発振器81で発生したパルス信号はタイミング発生回路82へ出力される。タイミング発生回路82は、発振器81のパルス信号に同期して一定周波数のクロック信号を生成する。タイミング発生回路82で発生したクロック信号は、発光素子駆動回路83および信号処理回路94へ出力される。
発光素子駆動回路83は、LED等の発光素子72を駆動し、クロック信号と同期させて発光素子72から間欠的に発光パルスを出射する。こうして一定周期でパルス発光する発光素子72の発光パルスは、傾斜路54bの上方で斜め上方へ出射され、ミラー面76で反射された後、受光素子73に入射する。
受光素子73はフォトダイオードからなり、光が入射するとその光強度に応じたPD出力信号Vpdをプリアンプ84へ出力する。プリアンプ84は負帰還増幅回路によって構成されており、PD出力信号Vpdを増幅して増幅信号Vaを出力する。プリアンプ84の出力には、コンデンサ85からなる交流信号弁別用の弁別回路と、バッファ回路87からなる直流信号弁別用の弁別回路が接続されている。交流信号弁別用の弁別回路は、コンデンサ85によって構成されているので、増幅信号Vaのうち交流成分のみを通過させ、増幅信号Vaの直流成分は直流信号弁別用の弁別回路(バッファ回路87)に流れる。
バッファ回路87によって弁別された増幅信号Vaの直流成分は、直流外乱光モニター信号Vdとして信号処理回路94に入力する。
コンデンサ85によって弁別された増幅信号Vaの交流成分は、受光信号Vrとしてコンパレータ86の非反転入力端子に入力する。また、コンパレータ86の反転入力端子には基準電源90が接続されており、コンパレータ86は基準電源22の基準電圧Vrefと受光信号Vrの電圧とを比較し、1次比較信号Vbを出力する。1次比較信号Vbは、受光信号Vrが基準電圧Vrefよりも大きいときにH状態となり、基準電圧Vrefよりも小さいときにL状態となる。
コンパレータ86の出力(1次比較信号Vb)は、2つのアンドゲート88、92の入力に接続されており、受光信号用のアンドゲート88の出力(比較信号Vcom)は、信号処理回路94に接続され、交流外乱光用のアンドゲート92の出力(交流外乱光モニター信号)はデータ保持回路(サンプルホールド回路)93に接続されている。
受光信号用アンドゲート88の他方の入力端子には、タイミング発生回路82のクロック信号が入力されており、アンドゲート88はクロック信号と同期してオン(導通)状態となり、発光素子72の発光期間中の1次比較信号Vbを比較信号Vcomとして信号処理回路94に入力する。
交流外乱光用アンドゲート92の他方の入力端子には、インバータ91を介してタイミング発生回路82のクロック信号が入力されており、アンドゲート92はクロック信号のL状態と同期してオン(導通)状態となり、発光素子72が発光していない期間中の1次比較信号Vbをデータ保持回路93に入力させる。データ保持回路93は、交流信号を検知すると一定レベルの直流信号(交流外乱光モニター信号Vc)を保持して信号処理回路94へ出力し、データ取り込み後にクリアする。
信号処理回路94は、比較信号Vcom、直流外乱光モニター信号Vd、交流外乱光モニター信号Vcに基づいてコインMの通過を判定し、判定信号を出力回路95を介して外部へ出力する。
図14は上記信号処理回路94の構成を具体的に示した回路図である。シフトレジスタ99は、3つのネガティブ・エッジ・トリガ型のフリップ・フロップ回路(Dフリップ・フロップ)96、97、98によって構成されており、1段目のフリップ・フロップ回路96(FF1)のQ出力が2段目のフリップ・フロップ回路97(FF2)のD入力端子に接続され、2段目のフリップ・フロップ回路97(FF2)のQ出力が3段目のフリップ・フロップ回路98(FF3)のD入力端子に接続されている。また、各フリップ・フロップ回路96、97、98のクロック端子(CK)にはクロック信号が入力され、1段目のフリップ・フロップ回路96のD入力端子にはアンドゲート88から比較信号Vcomが入力される。
フリップ・フロップ回路96、97及び98の各Q出力はアンドゲート100の入力に接続され、アンドゲート100の出力はフリップ・フロップ回路(S−Rフリップ・フロップ)102のセット端子Sに接続されている。また、フリップ・フロップ回路96、97及び98の各−Q出力はアンドゲート101の入力に接続され、アンドゲート101の出力はフリップ・フロップ回路102のリセット端子Rに接続されている。
交流外乱光モニター信号Vc及び直流外乱光モニター信号Vdはオアゲート105に入力されており、オアゲート105の出力は3端子入力型のアンドゲート103、104に接続されている。アンドゲート103の他の入力端子には、フリップ・フロップ回路102のQ出力とタイミング発生回路82の出力(クロック信号)が接続されており、アンドゲート103の出力は各フリップ・フロップ回路96、97、98のプリセット端子(PR)に接続されている。アンドゲート104の他の入力端子には、フリップ・フロップ回路102の−Q出力とタイミング発生回路82の出力(クロック信号)が接続されており、アンドゲート104の出力は各フリップ・フロップ回路96、97、98のクリア端子(CL)に接続されている。
図15は外乱光がない場合の各部の信号波形を表わしたタイムチャートである。図15(a)はタイミング発生回路82から出力されるクロック信号を表わし、図15(b)は発光素子72の発光タイミングを表わし、図15(c)はコインの通過するタイミングを表わし、図15(d)は外乱光を表わしている。また、図15(e)はバッファ回路87から出力される直流外乱光モニター信号Vdを表わし、図15(f)は受光信号用のアンドゲート88のオン、オフを表わし、図15(g)はコンパレータ86の非反転入力端子に入力される受光信号Vrを表わし、図15(h)はアンドゲート88から出力される比較信号Vcomを表わしている。また、図15(i)は交流外乱光用のアンドゲート92のオン、オフを表わし、図15(j)は交流外乱光モニター信号Vcを表わし、図15(k)はコイン検知装置59の出力Voutを表わしている。
この場合には外乱光がないので、交流外乱光モニター信号Vcも直流外乱光モニター信号VdもL状態となっており、信号処理回路94のオアゲート105、アンドゲート103、104のいずれの出力もL状態となり、各フリップ・フロップ回路96、97、98のプリセット端子PRとクリア端子CLはいずれもL状態となる。
各フリップ・フロップ回路96、97、98に用いたDフリップ・フロップの動作は、図16に示す通りであるので、各フリップ・フロップ回路96、97、98のプリセット端子PRとクリア端子CLがいずれもL状態の場合には、図14に示した信号処理回路94は、従来例で説明した図2の信号処理回路23と同じ動作をすることになる。従って、1段目のフリップ・フロップ回路96には、クロック信号の立ち下がり時に比較信号Vcomが記憶され、1クロックずつ遅れて2段目及び3段目のフリップ・フロップ回路97、98に順次比較信号Vcomが送られていく。よって、3つのフリップ・フロップ回路96、97、98には直前の連続した3回分の比較信号Vcomが記憶される(図3(f)〜(i)を参照)。
従って、図15(c)に示すようにコインがコイン検知装置59を通過すると、各フリップ・フロップ回路96、97、98の出力がLとなってコイン検知装置59の出力Voutから検知信号が出力される。
また、コインがコイン検知装置59を通過していないときには、各フリップ・フロップ回路96、97、98の出力がHとなってコイン検知装置59の出力Voutから非検知信号が出力される。
次に、コイン通路54をコインが通過していないときに返却口43等から強い直流外乱光を照射された場合の動作を説明する。図17(a)〜(k)はコインが存在しない場合において、強い直流外乱光が照射された場合のコイン検知装置59の動作を表わしており、図17(a)〜(k)はそれぞれ図15(a)〜(k)と同じ部分の波形を表わしている。
この場合にはコインが存在していないので受光素子73は発光素子72の発光パルスを受光しており、さらに直流外乱光が照射されたときには直流外乱光も受光し、発光素子72の発光パルスと直流外乱光によるPD出力信号Vpdを出力する。このPD出力信号Vpdのうち、直流外乱光による直流成分はバッファ回路87側へ流れ、直流外乱光モニター信号Vd(図17(e))として信号処理回路94に入力される。また、PD出力信号Vpdのうち、発光素子72の発光パルスによる交流成分はコンデンサ85を通過し、受光信号Vr(図17(g))としてコンパレータ86の非反転入力端子に入力される。そして、コンパレータ21を経てアンドゲート88から信号処理回路94に一定周期毎に比較信号Vcom(図17(h))が送られる。なお、この場合、交流外乱光は存在しないので、交流外乱光モニター信号VcはL状態のままに保たれる。従って、直流外乱光の照射時には、信号処理回路94にはH状態の直流外乱光モニター信号VdとL状態の交流外乱光モニター信号Vcが入力され、オアゲート105の出力はH状態となる。
直流外乱光の照射が開始された瞬間を考えると、その直前にはコインは検知されておらずフリップ・フロップ回路102のQ出力はH状態となっているから、直流外乱光の照射が開始した直後のクロック信号立ち下がり時(H状態)には、アンドゲート103の入力はすべてH状態となり、各フリップ・フロップ回路96、97、98のプリセット端子PRはH状態になる。また、その時フリップ・フロップ回路102の−Q出力はL状態となっているから、アンドゲート104の出力はL状態となり、各フリップ・フロップ回路96、97、98のクリア端子CLはL状態になる。よって、各フリップ・フロップ回路96、97、98のQ出力はH状態に(−Q出力はL状態に)ラッチされ、フリップ・フロップ回路102のセット入力端子SがH状態に、リセット入力端子がL状態になり、フリップ・フロップ回路102のQ出力はH状態(−Q出力はL状態)になる。
よって、各フリップ・フロップ回路96、97及び98、アンドゲート100、フリップ・フロップ回路102、アンドゲート103の間で記憶ループが形成され、同様に各フリップ・フロップ回路96、97及び98、アンドゲート101、フリップ・フロップ回路102、アンドゲート104の間でも記憶ループが形成され、コイン検知装置59の出力は非検知状態にロック(固定)される。
図示しないが、コインがコイン検知装置59で検知されているときに直流外乱光が照射された場合には、フリップ・フロップ回路102のQ出力がL状態で各フリップ・フロップ回路96、97、98のプリセット端子PRがL状態となったままで記憶ループが形成され、また、フリップ・フロップ回路102の−Q出力がH状態で各フリップ・フロップ回路96、97、98のクリア端子CLがH状態となったままで記憶ループが形成される。よって、この場合には、コイン検知装置59の出力は検知状態にロック(固定)される。
また、直流外乱光が消失した場合には、オアゲート105の出力がL状態となり、各フリップ・フロップ回路96、97、98のプリセット端子PR及びクリア端子CLがいずれもL状態となるので、通常の検知状態に復帰し、コイン検知装置59の出力はコインの有無によって変化する。
従って、このコイン検知装置59によれば、直流外乱光が照射されて比較信号Vcomが出力されなくなった場合でも、その直前の出力状態にロックすることができ、不正にコインを検知させることができなくなる。
次に、コイン検知装置59をセル等の異物で遮光状態に保っておいて返却口43等から交流外乱光を照射した場合の動作を説明する。図18(a)〜(k)は発光素子72と受光素子73の間が遮光されている場合において、交流外乱光が照射された場合のコイン検知装置59の動作を表わしており、図18(a)〜(k)はそれぞれ図18(a)〜(k)と同じ部分の波形を表わしている。
この場合には遮光されているので受光素子73は発光素子72の発光パルスを受光せず、交流外乱光が照射されたときに交流外乱光を受光する。このときのPD出力信号Vpdは、交流外乱光(図18(d))によるものであるから、バッファ回路87側には流れず、直流外乱光モニター信号Vd(図18(e))はL状態のままになる。
PD出力信号Vpdは、コンデンサ85を通過して受光信号Vrとしてコンパレータ86の非反転入力端子に入力され、クロック信号のH状態のタイミング(発光素子72の発光タイミング)でアンドゲート88を通過する(図18(f)(g))。そして、アンドゲート88から信号処理回路94に不正な比較信号Vcom(図17(h))が送られる。また、クロック信号のL状態のタイミング(発光素子72の発光タイミング外)では、PD出力信号Vpdは、アンドゲート92を通過してデータ保持回路93へ送られ、データ保持回路93から信号処理回路94にH状態の交流外乱光モニター信号Vcが送られる(図18(i)(j))。データ保持回路93は、アンドゲート92からH出力信号を受け取ると、その出力をH状態に変化させてH状態を維持し、クロック信号の立ち下がり時にアンドゲート92の出力がL状態になるとL状態に戻る。交流外乱光をクロック信号のH状態のときにだけ照射することは困難であるから、交流外乱光が照射された場合には、交流外乱光モニター信号Vcが必ずH状態となり、交流外乱光を検知することができる。従って、交流外乱光の照射時には、信号処理回路94にはL状態の直流外乱光モニター信号VdとH状態の交流外乱光モニター信号Vcが入力され、オアゲート105の出力はH状態となる。
交流外乱光の照射が開始された瞬間を考えると、その直前には遮光されており、フリップ・フロップ回路102のQ出力はL状態となっているから、アンドゲート103の出力はL状態となり、各フリップ・フロップ回路96、97、98のプリセット端子PRはL状態になる。また、その時フリップ・フロップ回路102の−Q出力はH状態となっているから、交流外乱光の照射が開始した直後のクロック信号立ち下がり時(H状態)には、アンドゲート104の入力はすべてH状態となり、各フリップ・フロップ回路96、97、98のクリア端子CLはH状態になる。よって、各フリップ・フロップ回路96、97、98のQ出力はL状態に(−Q出力はH状態に)ラッチされ、フリップ・フロップ回路102のセット入力端子SがL状態に、リセット入力端子がH状態になり、フリップ・フロップ回路102のQ出力はL状態(−Q出力はH状態)になる。
よって、各フリップ・フロップ回路96、97及び98、アンドゲート100、フリップ・フロップ回路102、アンドゲート103の間で記憶ループが形成され、同様に各フリップ・フロップ回路96、97及び98、アンドゲート101、フリップ・フロップ回路102、アンドゲート104の間でも記憶ループが形成され、コイン検知装置59の出力は検知状態にロックされる。
図示しないが、コイン検知装置59が遮光されていないときに交流外乱光が照射された場合には、フリップ・フロップ回路102のQ出力がH状態で各フリップ・フロップ回路96、97、98のプリセット端子PRがH状態となったままで記憶ループが形成され、また、フリップ・フロップ回路102の−Q出力がL状態で各フリップ・フロップ回路96、97、98のクリア端子CLがL状態となったままで記憶ループが形成される。よって、この場合には、コイン検知装置59の出力は非検知状態にロックされる。
また、交流外乱光が消失した場合には、オアゲート105の出力がL状態となり、各フリップ・フロップ回路96、97、98のプリセット端子PR及びクリア端子CLがいずれもL状態となるので、通常の検知状態に復帰し、コイン検知装置59の出力はコインの有無によって変化する。
従って、このコイン検知装置59によれば、交流外乱光が照射された場合には、その直前の出力状態にロックすることができ、不正にコインを検知させることができなくなる。
なお、上記説明では、直流外乱光が照射された場合と交流外乱光が照射された場合とを別々に説明したが、このコイン検知装置59は直流外乱光と交流外乱光が同時に照射される場合にも誤動作を防止できることは、上記説明から明らかである。
また、本発明のコイン検知装置59は、スロットマシンに限らずパチンコ台に用いてパチンコ玉等の検知及び計数にも用いることができる。
また、上記コイン検知装置59は、発光素子72と受光素子73を対向させてコインで発光素子72の光を遮光する透過光方式となっていたが、発光素子と受光素子を同じ側に配置し、発光素子の光をコインで反射させて受光素子で受光させるようにした反射光方式であってもよい。
また、本発明のコイン(遊技媒体)検知装置の変形例としては、アンドゲート103の出力を1段目のフリップ・フロップ回路96のプリセット端子PRにのみ接続し、アンドゲート104の出力を1段目のフリップ・フロップ回路96のクリア端子CLにのみ接続するようにしてもよい。1段目のフリップ・フロップ回路96の出力は、順次2段目のフリップ・フロップ回路97、3段目のフリップ・フロップ回路98に伝えられるので、このような変形例でも同様な誤動作防止機能を実現することができる。
また、別な変形例としては、外乱光を受光するための受光素子をコイン検知用の受光素子と別に設けたものであってもよい。
図1は、従来のコイン検知装置の回路図である。 図2は、従来のコイン検知装置に用いている信号処理回路の構成を示す回路図である。 図3は、従来のコイン検知装置の各部の信号波形を示すタイムチャートである。 図4(a)〜(k)は、コインが存在しない場合において強い直流外乱光を照射したときの各部の信号波形を示す図である。 図5(a)は直流外乱光がないときの増幅信号と受光信号の様子を説明する図、図5(b)は弱い直流外乱光が存在するときの増幅信号と受光信号の様子を説明する図である。 図6(a)は少し強い直流外乱光がないときの増幅信号と受光信号の様子を説明する図、図6(b)はさらに強い直流外乱光が存在するときの増幅信号と受光信号の様子を説明する図である。 図7は、LEDとフォトダイオードとの間が遮光されている場合において、クロック周波数よりも大きな周波数の強い外乱光が照射されたときの各部の信号波形を示す図である。 図8は、本発明の実施例によるスロットマシンの外観斜視図である。 図9は、同上のスロットマシンの前面扉を開いたときの、前面扉及びスロットマシン本体の内面の状態を示す概略図である。 図10は、同上のスロットマシンに内蔵されている投入コイン選別装置の斜視図である。 図11は、同上の投入コイン選別装置の分解斜視図である。 図12は、本発明にかかるコイン検知装置の断面図である。 図13は、コイン検知装置の回路図である。 図14は、上記コイン検知装置に用いられている信号処理回路の回路図である。 図15は、外乱光がない場合のコイン検知装置の各部の信号波形を表わしたタイムチャートである。 図16は、Dフリップ・フロップの動作表である。 図17(a)〜(k)は、コインが存在しない場合において、強い直流外乱光が照射された場合のコイン検知装置の各部の信号波形を表わしたタイムチャートである。 図18(a)〜(k)は、遮光状態において、交流外乱光が照射された場合のコイン検知装置の各部の信号波形を表わしたタイムチャートである。
符号の説明
41 スロットマシン
51 投入コイン選別装置
54 コイン通路
59 コイン検知装置
72 発光素子
73 受光素子
74 回路基板
76 ミラー面
81 発振器
82 タイミング発生回路
83 発光素子駆動回路
84 プリアンプ
85 コンデンサ
86 コンパレータ
87 バッファ回路
88 アンドゲート
90 基準電源
91 インバータ
92 アンドゲート
93 データ保持回路
94 信号処理回路
96、97、98、102 フリップ・フロップ回路
99 シフトレジスタ
100、101 アンドゲート
103、104 アンドゲート
105 オアゲート
M コイン

Claims (6)

  1. 発光素子と、前記発光素子から出射された光が遊技媒体で遮光又は反射されたことを検知する受光素子とを備えた遊技媒体検知装置であって、
    前記受光素子からの信号に基づいて遊技媒体の有無を判別する判別手段と、
    前記判別手段による判別結果を示す判別信号を出力する出力手段と、
    前記受光素子に入射する外乱光を検知する外乱光検知手段と、
    前記外乱光検知手段が外乱光を検知すると、前記出力手段から出力される判別信号を固定する誤作動防止手段と、
    を有することを特徴とする遊技媒体検知装置。
  2. 前記誤作動防止手段は、前記外乱光検知手段が外乱光を検知しなくなったら、前記出力手段から出力される判別信号の固定を解除することを特徴とする、請求項1に記載の遊技媒体検知装置。
  3. 前記発光素子は間欠的にパルス光を出射し、前記外乱光検知手段は、前記受光素子から出力される信号のうちから直流成分を弁別することによって直流外乱光を検知することを特徴とする、請求項1に記載の遊技媒体検知装置。
  4. 前記発光素子は一定の発光タイミングでパルス光を出射し、前記外乱光検知手段は、前記受光素子から出力される信号のうちから前記発光タイミング外における交流成分を弁別することによって交流直流外乱光を検知することを特徴とする、請求項1に記載の遊技媒体検知装置。
  5. 前記誤作動防止手段は、前記判別手段ないし前記出力手段の少なくとも一方を構成する電気回路において、その出力部分と入力部分との間で記憶ループを形成することによって前記出力手段から出力される判別信号を固定することを特徴とする、請求項1に記載の遊技媒体検知装置。
  6. 前記判別手段ないし前記出力手段の少なくとも一方が、前記受光素子からの信号を順次各段へ転送するシフトレジスタと、前記シフトレジスタの各段の出力の論理積を出力するアンドゲートとを有し、前記アンドゲートの出力と前記シフトレジスタのプリセット端子又はクリア端子との間で記憶ループを形成することを特徴とする、請求項5に記載の遊技媒体検知装置。
JP2006115473A 2006-04-19 2006-04-19 遊技媒体検知装置 Expired - Fee Related JP5017914B2 (ja)

Priority Applications (1)

Application Number Priority Date Filing Date Title
JP2006115473A JP5017914B2 (ja) 2006-04-19 2006-04-19 遊技媒体検知装置

Applications Claiming Priority (1)

Application Number Priority Date Filing Date Title
JP2006115473A JP5017914B2 (ja) 2006-04-19 2006-04-19 遊技媒体検知装置

Publications (2)

Publication Number Publication Date
JP2007282968A true JP2007282968A (ja) 2007-11-01
JP5017914B2 JP5017914B2 (ja) 2012-09-05

Family

ID=38755265

Family Applications (1)

Application Number Title Priority Date Filing Date
JP2006115473A Expired - Fee Related JP5017914B2 (ja) 2006-04-19 2006-04-19 遊技媒体検知装置

Country Status (1)

Country Link
JP (1) JP5017914B2 (ja)

Cited By (1)

* Cited by examiner, † Cited by third party
Publication number Priority date Publication date Assignee Title
JP2009090007A (ja) * 2007-10-11 2009-04-30 Omron Corp メダル通過検知センサ

Citations (2)

* Cited by examiner, † Cited by third party
Publication number Priority date Publication date Assignee Title
JPS62116286A (ja) * 1985-11-15 1987-05-27 Sharp Corp 光変調型検出装置
JP2005245746A (ja) * 2004-03-04 2005-09-15 Olympia:Kk 遊技機

Patent Citations (2)

* Cited by examiner, † Cited by third party
Publication number Priority date Publication date Assignee Title
JPS62116286A (ja) * 1985-11-15 1987-05-27 Sharp Corp 光変調型検出装置
JP2005245746A (ja) * 2004-03-04 2005-09-15 Olympia:Kk 遊技機

Cited By (1)

* Cited by examiner, † Cited by third party
Publication number Priority date Publication date Assignee Title
JP2009090007A (ja) * 2007-10-11 2009-04-30 Omron Corp メダル通過検知センサ

Also Published As

Publication number Publication date
JP5017914B2 (ja) 2012-09-05

Similar Documents

Publication Publication Date Title
JP5017914B2 (ja) 遊技媒体検知装置
JP4992092B2 (ja) 媒体処理装置
JP5055819B2 (ja) 遊技媒体検知装置
JP6790605B2 (ja) 紙幣識別装置
JP4253611B2 (ja) メダルセレクタ及び遊技機
JP5424389B2 (ja) 遊技機
JP2009050678A (ja) コインセレクタ及びメダル式遊技機
JP2005287602A (ja) 遊技機
JP6172891B2 (ja) 遊技機
JP2011164808A (ja) カードリーダ
JP4742532B2 (ja) 遊技機の投入メダル選別装置
JP2005304623A (ja) 不正行為防止装置及び該装置を備える遊技機
JP2006247049A (ja) 不正検出装置、及びこれを用いた遊技機
JP5846694B2 (ja) 遊技機
JP2007282867A (ja) 遊戯機用投入物セレクタ
JP2008113865A (ja) メダル貸し機の不正検出装置
JP2006075418A (ja) メダル選別装置
JP2007061331A (ja) 遊技機
JP4260074B2 (ja) メダルセレクター
JP2005137469A (ja) 遊技機の投入メダル検知装置
JP6364166B2 (ja) 遊技媒体使用機
JP5240518B2 (ja) 物体検出装置およびメダル選別装置
JPH07121296B2 (ja) スロットルマシン
JP5286498B2 (ja) コインホッパにおける誤検知防止装置
JP2006180962A (ja) 遊技機

Legal Events

Date Code Title Description
A621 Written request for application examination

Free format text: JAPANESE INTERMEDIATE CODE: A621

Effective date: 20090209

A131 Notification of reasons for refusal

Free format text: JAPANESE INTERMEDIATE CODE: A131

Effective date: 20111025

A521 Request for written amendment filed

Free format text: JAPANESE INTERMEDIATE CODE: A523

Effective date: 20111215

A131 Notification of reasons for refusal

Free format text: JAPANESE INTERMEDIATE CODE: A131

Effective date: 20120228

A521 Request for written amendment filed

Free format text: JAPANESE INTERMEDIATE CODE: A523

Effective date: 20120420

TRDD Decision of grant or rejection written
A01 Written decision to grant a patent or to grant a registration (utility model)

Free format text: JAPANESE INTERMEDIATE CODE: A01

Effective date: 20120515

A01 Written decision to grant a patent or to grant a registration (utility model)

Free format text: JAPANESE INTERMEDIATE CODE: A01

A61 First payment of annual fees (during grant procedure)

Free format text: JAPANESE INTERMEDIATE CODE: A61

Effective date: 20120528

R150 Certificate of patent or registration of utility model

Ref document number: 5017914

Country of ref document: JP

Free format text: JAPANESE INTERMEDIATE CODE: R150

Free format text: JAPANESE INTERMEDIATE CODE: R150

FPAY Renewal fee payment (event date is renewal date of database)

Free format text: PAYMENT UNTIL: 20150622

Year of fee payment: 3

LAPS Cancellation because of no payment of annual fees