JP2007263154A - 防振ブッシュ組立体 - Google Patents
防振ブッシュ組立体 Download PDFInfo
- Publication number
- JP2007263154A JP2007263154A JP2006085660A JP2006085660A JP2007263154A JP 2007263154 A JP2007263154 A JP 2007263154A JP 2006085660 A JP2006085660 A JP 2006085660A JP 2006085660 A JP2006085660 A JP 2006085660A JP 2007263154 A JP2007263154 A JP 2007263154A
- Authority
- JP
- Japan
- Prior art keywords
- flange portion
- rubber
- vibration
- inner cylinder
- cylinder member
- Prior art date
- Legal status (The legal status is an assumption and is not a legal conclusion. Google has not performed a legal analysis and makes no representation as to the accuracy of the status listed.)
- Withdrawn
Links
- 230000004323 axial length Effects 0.000 claims abstract description 25
- 238000007906 compression Methods 0.000 claims abstract description 25
- 230000006835 compression Effects 0.000 claims abstract description 24
- 230000002093 peripheral effect Effects 0.000 claims description 10
- 230000008878 coupling Effects 0.000 claims 2
- 238000010168 coupling process Methods 0.000 claims 2
- 238000005859 coupling reaction Methods 0.000 claims 2
- 239000007787 solid Substances 0.000 claims 1
- 239000002184 metal Substances 0.000 description 17
- 239000000725 suspension Substances 0.000 description 13
- 238000002955 isolation Methods 0.000 description 8
- 238000013459 approach Methods 0.000 description 4
- 238000006073 displacement reaction Methods 0.000 description 3
- CWYNVVGOOAEACU-UHFFFAOYSA-N Fe2+ Chemical compound [Fe+2] CWYNVVGOOAEACU-UHFFFAOYSA-N 0.000 description 1
- 230000000712 assembly Effects 0.000 description 1
- 238000000429 assembly Methods 0.000 description 1
- 238000002788 crimping Methods 0.000 description 1
- 230000007423 decrease Effects 0.000 description 1
- 238000004519 manufacturing process Methods 0.000 description 1
- 230000013011 mating Effects 0.000 description 1
- 238000000465 moulding Methods 0.000 description 1
- 238000010791 quenching Methods 0.000 description 1
- 230000000171 quenching effect Effects 0.000 description 1
- 238000004073 vulcanization Methods 0.000 description 1
Images
Landscapes
- Vibration Prevention Devices (AREA)
- Springs (AREA)
Abstract
【課題】軸方向の荷重が入力された際に内筒部材と外筒部材の外向きフランジ部間を連結するゴムフランジ部に対して引張荷重が入力する側に配置される防振ブッシュの耐久性を向上し得るようにした防振ブッシュ組立体を提供する。
【解決手段】内筒金具11と外筒金具13とゴム弾性体15、25とからなる第1及び第2防振ブッシュ10、20を、アームアイ40の装着孔41に軸方向両側から各内筒金具11及び各外筒金具13の外向きフランジ部11b、13bと反対側の端面どうしが対向するように挿入させて組み付ける。一方のゴムフランジ部15bの軸方向長さを、他方のゴムフランジ部25bよりも長くする。各内筒金具11、11の外向きフランジ部11b、11bと反対側の端面どうしが当接した状態のときに、一方のゴムフランジ部15bに他方のゴムフランジ部25bよりも大きい予圧縮が付与されるようにする。
【選択図】図1
【解決手段】内筒金具11と外筒金具13とゴム弾性体15、25とからなる第1及び第2防振ブッシュ10、20を、アームアイ40の装着孔41に軸方向両側から各内筒金具11及び各外筒金具13の外向きフランジ部11b、13bと反対側の端面どうしが対向するように挿入させて組み付ける。一方のゴムフランジ部15bの軸方向長さを、他方のゴムフランジ部25bよりも長くする。各内筒金具11、11の外向きフランジ部11b、11bと反対側の端面どうしが当接した状態のときに、一方のゴムフランジ部15bに他方のゴムフランジ部25bよりも大きい予圧縮が付与されるようにする。
【選択図】図1
Description
本発明は、自動車の車輪懸架装置においてサスペンションアームの車体への枢支連結部等に介装されて、サスペンションアームを車体に対して揺動可能に防振連結する防振ブッシュ組立体に関する。
従来より、自動車の車輪懸架装置においてサスペンションアームの車体への枢支連結部等に介装される防振ブッシュ組立体の一種として、例えば特許文献1〜3等に開示されているものが知られている。これらの防振ブッシュ組立体は、一般に、パイプ状に形成されて軸方向一端に外向きフランジ部を有する内筒部材と、筒状に形成されて軸方向一端に外向きフランジ部を有し内筒部材の外周側に距離を隔てて同軸的に配置された外筒部材と、それら内筒部材と外筒部材の径方向対向面間を連結するゴム本体部及び各外向きフランジ部の軸方向対向面間を連結するゴムフランジ部を有し両部材を弾性的に連結するゴム弾性体とからなる一対の防振ブッシュを用い、それらの防振ブッシュを、サスペンションアームの端部に形成された筒状のアームアイに対して軸方向両側から挿入させて、各外筒部材をアームアイに嵌着した後、車体側に形成された所定距離を隔てて対向する一対の取付板部間に嵌め込み、両内筒部材をそれら取付板部間で軸支させることによりアームアイを取付板部に対して防振連結するようにされている。
また、このような防振ブッシュ組立体においては、一般に、各防振ブッシュの外筒部材に対して、アームアイへの装着前の縮径加工やアームアイへの圧入による縮径化等によって絞り作用が加えられることにより、内筒部材と外筒部材の径方向対向面間に介在するゴム本体部に予圧縮が加えられるとともに、一対の取付板部間に一対の防振ブッシュを嵌め込んだ後、両防振ブッシュの内筒部材に挿通された枢軸を介して、一対の取付板部間で両防振ブッシュの内筒部材を軸方向に締め込むことにより、内筒部材と外筒部材の各外向きフランジ部の軸方向対向面間に介在するゴムフランジ部に予圧縮が加えられる。そして、これらの予圧縮により、ゴム弾性体における引張応力の発生が軽減乃至防止されて耐久性の向上が図られるとともに、目的とする防振特性が付与されるのである。
ところで、このような防振ブッシュ組立体には、その装着状態下で、内筒部材と外筒部材の間に軸方向の荷重や捩じり方向の荷重が入力された際に、内筒部材と外筒部材の両外向きフランジ部間を連結するゴムフランジ部に対して引張荷重が及ぼされることがある。一方、上記のように、防振ブッシュ組立体をサスペンションアームと車体の間に介装して使用する際に、内筒部材又は外筒部材に対して軸方向の初期荷重が負荷された状態に取り付けられるという特殊な場合がある。この場合には、内筒部材と外筒部材を軸方向に相対変位させるように作用する初期荷重が既に負荷された状態で使用されるため、軸方向において初期荷重が入力する側と反対側に配置されている一方の防振ブッシュにおいては、両外向きフランジ部間を連結するゴムフランジ部に対して付与されていた予圧縮が解除された状態、或いは引張荷重が入力された状態になる。そのため、自動車の走行時等において更に捩じり方向の荷重が入力すると、両外向きフランジ部間を連結するゴムフランジ部には大きな引張荷重が入力されることとなり、そのゴムフランジ部の耐久性が著しく低下してしまうという問題が発生する。
特開平10−238577号公報
特開平11−182599号公報
特開2001−165219号公報
本発明は上記問題に鑑みてなされたものであり、それぞれ軸方向一端に外向きフランジ部を有する内筒部材と外筒部材を備えた防振ブッシュが2個組み付けられた防振ブッシュ組立体において、軸方向の荷重が入力された際に内筒部材と外筒部材の外向きフランジ部間を連結するゴムフランジ部に対して引張荷重が入力する側に配置される防振ブッシュの耐久性を向上し得るようにした防振ブッシュ組立体を提供することを解決すべき課題とするものである。
上記課題を解決する本発明は、軸方向一端に外向きフランジ部を有する内筒部材と、軸方向一端に外向きフランジ部を有し前記内筒部材の外周側に距離を隔てて同軸状に配設された外筒部材と、前記内筒部材と前記外筒部材の径方向対向面間を連結するゴム本体部および各前記外向きフランジ部の軸方向対向面間を連結するゴムフランジ部を有し両部材を弾性的に連結するゴム弾性体とからなる防振ブッシュを2個用いて、取付筒部材の装着孔に軸方向両側から各前記内筒部材および各前記外筒部材の前記外向きフランジ部と反対側の端面どうしが対向するように挿入させることにより、両前記外筒部材が前記装着孔に嵌着された状態に組み付けられた防振ブッシュ組立体において、一方の前記ゴムフランジ部は、他方の前記ゴムフランジ部よりも軸方向長さが長くされているとともに、各前記内筒部材の前記外向きフランジ部と反対側の端面どうしが当接した状態のときに、一方の前記ゴムフランジ部と他方の前記ゴムフランジ部に異なる量の予圧縮が付与されるように構成されていることを特徴としている。
本発明の防振ブッシュ組立体は、自動車のサスペンションアームと車体の枢支連結部等に介装されて使用される場合に、軸方向長さが長くされているゴムフランジ部を有する防振ブッシュが、軸方向の荷重が入力する側と反対側に位置するように取り付けられる。即ち、その防振ブッシュは、軸方向の荷重が入力された際に、内筒部材と外筒部材の外向きフランジ部間を連結するゴムフランジ部に対して引張荷重が入力する側に配置される。これにより、そのゴムフランジ部は、軸方向及び捩じり方向における自由長がより長くなるようにされているため、軸方向や捩じり方向の荷重が入力された際に生じる歪みが有効に低減されるようになり、耐久性の向上が可能となる。
また、両防振ブッシュの各ゴムフランジ部には、各内筒部材の外向きフランジ部と反対側の端面どうしが当接した状態のときに、異なる量の予圧縮が付与されるようにされており、通常、軸方向長さが長くされているゴムフランジ部に対して他方のゴムフランジ部よりも大きい予圧縮が付与される。これにより、防振ブッシュ組立体が自動車に取り付けられた際に、大きい予圧縮が付与されているゴムフランジ部に対して軸方向の初期荷重が入力された場合でも、そのゴムフランジ部に有効に予圧縮が付与された状態を維持することが可能となる。そのため、そのゴムフランジ部の軸方向長さが長くされていることと相俟って、軸方向や捩じり方向の荷重が入力された際に生じる歪みが有効に低減されるようになり、耐久性の向上が可能となる。
なお、軸方向長さが長くされているゴムフランジ部に対して充分な予圧縮量の確保が可能な場合には、必ずしも他方のゴムフランジ部よりも大きな予圧縮が付与されている必要はなく、他方のゴムフランジ部よりも小さい予圧縮が付与されるようにしてもよい。このようにするには、例えば、軸方向長さが長くされているゴムフランジ部の外径寸法を、他方のゴムフランジ部の外径寸法よりも大きくすることにより達成できる。
本発明において、軸方向長さが長くされている一方のゴムフランジ部は、他方のゴムフランジ部よりも予圧縮量が大きくされているのが好ましい。このようにされていれば、軸方向長さが長くされているここと相俟って、軸方向や捩じり方向の荷重が入力された際に生じる歪みをより有効に低減することができ、耐久性の向上を有利に達成することが可能となる。この場合、各ゴムフランジ部に付与される予圧縮量は、各ゴムフランジ部の軸方向のばね定数を調整することにより適宜設定することができる。また、各ゴムフランジ部の軸方向のばね定数は、各ゴムフランジ部の外径寸法を変化させることにより調整することが可能である。
また、本発明において、両内筒部材は、取付筒部材の装着孔に挿入された際に、互いに対向する軸方向端面側の端部に設けられた連結固定部に圧入される連結筒部材により連結されているようにするのが好ましい。この連結筒部材を採用することにより、両内筒部材の各外向きフランジ部の軸方向における相対位置を容易に設定することができるので、各ゴムフランジ部に付与される予圧縮量の調整を容易に行うことができる。
また、本発明の好適な態様として、両防振ブッシュは、両内筒部材と両外筒部材を軸方向に相対変位させる軸方向の初期荷重が両内筒部材に入力した状態で車体側に取り付けられ、軸方向長さが長くされたゴムフランジ部を有する一方の防振ブッシュが初期荷重の入力側と反対側に位置するように取り付けられている。
本発明の防振ブッシュ組立体によれば、一方のゴムフランジ部は、他方のゴムフランジ部よりも軸方向長さが長くされているとともに、各内筒部材の外向きフランジ部と反対側の端面どうしが当接した状態のときに、一方のゴムフランジ部と他方のゴムフランジ部に異なる量の予圧縮が付与されるように構成されているため、軸方向の荷重が入力された際に内筒部材と外筒部材の外向きフランジ部間を連結するゴムフランジ部に対して引張荷重が入力する側に配置される防振ブッシュの耐久性を向上させることができる。
以下、本発明の実施形態を図面に基づいて説明する。
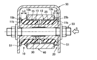
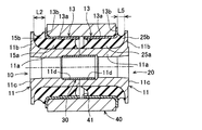
図1は本実施形態に係る防振ブッシュ組立体の軸方向に沿う断面図であり、図2はその防振ブッシュ組立体を構成する第1及び第2防振ブッシュの軸方向に沿う断面図である。
図1は本実施形態に係る防振ブッシュ組立体の軸方向に沿う断面図であり、図2はその防振ブッシュ組立体を構成する第1及び第2防振ブッシュの軸方向に沿う断面図である。
本実施形態の防振ブッシュ組立体は、自動車の車輪懸架装置においてサスペンションアームの車体への枢支連結部等に介装されて使用されるものであって、図1に示すように、内筒部材としての内筒金具11、外筒部材としての外筒金具13及びゴム弾性体15からなる第1防振ブッシュ10と、内筒部材としての内筒金具11、外筒部材としての外筒金具13及びゴム弾性体25からなる第2防振ブッシュ20と、両内筒金具11、11を連結する連結筒部材30と、第1防振ブッシュ10及び第2防振ブッシュ20が圧入固定される取付筒部材としてのアームアイ40と、から構成されている。なお、アームアイ40は、サスペンションアーム(図示せず)の軸方向端部に一体形成されたものであって、両端が開口した筒状に形成され、第1防振ブッシュ10及び第2防振ブッシュ20が圧入固定される装着孔41を有する。
第1防振ブッシュ10は、図2に示すように、筒状部11a及び外向きフランジ部11bを有する内筒金具11と、筒状部13a及び外向きフランジ部13bを有する外筒金具13と、ゴム本体部15a及びゴムフランジ部15bを有するゴム弾性体15とから構成されている。内筒金具11は、厚肉円筒形状の筒状部11aと、筒状部11aの軸方向一端から径方向外方に延出するリング状の外向きフランジ部11bとからなる。また、外筒金具13は、同様に、円筒形状の筒状部13aと、筒状部13aの軸方向一端から径方向外方に延出するリング状の外向きフランジ部13bとからなり、内筒金具11よりも薄肉に形成されている。この外筒金具13は、その筒状部13aが内筒金具11の筒状部11aよりも所定寸法大径で且つ軸方向長さが短くされており、内筒金具11の外周側に所定距離を隔てて同軸状に配設されている。
そして、内筒金具11の外向きフランジ部11bと外筒金具13の外向きフランジ部13bは、軸方向の同じ側に位置するようにされているとともに、外筒金具13が内筒金具11に対して外向きフランジ部11bとは反対の軸方向端部側へ寄った状態に配設されており、外筒金具13の外向きフランジ部13bが形成されていない側の軸方向端部が、内筒金具11の外向きフランジ部11bが形成されていない側の軸方向端面よりも、所定距離:L1だけ軸方向外方へ突出している。
なお、外筒金具13の外向きフランジ部13bは、内筒金具11の筒状部11aの外径寸法よりも大きく且つ内筒金具11の外向きフランジ部11bの外径寸法よりも小さい内径寸法と、内筒金具11の外向きフランジ部11bの外径寸法よりも大きい外径寸法をもって形成されている。また、内筒金具11の外向きフランジ部11bの軸方向内側面は、径方向内方に向かうに従って次第に外筒金具13側に接近する略円弧形状の湾曲断面とされている。また、内筒金具11の外向きフランジ部11b側の軸方向端面は、中央部分11cが環状にセレーション加工及び焼入加工されて、取付相手部材(取付部材50の対向固定板51、51)に対する圧着固定面とされている。また、内筒金具11の内孔は、外向きフランジ部11bと反対側の軸方向端部が軸方向に所定長さに亘って大径化されており、この大径化された部分によって連結筒部材30が圧入固定される連結固定部11dが形成されている。
ここで用いられている連結筒部材30は、鉄系金属により各外筒金具13、23と略同じ肉厚の円筒形状に形成されており、各内筒金具11、21の軸方向長さの約1/2の軸方向長さを有し、各内筒金具11、21の内孔に設けられた連結固定部11d、21dの直径よりも僅かに大きい外径を有する。この連結筒部材30は、防振ブッシュ組付体が車体(図示せず)に組み付けられる前には、図2に示すように、一方の第1防振ブッシュ10の内筒金具11の内孔に設けられた連結固定部11d内に軸方向一方側の半分が挿入された状態で圧入固定されている。
ゴム弾性体15は、上記のように径方向に離間配置された内筒金具11と外筒金具13の間に介装されている。このゴム弾性体15は、内筒金具11及び外筒金具13とともに一体加硫成形することにより形成されており、内筒金具11における筒状部11aの外周面と外向きフランジ部11bの軸方向内面、及び外筒金具13における筒状部13aの内周面と外向きフランジ部13bの軸方向外面に、それぞれ加硫接着されている。このゴム弾性体15は、全体として厚肉の略円筒形状に形成されており、内外筒金具11、13間において、各筒状部11a、13aの径方向対向面間を連結するゴム本体部15aと、各外向きフランジ部11b、13bの軸方向対向面間を連結するゴムフランジ部15bとを有する。
なお、ゴム弾性体15の加硫成形後には、外筒金具13の筒状部13aに対して八方絞り加工等による縮径が施されており、これによりゴム弾性体15の引張応力が解消され、ゴム本体部15aに対して径方向の所定量の予圧縮が加えられている。ゴム本体部15aのゴムフランジ部15bと反対側の軸方向端面は、径方向外方側の部分が僅かに窪んだ湾曲面15cとされている。
一方、ゴムフランジ部15bは、内外筒金具11、13の各外向きフランジ部11b、13bの軸方向対向面間の略全体に亘って配設されており、内筒金具11の外向きフランジ部11b側端部よりも外筒金具13の外向きフランジ部13b側端部の方が僅かに大径とされている。即ち、ゴムフランジ部15bの外周面における外筒金具13の外向きフランジ部13b側端部は、軸方向断面において略平坦となるように形成され、ゴムフランジ部15bの外周面における内筒金具11の外向きフランジ部11b側には、径方向内方へ湾曲状に凹んで周方向に連続して延びる凹部15dが形成されている。このゴムフランジ部15bの軸方向のばね定数は、ゴムフランジ部15bの最小外径となる凹部15dの最深底部間の寸法と、ゴムフランジ部15bの軸方向長さ:L2に基づいて設定される。なお、このゴムフランジ部15bの軸方向長さ:L2は、第2防振ブッシュ20のゴムフランジ部25bの軸方向長さL5よりも長くされている。
第2防振ブッシュ20は、図2に示すように、筒状部11a及び外向きフランジ部11bを有する内筒金具11と、筒状部13a及び外向きフランジ部13bを有する外筒金具13と、ゴム本体部25a及びゴムフランジ部25bを有するゴム弾性体25とから構成されている。この第2防振ブッシュ20は、第1防振ブッシュ10と同一の内筒金具11及び外筒金具13を用いて、ゴム弾性体25をそれら内外筒金具11、13と一体加硫成形することにより形成されたものであり、第2防振ブッシュ20のゴム弾性体25の形状のみが第1防振ブッシュ10のゴム弾性体15と異なるものである。よって、第1防振ブッシュ10の内筒金具11及び外筒金具13と共通する部材やそれらの部位等については、図中に同じ番号を付すのみに止めて詳しい説明は省略し、以下、ゴム弾性体25に関する異なる点を中心に説明する。
ゴム本体部25aのゴムフランジ部25bと反対側の軸方向端面は、内筒金具11の筒状部11a側端部よりも外筒金具13の筒状部13a側端部の方が軸方向内方へ少し寄った所に位置しており、それらの径方向における両端部間には、断面が略円弧状となるよう軸方向内方へ凹んだ凹部25cが周方向に連続して形成されている。一方、ゴムフランジ部25bの軸方向長さ:L5は、第1防振ブッシュ10のゴムフランジ部15bの軸方向長さ:L2よりも短くされている。これに伴い、外筒金具13の外向きフランジ部13bは、内筒金具11の外向きフランジ部11bに接近したところに位置しており、外筒金具13の外向きフランジ部13bが形成されていない側の軸方向端面は、内筒金具11の外向きフランジ部11bが形成されていない側の軸方向端面よりも、所定距離:L4だけ軸方向内方へ寄った所に位置している。
そして、ゴムフランジ部25bの外周面は、内筒金具11の外向きフランジ部11b側端部よりも外筒金具13の外向きフランジ部13b側端部の方が僅かに大径とされている。ゴムフランジ部25bの外周面の軸方向両端部間には、断面が略円弧状となるよう径方向内方へ凹んだ凹部25dが周方向に連続して延びるように形成されている。この凹部25dの最深底部は、第1防振ブッシュ10のゴムフランジ部15bに形成された凹部15dの最深底部と略同じにされている。このゴムフランジ部25bの軸方向のばね定数は、ゴムフランジ部25bの最小外径となる凹部25dの最深底部間の寸法と、ゴムフランジ部25bの軸方向長さ:L5に基づいて設定される。
上記のように構成された第1防振ブッシュ10と第2防振ブッシュ20は、図1に示すように、アームアイ40の装着孔41に対して、軸方向両側の開口部からそれぞれ圧入されており、各内筒金具11、11の外向きフランジ部11b、11bと反対側の端面どうしが当接し、且つ各外筒金具13、13の外向きフランジ部13b、13bの軸方向内面がアームアイ40の軸方向端面と当接した状態になるまで圧入される。このとき、第1防振ブッシュ10の内筒金具11の連結固定部11dに軸方向一方側の半分が挿入された状態で圧入固定されている連結筒部材30の軸方向他方側が、第2防振ブッシュ20の内筒金具11の連結固定部11dに圧入される。これにより、両内筒金具11、11は、各内筒金具11、11の外向きフランジ部11b、11bと反対側の端面どうしが当接した状態で連結固定される。
このようにして、両内筒金具11、11が連結筒部材30により連結固定されると、第1防振ブッシュ10の内外筒金具11、13の両外向きフランジ部11b、13bどうし、及び第2防振ブッシュ20の内外筒金具11、13の両外向きフランジ部11b、13bどうしは、それぞれ軸方向において互いに接近するように相対変位する。これにより、第1防振ブッシュ10の内外筒金具11、13の両外向きフランジ部11b、13b間を連結しているゴムフランジ部15bと、第2防振ブッシュ20の内外筒金具11、13の両外向きフランジ部11b、13b間を連結しているゴムフランジ部25bは、それぞれの両外向きフランジ部11b、13bの軸方向の相対変位量に応じて軸方向に圧縮され、両ゴムフランジ部15b、25bにそれぞれ異なる量の予圧縮が付与される。この場合、第1防振ブッシュ10のゴムフランジ部15bは、第2防振ブッシュ20のゴムフランジ部25bよりも大きく圧縮され、ゴムフランジ部25bよりも大きな予圧縮が付与されている。
なお、上記のように組み付けられた防振ブッシュ組付体においては、図1に示す組付状態下において、第1防振ブッシュ10のゴムフランジ部15bの軸方向長さ:L3は、付与された予圧縮量に応じて、無負荷状態時の軸方向長さ:L2(図2参照。)より所定長さ短くなり、第2防振ブッシュ20のゴムフランジ部25bの軸方向長さ:L6は、付与された予圧縮量に応じて、無負荷状態時の軸方向長さ:L5(図2参照。)より所定長さ短くなっている。
以上のように構成された本実施形態の防振ブッシュ組立体は、図3に示すように、車体(図示せず)に固設された取付部材50の一対の対向固定板51、51間に嵌め込まれて、第1及び第2防振ブッシュ10、20が直列状に配列された状態に配設される。そして、一対の対向固定板51、51に設けられた貫通孔に挿通されて、それら一対の対向固定板51、51間に跨って配設された支持ボルト53が、第1及び第2防振ブッシュ10、20の両内筒金具11、11の内孔に嵌挿されることによって、防振ブッシュ組立体が、支持ボルト53を介して、一対の対向固定板51、51に対して軸支される。
そして、一対の対向固定板51、51並びに第1及び第2防振ブッシュ10、20に挿通された支持ボルト53がナット54で締め付けられて、一対の対向固定板51、51が相互に接近する方向に変形することにより、軸方向に連結一体化された両内筒金具11、11に対して軸方向の締付力が及ぼされる。この締付力により、両内筒金具11、11の軸方向外面に施されたセレーション加工部が、各対向固定板51、51の当接面に対して圧着される。このようにして、本実施形態の防振ブッシュ組立体が、車体側に固設された取付部材50の一対の対向固定板51、51に対して、支持ボルト53を介して軸支されるように取り付けられることにより、サスペンションアームが車体に対して揺動可能に防振連結される。
ところで、本実施形態の防振ブッシュ組立体は、上記のように取り付けられた際に、図4に示すように、支持ボルト53に対して軸方向の初期加重Sが入力する箇所に設置されている。そのため、初期加重Sの入力により、両内筒金具11、11と両外筒金具13、13が軸方向に相対変位することとなる。これにより、初期荷重Sの入力側に位置する第2防振ブッシュ20においては、内筒金具11と外筒金具13の両外向きフランジ部11b、13bが軸方向において互いに接近するように相対変位するため、両外向きフランジ部11b、13b間を連結するゴムフランジ部25bには軸方向の圧縮荷重が入力し、ゴムフランジ部25bに付与されていた予圧縮が増加した状態となる。
一方、初期荷重Sの入力側と反対側に位置する第1防振ブッシュ10においては、内筒金具11と外筒金具13の両外向きフランジ部11b、13bが軸方向において互いに離間するように相対変位するため、両外向きフランジ部11b、13b間を連結するゴムフランジ部15bには軸方向の引張荷重が入力し、ゴムフランジ部15bに付与されていた予圧縮が減少する。しかし、このゴムフランジ部15bには、初期荷重Sの入力による引張荷重よりも大きな予圧縮が付与されているため、初期荷重Sが入力した後でも、相殺されて残った量の予圧縮が残存している。これにより、ゴムフランジ部15bに入力する軸方向や捩じり方向の引張荷重に対する耐久性が確保される。
以上のようにして、自動車に取り付けられた本実施形態の防振ブッシュ組立体は、軸方向の初期荷重Sが入力された際に、引張荷重が入力する側に配置された第1防振ブッシュ10のゴムフランジ部15bが、第2防振ブッシュ20のゴムフランジ部25bよりも軸方向長さが長くされている。これにより、そのゴムフランジ部15bは、軸方向及び捩じり方向における自由長がより長くなるようにされているため、軸方向や捩じり方向の荷重が入力された際に生じる歪みが有効に低減されるようになり、耐久性を向上させることができる。
また、第1防振ブッシュ10のゴムフランジ部15bは、防振ブッシュ組立体として組み付けられたときに、第2防振ブッシュ20のゴムフランジ部25bよりも大きい予圧縮が付与されているため、防振ブッシュ組立体が自動車に取り付けられた際に、軸方向の初期荷重Sが入力されても、有効に予圧縮が付与された状態を維持することができる。これにより、ゴムフランジ部15bの軸方向長さが長くされていることと相俟って、軸方向や捩じり方向の荷重が入力された際に生じる歪みが有効に低減されるようになり、耐久性の向上が可能となる。
以上のように、本実施形態の防振ブッシュ組立体によれば、第1防振ブッシュ10のゴムフランジ部15bは、第2防振ブッシュ20のゴムフランジ部25bよりも軸方向長さが長くされているとともに、各内筒金具11、11の外向きフランジ部11bと反対側の端面どうしが当接した状態のときに、一方のゴムフランジ部15bに他方のゴムフランジ部25bよりも大きな予圧縮が付与されるようにして、両ゴムフランジ部15b、25bに異なる量の予圧縮が付与されるように構成されているため、軸方向の初期荷重Sが入力された際に、ゴムフランジ部15bに対して引張荷重が入力する側に配置される第1防振ブッシュ10の耐久性を向上させることができる。
また、本実施形態の防振ブッシュ組立体は、第1防振ブッシュ10と第2防振ブッシュ20の内筒金具11、11及び外筒金具13、13が、同一のものが用いられているため、それぞれ1種類のものを準備すればよく、製造コストを低減化することができる。
10…第1防振ブッシュ 11…内筒金具(内筒部材) 11a…筒状部 11b…外向きフランジ部 13…外筒金具(外筒部材) 13a…筒状部 13b…外向きフランジ部 15…ゴム弾性体 15a…ゴム本体部 15b…ゴムフランジ部 20…第2防振ブッシュ 25…ゴム弾性体 25a…ゴム本体部 25b…ゴムフランジ部 30…連結筒部材 40…アームアイ(取付筒部材) 41…装着孔 50…取付部材 51…対向固定板 53…支持ボルト
Claims (5)
- 軸方向一端に外向きフランジ部を有する内筒部材と、軸方向一端に外向きフランジ部を有し前記内筒部材の外周側に距離を隔てて同軸状に配設された外筒部材と、前記内筒部材と前記外筒部材の径方向対向面間を連結するゴム本体部および各前記外向きフランジ部の軸方向対向面間を連結するゴムフランジ部を有し両部材を弾性的に連結するゴム弾性体とからなる防振ブッシュを2個用いて、取付筒部材の装着孔に軸方向両側から各前記内筒部材および各前記外筒部材の前記外向きフランジ部と反対側の端面どうしが対向するように挿入させることにより、両前記外筒部材が前記装着孔に嵌着された状態に組み付けられた防振ブッシュ組立体において、
一方の前記ゴムフランジ部は、他方の前記ゴムフランジ部よりも軸方向長さが長くされているとともに、各前記内筒部材の前記外向きフランジ部と反対側の端面どうしが当接した状態のときに、一方の前記ゴムフランジ部と他方の前記ゴムフランジ部に異なる量の予圧縮が付与されるように構成されていることを特徴とする防振ブッシュ組立体。 - 軸方向長さが長くされている一方の前記ゴムフランジ部は、他方の前記ゴムフランジ部よりも予圧縮量が大きくされている請求項1に記載の防振ブッシュ組立体。
- 各前記ゴムフランジ部の軸方向のばね定数は、各前記ゴムフランジ部の外径寸法を変化させることにより調整されている請求項1又は2に記載の防振ブッシュ組立体。
- 両前記内筒部材は、前記取付筒部材の装着孔に挿入された際に、互いに対向する軸方向端面側の端部に設けられた連結固定部に圧入される連結筒部材により連結されている請求項1〜3の何れかに記載の防振ブッシュ組立体。
- 両前記防振ブッシュは、両前記内筒部材と両前記外筒部材を軸方向に相対変位させる軸方向の初期荷重が両前記内筒部材に入力した状態で車体側に取り付けられ、軸方向長さが長くされた前記ゴムフランジ部を有する一方の防振ブッシュが前記初期荷重の入力側と反対側に位置するように取り付けられている請求項1〜4の何れかに記載の防振ブッシュ組立体。
Priority Applications (1)
| Application Number | Priority Date | Filing Date | Title |
|---|---|---|---|
| JP2006085660A JP2007263154A (ja) | 2006-03-27 | 2006-03-27 | 防振ブッシュ組立体 |
Applications Claiming Priority (1)
| Application Number | Priority Date | Filing Date | Title |
|---|---|---|---|
| JP2006085660A JP2007263154A (ja) | 2006-03-27 | 2006-03-27 | 防振ブッシュ組立体 |
Publications (1)
| Publication Number | Publication Date |
|---|---|
| JP2007263154A true JP2007263154A (ja) | 2007-10-11 |
Family
ID=38636358
Family Applications (1)
| Application Number | Title | Priority Date | Filing Date |
|---|---|---|---|
| JP2006085660A Withdrawn JP2007263154A (ja) | 2006-03-27 | 2006-03-27 | 防振ブッシュ組立体 |
Country Status (1)
| Country | Link |
|---|---|
| JP (1) | JP2007263154A (ja) |
Cited By (5)
| Publication number | Priority date | Publication date | Assignee | Title |
|---|---|---|---|---|
| JP2015132282A (ja) * | 2014-01-09 | 2015-07-23 | 住友理工株式会社 | 筒形防振装置 |
| JP2017078502A (ja) * | 2015-10-22 | 2017-04-27 | 株式会社ジェイテクト | ダンパ装置及びステアリング装置 |
| CN109778604A (zh) * | 2019-03-07 | 2019-05-21 | 安徽神剑科技股份有限公司 | 一种双层非线性减振扣件用套圈 |
| US10611404B2 (en) | 2015-10-22 | 2020-04-07 | Jtekt Corporation | Damper device and steering device |
| CN113788040A (zh) * | 2021-09-30 | 2021-12-14 | 株洲时代瑞唯减振装备有限公司 | 转臂节点的预压缩量调节方法 |
-
2006
- 2006-03-27 JP JP2006085660A patent/JP2007263154A/ja not_active Withdrawn
Cited By (6)
| Publication number | Priority date | Publication date | Assignee | Title |
|---|---|---|---|---|
| JP2015132282A (ja) * | 2014-01-09 | 2015-07-23 | 住友理工株式会社 | 筒形防振装置 |
| JP2017078502A (ja) * | 2015-10-22 | 2017-04-27 | 株式会社ジェイテクト | ダンパ装置及びステアリング装置 |
| US10611404B2 (en) | 2015-10-22 | 2020-04-07 | Jtekt Corporation | Damper device and steering device |
| CN109778604A (zh) * | 2019-03-07 | 2019-05-21 | 安徽神剑科技股份有限公司 | 一种双层非线性减振扣件用套圈 |
| CN109778604B (zh) * | 2019-03-07 | 2024-03-08 | 安徽神剑科技股份有限公司 | 一种双层非线性减振扣件用套圈 |
| CN113788040A (zh) * | 2021-09-30 | 2021-12-14 | 株洲时代瑞唯减振装备有限公司 | 转臂节点的预压缩量调节方法 |
Similar Documents
| Publication | Publication Date | Title |
|---|---|---|
| US6666438B2 (en) | Cylindrical elastic mount | |
| CN108223643B (zh) | 管状减振装置 | |
| WO2013046628A1 (ja) | 防振装置 | |
| JP2003294084A (ja) | 防振ブッシュ | |
| JP2017067157A (ja) | ブラケット付き筒形防振装置 | |
| JP4356641B2 (ja) | トルクロッド | |
| JP2007263154A (ja) | 防振ブッシュ組立体 | |
| JP2000193003A (ja) | 自動車用エンジンロールマウント | |
| JP3712818B2 (ja) | 防振ブッシュおよびブッシュ組立体 | |
| JP2014145410A (ja) | サスペンションブッシュ | |
| JP3729404B2 (ja) | 防振ブッシュ | |
| JP2006242289A (ja) | 防振ブッシュ | |
| JP3729003B2 (ja) | 防振ブッシュおよび防振ブッシュ組立体 | |
| JP2002248923A (ja) | 防振ブッシュ付スタビライザーバー | |
| JP4358874B2 (ja) | 防振ブッシュ | |
| JP7121719B2 (ja) | ブラケット付き筒型防振装置 | |
| WO2018198412A1 (ja) | トルクロッド | |
| JPH08270698A (ja) | 防振ブッシュ | |
| JP4303297B2 (ja) | 防振ブッシュ | |
| JP3937352B2 (ja) | 防振装置 | |
| JP2006347370A (ja) | サスペンションブッシュ | |
| JP2001248671A (ja) | ブッシュ | |
| JP2010060023A (ja) | 防振ブッシュ | |
| WO2012132105A1 (ja) | 防振装置 | |
| JP5396252B2 (ja) | 筒形防振装置 |
Legal Events
| Date | Code | Title | Description |
|---|---|---|---|
| A621 | Written request for application examination |
Free format text: JAPANESE INTERMEDIATE CODE: A621 Effective date: 20080820 |
|
| A761 | Written withdrawal of application |
Free format text: JAPANESE INTERMEDIATE CODE: A761 Effective date: 20090428 |