JP2007207526A - ニッケル水素蓄電池 - Google Patents
ニッケル水素蓄電池 Download PDFInfo
- Publication number
- JP2007207526A JP2007207526A JP2006023674A JP2006023674A JP2007207526A JP 2007207526 A JP2007207526 A JP 2007207526A JP 2006023674 A JP2006023674 A JP 2006023674A JP 2006023674 A JP2006023674 A JP 2006023674A JP 2007207526 A JP2007207526 A JP 2007207526A
- Authority
- JP
- Japan
- Prior art keywords
- separator
- electrode plate
- nonwoven fabric
- nickel
- thickness
- Prior art date
- Legal status (The legal status is an assumption and is not a legal conclusion. Google has not performed a legal analysis and makes no representation as to the accuracy of the status listed.)
- Granted
Links
- 238000003860 storage Methods 0.000 title claims abstract description 47
- 239000001257 hydrogen Substances 0.000 title claims abstract description 19
- 229910052739 hydrogen Inorganic materials 0.000 title claims abstract description 19
- 238000011282 treatment Methods 0.000 claims abstract description 75
- 239000007789 gas Substances 0.000 claims abstract description 36
- 239000000835 fiber Substances 0.000 claims abstract description 31
- 238000006277 sulfonation reaction Methods 0.000 claims abstract description 19
- UFHFLCQGNIYNRP-UHFFFAOYSA-N Hydrogen Chemical compound [H][H] UFHFLCQGNIYNRP-UHFFFAOYSA-N 0.000 claims abstract description 16
- 229910045601 alloy Inorganic materials 0.000 claims abstract description 15
- 239000000956 alloy Substances 0.000 claims abstract description 15
- 229920000098 polyolefin Polymers 0.000 claims abstract description 14
- 239000002245 particle Substances 0.000 claims abstract description 13
- 239000004745 nonwoven fabric Substances 0.000 claims description 66
- PXHVJJICTQNCMI-UHFFFAOYSA-N nickel Substances [Ni] PXHVJJICTQNCMI-UHFFFAOYSA-N 0.000 claims description 45
- 229910052987 metal hydride Inorganic materials 0.000 claims description 34
- YCKRFDGAMUMZLT-UHFFFAOYSA-N Fluorine atom Chemical compound [F] YCKRFDGAMUMZLT-UHFFFAOYSA-N 0.000 claims description 28
- 239000011737 fluorine Substances 0.000 claims description 28
- 229910052731 fluorine Inorganic materials 0.000 claims description 28
- 229910052759 nickel Inorganic materials 0.000 claims description 28
- -1 nickel metal hydride Chemical class 0.000 claims description 26
- 239000003792 electrolyte Substances 0.000 claims description 23
- 239000004094 surface-active agent Substances 0.000 claims description 14
- 238000009832 plasma treatment Methods 0.000 claims description 11
- 239000011162 core material Substances 0.000 claims description 9
- 239000002491 polymer binding agent Substances 0.000 claims description 8
- 229920003176 water-insoluble polymer Polymers 0.000 claims description 8
- 238000010438 heat treatment Methods 0.000 claims description 6
- 239000000463 material Substances 0.000 claims description 6
- BFDHFSHZJLFAMC-UHFFFAOYSA-L nickel(ii) hydroxide Chemical compound [OH-].[OH-].[Ni+2] BFDHFSHZJLFAMC-UHFFFAOYSA-L 0.000 claims description 6
- 238000002844 melting Methods 0.000 claims description 5
- 230000008018 melting Effects 0.000 claims description 4
- 229920005672 polyolefin resin Polymers 0.000 claims description 4
- 239000007774 positive electrode material Substances 0.000 claims description 3
- 229910000652 nickel hydride Inorganic materials 0.000 claims description 2
- 239000011230 binding agent Substances 0.000 abstract description 4
- 239000004744 fabric Substances 0.000 abstract 3
- 238000004804 winding Methods 0.000 description 35
- HEMHJVSKTPXQMS-UHFFFAOYSA-M Sodium hydroxide Chemical compound [OH-].[Na+] HEMHJVSKTPXQMS-UHFFFAOYSA-M 0.000 description 18
- 230000000052 comparative effect Effects 0.000 description 17
- 230000006835 compression Effects 0.000 description 14
- 238000007906 compression Methods 0.000 description 14
- 239000007788 liquid Substances 0.000 description 13
- 239000000758 substrate Substances 0.000 description 13
- 239000000203 mixture Substances 0.000 description 12
- 238000000034 method Methods 0.000 description 10
- 229920003002 synthetic resin Polymers 0.000 description 10
- 239000000057 synthetic resin Substances 0.000 description 10
- 238000002845 discoloration Methods 0.000 description 8
- WMFOQBRAJBCJND-UHFFFAOYSA-M Lithium hydroxide Chemical compound [Li+].[OH-] WMFOQBRAJBCJND-UHFFFAOYSA-M 0.000 description 5
- 239000007864 aqueous solution Substances 0.000 description 5
- 238000001035 drying Methods 0.000 description 5
- 229910052751 metal Inorganic materials 0.000 description 5
- 239000002184 metal Substances 0.000 description 5
- 238000004080 punching Methods 0.000 description 5
- 229920002134 Carboxymethyl cellulose Polymers 0.000 description 4
- 239000002174 Styrene-butadiene Substances 0.000 description 4
- RAHZWNYVWXNFOC-UHFFFAOYSA-N Sulphur dioxide Chemical compound O=S=O RAHZWNYVWXNFOC-UHFFFAOYSA-N 0.000 description 4
- 238000010521 absorption reaction Methods 0.000 description 4
- 239000001768 carboxy methyl cellulose Substances 0.000 description 4
- 235000010948 carboxy methyl cellulose Nutrition 0.000 description 4
- 239000008112 carboxymethyl-cellulose Substances 0.000 description 4
- 238000006243 chemical reaction Methods 0.000 description 4
- 239000011148 porous material Substances 0.000 description 4
- 229920003048 styrene butadiene rubber Polymers 0.000 description 4
- 229910021503 Cobalt(II) hydroxide Inorganic materials 0.000 description 3
- 239000004743 Polypropylene Substances 0.000 description 3
- ASKVAEGIVYSGNY-UHFFFAOYSA-L cobalt(ii) hydroxide Chemical compound [OH-].[OH-].[Co+2] ASKVAEGIVYSGNY-UHFFFAOYSA-L 0.000 description 3
- 239000006258 conductive agent Substances 0.000 description 3
- 239000008151 electrolyte solution Substances 0.000 description 3
- 238000007654 immersion Methods 0.000 description 3
- 238000004519 manufacturing process Methods 0.000 description 3
- 229920001155 polypropylene Polymers 0.000 description 3
- 238000007789 sealing Methods 0.000 description 3
- XLYOFNOQVPJJNP-UHFFFAOYSA-N water Substances O XLYOFNOQVPJJNP-UHFFFAOYSA-N 0.000 description 3
- CURLTUGMZLYLDI-UHFFFAOYSA-N Carbon dioxide Chemical compound O=C=O CURLTUGMZLYLDI-UHFFFAOYSA-N 0.000 description 2
- MYMOFIZGZYHOMD-UHFFFAOYSA-N Dioxygen Chemical compound O=O MYMOFIZGZYHOMD-UHFFFAOYSA-N 0.000 description 2
- 229910019083 Mg-Ni Inorganic materials 0.000 description 2
- 229910019403 Mg—Ni Inorganic materials 0.000 description 2
- 229920003171 Poly (ethylene oxide) Polymers 0.000 description 2
- 239000004698 Polyethylene Substances 0.000 description 2
- 239000004372 Polyvinyl alcohol Substances 0.000 description 2
- KWYUFKZDYYNOTN-UHFFFAOYSA-M Potassium hydroxide Chemical compound [OH-].[K+] KWYUFKZDYYNOTN-UHFFFAOYSA-M 0.000 description 2
- QAOWNCQODCNURD-UHFFFAOYSA-N Sulfuric acid Chemical compound OS(O)(=O)=O QAOWNCQODCNURD-UHFFFAOYSA-N 0.000 description 2
- MTAZNLWOLGHBHU-UHFFFAOYSA-N butadiene-styrene rubber Chemical compound C=CC=C.C=CC1=CC=CC=C1 MTAZNLWOLGHBHU-UHFFFAOYSA-N 0.000 description 2
- 125000004432 carbon atom Chemical group C* 0.000 description 2
- 150000001868 cobalt Chemical class 0.000 description 2
- 239000002131 composite material Substances 0.000 description 2
- 238000005520 cutting process Methods 0.000 description 2
- 229910001882 dioxygen Inorganic materials 0.000 description 2
- 238000007599 discharging Methods 0.000 description 2
- 238000009826 distribution Methods 0.000 description 2
- 238000011156 evaluation Methods 0.000 description 2
- 125000000524 functional group Chemical group 0.000 description 2
- 238000002347 injection Methods 0.000 description 2
- 239000007924 injection Substances 0.000 description 2
- 238000004898 kneading Methods 0.000 description 2
- 239000004816 latex Substances 0.000 description 2
- 229920000126 latex Polymers 0.000 description 2
- 230000004807 localization Effects 0.000 description 2
- 125000000896 monocarboxylic acid group Chemical group 0.000 description 2
- 150000002815 nickel Chemical class 0.000 description 2
- JRZJOMJEPLMPRA-UHFFFAOYSA-N olefin Natural products CCCCCCCC=C JRZJOMJEPLMPRA-UHFFFAOYSA-N 0.000 description 2
- 239000001301 oxygen Substances 0.000 description 2
- 229910052760 oxygen Inorganic materials 0.000 description 2
- 229920000573 polyethylene Polymers 0.000 description 2
- 229920001343 polytetrafluoroethylene Polymers 0.000 description 2
- 239000004810 polytetrafluoroethylene Substances 0.000 description 2
- 229920002451 polyvinyl alcohol Polymers 0.000 description 2
- 239000000047 product Substances 0.000 description 2
- 239000005871 repellent Substances 0.000 description 2
- 239000000243 solution Substances 0.000 description 2
- 239000011115 styrene butadiene Substances 0.000 description 2
- 125000001174 sulfone group Chemical group 0.000 description 2
- 125000004434 sulfur atom Chemical group 0.000 description 2
- HIFJUMGIHIZEPX-UHFFFAOYSA-N sulfuric acid;sulfur trioxide Chemical compound O=S(=O)=O.OS(O)(=O)=O HIFJUMGIHIZEPX-UHFFFAOYSA-N 0.000 description 2
- 239000002562 thickening agent Substances 0.000 description 2
- 238000005406 washing Methods 0.000 description 2
- JHPBZFOKBAGZBL-UHFFFAOYSA-N (3-hydroxy-2,2,4-trimethylpentyl) 2-methylprop-2-enoate Chemical compound CC(C)C(O)C(C)(C)COC(=O)C(C)=C JHPBZFOKBAGZBL-UHFFFAOYSA-N 0.000 description 1
- VZSRBBMJRBPUNF-UHFFFAOYSA-N 2-(2,3-dihydro-1H-inden-2-ylamino)-N-[3-oxo-3-(2,4,6,7-tetrahydrotriazolo[4,5-c]pyridin-5-yl)propyl]pyrimidine-5-carboxamide Chemical compound C1C(CC2=CC=CC=C12)NC1=NC=C(C=N1)C(=O)NCCC(N1CC2=C(CC1)NN=N2)=O VZSRBBMJRBPUNF-UHFFFAOYSA-N 0.000 description 1
- IJGRMHOSHXDMSA-UHFFFAOYSA-N Atomic nitrogen Chemical compound N#N IJGRMHOSHXDMSA-UHFFFAOYSA-N 0.000 description 1
- OKTJSMMVPCPJKN-UHFFFAOYSA-N Carbon Chemical compound [C] OKTJSMMVPCPJKN-UHFFFAOYSA-N 0.000 description 1
- 239000002253 acid Substances 0.000 description 1
- 239000011149 active material Substances 0.000 description 1
- 230000001070 adhesive effect Effects 0.000 description 1
- 150000001336 alkenes Chemical class 0.000 description 1
- 239000012300 argon atmosphere Substances 0.000 description 1
- 239000012298 atmosphere Substances 0.000 description 1
- 239000001569 carbon dioxide Substances 0.000 description 1
- 229910002092 carbon dioxide Inorganic materials 0.000 description 1
- 150000007942 carboxylates Chemical class 0.000 description 1
- 239000003518 caustics Substances 0.000 description 1
- 229910017052 cobalt Inorganic materials 0.000 description 1
- 239000010941 cobalt Substances 0.000 description 1
- GUTLYIVDDKVIGB-UHFFFAOYSA-N cobalt atom Chemical compound [Co] GUTLYIVDDKVIGB-UHFFFAOYSA-N 0.000 description 1
- UFMZWBIQTDUYBN-UHFFFAOYSA-N cobalt dinitrate Chemical compound [Co+2].[O-][N+]([O-])=O.[O-][N+]([O-])=O UFMZWBIQTDUYBN-UHFFFAOYSA-N 0.000 description 1
- 229910001981 cobalt nitrate Inorganic materials 0.000 description 1
- 229920001577 copolymer Polymers 0.000 description 1
- 239000013078 crystal Substances 0.000 description 1
- 230000003247 decreasing effect Effects 0.000 description 1
- 150000001993 dienes Chemical class 0.000 description 1
- 235000014113 dietary fatty acids Nutrition 0.000 description 1
- 229910001873 dinitrogen Inorganic materials 0.000 description 1
- 238000004090 dissolution Methods 0.000 description 1
- 230000000694 effects Effects 0.000 description 1
- 239000011267 electrode slurry Substances 0.000 description 1
- 239000000194 fatty acid Substances 0.000 description 1
- 229930195729 fatty acid Natural products 0.000 description 1
- 238000005429 filling process Methods 0.000 description 1
- 230000005484 gravity Effects 0.000 description 1
- XLYOFNOQVPJJNP-UHFFFAOYSA-M hydroxide Chemical compound [OH-] XLYOFNOQVPJJNP-UHFFFAOYSA-M 0.000 description 1
- 239000011261 inert gas Substances 0.000 description 1
- 239000002198 insoluble material Substances 0.000 description 1
- 150000002500 ions Chemical class 0.000 description 1
- 230000007774 longterm Effects 0.000 description 1
- 238000012986 modification Methods 0.000 description 1
- 230000004048 modification Effects 0.000 description 1
- 239000007773 negative electrode material Substances 0.000 description 1
- KBJMLQFLOWQJNF-UHFFFAOYSA-N nickel(ii) nitrate Chemical compound [Ni+2].[O-][N+]([O-])=O.[O-][N+]([O-])=O KBJMLQFLOWQJNF-UHFFFAOYSA-N 0.000 description 1
- 238000009828 non-uniform distribution Methods 0.000 description 1
- 230000003647 oxidation Effects 0.000 description 1
- 238000007254 oxidation reaction Methods 0.000 description 1
- 238000012856 packing Methods 0.000 description 1
- 239000012466 permeate Substances 0.000 description 1
- 229920000058 polyacrylate Polymers 0.000 description 1
- 229920005596 polymer binder Polymers 0.000 description 1
- 238000002360 preparation method Methods 0.000 description 1
- 239000002994 raw material Substances 0.000 description 1
- 230000000284 resting effect Effects 0.000 description 1
- 238000005096 rolling process Methods 0.000 description 1
- 229920006395 saturated elastomer Polymers 0.000 description 1
- 239000002002 slurry Substances 0.000 description 1
- QAOWNCQODCNURD-UHFFFAOYSA-L sulfate group Chemical group S(=O)(=O)([O-])[O-] QAOWNCQODCNURD-UHFFFAOYSA-L 0.000 description 1
- 150000003871 sulfonates Chemical class 0.000 description 1
- 230000001629 suppression Effects 0.000 description 1
- 238000003466 welding Methods 0.000 description 1
Images
Classifications
-
- Y—GENERAL TAGGING OF NEW TECHNOLOGICAL DEVELOPMENTS; GENERAL TAGGING OF CROSS-SECTIONAL TECHNOLOGIES SPANNING OVER SEVERAL SECTIONS OF THE IPC; TECHNICAL SUBJECTS COVERED BY FORMER USPC CROSS-REFERENCE ART COLLECTIONS [XRACs] AND DIGESTS
- Y02—TECHNOLOGIES OR APPLICATIONS FOR MITIGATION OR ADAPTATION AGAINST CLIMATE CHANGE
- Y02E—REDUCTION OF GREENHOUSE GAS [GHG] EMISSIONS, RELATED TO ENERGY GENERATION, TRANSMISSION OR DISTRIBUTION
- Y02E60/00—Enabling technologies; Technologies with a potential or indirect contribution to GHG emissions mitigation
- Y02E60/10—Energy storage using batteries
Landscapes
- Secondary Cells (AREA)
- Battery Electrode And Active Subsutance (AREA)
- Cell Separators (AREA)
Abstract
【解決手段】ニッケル水素蓄電池の電極群4は、水素吸蔵合金粒子を結着する非水溶性高分子結着剤を含み且つ単位容量当たりの有効表面積が70cm2/Ah以上である負極板8と、負極板8とともに渦巻き状に巻回された正極板6と、正極板6の内外面と負極板8の外内面との間にそれぞれ配置され、ポリオレフィン系繊維の不織布からなる第1及び第2セパレータ10a,10bとを有する。好ましくは、第1セパレータ10aの不織布には、フッ素ガス処理等から選ばれる少なくとも1つの親水化処理が施され、第2セパレータ10bの不織布には、スルホン化処理が施されている。また、第2セパレータ10bの空隙率は、第1セパレータ10aの空隙率よりも大である。
【選択図】図1
Description
一方、ニッケル水素蓄電池においては、自己放電特性も重要であり、自己放電を防止するための手段として、セパレータをスルホン化処理することが知られている。
特許文献1の電池では、2種類のセパレータのうち一方のセパレータには、強度を確保すべく例えばフッ素ガス処理が施され、他方のセパレータにはスルホン化処理が施されている。そして、フッ素ガス処理が施されたセパレータが正極板の外側に配置され、スルホン化処理されたセパレータが正極板の内側に配置される。
本発明は上述の事情に基づいてなされたものであって、その目的とするところは、極板の面積をある一定以上に増大しても、出力が低下することなく大きくなるニッケル水素蓄電池を提供することにある。
より詳しくは、本発明者らは、充放電させた電池を分解して負極板を観察したところ、負極板の面積がある一定の面積以上に増大すると、電解液の浸透が不十分な領域が発生することを見出した。そして、このような領域の存在から、2種類のセパレータのうち一方のセパレータには、強度を確保すべく例えばフッ素ガス処理が施され、他方のセパレータにはスルホン化処理が施されており、かつ、負極板の面積がある一定の面積以上に増大すると、正極板と負極板との間においてアルカリ電解液が不均一に分布するようになり、増大した負極板の面積が有効に活用されず、高出力化が阻害されると考えた。
本発明によれば、容器内にアルカリ電解液とともに収容された渦巻き状の電極群を備えるニッケル水素電池において、前記電極群は、水素吸蔵合金粒子及び当該水素吸蔵合金粒子を結着する非水溶性高分子結着剤を含み且つ単位容量当たりの有効表面積が70cm2/Ah以上である負極板と、前記負極板とともに渦巻き状に巻回され、正極活物質として水酸化ニッケルを含む正極板と、前記正極板の外面と前記負極板の内面との間に配置され、ポリオレフィン系繊維の不織布からなる第1セパレータと、前記正極板の内面と前記負極板の外面との間に配置され、ポリオレフィン系繊維の不織布からなる第2セパレータとを有し、前記第1セパレータ及び第2セパレータのうち一方の不織布には、フッ素ガス処理、プラズマ処理及び界面活性剤処理のなかから選ばれる少なくとも1つの親水化処理が施され、他方の不織布にはスルホン化処理が施され、前記他方の不織布からなるセパレータの空隙率は、前記一方の不織布からなるセパレータの空隙率よりも大であることを特徴とするニッケル水素蓄電池が提供される(請求項1)。
好適な態様として、前記第2セパレータの目付量は、前記第1セパレータの目付量と略同じであり、且つ、前記電極群における前記第2セパレータの厚さは、前記第1セパレータの厚さよりも厚い(請求項3)。
好適な態様として、前記第2セパレータの目付量は、前記第1セパレータの目付量と略同じであり、且つ、前記電極群に巻回される前において、前記第2セパレータの厚さは、前記第1セパレータの厚さよりも厚い(請求項5)。
請求項4のニッケル水素蓄電池では、0.98MPa(1kg/cm2)以上2.94MPa(3kg/cm2)以下の範囲の圧力で厚さ方向に圧縮したとき、第2セパレータの厚さは第1セパレータの厚さよりも大であることによって、第2セパレータの空隙率が第1セパレータの空隙率よりも確実に大になる。
請求項6のニッケル水素蓄電池では第2セパレータの不織布を形成するときの結合温度が、前記第1セパレータの不織布を結合するときの結合温度よりも高いことから、第2セパレータの不織布における骨格は、第1セパレータの不織布の骨格よりも高強度である。この結果として、第2セパレータの空隙率が第1セパレータの空隙率よりも確実に大になる。
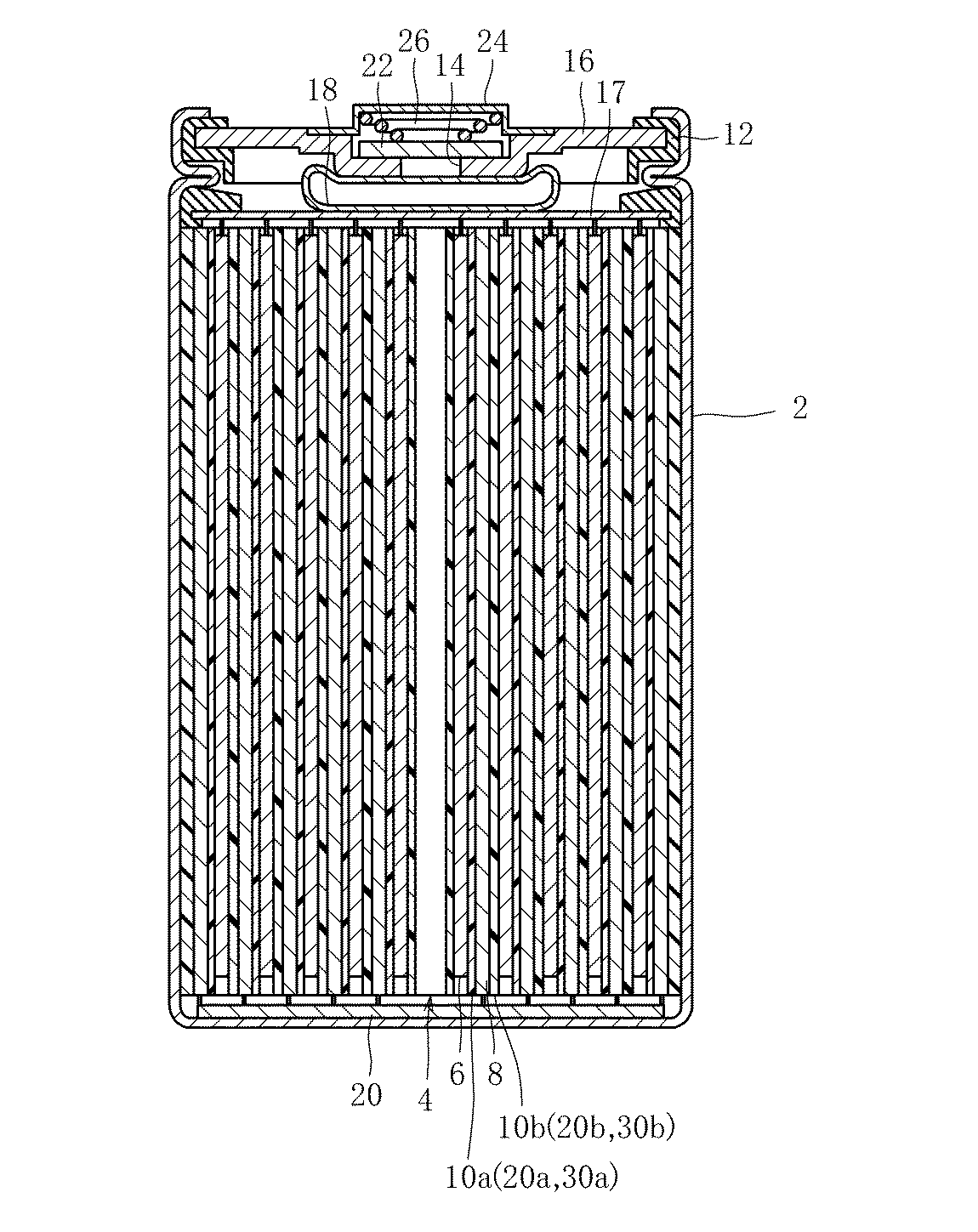
この電池は、有底円筒形状の外装缶2を備え、外装缶2の中に渦巻き状の電極群4がアルカリ電解液(図示せず)とともに収容されている。アルカリ電解液は、溶質の主体として水酸化カリウム(KOH)を含む苛性アルカリ水溶液である。アルカリ電解液は、水酸化リチウム(LiOH)及び水酸化ナトリウム(NaOH)のうち一方又は両方を更に含んでいてもよい。
外装缶2の開口端内には、リング状の絶縁性ガスケット12を介して、中央にガス抜き孔14を有する円形の蓋板16配置されている。これら絶縁性ガスケット12及び蓋板16は、かしめ加工された外装缶2の開口端縁によって固定されている。
蓋板16の外面には、ガス抜き孔14を閉塞するように弁体22が配置され、更に、弁体22を囲むようにフランジ付きの円筒形状の正極端子24が取り付けられている。弁体22の背面と正極端子24の端壁との間には、圧縮コイルばね26が配置され、圧縮コイルばね26は、所定の付勢力にて弁体を蓋板に押し付けている。
正極板6は、焼結式ニッケル電極であり、正極基板として多孔性のニッケル焼結基板を有する。ニッケル焼結基板の細孔内には正極合剤が担持され、正極合剤は正極活物質としての水酸化ニッケル及び導電剤としての水酸化コバルトを含む。
結着剤は非水溶性高分子からなり、例えば、SBR(スチレンブタジエンラテックス)、PTFE(ポリテトラフルオロエチレン)の他、アクリル酸エステル、メタクリル酸エステル、芳香族オレフィン、共役ジエン、オレフィンから選択される2種以上を含む共重合体から選択された1種又は2種以上を用いることができる。なお、結着剤として、必要に応じて非水溶性高分子結着剤とともに、少量の水溶性増粘剤を併用してもよく、例えば、CMC(カルボキシメチルセルロース)、PEO(ポリエチレンオキシド)、PVA(ポリビニルアルコール)、ポリアクリル酸塩等から選択された1種又は2種以上を用いてもよい。
具体的には、ポリオレフィン系合成樹脂の繊維としては、例えばポリエチレン、ポリプロピレンなどの合成樹脂を用いることができ、不織布は合成樹脂の繊維を材料として、例えば乾式法、湿式法、スパンボンド法、メルトブロー法等によって作製される。
第1セパレータ10a及び第2セパレータ10bに用いられる不織布の目付量は、例えば30g/m2以上60g/m2以下の範囲にあり、電極群4における第1セパレータ10a及び第2セパレータ10bの各厚さ(巻回厚さ)は、例えば0.04m以上0.12mm以下の範囲にある。
フッ素ガス処理は、例えば、不活性ガスで希釈したフッ素ガスに酸素ガス、二酸化炭素ガス、二酸化硫黄ガスなどを更に添加した混合ガスを用いて不織布を処理することによって行なわれる。フッ素ガス処理によって、不織布の繊維にはOH、COOH、SO3Hなどの親水基が導入される。
なお、上記親水化処理のなかでは、フッ素ガス処理が吸液性と長期安定性に優れるため好ましい。
ここで、電極群4において、第2セパレータ10bの空隙率は、第1セパレータ10aの空隙率よりも大である。換言すれば、電極群4における第2セパレータ10bの密度は、第1セパレータ10aの密度よりも低く、第2セパレータ10bは、第1セパレータ10aよりも疎である。
そして、第2セレータ10bの巻回厚さを第1セパレータ10aの巻回厚さよりも厚くするために、巻回前の帯状の第2セレータ10bの厚さ(元厚さ)が、第1セパレータ10aの元厚さよりも厚くされる。そのために、各親水化処理後の不織布に対して、一対の加熱ロール間を通過させることによって厚さを調整する際、第2セパレータ10bの元厚さが、第1セパレータ10aの元厚さよりも厚くなるように厚さが調整される。なお、上記の厚さ調整は、加熱ロール間を複数回通過させて行っても良い。
上述したニッケル水素蓄電池は、負極板8の単位容量当たりの有効表面積が70cm2/Ah以上であり、負極板8が薄型且つ大型である。その上で、この電池は、正極板6と負極板8との間でアルカリ電解液が均一に分布するため、高出力である。理由を以下に示す。
すなわち、電極群4の巻回前において、第2セパレータ10bの元厚さが第1セパレータ10aの元厚さよりも厚く、電極群4においても、第2セパレータ10bの巻回厚さが第1セパレータ10aの巻回厚さよりも厚くなっている。このような巻回厚さの相違にかかわらず、第1セパレータ10a及び第2セパレータ10bに用いられる不織布の目付量は略同一であるため、この電池では、電極群4における第2セパレータ10bの空隙率が第1セパレータ10aの空隙率よりも増大されている。
以下、第2実施形態のニッケル水素蓄電池について図1を参照して説明する。
第1セパレータ20a及び第2セパレータ20bは、主としてポリオレフィン系合成樹脂の繊維からなる不織布に親水化処理を施して形成され、第1セパレータ20aの親水化処理はフッ素ガス処理であり、第2セパレータ20bの親水化処理はスルホン化処理である。
このように、第2セパレータ20bの空隙率を第1セパレータ20aの空隙率よりも大にすべく、第2実施形態では、好適な態様として、第1セパレータ20aの目付量は、第2セパレータ20bの目付量に等しいけれども、電極群4における巻回状態の第2セレータ20bの厚さ(巻回厚さ)は、第1セパレータ20aの巻回厚さよりも厚い。
そのために、第1セパレータ20a及び第2セパレータ20bに用いられる不織布は芯鞘型の繊維(芯鞘繊維)を含み、この芯鞘繊維は、鞘材のポリオレフィン系合成樹脂の融点が、芯材のポリオレフィン系合成樹脂の繊維よりも低い。そして、不織布は、芯鞘繊維を含むウェブを例えば110℃以上160℃以下の範囲の結合温度に加熱し、これらの繊維同士を結合して作製されるが、第2セパレータ20bに用いられる不織布の結合温度は、第1セパレータ20aに用いられる不織布の結合温度よりも高く設定される。
なお、第2実施形態の場合も、0.98MPa以上2.94MPa以下の範囲の圧力で厚さ方向に圧縮したときの第2セパレータ20bの圧縮厚さが第1セパレータ20aの圧縮厚さよりも厚いことによって、第2セパレータ20bの空隙率が、第1セパレータ20aの空隙率よりも確実に大きくなる。
第3実施形態のニッケル水素蓄電池は、第1セパレータ30a及び第2セパレータ30bを用いた点が第1及び第2の実施形態の電池とは異なる。
第1セパレータ30a及び第2セパレータ30bは、主としてポリオレフィン系合成樹脂の繊維からなる不織布に親水化処理を施して形成され、第1セパレータ30aの親水化処理はフッ素ガス処理であり、第2セパレータ30bの親水化処理はスルホン化処理である。
このように、第2セパレータ30bの空隙率を第1セパレータ30aの空隙率よりも大にすべく、第3実施形態では、好適な態様として、第1セパレータ30aの目付量は、第2セパレータ30bの目付量に等しいけれども、第2セレータ30bの巻回厚さは、第1セパレータ30aの巻回厚さよりも厚い。
この電池でも、第2セパレータ30bの空隙率が、第1セパレータ30aの空隙率よりも大であることによって、第2セパレータ30bの吸液性が確保される。この結果として、正極板6と負極板8とが対向する全領域にてアルカリ電解液が均一に分布し、電池反応が均一に進行して高出力化が達成される。
なお、第3実施形態のように、巻回時の第2セパレータ30bのテンションを調整した場合、巻回工程が煩雑になる。このため、第2セパレータの空隙率を第1セパレータの空隙率よりも大にするには、第1実施形態又は第2実施形態のように、第2セパレータの仕様に変更を加えるのが好ましい。すなわち、第2セパレータの元厚さを第1セパレータの元厚さよりも厚くするか、第2セパレータの不織布の骨格強度を第1セパレータの骨格強度よりも強くするか、又は、これらの両方を実施するのが好ましい。
1.負極板の作製
組成がNd0.9Mg0.1(Ni0.9Co0.03Al0.07)3.5となるように金属原料を秤量して混合し、この混合物を高周波溶解炉で溶解してインゴットを得た。このインゴットを、温度1000℃のアルゴン雰囲気下にて10時間加熱し、インゴットにおける結晶構造を調整した。この後、インゴットを不活性雰囲気中で機械的に粉砕してから、400メッシュ〜200メッシュの間に入る粒子を篩い分け、上記組成を有する希土類―Mg−Ni系水素吸蔵合金粒子を得た。なお、得られた希土類―Mg−Ni系水素吸蔵合金粒子は、レーザ回折・散乱式粒度分布測定装置を用いて測定した重量積分50%にあたる平均粒径が25μmであった。
得られた負極板に対し、温度が40℃で水素平衡圧が1.0MPaになるまで水素を吸蔵させ、このときの水素吸蔵量から求めた負極容量は13.5Ahであった。
多孔度が約85%の多孔性ニッケル焼結基板を、硝酸ニッケル及び硝酸コバルトを含む比重が1.75の混合水溶液に浸漬した。この浸漬によって、その細孔内にニッケル塩及びコバルト塩を保持した焼結基板を、25質量%の水酸化ナトリウム(NaOH)水溶液に浸漬し、ニッケル塩及びコバルト塩をそれぞれ水酸化ニッケル及び水酸化コバルトに転換させた。この後、十分に水洗することで焼結基板から水酸化ナトリウム水溶液を除去し、乾燥を経てから、多孔性ニッケル焼結基板の細孔内に水酸化ニッケル及び水酸化コバルトを保持させた。
得られた焼結式ニッケル電極では、有効表面積、即ち、電極の両面において正極合剤を充填した領域の面積の和(縦×横×2面)が920cm2であった。
(1)不織布の作製
芯材がポリプロピレンからなり鞘材が低融点ポリエチレンからなる熱接着性を有する芯鞘型複合繊維と、高強度ポリプロピレン繊維とを材料に用い、材料を漉き上げて得たウェブを約135℃の乾燥温度(結合温度)で乾燥させる湿式法にて、目付量が50g/m2の不織布を作製した。
(2)第1セパレータの親水化処理(フッ素ガス処理)
得られた不織布を、窒素ガスで希釈したフッ素ガスと二酸化硫黄ガスの混合ガスで処理して表面を改質し、親水性を付与した。
得られた不織布を発煙硫酸に浸漬してスルホン基を付与し、親水性を付与した。このスルホン化処理後の不織布での炭素原子に対する硫黄原子の割合(S/C)は、炭素原子1000個に対して硫黄原子が2.3個の割合であった。
(4)第1及び第2セパレータの厚さ調整
各親水化処理を施した不織布の厚さを、一対の加熱ロール間を通過させることによって調整し、巻回前の帯状の第1セパレータ及び第2セパレータを作製した。なお、この際、第1セパレータの元厚さを0.13mmに調整し、第2セパレータの元厚さを0.15mmに調整した。
得られた正極板、負極板、第1セパレータ及び第2セパレータを、加圧を調整しながら巻回し、渦巻き状電極群を作製した。この際、正極板の外面と負極板の内面との間に第1セパレータが位置付けられ、正極板の内面と負極板の外面との間に第2セパレータが位置付けられ、そして、電極群の外径が31mmになるように巻回した。また、電極群の一端部からは、正極板の基板であるニッケル焼結基板の端部が突出し、他端部からは、負極板の基板であるパンチングメタルの端部が突出するように巻回した。
この後、正極集電体には、正極リードとしての筒状体を更に溶接した。より詳しくは、筒状体は、断面が長円形状のパイプ(例えば、ニッケル製で厚みが0.3mmのもの)の両端部を斜めに切り落として形成される。筒状体は正極集電体の直径上に配置され、筒状体の下底を正極集電体にスポット溶接した。
それから、パンチによって封口体を電極群に向けて押圧し、筒状体を圧縮変形させるとともに、外装缶の開口端縁を内方にかしめ加工し、公称容量6.0Ahの円筒型ニッケル水素蓄電池を作製した。
第2セパレータに用いる不織布の乾燥温度を約145℃にし、第2セパレータの元厚さを0.13mmに調整したこと以外は実施例1の場合と同様にして、実施例2の電池を組み立てた。
実施例3
第2セパレータの元厚さを0.13mmに調整し、電極群の巻回時、第2セパレータに加えるテンションを小さくしたこと以外は実施例1の場合と同様にして、実施例3の電池を組み立てた。
第2セパレータの元厚さを0.13mmに調整した以外は実施例1の場合と同様にして、比較例1の電池を組み立てた。
比較例2
表1に示したように、正極板及び負極板の有効表面積を小さくするとともに、第1及び第2セパレータに用いる不織布の目付量及び元厚さを変えたこと以外は比較例1の場合と同様にして、比較例2の電池を組み立てた。
なお、比較例1と比較例2との間では、正極板の活物質充填量及び負極板の負極容量は同じである。
(1)第1セパレータ及び第2セパレータの厚さ
巻回前の帯状の第1セパレータ及び第2セパレータの厚さ(元厚さ)、電極群における第1セパレータ及び第2セパレータの厚さ(巻回厚さ)、並びに、巻回前の帯状の第1セパレータ及び第2セパレータを厚さ方向にて0.98MPa及び2.94MPaにてそれぞれ圧縮したときの厚さ(圧縮厚さ)を測定した。これらの結果を表1に示す。
巻回厚さは、電極群を軸線方向略中央で切断して測定した。すなわち、電極群の横断面における各セパレータの巻始め端部、中間部、及び巻終わり端部の3点での厚さをマイクロスコープを用いて測定し、この3点の厚さの平均値を巻回厚さとして表1に示した。
圧縮厚さは、各セパレータを所定枚数だけ積み重ねた積層体を用いて測定した。すなわち、所定の圧力を印加した状態で積層体の厚さを測定し、積層体の厚さを積層枚数で除算した値を圧縮厚さとして表1に示した。
実施例1〜3及び比較例1,2の各電池について、温度が25℃の環境下において、1Itの充電電流で充電深度120%まで充電した。この後、1時間の休止時間をおいてから、各電池を温度が70℃の環境下に24時間放置(熟成)した。続けて、再び温度が25℃の環境下において、各電池を1Itの放電電流で0.3Vの終止電圧まで放電させた。それから、上述した充電、休止、放置及び放電工程からなる充放電サイクルを、更に2回繰り返した。
(1)表1から、実施例1は、比較例1と比べ、第2セパレータの元厚さ、巻回前厚さ及び、圧縮厚さのいずれもが厚いことがわかる。そして、表2から、実施例1は、比較例1に比べ、変色領域の面積割合が小さいことがわかる。
(2)表1から、実施例2は、比較例1と比べ、第2セパレータの元厚さは同じであるものの、巻回前厚さ及び圧縮厚さが厚いことがわかる。そして、表2から、実施例2は、比較例1に比べ、変色領域の面積割合が小さいことがわかる。
(3)表1から、実施例3は、比較例1と比べ、第2セパレータの元厚さ及び圧縮厚さは同じであるものの、巻回厚さが厚いことがわかる。そして、表2から、実施例3は、比較例1に比べ、変色領域の面積割合が小さいことがわかる。
(4)表1及び表2から、極板の有効表面積が実施例1〜3及び比較例1と比べて小さい比較例2では、第1セパレータ及び第2セパレータの巻回厚さが同一であっても、変色領域がそもそも発生しなかったことがわかる。
本発明は上記した実施形態及び実施例に限定されることはなく、種々変形が可能であり、正極板の内面と負極板の外面との間に位置する第2セパレータの空隙率が、正極板の外面と負極板の内面との間に位置する第1セパレータの空隙率が高ければよい。
更に、第1〜第3実施形態では、第1セパレータ10a,20a,30aの不織布に対してフッ素ガス処理、プラズマ処理及び界面活性剤処理のなかから選ばれる少なくとも1つの親水化処理が施され、第2セパレータ10b,20b,30bの不織布に対して、スルホン化処理が施され、そして、第2セパレータ10b,20b,30bの空隙率が第1セパレータ10a,20a,30aの空隙率よりも大であってけれども、この逆あってもよい。ただし、内部ショートを防止するためには、第1セパレータ10a,20a,30aの不織布に対してフッ素ガス処理、プラズマ処理及び界面活性剤処理のなかから選ばれる少なくとも1つの親水化処理が施され、第2セパレータ10b,20b,30bの不織布に対して、スルホン化処理が施され、そして、第2セパレータ10b,20b,30bの空隙率が第1セパレータ10a,20a,30aの空隙率よりも大であるのが好ましい。
4 電極群
6 正極板
8 負極板
10a,20a,30a 第1セパレータ
10b,20b,30b 第2セパレータ
Claims (6)
- 容器内にアルカリ電解液とともに収容された渦巻き状の電極群を備えるニッケル水素電池において、
前記電極群は、
水素吸蔵合金粒子及び当該水素吸蔵合金粒子を結着する非水溶性高分子結着剤を含み且つ単位容量当たりの有効表面積が70cm2/Ah以上である負極板と、
前記負極板とともに渦巻き状に巻回され、正極活物質として水酸化ニッケルを含む正極板と、
前記正極板の外面と前記負極板の内面との間に配置され、ポリオレフィン系繊維の不織布からなる第1セパレータと、
前記正極板の内面と前記負極板の外面との間に配置され、ポリオレフィン系繊維の不織布からなる第2セパレータと
を有し、
前記第1セパレータ及び第2セパレータのうち一方の不織布には、フッ素ガス処理、プラズマ処理及び界面活性剤処理のなかから選ばれる少なくとも1つの親水化処理が施され、他方の不織布にはスルホン化処理が施され、
前記第1セパレータ及び第2セパレータのうち前記他方の不織布からなるセパレータの空隙率は、前記一方の不織布からなるセパレータの空隙率よりも大である
ことを特徴とするニッケル水素蓄電池。 - 前記第1セパレータの不織布に前記フッ素ガス処理、プラズマ処理及び界面活性剤処理のなかから選ばれる少なくとも1つの親水化処理が施され、
前記第2セパレータの不織布に前記スルホン化処理が施されている
ことを特徴とする請求項1に記載のニッケル水素蓄電池。 - 前記第2セパレータの目付量は、前記第1セパレータの目付量と略同じであり、且つ、前記電極群における前記第2セパレータの厚さは、前記第1セパレータの厚さよりも厚い
ことを特徴とする請求項2に記載のニッケル水素蓄電池。 - 0.98MPa以上2.94MPa以下の範囲の圧力で厚さ方向に圧縮したとき、前記第2セパレータの厚さは、前記第1セパレータの厚さよりも大である
ことを特徴とする請求項2又は3に記載のニッケル水素蓄電池。 - 前記第2セパレータの目付量は、前記第1セパレータの目付量と略同じであり、且つ、
前記電極群に巻回される前において、前記第2セパレータの厚さは、前記第1セパレータの厚さよりも厚い
ことを特徴とする請求項2乃至4の何れかに記載のニッケル水素蓄電池。 - 前記不織布は、前記ポリオレフィン系繊維として、ポリオレフィン系樹脂の芯材と、当該芯材を被覆し且つ当該芯材よりも融点が低いポリオレフィン系樹脂の鞘材とからなる芯鞘繊維を含み、
前記第1及び第2セパレータの不織布は、前記芯鞘繊維を含むウェブを所定の結合温度に加熱して形成され、
前記第2セパレータの不織布を形成するときの結合温度は、前記第1セパレータの不織布を形成するときの結合温度よりも高い
ことを特徴とする請求項2乃至4の何れかに記載のニッケル水素蓄電池。
Priority Applications (1)
| Application Number | Priority Date | Filing Date | Title |
|---|---|---|---|
| JP2006023674A JP4986465B2 (ja) | 2006-01-31 | 2006-01-31 | ニッケル水素蓄電池 |
Applications Claiming Priority (1)
| Application Number | Priority Date | Filing Date | Title |
|---|---|---|---|
| JP2006023674A JP4986465B2 (ja) | 2006-01-31 | 2006-01-31 | ニッケル水素蓄電池 |
Publications (2)
| Publication Number | Publication Date |
|---|---|
| JP2007207526A true JP2007207526A (ja) | 2007-08-16 |
| JP4986465B2 JP4986465B2 (ja) | 2012-07-25 |
Family
ID=38486803
Family Applications (1)
| Application Number | Title | Priority Date | Filing Date |
|---|---|---|---|
| JP2006023674A Expired - Lifetime JP4986465B2 (ja) | 2006-01-31 | 2006-01-31 | ニッケル水素蓄電池 |
Country Status (1)
| Country | Link |
|---|---|
| JP (1) | JP4986465B2 (ja) |
Cited By (5)
| Publication number | Priority date | Publication date | Assignee | Title |
|---|---|---|---|---|
| JP2012094425A (ja) * | 2010-10-28 | 2012-05-17 | Toyota Motor Corp | 溶接方法および電池およびセパレータ |
| KR101207640B1 (ko) | 2010-04-27 | 2012-12-03 | 닛산 지도우샤 가부시키가이샤 | 세퍼레이터 |
| US9899653B2 (en) | 2013-09-30 | 2018-02-20 | Gs Yuasa International Ltd. | Alkaline storage battery, and method for producing alkaline storage battery |
| JP2018092818A (ja) * | 2016-12-05 | 2018-06-14 | Fdk株式会社 | アルカリ蓄電池及びアルカリ蓄電池の製造方法 |
| CN116134675A (zh) * | 2022-03-16 | 2023-05-16 | 东莞新能安科技有限公司 | 电化学装置及电子装置 |
Citations (3)
| Publication number | Priority date | Publication date | Assignee | Title |
|---|---|---|---|---|
| JP2000340202A (ja) * | 1999-03-19 | 2000-12-08 | Sanyo Electric Co Ltd | アルカリ蓄電池 |
| JP2004031293A (ja) * | 2002-06-28 | 2004-01-29 | Sanyo Electric Co Ltd | アルカリ蓄電池 |
| JP2005135731A (ja) * | 2003-10-30 | 2005-05-26 | Sanyo Electric Co Ltd | 二次電池 |
-
2006
- 2006-01-31 JP JP2006023674A patent/JP4986465B2/ja not_active Expired - Lifetime
Patent Citations (3)
| Publication number | Priority date | Publication date | Assignee | Title |
|---|---|---|---|---|
| JP2000340202A (ja) * | 1999-03-19 | 2000-12-08 | Sanyo Electric Co Ltd | アルカリ蓄電池 |
| JP2004031293A (ja) * | 2002-06-28 | 2004-01-29 | Sanyo Electric Co Ltd | アルカリ蓄電池 |
| JP2005135731A (ja) * | 2003-10-30 | 2005-05-26 | Sanyo Electric Co Ltd | 二次電池 |
Cited By (6)
| Publication number | Priority date | Publication date | Assignee | Title |
|---|---|---|---|---|
| KR101207640B1 (ko) | 2010-04-27 | 2012-12-03 | 닛산 지도우샤 가부시키가이샤 | 세퍼레이터 |
| JP2012094425A (ja) * | 2010-10-28 | 2012-05-17 | Toyota Motor Corp | 溶接方法および電池およびセパレータ |
| US9899653B2 (en) | 2013-09-30 | 2018-02-20 | Gs Yuasa International Ltd. | Alkaline storage battery, and method for producing alkaline storage battery |
| JP2018092818A (ja) * | 2016-12-05 | 2018-06-14 | Fdk株式会社 | アルカリ蓄電池及びアルカリ蓄電池の製造方法 |
| CN116134675A (zh) * | 2022-03-16 | 2023-05-16 | 东莞新能安科技有限公司 | 电化学装置及电子装置 |
| WO2023173331A1 (zh) * | 2022-03-16 | 2023-09-21 | 东莞新能安科技有限公司 | 电化学装置及电子装置 |
Also Published As
| Publication number | Publication date |
|---|---|
| JP4986465B2 (ja) | 2012-07-25 |
Similar Documents
| Publication | Publication Date | Title |
|---|---|---|
| JP5361712B2 (ja) | 新規なアルカリ蓄電池用銀正極 | |
| US7790306B2 (en) | Nickel hydrogen storage battery | |
| JP2023133607A (ja) | 亜鉛電池用電解液及び亜鉛電池 | |
| JP6149031B2 (ja) | 非水電解質二次電池用電極の製造方法 | |
| JP7105525B2 (ja) | 亜鉛電池 | |
| JP4812447B2 (ja) | ニッケル水素蓄電池 | |
| JP2014139880A (ja) | アルカリ電解液二次電池用セパレータ、アルカリ電解液二次電池及びアルカリ電解液二次電池の製造方法 | |
| JP4986465B2 (ja) | ニッケル水素蓄電池 | |
| JP7129288B2 (ja) | アルカリ二次電池用の正極及びこの正極を含むアルカリ二次電池 | |
| WO2007004703A1 (ja) | ニッケル水素電池 | |
| JP2013214374A (ja) | 非水電解質二次電池用正極及びこれを用いた非水電解質二次電池 | |
| JP2023069245A (ja) | アルカリ蓄電池 | |
| JP6787728B2 (ja) | ニッケル水素二次電池用の負極、この負極を含むニッケル水素二次電池 | |
| JPH10199520A (ja) | アルカリ蓄電池用非焼結式ニッケル極 | |
| JP7802590B2 (ja) | 亜鉛電池 | |
| JP2013122862A (ja) | 円筒型アルカリ蓄電池 | |
| JP7630915B2 (ja) | 亜鉛電池 | |
| JP7125218B2 (ja) | アルカリ二次電池用の負極及びアルカリ二次電池 | |
| JP2008078037A (ja) | 電池用電極基板および電池用電極 | |
| JP2004127590A (ja) | 水素吸蔵合金電極およびそれを用いたアルカリ蓄電池 | |
| WO2025182753A1 (ja) | アルカリ二次電池用の負極、及びこの負極を含むアルカリ二次電池 | |
| US9748560B2 (en) | Negative electrode for alkaline secondary battery, outer case for alkaline secondary battery and alkaline secondary battery | |
| JP7128069B2 (ja) | アルカリ二次電池用の正極及びこの正極を備えたアルカリ二次電池 | |
| JP2024141534A (ja) | 亜鉛二次電池 | |
| WO2025115534A1 (ja) | アルカリ蓄電池 |
Legal Events
| Date | Code | Title | Description |
|---|---|---|---|
| A621 | Written request for application examination |
Free format text: JAPANESE INTERMEDIATE CODE: A621 Effective date: 20080620 |
|
| A977 | Report on retrieval |
Free format text: JAPANESE INTERMEDIATE CODE: A971007 Effective date: 20110603 |
|
| A131 | Notification of reasons for refusal |
Free format text: JAPANESE INTERMEDIATE CODE: A131 Effective date: 20110727 |
|
| A521 | Written amendment |
Free format text: JAPANESE INTERMEDIATE CODE: A523 Effective date: 20110922 |
|
| TRDD | Decision of grant or rejection written | ||
| A01 | Written decision to grant a patent or to grant a registration (utility model) |
Free format text: JAPANESE INTERMEDIATE CODE: A01 Effective date: 20120328 |
|
| A01 | Written decision to grant a patent or to grant a registration (utility model) |
Free format text: JAPANESE INTERMEDIATE CODE: A01 |
|
| A61 | First payment of annual fees (during grant procedure) |
Free format text: JAPANESE INTERMEDIATE CODE: A61 Effective date: 20120424 |
|
| R151 | Written notification of patent or utility model registration |
Ref document number: 4986465 Country of ref document: JP Free format text: JAPANESE INTERMEDIATE CODE: R151 |
|
| FPAY | Renewal fee payment (event date is renewal date of database) |
Free format text: PAYMENT UNTIL: 20150511 Year of fee payment: 3 |
