JP2007201283A - 電子制御装置及び電子制御装置の筐体 - Google Patents
電子制御装置及び電子制御装置の筐体 Download PDFInfo
- Publication number
- JP2007201283A JP2007201283A JP2006019624A JP2006019624A JP2007201283A JP 2007201283 A JP2007201283 A JP 2007201283A JP 2006019624 A JP2006019624 A JP 2006019624A JP 2006019624 A JP2006019624 A JP 2006019624A JP 2007201283 A JP2007201283 A JP 2007201283A
- Authority
- JP
- Japan
- Prior art keywords
- control device
- electronic control
- housing
- electronic
- electronic component
- Prior art date
- Legal status (The legal status is an assumption and is not a legal conclusion. Google has not performed a legal analysis and makes no representation as to the accuracy of the status listed.)
- Pending
Links
- 230000017525 heat dissipation Effects 0.000 claims description 60
- 239000000463 material Substances 0.000 claims description 14
- 230000005855 radiation Effects 0.000 abstract description 26
- 238000004904 shortening Methods 0.000 abstract description 5
- 230000004048 modification Effects 0.000 description 44
- 238000012986 modification Methods 0.000 description 44
- 238000010438 heat treatment Methods 0.000 description 40
- 239000000758 substrate Substances 0.000 description 39
- 239000003795 chemical substances by application Substances 0.000 description 22
- 239000000853 adhesive Substances 0.000 description 7
- 230000001070 adhesive effect Effects 0.000 description 6
- 238000010586 diagram Methods 0.000 description 6
- 230000020169 heat generation Effects 0.000 description 5
- 230000015572 biosynthetic process Effects 0.000 description 3
- 230000000694 effects Effects 0.000 description 3
- XAGFODPZIPBFFR-UHFFFAOYSA-N aluminium Chemical compound [Al] XAGFODPZIPBFFR-UHFFFAOYSA-N 0.000 description 2
- 229910052782 aluminium Inorganic materials 0.000 description 2
- 239000011521 glass Substances 0.000 description 2
- 230000000149 penetrating effect Effects 0.000 description 2
- 230000000191 radiation effect Effects 0.000 description 2
- 229920005989 resin Polymers 0.000 description 2
- 239000011347 resin Substances 0.000 description 2
- 230000035882 stress Effects 0.000 description 2
- 230000008646 thermal stress Effects 0.000 description 2
- 239000003990 capacitor Substances 0.000 description 1
- 239000000919 ceramic Substances 0.000 description 1
- 239000002131 composite material Substances 0.000 description 1
- 239000000470 constituent Substances 0.000 description 1
- 239000013078 crystal Substances 0.000 description 1
- 239000004744 fabric Substances 0.000 description 1
- 229920005992 thermoplastic resin Polymers 0.000 description 1
- 229920001187 thermosetting polymer Polymers 0.000 description 1
Images
Landscapes
- Electrical Control Of Air Or Fuel Supplied To Internal-Combustion Engine (AREA)
- Cooling Or The Like Of Electrical Apparatus (AREA)
- Cooling Or The Like Of Semiconductors Or Solid State Devices (AREA)
Abstract
【課題】筐体から車両への放熱経路を短くし放熱性を向上することができる電子制御装置及び電子制御装置の筐体を提供すること。
【解決手段】熱伝導性のブラケット40によってエンジンルーム側壁200などの被取付体に取付けられる電子制御装置100であって、電子制御装置100は、発熱素子22aなどが実装された基板21と、基板21を収容するものであり、放熱材料からなり、ブラケット40を取付ける取付部14を有する筐体10とを備え、取付部14は、筐体10の内側方向であり発熱素子14に対応する位置に突出して設けられる。
【選択図】図1
【解決手段】熱伝導性のブラケット40によってエンジンルーム側壁200などの被取付体に取付けられる電子制御装置100であって、電子制御装置100は、発熱素子22aなどが実装された基板21と、基板21を収容するものであり、放熱材料からなり、ブラケット40を取付ける取付部14を有する筐体10とを備え、取付部14は、筐体10の内側方向であり発熱素子14に対応する位置に突出して設けられる。
【選択図】図1
Description
本発明は、発熱する電子部品が実装された回路基板を放熱材料からなる筐体内に収容してなる電子制御装置及び電子制御装置の筐体に関するものである。
従来、車両等に搭載される電子制御装置は、筐体内に電子部品が実装された回路基板を収容することにより構成されており、この電子部品の中には、例えばパワートランジスタのように発熱が大きい部品が含まれている。従って、電子部品から発生する熱を外部へ放熱する必要がある。
例えば本出願人は、特許文献1において、回路基板を収容する筐体に突出部を設けることによって放熱板として利用し、電子部品が搭載された回路基板を、柔軟性を有する(粘弾性が低い)放熱材を介して筐体へ熱的に接続する放熱構造を開示している。
特開2003−289191号公報
しかしながら、特許文献1に示す電子制御装置においては、筐体を放熱板として利用すると共に、放熱剤を介して電子部品から発生する熱を外部へ放熱できるものの、筐体から被取付体(車両におけるエンジンルーム内の側壁など)への放熱までは考慮されておらず、筐体から車両への放熱経路が長くなる可能性があった。
本発明は上記問題点に鑑み、筐体から車両への放熱経路を短くし放熱性を向上することができる電子制御装置及び電子制御装置の筐体を提供することを目的とする。
上記目的を達成するために請求項1に記載の電子制御装置は、熱伝導性の接続部材によって被取付体に取付けられる電子制御装置であって、電子制御装置は、発熱する電子部品が実装された回路基板と、回路基板を収容するものであり、放熱材料からなり、接続部材を取付ける取付部を有する筐体とを備え、取付部は、筐体の内側方向であり電子部品に対応する位置に突出して設けられることを特徴とするものである。
このように、電子制御装置を被取付体に取り付ける接続部材を筐体に取り付けるための取付部を筐体の内側方向であり電子部品に対応する位置に突出して設けることによって、筐体から被取付体への放熱経路を短くすることができ放熱性を向上することができる。
また、請求項2に記載の電子制御装置では、取付部は、螺子によって接続部材が取り付けられるものであり、筐体の外部から内部に貫通しない螺子穴を備えることを特徴とするものである。
このように、取付部に筐体の外部から内部に貫通しない螺子穴を備えることによって、防水性を向上することができる。
また、請求項3に記載の電子制御装置では、取付部は、螺子穴以外を筐体を形成する放熱材料からなることを特徴とするものである。
このように、取付部は、螺子穴以外を筐体を形成する放熱材料とすることによって、取付部の方熱経路を大きくすることができより一層放熱性を向上することができる。
また、請求項4に記載の電子制御装置では、取付部は、放熱フィンを備えることを特徴とするものである。
このように、取付部に放熱フィンを備えることによって、より一層放熱性を向上することができる。
また、請求項5に記載の電子制御装置では、取付部と電子部品との間に放熱部材を備えることを特徴とするものである。
このように、取付部と電子部品との間に放熱部材を備えることによって、より一層放熱性を向上することができる。
また、請求項6に記載の電子制御装置では、放熱部材は、柔軟性を有することを特徴とするものである。
このように、放熱部材が柔軟性を有することによって、筐体と電子部品との密着性を向上することができる。すなわち、放熱性を向上することができる。また、柔軟性を有するので、筐体と回路基板との間隔が一定でなくとも、電子部品の局部に応力が集中し、破損が生じるのを防ぐことができる。さらには、接着剤のように硬化しないため、電子部品に熱応力が加わることもない。
また、請求項7に記載の電子制御装置では、筐体及び回路基板のうち少なくとも一方に、この筐体と回路基板とを位置決めする位置決め部を備えるものであり、電子部品は、位置決め部の近傍に配置され、取付部は、電子部品に対応する位置に突出して設けられることを特徴とするものである。
このように、電子部品を位置決め部の近傍に配置し、取付部を電子部品に対応する位置に突出して設けることによって、回路基板のそりの公差を考慮することなく放熱剤の厚みを小さく設計することができるため、放熱性をより一層向上させることができる。
また、取付部は、請求項8に示すように、筐体における少なくとも一つの側面の一部を含んで設けられるものである。さらに、取付部は、請求項9に示すように、筐体における回路基板に対向する対向面の一部を含んで設けられるものである。
また、請求項10に示すように、取付部は、電子部品と対向する位置に設けられ、少なくとも電子部品における取付部との対抗面の全体を覆う形状をなすことを特徴とするものである。
このように、取付部は、少なくとも電子部品における取付部との対抗面の全体を覆う形状をなすことによって、電子部品から生じる熱を受けることができ、より一層放熱性を向上することができる。
また、電子部品としては、請求項11に示すように、表面実装型であることが好ましい。例えば、縦型(スルーホール型)の電子部品である場合、電子部品を回路基板と取付部との間に設けようとすると電子制御装置の体格が大きくなってしまう。したがって、体格を大きくすることなく縦型の電子部品を取付部に対応する位置に設けようとすると、取付部の側面に位置合せして電子部品を搭載する必要がある。しかしながら、取付部の側面と電子部品とを位置合せする場合、位置合せの精度が低下してしまうため放熱性も低下する可能性がる。しかしながら、請求項11に示すように、表面実装型の電子部品の場合、取付部と回路基板との間に設けたとしても電子制御装置の体格が大きくなることを抑制することができる。また、取付部と回路基板との間に電子部品を設ける場合は、比較的位置合せの精度がよくなるので、放熱性も向上する。
また、請求項12に示すように、表面実装型の電子部品は、複数のパワートランジスタを含むものである。このように電子部品が複数のパワートランジスタを含む場合、各パワートランジスタ間の貰い熱などによって電子部品の発熱量がより多くなる。したがって、このように複数のパワートランジスタを用いる場合、取付部にて放熱経路を短くして放熱性を向上させることは特に効果的である。
また、複数のパワートランジスタは、請求項13に示すように、モールドパッケージされた平板形状の集積回路であってもよい。このようにモールドパッケージされた平板形状の集積回路の場合、放熱部材を設けやすいので好ましい。
また、パワートランジスタとしては、請求項14に示すように、エンジン制御に関する電気負荷に電気的に接続されるものであり、電気負荷に対して電力供給を行うものとすることができる。このようにエンジン制御に関する電気負荷に対して電力を供給するようなパワートランジスタは、比較的発熱量も多くなり、より一層放熱が必要とされる。したがって、このようなパワートランジスタを用いる場合、取付部にて放熱経路を短くして放熱性を向上させることは特に効果的である。
また、請求項15に示すように、回路基板は、少なくとも入力処理及び/又は演算処理を実行する電子素子が実装されるものである場合、パワートランジスタとしては、バッテリー電圧を前記電子素子に対応する所定の電圧に降圧する降圧回路とすることができる。このように降圧回路として用いられるパワートランジスタに関しても、比較的発熱量が多くなり、より一層放熱が必要とされる。したがって、このようなパワートランジスタを用いる場合に関しても、取付部にて放熱経路を短くして放熱性を向上させることは特に効果的である。
また、請求項16乃至請求項19に記載の表示装置での作用・効果に関しては、上述の請求項1乃至請求項4と同様であるため説明を省略する。また、請求項20及び請求項27に記載の表示装置での作用・効果に関しては、上述の請求項8乃至請求項15と同様であるため説明を省略する。
以下、本発明の実施の形態を図に基づいて説明する。
(実施形態)
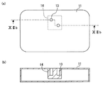
まず、本発明の実施形態について説明する。図1は、本発明における電子制御装置の概略構成を説明するための、組み付け前の状態を示す分解図である。図2は、本発明における電子制御装置の車両への組み付け状態を示す側面図である。図3は、本発明の実施形態における回路基板を説明するための図面であり、(a)は斜視図であり、(b)は表面側の平面図であり、(c)は裏面側の平面図である。図4は、本発明の実施形態における回路基板をベースに取付けた状態を示す平面図である。図5は、本発明の実施形態におけるケースを説明するための図面であり、(a)は平面図であり、(b)は短手方向の側面図であり、(c)は長手方向の側面図である。図6は、本発明の実施形態における筐体と回路基板とを組み付けた状態を説明するための図面であり、(a)は平面図、(b)は短手方向の側面図である。図7は、本発明の実施形態におけるブラケットを電子制御装置に組み付けた状態を説明するための図面であり、(a)は短手方向の側面図であり、(b)はVIIb−VIIb断面図である。なお、本実施形態に示す電子制御装置は、車両のエンジンECU(Electric Control Unit)などに適用されるものである。
まず、本発明の実施形態について説明する。図1は、本発明における電子制御装置の概略構成を説明するための、組み付け前の状態を示す分解図である。図2は、本発明における電子制御装置の車両への組み付け状態を示す側面図である。図3は、本発明の実施形態における回路基板を説明するための図面であり、(a)は斜視図であり、(b)は表面側の平面図であり、(c)は裏面側の平面図である。図4は、本発明の実施形態における回路基板をベースに取付けた状態を示す平面図である。図5は、本発明の実施形態におけるケースを説明するための図面であり、(a)は平面図であり、(b)は短手方向の側面図であり、(c)は長手方向の側面図である。図6は、本発明の実施形態における筐体と回路基板とを組み付けた状態を説明するための図面であり、(a)は平面図、(b)は短手方向の側面図である。図7は、本発明の実施形態におけるブラケットを電子制御装置に組み付けた状態を説明するための図面であり、(a)は短手方向の側面図であり、(b)はVIIb−VIIb断面図である。なお、本実施形態に示す電子制御装置は、車両のエンジンECU(Electric Control Unit)などに適用されるものである。
図1に示すように、電子制御装置100は、筐体10と、この筐体10内に収容される回路基板20となどを備える。そして、この電子制御装置100は、図2に示すように、エンジンルーム壁面200(被取付体)にブラケット40(接続部材)を介してボルト50で固定される。なお、被取付体としては、エンジンルーム壁面200以外にも、エンジンルーム内における電子制御装置を入れておくECUボックスなどの壁面、エンジン、トランクルームの壁面、車室内の壁面などであってもよい。また、図2においては、電子制御装置100は、エンジンルーム壁面200の側壁に縦に固定されている状態を示したが、本発明はこれに限定されるものではなく、搭載位置に応じて適宜変更可能である。
回路基板20は、図3(a)〜(c)に示すように、配線パターンや配線パターン間を接続するビアホール等が形成されてなるプリント基板21(以下、単に基板とも称する)に、マイコン、パワートランジスタ、チップ抵抗、コンデンサ、クリスタル等の電子部品22を実装してなるものである。基板21の構成材料としては、熱可塑性樹脂、熱硬化性樹脂、セラミック、ガラス(例えばガラス布)と樹脂との複合体等の公知材料を適用することができる。
また、基板21は、後ほど説明するベース12に対する位置決めを行うための位置決め穴25を備える。一方、ベース12には、この位置決め穴に対応する位置決め突起12aが設けられる。そして、基板21は、図4に示すように、この位置決め穴25とベース12の位置決め突起12aとによってベース12に位置決めされてベース12に固定される。
電子部品22は、図3(b)に示すように、基板21の一方の面(以下、表面とも称する)に実装されると共に、図3(c)に示すように、基板21の他方の面(以下、裏面とも称する)にも実装されてもよい。また、電子部品22には、例えばパワートランジスタといった動作によって過度に発熱する発熱素子22aが含まれている。この発熱素子22aが、特許請求の範囲で示す発熱する電子部品に相当する。この発熱素子22aは、接着剤23を介して基板21に実装さ、接着材23が形成される面とは半対面に放熱剤24を備える。この放熱剤24に関しては、後ほど説明する。
また、発熱素子22aとしては、表面実装型(SMD)であることが好ましい。例えば、縦型(スルーホール型)の発熱素子(トランジスタなど)である場合、縦型の発熱素子を基板21と取付部14との間に設けようとすると電子制御装置100の体格が大きくなってしまう。したがって、電子制御装置100の体格を大きくすることなく縦型の発熱素子を取付部14に対応する位置に設けようとすると、取付部14の側面に位置合せして縦型の発熱素子を搭載する必要がある。しかしながら、取付部14の側面と縦型の発熱素子とを基板21の平行方向での位置合せをする場合、位置合せの精度が低下してしまうため放熱性も低下する可能性がる。また、縦型の発熱素子の場合、側面に放熱剤24を設ける必要があり、この放熱剤24がずれる可能性が高く、放熱性も低下しやすくなる。
しかしながら、表面実装型の発熱素子22aの場合、取付部14と基板21との間に設けたとしても電子制御装置100の体格が大きくなることを抑制することができる。また、取付部14と基板21との間に表面実装型の発熱素子22aを設ける場合は、比較的位置合せの精度がよくなるので放熱性も向上する。
表面実装型の発熱素子22aは、複数のパワートランジスタを含むものであってもよい。このように発熱素子22aが複数のパワートランジスタを含む場合、各パワートランジスタ間の貰い熱などによって発熱素子22aの発熱量がより多くなる。したがって、このように複数のパワートランジスタ(発熱素子22a)を用いる場合、取付部14にて放熱経路を短くして放熱性を向上させることは特に効果的である。
また、発熱素子22aである複数のパワートランジスタは、モールドパッケージされた平板形状の集積回路であってもよい。このようにモールドパッケージされた平板形状の集積回路の場合、放熱部材を設けやすいので好ましい。
また、電子制御装置100を車両のエンジンECUに適用した場合、発熱素子22a(パワートランジスタなど)は、エンジン制御に関する電気負荷(インジェクタ用ソレノイド、電子スロットル用モータなど)に電気的に接続されるものであり、電気負荷に対して電力供給を行うものである場合がある。このようにエンジン制御に関する電気負荷に対して電力を供給するような発熱素子22a(パワートランジスタなど)は、比較的発熱量も多くなり、より一層放熱が必要とされる。したがって、このような発熱素子22a(パワートランジスタなど)を用いる場合、取付部14にて放熱経路を短くして放熱性を向上させることは特に効果的である。
また、基板21は、少なくとも入力処理及び/又は演算処理を実行する電子素子が実装される。そして、発熱素子22a(パワートランジスタなど)は、バッテリー電圧を電子素子に対応する所定の電圧に降圧する降圧回路である場合もある。このように降圧回路として用いられる発熱素子22a(パワートランジスタなど)に関しても、比較的発熱量が多くなり、より一層放熱が必要とされる。したがって、このような発熱素子22a(パワートランジスタなど)を用いる場合に関しても、取付部14にて放熱経路を短くして放熱性を向上させることは特に効果的である。
なお、符号26は、プリント基板21に実装された外部接続端子としてのコネクタであり、このコネクタ26は、ケース11とベース12を締結した状態で、一端が筐体10外に露出するように構成されている。なお、図面においては、便宜上、回路基板20を構成するプリント基板21を簡略化(配線等を省略)し、説明上必要な部分のみを図示する。
筐体10は、例えばアルミニウム等の放熱材料からなり、一方が開放された箱状のケース11と、ケース11の開放面を閉塞する略矩形板状の底の浅いベース12とにより構成される。ケース11は、図5(a)〜(c)などに示すように、電子制御装置100をエンジンルーム壁面200に固定するためのブラケット40を取付けるための取付部14を備える。この取付部14は、筐体10の内側方向であり発熱素子22aに対応する位置に突出して設けられる。取付部14は、ボルト30(本発明の螺子に相当する)に対応するケース11(筐体10)の外部から内部に貫通しない螺子穴13が形成されている。このように、螺子穴13をケース11(筐体10)の外部から内部に貫通しないようにすることによって防水性を向上することができる。
また、発熱素子22aを基板21の位置決め部(位置決め突起12a、位置決め穴25)の近傍に設け、取付部14をこの発熱素子22aに対応する位置に突出して設けると好ましい。つまり、基板21のそりの公差を考慮することなく放熱剤24の厚みを小さく設計することができるため、放熱性をより一層向上させることができる。
なお、図5及び、以下に説明する図6及び図7に関しては、回路基板20を簡略化(コネクタ26を省略)し、説明上必要な部分のみを図示する。
そして、ケース11とベース12とを、例えば図示されない螺子等によって締結することで、回路基板20を収容する内部空間を構成する。なお、筐体10の構成は上記ケース11及びベース12に限定されるものではない。1つの部材からなるものでも良いし、3つ以上の部材から構成されても良い。
このような回路基板20を筐体10に収容した場合、図6(a)、(b)に示すように、取付部14は、発熱素子22aの上面、すなわち基板21との接合面とは反対面上の全面を覆うように配置される。そして、取付部14と発熱素子22aとの間には、放熱剤24が配置される。
放熱剤24は、発熱素子22aから生じた熱を、筐体10及びブラケット40を介してエンジンルーム壁面200に放熱するように、発熱素子22aに対応して、筐体10(ケース11)と発熱素子22aとの間に配置される。この放熱剤24としては、本出願人が先に特開2003−289191号公報において開示した、柔軟性を有する(粘弾性が低い)放熱剤24を適用することが好ましい。このように柔軟性を有する放熱剤24を、筐体10(ケース11)と発熱素子22aとの間に配置すると、密着性を向上することができる。すなわち、放熱性を向上することができる。また、柔軟性を有するので、筐体10(ケース11)と基板21との間隔が一定でなくとも、発熱素子22aの局部に応力が集中し、破損が生じるのを防ぐことができる。さらには、接着剤のように硬化しないため、発熱素子22aに熱応力が加わることもない。
そして、取付部14は、図7(a)、(b)に示すように、ブラケット40を介してボルト30を螺子穴13に挿入(固定)することによって、ブラケット40が取り付けられる(固定される)。
このように、取付部14は、ブラケット40の取付部として機能を有すると共に、発熱素子22aが発する熱を効率的に筐体10外部に放熱する放熱部材としての機能を有する、すなわちブラケット40の取付部と発熱素子22aの放熱部材とを兼ねる放熱用突起兼取付部である。したがって、発熱素子22aから生じた熱をブラケット40を介してエンジンルーム壁面200に放熱することを考えた場合、取付部14を筐体10の内側方向であり発熱素子22aに対応する位置に突出して設けることによって、放熱経路を短くすることができ放熱性を向上することができる。また、取付部14を筐体10の内側方向に突出して設けることによって、取付部14を筐体10の外側方向に突出して設ける場合に比べて筐体10の体格を小さくすることができる。
なお、本実施形態においては、発熱素子22aの上面の少なくとも一部を覆うように、もしくは発熱素子22aの上面の近傍に設けるようにすれば放熱効果を向上させることができる。しかし、取付部14は、発熱素子22aの上面をより多く覆うように設けた方が、放熱効果をより一層向上させることができるので好ましい。したがって、取付部14は、発熱素子22aと対向する位置に設けられ、少なくとも発熱素子22aにおける取付部14との対抗面の全体を覆う形状をなすことによって、発熱素子22aから生じる熱をより多く受けることができ、より一層放熱性を向上することができる。
また、本実施形態においては、取付部14と発熱素子22aとの間に放熱剤24を設ける例を用いて説明したが、本発明はこれに限定されるものではない。取付部14を筐体10の内側方向であり発熱素子22aに対応する位置に突出して設けることで本発明の目的を達成できるものである。しかし、取付部14と発熱素子22aとの間に放熱剤24を設けた方がより一層放熱効果を向上させることができるので好ましい。
また、本実施形態においては、取付部14は、螺子穴13以外を筐体10を構成する、例えばアルミニウム等の放熱材料からなる例を用いて説明したが、取付部14は、筐体10の内側方向であり発熱素子22aに対応する位置に突出して設けられるようなものであれば本発明の目的を達成できるものである。
また、本実施形態においては、ボルト30に対応する螺子穴13をケース11(筐体10)の外部から内部に貫通しない螺子穴とする例を用いて説明したが本発明はこれに限定されるものではない。電子制御装置100が防水性を必要としないような場合、ケース11(筐体10)の外部から内部に貫通する螺子穴であってもよい。
(変形例1)
次に、本発明の変形例1について説明する。図8は、本発明の実施形態における変形例1のケースを説明するための図面であり、(a)は平面図であり、(b)は短手方向の側面図である。
次に、本発明の変形例1について説明する。図8は、本発明の実施形態における変形例1のケースを説明するための図面であり、(a)は平面図であり、(b)は短手方向の側面図である。
変形例1における電子制御装置100は、上述の実施形態によるものと共通するところが多いので、以下、共通部分についての詳しい説明は省略し、異なる部分を重点的に説明する。変形例1において、上述の実施形態と異なる点は取付部14の構造である。
変形例1におけるケース11は、図8に示すように、電子制御装置100をエンジンルーム壁面200に固定するためのブラケット40を取付けるための取付部14を備える。この取付部14は、筐体10の内側方向であり発熱素子22aに対応する位置に突出して設けられる。取付部14は、ボルト30(本発明の螺子に相当する)に対応するケース11(筐体10)の外部から内部に貫通しない螺子穴13が形成されている。さらに、取付部14は、螺子穴13間に凸部15aと凹部15bとからなる放熱フィン15を備える。
このように、取付部14に放熱フィン15を備えることによって、発熱素子22aから生じる熱はブラケット40を介してエンジンルーム壁面200へ放熱されると共に、放熱フィン15からも放熱されることとなり、より一層放熱性を向上することができる。
なお、放熱フィン15の位置は、螺子穴13間に限定されるものではなく、取付部14の一部に設けるようにすれば本発明の目的を達成できるものである。
(変形例2)
次に、本発明の変形例2について説明する。図9は、本発明の実施形態における変形例2の取付部を説明するための取付部付近の断面図である。
次に、本発明の変形例2について説明する。図9は、本発明の実施形態における変形例2の取付部を説明するための取付部付近の断面図である。
変形例2における電子制御装置100は、上述の実施形態及び変形例によるものと共通するところが多いので、以下、共通部分についての詳しい説明は省略し、異なる部分を重点的に説明する。変形例2において、上述の実施形態及び変形例と異なる点は放熱剤24の形成位置である。
放熱剤24は、図9に示すように、発熱素子22aと取付部14との間、及びベース12と基板21における発熱素子22aの実装部位の裏面との間に配置するようにしてもよい。このように、放熱剤24を発熱素子22aと取付部14との間だけではなく、ベース12と基板21における発熱素子22aの実装部位の裏面との間に配置することによって、発熱素子22aから生じる熱はブラケット40を介してエンジンルーム壁面200へ短い放熱経路で放熱されると共に、ベース12からも放熱されることとなり、より一層放熱性を向上することができる。
(変形例3)
次に、本発明の変形例3について説明する。図10は、本発明の実施形態における変形例3の取付部を説明するための取付部付近の断面図である。
次に、本発明の変形例3について説明する。図10は、本発明の実施形態における変形例3の取付部を説明するための取付部付近の断面図である。
変形例3における電子制御装置100は、上述の実施形態及び変形例によるものと共通するところが多いので、以下、共通部分についての詳しい説明は省略し、異なる部分を重点的に説明する。変形例3において、上述の実施形態及び変形例と異なる点は発熱素子22aの実装位置である。
図10に示すように、発熱素子22aの実装位置は、基板21と取付部14との間だけでなく、発熱素子22aが基板21とベース12との間にくるように基板12の裏面(基板21における取付部14に対向する面の裏面側)に実装してもよい。発熱素子22aは、接着剤23を介して基板21に実装さ、接着材23が形成される面とは半対面に放熱剤24を備える。
このように、発熱素子22aを基板21と取付部14との間だけでなく、発熱素子22aが基板21とベース12との間にくるように基板12の裏面に実装することによって、発熱素子22aから生じる熱はブラケット40を介してエンジンルーム壁面200へ短い放熱経路で放熱されると共に、ベース12からも放熱されることとなり、より一層放熱性を向上することができる。また、基板12の裏面にも発熱素子22aを設けることによって、基板21における実装面積を増やすことができる。
(変形例4)
次に、本発明の変形例4について説明する。図11は、本発明の実施形態における変形例4の取付部を説明するための取付部付近の断面図である。
次に、本発明の変形例4について説明する。図11は、本発明の実施形態における変形例4の取付部を説明するための取付部付近の断面図である。
変形例4における電子制御装置100は、上述の実施形態及び変形例によるものと共通するところが多いので、以下、共通部分についての詳しい説明は省略し、異なる部分を重点的に説明する。変形例4において、上述の実施形態及び変形例と異なる点は発熱素子22aの実装位置と放熱剤24の形成位置である。
図11に示すように、発熱素子22aの実装位置は、基板21と取付部14との間でなく、基板21とベース12との間であって取付部14に対応する位置に実装してもよい。そして、基板21と取付部14との間に放熱剤24を設けるようにしてもよい。
このように、発熱素子22aを基板21とベース12との間であって取付部14に対応する位置に実装し、基板21と取付部14との間に放熱剤24を設けるようにした場合であっても、発熱素子22aから生じる熱をブラケット40を介してエンジンルーム壁面200へ短い放熱経路で放熱させることができる。したがって、発熱素子22aを基板21に実装する際の自由度を向上させることもできる。
(変形例5)
次に、本発明の変形例5について説明する。図12は、本発明の実施形態における変形例5のケースを説明するための図面であり、(a)は平面図であり、(b)はXIIb−XIIb断面図である。
実施形態における電子制御装置100は、上述の実施形態及び変形例によるものと共通するところが多いので、以下、共通部分についての詳しい説明は省略し、異なる部分を重点的に説明する。実施形態において、上述の実施形態及び変形例と異なる点は取付部14の形成位置である。
次に、本発明の変形例5について説明する。図12は、本発明の実施形態における変形例5のケースを説明するための図面であり、(a)は平面図であり、(b)はXIIb−XIIb断面図である。
実施形態における電子制御装置100は、上述の実施形態及び変形例によるものと共通するところが多いので、以下、共通部分についての詳しい説明は省略し、異なる部分を重点的に説明する。実施形態において、上述の実施形態及び変形例と異なる点は取付部14の形成位置である。
図12に示すように、取付部14は、ケース11(筐体10)の上面、すなわち基板21に対向する対抗面における発熱素子22aに対応する位置に突出して設けるようにしてもよい。このように、取付部14をケース11の対抗面に設けた場合であっても発熱素子22aから生じる熱をブラケット40を介してエンジンルーム壁面200へ短い放熱経路で放熱させることができる。
また、このように取付部14は、ケース11の側面のみならず基板21に対向する対抗面にも設けることができるので、ケース11に形成する際の自由度を向上させることができる。したがって、発熱素子22aの実装位置が基板21の中央付近であった場合でも放熱性を向上させることができる。
なお、取付部14は、ケース11(筐体10)における基板21に対向する対抗面の一部を含んで設けるようにすれば、本発明の目的は達成できるものである。
(変形例6)
次に、本発明の変形例6について説明する。図13は、本発明の変形例6におけるケースを説明するための図面であり、(a)は平面図であり、(b)は短手方向の側面図であり、(c)は長手方向の側面図である。
次に、本発明の変形例6について説明する。図13は、本発明の変形例6におけるケースを説明するための図面であり、(a)は平面図であり、(b)は短手方向の側面図であり、(c)は長手方向の側面図である。
変形例6における電子制御装置100は、上述の実施形態及び変形例によるものと共通するところが多いので、以下、共通部分についての詳しい説明は省略し、異なる部分を重点的に説明する。変形例6において、上述の実施形態及び変形例と異なる点は取付部14の形成位置である。
図13に示すように、取付部14は、ケース11(筐体10)の側面、すなわち基板21に対して略垂直となる方向の面の少なくとも一部において、発熱素子22aに対応する位置に突出して設けるようにしてもよい。このように、取付部14をケース11(筐体10)の側面、すなわち基板21に対して略垂直となる方向の面の少なくとも一部にに設けた場合であっても発熱素子22aから生じる熱をブラケット40を介してエンジンルーム壁面200へ短い放熱経路で放熱させることができる。
なお、取付部14は、ケース11(筐体10)における少なくとも一つの側面の一部を含んで設けるようにすれば、本発明の目的は達成できるものである。
なお、上述の実施形態及び変形例は、適宜組み合わせて実施可能である。
10 筐体、11 ケース、12 ベース、13 螺子穴、14 取付部、放熱フィン、20 回路基板、21 プリント基板、22 電子部品、22a 発熱素子22a 接着剤、24 放熱剤、25 位置決め穴、26 コネクタ、30 ボルト、40 ブラケット、50 ボルト、100 電子制御装置、200 エンジンルーム壁面
Claims (27)
- 熱伝導性の接続部材によって被取付体に取付けられる電子制御装置であって、
前記電子制御装置は、発熱する電子部品が実装された回路基板と、前記回路基板を収容するものであり、放熱材料からなり、前記接続部材を取付ける取付部を有する筐体と、を備え、
前記取付部は、前記筐体の内側方向であり前記電子部品に対応する位置に突出して設けられることを特徴とする電子制御装置。 - 前記取付部は、螺子によって前記接続部材が取り付けられるものであり、前記筐体の外部から内部に貫通しない螺子穴を備えることを特徴とする請求項1に記載の電子制御装置。
- 前記取付部は、前記螺子穴以外を前記筐体を形成する放熱材料からなることを特徴とする請求項1又は請求項2に記載の電子制御装置。
- 前記取付部は、放熱フィンを備えることを特徴とする請求項1乃至請求項3のいずれかに記載の電子制御装置。
- 前記取付部と前記電子部品との間に放熱部材を備えることを特徴とする請求項1乃至請求項4のいずれかに記載の電子制御装置。
- 前記放熱部材は、柔軟性を有することを特徴とする請求項5に記載の電子制御装置。
- 前記筐体及び前記回路基板のうち少なくとも一方に、当該筐体と当該回路基板とを位置決めする位置決め部を備えるものであり、前記電子部品は、前記位置決め部の近傍に配置され、前記取付部は、当該電子部品に対応する位置に突出して設けられることを特徴とする請求項5又は請求項6に記載の電子制御装置。
- 前記取付部は、前記筐体における少なくとも一つの側面の一部を含んで設けられることを特徴とする請求項1乃至請求項7のいずれかに記載の電子制御装置。
- 前記取付部は、前記筐体における前記回路基板に対向する対向面の一部を含んで設けられることを特徴とする請求項1乃至請求項8のいずれかに記載の電子制御装置。
- 前記取付部は、前記電子部品と対向する位置に設けられ、少なくとも当該電子部品における当該取付部との対抗面の全体を覆う形状をなすことを特徴とする請求項1乃至請求項9のいずれかに記載の電子制御装置。
- 前記電子部品は、表面実装型の電子部品であることを特徴とする請求項1乃至請求項10のいずれかに記載の電子制御装置。
- 前記表面実装型の電子部品は、複数のパワートランジスタを含むことを特徴とする請求項11に記載の電子制御装置。
- 前記複数のパワートランジスタは、モールドパッケージされた平板形状の集積回路であることを特徴とする請求項12に記載の電子制御装置。
- 前記パワートランジスタは、エンジン制御に関する電気負荷に電気的に接続されるものであり、当該電気負荷に対して電力供給を行うものであることを特徴とする請求項12又は請求項13に記載の電子制御装置。
- 前記回路基板は、少なくとも入力処理及び/又は演算処理を実行する電子素子が実装されるものであり、前記パワートランジスタは、バッテリー電圧を前記電子素子に対応する所定の電圧に降圧する降圧回路であることを特徴とする請求項12又は請求項13に記載の電子制御装置。
- 発熱する電子部品が実装された回路基板を収容するものであり、熱伝導性の接続部材によって被取付体に取付けられる電子制御装置用の筐体であって、
前記筐体は、放熱材料からなり、前記接続部材を取付ける取付部を備え、
前記取付部は、前記筐体の内側方向であり前記電子部品に対応する位置に突出して設けられることを特徴とする電子制御装置用の筐体。 - 前記取付部は、螺子によって前記接続部材が取り付けられるものであり、前記筐体の外部から内部に貫通しない螺子穴を備えることを特徴とする請求項16に記載の電子制御装置用の筐体。
- 前記取付部は、前記螺子穴以外を前記筐体を形成する放熱材料からなることを特徴とする請求項16又は請求項17に記載の電子制御装置用の筐体。
- 前記取付部は、放熱フィンを備えることを特徴とする請求項16乃至請求項18のいずれかに記載の電子制御装置用の筐体。
- 前記取付部は、前記筐体における少なくとも一つの側面の一部を含んで設けられることを特徴とする請求項16乃至請求項19のいずれかに記載の電子制御装置用の筐体。
- 前記取付部は、前記筐体における前記回路基板に対向する対向面の一部を含んで設けられることを特徴とする請求項16乃至請求項20のいずれかに記載の電子制御装置の筐体。
- 前記取付部は、前記電子部品と対向する位置に設けられ、少なくとも当該電子部品における当該取付部との対抗面の全体を覆う形状をなすことを特徴とする請求項16乃至請求項21のいずれかに記載の電子制御装置。
- 前記電子部品は、表面実装型の電子部品であることを特徴とする請求項16乃至請求項22のいずれかに記載の電子制御装置。
- 前記表面実装型の電子部品は、複数のパワートランジスタを含むことを特徴とする請求項23に記載の電子制御装置。
- 前記複数のパワートランジスタは、モールドパッケージされた平板形状の集積回路であることを特徴とする請求項24に記載の電子制御装置。
- 前記パワートランジスタは、エンジン制御に関する電気負荷に電気的に接続されるものであり、当該電気負荷に対して電力供給を行うものであることを特徴とする請求項24又は請求項25に記載の電子制御装置。
- 前記回路基板は、少なくとも入力処理及び/又は演算処理を実行する電子素子が実装されるものであり、前記パワートランジスタは、バッテリー電圧を前記電子素子に対応する所定の電圧に降圧する降圧回路であることを特徴とする請求項24又は請求項25に記載の電子制御装置。
Priority Applications (1)
| Application Number | Priority Date | Filing Date | Title |
|---|---|---|---|
| JP2006019624A JP2007201283A (ja) | 2006-01-27 | 2006-01-27 | 電子制御装置及び電子制御装置の筐体 |
Applications Claiming Priority (1)
| Application Number | Priority Date | Filing Date | Title |
|---|---|---|---|
| JP2006019624A JP2007201283A (ja) | 2006-01-27 | 2006-01-27 | 電子制御装置及び電子制御装置の筐体 |
Publications (1)
| Publication Number | Publication Date |
|---|---|
| JP2007201283A true JP2007201283A (ja) | 2007-08-09 |
Family
ID=38455539
Family Applications (1)
| Application Number | Title | Priority Date | Filing Date |
|---|---|---|---|
| JP2006019624A Pending JP2007201283A (ja) | 2006-01-27 | 2006-01-27 | 電子制御装置及び電子制御装置の筐体 |
Country Status (1)
| Country | Link |
|---|---|
| JP (1) | JP2007201283A (ja) |
Cited By (9)
| Publication number | Priority date | Publication date | Assignee | Title |
|---|---|---|---|---|
| EP2020591A2 (en) | 2007-08-01 | 2009-02-04 | Sony Corporation | Displacement measuring apparatus |
| JP2009123812A (ja) * | 2007-11-13 | 2009-06-04 | Denso Corp | 放熱構造を有する電子制御装置 |
| JP2012004216A (ja) * | 2010-06-15 | 2012-01-05 | Denso Corp | 電子制御装置 |
| JP2012129306A (ja) * | 2010-12-14 | 2012-07-05 | Denso Corp | 電子装置 |
| JP2012129305A (ja) * | 2010-12-14 | 2012-07-05 | Denso Corp | 電子装置 |
| JP2018063921A (ja) * | 2016-10-14 | 2018-04-19 | 株式会社デンソー | 電池装置 |
| CN109195421A (zh) * | 2018-11-01 | 2019-01-11 | 徐州尚恒工控技术有限公司 | 一种电动车高效散热防水控制器 |
| CN110731009A (zh) * | 2017-06-28 | 2020-01-24 | 株式会社自动网络技术研究所 | 电路装置 |
| JP2022175323A (ja) * | 2021-05-13 | 2022-11-25 | 日産自動車株式会社 | 電子制御装置 |
-
2006
- 2006-01-27 JP JP2006019624A patent/JP2007201283A/ja active Pending
Cited By (12)
| Publication number | Priority date | Publication date | Assignee | Title |
|---|---|---|---|---|
| EP2020591A2 (en) | 2007-08-01 | 2009-02-04 | Sony Corporation | Displacement measuring apparatus |
| JP2009123812A (ja) * | 2007-11-13 | 2009-06-04 | Denso Corp | 放熱構造を有する電子制御装置 |
| JP2012004216A (ja) * | 2010-06-15 | 2012-01-05 | Denso Corp | 電子制御装置 |
| JP2012129306A (ja) * | 2010-12-14 | 2012-07-05 | Denso Corp | 電子装置 |
| JP2012129305A (ja) * | 2010-12-14 | 2012-07-05 | Denso Corp | 電子装置 |
| JP2018063921A (ja) * | 2016-10-14 | 2018-04-19 | 株式会社デンソー | 電池装置 |
| DE102017123872B4 (de) | 2016-10-14 | 2025-02-13 | Denso Corporation | Batterievorrichtung |
| CN110731009A (zh) * | 2017-06-28 | 2020-01-24 | 株式会社自动网络技术研究所 | 电路装置 |
| CN110731009B (zh) * | 2017-06-28 | 2023-08-01 | 株式会社自动网络技术研究所 | 电路装置 |
| CN109195421A (zh) * | 2018-11-01 | 2019-01-11 | 徐州尚恒工控技术有限公司 | 一种电动车高效散热防水控制器 |
| JP2022175323A (ja) * | 2021-05-13 | 2022-11-25 | 日産自動車株式会社 | 電子制御装置 |
| JP7619156B2 (ja) | 2021-05-13 | 2025-01-22 | 日産自動車株式会社 | 電子制御装置 |
Similar Documents
| Publication | Publication Date | Title |
|---|---|---|
| KR100774060B1 (ko) | 전자 회로 장치 | |
| JP3864873B2 (ja) | 電子制御装置 | |
| CN108702856B (zh) | 电路构成体 | |
| JP5093481B2 (ja) | 電子部品収容ケース体における放熱構造 | |
| JP2008193108A (ja) | 電子制御装置 | |
| CN108352691B (zh) | 电路结构体及电气接线盒 | |
| JP4122862B2 (ja) | 電子装置の放熱構造 | |
| US10880989B2 (en) | Electrical junction box | |
| WO2023037856A1 (ja) | 電子装置 | |
| JP4387314B2 (ja) | 電気接続箱 | |
| US20190014654A1 (en) | Circuit structure and electrical junction box | |
| JP2007201283A (ja) | 電子制御装置及び電子制御装置の筐体 | |
| JP6303981B2 (ja) | 電気機器 | |
| JP2002299867A (ja) | 電子制御機器 | |
| JP2002299873A (ja) | 電子制御装置 | |
| JP2006287100A (ja) | コンデンサモジュール | |
| JP2003264386A (ja) | 電子制御機器 | |
| KR102681011B1 (ko) | 전자제어 장치 | |
| JPH11266090A (ja) | 半導体装置 | |
| JP2003224387A (ja) | 制御ユニット | |
| JP2004259948A (ja) | 電子制御装置 | |
| JP2001223489A (ja) | 車両用電子制御装置 | |
| JP3663868B2 (ja) | 半導体装置及びその製造方法 | |
| JP2008135668A (ja) | 電子機器の筐体構造及び電源装置 | |
| JP2506898B2 (ja) | 電子回路装置 |