JP2007201014A - ウエットエッチング装置およびウエットエッチング方法 - Google Patents

ウエットエッチング装置およびウエットエッチング方法 Download PDF

Info

Publication number
JP2007201014A
JP2007201014A JP2006015536A JP2006015536A JP2007201014A JP 2007201014 A JP2007201014 A JP 2007201014A JP 2006015536 A JP2006015536 A JP 2006015536A JP 2006015536 A JP2006015536 A JP 2006015536A JP 2007201014 A JP2007201014 A JP 2007201014A
Authority
JP
Japan
Prior art keywords
wet etching
hydrofluoric acid
acid solution
etching
etching apparatus
Prior art date
Legal status (The legal status is an assumption and is not a legal conclusion. Google has not performed a legal analysis and makes no representation as to the accuracy of the status listed.)
Withdrawn
Application number
JP2006015536A
Other languages
English (en)
Inventor
Masayuki Watanabe
雅之 渡辺
Yukihisa Wada
幸久 和田
Current Assignee (The listed assignees may be inaccurate. Google has not performed a legal analysis and makes no representation or warranty as to the accuracy of the list.)
Panasonic Holdings Corp
Original Assignee
Matsushita Electric Industrial Co Ltd
Priority date (The priority date is an assumption and is not a legal conclusion. Google has not performed a legal analysis and makes no representation as to the accuracy of the date listed.)
Filing date
Publication date
Application filed by Matsushita Electric Industrial Co Ltd filed Critical Matsushita Electric Industrial Co Ltd
Priority to JP2006015536A priority Critical patent/JP2007201014A/ja
Publication of JP2007201014A publication Critical patent/JP2007201014A/ja
Withdrawn legal-status Critical Current

Links

Images

Landscapes

  • Electrodes Of Semiconductors (AREA)
  • Internal Circuitry In Semiconductor Integrated Circuit Devices (AREA)
  • Weting (AREA)

Abstract

【課題】ウエハ面内での高い均一性をもってポリシリコン膜をウエットエッチングできるエッチング装置およびエッチング方法を提供する。
【解決手段】基板上に形成されたポリシリコン膜をエッチングするためのフッ硝酸溶液を吐出するフッ硝酸溶液供給部6と、フッ硝酸溶液にNO2ガスを混合するNO2ガス供給部7とを備える。フッ硝酸溶液にNO2ガスを混合し、次にNO2ガスが混合されたフッ硝酸溶液を用いてポリシリコン膜をエッチングする。薬液吐出部においてもNO2が充分に供給されて、ウエハ面全体においてNO2による酸化反応が均一化され、ウエハ面内におけるポリシリコン膜のウエットエッチングの均一性が改善される。
【選択図】図2

Description

本発明は、ウエハ上に形成されたポリシリコン膜を均一にウエットエッチングするためのエッチング装置、およびそれを用いたポリシリコン膜のエッチング方法に関する。
近年、半導体装置の高集積化、高性能化に伴い、素子の微細化、ウエハの大口径化が進んでいる。特に、大口径のウエハに微細パターンを精度よく形成するためには、加工工程においてウエハ面内を均一にエッチングすることが重要である。例えば、特許文献1には、ウエハ面内を均一にエッチングするための方法の一例が記載されている。
以下、従来のポリシリコン膜のエッチング方法を示す一例について、図1を参照しながら説明する。図1は、シリコン基板1上に半導体装置の要素であるゲート電極を形成するための製造方法の第一段階を示す各工程の断面図である。
まず、図1(a)に示すように、例えばシリコン基板1の表面に熱酸化膜2を成長させ、続いてポリシリコン3を堆積させる。次に、図1(b)に示すように、裏面に成長したポリシリコン3をウエットエッチングにより除去する。
この裏面ポリシリコン除去工程は、例えば図30に示すような枚葉式エッチング装置を利用し、フッ硝酸(HF:HNO3=1:80)を用いて30秒間ウエットエッチングを行うことにより行われる。図30において、ウエットエッチングが施されるウエハ4は、ウエハ保持台5上に保持される。ウエハ保持台5の上方に薬液ノズル38が配置され、ウエハ4に対してエッチング液を吐出することによりウエットエッチングが行われる。
特開2002−134466号公報
しかしながら、従来のポリシリコンのウエットエッチング工程では、図1(b)に示した裏面ポリシリコン除去工程において、ポリシリコン3が均一にエッチングされ難い。
具体的には、ポリシリコンのウエットエッチングは、硝酸によるシリコンの酸化とフッ酸によるシリコン酸化膜のエッチングの競争反応により行なわれる。このとき、硝酸とシリコンの酸化反応で、副生成物として生成された二酸化窒素もシリコンを酸化させる。このように2通りのシリコンの酸化反応が行なわれると、硝酸の酸化力より二酸化窒素の酸化力が大きいために、薬液吐出部以外でエッチングが加速して、ポリシリコン膜のエッチングのウエハ面内での均一性が低いという課題が発生する。
本発明は、上記課題に鑑みてなされたものであり、ウエハ面内での高い均一性をもってポリシリコン膜をウエットエッチングできるエッチング装置、およびエッチング方法を提供することを目的とする。
本発明のウエットエッチング装置は、基板上に形成されたポリシリコン膜をウエットエッチングするための装置である。
上記課題を解決するために、本発明の第1の構成のウエットエッチング装置は、前記ポリシリコン膜をエッチングするための薬液を吐出するフッ硝酸溶液供給部と、前記フッ硝酸溶液にNO2ガスを混合するNO2ガス供給部とを備える。
本発明の第2の構成のウエットエッチング装置は、前記ポリシリコン膜をエッチングするための薬液を吐出するフッ硝酸溶液供給部と、前記フッ硝酸溶液に金属粉末を混合する金属粉末供給部とを備える。
本発明の第3の構成のウエットエッチング装置は、前記ポリシリコン膜をエッチングするための薬液を吐出するフッ硝酸溶液供給部と、前記フッ硝酸溶液に紫外線を照射する紫外線照射部とを備える。
本発明のウエットエッチング方法は、基板上に形成されたポリシリコン膜をウエットエッチングするための方法である。
上記課題を解決するために、本発明の第1の構成のウエットエッチング方法は、前記ポリシリコン膜をエッチングするためのフッ硝酸溶液にNO2ガスを混合する工程と、前記NO2ガスが混合された前記フッ硝酸溶液を用いて前記ポリシリコン膜をエッチングする工程とを備える。
本発明の第2の構成のウエットエッチング方法は、前記ポリシリコン膜をエッチングするためのフッ硝酸溶液に金属粉末を混合する工程と、前記金属粉末が混合された前記フッ硝酸溶液を用いて前記ポリシリコン膜をエッチングする工程とを備える。
本発明の第3の構成のウエットエッチング方法は、前記ポリシリコン膜をエッチングするためのフッ硝酸溶液に紫外線を照射する工程と、前記紫外線が照射された前記フッ硝酸溶液を用いて前記ポリシリコン膜をエッチングする工程とを備える。
本発明のエッチング装置およびエッチング方法によれば、薬液吐出部においてもNO2が充分に供給されることになり、ウエハ面全体においてNO2による酸化反応が均一化される。その結果、ウエハ面内におけるポリシリコン膜のウエットエッチングの均一性が改善される。
上記本発明の第1の構成のウェットエッチング装置において、本ウェットエッチング装置は枚葉式エッチング装置として構成され、前記NO2ガス供給部は、前記フッ硝酸溶液供給部における薬液吐出ノズル内で前記NO2ガスを前記フッ硝酸溶液と混合するように設置されることができる。
また、本ウェットエッチング装置はバッチ式エッチング装置として構成され、前記NO2ガス供給部は、前記フッ硝酸溶液供給部における薬液供給ライン内で前記NO2ガスを前記フッ硝酸溶液と混合するように設置されることができる。
また、本ウェットエッチング装置は枚葉式エッチング装置として構成され、前記NO2ガス供給部は、前記NO2ガスと前記フッ硝酸溶液供給部から前記基板に向けて吐出された前記フッ硝酸とを、前記基板上において混合するように設置されることができる。
また、本ウェットエッチング装置は枚葉式エッチング装置として構成され、前記NO2ガス供給部は、エッチングチャンバー内で前記NO2ガスを前記フッ硝酸溶液と混合するように設置されることができる。
また、本ウェットエッチング装置はバッチ式エッチング装置として構成され、前記NO2ガス供給部は、エッチング槽内で前記NO2ガスを前記フッ硝酸溶液と混合するように設置されることができる。
また、本ウェットエッチング装置は枚葉式エッチング装置またはバッチ式エッチング装置として構成され、前記NO2ガス供給部は、前記フッ硝酸溶液供給部における薬液タンク内で前記NO2ガスを前記フッ硝酸溶液と混合するように設置されることができる。
上記本発明の第2の構成のウェットエッチング装置において、本ウェットエッチング装置は枚葉式エッチング装置として構成され、前記金属粉末供給部は、前記フッ硝酸溶液供給部における薬液吐出ノズル内で前記金属粉末を前記フッ硝酸溶液と混合するように設置されることができる。
また、本ウェットエッチング装置はバッチ式エッチング装置として構成され、前記金属粉末供給部は、前記フッ硝酸溶液供給部における薬液供給ライン内で前記金属粉末を前記フッ硝酸溶液と混合するように設置されることができる。
また、前記金属粉末は、Si粉末またはAl粉末とすることができる。
上記本発明の第3の構成のウェットエッチング装置において、本ウェットエッチング装置は枚葉式エッチング装置として構成され、前記紫外線照射部は、前記フッ硝酸溶液供給部における薬液吐出ノズル内を通過する前記フッ硝酸溶液に対して前記紫外線を照射するように設置されることができる。
また、本ウェットエッチング装置は枚葉式エッチング装置として構成され、前記紫外線照射部は、エッチングチャンバー内に載置された前記基板に向けて前記紫外線を照射するように設置されることができる。
また、本ウェットエッチング装置はバッチ式エッチング装置として構成され、前記紫外線照射部は、エッチング槽内に載置された前記基板に向けて前記紫外線を照射するように設置されることができる。
上記本発明の第1の構成のウェットエッチング方法において、本ウェットエッチング方法は枚葉式によりエッチングを行い、前記NO2ガスを、前記フッ硝酸溶液を供給する薬液吐出ノズル内で前記フッ硝酸溶液と混合することができる。
また、本ウェットエッチング方法はバッチ式によりエッチングを行い、前記NO2ガスを、前記フッ硝酸溶液を供給する薬液供給ライン内で前記フッ硝酸溶液と混合することができる。
また、本ウェットエッチング方法は枚葉式によりエッチングを行い、前記NO2ガスを、前記基板に向けて吐出された前記フッ硝酸と前記基板上において混合することができる。
また、本ウェットエッチング方法は枚葉式によりエッチングを行い、前記NO2ガスを、エッチングチャンバー内で前記フッ硝酸溶液と混合することができる。
また、本ウェットエッチング方法はバッチ式によりエッチングを行い、前記NO2ガスを、エッチング槽内で前記フッ硝酸溶液と混合することができる。
また、本ウェットエッチング方法は枚葉式またはバッチ式によりエッチングを行い、前記NO2ガスを、前記フッ硝酸溶液を供給する薬液タンク内で前記フッ硝酸溶液と混合することができる。
上記本発明の第2の構成のウェットエッチング方法において、本ウェットエッチング方法は枚葉式によりエッチングを行い、前記金属粉末を、前記フッ硝酸溶液を供給する薬液吐出ノズル内で前記フッ硝酸溶液と混合することができる。
また、本ウェットエッチング方法はバッチ式によりエッチングを行い、前記金属粉末を、前記フッ硝酸溶液を供給する薬液供給ライン内で前記フッ硝酸溶液と混合することができる。
また、前記金属粉末が、Si粉末またはAl粉末であることができる。
上記本発明の第3の構成のウェットエッチング方法において、本ウェットエッチング方法は枚葉式によりエッチングを行い、前記紫外線照射を、前記フッ硝酸溶液を供給する薬液吐出ノズル内を通過する前記フッ硝酸溶液に対して行うことができる。
また、本ウェットエッチング方法は枚葉式によりエッチングを行い、前記紫外線照射を、エッチングチャンバー内に載置された前記基板に向けて行うことができる。
また、本ウェットエッチング方法はバッチ式によりエッチングを行い、前記紫外線照射を、エッチング槽内に載置された前記基板に向けて行うことができる。
以下に、本発明の各実施形態におけるウエットエッチング装置、及びポリシリコンのウエットエッチング方法について、図面を参照しながら説明する。各実施形態におけるエッチングの適用例である半導体装置の製造方法における工程は、図1に示した断面図を用いて説明する。
(第1の実施形態)
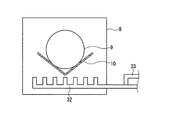
本発明の第1の実施形態におけるウエットエッチング装置、及びポリシリコンのウエットエッチング方法について、図2を参照して説明する。
図2は、本実施形態に用いられる枚葉式エッチング装置を示し、ウエハ4は、ウエハ支持台5により支持される。ウエハ支持台5の中央部上方に薬液ノズル6が配置され、ウエハ4に対してエッチング液を吐出することによりウエットエッチングが行われる。薬液ノズル6の射出端部には、NO2供給ライン7が結合されている。
上記構成のエッチング装置により、図1(b)に示す裏面ポリシリコン除去工程において、ポリシリコン3の裏面を、NO2を添加したフッ硝酸により除去する。すなわち、図2に示すように薬液ノズル6にNO2供給ライン7を併設して、フッ硝酸(HF:HNO3=1:80)の流量1(l/min)に対して、NO2を流量30(l/min)で混合してから吐出し、30秒間ウエットエッチングを行う。NO2供給ライン7を併設することにより、フッ硝酸中のNO2濃度が高くなり、ウエハ4中央部のエッチングが促進され、ウエハ4面内が均一にエッチングされる。
以下、フッ硝酸にNO2を混合することでウエハ中央部のエッチングが促進できる理由について説明する。フッ硝酸によるシリコンのエッチングメカニズムは、化学式(1)および(2)で示される。化学式(1)で示されるようにHNO3がSiを酸化し、化学式(2)で示されるようにHFがSiO2をエッチングする。
Si+4HNO3 → SiO2+4NO2+2H2O (1)
SiO2+6HF → H2SiF6+2H2O (2)
ここで、化学式(1)の反応で副生成物としてNO2が発生する。そして、硝酸の酸化還元電位が1.0Vに対して、NO2は1.6Vであり、非常に酸化力が強い。
NO2を混合しない従来のエッチング方法では、ウエハ中央部に薬液を吐出すると、ウエハ中央部では硝酸の酸化が律速してシリコンのエッチングがほとんど進行しないが、中央部以外(周辺部)ではNO2の酸化によりエッチングが進行する。この結果、ウエハ中央部はシリコンエッチングが遅く、周辺部ではシリコンエッチングが早くなり、ウエハ内でのエッチングの均一性が悪くなる。
これに対して本実施形態のように、薬液吐出前にNO2濃度を高くしておけば、ウエハ中央部にもNO2が充分に供給され、ウエハ内のどの部分においてもNO2が酸化反応し、ウエハ面内が均一に酸化され、その結果、ウエハ面内が均一にエッチングできるものと考えられる。
図3は、フッ硝酸でシリコンをエッチングしたときの面内均一性を示すグラフである。このグラフより、NO2を添加しない場合はウエハ中央部のエッチングが不十分で面内均一性が27.4%からであるのに対して、NO2を添加するとウエハ中央部のエッチングが促進され、面内均一性が2.8%まで向上することがわかる。
(第2の実施形態)
本発明の第2の実施形態におけるウエットエッチング装置、及びポリシリコンのウエットエッチング方法について、図4を参照して説明する。
図4は、本実施形態に用いられるバッチ式エッチング装置を示し、エッチング槽8内において、ウエハ9がウエハ支持台10により支持される。ウエハ支持台10の下方に薬液ノズル11が配置され、ウエハ9に対してエッチング液を吐出することによりウエットエッチングが行われる。薬液ノズル11には、NO2供給ライン12が結合されている。
上記構成のエッチング装置により、図1(b)に示す裏面ポリシリコン除去工程において、ポリシリコン3の裏面を、NO2を添加したフッ硝酸で除去する。すなわち、図4に示すように薬液ノズル11にNO2供給ライン12を併設して、フッ硝酸(HF:HNO3=1:80)の流量20(l/min)に対して、NO2を流量30(l/min)で混合してから吐出し、30秒間ウエットエッチングを行う。NO2供給ライン12を併設することにより、フッ硝酸中のNO2濃度が薬液ノズル全体にわたって高くなり、ウエハ9面内が均一にエッチングされる。なお、ここでNO2を混合する効果は、第1の実施形態の場合と同じ理由に基づく。
図5は、フッ硝酸でシリコンをエッチングしたときの面内均一性を示すグラフである。このグラフより、NO2を添加しない場合は面内均一性が44.1%と悪いが、NO2を添加すると面内均一性が2.6%まで向上することがわかる。
(第3の実施形態)
本発明の第3の実施形態におけるウエットエッチング装置、及びポリシリコンのウエットエッチング方法について、図6を参照して説明する。
図6は、本実施形態に用いられる枚葉式エッチング装置を示す。上述の装置と同様の要素については同一の参照番号を付して、説明の重複を省略する。本実施形態では、薬液ノズル13にNO2供給ライン14を並列に並べ、ウエハ4にNO2を直接吹きつけるように構成される。
上記構成のエッチング装置により、図1(b)に示す裏面ポリシリコン除去工程において、ポリシリコン3の裏面を、NO2を添加したフッ硝酸で除去する。すなわち、図6に示すように薬液ノズル13にNO2供給ライン14を並列に並べ、ウエハにNO2を流量30(l/min)で直接吹きつけながら、フッ硝酸(HF:HNO3=1:80)を流量1(l/min)で吐出し、30秒間ウエットエッチングを行う。ウエハ4にNO2を直接吹きつけることにより、フッ硝酸中のNO2濃度が高くなり、ウエハ4中央部のエッチングが促進され、ウエハ4面内が均一にエッチングされる。
NO2を混合する効果は、第1の実施形態の場合と同じ理由に基づく。本実施形態ではフッ硝酸中に直接NO2を混合するわけではないが、フッ硝酸とNO2を並列してウエハに向けて放出することで、気相中で両者が混合されることになる。
図7は、フッ硝酸でシリコンをエッチングしたときの面内均一性を示すグラフである。このグラフより、NO2を添加しない場合はウエハ中央部のエッチングが不十分で面内均一性が27.4%であるのに対して、NO2を添加するとウエハ中央部のエッチングが促進され、面内均一性が4.0%まで向上することがわかる。
(第4の実施形態)
本発明の第4の実施形態におけるウエットエッチング装置、及びポリシリコンのウエットエッチング方法について、図8を参照して説明する。
図8は、本実施形態に用いられる枚葉式エッチング装置を示す。上述の装置と同様の要素については同一の参照番号を付して、説明の重複を省略する。本実施形態では、薬液ノズル15に薬液を供給する薬液タンク16に、NO2供給ライン17が併設される。NO2供給ライン17から、薬液タンク16中のフッ硝酸(HF:HNO3=1:80)にNO2を溶け込ませて、飽和状態にする。
上記構成のエッチング装置により、図1(b)に示す裏面ポリシリコン除去工程において、ポリシリコン3の裏面を、NO2を添加したフッ硝酸で除去する。すなわち、図8に示すように、薬液タンク16にNO2供給ライン85を併設して、NO2を飽和状態に溶け込ませたフッ硝酸を流量1(l/min)で薬液ノズル15から吐出し、30秒間ウエットエッチングを行なう。NO2を飽和状態に溶け込ませたフッ硝酸を用いることにより、フッ硝酸中のNO2濃度が薬液ノズル全体にわたって高くなり、ウエハ4面内が均一にエッチングされる。なお、NO2を混合する効果は、第1の実施形態の場合と同じ理由に基づく。
図9は、フッ硝酸でシリコンをエッチングしたときの面内均一性を示すグラフである。
このグラフより、NO2を添加しない場合はウエハ中央部のエッチングが不十分で面内均一性が27.4%であるのに対して、NO2を添加するとウエハ中央部のエッチングが促進され、面内均一性が2.8%まで向上することがわかる。
(第5の実施形態)
本発明の第5の実施形態におけるウエットエッチング装置、及びポリシリコンのウエットエッチング方法について、図10を参照して説明する。
図10は、本実施形態に用いられるバッチ式エッチング装置を示す。上述の装置と同様の要素については同一の参照番号を付して、説明の重複を省略する。本実施形態では、薬液ノズル18に薬液を供給する薬液タンク19に、NO2供給ライン20が併設される。
上記構成のエッチング装置により、図1(b)に示す裏面ポリシリコン除去工程において、ポリシリコン3の裏面を、NO2を添加したフッ硝酸で除去する。すなわち、図10に示すように、NO2供給ライン20からフッ硝酸(HF:HNO3=1:80)にNO2を溶け込ませて、飽和状態にする。このNO2を飽和状態に溶け込ませたフッ硝酸を流量20(l/min)で薬液ノズル18から吐出し、30秒間ウエットエッチングを行なう。これにより、フッ硝酸中のNO2濃度が薬液ノズル18全体にわたって高くなり、ウエハ9面内が均一にエッチングされる。NO2を混合する効果は、第1の実施形態の場合と同じ理由に基づく。
図11は、フッ硝酸でシリコンをエッチングしたときの面内均一性を示すグラフである。このグラフより、NO2を添加しない状態では面内均一性が44.1%と悪いが、NO2を添加すると面内均一性が2.6%まで向上することがわかる。
(第6の実施形態)
本発明の第6の実施形態におけるウエットエッチング装置、及びポリシリコンのウエットエッチング方法について、図12を参照して説明する。
図12は、本実施形態に用いられる枚葉式エッチング装置を示す。上述の装置と同様の要素については同一の参照番号を付して、説明の重複を省略する。本実施形態では、エッチングチャンバー21に、薬液ノズル22とNO2供給ライン23が併設される。
上記構成のエッチング装置により、図1(b)に示す裏面ポリシリコン除去工程において、ポリシリコン3の裏面を、フッ硝酸で除去する。これ自体は従来技術と同様であるが、本実施形態においてはさらに、NO2供給ライン23により、エッチングチャンバー21内をNO2雰囲気にする。このNO2雰囲気の中で、ポリシリコン3の裏面を、フッ硝酸(HF:HNO3=1:80)を流量1(l/min)で用いて30秒間ウエットエッチングを行う。これにより、エッチングチャンバー21内のNO2濃度が高くなり、ウエハ4面内が均一にエッチングされる。
NO2を混合する効果は、第1の実施形態の場合と同じ理由に基づく。本実施形態ではフッ硝酸中に直接NO2を混合するわけではないが、フッ硝酸をNO2雰囲気下でウエハに向けて吐出することで、気相中で両者が混合されることになる。
図13は、フッ硝酸でシリコンをエッチングしたときの面内均一性を示すグラフである。このグラフより、NO2を添加しない場合はウエハ中央部のエッチングが不十分で面内均一性が27.4%であるのに対して、NO2を添加するとウエハ中央部のエッチングが促進され、面内均一性が2.8%まで向上することがわかる。
(第7の実施形態)
本発明の第7の実施形態におけるウエットエッチング装置、及びポリシリコンのウエットエッチング方法について、図14を参照して説明する。
図14は、本実施形態に用いられるバッチ式エッチング装置を示す。上述の装置と同様の要素については同一の参照番号を付して、説明の重複を省略する。本実施形態では、エッチング槽8に、薬液ノズル18とNO2供給ライン24が併設される。
上記構成のエッチング装置により、図1(b)に示す裏面ポリシリコン除去工程において、ポリシリコン3の裏面を、NO2を添加したフッ硝酸で除去する。すなわち、NO2供給ライン24から薬液中にNO2ガスを供給し、30秒間ウエットエッチングを行なう。これにより薬液中のNO2濃度がエッチング槽8全体にわたって高くなり、ウエハ9面内が均一にエッチングされる。NO2を混合する効果は、第1の実施形態の場合と同じ理由に基づく。
図15は、フッ硝酸でシリコンをエッチングしたときの面内均一性を示すグラフである。このグラフより、NO2を添加しない状態では面内均一性が44.1%と悪いが、NO2を添加すると面内均一性が2.6%まで向上することがわかる。
(第8の実施形態)
本発明の第8の実施形態におけるウエットエッチング装置、及びポリシリコンのウエットエッチング方法について、図16を参照して説明する。
図16は、本実施形態に用いられる枚葉式エッチング装置を示す。上述の装置と同様の要素については同一の参照番号を付して、説明の重複を省略する。本実施形態では、薬液ノズル25にSi粉末供給ライン26が併設される。
上記構成のエッチング装置により、図1(b)に示す裏面ポリシリコン除去工程において、ポリシリコン3の裏面を、Si粉末を混合したフッ硝酸で除去する。すなわち、薬液ノズル25にSi粉末供給ライン26を併設することにより、フッ硝酸(HF:HNO3=1:80)を流量1(l/min)でSi粉末を混合してから吐出し、30秒間ウエットエッチングを行う。これにより、結果的にフッ硝酸中のNO2濃度が高くなり、ウエハ4中央部のエッチングが促進され、ウエハ面内が均一にエッチングされる。
以下、フッ硝酸にSi粉末を混合することでウエハ中央部のエッチングが促進できる理由を説明する。フッ硝酸にSi粉末を混合することにより、まずフッ硝酸がSi粉末をエッチングする。この反応過程で上記化学式(1)に示すように、NO2が副生成物として生成され、これによりフッ硝酸中のNO2濃度が高くなる。以降のエッチングメカニズムは第1の実施形態について説明したとおりであり、ウエハ面内が均一にエッチングされることになる。
図17は、フッ硝酸でシリコンをエッチングしたときの面内均一性を示すグラフである。このグラフより、Si粉末を混合しない場合はウエハ中央部のエッチングが不十分で面内均一性が27.4%であるのに対して、Si粉末を混合するとウエハ中央部のエッチングが促進され、面内均一性が4.0%まで向上することがわかる。
(第9の実施形態)
本発明の第9の実施形態におけるウエットエッチング装置、及びポリシリコンのウエットエッチング方法について、図18を参照して説明する。
図18は、本実施形態に用いられる枚葉式エッチング装置を示す。上述の装置と同様の要素については同一の参照番号を付して、説明の重複を省略する。本実施形態では、薬液ノズル27にエッチング液を供給する薬液ライン28に、Al粉末供給ライン29が併設される。
上記構成のエッチング装置により、図1(b)に示す裏面ポリシリコン除去工程において、ポリシリコン3の裏面を、Al粉末を混合したフッ硝酸で除去する。すなわち、薬液ライン28にAl粉末供給ライン29を併設することにより、フッ硝酸(HF:HNO3=1:80)を流量1(l/min)でAl粉末を混合してから吐出し、30秒間ウエットエッチングを行う。これにより、結果的にフッ硝酸中のNO2濃度が高くなり、ウエハ4中央部のエッチングが促進され、ウエハ4面内が均一にエッチングされる。
以下、フッ硝酸にAl粉末を混合することでウエハ中央部のエッチングが促進できる理由を説明する。フッ硝酸にAl粉末を混合することにより、まずAlと硝酸が以下の化学式(3)の反応をする。
2Al+2HNO3→Al23+H2O+NO2 (3)
化学式(3)の反応によりNO2が生成され、これによりフッ硝酸中のNO2濃度が高くなる。以降のエッチングメカニズムは第1の実施形態において説明したとおりであり、ウエハ面内が均一にエッチングされることになる。
図19は、フッ硝酸でシリコンをエッチングしたときの面内均一性を示すグラフである。このグラフより、Al粉末を混合しない場合はウエハ中央部のエッチングが不十分で面内均一性が27.4%であるのに対して、Al粉末を混合するとウエハ中央部のエッチングが促進され、面内均一性が4.0%まで向上することがわかる。
(第10の実施形態)
本発明の第10の実施形態におけるウエットエッチング装置、及びポリシリコンのウエットエッチング方法について、図20を参照して説明する。
図20は、本実施形態に用いられるバッチ式エッチング装置を示す。上述の装置と同様の要素については同一の参照番号を付して、説明の重複を省略する。本実施形態では、薬液ノズル30への薬液供給ラインにSi粉末供給ライン31が併設される。
上記構成のエッチング装置により、図1(b)に示す裏面ポリシリコン除去工程において、ポリシリコン3の裏面を、Si粉末を混合したフッ硝酸で除去する。すなわち、薬液供給ラインにSi粉末供給ライン31を併設して、フッ硝酸(HF:HNO3=1:80)を流量20(l/min)でSi粉末を混合してから吐出し、30秒間ウエットエッチングを行う。これにより、結果的にフッ硝酸中のNO2濃度が高くなり、ウエハ9面内が均一にエッチングされる。Si粉末を混合する効果は、第8の実施形態の場合と同じ理由に基づく。
図21は、フッ硝酸でシリコンをエッチングしたときの面内均一性を示すグラフである。このグラフより、Si粉末を混合しない状態では面内均一性が44.1%と悪いが、Si粉末を混合すると面内均一性が2.5%まで向上することがわかる。
(第11の実施形態)
本発明の第11の実施形態におけるウエットエッチング装置、及びポリシリコンのウエットエッチング方法について、図22を参照して説明する。
図22は、本実施形態に用いられるバッチ式エッチング装置を示す。上述の装置と同様の要素については同一の参照番号を付して、説明の重複を省略する。本実施形態では、薬液ノズル32への薬液供給ラインにAl粉末供給ライン33が併設される。
上記構成のエッチング装置により、図1(b)に示す裏面ポリシリコン除去工程において、ポリシリコン3の裏面を、Al粉末を混合したフッ硝酸で除去する。すなわち、薬液ラインにAl粉末供給ライン33を併設して、フッ硝酸(HF:HNO3=1:80)を流量20(l/min)でAl粉末を混合してから吐出し、30秒間ウエットエッチングを行う。これにより、結果的にフッ硝酸中のNO2濃度が高くなり、ウエハ9面内が均一にエッチングされる。Al粉末を混合する効果は、第9の実施形態の場合と同じ理由に基づく。
図23は、フッ硝酸でシリコンをエッチングしたときの面内均一性を示すグラフである。このグラフより、Al粉末を混合しない状態では面内均一性が44.1%と悪いが、Al粉末を混合すると面内均一性が2.5%まで向上することがわかる。
(第12の実施形態)
本発明の第12の実施形態におけるウエットエッチング装置、及びポリシリコンのウエットエッチング方法について、図24を参照して説明する。
図24は、本実施形態に用いられる枚葉式エッチング装置を示す。上述の装置と同様の要素については同一の参照番号を付して、説明の重複を省略する。本実施形態では、薬液ノズル34に紫外線照射装置35が併設される。
上記構成のエッチング装置により、図1(b)に示す裏面ポリシリコン除去工程において、ポリシリコン3の裏面をフッ硝酸で除去するが、その際にフッ硝酸に紫外線を照射する。すなわち、紫外線照射装置35により、フッ硝酸(HF:HNO3=1:80)を流量1(l/min)で波長220nmの紫外線をさせてから吐出する。これにより、フッ硝酸中の硝酸が光分解し、NO2が発生して、結果的にフッ硝酸中のNO2濃度が高くなり、ウエハ4中央部のエッチングが促進され、ウエハ面内が均一にエッチングされる。
図25は、フッ硝酸でシリコンをエッチングしたときの面内均一性を示すグラフである。このグラフより、紫外線を照射しない場合はウエハ中央部のエッチングが不十分で面内均一性が27.4%であるのに対して、紫外線を照射するとウエハ中央部のエッチングが促進され、面内均一性が2.8%まで向上することがわかる。
(第13の実施形態)
本発明の第13の実施形態におけるウエットエッチング装置、及びポリシリコンのウエットエッチング方法について、図26を参照して説明する。
図26は、本実施形態に用いられる枚葉式エッチング装置を示す。上述の装置と同様の要素については同一の参照番号を付して、説明の重複を省略する。本実施形態では、エッチングチャンバー21に紫外線照射装置36が設置される。
上記構成のエッチング装置により、図1(b)に示す裏面ポリシリコン除去工程において、ポリシリコン3の裏面をフッ硝酸で除去するが、その際にウエハに紫外線を照射する。すなわち、紫外線照射装置36からウエハ4に波長220nmの紫外線を照射させながら、薬液ノズル22からフッ硝酸を流量1(l/min)で吐出する。これにより、フッ硝酸中の硝酸が光分解し、NO2が発生して、結果的にフッ硝酸中のNO2濃度が高くなり、ウエハ4中央部のエッチングが促進され、ウエハ面内が均一にエッチングされる。
図27は、フッ硝酸でシリコンをエッチングしたときの面内均一性を示すグラフである。このグラフより、紫外線を照射しない場合はウエハ中央部のエッチングが不十分で面内均一性が27.4%であるのに対して、紫外線を照射するとウエハ中央部のエッチングが促進され、面内均一性が2.8%まで向上することがわかる。
(第14の実施形態)
本発明の第14の実施形態におけるウエットエッチング装置、及びポリシリコンのウエットエッチング方法について、図28を参照して説明する。
図28は、本実施形態に用いられるバッチ式エッチング装置を示す。上述の装置と同様の要素については同一の参照番号を付して、説明の重複を省略する。本実施形態では、エッチング槽8に紫外線照射装置37が設置される。
上記構成のエッチング装置により、図1(b)に示す裏面ポリシリコン除去工程において、ポリシリコン3の裏面をフッ硝酸で除去するが、その際にウエハに紫外線を照射する。すなわち、紫外線照射装置37からウエハ9に波長220nmの紫外線を照射させながら、薬液ノズル18からフッ硝酸を流量20(l/min)で吐出する。これにより、フッ硝酸中の硝酸が光分解し、NO2が発生して、結果的にフッ硝酸中のNO2濃度が高くなり、ウエハ9中央部のエッチングが促進され、ウエハ面内が均一にエッチングされる。
図29は、フッ硝酸でシリコンをエッチングしたときの面内均一性を示すグラフである。このグラフより、紫外線を照射しない状態では面内均一性が44.1%と悪いが、紫外線を照射すると面内均一性が2.6%まで向上することがわかる。
本発明のエッチング装置およびエッチング方法は、ウエハ面内においてポリシリコン膜を均一にウエットエッチングすることを可能とするものであり、特に、ウエハ裏面上に形成されたポリシリコン膜のウエットエッチング等に有効である。
(a)及び(b)は、ポリシリコンのエッチング例を示す各工程の断面図 第1の実施形態における枚葉式エッチング装置の模式断面図 ポリシリコンエッチング量の面内分布を示すグラフ 第2の実施形態におけるバッチ式エッチング装置の模式断面図 ポリシリコンエッチング量の面内分布を示すグラフ 第3の実施形態における枚葉式エッチング装置の模式断面図 ポリシリコンエッチング量の面内分布を示すグラフ 第4の実施形態における枚葉式エッチング装置の模式断面図 ポリシリコンエッチング量の面内分布を示すグラフ 第5の実施形態におけるバッチ式エッチング装置の模式断面図 ポリシリコンエッチング量の面内分布を示すグラフ 第6の実施形態における枚葉式エッチング装置の模式断面図 ポリシリコンエッチング量の面内分布を示すグラフ 第7の実施形態におけるバッチ式エッチング装置の模式断面図 ポリシリコンエッチング量の面内分布を示すグラフ 第8の実施形態における枚葉式エッチング装置の模式断面図 ポリシリコンエッチング量の面内分布を示すグラフ 第9の実施形態における枚葉式エッチング装置の模式断面図 ポリシリコンエッチング量の面内分布を示すグラフ 第10の実施形態におけるバッチ式エッチング装置の模式断面図 ポリシリコンエッチング量の面内分布を示すグラフ 第11の実施形態におけるバッチ式エッチング装置の模式断面図 ポリシリコンエッチング量の面内分布を示すグラフ 第12の実施形態における枚葉式エッチング装置の模式断面図 ポリシリコンエッチング量の面内分布を示すグラフ 第13の実施形態における枚葉式エッチング装置の模式断面図 ポリシリコンエッチング量の面内分布を示すグラフ 第14の実施形態におけるバッチ式エッチング装置の模式断面図 ポリシリコンエッチング量の面内分布を示すグラフ 従来技術における枚葉式エッチング装置の模式断面図
符号の説明
1 シリコン基板
2 熱酸化膜
3 ポリシリコン
4、9 ウエハ
5、10 ウエハ保持台
6、11、13、15、18、22、25、27、30、32、34、38 薬液ノズル
7、12、14、23、24 NO2供給ライン
8 エッチング槽
21 エッチングチャンバー
17、20 NO2供給ノズル
16、19 薬液タンク
26、31 Si粉末供給ライン
28 薬液供給ライン
29、33 Al粉末供給ライン
35、36、37 紫外線照射装置

Claims (30)

  1. 基板上に形成されたポリシリコン膜をウエットエッチングするための装置であって、
    前記ポリシリコン膜をエッチングするための薬液を吐出するフッ硝酸溶液供給部と、
    前記フッ硝酸溶液にNO2ガスを混合するNO2ガス供給部とを備えたウエットエッチング装置。
  2. 前記ウェットエッチング装置は枚葉式エッチング装置として構成され、
    前記NO2ガス供給部は、前記フッ硝酸溶液供給部における薬液吐出ノズル内で前記NO2ガスを前記フッ硝酸溶液と混合するように設置されている請求項1に記載のウエットエッチング装置。
  3. 前記ウェットエッチング装置はバッチ式エッチング装置として構成され、
    前記NO2ガス供給部は、前記フッ硝酸溶液供給部における薬液供給ライン内で前記NO2ガスを前記フッ硝酸溶液と混合するように設置されている請求項1に記載のウエットエッチング装置。
  4. 前記ウェットエッチング装置は枚葉式エッチング装置として構成され、
    前記NO2ガス供給部は、前記NO2ガスと前記フッ硝酸溶液供給部から前記基板に向けて吐出された前記フッ硝酸とを、前記基板上において混合するように設置されている請求項1に記載のウエットエッチング装置。
  5. 前記ウェットエッチング装置は枚葉式エッチング装置として構成され、
    前記NO2ガス供給部は、エッチングチャンバー内で前記NO2ガスを前記フッ硝酸溶液と混合するように設置されている請求項1に記載のウエットエッチング装置。
  6. 前記ウェットエッチング装置はバッチ式エッチング装置として構成され、
    前記NO2ガス供給部は、エッチング槽内で前記NO2ガスを前記フッ硝酸溶液と混合するように設置されている請求項1に記載のウエットエッチング装置。
  7. 前記ウェットエッチング装置は枚葉式エッチング装置またはバッチ式エッチング装置として構成され、
    前記NO2ガス供給部は、前記フッ硝酸溶液供給部における薬液タンク内で前記NO2ガスを前記フッ硝酸溶液と混合するように設置されている請求項1に記載のウエットエッチング装置。
  8. 基板上に形成されたポリシリコン膜をウエットエッチングするための装置であって、
    前記ポリシリコン膜をエッチングするための薬液を吐出するフッ硝酸溶液供給部と、
    前記フッ硝酸溶液に金属粉末を混合する金属粉末供給部とを備えたウエットエッチング装置。
  9. 前記ウェットエッチング装置は枚葉式エッチング装置として構成され、
    前記金属粉末供給部は、前記フッ硝酸溶液供給部における薬液吐出ノズル内で前記金属粉末を前記フッ硝酸溶液と混合するように設置されている請求項8に記載のウエットエッチング装置。
  10. 前記ウェットエッチング装置はバッチ式エッチング装置として構成され、
    前記金属粉末供給部は、前記フッ硝酸溶液供給部における薬液供給ライン内で前記金属粉末を前記フッ硝酸溶液と混合するように設置されている請求項8に記載のウエットエッチング装置。
  11. 前記金属粉末が、Si粉末またはAl粉末である請求項8〜10のいずれか1項に記載のウエットエッチング装置。
  12. 基板上に形成されたポリシリコン膜をウエットエッチングするための装置であって、
    前記ポリシリコン膜をエッチングするための薬液を吐出するフッ硝酸溶液供給部と、
    前記フッ硝酸溶液に紫外線を照射する紫外線照射部とを備えたウエットエッチング装置。
  13. 前記ウェットエッチング装置は枚葉式エッチング装置として構成され、
    前記紫外線照射部は、前記フッ硝酸溶液供給部における薬液吐出ノズル内を通過する前記フッ硝酸溶液に対して前記紫外線を照射するように設置されている請求項12に記載のウエットエッチング装置。
  14. 前記ウェットエッチング装置は枚葉式エッチング装置として構成され、
    前記紫外線照射部は、エッチングチャンバー内に載置された前記基板に向けて前記紫外線を照射するように設置されている請求項12に記載のウエットエッチング装置。
  15. 前記ウェットエッチング装置はバッチ式エッチング装置として構成され、
    前記紫外線照射部は、エッチング槽内に載置された前記基板に向けて前記紫外線を照射するように設置されている請求項12に記載のウエットエッチング装置。
  16. 基板上に形成されたポリシリコン膜をウエットエッチングするための方法であって、
    前記ポリシリコン膜をエッチングするためのフッ硝酸溶液にNO2ガスを混合する工程と、
    前記NO2ガスが混合された前記フッ硝酸溶液を用いて前記ポリシリコン膜をエッチングする工程とを備えたウエットエッチング方法。
  17. 前記ウェットエッチング方法は枚葉式によりエッチングを行い、
    前記NO2ガスを、前記フッ硝酸溶液を供給する薬液吐出ノズル内で前記フッ硝酸溶液と混合する請求項16に記載のウエットエッチング方法。
  18. 前記ウェットエッチング方法はバッチ式によりエッチングを行い、
    前記NO2ガスを、前記フッ硝酸溶液を供給する薬液供給ライン内で前記フッ硝酸溶液と混合する請求項16に記載のウエットエッチング方法。
  19. 前記ウェットエッチング方法は枚葉式によりエッチングを行い、
    前記NO2ガスを、前記基板に向けて吐出された前記フッ硝酸と前記基板上において混合する請求項16に記載のウエットエッチング方法。
  20. 前記ウェットエッチング方法は枚葉式によりエッチングを行い、
    前記NO2ガスを、エッチングチャンバー内で前記フッ硝酸溶液と混合する請求項16に記載のウエットエッチング方法。
  21. 前記ウェットエッチング方法はバッチ式によりエッチングを行い、
    前記NO2ガスを、エッチング槽内で前記フッ硝酸溶液と混合する請求項16に記載のウエットエッチング方法。
  22. 前記ウェットエッチング方法は枚葉式またはバッチ式によりエッチングを行い、
    前記NO2ガスを、前記フッ硝酸溶液を供給する薬液タンク内で前記フッ硝酸溶液と混合する請求項16に記載のウエットエッチング方法。
  23. 基板上に形成されたポリシリコン膜をウエットエッチングするための方法であって、
    前記ポリシリコン膜をエッチングするためのフッ硝酸溶液に金属粉末を混合する工程と、
    前記金属粉末が混合された前記フッ硝酸溶液を用いて前記ポリシリコン膜をエッチングする工程とを備えたウエットエッチング方法。
  24. 前記ウェットエッチング方法は枚葉式によりエッチングを行い、
    前記金属粉末を、前記フッ硝酸溶液を供給する薬液吐出ノズル内で前記フッ硝酸溶液と混合する請求項23に記載のウエットエッチング方法。
  25. 前記ウェットエッチング方法はバッチ式によりエッチングを行い、
    前記金属粉末を、前記フッ硝酸溶液を供給する薬液供給ライン内で前記フッ硝酸溶液と混合する請求項23に記載のウエットエッチング方法。
  26. 前記金属粉末が、Si粉末またはAl粉末である請求項23〜25のいずれか1項に記載のウエットエッチング方法。
  27. 基板上に形成されたポリシリコン膜をウエットエッチングするための方法であって、
    前記ポリシリコン膜をエッチングするためのフッ硝酸溶液に紫外線を照射する工程と、
    前記紫外線が照射された前記フッ硝酸溶液を用いて前記ポリシリコン膜をエッチングする工程とを備えたウエットエッチング方法。
  28. 前記ウェットエッチング方法は枚葉式によりエッチングを行い、
    前記紫外線照射を、前記フッ硝酸溶液を供給する薬液吐出ノズル内を通過する前記フッ硝酸溶液に対して行う請求項27に記載のウエットエッチング方法。
  29. 前記ウェットエッチング方法は枚葉式によりエッチングを行い、
    前記紫外線照射を、エッチングチャンバー内に載置された前記基板に向けて行う請求項27に記載のウエットエッチング方法。
  30. 前記ウェットエッチング方法はバッチ式によりエッチングを行い、
    前記紫外線照射を、エッチング槽内に載置された前記基板に向けて行う請求項27に記載のウエットエッチング方法。
JP2006015536A 2006-01-24 2006-01-24 ウエットエッチング装置およびウエットエッチング方法 Withdrawn JP2007201014A (ja)

Priority Applications (1)

Application Number Priority Date Filing Date Title
JP2006015536A JP2007201014A (ja) 2006-01-24 2006-01-24 ウエットエッチング装置およびウエットエッチング方法

Applications Claiming Priority (1)

Application Number Priority Date Filing Date Title
JP2006015536A JP2007201014A (ja) 2006-01-24 2006-01-24 ウエットエッチング装置およびウエットエッチング方法

Publications (1)

Publication Number Publication Date
JP2007201014A true JP2007201014A (ja) 2007-08-09

Family

ID=38455322

Family Applications (1)

Application Number Title Priority Date Filing Date
JP2006015536A Withdrawn JP2007201014A (ja) 2006-01-24 2006-01-24 ウエットエッチング装置およびウエットエッチング方法

Country Status (1)

Country Link
JP (1) JP2007201014A (ja)

Cited By (3)

* Cited by examiner, † Cited by third party
Publication number Priority date Publication date Assignee Title
JP2009182136A (ja) * 2008-01-30 2009-08-13 Tokyo Electron Ltd ポリシリコン膜の除去方法および記憶媒体
JP2012195325A (ja) * 2011-03-14 2012-10-11 Fujitsu Ltd エッチング方法、半導体装置の製造方法及びエッチング装置
JP2021040102A (ja) * 2019-09-05 2021-03-11 株式会社サイオクス 構造体の製造方法および製造装置

Cited By (7)

* Cited by examiner, † Cited by third party
Publication number Priority date Publication date Assignee Title
JP2009182136A (ja) * 2008-01-30 2009-08-13 Tokyo Electron Ltd ポリシリコン膜の除去方法および記憶媒体
JP2012195325A (ja) * 2011-03-14 2012-10-11 Fujitsu Ltd エッチング方法、半導体装置の製造方法及びエッチング装置
US10508343B2 (en) 2011-03-14 2019-12-17 Fujitsu Limited Etching method for manufacturing semiconductor device
JP2021040102A (ja) * 2019-09-05 2021-03-11 株式会社サイオクス 構造体の製造方法および製造装置
WO2021044724A1 (ja) * 2019-09-05 2021-03-11 株式会社サイオクス 構造体の製造方法および製造装置
JP7221177B2 (ja) 2019-09-05 2023-02-13 住友化学株式会社 構造体の製造方法および製造装置
US12054847B2 (en) 2019-09-05 2024-08-06 Sumitomo Chemical Company, Limited Method and device for manufacturing structure

Similar Documents

Publication Publication Date Title
JP6882469B2 (ja) 高アスペクト比の構造体のための除去方法
TWI887218B (zh) 使用自限制及溶解度限制反應之濕式原子層蝕刻用的處理系統及平台
US10982335B2 (en) Wet atomic layer etching using self-limiting and solubility-limited reactions
CN100353488C (zh) 半导体器件的制造方法
US6284721B1 (en) Cleaning and etching compositions
CN101331594A (zh) 处理装置、处理方法及等离子源
US7404863B2 (en) Methods of thinning a silicon wafer using HF and ozone
WO1998031768A1 (en) A composition for cleaning and etching electronic display and substrate
KR20070028487A (ko) 기체 매질로 반도체 웨이퍼를 처리하는 방법 및 이방법으로 처리된 반도체 웨이퍼
JP2012049560A (ja) レジスト膜除去方法
JP5361790B2 (ja) 半導体基板の表面処理方法
US8992791B2 (en) Method of cleaning semiconductor wafer and semiconductor wafer
JP2009081247A (ja) ルテニウム膜のエッチング方法
JPH11219940A (ja) プラズマエッチング装置の陰極製造方法およびこれにより製造される陰極
JP2007201014A (ja) ウエットエッチング装置およびウエットエッチング方法
US7985297B2 (en) Method of cleaning a quartz part
JP2008311660A (ja) 半導体ウェハを洗浄、乾燥及び親水化する方法
TWI571928B (zh) 藉由氬濺鍍之硬遮罩臨界尺寸控制方法
JPH0897189A (ja) 真空処理装置のクリーニング方法
JP5888674B2 (ja) エッチング装置およびエッチング方法およびクリーニング装置
JP2011228544A (ja) 半導体装置の製造方法
JPS639121A (ja) ドライエツチング方法
US20250273471A1 (en) Methods To Improve Etch Uniformity Across A Semiconductor Substrate When Etching With A Hydrofluoric Acid (HF) And Nitric Acid (HNO3) Solution
TWI892833B (zh) 用於選擇性含金屬硬遮罩移除之系統及方法
JP2008147434A (ja) 半導体装置の製造方法

Legal Events

Date Code Title Description
A300 Application deemed to be withdrawn because no request for examination was validly filed

Free format text: JAPANESE INTERMEDIATE CODE: A300

Effective date: 20090407