JP2007123770A - ドアシェル洗浄装置及びドアシェル洗浄方法 - Google Patents
ドアシェル洗浄装置及びドアシェル洗浄方法 Download PDFInfo
- Publication number
- JP2007123770A JP2007123770A JP2005317452A JP2005317452A JP2007123770A JP 2007123770 A JP2007123770 A JP 2007123770A JP 2005317452 A JP2005317452 A JP 2005317452A JP 2005317452 A JP2005317452 A JP 2005317452A JP 2007123770 A JP2007123770 A JP 2007123770A
- Authority
- JP
- Japan
- Prior art keywords
- door shell
- shell
- tank
- pure water
- cleaning
- Prior art date
- Legal status (The legal status is an assumption and is not a legal conclusion. Google has not performed a legal analysis and makes no representation as to the accuracy of the status listed.)
- Withdrawn
Links
- 238000004140 cleaning Methods 0.000 title claims abstract description 155
- 238000000034 method Methods 0.000 title claims abstract description 20
- XLYOFNOQVPJJNP-UHFFFAOYSA-N water Substances O XLYOFNOQVPJJNP-UHFFFAOYSA-N 0.000 claims abstract description 98
- 239000000126 substance Substances 0.000 claims abstract description 79
- 239000007788 liquid Substances 0.000 claims abstract description 21
- 239000002184 metal Substances 0.000 claims abstract description 21
- 238000011109 contamination Methods 0.000 claims abstract description 15
- 238000005406 washing Methods 0.000 claims description 26
- 238000005507 spraying Methods 0.000 claims description 14
- 230000003028 elevating effect Effects 0.000 claims description 4
- 238000007599 discharging Methods 0.000 claims description 3
- 238000001035 drying Methods 0.000 description 82
- 239000000243 solution Substances 0.000 description 32
- 238000012546 transfer Methods 0.000 description 13
- 235000012431 wafers Nutrition 0.000 description 9
- 238000004519 manufacturing process Methods 0.000 description 4
- 239000007921 spray Substances 0.000 description 4
- 238000007664 blowing Methods 0.000 description 3
- 230000003749 cleanliness Effects 0.000 description 3
- 238000002347 injection Methods 0.000 description 3
- 239000007924 injection Substances 0.000 description 3
- 239000008155 medical solution Substances 0.000 description 3
- 238000012856 packing Methods 0.000 description 3
- 230000032258 transport Effects 0.000 description 3
- 239000007789 gas Substances 0.000 description 2
- 238000007602 hot air drying Methods 0.000 description 2
- 238000009434 installation Methods 0.000 description 2
- 238000003825 pressing Methods 0.000 description 2
- 239000004065 semiconductor Substances 0.000 description 2
- 238000004506 ultrasonic cleaning Methods 0.000 description 2
- KRHYYFGTRYWZRS-UHFFFAOYSA-N Fluorane Chemical compound F KRHYYFGTRYWZRS-UHFFFAOYSA-N 0.000 description 1
- 230000003247 decreasing effect Effects 0.000 description 1
- 238000011161 development Methods 0.000 description 1
- 238000010438 heat treatment Methods 0.000 description 1
- 229910000040 hydrogen fluoride Inorganic materials 0.000 description 1
- 238000012986 modification Methods 0.000 description 1
- 230000004048 modification Effects 0.000 description 1
- 238000003032 molecular docking Methods 0.000 description 1
- 239000002245 particle Substances 0.000 description 1
- 239000000758 substrate Substances 0.000 description 1
Images
Landscapes
- Container, Conveyance, Adherence, Positioning, Of Wafer (AREA)
- Cleaning Or Drying Semiconductors (AREA)
Abstract
【課題】 ドアシェルの金属による汚れを除去できるドアシェル洗浄装置及びドアシェル洗浄方法を提供する。
【解決手段】 本発明に係るドアシェル洗浄装置は、ドアシェル83の内面の金属汚染部分を覆うシャワーボックス31と、前記シャワーボックス内に配置され、前記金属汚染部分に薬液を噴射する薬液シャワーノズル34と、前記シャワーボックス内に配置され、前記金属汚染部分に純水を噴射する純水シャワーノズル35と、を具備することを特徴とする。
【選択図】 図5
【解決手段】 本発明に係るドアシェル洗浄装置は、ドアシェル83の内面の金属汚染部分を覆うシャワーボックス31と、前記シャワーボックス内に配置され、前記金属汚染部分に薬液を噴射する薬液シャワーノズル34と、前記シャワーボックス内に配置され、前記金属汚染部分に純水を噴射する純水シャワーノズル35と、を具備することを特徴とする。
【選択図】 図5
Description
本発明は、ドアシェル洗浄装置及びドアシェル洗浄方法に係わり、特に、薬液洗浄によってドアシェルの金属による汚れを除去できるドアシェル洗浄装置及びドアシェル洗浄方法に関する。
半導体の製造は多数の工程を極めて高いクリーン度のもとで行わなければならないが、全ての工程におよぶ広大な環境を高いクリーン度に保つのはコスト面で限界がある。このため、局所環境(ミニ・エンバイロメント)だけを高いクリーン度に保つ手段の開発が進められている。例えば、ウエハをFOUP(Front Opening Unified Pod)と呼ばれる密閉型容器で搬送し、密閉型容器ごとウエハを半導体製造工程に入れ、密閉型容器を直接製造装置とドッキングさせて作業を進めるもので、密閉型容器内部の環境を管理することで製造工程内におけるウエハの高いクリーン度を維持することができることになる。
ところで、このような密閉型容器は、多数のウエハを収納して搬送するのであるが、その際にウエハと容器内面とが擦れて内部にパーティクル等の汚れが生じ、また容器はクリーン度の低いところを移送されるため外面が汚染され易く、蓋を外したときに内部に収納したウエハを汚染するおそれがある。そこで、容器を定期的に洗浄する必要がある。
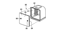
図7に示すように、FOUP80は、その前面に開口部81を有して基板を水平状態で収納する容器本体であるポッドシェル82と、開口部81をシール可能に閉鎖してポッドシェル82に係合する蓋体であるドアシェル83を備えたものである。尚、ドアシェル83は、開口部81をシール可能に閉鎖するためのパッキン84を備えている。
ドアシェル83とポッドシェル82を結合して組み立てる際は、ドアシェルの内面85がポッドシェルの内面に対向するように設置し、ロック部(留め具)86によってドアシェルとポッドシェルを留めることでFOUPとする。FOUP80は必要に応じて、ポッドシェル82とドアシェル83に分解されて、それぞれ別々に洗浄される。
ドアシェル83とポッドシェル82を結合して組み立てる際は、ドアシェルの内面85がポッドシェルの内面に対向するように設置し、ロック部(留め具)86によってドアシェルとポッドシェルを留めることでFOUPとする。FOUP80は必要に応じて、ポッドシェル82とドアシェル83に分解されて、それぞれ別々に洗浄される。
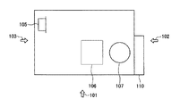
図8は、従来のFOUP洗浄乾燥装置を模式的に示す上面図である。図9は、図8に示す矢印101の方向から視たFOUP洗浄乾燥装置の側面図である。図10は、図8に示す矢印102の方向から視たFOUP洗浄乾燥装置の側面図である。図11は、図8に示す矢印103の方向から視たFOUP洗浄乾燥装置の側面図である。
図8〜図11に示すように、従来のFOUP洗浄乾燥装置は、ドアシェル洗浄槽104、ドアシェル乾燥槽105、ポッドシェル洗浄槽106、ポッドシェル乾燥槽107、ポッドシェル搬送機108、ドアシェル搬送機109、電装ボックス110及びクリーンユニット111を有している。
まず、ポッドシェルの洗浄方法について説明する。開口部を下に向けたポッドシェルをポッドシェル洗浄槽106内に収容し、ポッドシェル洗浄槽106に洗浄用の純水を導入しながらポッドシェル内の空気を排気する。これにより、開口部からポッドシェルの内部に純水が効率よく導入されつつ洗浄槽106内も純水で満たされ、ポッドシェルが洗浄槽内の洗浄水に浸漬される。次に、ポッドシェル及び洗浄水に超音波振動を印加することにより超音波洗浄が行われる。
次に、ポッドシェルの乾燥方法について説明する。ポッドシェル洗浄槽106によって洗浄されたポッドシェルを、ポッドシェル搬送機108によってポッドシェル乾燥槽107に搬送し、乾燥槽107内に収容する。次いで、ポッドシェル乾燥槽107において、洗浄後のポッドシェルの外側面及び内面に熱風を吹きかけて熱風乾燥を行う。所定時間乾燥させた後、ポッドシェル乾燥槽内を減圧して減圧乾燥を行う。所定時間減圧した後、ポッドシェル乾燥槽を大気開放し、常圧に戻してから再び熱風乾燥及び減圧乾燥を繰り返す。(例えば特許文献1参照)。
次に、ドアシェルの洗浄方法について説明する。ドアシェルの内面をドアシェル洗浄槽104側に向けて固定し、ドアシェルの内面に洗浄用の純水を吹き付ける。これにより、ドアシェルの内面、パッキン及びその近傍が洗浄される。
次に、洗浄後のドアシェルを、ドアシェル搬送機109によってドアシェル洗浄槽104からドアシェル乾燥槽105に搬送する。次いで、ドアシェル乾燥槽105において、ドアシェルの内面に清浄な高圧空気を吹き付け、ドアシェルの内面に付着して残っていた純水を吹き飛ばして除去する(例えば特許文献2参照)。その他のドアシェルの乾燥方式として、空気を加熱して乾燥させる熱風発生器を用いた熱風乾燥なども用いられている。
図12は、図9及び図11に示すドアシェル洗浄槽の構成を示す上面図である。図13は、図12に示す矢印112の方向から視たドアシェル洗浄槽の構成を示す側面図である。図14は、図12に示す矢印113の方向から視たドアシェル洗浄槽の構成を示す側面図である。
図12〜図14に示すように、ドアシェル洗浄槽104には、該洗浄槽104の内部にドアシェル83の内面が向くように設置するためのドアシェルの押さえアーム114が配置されている。また、ドアシェル洗浄槽104の内部にはシャワー状の純水をドアシェルに噴出する純水シャワーノズル115が複数配置されている。純水シャワーノズル115はシリンダー116に接続されている。
次に、上記ドアシェル洗浄槽104の動作の詳細について説明する。
ドアシェル83を立てた状態で押さえアーム114によってドアシェル洗浄槽104に設置する。この際、ドアシェル83の内面はドアシェル洗浄槽104の内部に向けて配置される。次いで、純水シャワーノズル115からシャワー状の純水をドアシェル83の内面に吹き付ける。これにより、ドアシェルの内面が純水によって洗浄される(例えば特許文献2参照)。
ドアシェル83を立てた状態で押さえアーム114によってドアシェル洗浄槽104に設置する。この際、ドアシェル83の内面はドアシェル洗浄槽104の内部に向けて配置される。次いで、純水シャワーノズル115からシャワー状の純水をドアシェル83の内面に吹き付ける。これにより、ドアシェルの内面が純水によって洗浄される(例えば特許文献2参照)。
ところで、従来のFOUP洗浄乾燥装置のドアシェル洗浄槽では、ドアシェルの洗浄を純水によって行っているため、金属による汚れを除去することが困難である。また、従来のドアシェル洗浄槽において金属による汚れを除去するために薬液を用いた場合、薬液による洗浄時にドアシェル洗浄槽から薬液が漏れてしまい、FOUP洗浄乾燥装置が薬液で汚染されてしまう。
本発明は上記のような事情を考慮してなされたものであり、その目的は、ドアシェルの金属による汚れを除去できるドアシェル洗浄装置及びドアシェル洗浄方法を提供することにある。
上記課題を解決するため、本発明に係るドアシェル洗浄装置は、ドアシェルの内面の金属汚染部分を覆うシャワーボックスと、
前記シャワーボックス内に配置され、前記金属汚染部分に薬液を噴射する薬液シャワーノズルと、
前記シャワーボックス内に配置され、前記金属汚染部分に純水を噴射する純水シャワーノズルと、
を具備することを特徴とする。
尚、前記金属汚染部分とは、FOUPを使用した際にドアシェルに実際にウエハが接触した部分をいう。
前記シャワーボックス内に配置され、前記金属汚染部分に薬液を噴射する薬液シャワーノズルと、
前記シャワーボックス内に配置され、前記金属汚染部分に純水を噴射する純水シャワーノズルと、
を具備することを特徴とする。
尚、前記金属汚染部分とは、FOUPを使用した際にドアシェルに実際にウエハが接触した部分をいう。
また、本発明に係るドアシェル洗浄装置において、前記薬液シャワーノズルを回転させる第1の回転機構と、前記純水シャワーノズルを回転させる第2の回転機構と、をさらに具備することが好ましい。
本発明に係るドアシェル洗浄装置は、ドアシェルを洗浄する洗浄槽と、
前記洗浄槽の上部に前記ドアシェルの内面を該洗浄槽の底部に向けて保持する保持機構と、
前記洗浄槽内に配置され、前記ドアシェルの内面の金属汚染部分を覆うシャワーボックスと、
前記シャワーボックス内に配置され、前記金属汚染部分に薬液を噴射する薬液シャワーノズルと、
前記シャワーボックス内に配置され、前記金属汚染部分に純水を噴射する第1の純水シャワーノズルと、
前記洗浄槽内で且つ前記シャワーボックス外に配置され、前記ドアシェルの内面に純水を噴射する第2の純水シャワーノズルと、
を具備することを特徴とする。
前記洗浄槽の上部に前記ドアシェルの内面を該洗浄槽の底部に向けて保持する保持機構と、
前記洗浄槽内に配置され、前記ドアシェルの内面の金属汚染部分を覆うシャワーボックスと、
前記シャワーボックス内に配置され、前記金属汚染部分に薬液を噴射する薬液シャワーノズルと、
前記シャワーボックス内に配置され、前記金属汚染部分に純水を噴射する第1の純水シャワーノズルと、
前記洗浄槽内で且つ前記シャワーボックス外に配置され、前記ドアシェルの内面に純水を噴射する第2の純水シャワーノズルと、
を具備することを特徴とする。
また、本発明に係るドアシェル洗浄装置において、前記薬液シャワーノズルを回転させる第1の回転機構と、前記第1の純水シャワーノズルを回転させる第2の回転機構と、前記第2の純水シャワーノズルを回転させる第3の回転機構と、をさらに具備することが好ましい。
また、本発明に係るドアシェル洗浄装置において、前記シャワーボックスを前記洗浄槽内で上下に昇降させる昇降機構をさらに具備することが好ましい。
また、本発明に係るドアシェル洗浄装置において、前記シャワーボックス内に繋げられた薬液及び純水を排出する排液配管をさらに具備することが好ましい。
本発明に係るドアシェル洗浄方法は、ドアシェルの内面の金属汚染部分をシャワーボックスで覆い、
前記シャワーボックスで覆われた前記金属汚染部分に薬液を噴射することにより前記ドアシェルの内面の金属汚染を除去し、
前記シャワーボックスで覆われた前記金属汚染部分に純水を噴射することにより前記金属汚染部分に付着した薬液を純水で洗い流すことを特徴とする。
前記シャワーボックスで覆われた前記金属汚染部分に薬液を噴射することにより前記ドアシェルの内面の金属汚染を除去し、
前記シャワーボックスで覆われた前記金属汚染部分に純水を噴射することにより前記金属汚染部分に付着した薬液を純水で洗い流すことを特徴とする。
また、本発明に係るドアシェル洗浄方法において、前記薬液を純水で洗い流した後に、前記シャワーボックスを前記ドアシェルの内面から離し、前記ドアシェルの内面に純水を噴射することにより前記ドアシェルの内面をリンスすることが好ましい。
以上説明したように本発明によれば、ドアシェルの金属による汚れを除去できるドアシェル洗浄装置及びドアシェル洗浄方法を提供することができる。
以下、図面を参照して本発明の実施の形態について説明する。
図1は、本発明の実施の形態によるFOUP洗浄乾燥装置を模式的に示す上面図である。図2は、図1に示す矢印21の方向から視たFOUP洗浄乾燥装置の側面図である。図3は、図1に示す矢印22の方向から視たFOUP洗浄乾燥装置の側面図である。
図1は、本発明の実施の形態によるFOUP洗浄乾燥装置を模式的に示す上面図である。図2は、図1に示す矢印21の方向から視たFOUP洗浄乾燥装置の側面図である。図3は、図1に示す矢印22の方向から視たFOUP洗浄乾燥装置の側面図である。
図1に示すように、FOUP洗浄乾燥装置はドアシェル洗浄リンス槽1を有しており、このドアシェル洗浄リンス槽1の隣にはドアシェル水切り槽2が配置されている。このドアシェル水切り槽2の隣にはドアシェル乾燥槽3が配置されている。これら洗浄リンス槽1、水切り槽2及び乾燥槽3は横一列に配置されており、洗浄しようとするドアシェルをドアシェル搬送機8によって洗浄リンス槽1、水切り槽2及び乾燥槽3の相互間を搬送されるように構成されている。
前記ドアシェル洗浄リンス槽1は、ドアシェルを薬液で洗浄し純水でリンスする槽である。前記ドアシェル水切り槽2は、洗浄後のドアシェルの水切りを行う槽である。前記ドアシェル乾燥槽3は、水切り後のドアシェルの乾燥を行う槽である。
また、FOUP洗浄乾燥装置はポッドシェル洗浄槽4を有しており、このポッドシェル洗浄槽4はドアシェル洗浄リンス槽1に対向する位置に配されている。ポッドシェル洗浄槽4の隣にはポッドシェル水切り槽5が配置されており、このポッドシェル水切り槽5はドアシェル水切り槽2に対向する位置に配されている。ポッドシェル水切り槽5の隣にはポッドシェル乾燥槽6が配置されており、このポッドシェル乾燥槽6はドアシェル乾燥槽3に対向する位置に配されている。これら洗浄槽4、水切り槽5及び乾燥槽6は横一列に配置されており、洗浄しようとするポッドシェルをポッドシェル搬送機7によって洗浄槽4、水切り槽5及び乾燥槽6の相互間を搬送されるように構成されている。
前記ポッドシェル洗浄槽4は、ポッドシェルを薬液で洗浄し純水でリンスする槽である。前記ポッドシェル水切り槽5は、洗浄後のポッドシェルの水切りを行う槽である。前記ポッドシェル乾燥槽6は、水切り後のポッドシェルの乾燥を行う槽である。
また、FOUP洗浄乾燥装置は二つのドアシェル槽−ポッドシェル槽間搬送機9を有しており、一方の搬送機9はドアシェル洗浄リンス槽1とポッドシェル洗浄槽4との間のドアシェル又はポッドシェルの搬送を行うものであり、他方の搬送機9はドアシェル乾燥機3とポッドシェル乾燥機6との間のドアシェル又はポッドシェルの搬送を行うものである。
ドアシェル洗浄リンス槽1の近傍には、洗浄しようとするFOUPをドアシェルとポッドシェルに分解する分解手段(図示せず)が配置されている。また、ドアシェル乾燥機3の近傍には、洗浄が終了したポッドシェルとドアシェルを結合させてFOUPを組み立てる組み立て手段(図示せず)が配置されている。
FOUP洗浄乾燥装置は薬液供給ユニット10を備えており、この薬液供給ユニット10は、ドアシェル洗浄リンス槽1及びポッドシェル洗浄槽4それぞれに薬液を供給するものである。また、FOUP洗浄乾燥装置は各槽及び各搬送機などに電力を供給する電源ボックス11を有している。また、FOUP洗浄乾燥装置は、図2に示すように該装置内の雰囲気をクリーンにするクリーンユニット12を有している。
次に、図1〜図3に示すFOUP洗浄乾燥装置を用いたFOUP洗浄乾燥方法について説明する。
まず、洗浄しようとするFOUPを用意し、このFOUPを分解手段によりドアシェルとポッドシェルに分解する。詳細には、ドアシェルとポッドシェルを結合している留め具を外してドアシェルとポッドシェルを分解する。
まず、洗浄しようとするFOUPを用意し、このFOUPを分解手段によりドアシェルとポッドシェルに分解する。詳細には、ドアシェルとポッドシェルを結合している留め具を外してドアシェルとポッドシェルを分解する。
次いで、ドアシェル搬送機8によってドアシェルの内面を下に向けて該ドアシェルをドアシェル洗浄リンス槽1に設置し、ドアシェル槽−ポッドシェル槽間搬送機9によってポッドシェルの開口部を下に向けて該ポッドシェルをポッドシェル洗浄槽4内に搬送する。
次に、ドアシェル洗浄リンス槽1においてドアシェルの内面に薬液を吹き付けることにより該ドアシェルを薬液で洗浄し、この後、ドアシェルの内面に純水を吹き付けることにより該ドアシェルを純水でリンスする。また、ポッドシェル洗浄槽4においてポッドシェルを回転させながらポッドシェルの内面に薬液を吹き付けることにより該ポッドシェルを薬液で洗浄し、この後、ポッドシェルを回転させながらポッドシェルの内面に純水を吹き付けることにより該ポッドシェルを純水でリンスする。ポッドシェルを回転させることにより、ポッドシェルの内面に純水をむら無く吹き付けることができる。また、ポッドシェル内面に純水を吹き付ける方法を採用することにより、従来技術のように純水に浸漬させるのに比べて純水使用量を少なくすることができる。
次いで、洗浄リンス後のドアシェルをドアシェル搬送機8によってドアシェル洗浄リンス槽1からドアシェル水切り槽2に搬送する。次いで、ドアシェル水切り槽2においてドアシェルにエアーなどの気体を吹き付けることによりドアシェルの内面に付着して残っていた純水を吹き飛ばして水を切る。また、洗浄リンス後のポッドシェルをポッドシェル搬送機7によってポッドシェル洗浄槽4からポッドシェル水切り槽5に搬送する。次いで、ポッドシェル水切り槽5においてポッドシェルを回転させるながらエアーなどの気体を吹き付けることによりポッドシェルに付着して残っていた純水を飛ばして水を切る。
次に、水切り後のドアシェルをドアシェル搬送機8によってドアシェル水切り槽2からドアシェル乾燥槽3に搬送する。次いで、ドアシェル乾燥槽3においてドアシェルに熱風を吹き付けて該ドアシェルを乾燥させる。また、水切り後のポッドシェルをポッドシェル搬送機7によってポッドシェル水切り槽5からポッドシェル乾燥槽6に搬送する。次いで、ポッドシェル乾燥槽6においてポッドシェルに加熱エアーを吹き付けて遠心乾燥させる。遠心乾燥の回転速度はおよそ600rpmである。
次いで、乾燥後のポッドシェルをドアシェル槽−ポッドシェル槽間搬送機9によってポッドシェル乾燥槽6からドアシェル乾燥槽3の上方又は近傍に搬送し、乾燥後のドアシェルをドアシェル搬送機8によってドアシェル乾燥槽3の上方又は近傍に搬送する。次いで、組み立て手段により前記ドアシェルと前記ポッドシェルを留め具によって結合してFOUPを組み立てる。
上記実施の形態によれば、ドアシェル洗浄リンス槽1によってドアシェルを薬液で洗浄でき、ポッドシェル洗浄槽4によってポッドシェルを薬液で洗浄することができる。従って、従来技術では困難であった金属による汚れを除去することができる。
また、本実施の形態では、ドアシェル洗浄リンス槽1、ドアシェル水切り槽2及びドアシェル乾燥槽3を横一列に配置し、ポッドシェル洗浄槽4、ポッドシェル水切り槽5及びポッドシェル乾燥槽6を横一列に配置し、ドアシェル洗浄リンス槽1をポッドシェル洗浄槽4と対向して配置し、ドアシェル水切り槽2をポッドシェル水切り槽5と対向して配置し、ドアシェル乾燥槽3をポッドシェル乾燥槽6と対向して配置している。このように配置することにより、分解後のドアシェルの洗浄、リンス、水切り及び乾燥と分解後のポッドシェルの洗浄、リンス、水切り及び乾燥を無駄な動作無く平行して行うことができる。従って、装置を小フットプリントで小型化することができるとともに装置のスループットを向上させることができる。
また、従来技術のようにポッドシェルを純水に浸漬させて超音波洗浄する方法を採らないため、従来技術に比べて洗浄時間を短縮することができる。つまり、従来技術では純水の給排水に時間がかかってしまい、スループットを向上させることが困難であったが、本実施の形態では洗浄時間を短縮することができる。
また、本実施の形態では、ドアシェル水切り槽2及びポッドシェル水切り槽5を設けることにより、ドアシェル乾燥槽3及びポッドシェル乾燥槽6それぞれにおける乾燥時間を短縮することができる。
また、本実施の形態では、ドアシェル水切り槽2及びポッドシェル水切り槽5それぞれにおいて十分に水切りを行った後に乾燥を行うため、従来技術のように減圧乾燥を行わなくても容易に乾燥させることができる。減圧乾燥を行うには、肉厚な乾燥槽を設ける必要があるが、本実施の形態ではそのような肉厚な乾燥槽が不要となる。従って、装置のコストを低減することができる。
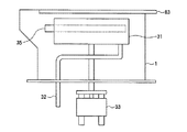
図4は、図1乃至図3に示すドアシェル洗浄リンス槽の具体的構成を示す上面図である。図5は、図4に示す矢印13の方向から視たドアシェル洗浄リンス槽の構成を示す側面図である。図6は、図4に示す矢印14の方向から視たドアシェル洗浄リンス槽の構成を示す側面図である。
図4〜図6に示すように、ドアシェル洗浄リンス槽1には、該洗浄リンス槽1内の底部にドアシェル83の内面が向くように設置するためのドアシェルの押さえアーム37が配置されている。また、ドアシェル洗浄リンス槽1の内部にはシャワーボックス31が配置されており、このシャワーボックス31は上部が開口した箱状のものである。シャワーボックス31は、図5に示すようにガイド付薄型シリンダー33に接続されている。シャワーボックス31は上下に移動自在に構成されている。
シャワーボックス31内の中央には薬液シャワーノズル34が配置されており、シャワーボックス31内には、薬液シャワーノズル34の両側に位置する内側純水シャワーノズル35が配置されている。
薬液シャワーノズル34は、ドアシェルの金属による汚染を除去するための薬液をシャワー状に噴出するノズルであって、ドアシェルに金属汚染が生じている部分にのみ薬液を吹き付けるように構成されている。つまり、ドアシェルを洗浄するドアシェル洗浄リンス槽では、FOUPを使用した際にドアシェルに実際にウエハが接触した部分のみに金属汚染が発生すると考えられるため、そのウエハ接触部分のみに薬液を吹き付けるように薬液シャワーノズル34を配置している。
内側純水シャワーノズル35は、ドアシェルの内面に純水をシャワー状に噴出するノズルであって、前記薬液が吹き付けられる部分のみに純水を吹き付けるように構成されている。また、ドアシェルの内面に吹き付けられた薬液及び純水はほとんどすべてシャワーボックス31内に落とされるようになっている。シャワーボックス31の底部にはシャワーボックス排液配管32が繋げられている。この排液配管32は、シャワーボックス31内に落とされた薬液及び純水をシャワーボックスから排出するための配管である。
ドアシェル洗浄リンス槽1の内部には、シャワーボックス31の外側に位置する外側純水シャワーノズル36が配置されている。この外側純水シャワーノズル36は、ドアシェルの内面且つドアシェルの金属汚染部分以外の部分(即ち前記薬液シャワーノズル34及び前記内側純水シャワーノズル35それぞれによって薬液及び純水が吹き付けられる部分以外の部分)に純水を吹き付けるように構成されている。
ドアシェル洗浄リンス槽1には、薬液シャワーノズル34、内側純水シャワーノズル35及び外側純水シャワーノズル36それぞれを回転させる回転機構(図示せず)が設けられている。これにより、ドアシェルの内面の金属汚染部分に薬液及び純水が薬液シャワーノズル34及び内側純水シャワーノズル35それぞれによって略均一に吹き付けられ、ドアシェルの内面の金属汚染部分以外の部分に純水が外側純水シャワーノズル36によって略均一に吹き付けられる。
次に、上記ドアシェル洗浄リンス槽1によるドアシェルの洗浄リンス方法について説明する。
ドアシェル83をその内面を下に向けてドアシェル洗浄リンス槽1の上面に置き、ドアシェル83を押さえアーム37によってクランプしてドアシェル洗浄リンス槽1に設置する。
ドアシェル83をその内面を下に向けてドアシェル洗浄リンス槽1の上面に置き、ドアシェル83を押さえアーム37によってクランプしてドアシェル洗浄リンス槽1に設置する。
次いで、ガイド付薄型シリンダー33の駆動によってシャワーボックス31を上昇させてドアシェルの内面に押し当てる。
次いで、薬液シャワーノズル34からシャワー状の薬液(例えばフッ化水素を含む薬液)を噴射させることにより、ドアシェルの内面の金属汚染部分に薬液を吹き付ける。この際、ドアシェルの内面のシャワーボックスに覆われた部分全体に薬液が吹き付けられる程度の回転角だけ薬液シャワーノズル34を回転させる。即ち、前記回転角だけ一方向に回転させ、次に前記一方向とは逆方向に前記回転角だけ回転させ、これを繰り返すことにより、ドアシェルの内面のシャワーボックスに覆われた部分全体に薬液を吹き付けることができ、ドアシェル内面の金属による汚染を除去することができる。そして、ドアシェル内面に吹き付けられた薬液は、シャワーボックス31の底面に流れ落ち、シャワーボックス排液配管32から排出される。なお、設定時間経過後に薬液の噴射及び薬液シャワーノズル34の回転動作を停止する。
次いで、内側純水シャワーノズル35からシャワー状の純水を噴射させることにより、ドアシェルの内面のシャワーボックス31で覆われた部分に純水を吹き付ける。この際も薬液シャワーノズル34から薬液を噴射させた場合と同様に、前記回転角だけ内側純水シャワーノズル35を回転させる。これにより、ドアシェルの内面のシャワーボックスに覆われた部分全体に純水を吹き付けることができ、前記覆われた部分全体をリンスすることができる。そして、ドアシェル内面に吹き付けられた純水は、シャワーボックス31の底面に流れ落ち、薬液が少量混入している純水がシャワーボックス排液配管32から排出される。なお、設定時間経過後に純水の噴射及び内側純水シャワーノズル35の回転動作を停止する。
次いで、ガイド付薄型シリンダー33の駆動によってシャワーボックス31を下降させてドアシェルの内面からシャワーボックス31を離す。
次に、外側純水シャワーノズル36からシャワー状の純水を噴射させることにより、ドアシェルとシャワーボックス31との接触部に純水を吹き付けて、前記接触部に残留している微量の薬液を洗い流す。この際、ドアシェルの内面全体に純水が吹き付けられる程度の回転角だけ外側純水シャワーノズル36を回転させる。即ち、前記回転角だけ一方向に回転させ、次に前記一方向とは逆方向に前記回転角だけ回転させ、これを繰り返すことにより、ドアシェルの内面全体に純水を吹き付けることができ、前記接触部に微量に残留している薬液を除去することができる。なお、設定時間経過後に純水の噴射及び外側純水シャワーノズル36の回転動作を停止する。
この後、押さえアーム37をリリースして洗浄リンス後のドアシェルをドアシェル水切り槽に搬送し、次に洗浄しようとするドアシェルをドアシェル洗浄リンス槽1の上面に置き、上記のドアシェル洗浄リンス槽1によるドアシェルの洗浄リンスを繰り返す。
上記ドアシェル洗浄リンス方法によれば、ドアシェルに金属汚染が生じている部分をシャワーボックス31で覆った状態で、その部分のみに薬液を吹き付けて薬液による金属汚染の除去を行っている。このため、ドアシェルの内面全体に薬液を吹き付ける場合に比べて、薬液使用量を少なくすることができ、薬液による洗浄時間を短くすることができる。また、ドアシェルの内面に薬液が吹き付けられる部分を少なくすることができるため、その部分に付着した薬液を除去するための純水によるリンス処理も短時間化することができ、純水使用量も少なくすることができる。
また、シャワーボックス31によってドアシェルの内面の金属汚染部分を覆っているため、薬液、薬液雰囲気及び薬液によって除去された金属汚染物がドアシェル内面の金属汚染部分以外の部分やドアシェルの外側にかからないようにすることができる。
尚、本発明は上記実施の形態に限定されず、本発明の主旨を逸脱しない範囲内で種々変更して実施することが可能である。例えば、上記実施の形態によるFOUP洗浄乾燥方法を次のように変形して実施することも可能である。ドアシェルとポッドシェルを分解した後、ポッドシェル搬送機7によってポッドシェルの開口部を下に向けて該ポッドシェルをポッドシェル洗浄槽4内に設置し、ドアシェル槽−ポッドシェル槽間搬送機9によってドアシェルの内面を下に向けて該ドアシェルをドアシェル洗浄リンス槽1に搬送する。また、乾燥後のドアシェルをドアシェル槽−ポッドシェル槽間搬送機9によってドアシェル乾燥槽3からポッドシェル乾燥槽6の上方又は近傍に搬送し、乾燥後のポッドシェルをポッドシェル搬送機7によってポッドシェル乾燥槽6の上方又は近傍に搬送する。
1…ドアシェル洗浄リンス槽
2…ドアシェル水切り槽
3…ドアシェル乾燥槽
4…ポッドシェル洗浄槽
5…ポッドシェル水切り槽
6…ポッドシェル乾燥槽
7…ポッドシェル搬送機
8…ドアシェル搬送機
9…ドアシェル槽−ポッドシェル槽間搬送機
10…薬液供給ユニット
11,110…電源ボックス
12,111…クリーンユニット
13,14,21,22,101〜103…矢印
31…シャワーボックス
32…シャワーボックス排液配管
33…ガイド付薄型シリンダー
34…薬液シャワーノズル
35…内側純水シャワーノズル
36…外側純水シャワーノズル
37…押さえアーム
80…FOUP
81…開口部
82…ポッドシェル
83…ドアシェル
84…パッキン
85…内面
86…ロック部
104…ドアシェル洗浄槽
105…ドアシェル乾燥槽
106…ポッドシェル洗浄槽
107…ポッドシェル乾燥槽
108…ポッドシェル搬送機
109…ドアシェル搬送機
2…ドアシェル水切り槽
3…ドアシェル乾燥槽
4…ポッドシェル洗浄槽
5…ポッドシェル水切り槽
6…ポッドシェル乾燥槽
7…ポッドシェル搬送機
8…ドアシェル搬送機
9…ドアシェル槽−ポッドシェル槽間搬送機
10…薬液供給ユニット
11,110…電源ボックス
12,111…クリーンユニット
13,14,21,22,101〜103…矢印
31…シャワーボックス
32…シャワーボックス排液配管
33…ガイド付薄型シリンダー
34…薬液シャワーノズル
35…内側純水シャワーノズル
36…外側純水シャワーノズル
37…押さえアーム
80…FOUP
81…開口部
82…ポッドシェル
83…ドアシェル
84…パッキン
85…内面
86…ロック部
104…ドアシェル洗浄槽
105…ドアシェル乾燥槽
106…ポッドシェル洗浄槽
107…ポッドシェル乾燥槽
108…ポッドシェル搬送機
109…ドアシェル搬送機
Claims (8)
- ドアシェルの内面の金属汚染部分を覆うシャワーボックスと、
前記シャワーボックス内に配置され、前記金属汚染部分に薬液を噴射する薬液シャワーノズルと、
前記シャワーボックス内に配置され、前記金属汚染部分に純水を噴射する純水シャワーノズルと、
を具備することを特徴とするドアシェル洗浄装置。 - 請求項1において、前記薬液シャワーノズルを回転させる第1の回転機構と、前記純水シャワーノズルを回転させる第2の回転機構と、をさらに具備することを特徴とするドアシェル洗浄装置。
- ドアシェルを洗浄する洗浄槽と、
前記洗浄槽の上部に前記ドアシェルの内面を該洗浄槽の底部に向けて保持する保持機構と、
前記洗浄槽内に配置され、前記ドアシェルの内面の金属汚染部分を覆うシャワーボックスと、
前記シャワーボックス内に配置され、前記金属汚染部分に薬液を噴射する薬液シャワーノズルと、
前記シャワーボックス内に配置され、前記金属汚染部分に純水を噴射する第1の純水シャワーノズルと、
前記洗浄槽内で且つ前記シャワーボックス外に配置され、前記ドアシェルの内面に純水を噴射する第2の純水シャワーノズルと、
を具備することを特徴とするドアシェル洗浄装置。 - 請求項3において、前記薬液シャワーノズルを回転させる第1の回転機構と、前記第1の純水シャワーノズルを回転させる第2の回転機構と、前記第2の純水シャワーノズルを回転させる第3の回転機構と、をさらに具備することを特徴とするドアシェル洗浄装置。
- 請求項3又は4において、前記シャワーボックスを前記洗浄槽内で上下に昇降させる昇降機構をさらに具備することを特徴とするドアシェル洗浄装置。
- 請求項1乃至5のいずれか一項において、前記シャワーボックス内に繋げられた薬液及び純水を排出する排液配管をさらに具備することを特徴とするドアシェル洗浄装置。
- ドアシェルの内面の金属汚染部分をシャワーボックスで覆い、
前記シャワーボックスで覆われた前記金属汚染部分に薬液を噴射することにより前記ドアシェルの内面の金属汚染を除去し、
前記シャワーボックスで覆われた前記金属汚染部分に純水を噴射することにより前記金属汚染部分に付着した薬液を純水で洗い流すことを特徴とするドアシェル洗浄方法。 - 請求項7において、前記薬液を純水で洗い流した後に、前記シャワーボックスを前記ドアシェルの内面から離し、前記ドアシェルの内面に純水を噴射することにより前記ドアシェルの内面をリンスすることを特徴とするドアシェル洗浄方法。
Priority Applications (1)
| Application Number | Priority Date | Filing Date | Title |
|---|---|---|---|
| JP2005317452A JP2007123770A (ja) | 2005-10-31 | 2005-10-31 | ドアシェル洗浄装置及びドアシェル洗浄方法 |
Applications Claiming Priority (1)
| Application Number | Priority Date | Filing Date | Title |
|---|---|---|---|
| JP2005317452A JP2007123770A (ja) | 2005-10-31 | 2005-10-31 | ドアシェル洗浄装置及びドアシェル洗浄方法 |
Publications (1)
| Publication Number | Publication Date |
|---|---|
| JP2007123770A true JP2007123770A (ja) | 2007-05-17 |
Family
ID=38147246
Family Applications (1)
| Application Number | Title | Priority Date | Filing Date |
|---|---|---|---|
| JP2005317452A Withdrawn JP2007123770A (ja) | 2005-10-31 | 2005-10-31 | ドアシェル洗浄装置及びドアシェル洗浄方法 |
Country Status (1)
| Country | Link |
|---|---|
| JP (1) | JP2007123770A (ja) |
Cited By (1)
| Publication number | Priority date | Publication date | Assignee | Title |
|---|---|---|---|---|
| WO2017203007A1 (de) * | 2016-05-27 | 2017-11-30 | Condias Gmbh | Verfahren zum reinigen einer kunststoffoberfläche |
-
2005
- 2005-10-31 JP JP2005317452A patent/JP2007123770A/ja not_active Withdrawn
Cited By (4)
| Publication number | Priority date | Publication date | Assignee | Title |
|---|---|---|---|---|
| WO2017203007A1 (de) * | 2016-05-27 | 2017-11-30 | Condias Gmbh | Verfahren zum reinigen einer kunststoffoberfläche |
| CN110099755A (zh) * | 2016-05-27 | 2019-08-06 | 布鲁克斯自动化(德国)有限公司 | 用于清洁塑料表面的方法 |
| TWI800482B (zh) * | 2016-05-27 | 2023-05-01 | 德商布魯克斯機械(德國)有限公司 | 用於清潔塑膠表面的方法及用於執行該方法的設備 |
| US11872603B2 (en) | 2016-05-27 | 2024-01-16 | Brooks Automation (Germany) Gmbh | Method for cleaning a synthetic surface |
Similar Documents
| Publication | Publication Date | Title |
|---|---|---|
| KR100271772B1 (ko) | 반도체 습식 식각설비 | |
| JP2010153888A (ja) | 基板洗浄乾燥装置 | |
| JP7055467B2 (ja) | 半導体ウェハの洗浄方法及び洗浄装置 | |
| JP6092653B2 (ja) | 基板洗浄装置及び洗浄方法 | |
| JP3341727B2 (ja) | ウエット装置 | |
| JP2002126678A (ja) | 密閉型容器の洗浄方法及び洗浄装置 | |
| WO2006033186A1 (ja) | 基板処理装置 | |
| KR101760390B1 (ko) | 대상체 내외부면 세정 장치 | |
| JP2002334863A (ja) | Foup用ドアシェルの洗浄乾燥方法及び装置 | |
| JP2001070861A (ja) | 液処理方法及び液処理装置 | |
| JP5996224B2 (ja) | 基板乾燥装置及び乾燥方法 | |
| JP2007123769A (ja) | Foup洗浄乾燥装置及びfoup洗浄乾燥方法 | |
| JP3560011B2 (ja) | 基板保持具 | |
| JPH10303170A (ja) | 基板洗浄装置および基板洗浄方法 | |
| JP2007123770A (ja) | ドアシェル洗浄装置及びドアシェル洗浄方法 | |
| JP3910757B2 (ja) | 処理装置及び処理方法 | |
| JP2007129160A (ja) | ポッドシェル洗浄装置及びポッドシェル洗浄方法 | |
| KR20180025201A (ko) | 기판 처리 장치 및 기판 처리 방법 | |
| JP2000340632A (ja) | 基板の化学的処理装置および基板の化学的処理方法 | |
| KR101052821B1 (ko) | 기판 처리 장치 및 그 방법 | |
| KR20090016231A (ko) | 기판 처리 장치 및 방법 | |
| US20080029123A1 (en) | Sonic and chemical wafer processor | |
| TWI898218B (zh) | 基板處理裝置及基板處理方法 | |
| KR100885242B1 (ko) | 기판 처리 장치, 및 이를 이용한 기판 처리 방법 | |
| KR100794588B1 (ko) | 매엽식 기판 처리 장치 및 방법 |
Legal Events
| Date | Code | Title | Description |
|---|---|---|---|
| A300 | Withdrawal of application because of no request for examination |
Free format text: JAPANESE INTERMEDIATE CODE: A300 Effective date: 20090106 |