JP2007123749A - 配線板の固定構造 - Google Patents

配線板の固定構造 Download PDF

Info

Publication number
JP2007123749A
JP2007123749A JP2005317195A JP2005317195A JP2007123749A JP 2007123749 A JP2007123749 A JP 2007123749A JP 2005317195 A JP2005317195 A JP 2005317195A JP 2005317195 A JP2005317195 A JP 2005317195A JP 2007123749 A JP2007123749 A JP 2007123749A
Authority
JP
Japan
Prior art keywords
wiring board
case
locking claw
claw member
fixing structure
Prior art date
Legal status (The legal status is an assumption and is not a legal conclusion. Google has not performed a legal analysis and makes no representation as to the accuracy of the status listed.)
Granted
Application number
JP2005317195A
Other languages
English (en)
Other versions
JP4512023B2 (ja
Inventor
Takekazu Tsukamoto
豪一 塚本
Current Assignee (The listed assignees may be inaccurate. Google has not performed a legal analysis and makes no representation or warranty as to the accuracy of the list.)
Yazaki Corp
Original Assignee
Yazaki Corp
Priority date (The priority date is an assumption and is not a legal conclusion. Google has not performed a legal analysis and makes no representation as to the accuracy of the date listed.)
Filing date
Publication date
Application filed by Yazaki Corp filed Critical Yazaki Corp
Priority to JP2005317195A priority Critical patent/JP4512023B2/ja
Publication of JP2007123749A publication Critical patent/JP2007123749A/ja
Application granted granted Critical
Publication of JP4512023B2 publication Critical patent/JP4512023B2/ja
Anticipated expiration legal-status Critical
Expired - Fee Related legal-status Critical Current

Links

Images

Landscapes

  • Mounting Of Printed Circuit Boards And The Like (AREA)

Abstract

【課題】配線板の固定を確実に行なうことができる配線板の固定構造を提供すること。
【解決手段】ケース1に立設され配線板3の高さを一定間隔に保つ支持部材4と、ケース1に立設され配線板3の端部に係止して配線板3を固定する係止爪部材5と、ケース1に組み付けられるカバー2に立設され、ケース1へのカバー2の組付け状態において配線板3の端部に係止する側と反対側の係止爪部材5に接触して係止爪部材5のたわみを防止する規制面を有するたわみ防止部材8とを備えた配線板3の固定構造において、たわみ防止部材8には、規制面8aと連続して、ケース1へのカバー2の組付け状態において係止爪部材5から立設方向に次第に離れるように延長された誘い込み面8cが形成されている。
【選択図】図1

Description

本発明は、ケースに組み付けられるカバーとで形成される内部空間に配線板が固定される配線板の固定構造に関する。
図8と図9は、それぞれ、上述の従来の配線板の固定構造を示す分解斜視図および断面図である。図に示すように、合成樹脂製のケース1と、このケース1に組み付けられる合成樹脂製のカバー2とで形成される内部空間に配線板3が固定される。ケース1の底面1aには、配線板3を底面1aから一定の高さに支持するボス等の支持部材4と、配線板3を固定するための係止爪部材5が、ケース1と一体的に立設されている。
カバー2の底面2aには、たわみ防止部材6がカバー2と一体的に立設されている。たわみ防止部材6には、たわみ防止部材6のガタツキ防止リブ7が設けられている。ガタつき防止リブ7の先端には傾斜面7aが形成されている。
図9(A)に示すように、配線板3は、ケース1の所定位置に嵌めこまれ、係止爪部材5の係止爪5bにて係止され、固定される。その後、カバー2を矢印方向からケース1に組み付け、ガタつき防止リブ7に係止爪5bが図中右方向に押されるようにして、たわみ防止部材6が係止爪部材5の左側に挿入される。最後に、カバー2の係止爪(図示しない)とケース1の係止部(図示しない)が組み付けられ、ケース1とカバー2の結合が完了される。結合完了時には、係止爪5bがガタ無く固定される(たとえば、非特許文献1参照)。
発明協会公開技報No.2004−500611号(発行日2004−02−05)
しかしながら、上述の固定構造では、図9(B)の矢印Aで示すように、たわみ防止部材6の挿入方向が係止爪5bの右側にずれ、係止爪5bが矢印Bのように左側にたわんで、配線板3との係止がはずれる誤組み付けとなることがあるという問題がある。
このように、誤組み付けが発生する原因は、係止爪部材5が合成樹脂の成形品であるため、ある程度の変形が発生してしまうからである。また、ケース1とカバー2の組み付けが手作業で行なわれるため、ある程度の位置ずれが発生するからである。
そこで本発明は、上述した課題に鑑み、配線板の固定を確実に行なうことができる配線板の固定構造を提供することを目的としている。
請求項1記載の発明は、ケースに立設され配線板の高さを一定間隔に保つ支持部材と、前記ケースに立設され前記配線板の端部に係止して前記配線板を固定する係止爪部材と、前記ケースに組み付けられるカバーに立設され、前記ケースへの前記カバーの組付け状態において前記配線板の端部に係止する側と反対側の前記係止爪部材に接触して前記係止爪部材のたわみを防止する規制面を有するたわみ防止部材とを備えた配線板の固定構造において、前記たわみ防止部材には、前記規制面と連続して、前記ケースへの前記カバーの組付け状態において前記係止爪部材から立設方向に次第に離れるように延長された誘い込み面が形成されていることを特徴とする。
請求項2記載の発明は、請求項1記載の配線板の固定構造において、前記たわみ防止部材は、前記係止爪部材と前記ケースの外壁間の空間とほぼ同じ幅を有する平板状に形成され、該平板の側部が規制面とされていることを特徴とする。
請求項3記載の発明は、請求項1または2記載の配線板の固定構造において、前記係止爪部材は、所定幅の板状部材からなり、該板状部材の先端に係止爪が一体形成されており、前記たわみ防止部材は、前記係止爪部材の板状部材の所定幅とほぼ同じ幅を有する板状に形成されて前記係止爪部材のねじれを防止する側板をさらに有することを特徴とする。
請求項1記載の発明によれば、係止爪部材の変形やケースとカバーの組み付け作業時の位置ずれ等が発生した場合でも、係止爪が配線板がはずれる方向にたわむのを防止し、配線板を確実に固定することができる。
請求項2記載の発明によれば、ケースとカバーの誤組み付けが発生することなく、配線板を確実に固定することができる。
請求項3記載の発明によれば、側板の平面で係止爪部材の平面を受けるため、係止爪部材のねじれを防止することができ、それにより、係止爪による配線板の固定を確実にすることができる。
以下、本発明の実施の形態について図面を参照して説明する。
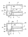
(第1の実施形態)図1および図2は、本発明に係る配線板の固定構造の第1の実施形態を示す分解斜視図および断面図である。なお、図1では、本発明の特徴部分を明快にするために、ケース1とカバー2の位置関係を図8の場合と逆に示している。
図に示すように、合成樹脂製のケース1と、このケース1に組み付けられる合成樹脂製のカバー2とで形成される内部空間に配線板3が固定される。ケース1の底面1aには、配線板3を底面1aから一定の高さに支持するボス等の支持部材4が、一体形成で立設されている。なお、支持部材4は、図では1個のみ示されているが、配線板3を支持するのに要する複数個が適所に立設されている。
また、ケース1の底面1aには、支持部材4で支持された配線板3を固定するための係止爪部材5も一体形成で立設されている。なお、係止爪部材5も、図では1個のみ示されているが、配線板3を固定する複数個が適所に立設されている。係止爪部材5は、所定幅の板状部材5aからなり、その先端に係止爪5bが形成されている。
カバー2の底面2aには、たわみ防止部材8がカバー2と一体形成で立設されている。たわみ防止部材8は、平板状に形成されている。平板の平面は、係止爪部材5を構成する板状部材5aの平面に対してほぼ直角方向をなしている。また、平板は、ケース1の外壁1bと係止爪部材5間の空間1cとほぼ同じ幅を有している。平板の一方の側部8aは、係止爪部材5のたわみを防止する規制面として作用する。さらに、平板の両側部8aおよび8bから連続して、先端側の両角を丸く削り取ったR状の誘い込み面8cおよび8dが形成されている。誘い込み面8cは、後述するケース1へのカバー2の組付状態において、係止爪部材5からたわみ防止部材8の立設方向に次第に離れるように延長して形成されている。また、誘い込み面8dは、後述するケース1へのカバー2の組付状態において、カバー2の外壁2bからたわみ防止部材8の立設方向に次第に離れるように延長して形成されている。
上述の構造において、図2に示すように、配線板3は、ケース1の所定位置に嵌めこまれ、係止爪部材5の係止爪5bにて係止され、支持部材4により一定の高さに固定される。その後、カバー2が矢印方向からケース1に組み付けられる。
組み付け時、図3(A)に示すように、たわみ防止部材8のR状の誘い込み面8cが、係止爪部材5の係止爪5bに接触し、係止爪5bを矢印C方向に移動させる誘い込み形状として作用する。それにより、ケース1とカバー2の組み付け時のずれや係止爪5bの変形などにより、狙いの位置に係止爪5bがない場合でも、図3(B)に示すように、たわみ防止部材8が、係止爪5bの左側の空間1cに確実に挿入される。そして、たわみ防止部材8の平板の側部8aが、配線板3の端部に係止する側と反対側の係止爪部材5の平面に接触して係止爪部材5のたわみを防止する規制面として作用し、係止爪5bを正規の位置、すなわち、配線板3の端部に係止する位置に誘導することが可能となる。このとき、誘い込み面8dも、ケース1の外壁1bに接触して空間1cへの挿入を容易にする誘い込み形状として作用する。最後に、カバー2の係止爪(図示しない)とケース1の係止部(図示しない)が組み付けられ、ケース1とカバー2の結合が完了する。
たわみ部材8の平板は、ケース1の外壁1bと係止爪部材5間の空間1cとほぼ同じ幅を有しているので、係止爪5bが配線板3がはずれる方向にたわむのをほぼ完璧に防止することができる。そして、たわみ防止部材8の先端部分を空間1cへ挿入できたとき、係止爪部材5による配線板3の固定が確実に行なわれたことを確認することができる。さらに、万一係止爪部材5の大きな変形があった場合は、係止爪5bの先端がたわみ防止部材8の先端部に当たり、カバー2はケース1に組み付かない。
したがって、正規な組み付けができたこと、誤組み付けになりそうなことを組み付け作業者が判断することができる。それにより、係止爪部材5の大きな変形がある場合にケース1を別のものに交換するなど対処することができ、従来のように誤組み付けのまま製造した機器が出荷されるようなことがなくなる。
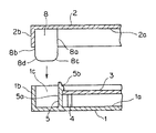
(第2の実施形態)次に、図4(A)および(B)は、それぞれ、本発明に係る配線板の固定構造の第2の実施形態を示す分解斜視図および断面図である。図4(A)に示すように、この第2の実施形態では、上述の第1の実施形態の構造に加えて、たわみ防止部材8が側板9を備えている。側板9は、たわみ防止部材8と一体形成され、係止爪部材5の板状部材5aとほぼ同じ幅と、たわみ防止部材8の誘い込み面8cの手前までの高さを有する板状に形成されている。側板9は、たわみ防止部材8の平板の側部8aと面一となると共に、たわみ防止部材8の平板とほぼ直角な平面(すなわち、係止爪部材5の平面とほぼ平行な平面)を有する。
上述の構造においては、ケース1とカバー2の組み付け時、図4(B)に示すように、側板9は、係止爪部材5の板状部材5aの平面に接触し、その平面で板状部材5aの平面を受けるため、係止爪部材5のねじれを防止することができる。それによって、係止爪5bによる配線板3の固定を確実にすることができる。
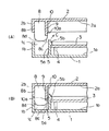
(第3の実施形態)次に、図5と図6(A)および(B)は、それぞれ、本発明に係る配線板の固定構造の第3の実施形態を示す分解斜視図および断面図である。図5に示すように、この第3の実施形態では、上述の第2の実施形態の構造に加えて、たわみ防止部材8は、側板9の平面上に一体形成されたガタつき防止リブ10を備えている。ガタつき防止リブ10は、カバー2の底面2aからたわみ防止部材8の誘い込み面8cの手前まで延長するように形成され、その先端に傾斜面10aが設けられている。
上述の構造においては、ケース1とカバー2の組み付け時、図6(A)に示すように、たわみ防止部材8の誘い込み面8cが、係止爪部材5の係止爪5bに接触して係止爪5bを矢印C方向に移動させる誘い込み形状として作用する。その後、ガタつき防止リブ10の先端の傾斜面10aが、係止爪部材5の左側に挿入され、図6(B)に示すように、係止爪5bが図中右方向に押されるようにして、たわみ防止部材8が、係止爪部材5の左側の空間1cに挿入される。それにより、組み付け完了時には、係止爪5bがガタ無く固定される。
(第4の実施形態)次に、図7(A)および(B)は、それぞれ、本発明に係る配線板の固定構造の第4の実施形態を示す断面図である。図7(A)に示すように、この第4の実施形態では、上述の第2の実施形態の構造に加えて、係止爪部材5は、係止爪部材5が倒れ込むのを防止する倒れ込み防止リブ11を備えている。倒れ込み防止リブ11は、ケース1の底面1aから係止爪5bの手前まで延長するように形成され、その先端に傾斜面11aが設けられている。
上述の構造においては、ケース1とカバー2の組み付け時、図7(A)に示すように、たわみ防止部材8の誘い込み面8cが、係止爪部材5の係止爪5bに接触して係止爪5bを矢印C方向に移動させる誘い込み形状として作用する。その後、倒れ込み防止リブ11の先端の傾斜面11aに沿って、たわみ防止部材8が係止爪部材5の左側の空間1cに挿入される。
以上の通り、本発明の実施形態について説明したが、本発明はこれに限らず、種々の変形、応用が可能である。
たとえば、上述の第4の実施形態において、さらに、たわみ防止部材8がガタつき防止リブ10を備えていても良い。この場合は、ガタつき防止リブ10と倒れ込み防止リブ11の形成位置は、組み付け時リブ同士がぶつからないようにずらされている。
また、上述の実施形態では、たわみ防止部材8の誘い込み面8cおよび8dはR状に形成されているが、これに代えて、両角を直線的に削り取ったテーパー状を形成しても良い。
また、上述の実施形態では、たわみ防止部材8の誘い込み面8dは、平板の側部8bから連続して延長するように形成されているが、ケース1へのカバー2の組付け時に誘い込み面8cが係止爪5bに接触する前にケース1の外壁1bに接触するような形状とすることもできる。また、誘い込み面8dをたわみ防止部材8と一体形成せず、外壁2bの内側に立設させた別部材の側部から延長するものとして設けても良い。
本発明に係る配線板の固定構造の第1の実施形態を示す分解斜視図である。(第1の実施形態) 本発明に係る配線板の固定構造の第1の実施形態を示す断面図である。(第1の実施形態) (A)および(B)は、それぞれ、本発明に係る配線板の固定構造の第1の実施形態における組付け前および組み付け後を説明する断面図である。(第1の実施形態) (A)および(B)は、それぞれ、本発明に係る配線板の固定構造の第2の実施形態を示す分解斜視図および断面図である。(第2の実施形態) 本発明に係る配線板の固定構造の第3の実施形態を示す分解斜視図である。(第3の実施形態) (A)および(B)は、それぞれ、本発明に係る配線板の固定構造の第3の実施形態における組付け前および組み付け後を説明する断面図である。(第3の実施形態) (A)および(B)は、それぞれ、本発明に係る配線板の固定構造の第4の実施形態における組付け前および組み付け後を説明する断面図である。(第4の実施形態) 従来の配線板の固定構造を示す分解斜視図である。 (A)および(B)は、それぞれ、従来の配線板の固定構造における組付け前および誤組み付けを説明する断面図である。
符号の説明
1 ケース
2 カバー
3 配線板
4 支持部材
5 係止爪部材
8 たわみ防止部材
8a 側部(規制面)
8c,8d 誘い込み面
9 側板

Claims (3)

  1. ケースに立設され配線板の高さを一定間隔に保つ支持部材と、前記ケースに立設され前記配線板の端部に係止して前記配線板を固定する係止爪部材と、前記ケースに組み付けられるカバーに立設され、前記ケースへの前記カバーの組付け状態において前記配線板の端部に係止する側と反対側の前記係止爪部材に接触して前記係止爪部材のたわみを防止する規制面を有するたわみ防止部材とを備えた配線板の固定構造において、
    前記たわみ防止部材には、前記規制面と連続して、前記ケースへの前記カバーの組付け状態において前記係止爪部材から立設方向に次第に離れるように延長された誘い込み面が形成されている
    ことを特徴とする配線板の固定構造。
  2. 請求項1記載の配線板の固定構造において、
    前記たわみ防止部材は、前記係止爪部材と前記ケースの外壁間の空間とほぼ同じ幅を有する平板状に形成され、該平板の側部が規制面とされている
    ことを特徴とする配線板の固定構造。
  3. 請求項1または2記載の配線板の固定構造において、
    前記係止爪部材は、所定幅の板状部材からなり、該板状部材の先端に係止爪が一体形成されており、
    前記たわみ防止部材は、前記係止爪部材の板状部材の所定幅とほぼ同じ幅を有する板状に形成されて前記係止爪部材のねじれを防止する側板をさらに有することを特徴とする配線板の固定構造。
JP2005317195A 2005-10-31 2005-10-31 配線板の固定構造 Expired - Fee Related JP4512023B2 (ja)

Priority Applications (1)

Application Number Priority Date Filing Date Title
JP2005317195A JP4512023B2 (ja) 2005-10-31 2005-10-31 配線板の固定構造

Applications Claiming Priority (1)

Application Number Priority Date Filing Date Title
JP2005317195A JP4512023B2 (ja) 2005-10-31 2005-10-31 配線板の固定構造

Publications (2)

Publication Number Publication Date
JP2007123749A true JP2007123749A (ja) 2007-05-17
JP4512023B2 JP4512023B2 (ja) 2010-07-28

Family

ID=38147230

Family Applications (1)

Application Number Title Priority Date Filing Date
JP2005317195A Expired - Fee Related JP4512023B2 (ja) 2005-10-31 2005-10-31 配線板の固定構造

Country Status (1)

Country Link
JP (1) JP4512023B2 (ja)

Cited By (3)

* Cited by examiner, † Cited by third party
Publication number Priority date Publication date Assignee Title
US8896172B2 (en) 2008-12-12 2014-11-25 Calsonic Kansei Corporation Substrate support structure
US9205775B2 (en) 2013-10-01 2015-12-08 Denso International America, Inc. Prism for light reflecting/diffusion between LED's
JP2017085018A (ja) * 2015-10-30 2017-05-18 富士電機株式会社 電力変換装置

Citations (5)

* Cited by examiner, † Cited by third party
Publication number Priority date Publication date Assignee Title
JPH01176986U (ja) * 1988-05-31 1989-12-18
JPH0722585U (ja) * 1993-09-28 1995-04-21 アイワ株式会社 基板取付装置
JPH1070381A (ja) * 1996-08-27 1998-03-10 Yazaki Corp 配線基板の固定構造
JP2001044667A (ja) * 1999-07-28 2001-02-16 Matsushita Electric Works Ltd 電気情報機器
JP2005079236A (ja) * 2003-08-29 2005-03-24 Optrex Corp 基板固定装置

Patent Citations (5)

* Cited by examiner, † Cited by third party
Publication number Priority date Publication date Assignee Title
JPH01176986U (ja) * 1988-05-31 1989-12-18
JPH0722585U (ja) * 1993-09-28 1995-04-21 アイワ株式会社 基板取付装置
JPH1070381A (ja) * 1996-08-27 1998-03-10 Yazaki Corp 配線基板の固定構造
JP2001044667A (ja) * 1999-07-28 2001-02-16 Matsushita Electric Works Ltd 電気情報機器
JP2005079236A (ja) * 2003-08-29 2005-03-24 Optrex Corp 基板固定装置

Cited By (3)

* Cited by examiner, † Cited by third party
Publication number Priority date Publication date Assignee Title
US8896172B2 (en) 2008-12-12 2014-11-25 Calsonic Kansei Corporation Substrate support structure
US9205775B2 (en) 2013-10-01 2015-12-08 Denso International America, Inc. Prism for light reflecting/diffusion between LED's
JP2017085018A (ja) * 2015-10-30 2017-05-18 富士電機株式会社 電力変換装置

Also Published As

Publication number Publication date
JP4512023B2 (ja) 2010-07-28

Similar Documents

Publication Publication Date Title
JP2011129459A (ja) 電気コネクタの嵌合案内部品及びこれを有する電気コネクタ装置
KR20090117979A (ko) 커넥터
US20150165982A1 (en) Attaching structure for vehicle-mounted equipment
CN104968534A (zh) 用于联接树脂部件的结构以及保险杠罩结构
JP4512023B2 (ja) 配線板の固定構造
JP4871830B2 (ja) 2つの部材を連結する係合構造
JP2009117152A (ja) 表面実装用コネクタ
JP5775334B2 (ja) 取付部材の取付構造
JP6546699B2 (ja) クリップ
JP2007234335A (ja) 固定部材、及び、固定部材の組付構造
JP4970304B2 (ja) 二部材組付け構造
JP4950674B2 (ja) クリップ
US20130069296A1 (en) Printed substrate holding device
JP5284233B2 (ja) 螺子体取付部の構造及び配線器具取付体
JP7230222B2 (ja) 留め具
JP2013045608A (ja) コネクタ取付構造
JP5691803B2 (ja) コネクタおよび電気接続箱
JP2009228839A (ja) 部品取付構造
JP5319474B2 (ja) 配線器具取付装置
JP6491692B2 (ja) 回路基板収容筐体、および電子装置
US7654852B2 (en) Connector and connector assembling system
JP5448633B2 (ja) コネクタ
JP6054160B2 (ja) 摺動子の被取付体への取付構造
JP5144405B2 (ja) 掛け止め金具付きコネクタハウジング
JP5186288B2 (ja) ワイヤハーネス保持クリップ

Legal Events

Date Code Title Description
A621 Written request for application examination

Free format text: JAPANESE INTERMEDIATE CODE: A621

Effective date: 20080206

A977 Report on retrieval

Free format text: JAPANESE INTERMEDIATE CODE: A971007

Effective date: 20100114

A131 Notification of reasons for refusal

Free format text: JAPANESE INTERMEDIATE CODE: A131

Effective date: 20100119

A521 Written amendment

Free format text: JAPANESE INTERMEDIATE CODE: A523

Effective date: 20100316

TRDD Decision of grant or rejection written
A01 Written decision to grant a patent or to grant a registration (utility model)

Free format text: JAPANESE INTERMEDIATE CODE: A01

Effective date: 20100420

A01 Written decision to grant a patent or to grant a registration (utility model)

Free format text: JAPANESE INTERMEDIATE CODE: A01

A61 First payment of annual fees (during grant procedure)

Free format text: JAPANESE INTERMEDIATE CODE: A61

Effective date: 20100507

FPAY Renewal fee payment (event date is renewal date of database)

Free format text: PAYMENT UNTIL: 20130514

Year of fee payment: 3

R150 Certificate of patent or registration of utility model

Ref document number: 4512023

Country of ref document: JP

Free format text: JAPANESE INTERMEDIATE CODE: R150

Free format text: JAPANESE INTERMEDIATE CODE: R150

FPAY Renewal fee payment (event date is renewal date of database)

Free format text: PAYMENT UNTIL: 20140514

Year of fee payment: 4

R250 Receipt of annual fees

Free format text: JAPANESE INTERMEDIATE CODE: R250

R250 Receipt of annual fees

Free format text: JAPANESE INTERMEDIATE CODE: R250

R250 Receipt of annual fees

Free format text: JAPANESE INTERMEDIATE CODE: R250

R250 Receipt of annual fees

Free format text: JAPANESE INTERMEDIATE CODE: R250

R250 Receipt of annual fees

Free format text: JAPANESE INTERMEDIATE CODE: R250

LAPS Cancellation because of no payment of annual fees