JP2007014635A - 吸収性物品 - Google Patents

吸収性物品 Download PDF

Info

Publication number
JP2007014635A
JP2007014635A JP2005200909A JP2005200909A JP2007014635A JP 2007014635 A JP2007014635 A JP 2007014635A JP 2005200909 A JP2005200909 A JP 2005200909A JP 2005200909 A JP2005200909 A JP 2005200909A JP 2007014635 A JP2007014635 A JP 2007014635A
Authority
JP
Japan
Prior art keywords
absorbent
absorbent body
absorbent article
sheet
absorber
Prior art date
Legal status (The legal status is an assumption and is not a legal conclusion. Google has not performed a legal analysis and makes no representation as to the accuracy of the status listed.)
Granted
Application number
JP2005200909A
Other languages
English (en)
Other versions
JP4540563B2 (ja
Inventor
Aya Ito
綾 伊藤
Hironori Kawasaki
宏典 河崎
Current Assignee (The listed assignees may be inaccurate. Google has not performed a legal analysis and makes no representation or warranty as to the accuracy of the list.)
Kao Corp
Original Assignee
Kao Corp
Priority date (The priority date is an assumption and is not a legal conclusion. Google has not performed a legal analysis and makes no representation as to the accuracy of the date listed.)
Filing date
Publication date
Application filed by Kao Corp filed Critical Kao Corp
Priority to JP2005200909A priority Critical patent/JP4540563B2/ja
Publication of JP2007014635A publication Critical patent/JP2007014635A/ja
Application granted granted Critical
Publication of JP4540563B2 publication Critical patent/JP4540563B2/ja
Anticipated expiration legal-status Critical
Expired - Fee Related legal-status Critical Current

Links

Images

Landscapes

  • Absorbent Articles And Supports Therefor (AREA)
  • Orthopedics, Nursing, And Contraception (AREA)

Abstract

【課題】長手方向にスムーズな湾曲性を有し、装着時において、着用者の股下部へのフィット性が高い吸収性物品を提供すること。
【解決手段】表面シート2、裏面シート3及び両シート2,3間に介在配置された吸収体4を備えた縦長の吸収性本体11を有する吸収性物品1であって、吸収体4は、その上面側に、幅方向に延びる複数本の横溝5が長手方向に所定ピッチで設けられている。吸収体4は、上層吸収体41及び下層吸収体42からなる2層構造を有しており、上層吸収体41に横溝5が設けられている。横溝5は、複数個のドット状溝51の集合体から形成されている。
【選択図】図1

Description

本発明は、生理用ナプキン、パンティライナー(おりものシート)、失禁パッド等の吸収性物品に関する。
生理用ナプキン等の吸収性物品は、一般的に、表面シート、裏面シート及び両シート間に介在配置された吸収体を備えている。また、生理用ナプキンにおいては、長手方向にスムーズに湾曲して着用者の股下部にフィットすることが望まれている。また、生理用ナプキンにおいて、吸収体の上面側を表面シートと共にエンボス加工することにより、吸収体に幅方向の溝を設けた技術が知られている(特許文献1参照)。
特開2003−230592号公報
しかし、特許文献1記載の生理用ナプキンにおける幅方向の溝は、漏れ防止のために設けられているものであり、また、長手方向に凸に湾曲しているため長手方向にスムーズな湾曲性を付与することはない。
従って、本発明の目的は、長手方向にスムーズな湾曲性を有し、装着時において、着用者の股下部へのフィット性が高い吸収性物品を提供することにある。
本発明は、表面シート、裏面シート及び両シート間に介在配置された吸収体を備えた縦長の吸収性本体を有する吸収性物品であって、前記吸収体は、その上面側に、幅方向に延びる複数本の横溝が長手方向に所定ピッチで設けられている吸収性物品を提供することにより、上記目的を達成したものである。
本発明の吸収性物品によれば、長手方向にスムーズな湾曲性を有し、装着時において、着用者の股下部へのフィット性が高い。
以下、本発明を吸収性物品について、その好ましい一実施形態(第1実施形態)に基づき図面を参照しながら説明する。
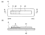
本実施形態の吸収性物品は、生理用ナプキン1であり、図1〜図3に示すように、液透過性の表面シート2、液不透過性又は液難透過性の裏面シート3及び両シート2,3間に介在配置された液保持性の吸収体4を備えた縦長の吸収性本体11を有している。吸収性本体11の両側部には、幅方向外方に延出する一対のウイング部12,12が設けられている。
尚、「長手方向」及び「幅方向」というときは、それぞれ「吸収性物品の長手方向」及び「吸収性物品の幅方向」を意味する。「上面」及び「下面」というときは、それぞれ「肌当接面(側の面)」及び「非肌当接面(側の面)」を意味する。
表面シート2は、吸収体4の上面の全域を被覆し、更に吸収体4の両側縁から幅方向に延出して裏面シート3側へ巻き込まれている。裏面シート3は、吸収体4の下面を被覆し、更に吸収体4の両側縁から幅方向外方に延出して一対のサイドフラップ16を形成している。一対のサイドフラップ16は、吸収性本体11の排泄ポイントAの位置において更に幅方向外方へ延出して一対のウイング12,12を形成している。
また、表面シート2及び裏面シート3は、それぞれ吸収体4の前後端から長手方向に延出し、その延出部分において互いに接合されてエンドシール部13,13を形成している。
尚、排泄ポイントAとは、着用者の排泄部と対向する領域であり、本実施形態のようにウイング部12を有する生理用ナプキン1においては、吸収性本体11におけるその両側部にウイング部12を有する部分である。排泄ポイントAよりも前方側の領域を前方部Cといい、排泄ポイントAよりも後方側の領域を後方部Bという。
吸収体4の上面側には、表面シート2と吸収体4とが一体的に圧密化されて形成された中央シール部14(14A,14B)が形成されている(詳細は後述)。
吸収性本体11の上面側における長手方向の両側部には、長手方向に沿って一対の防漏壁15,15が配されている。防漏壁15は、前方部Cから後方部Bに亘っている。
防漏壁15は、吸収体4の両側縁近傍から起立した基壁部(図示せず)とその上端部に連設された面状の弾性伸縮部15Aとからなる。弾性伸縮部15Aには、長手方向に沿って弾性部材15Bが配されて弾性伸縮性が付与されている。
防漏壁15は、排泄ポイントA及び後方部Bにおいては起立しており、前方部C及びエンドシール部13においては、少なくとも弾性伸縮部15Aの幅方向内側が表面シート2に固定されることで起立が阻害されている(起立していない)。
表面シート2及び裏面シート3としては、生理用ナプキン等の吸収性物品において従来用いられている各種材料を特に制限なく用いることができる。
表面シート2としては、例えば、親水化処理が施された各種不織布や開孔フィルム等の液透過性のシートを用いることができる。裏面シート3としては、例えば、熱可塑性樹脂のフィルムや、該フィルムと不織布とのラミネート等の液不透過性又は撥水性のシートを用いることができ、水蒸気透過性を有するものを用いることもできる。
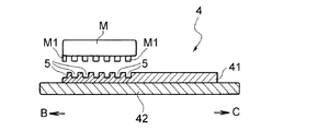
次に、本発明の特徴部分である吸収体4について詳述する。吸収体4は、図1、図2及び図4に示すように、その上面側に、幅方向に直線状に延びる複数本の横溝5が長手方向に所定ピッチで設けられている。
吸収体4は、図3及び図4に示すように、上層吸収体41及び下層吸収体42からなる2層構造を有している。上層吸収体41は、下層吸収体42より長さが短く、幅も狭くなっており、また、下層吸収体42には接合されておらず、吸収性本体11における幅方向中央部に位置している。上層吸収体41は、吸収性本体11におけるいわゆる中高領域を形成する。
表面シート2には、図1〜図3に示すように、中央シール部14が形成されている。中央シール部14は、表面シート2と吸収体4とが一体的に圧密化されて形成されているもので、本実施形態においては、上層吸収体41を包囲するように形成された第1中央シール部14Aと、第1中央シール部14Aの前方側に設けられたU字型の第2中央シール部14Bとからなる。
中央シール部14は、表面シート2と吸収体4の下層吸収体42とを接合しているが、表面シート2と吸収体4の上層吸収体41とは接合していない。また、平面視において、上層吸収体41の外形と、第1中央シール部14Aの外形とは略一致している。従って、吸収体4の上層吸収体41は、表面シート2と下層吸収体42とからなる閉鎖空間に封入されている。
上層吸収体41の平面視形状は、図1に示すように、巨視的にみて、前方部Cから排泄ポイントAにおいて幅がほぼ同じで、後方部Bにおいて徐々に幅が狭くなって尖っている。尚、第1中央シール部14Aには、吸収性本体11における中高領域、即ち吸収体4の上層吸収体41を着用者に意識させる効果もある。
第2中央シール部14Bは、上層吸収体41の後方部B側の尖った領域に近接する下層吸収体42を、表面シート2に接合している。
本実施形態においては、横溝5は上層吸収体41に設けられている。詳細には、横溝5は、幅方向には、吸収性本体11における幅方向中央部に設けられており、また、長手方向には、吸収性本体11の後方部Bに設けられている。吸収性本体11の後方部Bは、通常、着用者の股下部における後方の領域に当接するが、この領域は曲がりの程度が大きいため、後方部Bには長手方向に十分な湾曲性が要求されている。
横溝5の幅(幅方向の長さ)には制限はないが、15〜50mmである。本実施形態においては、上層吸収体41の幅(幅方向の長さ)とほぼ同じである。上層吸収体41の後方部B側の領域は尖っていて徐々に幅が狭くなっているので、それに対応して、横溝5も徐々に幅が狭くなっている。
横溝5の本数には制限はないが、好ましくは3〜15本である。本実施形態においては7本である。
横溝5の長手方向ピッチには制限はないが、好ましくは10〜20mmである。
横溝5は、本実施形態においては、複数個のドット状溝51の集合体から形成されている。ドット状溝51の幅方向ピッチには制限はないが、好ましくは2〜10mmである。
ドット状溝51を形成しているドットの大きさ(面積)は、好ましくは0.2〜5mm2である。ドットの大きさが0.2mm2より小さいと、ドットの連なりによる横溝が形成されず、ドットの大きさが5mm2より大きいと、横溝5の吸収性物品長手方向の幅が大きいため違和感を生じてしまう。ドットの形状については、本実施形態では、円形であるが、楕円形、四角形(菱形、正方形、長方形等)、アレイ形(ドックボーン形)等、特に制限はない。
横溝5の形成方法には特に制限はないが、例えば、吸収体4にエンボス加工を施すことにより形成することができる。図5に示すように、横溝5に対応する凸部M1を備えたエンボスブロックMを吸収体4の上面側から押圧することにより、吸収体4の上面側に横溝5を形成することができる。本実施形態における横溝5のような、複数個のドット状溝51の集合体からなる横溝5を形成するには、凸部M1が、ピン状で幅方向に複数個配列しているエンボスブロックMを用いればよい。
本実施形態においては、吸収体4(上層吸収体41)の上面が表面シート2で被覆された状態で、表面シート2と共に、吸収体4の上面側にエンボス加工を施している。
エンボス加工により形成される横溝5を有する吸収体4は、横溝5の形状安定性を重視するときに好ましく採用される。
吸収体4としては、生理用ナプキン等の吸収性物品における吸収体において従来用いられている各種材料を特に制限なく用いることができ、例えば、パルプ繊維を堆積させて得られた積繊層、パルプ繊維を原料とする不織布からなるものを用いることができる。
横溝5が形成される吸収体4(本実施形態においては、上層吸収体41)は、保形性を向上させるため、合成繊維を主体して形成されていることが好ましい。例えば、レーヨンを主体とし、天然パルプを混合したものが挙げられる。このような吸収体4は、カード法により好ましく形成される。
吸収性本体11の非肌当接面側及びウイング部12の非肌当接面側には、ショーツ等の下着と止着するためのズレ止め剤(図示せず)が設けられている。ウイング部12に設けられたズレ止め材は、吸収性本体11の非肌当接面側に折り返されて使用される。
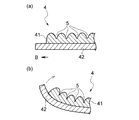
このように構成された第1実施形態の生理用ナプキン1によれば、吸収体4の上面側に、幅方向に直線状に延びる複数本の横溝5が長手方向に所定ピッチで設けられているため、横溝5を屈曲点をして吸収性本体11が長手方向にスムーズに湾曲し易い。そのため、図6に示すように、長手方向にスムーズな湾曲性を有し、装着時において、着用者の股下部へのフィット性が高い。
特に、剛性が高くなる後方部Bにおける中高領域である上層吸収体41に横溝5が設けられているため、吸収性本体11全体で剛性が均一化して、スムーズに湾曲する。
また、横溝5が複数個のドット状溝51の集合体から形成されているため、横溝5の幅(吸収性物品長手方向に沿う長さ)が長手方向に振幅する(幅が広い部分、狭い部分が形成される)ため、溝の存在による違和感を感じにくい。
第1実施形態においては、吸収体4の上面側に、更に、図7に示すように、横溝5を縦断するように長手方向に直線状に延びる1本又は複数本の縦溝52を設けることができる。図7に示す形態においては、縦溝52の本数は1本であるが、2本以上設けることができる。
図7に示す吸収体4は、長手方向の湾曲性に優れているのみならず、縦溝52を有しているため、図7(b)及び(c)に示すように、縦溝52を屈曲点として吸収体4が幅方向にも湾曲し易い。
また、第1実施形態においては、上面が平滑状の吸収体素材に、エンボス加工等の溝加工を施すことにより、上面に横溝5を有する吸収体4を形成しているが、上面に横溝5を有する吸収体4は、例えば、初めから上面に横溝5を有する形状で形成してもよい。
また、吸収体4は、蛇腹状シートを用いて形成することもできる。次に、蛇腹状シートを用いて形成された吸収体4を有する第2実施形態の生理用ナプキンについて説明する。第2実施形態については、第1実施形態と異なる点を中心に説明する。特に説明しない点については、第1実施形態についての説明が適宜適用される。同じ部材については同じ符号を付し、説明を省略する。
第2実施形態の生理用ナプキン1においては、図8に示すように、吸収体4は、少なくともその上面側が、上下で交互に屈曲した蛇腹状シート43から形成されており、蛇腹状シート43における凹部43Aから横溝52が形成されている。本実施形態においては、吸収体4は、上層吸収体41及び下層吸収体42からなる2層構造を有しており、蛇腹状シート43から上層吸収体41が形成されている。第2実施形態における横溝5は、蛇腹状シート43における凹部43Aから形成されているため、幅方向に連続的な溝である。このような蛇腹状シート43により形成される横溝5を有する吸収体4は、吸収体4(吸収性本体11)の柔らかさを重視するときに好ましく採用される。
蛇腹状シート43の形成方法には制限はないが、例えば、図9に示す方法で形成することができる。図9に示すように、蛇腹状シート43の高さとほぼ同じ高さを有する空間Nが形成されるように、上下にブロックN1,N2を配置する。この空間N内に、蛇腹状シート43の素材シートを速度v1で導入する。そして、速度v1で導入された素材シートを、導入速度v1よりも遅い速度v2で空間Nから排出する。その結果、空間N内において、導入速度v1と排出速度v2との速度差(v1>v2)により、素材シートが導入方向(図9における左右方向)に少しずつ押圧され、上下に交互に屈曲した蛇腹状シート43が得られる。蛇腹状シート43の蛇腹形状は、空間Nの高さや、導入速度v1及び排出速度v2、両速度の速度差等を変更することにより、適宜変更することができる。
本発明の吸収性物品における横溝5は、吸収性本体11の長手方向の湾曲性を向上させるためのものであるため、全く曲がっていない直線状(幾何学上の直線状)であることが好ましい。而して、横溝5の幅(幅方向の長さ)が短い場合には、多少曲がっていても吸収性本体11の長手方向の湾曲性を阻害することはないため、以下に示す範囲内で曲がっていてもよい。
具体的には、図10に示すように、横溝5は、その幅(吸収性物品幅方向に沿う長さ)Wが40mm以内の場合においては、該幅Wに対する長さ(吸収性物品長手方向の幅)Lの比(L/W)が0.25以下であればよい。
本発明の吸収性物品は、前述した実施形態に制限されることなく、適宜変更が可能である。
本発明の吸収性物品は、生理用ナプキンに制限されず、パンティライナー(おりものシート)、失禁パッド等にも適用することができる。装着される下着は、ショーツに制限されない。
吸収体は単層構造でもよい。第2実施形態の場合には蛇腹状シート43のみから吸収体4が形成されることになる。
また、吸収体は、単体の状態で(表面シートで被覆されていない状態で)、その上面側からエンボス加工を施すことができる。その場合、横溝は表面シートからは視認できないが、第1実施形態のような表面シートと共にエンボス加工を施した形態と同様の効果が奏される。
前述の実施形態においては、吸収体4の厚みは巨視的にみて一定であったが、本発明においては、吸収体の厚みを後端部に向けて厚くすることができる。このように厚みが後端部に向けて厚くなっている吸収体を備えた吸収性物品によれば、装着時に吸収性本体の後方部が着用者の股下部に接触し易くなり、更に好ましい。吸収体の厚みを後端部に向けて単に厚くしただけでは、吸収性本体の後方部の剛性が高くなり、フィット性が低下するため好ましくないが、本発明によれば、吸収体の上面側に横溝を設けることにより、吸収体の厚みを後端部に向けて厚くしても、吸収性本体の後方部には十分な湾曲性が得られる。
また、吸収性本体においては、後方部における湾曲性が特に要求される。そのため、第1実施形態のように、後方部Bのみに横溝5が設けられていても十分に所望の効果が得られるが、横溝の形成位置には制限はない。横溝5は、例えば、前方部Cから後方部Bに亘って設けることができ、排泄ポイントAから後方部Bに亘って設けることができ、排泄ポイントAのみに設けることができる。
横溝は、幅方向に連続的に形成されているものでもよい。
図1は、本発明の吸収性物品の第1実施形態としての生理用ナプキンを示す平面図である。 図2は、図1に示す生理用ナプキンの斜視図である。 図3は、図1に示すIII−III断面図である。 図4は、図1に示す生理用ナプキンにおける吸収体を示す模式図で、(a)は平面図、(b)は(a)に示すB−B断面図である。 図5は、図4に示す吸収体の形成方法を示す模式図である。 図6は、図4に示す吸収体の後方部側を模式的に示す断面図〔図4(b)対応図〕で、(a)は湾曲していない状態を示す図、(b)は湾曲状態を示す図である。 図7は、第1実施形態における吸収体の変形例を示す模式図で、(a)は平面図〔図4(a)対応図〕、(b)は(a)に示すB−B断面図、(c)は湾曲状態を示す断面図である。 図8は、第2実施形態における吸収体を幅方向中央部で切断した縦断面模式図〔図4(b)対応図〕である。 図9は、第2実施形態における吸収体の蛇腹状シートの形成方法を示す模式図である。 図10は、横溝の形状の説明に用いる図である。
符号の説明
1 生理用ナプキン(吸収性物品)
11 吸収性本体
12 ウイング部
13 エンドシール部
14 中央シール部
14A 第1中央シール部
14B 第2中央シール部
15 防漏壁
16 サイドフラップ
2 表面シート
3 裏面シート
4 吸収体
41 上層吸収体
42 下層吸収体
43 蛇腹状シート
43A 凹部
5 横溝
51 ドット状溝
52 縦溝
A 排泄ポイント
B 後方部
C 前方部

Claims (11)

  1. 表面シート、裏面シート及び両シート間に介在配置された吸収体を備えた縦長の吸収性本体を有する吸収性物品であって、
    前記吸収体は、その上面側に、幅方向に延びる複数本の横溝が長手方向に所定ピッチで設けられている吸収性物品。
  2. 前記横溝は、前記吸収性本体における幅方向中央部に設けられている請求項1記載の吸収性物品。
  3. 前記吸収体は、上層吸収体及び下層吸収体からなる2層構造を有しており、該上層吸収体に前記横溝が設けられている請求項1又は2に記載の吸収性物品。
  4. 前記横溝は、前記吸収体にエンボス加工を施すことにより形成されている請求項1〜3の何れかに記載の吸収性物品。
  5. 前記横溝は、複数個のドット状溝の集合体から形成されている請求項1〜4の何れかに記載の吸収性物品。
  6. 前記吸収体は、その上面側に、前記横溝を縦断するように長手方向に直線状に延びる1本又は複数本の縦溝が設けられている請求項1〜5の何れかに記載の吸収性物品。
  7. 前記吸収体は、少なくともその上面側が、上下で交互に屈曲した蛇腹状シートから形成されており、該蛇腹状シートにおける凹部から前記横溝が形成されている請求項1又は2に記載の吸収性物品。
  8. 前記吸収体は、上層吸収体及び下層吸収体からなる2層構造を有しており、前記蛇腹状シートから該上層吸収体が形成されている請求項7記載の吸収性物品。
  9. 前記横溝は、前記吸収性本体における排泄ポイントよりも後方側の後方部に設けられている請求項1〜8の何れかに記載の吸収性物品。
  10. 前記吸収体は、その後端部に向けて厚みが厚くなっている請求項1〜9の何れかに記載の吸収性物品。
  11. 前記上層吸収体は、合成繊維を主体として形成されている請求項1〜10の何れかに記載の吸収性物品。

JP2005200909A 2005-07-08 2005-07-08 吸収性物品 Expired - Fee Related JP4540563B2 (ja)

Priority Applications (1)

Application Number Priority Date Filing Date Title
JP2005200909A JP4540563B2 (ja) 2005-07-08 2005-07-08 吸収性物品

Applications Claiming Priority (1)

Application Number Priority Date Filing Date Title
JP2005200909A JP4540563B2 (ja) 2005-07-08 2005-07-08 吸収性物品

Publications (2)

Publication Number Publication Date
JP2007014635A true JP2007014635A (ja) 2007-01-25
JP4540563B2 JP4540563B2 (ja) 2010-09-08

Family

ID=37752297

Family Applications (1)

Application Number Title Priority Date Filing Date
JP2005200909A Expired - Fee Related JP4540563B2 (ja) 2005-07-08 2005-07-08 吸収性物品

Country Status (1)

Country Link
JP (1) JP4540563B2 (ja)

Cited By (6)

* Cited by examiner, † Cited by third party
Publication number Priority date Publication date Assignee Title
JP2009100846A (ja) * 2007-10-22 2009-05-14 Kao Corp 吸収性物品
JP2011136015A (ja) * 2009-12-28 2011-07-14 Daio Paper Corp 吸収性物品
JP2014198088A (ja) * 2013-03-29 2014-10-23 ユニ・チャーム株式会社 吸収性物品
WO2017163492A1 (ja) * 2016-03-23 2017-09-28 ユニ・チャーム株式会社 吸収性物品
JP2018099459A (ja) * 2016-12-21 2018-06-28 日本製紙クレシア株式会社 吸収性物品
US11197786B2 (en) 2016-01-26 2021-12-14 Daio Paper Corporation Absorbent article

Families Citing this family (32)

* Cited by examiner, † Cited by third party
Publication number Priority date Publication date Assignee Title
ES2314137T3 (es) 2003-02-12 2009-03-16 THE PROCTER & GAMBLE COMPANY Pañal comodo.
EP2177188B1 (en) 2003-02-12 2015-11-04 The Procter and Gamble Company Absorbent Core For An Absorbent Article
EP2329803B1 (en) 2009-12-02 2019-06-19 The Procter & Gamble Company Apparatus and method for transferring particulate material
EP2717822B1 (en) 2011-06-10 2019-06-05 The Procter and Gamble Company Absorbent core for disposable absorbent articles
BR112013031707B1 (pt) 2011-06-10 2020-11-17 The Procter & Gamble Company fraldas descartáveis
DE202012013608U1 (de) 2011-06-10 2018-04-30 The Procter & Gamble Company Absorptionsstruktur für Absorptionsartikel
BR112013030593B1 (pt) 2011-06-10 2021-02-17 The Procter & Gamble Company estrutura absorvente para artigos absorventes
EP2532329B1 (en) 2011-06-10 2018-09-19 The Procter and Gamble Company Method and apparatus for making absorbent structures with absorbent material
PL2532332T5 (pl) 2011-06-10 2018-07-31 The Procter And Gamble Company Pieluszka jednorazowego użytku o zredukowanym połączeniu pomiędzy wkładem chłonnym a warstwą spodnią
PL2532328T3 (pl) 2011-06-10 2014-07-31 Procter & Gamble Sposób i urządzenie do wytworzenia struktur chłonnych z materiałem chłonnym
EP2919737B1 (en) 2012-11-13 2018-12-26 The Procter and Gamble Company Absorbent articles with channels and signals
EP2740450B1 (en) 2012-12-10 2025-12-31 The Procter & Gamble Company Absorbent core with a high content of superabsorbent material
EP2740452B1 (en) 2012-12-10 2021-11-10 The Procter & Gamble Company Absorbent article with high absorbent material content
EP2740449B1 (en) 2012-12-10 2019-01-23 The Procter & Gamble Company Absorbent article with high absorbent material content
US10639215B2 (en) 2012-12-10 2020-05-05 The Procter & Gamble Company Absorbent articles with channels and/or pockets
EP2813201B1 (en) 2013-06-14 2017-11-01 The Procter and Gamble Company Absorbent article and absorbent core forming channels when wet
MX2016002608A (es) 2013-08-27 2016-06-17 Procter & Gamble Articulos absorbentes con canales.
US9987176B2 (en) 2013-08-27 2018-06-05 The Procter & Gamble Company Absorbent articles with channels
US11207220B2 (en) 2013-09-16 2021-12-28 The Procter & Gamble Company Absorbent articles with channels and signals
RU2636366C2 (ru) 2013-09-16 2017-11-22 Дзе Проктер Энд Гэмбл Компани Абсорбирующие изделия с каналами и индицирующими элементами
EP2851048B1 (en) 2013-09-19 2018-09-05 The Procter and Gamble Company Absorbent cores having material free areas
US9789009B2 (en) 2013-12-19 2017-10-17 The Procter & Gamble Company Absorbent articles having channel-forming areas and wetness indicator
EP2886092B1 (en) 2013-12-19 2016-09-14 The Procter and Gamble Company Absorbent cores having channel-forming areas and c-wrap seals
EP2905001B1 (en) 2014-02-11 2017-01-04 The Procter and Gamble Company Method and apparatus for making an absorbent structure comprising channels
EP2949300B1 (en) 2014-05-27 2017-08-02 The Procter and Gamble Company Absorbent core with absorbent material pattern
JP2018508292A (ja) 2015-03-16 2018-03-29 ザ プロクター アンド ギャンブル カンパニー 改善されたコアを有する吸収性物品
RU2017133027A (ru) 2015-03-16 2019-04-16 Дзе Проктер Энд Гэмбл Компани Абсорбирующие изделия повышенной прочности
WO2016183304A1 (en) 2015-05-12 2016-11-17 The Procter & Gamble Company Absorbent article with improved core-to-backsheet adhesive
CN107683126A (zh) 2015-05-29 2018-02-09 宝洁公司 具有槽和润湿指示标记的吸收制品
EP3167859B1 (en) 2015-11-16 2020-05-06 The Procter and Gamble Company Absorbent cores having material free areas
EP3238678B1 (en) 2016-04-29 2019-02-27 The Procter and Gamble Company Absorbent core with transversal folding lines
EP3238676B1 (en) 2016-04-29 2019-01-02 The Procter and Gamble Company Absorbent core with profiled distribution of absorbent material

Citations (7)

* Cited by examiner, † Cited by third party
Publication number Priority date Publication date Assignee Title
JPH0584262A (ja) * 1991-01-04 1993-04-06 Johnson & Johnson Inc 高吸収性・可撓性セルロースパルプ毛羽立ちシート
JP2002065741A (ja) * 2000-08-29 2002-03-05 Kao Corp 吸収性物品
JP2002512849A (ja) * 1998-04-27 2002-05-08 ザ、プロクター、エンド、ギャンブル、カンパニー 三次元形吸収性製品を個別包装する方法
JP2003230592A (ja) * 2002-02-08 2003-08-19 Daio Paper Corp 生理用ナプキン
JP2003230593A (ja) * 2002-02-12 2003-08-19 Daio Paper Corp 生理用ナプキン
JP2003528654A (ja) * 1999-10-14 2003-09-30 キンバリー クラーク ワールドワイド インコーポレイテッド 成型セルロース系ウェブを備える吸収性物品
JP2004057413A (ja) * 2002-07-26 2004-02-26 Kao Corp 立位での装着が容易なおむつ

Patent Citations (7)

* Cited by examiner, † Cited by third party
Publication number Priority date Publication date Assignee Title
JPH0584262A (ja) * 1991-01-04 1993-04-06 Johnson & Johnson Inc 高吸収性・可撓性セルロースパルプ毛羽立ちシート
JP2002512849A (ja) * 1998-04-27 2002-05-08 ザ、プロクター、エンド、ギャンブル、カンパニー 三次元形吸収性製品を個別包装する方法
JP2003528654A (ja) * 1999-10-14 2003-09-30 キンバリー クラーク ワールドワイド インコーポレイテッド 成型セルロース系ウェブを備える吸収性物品
JP2002065741A (ja) * 2000-08-29 2002-03-05 Kao Corp 吸収性物品
JP2003230592A (ja) * 2002-02-08 2003-08-19 Daio Paper Corp 生理用ナプキン
JP2003230593A (ja) * 2002-02-12 2003-08-19 Daio Paper Corp 生理用ナプキン
JP2004057413A (ja) * 2002-07-26 2004-02-26 Kao Corp 立位での装着が容易なおむつ

Cited By (8)

* Cited by examiner, † Cited by third party
Publication number Priority date Publication date Assignee Title
JP2009100846A (ja) * 2007-10-22 2009-05-14 Kao Corp 吸収性物品
JP2011136015A (ja) * 2009-12-28 2011-07-14 Daio Paper Corp 吸収性物品
JP2014198088A (ja) * 2013-03-29 2014-10-23 ユニ・チャーム株式会社 吸収性物品
US11197786B2 (en) 2016-01-26 2021-12-14 Daio Paper Corporation Absorbent article
WO2017163492A1 (ja) * 2016-03-23 2017-09-28 ユニ・チャーム株式会社 吸収性物品
JP2017169804A (ja) * 2016-03-23 2017-09-28 ユニ・チャーム株式会社 吸収性物品
CN108883012A (zh) * 2016-03-23 2018-11-23 尤妮佳股份有限公司 吸收性物品
JP2018099459A (ja) * 2016-12-21 2018-06-28 日本製紙クレシア株式会社 吸収性物品

Also Published As

Publication number Publication date
JP4540563B2 (ja) 2010-09-08

Similar Documents

Publication Publication Date Title
JP4540563B2 (ja) 吸収性物品
US7550646B2 (en) Absorbent article with resilient portion and method for manufacturing the same
JP4401309B2 (ja) 吸収性物品
US7196241B2 (en) Sanitary napkin with compressed grooves
JP4058281B2 (ja) 吸収性物品
JP5108380B2 (ja) 吸収性物品
JP5305812B2 (ja) 吸収性物品
RU2396931C2 (ru) Впитывающее изделие
JP4173723B2 (ja) 吸収性物品
KR101034829B1 (ko) 흡수성 물품
US20050148971A1 (en) Elongated absorbent article
JP5710956B2 (ja) 生理用ナプキン
EP2151220A1 (en) Absorptive article
JPH1099372A (ja) 吸収性物品
JP4877850B2 (ja) 吸収性物品
KR102592392B1 (ko) 흡수성 물품
JP2012120792A5 (ja)
JP2019024947A (ja) 吸収性物品
JP6396547B1 (ja) 吸収性物品
JP5053571B2 (ja) 多数のマイクロエンボシングから構成されたマクロエンボシングを備えるよれ及び漏れ防止機能と審美的効果が増大した吸収製品
JP2009201760A (ja) 吸収性物品の表面材
US6592563B2 (en) Absorbent article having leakage preventing sidewalls on latitudinal sides of the liquid receiving side
JP2005323904A (ja) 吸収性物品
WO2019181813A1 (ja) 吸収性物品
JP4467405B2 (ja) 生理用ナプキン

Legal Events

Date Code Title Description
A621 Written request for application examination

Free format text: JAPANESE INTERMEDIATE CODE: A621

Effective date: 20080422

A977 Report on retrieval

Free format text: JAPANESE INTERMEDIATE CODE: A971007

Effective date: 20091028

A131 Notification of reasons for refusal

Free format text: JAPANESE INTERMEDIATE CODE: A131

Effective date: 20091104

A521 Request for written amendment filed

Free format text: JAPANESE INTERMEDIATE CODE: A523

Effective date: 20091225

TRDD Decision of grant or rejection written
A01 Written decision to grant a patent or to grant a registration (utility model)

Free format text: JAPANESE INTERMEDIATE CODE: A01

Effective date: 20100622

A01 Written decision to grant a patent or to grant a registration (utility model)

Free format text: JAPANESE INTERMEDIATE CODE: A01

A61 First payment of annual fees (during grant procedure)

Free format text: JAPANESE INTERMEDIATE CODE: A61

Effective date: 20100622

R151 Written notification of patent or utility model registration

Ref document number: 4540563

Country of ref document: JP

Free format text: JAPANESE INTERMEDIATE CODE: R151

FPAY Renewal fee payment (event date is renewal date of database)

Free format text: PAYMENT UNTIL: 20130702

Year of fee payment: 3

R250 Receipt of annual fees

Free format text: JAPANESE INTERMEDIATE CODE: R250

R250 Receipt of annual fees

Free format text: JAPANESE INTERMEDIATE CODE: R250

R250 Receipt of annual fees

Free format text: JAPANESE INTERMEDIATE CODE: R250

R250 Receipt of annual fees

Free format text: JAPANESE INTERMEDIATE CODE: R250

R250 Receipt of annual fees

Free format text: JAPANESE INTERMEDIATE CODE: R250

R250 Receipt of annual fees

Free format text: JAPANESE INTERMEDIATE CODE: R250

R250 Receipt of annual fees

Free format text: JAPANESE INTERMEDIATE CODE: R250

R250 Receipt of annual fees

Free format text: JAPANESE INTERMEDIATE CODE: R250

R250 Receipt of annual fees

Free format text: JAPANESE INTERMEDIATE CODE: R250

R250 Receipt of annual fees

Free format text: JAPANESE INTERMEDIATE CODE: R250

LAPS Cancellation because of no payment of annual fees