JP2006264352A - 車両用内装体およびこれに用いられるスピーカ - Google Patents

車両用内装体およびこれに用いられるスピーカ Download PDF

Info

Publication number
JP2006264352A
JP2006264352A JP2005080942A JP2005080942A JP2006264352A JP 2006264352 A JP2006264352 A JP 2006264352A JP 2005080942 A JP2005080942 A JP 2005080942A JP 2005080942 A JP2005080942 A JP 2005080942A JP 2006264352 A JP2006264352 A JP 2006264352A
Authority
JP
Japan
Prior art keywords
speaker
protective cover
diaphragm
interior body
vehicle interior
Prior art date
Legal status (The legal status is an assumption and is not a legal conclusion. Google has not performed a legal analysis and makes no representation as to the accuracy of the status listed.)
Pending
Application number
JP2005080942A
Other languages
English (en)
Inventor
Mitsuhiro Hasegawa
満裕 長谷川
Current Assignee (The listed assignees may be inaccurate. Google has not performed a legal analysis and makes no representation or warranty as to the accuracy of the list.)
Panasonic Holdings Corp
Original Assignee
Matsushita Electric Industrial Co Ltd
Priority date (The priority date is an assumption and is not a legal conclusion. Google has not performed a legal analysis and makes no representation as to the accuracy of the date listed.)
Filing date
Publication date
Application filed by Matsushita Electric Industrial Co Ltd filed Critical Matsushita Electric Industrial Co Ltd
Priority to JP2005080942A priority Critical patent/JP2006264352A/ja
Priority to PCT/JP2006/305339 priority patent/WO2006101022A1/ja
Publication of JP2006264352A publication Critical patent/JP2006264352A/ja
Pending legal-status Critical Current

Links

Images

Classifications

    • HELECTRICITY
    • H04ELECTRIC COMMUNICATION TECHNIQUE
    • H04RLOUDSPEAKERS, MICROPHONES, GRAMOPHONE PICK-UPS OR LIKE ACOUSTIC ELECTROMECHANICAL TRANSDUCERS; ELECTRIC HEARING AIDS; PUBLIC ADDRESS SYSTEMS
    • H04R1/00Details of transducers, loudspeakers or microphones
    • H04R1/02Casings; Cabinets ; Supports therefor; Mountings therein
    • BPERFORMING OPERATIONS; TRANSPORTING
    • B60VEHICLES IN GENERAL
    • B60JWINDOWS, WINDSCREENS, NON-FIXED ROOFS, DOORS, OR SIMILAR DEVICES FOR VEHICLES; REMOVABLE EXTERNAL PROTECTIVE COVERINGS SPECIALLY ADAPTED FOR VEHICLES
    • B60J5/00Doors
    • B60J5/04Doors arranged at the vehicle sides
    • B60J5/0412Lower door structure
    • B60J5/0413Inner panel, e.g. characterised by carrying components
    • BPERFORMING OPERATIONS; TRANSPORTING
    • B60VEHICLES IN GENERAL
    • B60RVEHICLES, VEHICLE FITTINGS, OR VEHICLE PARTS, NOT OTHERWISE PROVIDED FOR
    • B60R11/00Arrangements for holding or mounting articles, not otherwise provided for
    • B60R11/02Arrangements for holding or mounting articles, not otherwise provided for for radio sets, television sets, telephones, or the like; Arrangement of controls thereof
    • B60R11/0217Arrangements for holding or mounting articles, not otherwise provided for for radio sets, television sets, telephones, or the like; Arrangement of controls thereof for loud-speakers
    • BPERFORMING OPERATIONS; TRANSPORTING
    • B60VEHICLES IN GENERAL
    • B60RVEHICLES, VEHICLE FITTINGS, OR VEHICLE PARTS, NOT OTHERWISE PROVIDED FOR
    • B60R11/00Arrangements for holding or mounting articles, not otherwise provided for
    • B60R2011/0001Arrangements for holding or mounting articles, not otherwise provided for characterised by position
    • B60R2011/0003Arrangements for holding or mounting articles, not otherwise provided for characterised by position inside the vehicle
    • B60R2011/0019Side or rear panels
    • B60R2011/0021Doors
    • HELECTRICITY
    • H04ELECTRIC COMMUNICATION TECHNIQUE
    • H04RLOUDSPEAKERS, MICROPHONES, GRAMOPHONE PICK-UPS OR LIKE ACOUSTIC ELECTROMECHANICAL TRANSDUCERS; ELECTRIC HEARING AIDS; PUBLIC ADDRESS SYSTEMS
    • H04R2499/00Aspects covered by H04R or H04S not otherwise provided for in their subgroups
    • H04R2499/10General applications
    • H04R2499/13Acoustic transducers and sound field adaptation in vehicles

Landscapes

  • Engineering & Computer Science (AREA)
  • Physics & Mathematics (AREA)
  • Acoustics & Sound (AREA)
  • Signal Processing (AREA)
  • Mechanical Engineering (AREA)
  • Fittings On The Vehicle Exterior For Carrying Loads, And Devices For Holding Or Mounting Articles (AREA)
  • Details Of Audible-Bandwidth Transducers (AREA)

Abstract

【課題】車両部品のモジュール化が進行する状況下のスピーカ、及びそれを組付けた車両用内装体に関するものであり、移動時に大きく開放されたスピーカの振動板前面開口部、或いは振動板後面開口部への他の部品の接触で、振動板の変形、破損による異常音発生という問題点を解決するために、スピーカの振動板を保護する構造を設けたスピーカ、及びそれを組付けた車両用内装体を提供する。
【解決手段】振動板の前面及び後面開口部65、66のうち、少なくとも後面開口部66に最長部が5mm以下の孔を配列させ、開口率が35%から75%である保護カバー68をフレーム61に形成した構成のスピーカ、及びそれを組付けた車両モジュール部品で、振動板の変形・破壊を防止でき、スピーカの性能を維持できるとともに、車両組付け工数の効率化が図れる。
【選択図】図2

Description

本発明は車両用の音響装置を搭載した車両用内装体に関するものである。
従来の車両用内装体を図10〜図13により説明する。図10は車両用ドアのインナーパネルにスピーカを装着する状態の説明図であり、図11(a)は要部内装材であるドアトリムの正面図であり、図11(b)は同背面図であり、図12(a)は同要部であるスピーカの正面図であり、図12(b)は同側面図であり、図12(c)は同背面図であり、図13(a)は要部のインナーパネルに所定部品を組み付けた状態の正面図であり、図13(b)はこの要部のインナーパネルをドアに組み付けた状態を説明する正面図であり、図13(c)は更にドアトリムを装着した状態を示した正面図である。
同図によると、1は車両ボディーにヒンジ部2を介して回動自在に装着されたドア要部であり、外板3、ドアインナーパネル4で構成されている。5は前記ドアインナーパネル4にスクリュー6で固定された窓ガラス7を開閉する昇降機であり、8はドアロック開閉用のレバーとワイヤーである。前記ドアインナーパネル4に設けられた取り付け孔9にスピーカ10がスクリュー11で挿入固定される。電気信号を供給するワイヤーハーネス12を前記スピーカ10に接続し、スピーカ10前面部に図11(a)、(b)に示すグリル開口部13を有する内装部材のドアトリム14をドア内面に固定してドア部の完成である。なお15は窓ガラス7昇降用スイッチを設けた操作盤である。
次に要部であるスピーカについて、図12(a)〜(c)により詳述すると、16はスピーカ全体を支えるフレームで、前記ドアインナーパネル4への組付け孔17a、17b、17cを有する。18は音を放射する振動板、19はフレームに固定された磁気回路、20は振動板の前面開口部、21は振動板の後面開口部、22は前記磁気回路19をフレーム16に固定するアーム部である。前記アーム部22は振動板18の振動を阻害しないように、また振動板18が放射する音がスムーズに放射するように、更に磁気回路19の振動を抑制するようにできるだけ幅を狭くし、かつ曲げ剛性が大きな断面形状を成している。したがってスピーカ10の振動板18の前面及び後面開口部は大きく開放されている。なお、23はフレーム16の背面部に設け、ドア外部から内部に侵入する水滴から振動板18などの振動系、部品を保護する下方に開かれた半円筒状の防水カバーであり、24は前記防水カバー23の外周部にあって、前記ドアインナーパネル4に組付けた状態で水滴の侵入を防止する発泡材からなるシールクッションであり、25はドアトリム背面のグリル開口部13の周辺に押し当てて音響的気密性を保つ前面クッションである。
しかしながら、最近の車両用スピーカの組付け方法は部品のモジュール化が推進され、ドア部や計器取り付けパネル部に導入されつつある。即ち、図13(a)に示すように、ドアインナーパネルモジュール部品30はドアインナーパネル31にドアロック開閉機構32やスピーカ10を組付けた状態で、図13(b)に示すようにドアに組付けられ、図13(c)のドアトリム14をドアに固着する組付け方法に変化が起きている。
そして以上のような構成により、スピーカ10は事前に他の大型部品に組付けられて部品のモジュール化が図られている。
なお、この出願の発明に関連する先行技術文献情報としては、例えば、特許文献1が知られている。
特開2002−240560号公報
しかしながら、このような方法ではスピーカを予め組込んだ場合、この組み込まれたユニットの移送時に他の部品と接触し、特にスピーカの振動板18が変形破損することによる異常音の発生等の可能性が憂慮されている。
本発明はこのような可能性を排除したユニットである車両用内装体およびこれに用いられるスピーカを提供するものである。
上記課題を解決するために、本発明の請求項1に記載の車両用内装体は、少なくとも開口部を設けた車両用パネルと、この開口部に組み付けられたスピーカからなる車両用内装体において、スピーカの後部開口を覆う保護カバーを装着したものである。
この保護カバーにより車両用内装体の移送時の他の部品によるスピーカの振動板への接触を防止し、異音の発生や振動板の破損を防止し、ユニットでの組立て工数の削減に寄与できるものである。
本発明の請求項2に記載の車両用内装体は、請求項1に記載の車両用内装体の保護カバーはスピーカ後部に直接装着したものであり、スピーカの製作時に保護カバーの装着が行えるので、スピーカ単体での移送時のスピーカの振動板の保護もできるものである。
本発明の請求項3に記載の車両用内装体は、請求項1に記載の保護カバーを車両用パネルに装着したものであり、車両用内装体の移送時の他の部品によるスピーカの振動板への接触を防止し、異音の発生や振動板の破損を防止し、ユニットでの組立て工数の削減に寄与できるものである。
本発明の請求項4に記載のスピーカは、磁気回路部と、この磁気回路部の磁気ギャップにはめ込まれるボイスコイルを内周に結合した振動板と、この振動板の外周に結合されるとともに前記磁気回路部に結合された樹脂成型により形成されたフレームと、このフレームに装着された前記スピーカの後部開口を覆う最長5mm以下の孔を開口率が35%から70%の範囲になるように複数配列した保護カバーとで構成した請求項1に記載の車両用内装体に用いられるスピーカであり、スピーカ単体での移送時や車両用内装体への組込み後の移送時の他の部品によるスピーカの振動板への接触を防止し、異音の発生や振動板の破損を防止し、ユニットでの組立て工数の削減に寄与できるとともに、保護カバーの開口率を35%から70%の範囲としてスピーカの振動板駆動時の後方への空気振動の制動による音響特性の劣化を抑制したものである。
本発明の請求項5に記載のスピーカは開口率を35%から55%に設定した請求項4に記載の車両用内装体用のスピーカであり、フレーム強度を充分確保しつつ、音響特性の劣化を抑制したものである。
本発明の請求項6に記載のスピーカは、孔の周辺の保護カバーの厚みを孔の大きさの1/2以下とした請求項4または請求項5に記載の車両用内装体用のスピーカであり、保護カバーの音負荷を低減して、音響特性の劣化を抑制したものである。
本発明の請求項7に記載の車両用内装体は、請求項1に記載の車両用内装体の保護カバーを網目状またはピッチ間隔5mm以下の孔で、開口率が55%以上としたものであり、保護カバーの音負荷を低減して、音響特性の劣化を抑制したものである。
本発明の請求項8に記載の車両用内装体は、請求項7に記載の車両用内装体の保護カバーは網目状金属で形成したものであり、保護カバーの音負荷を低減して、音響特性の劣化を抑制するとともに、保護カバーの軽量化に寄与できるものである。
本発明の請求項9に記載の車両用内装体は、請求項1に記載の内装体の保護カバーを布で形成したものであり、保護カバーの音負荷を低減して、音響特性の劣化を抑制するとともに、保護カバーの軽量化に寄与できるものである。
本発明の請求項10に記載のスピーカは、磁気回路部と、この磁気回路部の磁気ギャップにはめ込まれるボイスコイルを内周に結合した振動板と、この振動板の外周に結合されるとともに前記磁気回路部に結合されたフレームと、樹脂成型により形成されたフレームと、このフレームに前記スピーカの後部開口を覆う5mm以下のスリット幅とスリット周辺の厚みをこのスリット幅の1/2以下とした保護カバーとで構成した請求項1に記載の車両用内装体に用いる車両用内装体用スピーカであり、スピーカ単体での移送時や車両用内装体への組込み後の移送時の他の部品によるスピーカの振動板への接触を防止し、異音の発生や振動板の破損を防止し、ユニットでの組立て工数の削減に寄与できるとともに、スリット状の孔とすることで開口率を丸孔より大きくでき、音響性能の向上が図れるものである。
本発明の請求項11に記載のスピーカは、請求項10記載の車両用内装体用スピーカの保護カバーにおいて、5mm以下の孔径と5mm以下のスリットを併用し、更に孔およびスリット周辺の厚みを孔径またはスリット幅の1/2以下としたものであり、丸孔形状とスリットの併用により、適度な開口率の保護カバーの選択を可能とするものである。
以上のように本発明による車両用内装体は、組み込まれたスピーカを保護することで車両用内装体としての品質を維持するとともに、これを前提とした車両組立の品質の維持、生産性の向上に寄与できる実用価値の高いものである。
(実施の形態1)
以下、実施の形態1を用いて、本発明の特に請求項1〜9に記載の発明について説明する。
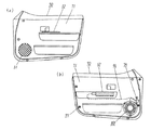
図1(a)は本発明の車両用内装体であるスピーカ等を組み付けたドアインナーモジュールパネルの正面図、図1(b)は同車両用内装体が取り付けられた状態のドア要部外観図、図1(c)はドアトリムを装着した状態のドア要部外観図であり、図2(a)は同要部であるスピーカの正面図であり、図2(b)は同側面図、図2(c)は同背面図である。図3は、要部である保護カバーの構成と開口率の関係を示すグラフであり、図4(a)は要部である保護カバーの展開例の側面図であり、図4(b)は同背面図であり、図5(a)は要部である保護カバーの他の展開例の側面図であり、図5(b)は同背面図であり、図6(a)は要部である他の展開例のスピーカの正面図であり、図6(b)は同側面図、図6(c)は同背面図である。
同図において、40はドアインナーパネルモジュール部品を示し、ドアインナーパネル41にはドア開閉用レバー42やワイヤー43、窓ガラス昇降機44とともにスピーカ60がリベットやスクリューなどの機械的手段45で固着され、スピーカのオーディオ信号を伝えるワイヤーハーネス46が接続されて構成されている。
なお、図1(b)に示すように、前記ドアインナーパネルモジュール部品40はドア側のインナーパネル47へスクリュー等の機械的手段48で固定される。
50はドアトリムであり、その表面にはスピーカの前面に配置されるグリル開口部51を有し、ドアミラー調整用スイッチや窓ガラス昇降用スイッチの操作盤52が装着され、このドアトリム50を前記インナーパネル47へクリップやスクリューなどの機械的手段で固定している。
図2により、要部であるスピーカの詳細を述べる。前記スピーカ60はスピーカ全体を支えるフレーム61に設けた組付け孔62a、62b、62cを有し、前記ドアインナーパネルモジュール部品40へスクリューなど機械的手段48で固定されている。63は音を放射する振動板、64は前記フレーム61に固定された磁気回路、65、66は前記振動板63の前面開口部、後面開口部で、それぞれの開口部に設けられた振動板63を保護している前面保護カバー67、後面保護カバー68が形成されている。前記の前面開口部65に設けた前面保護カバー67は布、樹脂、或いは金属の孔開きパネルや網目状金属で構成し、それぞれの材質・形成手段に応じた開口率を採用し、可能な限り大きな開口率を設定する。一方、後面保護カバー68に配列された孔は孔の径が約5mm以下であり、かつ孔周辺の材料の厚さを孔径の二分の一以下に設定し、開口率を35%から55%に大きく設定して形成されている。なお、23は防水カバー、24はシールクッション、25は前面クッションである。
69は前記磁気回路64を固定するフレーム61のアーム部であり、幅を狭くして、かつ曲げ剛性が大きな断面形状に設定して前記後面保護カバー68と一体成型されている。材質は樹脂が好ましいが、厚さが樹脂より薄くできるために音響的負荷を低減できる鉄板のような金属板も適用できるものである。
ここで保護カバー67、68の開口率について説明する。スピーカの振動板前後に配置される保護カバー67、68の開口率は大きいほどスピーカ本来の性能が発揮できる点で望ましい。従って、保護目的と音響性能への配慮の観点から設定されるべきである。図3は保護カバーの構成方法と最適な開口率について表したものである。図3によると、保護カバーの構成法、即ち樹脂によるフレームとの一体成型、孔開き金属パネル、或いは樹脂や金属線による網目状構造などの構成法により、その開口率が異なる。
図3の横軸は網目状保護カバーや金属孔開きパネルの線径、幅、又は丸孔間隔寸法を表し、縦軸は開口率を表している。グラフ上の各線は実施可能な網目状金属(樹脂)線の線径、角孔の孔開きパネルの幅や丸孔間隔寸法に設定した状態で、最長部が5mmから3mmの角孔と丸孔を配列させた場合の開口率を示す。
図3から樹脂成型による丸孔を配列した保護カバーの開口率は35%から55%の範囲にあり、開口率の限界は55%程度である。また、網目構造、或いは角孔開口金属パネルからなる保護カバーの開口率は55%から75%になり、開口率の限界は75%程度であることが判る。
以上の設定とすることで、前記振動板63の後面開口部66に設けた保護カバー68及びアーム部69は振動板63が放射する音がスムーズに放射するように開口率を大きく設定し、振動板63の振動を阻害しないようにしており、ドアインナーパネルに組付けられたドアインナーパネルモジュール部品40の状態で移動させても振動板63を他の周辺部品などの突入による破壊や変形から保護することができ、異常音が発生する品質問題の要因を回避できる。またアーム部69は磁気回路64の振動を抑制するようにできるだけ幅を狭くして曲げ剛性が大きな断面形状を成しているために磁気回路に作用する振動を抑制でき、スピーカの性能を十分に発揮できるという効果が得られる。
次に前述の保護カバーの展開例について説明すると、本実施の形態1ではスピーカの背面開口部に設けた保護カバー68をフレームと一体に樹脂成型して形成していたが、別体で形成して開口部に固着してもよく、図4の保護カバー68aは、少なくとも後面開口部においてフレームに固着した孔開きパネルであり、樹脂成型で形成され、ピッチが5mm以下で、開口率が孔開きパネルの場合は55%以上、又は樹脂成型の丸孔配列の場合は35%以上であれば、同様の効果が得られるものである。
また、図5は、少なくとも後面開口部においてフレームに固着した網目状保護カバーを設け、ピッチが5mm以下で、開口率が55%以上である保護カバー68bであり、図6は同スピーカへの装着状態を示している。
これにより、車載用途などのドアインナーパネルに組付けられたモジュール部品、或いはドアトリム等の内装部材に組付けられたモジュール部品を移動させても振動板を他の周辺部品の突入による破壊や変形から保護することができ、異常音が発生する品質問題の要因を回避できるという作用効果が得られる。また、前述の実施形態では、保護カバー67、68はスピーカのフレーム一体または別体のものとして説明したが、ドアインナーパネルとしてドアトリム50側に設けても良い。
(実施の形態2)
以下、実施の形態2を用いて、本発明の特に請求項10〜11に記載の発明について説明する。
図7(a)は、本発明の他の実施の形態の車両用内装体であるドアモジュール部品の正面図であり、図7(b)は同背面図であり、図8はドア要部を示す外観図であり、図9(a)は同要部であるスピーカの正面図、図9(b)は同側面図、図9(c)は同背面図である。
なお、実施の形態1の構成と同様の構成を有するものについては、同一符号を付しその説明を省略する。
同図において、実施の形態1と相違する点は、スピーカ80がモジュール部品に組付けられた場合に、スピーカの前面開口部65に振動板63を保護する内装部品が有るか無いかの違いであり、有る場合は前面開口部65において振動板63を保護するカバーを必要としない点である。70はドアトリムモジュール部品で、ドアトリム71にはドアミラー調整用スイッチや窓ガラス昇降用スイッチの操作盤52が装着され、前記ドアトリムモジュール部品70のグリル開口部51の背面には本案のスピーカ80が装着され、スイッチ類の電気信号、スピーカのオーディオ信号を伝えるワイヤーハーネス74及びその端部のコネクター75が振動して異常音を発生しないように固定され、車両側からのコネクター(図示せず)と接続可能となっている。
前記ドアトリムモジュール部品70は図8の車両のドア外観図に示すドアインナーパネル76にクリップやスクリュー等の機械的手段77で固定される。
次に図9(a)〜(c)に示すようにスピーカ80の詳細を述べると、前記スピーカ80はスピーカ全体を支えるフレーム61に設けた組付け孔62a、62b、62cを有し、前記トリム71へスクリューなど機械的手段77で固定されている。63は音を放射する振動板、64は前記フレーム61に固定された磁気回路、65は前記振動板63の前面開口部、68cは振動板の後面開口部66に設けられ、振動板63を保護している後面保護カバーで、その孔の形状において幅が約5mm以下のスリットであり、孔周辺の材料の厚さは幅の二分の一以下に設定している。なお、従来例、実施の形態1と同じ機能を有する防水カバー23、シールクッション24、前面クッション25には同じ記号を付して説明を省略する。
この構成により、ドアトリムモジュール部品の場合において、スピーカ80の振動板63を後面開口部からの周辺部品の突入による振動板の破壊や変形を防止でき、異常音が発生するという品質課題を防止できるという効果が得られるものである。更に、保護カバー68cの孔形状がスリット形状であるため、開口率が丸孔形状の場合より大きくなり、厚みを周辺部の材厚の二分の一以下に設定するために音響的負荷が小さくできて振動板が排除する空気の抜けが良好となり、制動が除かれて音響性能が発揮されるという効果が得られるものである。なお、孔径5mm以下の丸孔形状と前記スリット形状を適宜併用して配置してもよいことはいうまでもない。
69は前記磁気回路64を固定するフレーム61のアーム部であり、幅を狭くし、かつ曲げ剛性が大きな断面形状に設定して前記後面保護カバー68cと一体樹脂成型されている。
以上のような構成において、前記振動板63の後面開口部66に設けた後面保護カバー68c及びアーム部69は振動板63の振動を阻害しないように、また振動板63が放射する音がスムーズに放射するように開口率を大きく設定しているためにドアトリム等の内装部材に組付けられたモジュール部品を移動させても振動板を他の周辺部品の突入による破壊や変形から保護することができ、異常音が発生する品質問題の要因を回避できるとともに、更にアーム部69は磁気回路64の振動を抑制するようにできるだけ幅を狭くし、かつ曲げ剛性が大きな断面形状を成しているために磁気回路に作用する振動を抑制できスピーカの性能を十分に発揮できるという効果が得られる。
なお、ドアインナーパネル及びドアトリムモジュール部品の場合について説明したが、車両の他の部分におけるモジュール化した車両用内装体の場合にも同様の効果が得られるものであり、スピーカが組付けられてモジュール部品となる全ての車両用内装体の場合にも同様の効果が得られるものである。
なお、実施の形態1、及び2で説明したスピーカは動電型の円形振動板形状であるが、振動板の形状が楕円形やトラック形の細長形状のものもまた、駆動法が異なっても本発明の範疇になるものであることは言うまでもない。
本発明にかかるスピーカ及びそれを組付けた車両用内装体は、振動板を他の周辺部品の突入による破壊や変形から保護することができ、スピーカの性能を維持できるという効果を有し、車両組付け作業の効率化のために有用である。
(a)車両用内装体であるスピーカ等を組み付けたドアインナーモジュールパネルの正面図、(b)同車両用内装体が取り付けられた状態のドア要部外観図、(c)同ドアトリムを装着した状態のドア要部外観図 (a)同要部であるスピーカの正面図、(b)同側面図、(c)同背面図 同要部である保護カバーの構成と開口率の関係を示すグラフ (a)同要部である保護カバーの展開例の側面図、(b)同背面図 (a)同要部である保護カバーの他の展開例の側面図、(b)同背面図 (a)同要部である他の展開例のスピーカの正面図、(b)同側面図、(c)同背面図 (a)本発明の他の実施の形態の車両用内装体であるドアモジュール部品の正面図、(b)同背面図 同ドア要部を示す外観図 (a)同要部であるスピーカの正面図、(b)同側面図、(c)同背面図 従来の車両用ドアのインナーパネルにスピーカを装着する状態の説明図 (a)同要部内装材であるドアトリムの正面図、(b)同背面図 (a)同要部であるスピーカの正面図、(b)同側面図、(c)同背面図 (a)同要部のインナーパネルに所定部品を組み付けた状態の正面図、(b)同要部のインナーパネルをドアに組み付けた状態を説明する正面図、(c)同更にドアトリムを装着した状態を示した正面図
符号の説明
1 ドア要部
3 外板
4、31、41、47、76 ドアインナーパネル
10、60、80 スピーカ
13、51 グリル開口部
14、50 ドアトリム
16、61 フレーム
18、63 振動板
19、64 磁気回路
20、65 前面開口部
21、66 後面開口部
22、69 アーム部
30、40 ドアインナーパネルモジュール部品
67 前面保護カバー
68 後面保護カバー
70 ドアトリムモジュール部品
71 ドアトリム

Claims (11)

  1. 少なくとも開口部を設けた車両用パネルと、この開口部に組み付けられたスピーカからなる車両用内装体において、スピーカの後部開口を覆う保護カバーを装着したことを特徴とする車両用内装体。
  2. 保護カバーはスピーカ後部に直接装着されている請求項1に記載の車両用内装体。
  3. 保護カバーは車両用パネルに装着されたものである請求項1に記載の車両用内装体。
  4. 磁気回路部と、この磁気回路部の磁気ギャップにはめ込まれるボイスコイルを内周に結合した振動板と、この振動板の外周に結合されるとともに前記磁気回路部に結合されたフレームと、樹脂成型により形成されたフレームと、このフレームに前記スピーカの後部開口を覆う5mm以下の孔を開口率が35%から75%の範囲になるように複数配列した保護カバーを設けた請求項1に記載の車両用内装体に用いられる車両用内装体用のスピーカ。
  5. 開口率を35%から55%に設定した請求項4に記載の車両用内装体用のスピーカ。
  6. 孔の周辺の保護カバーの厚みを孔の大きさの1/2以下とした請求項4または請求項5に記載の車両用内装体用のスピーカ。
  7. 保護カバーが網目状またはピッチ間隔5mm以下の孔で、開口率が55%以上である請求項1に記載の車両用内装体。
  8. 保護カバーは網目状金属で形成されている請求項7に記載の車両用内装体。
  9. 保護カバーは布で形成されている請求項1に記載の車両用内装体。
  10. 磁気回路部と、この磁気回路部の磁気ギャップにはめ込まれるボイスコイルを内周に結合した振動板と、この振動板の外周に結合されるとともに前記磁気回路部に結合されたフレームと、樹脂成型により形成されたフレームと、このフレームに前記スピーカの後部開口を覆う5mm以下のスリット幅とスリット周辺の厚みをこのスリット幅の1/2以下とした保護カバーとで構成した請求項1に記載の車両用内装体用のスピーカ。
  11. 5mm以下の孔径と5mm以下のスリットを併用し、孔およびスリット周辺の厚みを孔径またはスリット幅の1/2以下とした保護カバーを用いる請求項10記載の車両用内装体用のスピーカ。
JP2005080942A 2005-03-22 2005-03-22 車両用内装体およびこれに用いられるスピーカ Pending JP2006264352A (ja)

Priority Applications (2)

Application Number Priority Date Filing Date Title
JP2005080942A JP2006264352A (ja) 2005-03-22 2005-03-22 車両用内装体およびこれに用いられるスピーカ
PCT/JP2006/305339 WO2006101022A1 (ja) 2005-03-22 2006-03-17 車両用内装体およびこれに用いられるスピーカ

Applications Claiming Priority (1)

Application Number Priority Date Filing Date Title
JP2005080942A JP2006264352A (ja) 2005-03-22 2005-03-22 車両用内装体およびこれに用いられるスピーカ

Publications (1)

Publication Number Publication Date
JP2006264352A true JP2006264352A (ja) 2006-10-05

Family

ID=37023683

Family Applications (1)

Application Number Title Priority Date Filing Date
JP2005080942A Pending JP2006264352A (ja) 2005-03-22 2005-03-22 車両用内装体およびこれに用いられるスピーカ

Country Status (2)

Country Link
JP (1) JP2006264352A (ja)
WO (1) WO2006101022A1 (ja)

Cited By (2)

* Cited by examiner, † Cited by third party
Publication number Priority date Publication date Assignee Title
JP2014008170A (ja) * 2012-06-28 2014-01-20 Newgin Co Ltd 遊技機
JP2016213613A (ja) * 2015-05-01 2016-12-15 株式会社オーディオテクニカ 開放型ヘッドホン

Families Citing this family (3)

* Cited by examiner, † Cited by third party
Publication number Priority date Publication date Assignee Title
JP6443309B2 (ja) * 2015-11-24 2018-12-26 トヨタ自動車株式会社 車両用ドア
US12221038B2 (en) * 2020-10-27 2025-02-11 Nissan North America, Inc. Vehicle door assembly
EP4090042B1 (en) * 2021-05-12 2025-07-30 Harman Becker Automotive Systems GmbH Cork-leather-covered loudspeaker grille and manufacture method and system

Citations (6)

* Cited by examiner, † Cited by third party
Publication number Priority date Publication date Assignee Title
JPS6159458U (ja) * 1984-09-27 1986-04-22
JPH02143895U (ja) * 1989-05-08 1990-12-06
JPH0366284U (ja) * 1989-10-25 1991-06-27
JPH0872623A (ja) * 1994-09-06 1996-03-19 Suzuki Motor Corp 車両用スピーカの取付構造
JPH0898297A (ja) * 1994-09-29 1996-04-12 Alpine Electron Inc スピーカ
JP2001333477A (ja) * 2000-03-14 2001-11-30 Sawaki:Kk スピーカーボックス

Patent Citations (6)

* Cited by examiner, † Cited by third party
Publication number Priority date Publication date Assignee Title
JPS6159458U (ja) * 1984-09-27 1986-04-22
JPH02143895U (ja) * 1989-05-08 1990-12-06
JPH0366284U (ja) * 1989-10-25 1991-06-27
JPH0872623A (ja) * 1994-09-06 1996-03-19 Suzuki Motor Corp 車両用スピーカの取付構造
JPH0898297A (ja) * 1994-09-29 1996-04-12 Alpine Electron Inc スピーカ
JP2001333477A (ja) * 2000-03-14 2001-11-30 Sawaki:Kk スピーカーボックス

Cited By (2)

* Cited by examiner, † Cited by third party
Publication number Priority date Publication date Assignee Title
JP2014008170A (ja) * 2012-06-28 2014-01-20 Newgin Co Ltd 遊技機
JP2016213613A (ja) * 2015-05-01 2016-12-15 株式会社オーディオテクニカ 開放型ヘッドホン

Also Published As

Publication number Publication date
WO2006101022A1 (ja) 2006-09-28

Similar Documents

Publication Publication Date Title
KR102378475B1 (ko) 차량 스피커 장치
JP4661515B2 (ja) 車両用ドア構造
JP2006264352A (ja) 車両用内装体およびこれに用いられるスピーカ
JP5256081B2 (ja) スピーカの取付構造
JP2009017278A (ja) 車載スピーカ
JP2018008645A (ja) スピーカグリル
US20060245613A1 (en) Sounding body unit for preventing occurrence of abnormal sounds
JPH11225388A (ja) スピーカ
JP4773900B2 (ja) 車両のドア構造
JP2018148398A (ja) ハンズフリー通話補助装置およびハンズフリー通話補助システム
EP1773095B1 (en) Loudspeaker
CN101223815B (zh) 扬声器装置、扬声器装置的安装体及搭载扬声器装置的移动体
JP4962341B2 (ja) 車両のボデー構造
KR101258293B1 (ko) 스피커
JP4403581B2 (ja) 自動車のスピーカ付きアッパーバック構造
JP4665702B2 (ja) 車両用ドア構造
JPH10203254A (ja) 車載用ドアスピーカシステム
JP2010041106A (ja) インターホン機器
JP4203444B2 (ja) 複合型スピーカ装置
CN222263014U (zh) 一种低音扬声器罩
CN216915719U (zh) 麦克风的车身安装结构、麦克风组件及汽车
JP2004180073A (ja) 携帯型電子機器のスピーカ取り付け構造
KR100445367B1 (ko) 자동차 도어
EP4678477A1 (en) Motor vehicle provided with at least one loudspeaker placed at an upper cross member supporting a windshield
KR101806569B1 (ko) 차량용 도어의 진동 저감 구조

Legal Events

Date Code Title Description
A621 Written request for application examination

Free format text: JAPANESE INTERMEDIATE CODE: A621

Effective date: 20071024

RD01 Notification of change of attorney

Free format text: JAPANESE INTERMEDIATE CODE: A7421

Effective date: 20071113

RD01 Notification of change of attorney

Free format text: JAPANESE INTERMEDIATE CODE: A7421

Effective date: 20091126

A131 Notification of reasons for refusal

Free format text: JAPANESE INTERMEDIATE CODE: A131

Effective date: 20100824

A521 Request for written amendment filed

Free format text: JAPANESE INTERMEDIATE CODE: A523

Effective date: 20100907

A131 Notification of reasons for refusal

Free format text: JAPANESE INTERMEDIATE CODE: A131

Effective date: 20110215

A02 Decision of refusal

Free format text: JAPANESE INTERMEDIATE CODE: A02

Effective date: 20110726