JP2006217618A - 出力インピーダンス回路及びこれを適用した出力バッファ回路 - Google Patents

出力インピーダンス回路及びこれを適用した出力バッファ回路 Download PDF

Info

Publication number
JP2006217618A
JP2006217618A JP2006024716A JP2006024716A JP2006217618A JP 2006217618 A JP2006217618 A JP 2006217618A JP 2006024716 A JP2006024716 A JP 2006024716A JP 2006024716 A JP2006024716 A JP 2006024716A JP 2006217618 A JP2006217618 A JP 2006217618A
Authority
JP
Japan
Prior art keywords
output
mos transistor
impedance
power supply
supply voltage
Prior art date
Legal status (The legal status is an assumption and is not a legal conclusion. Google has not performed a legal analysis and makes no representation as to the accuracy of the status listed.)
Granted
Application number
JP2006024716A
Other languages
English (en)
Other versions
JP5000144B2 (ja
Inventor
Tae Hyeong Kim
金泰亨
Uk-Rae Cho
趙郁來
Current Assignee (The listed assignees may be inaccurate. Google has not performed a legal analysis and makes no representation or warranty as to the accuracy of the list.)
Samsung Electronics Co Ltd
Original Assignee
Samsung Electronics Co Ltd
Priority date (The priority date is an assumption and is not a legal conclusion. Google has not performed a legal analysis and makes no representation as to the accuracy of the date listed.)
Filing date
Publication date
Application filed by Samsung Electronics Co Ltd filed Critical Samsung Electronics Co Ltd
Publication of JP2006217618A publication Critical patent/JP2006217618A/ja
Application granted granted Critical
Publication of JP5000144B2 publication Critical patent/JP5000144B2/ja
Anticipated expiration legal-status Critical
Expired - Lifetime legal-status Critical Current

Links

Images

Classifications

    • HELECTRICITY
    • H03ELECTRONIC CIRCUITRY
    • H03KPULSE TECHNIQUE
    • H03K19/00Logic circuits, i.e. having at least two inputs acting on one output; Inverting circuits
    • H03K19/0175Coupling arrangements; Interface arrangements
    • HELECTRICITY
    • H03ELECTRONIC CIRCUITRY
    • H03KPULSE TECHNIQUE
    • H03K19/00Logic circuits, i.e. having at least two inputs acting on one output; Inverting circuits
    • H03K19/0005Modifications of input or output impedance

Landscapes

  • Engineering & Computer Science (AREA)
  • Computer Hardware Design (AREA)
  • Physics & Mathematics (AREA)
  • Computing Systems (AREA)
  • General Engineering & Computer Science (AREA)
  • Mathematical Physics (AREA)
  • Logic Circuits (AREA)

Abstract

【課題】 出力インピーダンス回路及びこれを適用した出力バッファ回路を提供すること。
【解決手段】 出力インピーダンス回路は、出力ステージ及びインピーダンス制御ステージを備える。出力ステージは、DCバイアス電圧に対応する出力信号を出力端子を通じて出力し、インピーダンス制御ステージは、出力信号に応答して前記出力ステージに流れる電流を制御する。出力ステージは、抵抗素子及び第1MOSトランジスタを備える。抵抗素子は、一端が出力端子に接続される。第1MOSトランジスタは、一端が抵抗素子の他端に接続され、他端が電源電圧に接続され、ゲートに入力信号が印加される。
【選択図】 図3

Description

本発明は、半導体装置の出力インピーダンス回路に係り、特に、接続されるシステムにかかわらず、一定の線形的な特性を有する出力インピーダンス(Output ImpedenaceまたはTerminator Impedance)を有する負荷として用いられる出力インピーダンス回路に関する。
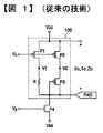
図1は、従来の出力インピーダンス回路を示す回路図である。図1を参照すれば、出力インピーダンス回路100は、3個のP型MOSトランジスタP1〜P3及び抵抗Rを備える。MOSトランジスタP4は、出力インピーダンス回路100を負荷として使用するインバータを構成するMOSトランジスタであって、ゲートに印加される入力電圧Vgを反転させる。
前記出力インピーダンス回路の構成上の特徴は、次の通りである。第1P型MOSトランジスタP1の一端は、高電源電圧Vccに接続され、ゲートにはDCバイアス電圧Vbが印加される。第2P型MOSトランジスタP2の一端は、高電源電圧Vccに接続され、ゲートにはDCバイアス電圧Vbが印加される。第3P型MOSトランジスタP3の一端は、第2P型MOSトランジスタP2の他端に接続され、他端及びゲート電極はパッド(PAD)に接続される。抵抗Rは、一端が第1P型MOSトランジスタの他端に接続され、他端はパッドに接続される。
第1P型MOSトランジスタP1の他端と抵抗Rの一端とが接続されるノード電圧はV1であり、第2P型MOSトランジスタP2の他端と第3P型MOSトランジスタP3の一端が接続されるノード電圧はV2であると仮定し、図1に示された従来の出力インピーダンス回路の動作を説明する。
数式1は、高電源電圧Vcc及びパッド間の電圧Vo、インピーダンスZo、及び高電源電圧Vccとパッドとの間を流れる電流Ioに対するオームの法則を表す。
Zo=Vo/Io …(数式1)
最も理想的な場合は、Vo及びIoが変わってもZoが変わらず、パッドにいかなるシステムが接続されても前記出力インピーダンス回路及びシステムのインピーダンス差に誤動作が発生しない。ここで、インピーダンス差による誤動作は、例えば、伝送されずに反射される信号による誤動作を含む。
まず、第1P型MOSトランジスタP1及び抵抗Rのみを備える抵抗回路について説明する。
第4MOSトランジスタP4のゲートに印加される入力電圧Vgの値に応答してパッド電圧が低くなると、高電源電圧Vccとパッド間の電圧Voが増加する。高電源電圧Vccとパッド間のインピーダンス成分Zoが一定であると、高電源電圧Vccとパッドとの間に流れる電流Ioは増加する。ここで、インピーダンス成分Zoは、抵抗R及び第1MOSトランジスタP1のオン抵抗Zonの和となる。MOSトランジスタのオン抵抗を数式2で示す。
Zon∝Vds/Ids …(数式2)
ここで、Vdsは、MOSトランジスタのドレイン及びソース間の電圧を示し、Idsは、MOSトランジスタのドレインとソースとの間を流れる電流を意味する。
電圧Voが増加するが、まだ電流Ioが増加していないと仮定すると、抵抗Rで降下する電圧が一定になるので、結果として、第1ノード電圧V1がパッドの電圧が低くなる場合と同じ電圧に低くなる。すなわち、第1MOSトランジスタP1のドレインとソース間の電圧Vdsが増加し、第1MOSトランジスタP1のゲート及びソース間の電圧Vgsは変わらないが、ドレイン及びソース間の電圧Vdsが増加するので、ドレイン及びソース間の電流Idsも増加する。
図2は、MOSトランジスタの電圧−電圧特性曲線である。図2を参照すれば、ゲートとソースとの間の電圧Vgs−Vtが一定の場合、ドレインとソースとの間の電圧Vdsが増加するときに、ドレインとソースとの間に流れる電流Idsが急増する領域(線形領域)と緩やかに増加する領域(飽和領域)に区分される。点線が前記2領域を区分するが、前記点線の左側にある領域が線形領域であり、右側にある領域が飽和領域である。
第1MOSトランジスタP1は、飽和領域で動作するが、上述のように飽和領域では、ドレインとソースとの間の電圧Vdsの増加と同じ割合でドレインとソースとの間の電流Idsが増加しないので、オン抵抗Zonが増加し、パッドに適当な電流を供給できなくなるという問題がある。これは、パッドから見たインピーダンス成分(Zo1=R+Zon)が増加するということと同じ意味である。
このような問題を解決するために、直列接続された第2MOSトランジスタP2及び第3MOSトランジスタP3を、直列接続された第1MOSトランジスタP1及び抵抗Rに並列に接続することが提案された。
この場合、第1MOSトランジスタP1のドレイン及びソース間の電圧Vdsの変化に追い付けない電流を、第2MOSトランジスタP2及び第3MOSトランジスタP3を通じてパッドに供給する。また、第2MOSトランジスタP2及び第3MOSトランジスタP3のインピーダンス成分Zo2が、第1MOSトランジスタP1及び抵抗Rによるインピーダンス成分Zo1と並列に接続されるので、パッドから見たインピーダンス成分(Zo=Zo1//Zo2)は減少する。ここで、//はZo1とZo2とが相互に並列に接続されていることを意味する。
上述のように、従来の出力インピーダンス回路は、パッド電圧が低くなっても、インピーダンス成分を安定させうるという利点がある。
しかしながら、パッドに接続された出力インピーダンス回路のインピーダンス成分の値を一定に維持させるために使用する第2MOSトランジスタP2及び第3MOSトランジスタP3は、工程によってそのサイズ及び抵抗が敏感に変わるという問題がある。また、第2MOSトランジスタP2及び第3MOSトランジスタP3が飽和領域で動作するので、パッド電圧によって電流量が急増し、低いパッド電圧ではインピーダンス成分を必要以上に減少させてしまうという問題がある。
本発明が達成しようとする技術的課題は、工程の変化に対し安定的であり、パッド電圧に関係なく一定の出力インピーダンスを有する出力インピーダンス回路を提供することである。
本発明が達成しようとする他の技術的課題は、工程の変化に対し安定的であり、パッド電圧に関係なく一定の出力インピーダンスを有する出力バッファ回路を提供することである。
前記技術的課題を達成するための本発明による出力インピーダンス回路は、出力ステージ及びインピーダンス制御ステージを備える。
前記出力ステージは、DCバイアス電圧に対応する前記出力信号を出力端子を通じて出力し、前記インピーダンス制御ステージは、前記出力信号に応答して前記出力ステージに流れる電流を制御する。
前記出力ステージは、抵抗素子及び第1MOSトランジスタを備える。前記抵抗素子は、一端が前記出力端子に接続される。前記第1MOSトランジスタは、一端が前記抵抗素子の他端に接続され、他端が電源電圧に接続され、ゲートに前記入力信号が印加される。
前記インピーダンス制御ステージは、一端が前記抵抗素子及び前記第1MOSトランジスタの共通端子に接続され、他端が前記電源電圧に接続され、ゲートに前記出力信号が印加される第2MOSトランジスタを備える。
前記他の技術的課題を達成するための本発明による出力バッファ回路は、入力信号に応答して出力信号の電圧レベルが変わっても、前記出力信号が出力される出力端子でのインピーダンス成分が一定であり、駆動トランジスタ及びインピーダンス回路を備える。
前記駆動トランジスタは、一端が前記出力端子に接続され、他端が高電源電圧に接続され、ゲートに前記入力信号が印加される。
前記インピーダンス回路は、DC電圧を受信して動作し、一端が低電源電圧に接続され、他端が前記出力端子に接続される。前記インピーダンス回路は、出力ステージ及びインピーダンス制御ステージを備える。前記出力ステージは、前記DCバイアス電圧に対応する電流を前記出力端子に供給する。前記インピーダンス制御ステージは、前記出力信号に応答して前記出力ステージに流れる電流を制御する。
本発明による出力インピーダンス回路は、工程の変化に対し安定的であり、パッド電圧に関係なく一定の出力インピーダンスを有するという利点がある。
本発明と本発明の動作上の利点及び本発明の実施によって達成される目的を十分に理解するためには、本発明の望ましい実施形態を例示する添付図面及び図面に記載された内容を参照しなければならない。
以下、添付した図面を参照して本発明の望ましい実施形態を説明することによって、本発明を詳細に説明する。各図面に付された同一の参照符号は、同様の構成要素を示す。
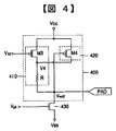
図3は、本発明の好適な一実施形態の一側面による出力インピーダンス回路300を備える出力バッファ回路の回路図である。
図3を参照すれば、前記出力バッファ回路は、駆動トランジスタ330及び出力インピーダンス回路300を備える。
駆動トランジスタ330は、入力信号Vg1に応答して出力端子の出力電圧Vout1を決定する機能を持ち、そのために前記出力インピーダンス回路を負荷として使用する。駆動トランジスタ330の一端は、高電源電圧Vccに接続され、他端が出力端子に接続され、ゲートに入力信号Vg1が印加される。
出力インピーダンス回路300は、出力ステージ310及びインピーダンス制御ステージ320を備え、入力信号Vg1の電圧レベルに対応して出力信号Vout1の電圧レベルが変わっても、出力端子でのインピーダンス成分が一定である。
出力ステージ310は、抵抗R及び第1MOSトランジスタM1を備える。抵抗または抵抗素子Rは、一端が前記出力端子に接続される。第1MOSトランジスタM1は、一端が抵抗Rの他端V3に接続され、他端が低電源電圧Vssに接続され、ゲートにDCバイアス電圧Vb1が印加される。ここで、DCバイアス電圧Vb1は、第1MOSトランジスタM1をターンオンさせうる電圧であって、高電源電圧Vccに接続させても良い。
インピーダンス制御ステージ320は、一端が抵抗R及び第1MOSトランジスタM1の共通端子V3に接続され、他端が電源電圧Vssに接続され、ゲートに出力信号が印加される第2MOSトランジスタを備える。
第1電源電圧Vccは、前記出力インピーダンス回路を備える出力バッファ回路で用いられる電源電圧よりも高い電源電圧であり、第2電源電圧Vssは、前記出力インピーダンス回路を備える出力バッファ回路で用いられる電源電圧よりも低い電源電圧である。第1MOSトランジスタM1及び第2MOSトランジスタM2は、N型MOSトランジスタであることが望ましい。
出力端子は、半導体装置のパッドであり、抵抗Rは、多結晶シリコン(Poly−Silicon)、PSG(Phospho Silicate Glass)、及び拡散された活性層(Diffused Active layer)のうち一つを利用して形成される。
以下、図3に示された本発明の好適な一実施形態の一側面による出力インピーダンス回路の動作について説明する。
図3に示された本発明の好適な一実施形態による出力インピーダンス回路がパッド電圧に関係なく一定のインピーダンスを提供するためには、ノードV3の電圧がパッドの電圧に関係なく一定であるべきである。
入力信号Vg1の電圧によってパッドの電圧が上昇すれば、出力インピーダンスの両端子で降下する電圧が増加する。この時、抵抗Rを通じて流れる電流量が増加しなければならず、このためにはノードV3の電圧が上昇しなければならない。しかしながら、ノードV3の電圧が上昇すれば、抵抗Rの両端の電圧が減少するので、結果として、パッドから見たインピーダンスは増加する。
本発明は、このような問題を解決するために、インピーダンス制御ステージ320として第2MOSトランジスタM2を用いる。パッドの電圧が上昇すれば、第2MOSトランジスタM2のゲートに印加される電圧が増加するので、結果として、第2MOSトランジスタM2を通じて流れる電流も増加する。しかしながら、第2MOSトランジスタM2のゲート電圧が増加してもノードV3の電圧は増加しない。この点が従来の出力インピーダンス回路と相異する。
図2に示された電流−電圧曲線を参照すれば、ゲート及びソース間の電圧Vgsが固定されている場合、ドレインとソースとの間の電流Idsを増加させるためには、ドレインとソースとの間の電圧Vdsが増加しなければならない。しかしながら、ゲート及びソース間の電圧Vgsが増加すれば、電流Idsを増加させるためにドレインとソースとの間の電圧Vdsが増加する必要がない。したがって、本発明の好適な一実施形態による出力インピーダンス回路は、出力信号の値によって供給すべき電流が変わっても、これに対応して動作するインピーダンス制御用のトランジスタM2の役割によって、出力インピーダンスはほとんど変わらない。
したがって、パッドの電圧が増加して第2MOSトランジスタM2のゲート及びソース間の電圧Vgsが増加しても、図1に示された従来の出力インピーダンス回路でのノード電圧V1が増加する程度の電圧上昇が起こらない。
このような構造を有することによって、パッドから見たインピーダンス値をあらゆる領域に対して一定に維持させうる。
以下、前述した本発明の技術的思想を、実際の設計でどのように具現できるかを説明する。
パッドの電圧の変化によって、第1MOSトランジスタM1及び第2MOSトランジスタM2の動作は、3つの領域に大別される。
第1に、出力電圧Vout1がMOSトランジスタのしきい電圧Vthに比べて小さい場合であり、第1MOSトランジスタM1のみ線形領域で動作し、第2MOSトランジスタM2は動作しない場合に抵抗Rを通じて流れる電流を数式3で示した。第1MOSトランジスタM1及び第2MOSトランジスタM2のしきい電圧は、いずれもVthとする。ここで、Vb1が電源電圧Vccに接続され、電源電圧Vssは接地電圧と同じ0Vと仮定する。
Ir1=K1{(Vcc-Vth)Vds1-1/2Vds1}
=K1{(Vcc-Vth)aVout1-1/2aVout1} …(数式3)
ここで、Vds1はV3で、V3は比例定数aを含むaVout1であると仮定する。また、K1は、工程パラメータによって決定される値を有する。Vcc>>Vout1であるので、(Vcc-Vth)aVout1>>1/2aVout1となってIr1は数式4のように表される。
Ir1=K1*(Vcc-Vth)*aVout1 …(数式4)
第2に、第1MOSトランジスタM1は線形領域で動作し、第2MOSトランジスタM2は飽和領域で動作する場合であって、出力電圧Vout1がしきい電圧Vthよりは高いが、2倍のしきい電圧(2Vth)に比べて低い電圧(Vth<Vout1<2Vth)を有する時の電流Ir2は、数式5で示される。
Ir2= K1{(Vcc−Vth)Vds1−1/2Vds12} + 1/2K2(Vout1−Vth)2
=K1{(Vcc-Vth)aVout1−1/2a2Vout12} + 1/2K2(Vout1−Vth)2
=Vout1{aK1(Vcc-Vth)−K2Vth} - 1/2Vout12(a2K1−K2)+1/2K2Vth2 …(数式5)
ここで、(aK1−K2)を0に収束するように設計すれば、電流Ir2は数式6のように示される。ここで、K2も工程パラメータによって決定される値である。
Ir2=Vout1{aK1(Vcc−Vth)−K2Vth}+1/2K2Vth …(数式6)
最後に、出力電圧Vout1が2倍のしきい電圧2Vthより高い電圧(Vout1>2Vth)を示す場合の電流Ir3を数式7で示す。
Ir3= K1{(Vcc-Vth)Vds1-1/2Vds12} + K2{(Vout1-Vth)Vds2-1/2Vds22}
=K1{(Vcc-Vth)aVout1-1/2a2Vout12}+K2{(Vout1-Vth)aVout1-1/2a2Vout12}
=Vout1{aK1(Vcc-Vth) - K2Vth} - Vout12(a2K1/K2-aK2+1/2a2) …(数式7)
設計時には、第1MOSトランジスタM1及び第2MOSトランジスタM2のサイズを調節してK1及びK2を適切に制御すれば、数式7で示された電流Ir3は、数式8のように表わされる。
Ir3=Vout1{aK1(Vcc−Vth)−K2Vth} …(数式8)
数式4、6及び8を満足する適切なK1及びK2を考慮して設計すれば、理想的なインピーダンスを有する出力インピーダンス回路を作製することができる。
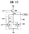
図4は、本発明の好適な一実施形態の他の一側面による出力インピーダンス回路400を備える出力バッファ回路の回路図である。
図4を参照すれば、前記出力バッファ回路は、駆動トランジスタ430及び出力インピーダンス回路400を備える。
駆動トランジスタ430は、入力信号Vg2に応答して出力端子の出力電圧Vout2を決定する機能を持ち、そのために前記出力インピーダンス回路を負荷として使用する。駆動トランジスタ430の一端は、低電源電圧Vssに接続され、他端が出力端子に接続され、ゲートに入力信号Vg2が印加される。
出力インピーダンス回路400は、出力ステージ410及びインピーダンス制御ステージ420を備える。
出力ステージ420は、抵抗R及び第3MOSトランジスタM3を備える。抵抗または抵抗素子Rは、一端が前記出力端子に接続される。第3MOSトランジスタM3は、一端が抵抗Rの他端V4に接続され、他端が電源電圧Vccに接続され、ゲートにDCバイアス電圧Vb2が印加される。ここで、DCバイアス電圧Vb2は、第3MOSトランジスタM3がターンオンできる電圧であって、低電源電圧Vssを使用しても良い。
インピーダンス制御ステージ420は、一端が抵抗R及び第3MOSトランジスタM3の共通端子V4に接続され、他端が電源電圧Vccに接続され、ゲートに出力信号Vout2が印加される第4MOSトランジスタM4を備える。
ここで、電源電圧Vccは、出力インピーダンス回路を含むシステムで用いられる電源電圧よりも高い電圧レベルを有する電圧であり、電源電圧Vssは、出力インピーダンス回路を含むシステムで用いられる電源電圧よりも低い電源電圧である。第3MOSトランジスタM3及び第4MOSトランジスタM4は、P型MOSトランジスタであることが望ましい。
出力端子は、半導体装置のパッドであり、抵抗Rは、多結晶シリコン、PSG、及び拡散された活性層のうち一つを利用して形成された抵抗である。
図4に示された本発明の好適な一実施形態の他の一側面による出力インピーダンス回路の動作は、図3の説明と同様なので、ここでは省略する。
図5は、図3及び図4に示された本発明による出力インピーダンス回路を備える出力バッファ回路が最適に用いられる領域を示す図面である。
図5を参照すれば、出力バッファ回路の出力電圧の範囲が51である場合には、図3に示された出力バッファ回路が用いられることが好ましく、出力バッファ回路の出力電圧の範囲が52である場合には、図4に示された出力バッファ回路を使用することが好ましい。
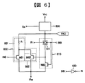
図6は、本発明の好適な他の一実施形態による出力インピーダンス回路の回路図である。
図6を参照すれば、前記出力バッファ回路は、出力インピーダンス回路600、オンオフ選択器610、及び駆動装置620を備える。
駆動装置620は、図3及び図4に示された駆動トランジスタ330及び430と同じ機能を持つので、その説明を省略する。
出力インピーダンス回路600は、出力ステージ601及びインピーダンス制御ステージ602を備える。出力ステージ601及びインピーダンス制御ステージ602は、図3及び図4に示された出力ステージ310及び410及びインピーダンス制御ステージ320及び420と同様なので、その説明を省略する。
オンオフ選択器610は、スイッチとして用いられるトランスミッションゲート611及びMOSトランジスタM63を備える。
トランスミッションゲート611は、制御信号IN及び逆制御信号INBによって動作する。制御信号IN及び逆制御信号INBは、位相が互いに逆相であることが好ましい。MOSトランジスタM63のゲートには、逆制御信号INBが印加されるが、逆制御信号INBがMOSトランジスタM61及びMOSトランジスタM63をターンオンさせる程度に高電圧(論理的にハイレベル)である場合には、出力インピーダンス回路600が正常に動作してインピーダンス成分として動作する。しかしながら、逆制御信号INBが前記2つのトランジスタのしきい電圧より低い電圧である場合には、出力インピーダンス回路600は、正常に動作せずにハイインピーダンス状態となる。
制御信号IN及び逆制御信号INBは、インバータ630を利用して容易に生成することができる。
以上のように、図面と明細書とにより最適の実施形態が開示された。ここで、特定の用語が使われたが、これは、単に本発明を説明するための目的として使われただけであり、意味の限定や特許請求の範囲に記載された本発明の範囲を制限するために使われたものではない。したがって、当業者ならば、これから多様な変形及び均等な他の実施形態が可能であるという点が理解できるであろう。したがって、本発明の技術的範囲は、特許請求の範囲の記載に基づいて定められなければならない。
本発明による出力インピーダンス回路及び出力バッファ回路は、内部で生成した信号を出力するあらゆる電子システムに適用可能である。前記回路は、少ない消費電力を基本とする半導体装置で用いられるだけでなく、高い電源で動作するので、消費電力が非常に大きい電気システムにも使用可能である。
従来の出力インピーダンス回路を示す回路図である。 MOSトランジスタの電圧−電圧特性曲線を示すグラフである。 本発明の好適な一実施形態の一側面による出力インピーダンス回路を備える出力バッファ回路の回路図である。 本発明の好適な一実施形態の他の一側面による出力インピーダンス回路を備える出力バッファ回路の回路図である。 図3及び図4に示された本発明の好適な実施の形態による出力インピーダンス回路を備える出力バッファ回路が最適に用いられる領域を示す図面である。 本発明の好適な他の一実施形態による出力インピーダンス回路の回路図である。
符号の説明
300 出力インピーダンス回路
310 出力ステージ
320 インピーダンス制御ステージ
330 駆動トランジスタ
M1 第1MOSトランジスタ
M2 第2MOSトランジスタ

Claims (36)

  1. 出力信号の電圧レベルが変わっても、前記出力信号が出力される出力端子でのインピーダンス成分が一定である出力インピーダンス回路において、
    DCバイアス電圧に対応する電流を前記出力端子に供給する出力ステージと、
    前記出力信号に応答して前記出力ステージに流れる電流を制御するインピーダンス制御ステージとを備えることを特徴とする出力インピーダンス回路。
  2. 前記出力ステージは、
    一端が前記出力端子に接続された抵抗素子と、
    一端が前記抵抗素子の他端に接続され、他端が第1電源電圧に接続され、ゲートに前記DCバイアス電圧が印加される第1MOSトランジスタとを備えることを特徴とする請求項1に記載の出力インピーダンス回路。
  3. 前記インピーダンス制御ステージは、
    一端が前記抵抗素子及び前記第1MOSトランジスタの共通端子に接続され、他端が前記第1電源電圧に接続され、ゲートに前記出力信号が印加される第2MOSトランジスタを備えることを特徴とする請求項2に記載の出力インピーダンス回路。
  4. 前記第1電源電圧は、
    前記出力インピーダンス回路を含むシステムで用いられる電源電圧よりも低い電圧レベルを有する電圧であることを特徴とする請求項3に記載の出力インピーダンス回路。
  5. 前記第1MOSトランジスタ及び前記第2MOSトランジスタは、
    N型MOSトランジスタであることを特徴とする請求項4に記載の出力インピーダンス回路。
  6. 前記出力端子は、
    半導体装置のパッドであることを特徴とする請求項5に記載の出力インピーダンス回路。
  7. 前記抵抗素子は、
    多結晶シリコン、PSG、及び拡散された活性層のうち一つを利用して形成された抵抗であることを特徴とする請求項2に記載の出力インピーダンス回路。
  8. 前記出力ステージは、
    一端が前記出力端子に接続された抵抗素子と、
    一端が前記抵抗素子の他端に接続され、他端が第2電源電圧に接続され、ゲートに前記DCバイアス電圧が印加される第3MOSトランジスタとを備えることを特徴とする請求項1に記載の出力インピーダンス回路。
  9. 前記インピーダンス制御ステージは、
    一端が前記抵抗素子及び前記第3MOSトランジスタの共通端子に接続され、他端が前記第2電源電圧に接続され、ゲートに前記出力信号が印加される第4MOSトランジスタを備えることを特徴とする請求項8に記載の出力インピーダンス回路。
  10. 前記第2電源電圧は、
    前記出力インピーダンス回路を含むシステムで用いられる電源電圧よりも高い電圧レベルを有する電圧であることを特徴とする請求項9に記載の出力インピーダンス回路。
  11. 前記第3MOSトランジスタ及び前記第4MOSトランジスタは、
    P型MOSトランジスタであることを特徴とする請求項10に記載の出力インピーダンス回路。
  12. 前記出力端子は、
    半導体装置のパッドであることを特徴とする請求項11に記載の出力インピーダンス回路。
  13. 前記抵抗素子は、
    多結晶シリコン、PSG、及び拡散された活性層のうち一つを利用して形成された抵抗であることを特徴とする請求項8に記載の出力インピーダンス回路。
  14. 入力信号に応答して出力信号の電圧レベルが変わっても、前記出力信号が出力される出力端子でのインピーダンス成分が一定であるインピーダンス回路を備える出力バッファ回路において、
    一端が前記出力端子に接続され、他端が高電源電圧に接続され、ゲートに前記入力信号が印加される駆動トランジスタと、
    DC電圧を受信して動作し、一端が低電源電圧に接続され、他端が前記出力端子に接続されたインピーダンス回路とを備え、
    前記インピーダンス回路は、
    前記DCバイアス電圧に対応する電流を前記出力端子に供給する出力ステージと、
    前記出力信号に応答して前記出力ステージに流れる電流を制御するインピーダンス制御ステージとを備えることを特徴とする出力バッファ回路。
  15. 前記出力ステージは、
    一端が前記出力端子に接続された抵抗素子と、
    一端が前記抵抗素子の他端に接続され、他端が前記低電源電圧に接続され、ゲートに前記DCバイアス電圧が印加される第1MOSトランジスタとを備えることを特徴とする請求項14に記載の出力バッファ回路。
  16. 前記インピーダンス制御ステージは、
    一端が前記抵抗素子及び前記第1MOSトランジスタの共通端子に接続され、他端が前記低電源電圧に接続され、ゲートに前記出力信号が印加される第2MOSトランジスタを備えることを特徴とする請求項15に記載の出力バッファ回路。
  17. 前記第1MOSトランジスタ及び前記第2MOSトランジスタは、
    N型MOSトランジスタであることを特徴とする請求項16に記載の出力バッファ回路。
  18. 前記駆動トランジスタは、
    P型MOSトランジスタであることを特徴とする請求項17に記載の出力バッファ回路。
  19. 前記出力端子は、
    半導体装置のパッドであることを特徴とする請求項18に記載の出力バッファ回路。
  20. 前記抵抗素子は、
    多結晶シリコン、PSG、及び拡散された活性層のうち一つを利用して形成された抵抗であることを特徴とする請求項15に記載の出力バッファ回路。
  21. 入力信号に応答して出力信号の電圧レベルが変わっても、前記出力信号が出力される出力端子でのインピーダンス成分が一定であるインピーダンス回路を備える出力バッファ回路において、
    DC電圧を受信して動作し、一端が高電源電圧に接続され、他端が前記出力端子に接続されたインピーダンス回路と、
    一端が前記出力端子に接続され、他端が低電源電圧に接続され、ゲートに前記入力信号が印加される駆動トランジスタとを備え、
    前記インピーダンス回路は、
    前記DCバイアス電圧に対応する電流を前記出力端子に供給する出力ステージと、
    前記出力信号に応答して前記出力ステージに流れる電流を制御するインピーダンス制御ステージとを備えることを特徴とする出力バッファ回路。
  22. 前記出力ステージは、
    一端が前記出力端子に接続された抵抗素子と、
    一端が前記抵抗素子の他端に接続され、他端が前記低電源電圧に接続され、ゲートに前記DCバイアス電圧が印加される第1MOSトランジスタとを備えることを特徴とする請求項21に記載の出力バッファ回路。
  23. 前記インピーダンス制御ステージは、
    一端が前記抵抗素子及び前記第1MOSトランジスタの共通端子に接続され、他端が前記低電源電圧に接続され、ゲートに前記出力信号が印加される第2MOSトランジスタを備えることを特徴とする請求項22に記載の出力バッファ回路。
  24. 前記第1MOSトランジスタ及び前記第2MOSトランジスタは、
    N型MOSトランジスタであることを特徴とする請求項23に記載の出力バッファ回路。
  25. 前記駆動トランジスタは、
    P型MOSトランジスタであることを特徴とする請求項24に記載の出力バッファ回路。
  26. 前記出力端子は、
    半導体装置のパッドであることを特徴とする請求項25に記載の出力バッファ回路。
  27. 前記抵抗素子は、
    多結晶シリコン、PSG、及び拡散された活性層のうち一つを利用して形成された抵抗であることを特徴とする請求項22に記載の出力バッファ回路。
  28. 出力信号の電圧レベルが変わっても、前記出力信号が出力される出力端子でのインピーダンス成分が一定であり、正常動作状態及びハイインピーダンス状態を選択できる出力インピーダンス回路において、
    制御信号及び逆制御信号に応答して動作し、前記出力信号を利用して前記出力インピーダンス回路の動作状態を選択するオンオフ信号を出力するオンオフ選択器と、
    前記逆制御信号に対応する電流を前記出力端子に供給する出力ステージと、
    前記オンオフ信号に応答して前記出力ステージに流れる電流を制御するインピーダンス制御ステージとを備えることを特徴とする出力インピーダンス回路。
  29. 前記出力ステージは、
    一端が前記出力端子に接続された抵抗素子と、
    一端が前記抵抗素子の他端に接続され、他端が電源電圧に接続され、ゲートに前記逆制御信号が印加される第1MOSトランジスタとを備えることを特徴とする請求項28に記載の出力インピーダンス回路。
  30. 前記インピーダンス制御ステージは、
    一端が前記抵抗素子及び前記第1MOSトランジスタの共通端子に接続され、他端が前記電源電圧に接続され、ゲートに前記オンオフ信号が印加される第2MOSトランジスタを備えることを特徴とする請求項29に記載の出力インピーダンス回路。
  31. 前記オンオフ選択器は、
    一端に接続された前記出力信号を前記制御信号及び逆制御信号に応答してスイッチングするスイッチと、
    一端が前記スイッチの他端に接続され、他端が前記電源電圧に接続され、ゲートに前記逆制御信号が印加される第3MOSトランジスタとを備えることを特徴とする請求項30に記載の出力インピーダンス回路。
  32. 前記スイッチは、
    一端が前記出力端子に接続され、他端が前記第3MOSトランジスタの一端に接続され、前記制御信号及び前記逆制御信号によって動作し、前記制御信号が論理的にハイレベルである時にスイッチがオンになることを特徴とする請求項31に記載の出力インピーダンス回路。
  33. 前記制御信号及び前記逆制御信号は、
    位相が互いに逆相であることを特徴とする請求項28に記載の出力インピーダンス回路。
  34. 前記出力インピーダンス回路は、
    前記逆制御信号の位相を反転させて前記制御信号を出力するインバータをさらに備えることを特徴とする請求項28に記載の出力インピーダンス回路。
  35. 出力信号の電圧レベルが変わっても、前記出力信号が出力される出力端子でのインピーダンス成分が一定であり、正常動作状態及びハイインピーダンス状態を選択できる出力バッファ回路において、
    制御信号及び逆制御信号に応答して動作し、前記出力信号を利用して前記出力インピーダンス回路の動作状態を選択するオンオフ信号を出力するオンオフ選択器と、
    前記オンオフ信号に応答して前記逆制御信号に対応する電流を一端に接続された第1電源電圧を通じて他端に接続された前記出力端子に供給する出力インピーダンス回路と、
    入力信号に対応する電流を一端に接続された第2電源電圧を通じて他端に接続された出力端子に供給する駆動装置とを備えることを特徴とする出力バッファ回路。
  36. 前記第1電源電圧は、
    前記出力バッファ回路で用いられる電源電圧よりも低い電源電圧であり、
    前記第2電源電圧は、
    前記出力バッファ回路で用いられる電源電圧よりも高い電源電圧であることを特徴とする請求項35に記載の出力バッファ回路。
JP2006024716A 2005-02-01 2006-02-01 出力インピーダンス回路及びこれを適用した出力バッファ回路 Expired - Lifetime JP5000144B2 (ja)

Applications Claiming Priority (2)

Application Number Priority Date Filing Date Title
KR10-2005-0009103 2005-02-01
KR1020050009103A KR100652398B1 (ko) 2005-02-01 2005-02-01 출력 임피던스회로 및 이를 적용한 출력버퍼회로

Publications (2)

Publication Number Publication Date
JP2006217618A true JP2006217618A (ja) 2006-08-17
JP5000144B2 JP5000144B2 (ja) 2012-08-15

Family

ID=36980369

Family Applications (1)

Application Number Title Priority Date Filing Date
JP2006024716A Expired - Lifetime JP5000144B2 (ja) 2005-02-01 2006-02-01 出力インピーダンス回路及びこれを適用した出力バッファ回路

Country Status (3)

Country Link
US (1) US7471109B2 (ja)
JP (1) JP5000144B2 (ja)
KR (1) KR100652398B1 (ja)

Citations (2)

* Cited by examiner, † Cited by third party
Publication number Priority date Publication date Assignee Title
JPS56103524A (en) * 1979-12-21 1981-08-18 Philips Nv Variable impedance circuit
JP2000269782A (ja) * 1999-03-18 2000-09-29 Hitachi Ltd Mosトランジスタ抵抗回路

Family Cites Families (13)

* Cited by examiner, † Cited by third party
Publication number Priority date Publication date Assignee Title
US5241221A (en) * 1990-07-06 1993-08-31 North American Philips Corp., Signetics Div. CMOS driver circuit having reduced switching noise
JP3050289B2 (ja) 1997-02-26 2000-06-12 日本電気株式会社 出力バッファ回路の出力インピーダンス調整回路
JPH11163709A (ja) 1997-11-27 1999-06-18 Nec Corp 出力インピーダンス調整回路
JP3448231B2 (ja) 1998-12-10 2003-09-22 株式会社東芝 半導体装置
US6157206A (en) * 1998-12-31 2000-12-05 Intel Corporation On-chip termination
JP2000310672A (ja) * 1999-04-28 2000-11-07 Fujitsu Ltd 半導体装置
KR20010011354A (ko) * 1999-07-27 2001-02-15 윤종용 반도체 장치의 출력 임피던스 조절 회로
JP3548487B2 (ja) * 2000-02-23 2004-07-28 Necエレクトロニクス株式会社 論理回路
KR100394586B1 (ko) 2000-11-30 2003-08-14 삼성전자주식회사 임피던스 제어회로
US6563345B2 (en) * 2001-03-15 2003-05-13 Micron Technology, Inc. Monotonic dynamic static pseudo-NMOS logic circuits
US6486700B1 (en) * 2001-08-23 2002-11-26 Sun Microsystems, Inc. One-hot Muller C-elements and circuits using one-hot Muller C-elements
US6670824B2 (en) * 2002-03-20 2003-12-30 Agilent Technologies, Inc. Integrated polysilicon fuse and diode
KR100522179B1 (ko) * 2003-02-26 2005-10-18 주식회사 애트랩 임피던스 교정기능을 갖는 반도체 장치

Patent Citations (2)

* Cited by examiner, † Cited by third party
Publication number Priority date Publication date Assignee Title
JPS56103524A (en) * 1979-12-21 1981-08-18 Philips Nv Variable impedance circuit
JP2000269782A (ja) * 1999-03-18 2000-09-29 Hitachi Ltd Mosトランジスタ抵抗回路

Also Published As

Publication number Publication date
JP5000144B2 (ja) 2012-08-15
US20060250156A1 (en) 2006-11-09
KR20060088270A (ko) 2006-08-04
KR100652398B1 (ko) 2006-12-01
US7471109B2 (en) 2008-12-30

Similar Documents

Publication Publication Date Title
CN1980059B (zh) 电流限制双向mosfet开关
US7961031B2 (en) Semiconductor switch circuit
US7733182B2 (en) Hybrid class AB super follower
US20200280309A1 (en) High voltage gate driver current source
US10498333B1 (en) Adaptive gate buffer for a power stage
US11994887B2 (en) Low dropout linear regulator with high power supply rejection ratio
US20030030482A1 (en) Semiconductor integrated circuit and reference voltage generating circuit employing it
US7245165B2 (en) Turn-on bus transmitter with controlled slew rate
US6437638B1 (en) Linear two quadrant voltage regulator
US11442480B2 (en) Power supply circuit alternately switching between normal operation and sleep operation
JP3806011B2 (ja) 電圧検出回路
US6501252B2 (en) Power supply circuit
US20080169875A1 (en) Level-Shifting Buffer
US8008951B2 (en) High voltage switch utilizing low voltage MOS transistors with high voltage breakdown isolation junctions
US7330056B1 (en) Low power CMOS LVDS driver
US20240385636A1 (en) Circuit for generating a reference voltage
US10601416B2 (en) Gate drive device
JP5000144B2 (ja) 出力インピーダンス回路及びこれを適用した出力バッファ回路
US6433636B2 (en) Operational amplifier designed to have increased output range
KR100846880B1 (ko) 높고 그리고 넓은 동작 전압 범위를 위한 바이어스 회로를구비한 게이트 드라이버 출력 단
US6504416B1 (en) High linearity, low power voltage controlled resistor
JP2006025085A (ja) Cmos駆動回路
JP2008219664A (ja) スイッチング回路
CN116126065B (zh) 一种稳压电源及稳压控制方法
JP2010166359A (ja) 電流制限回路

Legal Events

Date Code Title Description
RD03 Notification of appointment of power of attorney

Free format text: JAPANESE INTERMEDIATE CODE: A7423

Effective date: 20080201

RD04 Notification of resignation of power of attorney

Free format text: JAPANESE INTERMEDIATE CODE: A7424

Effective date: 20080620

A621 Written request for application examination

Free format text: JAPANESE INTERMEDIATE CODE: A621

Effective date: 20090129

A131 Notification of reasons for refusal

Free format text: JAPANESE INTERMEDIATE CODE: A131

Effective date: 20111004

A521 Request for written amendment filed

Free format text: JAPANESE INTERMEDIATE CODE: A523

Effective date: 20111215

A131 Notification of reasons for refusal

Free format text: JAPANESE INTERMEDIATE CODE: A131

Effective date: 20120110

A521 Request for written amendment filed

Free format text: JAPANESE INTERMEDIATE CODE: A523

Effective date: 20120330

TRDD Decision of grant or rejection written
A01 Written decision to grant a patent or to grant a registration (utility model)

Free format text: JAPANESE INTERMEDIATE CODE: A01

Effective date: 20120417

A01 Written decision to grant a patent or to grant a registration (utility model)

Free format text: JAPANESE INTERMEDIATE CODE: A01

A61 First payment of annual fees (during grant procedure)

Free format text: JAPANESE INTERMEDIATE CODE: A61

Effective date: 20120516

R150 Certificate of patent or registration of utility model

Free format text: JAPANESE INTERMEDIATE CODE: R150

Ref document number: 5000144

Country of ref document: JP

Free format text: JAPANESE INTERMEDIATE CODE: R150

FPAY Renewal fee payment (event date is renewal date of database)

Free format text: PAYMENT UNTIL: 20150525

Year of fee payment: 3

R250 Receipt of annual fees

Free format text: JAPANESE INTERMEDIATE CODE: R250

R250 Receipt of annual fees

Free format text: JAPANESE INTERMEDIATE CODE: R250

R250 Receipt of annual fees

Free format text: JAPANESE INTERMEDIATE CODE: R250

R250 Receipt of annual fees

Free format text: JAPANESE INTERMEDIATE CODE: R250

R250 Receipt of annual fees

Free format text: JAPANESE INTERMEDIATE CODE: R250

R250 Receipt of annual fees

Free format text: JAPANESE INTERMEDIATE CODE: R250

R250 Receipt of annual fees

Free format text: JAPANESE INTERMEDIATE CODE: R250

R250 Receipt of annual fees

Free format text: JAPANESE INTERMEDIATE CODE: R250

R250 Receipt of annual fees

Free format text: JAPANESE INTERMEDIATE CODE: R250

R250 Receipt of annual fees

Free format text: JAPANESE INTERMEDIATE CODE: R250