JP2006123784A - 車両用シート - Google Patents

車両用シート Download PDF

Info

Publication number
JP2006123784A
JP2006123784A JP2004315898A JP2004315898A JP2006123784A JP 2006123784 A JP2006123784 A JP 2006123784A JP 2004315898 A JP2004315898 A JP 2004315898A JP 2004315898 A JP2004315898 A JP 2004315898A JP 2006123784 A JP2006123784 A JP 2006123784A
Authority
JP
Japan
Prior art keywords
seat back
back frame
seat
frame
headrest
Prior art date
Legal status (The legal status is an assumption and is not a legal conclusion. Google has not performed a legal analysis and makes no representation as to the accuracy of the status listed.)
Granted
Application number
JP2004315898A
Other languages
English (en)
Other versions
JP4427430B2 (ja
Inventor
Yoshihito Kawashima
義仁 川島
Current Assignee (The listed assignees may be inaccurate. Google has not performed a legal analysis and makes no representation or warranty as to the accuracy of the list.)
Delta Kogyo Co Ltd
Original Assignee
Delta Kogyo Co Ltd
Priority date (The priority date is an assumption and is not a legal conclusion. Google has not performed a legal analysis and makes no representation as to the accuracy of the date listed.)
Filing date
Publication date
Application filed by Delta Kogyo Co Ltd filed Critical Delta Kogyo Co Ltd
Priority to JP2004315898A priority Critical patent/JP4427430B2/ja
Publication of JP2006123784A publication Critical patent/JP2006123784A/ja
Application granted granted Critical
Publication of JP4427430B2 publication Critical patent/JP4427430B2/ja
Anticipated expiration legal-status Critical
Expired - Fee Related legal-status Critical Current

Links

Images

Landscapes

  • Chair Legs, Seat Parts, And Backrests (AREA)
  • Seats For Vehicles (AREA)

Abstract

【課題】 通常は乗員頭部とヘッドレスト間の隙間は確保しておき、車両後方からの衝突に際し、ヘッドレストを前方に移動させるとともに、衝突後、ヘッドレストを元の位置に復帰可能な構成とし、ヘッドレストが元の位置(通常位置)にない場合には容易に復帰させることができる簡素な構成の車両用シートを提供すること。
【解決手段】 シートバックフレーム52を回転ヒンジ62を中心に揺動させるシートバックフレーム揺動機構を設け、このシートバックフレーム揺動機構により、通常着座時にはシートバックフレーム52をサイドフレーム50に保持する一方、車両後方より所定値以上の荷重が入力された場合には、人体の移動により腰部がシートバックフレーム52の下部を後方に押圧することでシートバックフレーム52を回転ヒンジ62を中心に揺動させてヘッドレスト11を前方に移動させるようにした。また、ヘッドレスト11の前方移動後、シートバックフレーム52を後倒させることにより元の位置に復帰させる揺動機構復帰手段56を設けた。
【選択図】図12

Description

本発明は、車両後方から衝突された場合の乗員のむち打ちを防止することが可能な車両用シートに関する。
車両用シートには、通常シートバックの上方にヘッドレストが設けられており、乗員が着座した状態では、乗員の頭部とヘッドレストとの間には所定の隙間があり、車両後方から衝突された場合、身体は前方に移動するのに対し、頭部は後方に残ることで、頸部に負荷がかかりむち打ち症になることがある。
そこで、頭部とヘッドレスト間の隙間を小さくして、被害を最小限に抑えることは可能ではあるが、通常使用状態でも頭部がヘッドレストに常に触れたり、頭部を少し動かすことでヘッドレストと干渉して不快に感じるという問題がある。
また、受圧部に連結されたヘッドレストを揺動自在に取り付けるとともにコイルスプリングにより常時後方に付勢し、車両後方からの衝突に際し、受圧部に入力された荷重によりコイルスプリングの付勢力に抗してヘッドレストを前方に移動させることも提案されているが、衝突後、頭部に当接したヘッドレストが直ちに元の位置に復帰する構成のため、やはり頸部に負荷がかかるという問題がある(例えば、特許文献1参照。)。
そこで、車両後方からの衝突時、ヘッドレストを前方に移動させ、さらにその位置に保持する機構も提案されている(例えば、特許文献2あるいは3参照。)。
特開2001−39194号公報 特開2001−163097号公報 特開2002−274240号公報
特許文献2に記載の車両用シートにあっては、車両後方からの衝突時、前方に移動したヘッドレストをその位置に保持する機構としてラチェット機構を採用しているが、衝突後、前方に移動したヘッドレストを元の位置に復帰させることができなかった。また、衝突後、ヘッドレストが前方に保持されることで、頭部の衝撃はある程度軽減されるものの、まだまだ不十分であった。
また、特許文献3に記載の車両用シートにおいては、同様にラチェット機構を採用しているが、衝突後、前方に移動したヘッドレストを元の位置に復帰させる解除手段が設けられている。しかしながら、衝突後、ヘッドレストはやはり前方に保持される構成で、機構も複雑でコストアップになるという問題がある。
さらに、シートバックを後倒させたとき、シートバックフレームに過大な荷重が加わると、意に反して揺動機構(むち打ち防止機構)が作動してしまうという問題もある。
本発明は、従来技術の有するこのような問題点に鑑みてなされたものであり、通常は乗員頭部とヘッドレスト間の隙間は確保しておき、車両後方からの衝突に際し、ヘッドレストを前方に移動させるとともに、衝突後、ヘッドレストを元の位置に復帰可能な構成とし、ヘッドレストが元の位置(通常位置)にない場合には容易に復帰させることができる簡素な構成の車両用シートを提供することを目的としている。
また、本発明の別の目的は、揺動機構を作動させたくないリクライニング角度のときには、その作動を防止することができる車両用シートを提供することである。
上記目的を達成するために、本発明のうちで請求項1に記載の発明は、シートクッションと、該シートクッションに対し傾倒自在に取り付けられたシートバックと、該シートバックの上部に取り付けられたヘッドレストとを有する車両用シートにおいて、シートクッションフレームに取り付けられた一対のサイドフレームと、該サイドフレームに回転ヒンジを介して取り付けられたシートバックフレームと、該シートバックフレームを前記回転ヒンジを中心に揺動させるシートバックフレーム揺動機構とを備え、該シートバックフレーム揺動機構により、通常着座時には前記シートバックフレームを前記サイドフレームに保持する一方、車両後方より所定値以上の荷重が入力された場合には、人体の移動により腰部が前記シートバックフレームの下部を後方に押圧することで前記シートバックフレームを前記回転ヒンジを中心に揺動させて前記ヘッドレストを前方に移動させるとともに、前記ヘッドレストの前方移動後、前記シートバックフレームを後倒させることにより元の位置に復帰させる揺動機構復帰手段を設けたことを特徴とする。
また、請求項2に記載の発明は、前記シートバックフレームを所定の角度を超えて後倒させることにより、前記シートバックフレーム揺動機構の誤作動を防止する揺動機構誤作動防止手段を設けたことを特徴とする。
さらに、請求項3に記載の発明は、前記揺動機構誤作動防止手段が前記揺動機構復帰手段であることを特徴とする。
また、請求項4に記載の発明は、前記揺動機構復帰手段が、前記シートバックフレームの下端部に回動自在に取り付けられた揺動リンクであることを特徴とする。
また、請求項5に記載の発明は、前記シートバックフレームを所定の角度を超えて後倒させることにより、前記揺動リンクの一端が前記シートクッションフレームの後端部に形成された係合部に当接し、前記シートバックフレーム揺動機構を復帰させるようにしたことを特徴とする。
また、請求項6に記載の発明は、前記シートバックフレーム揺動機構の復帰時あるいは誤作動防止時、前記揺動リンクをガイドするガイド部を前記サイドフレームに設けたことを特徴とする。
本発明によれば、シートバックフレーム揺動機構により、通常着座時にはシートバックフレームをサイドフレームに保持する一方、車両後方より所定値以上の荷重が入力された場合には、人体の移動によりシートバックフレームの下部が後方に押圧されることでシートバックフレームを回転ヒンジを中心に揺動させてヘッドレストを前方に移動させるように設定するとともに、ヘッドレストの前方移動後、シートバックフレームを後倒させることにより元の位置に復帰させる揺動機構復帰手段を設けたので、ヘッドレストが元の位置(通常位置)にない場合でも容易に元の位置に復帰させることができる。
また、シートバックフレームが所定の角度を超えて後倒すると、シートバックフレーム揺動機構の誤作動を防止する揺動機構誤作動防止手段を設けたので、揺動機構を作動させたくないリクライニング角度のときに、シートバックフレームに過大な荷重が加わっても、意に反して揺動機構が作動することはない。
以下、本発明の実施の形態について、図面を参照しながら説明する。
本発明にかかる車両用シートは、車体フロアに取り付けられるシートクッションと、シートクッションに対し傾倒自在に取り付けられるシートバックとを備えている。
実施の形態1.
図1は、本発明の実施の形態1にかかる車両用シートのシートバックを示しており、シートクッションフレームにリクライニングアジャスタ2を介して取り付けられる左右一対のサイドフレーム4と、サイドフレーム4に取り付けられるシートバックフレーム6と、シートバックフレーム6に取り付けられるパッド材8と、パッド材8を被覆する表皮材10とにより構成されている。ヘッドレスト11(図4参照)は、シートバックフレーム6の上部に取り付けられる。
左右のリクライニングアジャスタ2は連結軸12を介して連結されており、一方のリクライニングアジャスタ2に取り付けられた操作レバー14を操作することにより、サイドフレーム4は所望の角度に設定される。
図2及び図3に示されるように、リクライニングアジャスタ2はシートクッションフレームに取り付けられる下部ブラケット16と、下部ブラケット16に対し傾倒自在に取り付けられた上部ブラケット18とを備えているが、リクライニングアジャスタ2は本発明の主眼ではないので、詳細説明は省略する。
リクライニングアジャスタ2の上部ブラケット18には、サイドフレームインナー20が取り付けられており、サイドフレームインナー20には、シートバックフレーム6に取り付けられたボルト(後述)が遊挿されるガイド孔(ガイド部)20aが形成されている。また、ガイド孔20aの前端部には弾性部材(後述)を保持するための凹部(弾性体保持部)20bが形成されている。サイドフレームインナー20の上部には、サイドフレーム4が接合されており、サイドフレームインナー20に形成された凹部20bに対向するサイドフレーム4には、ナット挿入孔4aが穿設されている。さらに、サイドフレーム4の上部には回転ヒンジ挿入孔4bが穿設されている。なお、上述したガイド孔20aは、回転ヒンジ挿入孔4bを中心とする円弧状の長孔形状に形成されている。
一方、シートバックフレーム6は、サイドフレームインナー20に形成された凹部20bに対向する部位にブラケット22が接合されており、このブラケット22に凹部20bに向かって突出する第1のボルト24が取り付けられている。また、サイドフレーム4に形成された回転ヒンジ挿入孔4bに対向するシートバックフレーム6には、別のブラケット26が接合されており、このブラケット26に回転ヒンジ挿入孔4bに向かって突出する回転ヒンジとしての第2のボルト28が取り付けられている。
シートバックフレーム6をサイドフレーム4及びサイドフレームインナー20に取り付けるに際し、第1のボルト24が皿バネ30の中心孔30aとサイドフレームインナー20の凹部20bの中心孔(ガイド孔20aの先端部)に挿通されるとともに、第2のボルト28がサイドフレーム4の回転ヒンジ挿入孔4bに挿通される。また、サイドフレーム4のナット挿入孔4aを介して第1のナット32が第1のボルト24に螺合され、第2のナット34が第2のボルト28に螺合される。
なお、弾性体あるいはバネ部材としての皿バネ30は、外方に向かって円錐状の内端部が、この内端部と相補形状をなすサイドフレームインナー20の凹部20bの円錐状の傾斜面に嵌入して保持されており、皿バネ30の外端部はブラケット22の平坦面に当接している。
上記構成の本発明にかかる車両用シートは、通常の着座時には、皿バネ30がサイドフレームインナー20の凹部20bに保持されているので、シートバックフレーム6はサイドフレーム4に固定されており、この状態で乗員の上体の荷重をシートバックフレーム6で支持している。また、シートバックフレーム6の上部に取り付けられたヘッドレスト11は、乗員の頭部とは所定の間隔をおいて離隔している。
一方、例えば車両後方から衝突(後突)され、後方から所定値以上の荷重が入力された場合、人体は相対的にシートバックに押しつけられる。このとき、人体の後方への移動により腰部がシートバックフレーム6の下部を後方に押すことになるので、皿バネ30は変形して(圧縮されて)サイドフレームインナー20の凹部20bから離脱し、第1のボルト24とともにガイド孔20aに沿ってガイド孔20aの後端部に向かって移動する。したがって、シートバックフレーム6は第2のボルト28を回転ヒンジとして揺動し、ヘッドレスト11は乗員の頭部に向かって移動して乗員の頭部を支持することになる。
図4は、通常の着座状態(a)と、後突時のシートバックフレーム6及びヘッドレスト11の作動状態(b)を示している。
なお、第1のボルト24と第2のボルト28との間隔は、第2のボルト28とヘッドレスト11の高さ方向の間隔より大きく設定されているが、後突時に乗員頭部の荷重がヘッドレスト11に遅れて加えられると、腰部が押し戻されヘッドレスト11は元の位置に向かって移動する。しかしながら、後突時の皿バネ30の変形は弾性範囲内の変形であることから、ある程度の抵抗が生じ、乗員の頚部の負荷が軽減される。
また、ヘッドレスト11が元の位置に完全に復帰できなかった場合、ヘッドレスト11に後方への荷重を加えることにより、あるいは、シートバックフレーム6の下部に前方への荷重を加えることにより、第2のボルト28及び皿バネ30はガイド孔20aに沿って前方に向かって移動し、皿バネ30は凹部20bに再び保持される(元の位置に復帰する)。
なお、上記実施の形態において、皿バネ30及び第1のボルト24のガイド孔20aをサイドフレームインナー20に形成したが、サイドフレームインナーをサイドフレームと一体的に形成し、サイドフレームの一部にガイド孔を形成する構成も可能である。
また、上記実施の形態においては、皿バネ30を弾性体として採用したが、後述するように、皿バネに放射状の突出部を複数設けて、突出部がブラケット22の平坦面に当接するようにしてもよい。この場合、後突時に皿バネの突出部が容易に変形し、安定した荷重で皿バネがガイド孔20aに沿って移動する。
さらに、皿バネ30あるいは複数の突出部を有する皿バネと凹部20bとの間に円錐状の斜面を有する樹脂製あるいは金属製ワッシャを案内部材として介装することもできる。
図5及び図6は、複数の突出部36aを有する皿バネ36と凹部20bとの間に上述した円錐状の斜面を有するワッシャ38を介装した構成を示している。この構成においては、ワッシャ38の円錐状斜面が、この斜面と相補形状をなすサイドフレームインナー20の凹部20bの円錐状の傾斜面に嵌入して保持されており、ワッシャ38の反対側平坦面は、皿バネ36の円錐形状の内端部外面と当接している。また、皿バネ36の複数の突出部36aがブラケット22の平坦面に当接している。
なお、図5及び図6の構成において、皿バネ36に代えて、円筒状のゴム体や圧縮バネやウェーブワッシャ等を使用することもできる。
また、皿バネ30,36をシートバックフレーム6に設けられた第1のボルト24に取り付けるようにしたが、シートバックフレーム6にガイド孔を有するブラケットを接合するとともに、サイドフレームインナー20に設けられたボルトに皿バネを取り付けることもできる。
さらに、図7及び図8に示されるように、サイドフレームインナー20に形成されたガイド孔20aの前端部を除く両側にガイド孔20aと略平行に延びる凸部40を形成することも可能で、この場合、ガイド孔20aの前端部には皿バネ30(あるいは36)を保持するための凹部は形成されていない。
この構成において、通常の着座時には、図8(a)に示されるように、皿バネ30がガイド孔20aの前端部に保持されている。一方、後突時には、図8(b)に示されるように、皿バネ30は変形して(圧縮されて)凸部40に乗り上げ、第1のボルト24とともにガイド孔20aに沿ってガイド孔20aの後端部に向かって移動する。したがって、シートバックフレーム6は第2のボルト28を回転ヒンジとして揺動し、ヘッドレスト11は乗員の頭部に向かって移動して乗員の頭部を支持することになる。
また、図9に示されるように、金属製のボール42を介して後突時にシートバックフレーム6を揺動させることも可能である。
すなわち、サイドフレーム4の下端部をサイドフレームインナー20に接合し、サイドフレームインナー20に凹部44をサイドフレーム4に向かって円錐状に形成するとともに、シートバックフレーム6に接合されたブラケット22にボール収容孔22aを形成して、ボール42をサイドフレームインナー20の凹部44とブラケット22のボール収容孔22aに収容している。また、ブラケット22には板ばね等の弾性体46の一端が螺着されており、この弾性体46の他端でボール42を凹部44に向かって付勢している。
この構成は、通常の着座時には、ボール42は弾性体46の弾性力により凹部44内に保持されている。一方、後突時には、シートバックフレーム6の下部に後方への荷重が加わるので、ボール42を付勢している弾性体46の他端部が内方に向かって持ち上げられる。その結果、ボール42は凹部44から離脱して、ボール収容孔22aに収容された状態で後方に向かって移動する。したがって、シートバックフレーム6は第2のボルト28を回転ヒンジとして揺動し、ヘッドレスト11は乗員の頭部に向かって移動して乗員の頭部を支持することになる。
さらに、図10に示される構成も可能である。
詳述すると、図10に示されるように、サイドフレーム4の下端部をサイドフレームインナー20に接合し、サイドフレームインナー20に前後方向に延びる矩形長孔20cを形成するとともに、シートバックフレーム6に接合されたブラケット22にも同一形状の矩形長孔22bを形成し、略L字状に折曲され基端部がブラケット22に螺着された板ばね等の弾性体48の先端部を二つの矩形長孔20c,22bに遊挿している。弾性体48の先端後部にはテーパ状の切欠部48aが形成されており、この切欠部48aがサイドフレームインナー20の矩形長孔20cの後縁に対向するように設定されている。
この構成において、通常の着座時には、弾性体48の先端部は二つの矩形長孔20c,22bに遊挿され保持されている。一方、後突時には、シートバックフレーム6の下部に後方への荷重が加わるので、弾性体48の弾性力に抗して弾性体48の先端後部に形成されたテーパ状の切欠部48aがサイドフレームインナー20の矩形長孔20cの後縁に乗り上げ、内方に向かって持ち上げられる。その結果、弾性体48の先端部は矩形長孔20cから離脱して後方に向かって移動する。したがって、シートバックフレーム6は第2のボルト28を回転ヒンジとして揺動し、ヘッドレスト11は乗員の頭部に向かって移動して乗員の頭部を支持することになる。
実施の形態2.
図11及び図12は、本発明の実施の形態2にかかる車両用シートを示しており、以下上述した実施の形態1との相違点を主に説明する。
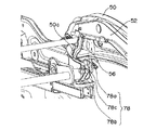
リクライニングアジャスタ2の上部ブラケット18には、サイドフレーム50の下端部が取り付けられており、サイドフレーム50には、シートバックフレーム52の下端部近傍に取り付けられたボルト(後述)が遊挿されるガイド孔(ガイド部)50aが形成されている。
図13に示されるように、ガイド孔50aの後端部を除く両側には、ガイド孔50aと略平行に延びるとともに外方に向かって凸状の隆起部54が形成されており、隆起部54の中間部には、弾性部材(後述)を保持するための凹部(弾性体保持部)54aが形成されている。さらに、サイドフレーム50の上部には回転ヒンジ挿入孔50bが穿設されている。なお、上述したガイド孔50aは、回転ヒンジ挿入孔50bを中心とする円弧状の長孔形状に形成されている。
一方、上部にヘッドレスト11が取り付けられたシートバックフレーム52は、略逆U字状に形成されており、図12及び図14に示されるように、その下端部には揺動リンク56の一端が回動自在に取り付けられ、揺動リンク56の他端はサイドフレーム50の下端部に形成された切欠(ガイド溝)50cに嵌入している。また、揺動リンク56の中間部にはコイルスプリング58の一端が係止され、コイルスプリング58の他端がサイドフレーム50の下端部に係止されることで、揺動リンク56はその他端が切欠50cに向かって付勢されている。
さらに、サイドフレーム50に形成されたガイド孔50aに対向するシートバックフレーム52には、ガイド孔50aに向かって突出する第1のボルト60が取り付けられており、サイドフレーム50に形成された回転ヒンジ挿入孔50bに対向するシートバックフレーム52には、回転ヒンジ挿入孔50bに向かって突出する回転ヒンジとしての第2のボルト62が取り付けられている。
また、シートバックフレーム52の両側部には複数のS字バネ64の両端が固定されており、下方に位置する二つのS字バネ64の間には着座者の腰部に対向する受圧板66が設けられ、その両端はS字バネ64と同様、シートバックフレーム52の両側部に固定されている。なお、S字バネ64はシートバックフレーム52をカバーするパッド材(図示せず)の裏面に当接しているのに対し、受圧板66はパッド材の裏面とは離隔しており、人が座ったときに初めて受圧板66はパッド材と当接する。
シートバックフレーム52をサイドフレーム50に取り付けるに際し、第1のボルト60がサイドフレーム50のガイド孔50aと略長円形あるいは菱形状の弾性部材(板バネ)68の中心孔68aに挿通されるとともに、第2のボルト62がサイドフレーム50の回転ヒンジ挿入孔50bに挿通された後、第1及び第2のボルト60,62にはナット70,72が螺合される。
なお、弾性部材68の両端にはサイドフレーム50に向かって凸状の突起74が、サイドフレーム50に形成された隆起部54の凹部54aと相補形状をなすように形成されており、第1のボルト60とナット70とを螺合させるに際し、突起74が隆起部54の凹部54aに嵌入する。このとき、第1のボルト60はガイド孔50aの前端部に位置している。
上記構成の本発明にかかる車両用シートは、図15(a)に示される通常の着座時には、弾性部材68の突起74がサイドフレーム50に形成された隆起部54の凹部54aに嵌入して保持されているので、シートバックフレーム52はサイドフレーム50に固定されており、この状態で乗員の上体の荷重をシートバックフレーム52で支持している。また、シートバックフレーム52の上部に取り付けられたヘッドレスト11は、乗員の頭部とは所定の間隔をおいて離隔している。
一方、例えば車両後方から衝突(後突)され、後方から所定値以上の荷重が入力された場合、人体は相対的にシートバックに押しつけられる。このとき、人体の後方への移動により腰部が受圧板66を後方に押すことになるので、弾性部材68が変形し、弾性部材68の突起74は隆起部54の凹部54aから離脱し、第1のボルト60とともにガイド孔50aに沿ってガイド孔50aの後端部に向かって移動する。したがって、シートバックフレーム52は第2のボルト62を回転ヒンジとして揺動し、ヘッドレスト11は乗員の頭部に向かって移動して乗員の頭部を支持することになる。図15(b)はこのときの状態を示している。
また、図17(a)及び(b)は通常の着座状態と後突時の状態における揺動リンク56をそれぞれ示しており、通常の着座状態では、揺動リンク56の下端部先端がコイルスプリング58の弾性力によりサイドフレーム50の下端部に形成された切欠50cに嵌入しているのに対し、後突時はシートバックフレーム52の下端部の後方への移動とともに揺動リンク56が切欠50cに沿って下方に押し出される。
なお、図20(a)に示されるように、隆起部54は後方に向かってなだらかなテーパ形状を呈していることから、作動時(ヘッドレスト11の前方移動時)には、弾性部材68が容易に後方へ移動できるように作用し、ヘッドレスト11を元の位置に復帰させる時には、ある程度の抵抗を与えることになる。
後突試験により、人体からの荷重は最初腰部が高く、その後胸部や頭部が高くなることが分かっており、本発明においては、腰部の荷重が高くなった時点でシートバックフレーム52の揺動機構が働いて、一旦ヘッドレスト11が前方へ移動し頭部を保持する。その後、胸部や頭部の荷重が高くなったときには、上述したテーパ形状の作用により、頭部や胸部の衝撃を吸収しながら、弾性部材68が元の保持位置に復帰する(リバウンド)。
また、後突により弾性部材68の突起74が隆起部54の凹部54aから一旦離脱し、その後のリバウンドにより弾性部材68が元の保持位置に復帰しなかったとしても、シートバックを図15(c)の状態を通過して図15(d)の状態(略フルフラットな状態)まで後倒することで、シートバックフレーム52の下端部が揺動リンク56により徐々に持ち上げられ、元の位置に復帰する。
詳述すると、シートクッションフレーム76の後端部には、図14に示されるように、上段部78aと下段部78bと上段部78a及び下段部78bとを連結する垂直壁部78cとを有する係合部78が形成されており、後突時、切欠50cに沿って下方に押し出された揺動リンク56は、シートバックを後倒すると、図18(a)に示されるように、揺動リンク56の下端部が係合部78の垂直壁部78cに当接する。その後、シートバックをさらに図15(d)の状態まで後倒すると、図18(b)に示されるように、下端部が係合部78の垂直壁部78cに当接した揺動リンク56は、その下端部先端面が係合部78の下段部78bに支えられてその姿勢を略維持する一方、サイドフレーム50は略水平の状態まで後倒する。その結果、揺動リンク56は、サイドフレーム50の下端部において切欠50cと対向する部位に形成された切欠(ガイド溝)50dに嵌入するとともに、シートバックフレーム52の下端部が係合部78の下段部78bから所定の高さ(揺動リンク56の長さに略相当)に維持されるので、サイドフレーム50の下端部に対しシートバックフレーム52の下端部が相対的に上昇することになる。したがって、シートバックフレーム52がサイドフレーム50に対し第2のボルト62を中心として揺動して作動前(後突前)の状態に復帰する。
すなわち、揺動リンク56は、シートバックフレーム52の揺動機構の復帰手段として作用する。
なお、弾性部材68の突起74が嵌入する凹部54aは必ずしも隆起部54に形成する必要はなく、凹部54aが形成されたサイドフレーム50の形状を図20(b)あるいは(c)に示されるように、後方に向かってなだらかに上昇するテーパ形状や平坦な形状に設定することによりヘッドレスト11の前方移動時あるいは復帰時の抵抗を種々変更することができる。図20(a)〜(c)における中段及び下段のグラフは、ヘッドレスト11の前方移動時及び復帰時の荷重をそれぞれ示している。
また、弾性部材68の突起74が隆起部54の凹部54aから離脱するときの荷重は、ナット70により調節可能で、図12ではナット70に代えてナット付き調節ダイヤル70Aを図示している。ナット70あるいは調節ダイヤル70Aにより第1のボルト60との締め付け力を変えることで凹部54aからの突起74の離脱時の荷重を変更することができる。
また、上記実施の形態1においては、シートバックを大きく後倒させた時に、通常着座時に着座者の腰部が当接する部位に大きな荷重(例えば、着座者の体重等)が加わると、シートバックフレームの揺動機構が働く可能性があるが、本実施の形態においては、シートバック後倒時におけるシートバックフレームの揺動機構は働かない構成となっている。
詳述すると、シートバックを図16(a)に示される着座状態から図16(c)の状態まで後倒させると(所定の角度を超えて後倒させると)、シートバックフレーム52の下端部に回動自在に取り付けられた揺動リンク56の下端部は、図19に示されるように、サイドフレーム50の切欠50cに嵌入した状態でシートクッションフレーム76の後端部に形成された係合部78の上段部78aに沿って前方に移動する。したがって、図16(c)に示される状態あるいはそれよりさらに後倒した状態(例えば、図15(d)の状態)で、受圧板66に着座者の体重が加わっても、揺動リンク56はその下端部が係合部78の上段部78aに当接してシートバックフレーム52の下端部を所定の高さに維持することになり、シートバックフレーム52の揺動リンク56との連結部は揺動リンク56に支えられて所定の高さに維持され、弾性部材68の突起74が隆起部54の凹部54aから離脱することはない。
すなわち、揺動リンク56は、シートバック後倒時におけるシートバックフレーム揺動機構の誤作動防止手段として作用する。
また、上述したように、揺動機構の復帰手段あるいは誤作動防止手段として作用する揺動リンク56は、上述した実施の形態1にも適用できる。
さらに、後突時、人体の移動による荷重が伝達される受圧板66についても、同様に実施の形態1にも適用できるものである。
本発明にかかる車両用シートは、シートバックフレーム揺動機構により、通常着座時にはシートバックフレームをサイドフレームに保持する一方、車両後方より所定値以上の荷重が入力された場合には、人体の移動によりシートバックフレームの下部が後方に押圧されることでシートバックフレームを揺動させてヘッドレストを前方に移動させるように設定するとともに、ヘッドレストの前方移動後、シートバックフレームを後倒させるだけでヘッドレストを元の位置に復帰させ、かつ、シートバックの後倒時シートバックフレーム揺動機構の誤作動を防止するようにしたので、簡素な構成で乗員のむち打ち症を防止することができる信頼性の高い車両用シートとして有用である。
本発明の実施の形態1にかかる車両用シートを構成するシートバックの分解斜視図である。 図1のシートバックの部分分解斜視図である。 図1のシートバックの別の部分分解斜視図である。 本発明にかかる車両用シートの側面図を示しており、(a)は通常着座時を、(b)は後突時の状態をそれぞれ示している。 実施の形態1にかかる車両シートの変形例の要部分解斜視図である。 図5の部分縦断面図である。 実施の形態1にかかる車両シートの別の変形例の要部分解斜視図である。 図7の部分縦断面図であり、(a)は(a)は通常着座時を、(b)は後突時の状態をそれぞれ示している。 実施の形態1にかかる車両シートのさらに別の変形例の要部分解斜視図である。 実施の形態1にかかる車両シートのさらに別の変形例の要部分解斜視図である。 本発明の実施の形態2にかかる車両用シートの斜視図である。 図11の車両用シートの分解斜視図である。 図11の車両用シートに設けられたシートバックの部分斜視図である。 シートバックの別の部分斜視図である。 (a)は通常の着座状態を、(b)は後突時の状態を、(c)及び(d)はシートバックフレーム揺動機構の復帰時の状態をそれぞれ示す車両用シートの側面図である。 (a)〜(c)はシートバック後倒時においてシートバックフレーム揺動機構の誤作動を防止している状態を示す車両用シートの側面図である。 (a)及び(b)は通常の着座状態と後突時の状態における揺動リンク近傍をそれぞれ示す斜視図である。 (a)及び(b)は後突後シートバックフレーム揺動機構が元の位置に復帰する状態をそれぞれ示す斜視図である。 シートバック後倒時においてシートバックフレーム揺動機構の誤作動を防止している状態を示す斜視図である。 図13における線A−Aに沿った断面図と、ヘッドレストの前方移動時及び復帰時の荷重を示しており、(a)は図13に示される構成のものを、(b)及び(c)はその変形例の構成のものをそれぞれ示している。
符号の説明
2 リクライニングアジャスタ、 4 サイドフレーム、 6 シートバックフレーム、
8 パッド材、 10 表皮材、 11 ヘッドレスト、 12 連結軸、
14 操作レバー、 16 下部ブラケット、 18 上部ブラケット、
20 サイドフレームインナー、 20a ガイド孔、 20b 凹部、
20c 長孔、 22,26 ブラケット、 22a ボール収容孔、 22b 長孔、
24 第1のボルト、 28 第2のボルト、 30,36 皿バネ、
32 第1のナット、 34 第2のナット、 36a 突出部、 38 ワッシャ、
40 凸部、 42 ボール、 44 凹部、 46,48 弾性体、
48a 切欠部、 50 サイドフレーム、 50a ガイド孔、
50c、50d 切欠、 52 シートバックフレーム、 54 隆起部、
54a 凹部、 56 揺動リンク、 58 コイルスプリング、
60 第1のボルト、 62 第2のボルト、 64 S字バネ、 66 受圧板、
68 弾性部材、 70,72 ナット、 74 突起、
76 シートクッションフレーム、 78 係合部。

Claims (6)

  1. シートクッションと、該シートクッションに対し傾倒自在に取り付けられたシートバックと、該シートバックの上部に取り付けられたヘッドレストとを有する車両用シートにおいて、
    シートクッションフレームに取り付けられた一対のサイドフレームと、該サイドフレームに回転ヒンジを介して取り付けられたシートバックフレームと、該シートバックフレームを前記回転ヒンジを中心に揺動させるシートバックフレーム揺動機構とを備え、該シートバックフレーム揺動機構により、通常着座時には前記シートバックフレームを前記サイドフレームに保持する一方、車両後方より所定値以上の荷重が入力された場合には、人体の移動により腰部が前記シートバックフレームの下部を後方に押圧することで前記シートバックフレームを前記回転ヒンジを中心に揺動させて前記ヘッドレストを前方に移動させるとともに、前記ヘッドレストの前方移動後、前記シートバックフレームを後倒させることにより元の位置に復帰させる揺動機構復帰手段を設けたことを特徴とする車両用シート。
  2. 前記シートバックフレームを所定の角度を超えて後倒させることにより、前記シートバックフレーム揺動機構の誤作動を防止する揺動機構誤作動防止手段を設けたことを特徴とする請求項1に記載の車両用シート。
  3. 前記揺動機構誤作動防止手段が前記揺動機構復帰手段であることを特徴とする請求項2に記載の車両用シート。
  4. 前記揺動機構復帰手段が、前記シートバックフレームの下端部に回動自在に取り付けられた揺動リンクであることを特徴とする請求項1乃至3のいずれか1項に記載の車両用シート。
  5. 前記シートバックフレームを所定の角度を超えて後倒させることにより、前記揺動リンクの一端が前記シートクッションフレームの後端部に形成された係合部に当接し、前記シートバックフレーム揺動機構を復帰させるようにしたことを特徴とする請求項4に記載の車両用シート。
  6. 前記シートバックフレーム揺動機構の復帰時あるいは誤作動防止時、前記揺動リンクをガイドするガイド部を前記サイドフレームに設けたことを特徴とする請求項4あるいは5に記載の車両用シート。
JP2004315898A 2004-10-29 2004-10-29 車両用シート Expired - Fee Related JP4427430B2 (ja)

Priority Applications (1)

Application Number Priority Date Filing Date Title
JP2004315898A JP4427430B2 (ja) 2004-10-29 2004-10-29 車両用シート

Applications Claiming Priority (1)

Application Number Priority Date Filing Date Title
JP2004315898A JP4427430B2 (ja) 2004-10-29 2004-10-29 車両用シート

Publications (2)

Publication Number Publication Date
JP2006123784A true JP2006123784A (ja) 2006-05-18
JP4427430B2 JP4427430B2 (ja) 2010-03-10

Family

ID=36718916

Family Applications (1)

Application Number Title Priority Date Filing Date
JP2004315898A Expired - Fee Related JP4427430B2 (ja) 2004-10-29 2004-10-29 車両用シート

Country Status (1)

Country Link
JP (1) JP4427430B2 (ja)

Cited By (8)

* Cited by examiner, † Cited by third party
Publication number Priority date Publication date Assignee Title
JP2008189027A (ja) * 2007-02-01 2008-08-21 Delta Kogyo Co Ltd 車両用シート
JP2008238909A (ja) * 2007-03-27 2008-10-09 Mazda Motor Corp 車両用シートシステム
JP2008238910A (ja) * 2007-03-27 2008-10-09 Mazda Motor Corp 車両用シートシステム
JP2008254721A (ja) * 2007-03-13 2008-10-23 Delta Kogyo Co Ltd 車両用シート
JP2010173435A (ja) * 2009-01-28 2010-08-12 Ts Tech Co Ltd 乗物用シート
JP2017194388A (ja) * 2016-04-21 2017-10-26 日本電子材料株式会社 プローブカード
CN113995271A (zh) * 2016-04-29 2022-02-01 明门瑞士股份有限公司 座椅装置
JP7528851B2 (ja) 2021-04-14 2024-08-06 トヨタ紡織株式会社 乗物用シート

Cited By (8)

* Cited by examiner, † Cited by third party
Publication number Priority date Publication date Assignee Title
JP2008189027A (ja) * 2007-02-01 2008-08-21 Delta Kogyo Co Ltd 車両用シート
JP2008254721A (ja) * 2007-03-13 2008-10-23 Delta Kogyo Co Ltd 車両用シート
JP2008238909A (ja) * 2007-03-27 2008-10-09 Mazda Motor Corp 車両用シートシステム
JP2008238910A (ja) * 2007-03-27 2008-10-09 Mazda Motor Corp 車両用シートシステム
JP2010173435A (ja) * 2009-01-28 2010-08-12 Ts Tech Co Ltd 乗物用シート
JP2017194388A (ja) * 2016-04-21 2017-10-26 日本電子材料株式会社 プローブカード
CN113995271A (zh) * 2016-04-29 2022-02-01 明门瑞士股份有限公司 座椅装置
JP7528851B2 (ja) 2021-04-14 2024-08-06 トヨタ紡織株式会社 乗物用シート

Also Published As

Publication number Publication date
JP4427430B2 (ja) 2010-03-10

Similar Documents

Publication Publication Date Title
JP4348255B2 (ja) 車両用シート
JP4850476B2 (ja) 車両用シート
JP5394036B2 (ja) 車両用シート
US5366268A (en) High strength seat back
JP5091574B2 (ja) 車両用シート
CN101223051B (zh) 车辆座椅
JP2000516557A (ja) シートの背部支持機構
CN101119870A (zh) 车辆座椅的活动头枕机构
JP4427430B2 (ja) 車両用シート
WO2005073017A1 (ja) 自動車用シート
JP5096009B2 (ja) 車両用シート
JP5112736B2 (ja) 車両用シート
US8029057B2 (en) Clutch mechanism for vehicle seat
JP5252936B2 (ja) 車両用シート
JP4716725B2 (ja) 車両用シート
JP4744236B2 (ja) 自動車用シート
KR200388661Y1 (ko) 의자용 헤드레스트 연결장치
KR100823200B1 (ko) 차량용 헤드레스트 각도 조절장치
JP5343577B2 (ja) シートバックの内部構造
JP2001233109A (ja) 可倒式ヘッドレスト
JPH08182557A (ja) 車両用シートリクライニング装置

Legal Events

Date Code Title Description
A621 Written request for application examination

Free format text: JAPANESE INTERMEDIATE CODE: A621

Effective date: 20071002

RD03 Notification of appointment of power of attorney

Free format text: JAPANESE INTERMEDIATE CODE: A7423

Effective date: 20071002

A977 Report on retrieval

Free format text: JAPANESE INTERMEDIATE CODE: A971007

Effective date: 20091125

TRDD Decision of grant or rejection written
A01 Written decision to grant a patent or to grant a registration (utility model)

Free format text: JAPANESE INTERMEDIATE CODE: A01

Effective date: 20091201

A01 Written decision to grant a patent or to grant a registration (utility model)

Free format text: JAPANESE INTERMEDIATE CODE: A01

A61 First payment of annual fees (during grant procedure)

Free format text: JAPANESE INTERMEDIATE CODE: A61

Effective date: 20091214

R150 Certificate of patent or registration of utility model

Free format text: JAPANESE INTERMEDIATE CODE: R150

FPAY Renewal fee payment (event date is renewal date of database)

Free format text: PAYMENT UNTIL: 20121218

Year of fee payment: 3

LAPS Cancellation because of no payment of annual fees