JP2006050254A - 電子機器 - Google Patents

電子機器 Download PDF

Info

Publication number
JP2006050254A
JP2006050254A JP2004228377A JP2004228377A JP2006050254A JP 2006050254 A JP2006050254 A JP 2006050254A JP 2004228377 A JP2004228377 A JP 2004228377A JP 2004228377 A JP2004228377 A JP 2004228377A JP 2006050254 A JP2006050254 A JP 2006050254A
Authority
JP
Japan
Prior art keywords
lid
lock lever
memory card
battery
electronic device
Prior art date
Legal status (The legal status is an assumption and is not a legal conclusion. Google has not performed a legal analysis and makes no representation as to the accuracy of the status listed.)
Pending
Application number
JP2004228377A
Other languages
English (en)
Inventor
Jiro Yamamoto
次郎 山本
Current Assignee (The listed assignees may be inaccurate. Google has not performed a legal analysis and makes no representation or warranty as to the accuracy of the list.)
Canon Inc
Original Assignee
Canon Inc
Priority date (The priority date is an assumption and is not a legal conclusion. Google has not performed a legal analysis and makes no representation as to the accuracy of the date listed.)
Filing date
Publication date
Application filed by Canon Inc filed Critical Canon Inc
Priority to JP2004228377A priority Critical patent/JP2006050254A/ja
Publication of JP2006050254A publication Critical patent/JP2006050254A/ja
Pending legal-status Critical Current

Links

Images

Classifications

    • YGENERAL TAGGING OF NEW TECHNOLOGICAL DEVELOPMENTS; GENERAL TAGGING OF CROSS-SECTIONAL TECHNOLOGIES SPANNING OVER SEVERAL SECTIONS OF THE IPC; TECHNICAL SUBJECTS COVERED BY FORMER USPC CROSS-REFERENCE ART COLLECTIONS [XRACs] AND DIGESTS
    • Y02TECHNOLOGIES OR APPLICATIONS FOR MITIGATION OR ADAPTATION AGAINST CLIMATE CHANGE
    • Y02EREDUCTION OF GREENHOUSE GAS [GHG] EMISSIONS, RELATED TO ENERGY GENERATION, TRANSMISSION OR DISTRIBUTION
    • Y02E60/00Enabling technologies; Technologies with a potential or indirect contribution to GHG emissions mitigation
    • Y02E60/10Energy storage using batteries

Landscapes

  • Camera Bodies And Camera Details Or Accessories (AREA)
  • Casings For Electric Apparatus (AREA)
  • Studio Devices (AREA)
  • Battery Mounting, Suspending (AREA)

Abstract


【課題】 誤操作による画像データの破損を防止すると共にロックレバーの誤動作を防止することができる電子機器を提供することにある。
【解決手段】 カメラ本体11は、レリーズボタン12の操作によりレンズ鏡筒を介して取得した被写体画像をCCDによりデジタル画像信号に変換した上で、メモリーカード13に保存する。電池・メモリーカード蓋16は、スライド後に回転することにより開動作を行って電池17やメモリーカード13をカメラ本体11より挿抜することができる。電池・メモリーカード蓋16には、蓋16の面内において蓋16のスライド方向と直角な方向にスライド自在なロックレバー18が設けられている。蓋16を開けるためにロックレバー18をスライドさせると、その動作に応じて補助部材20が黒太矢印方向に動作し、この動作は、検出スイッチ19によって蓋16の開動作の前兆として検出される。
【選択図】 図2

Description

本発明は、電子機器に関し、特に、記録メディアや電池を本体より挿抜するために開閉可能な蓋を有するデジタルカメラ等の電子機器に関する。
近年急速に普及しているデジタルカメラは、一般に、レンズ鏡筒を通して被写体を撮像素子により取得し、取得した画像の画像信号をデジタル画像信号へ変換した上で、メモリーカード等の記録メディアに記録するものである。
しかしながら、デジタルカメラは、メモリーカードに画像データを書き込み中にカメラ本体の電源が切れたり、メモリーカードがカメラ本体より抜き出された場合は、その画像データが破損する可能性が高いため、そのような動作が行われる前にデジタルカメラを正常にシャットダウンする必要がある。
そのため、多くのデジタルカメラでは、電池やメモリーカードがカメラ本体から抜き出されたことを、電池室の蓋やメモリーカードの蓋に設けた検出スイッチにより、各蓋の開閉を検出することにより検出している。
図4は、従来のデジタルカメラを背面側から見た斜視図である。
図4において、デジタルカメラ40はカメラ本体41を有し、カメラ本体41は、レリーズボタン42の操作により図示しないレンズ鏡筒を介して取得した被写体画像をCCDによりデジタル画像信号に変換した上で、メモリーカード43に保存する。液晶ディスプレイ44は、撮影時に被写体画像の確認を行うと共に撮影後には撮影した画像の確認を行う。十字配列キー45は、撮影時には各種撮影条件の設定等、再生時には画像の送り等様々な操作を行う。電池・メモリーカード蓋46は、スライド後に回転することにより開動作を行って電池47やメモリーカード43をカメラ本体41から挿抜することができる。
検出スイッチ48は、スイッチ打鍵部46aにより電池・メモリーカード蓋46の開閉動作の検出を行う。
図5において、電池・メモリーカード蓋46は、閉状態からa方向にスライドし、その後b方向に回転して開状態となる。検出スイッチ48は、スイッチ打鍵部46aにより電池・メモリカード蓋46の閉状態時には押されていて、電池・メモリーカード蓋46が閉状態であることを検出しており、a方向への動作に伴ってスイッチ打鍵部46aが検出スイッチ48より離れることによりスイッチ信号が切り替り、電池・メモリカード蓋46が開状態になったことを検出することができる。
デジタルカメラ40は、蓋46が開状態になったことを検出すると、メモリーカード43へのアクセスを中止し、デジタルカメラ40を正常にシャットダウンする。これにより、メモリーカード43における画像データの破損を防止する。その後、b方向に電池・メモリーカード蓋46が開くことにより、電池47又はメモリーカード43をカメラ本体41から挿抜することができる。
ここで、電池・メモリーカード蓋46の内側面には2本の電池が電気的に接続するよう2本を連結する電池接片が構成されている。即ち、電池・メモリーカード蓋46がb方向へ開いた瞬間に電池47との接触が途絶えて、カメラ本体41への電源供給が停止する。
また、電池・メモリーカード蓋に該蓋のスライドを禁止・許可すべく蓋の面に垂直な方向に動作するロックボタンを設け、ロックボタンの動作を電気的に検出することにより、電池・メモリーカード蓋の開動作の前兆を検出する技術も提案されている(例えば、特許文献1参照)。
特開2002−280760号公報
しかしながら、前者の従来技術の場合、例え電池・メモリーカード蓋46の開状態を検出しても、使用者が蓋46のスライド後の回転動作を素早く行った場合等、検出後に正常なシャットダウンが行われる前に電源供給が停止した場合は、結果的にメモリーカード43における画像データを破損する可能性が高い。
また、後者の従来技術の場合、ロックボタンの動作方向が蓋の面に垂直な方向なので、ロックボタンの動作を検出してからカメラ本体への電源供給の停止までのタイムラグが充分にとれず、前者の従来技術と同様に、メモリーカードにおける画像データの破損を必ずしも防止することができないことに加えて、誤ってロックボタンに触れたときに、蓋が開いてしまう可能性がある。
本発明の目的は、誤操作による画像データの破損を防止すると共にロックレバーの誤動作を防止することができる電子機器を提供することにある。
上記の目的を達成するために、請求項1記載の電子機器は、アクセサリを収納する収納室を有する本体と、前記収納室を開閉すると共に閉鎖時に前記アクセサリと電気的に接触する蓋とを備える電子機器において、前記蓋の開動作を禁止・許可すべく前記蓋の面内で動作するロックレバーと、前記ロックレバーの動作を検出する検出スイッチとを備える。
請求項2記載の電子機器は、請求項1記載の電子機器において、前記蓋はスライド後に回動することにより前記開動作を行うように構成され、前記ロックレバーは、前記蓋の面内において前記蓋のスライド方向と直角方向に動作することを特徴とする。
請求項3記載の電子機器は、請求項1又は2記載の電子機器において、前記検出スイッチは、前記ロックレバーの動作に応じて前記蓋の面に垂直な方向に動作することを特徴とする。
請求項4記載の電子機器は、請求項3記載の電子機器において、前記ロックレバーと前記検出スイッチの各接触部は、夫々丸みを帯びた形状又はテーパ状であることを特徴とする。
請求項5記載の電子機器は、請求項1乃至4のいずれか1項に記載の電子機器において、前記アクセサリは、電池又は記録メディアから成ることを特徴とする。
請求項6記載の電子機器は、請求項1乃至5のいずれか1項に記載の電子機器において、デジタルカメラであることを特徴とする。
請求項1記載の電子機器によれば、ロックレバーが蓋の開動作を禁止・許可すべく蓋の面内で動作し、検出スイッチがロックレバーの動作に動作を検出するので、ロックレバーの動作を検出してから蓋のアクセサリに対する電気的接触がなくなるまでタイムラグを充分に確保することができ、もって誤操作による画像データの破損を防止することができ、加えてロックレバーの誤動作を防止することができる。
請求項2記載の電子機器によれば、ロックレバーが蓋の面内において蓋のスライド方向と直角な方向に動作するので、ロックレバーの誤操作を確実に防止することができる。
請求項3記載の電子機器によれば、検出スイッチがロックレバーの動作に応じて蓋の面に垂直な方向に動作するので、検出スイッチのレイアウトを容易に行うことができる。
請求項4記載の電子機器によれば、ロックレバーと検出スイッチの各接触部は、夫々丸みを帯びた形状又はテーパ状であるので、ロックレバーの動作を容易に検出スイッチに伝達することができ、スムーズな動作が可能になる。
請求項5記載の電子機器によれば、アクセサリは、電池又はメモリーカードから成るので、請求項1の効果を確実に奏することができる。
以下、本発明の実施の形態を図面を参照しながら詳述する。
図1は、本発明の実施の形態に係る電子機器を含むデジタルカメラの背面から見た斜視図である。
図1において、デジタルカメラ10は、カメラ本体11を有し、カメラ本体11は、レリーズボタン12の操作により図示しないレンズ鏡筒を介して取得した被写体画像をCCDによりデジタル画像信号に変換した上で、メモリーカード13(記録メディア)に保存する。液晶ディスプレイ14は、撮影時に被写体画像の確認を行うと共に撮影後には撮影した画像の確認を行う。十字配列キー15は、撮影時には各種撮影条件の設定等、再生時には画像の送り等様々な操作を行う。電池・メモリーカード蓋16は、スライド後に回転することにより開動作を行って電池17やメモリーカード13をカメラ本体11より挿抜することができる。
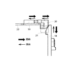
電池・メモリーカード蓋16には、蓋16の面内において蓋16のスライド方向であるB方向と直角なA方向にスライド自在なロックレバー18が設けられている(図2)。このロックレバー18は、蓋16が閉状態にあるときは、カメラ本体11側にある突起部21と係合し、これにより、蓋16のB方向へのスライドを禁止して、蓋16が開くのを防止することができる。
また、カメラ本体11の電気基板22には、ロックレバー18の動作に応じて蓋16の面に垂直な方向に動作する補助部材20をスライド自在で保持し、ロックレバー18の動作を検出する検出スイッチ19が取り付けられている。ロックレバー18と補助部材20の各接触部は、夫々丸みを帯びた形状又はテーパ状である。
デジタルカメラ10の使用者は、蓋16を開けるときに、まず、このロックレバー18をA方向へスライドさせて、突起部21との係合をはずすことにより、蓋16をB方向にスライドした上で、蓋16をC方向へ回転させることができる。このとき、電気基板22上に取り付けられた検出スイッチ19は、ロックレバー18により補助部材20を介して押されており、蓋16が閉状態にあることを検出しているが、デジタルカメラ10の使用者が蓋16を開けるためにロックレバー18をスライドさせると、その動作に応じて補助部材20が黒太矢印方向に動作し、この動作は、検出スイッチ19によって蓋16の開動作の前兆として検出される。この検出を受けて、カメラ本体41は、メモリーカード13へのアクセスを中止し、デジタルカメラ10を正常にシャットダウンさせる。
補助部材20及びロックレバー18は、互いの接触部分を丸みを帯びた形状又はテーパー状としているため、蓋16の面内におけるA方向の力を蓋16の面に垂直な方向へ伝達可能となり、スムーズな動作が可能となる。
上記のような構成により、蓋16の検出スイッチ19が蓋16の開動作前兆を検出してから実際に蓋16が開くまでのタイムラグを確実に確保することができ、その間にデジタルカメラ10を正常にシャットダウンすることができるので、画像データの破損を確実に防止することができる。
本実施の形態では、蓋16に対して検出スイッチ19の動作方向を蓋16の面に垂直な方向としているが、デジタルカメラ10の蓋16は操作性やデザイン性、内部のレイアウト構成からカメラ正面から見て左側面又は底面に配置される場合が多く、その場合、蓋16の面に垂直な方向には、必ずと言ってよいほど電気基板22が配置されているので、この検出スイッチ19は、これら電気基板22の何れかに配置すればよく、単独で検出スイッチ19のみフレキシブル基板やリード線などを用いて配置するのに比べて、レイアウト的にも非常にシンプルな構成とすることができる。
また、上記実施の形態では、検出スイッチ19は、蓋16の面に垂直な方向、即ち補助部材20の動作方向と同一方向に動作するものであるが、そのようなスイッチが採用できないような場合には、例えば図3に示すように、バネ部材31を使用することで補助部材20の動作方向と直交した方向に作動するスイッチ19aを用いてもよい。
本発明の実施の形態に係る電子機器を背面から見た斜視図である。 図1におけるロックレバー及び検出スイッチの拡大図である。 図2のロックレバー及び検出スイッチの変形例の斜視図である。 従来の電子機器を背面から見た斜視図である。 図4の検出スイッチの拡大図である。
符号の説明
10 デジタルカメラ
11 デジタルカメラ本体
12 レリーズボタン
13 メモリーカード
14 液晶ディスプレイ
15 操作部材
16 電池・メモリーカード蓋
17 電池
18 ロックレバー
19 検出スイッチ
20 補助部材
21 突出部
22 電気基板
31 バネ

Claims (6)

  1. アクセサリを収納する収納室を有する本体と、前記収納室を開閉すると共に閉鎖時に前記アクセサリと電気的に接触する蓋とを備える電子機器において、
    前記蓋の開動作を禁止・許可すべく前記蓋の面内で動作するロックレバーと、前記ロックレバーの動作を検出する検出スイッチとを備える電子機器。
  2. 前記蓋はスライド後に回動することにより前記開動作を行うように構成され、前記ロックレバーは、前記蓋の面内において前記蓋のスライド方向と直角な方向に動作することを特徴とする請求項1記載の電子機器。
  3. 前記検出スイッチは、前記ロックレバーの動作に応じて前記蓋の面に垂直な方向に動作することを特徴とする請求項1又は2記載の電子機器。
  4. 前記ロックレバーと前記検出スイッチの各接触部は、夫々丸みを帯びた形状又はテーパ状であることを特徴とする請求項3記載の電子機器。
  5. 前記アクセサリは、電池又は記録メディアから成ることを特徴とする請求項1乃至4のいずれか1項に記載の電子機器。
  6. デジタルカメラであることを特徴とする請求項1乃至5のいずれか1項に記載の電子機器。
JP2004228377A 2004-08-04 2004-08-04 電子機器 Pending JP2006050254A (ja)

Priority Applications (1)

Application Number Priority Date Filing Date Title
JP2004228377A JP2006050254A (ja) 2004-08-04 2004-08-04 電子機器

Applications Claiming Priority (1)

Application Number Priority Date Filing Date Title
JP2004228377A JP2006050254A (ja) 2004-08-04 2004-08-04 電子機器

Publications (1)

Publication Number Publication Date
JP2006050254A true JP2006050254A (ja) 2006-02-16

Family

ID=36028294

Family Applications (1)

Application Number Title Priority Date Filing Date
JP2004228377A Pending JP2006050254A (ja) 2004-08-04 2004-08-04 電子機器

Country Status (1)

Country Link
JP (1) JP2006050254A (ja)

Cited By (9)

* Cited by examiner, † Cited by third party
Publication number Priority date Publication date Assignee Title
JP2008135960A (ja) * 2006-11-28 2008-06-12 Fujifilm Corp デジタルカメラ及びデジタルカメラの電源制御方法
EP1950763A1 (en) * 2007-01-23 2008-07-30 Research In Motion Limited Systems and methods for maintaining data integrity of removable media of an electronic device
US7725131B2 (en) 2007-01-23 2010-05-25 Research In Motion Limited Systems and methods for maintaining data integrity of removable media of an electronic device
JP2010128295A (ja) * 2008-11-28 2010-06-10 Nikon Corp 撮像装置
US8395060B2 (en) 2010-02-17 2013-03-12 Panasonic Corporation Electronic device
US8467256B2 (en) 2008-12-26 2013-06-18 Keio University Electronic circuit
JP2013211847A (ja) * 2012-03-16 2013-10-10 Nexo 別のキャビネットに機械的に接続するための装置及び/又はキャビネット間の角度を調整するための装置を有するスピーカキャビネット
JP2015053174A (ja) * 2013-09-06 2015-03-19 カシオ計算機株式会社 電子機器
KR101870675B1 (ko) * 2017-04-21 2018-06-25 주식회사 미소전자통신 카드 파손방지 기능을 갖는 블랙박스

Cited By (15)

* Cited by examiner, † Cited by third party
Publication number Priority date Publication date Assignee Title
JP2008135960A (ja) * 2006-11-28 2008-06-12 Fujifilm Corp デジタルカメラ及びデジタルカメラの電源制御方法
US8442587B2 (en) 2007-01-23 2013-05-14 Research In Motion Limited Systems and methods for maintaining data integrity of removable media of an electronic device
EP1950763A1 (en) * 2007-01-23 2008-07-30 Research In Motion Limited Systems and methods for maintaining data integrity of removable media of an electronic device
EP2003648A1 (en) 2007-01-23 2008-12-17 Research In Motion Limited Systems and methods for maintaining data integrity of removable media of an electronic device
EP2105932A1 (en) 2007-01-23 2009-09-30 Research In Motion Limited Systems and methods for maintaining data integrity of removable media of an electronic device
EP2159798A1 (en) 2007-01-23 2010-03-03 Research in Motion Limited Systems and methods for maintaining data integrity of removable media of an electronic device
US7725131B2 (en) 2007-01-23 2010-05-25 Research In Motion Limited Systems and methods for maintaining data integrity of removable media of an electronic device
EP2346046A1 (en) 2007-01-23 2011-07-20 Research in Motion Limited Systems and methods for maintaining data integrity of removable media of an electronic device
US7986970B2 (en) 2007-01-23 2011-07-26 Research In Motion Limited Systems and methods for maintaining data integrity of removable media of an electronic device
JP2010128295A (ja) * 2008-11-28 2010-06-10 Nikon Corp 撮像装置
US8467256B2 (en) 2008-12-26 2013-06-18 Keio University Electronic circuit
US8395060B2 (en) 2010-02-17 2013-03-12 Panasonic Corporation Electronic device
JP2013211847A (ja) * 2012-03-16 2013-10-10 Nexo 別のキャビネットに機械的に接続するための装置及び/又はキャビネット間の角度を調整するための装置を有するスピーカキャビネット
JP2015053174A (ja) * 2013-09-06 2015-03-19 カシオ計算機株式会社 電子機器
KR101870675B1 (ko) * 2017-04-21 2018-06-25 주식회사 미소전자통신 카드 파손방지 기능을 갖는 블랙박스

Similar Documents

Publication Publication Date Title
JP4217510B2 (ja) 蓋装置及びデジタルカメラ
JP4232851B2 (ja) バッテリー装置
JP4123516B2 (ja) バッテリー装置
US8743276B2 (en) Opening/closing door locking device for an electronic device
JP4632626B2 (ja) 記録媒体収納装置およびデジタルカメラ
JPH02228885A (ja) 固体カメラ
JP2006050254A (ja) 電子機器
JP5293122B2 (ja) 撮像装置
JP2008022437A (ja) 撮像装置
US7400358B2 (en) Card installation device
JPH1188818A (ja) 電子的撮像装置
JP4119762B2 (ja) 記録メデイア保護機構
JP2003244605A (ja) デジタルスチルカメラ
JPH1117987A (ja) 電子的撮像装置
JP2001022898A (ja) 電子機器
JP2002290798A (ja) デジタルカメラ
JPH0698216A (ja) カメラのレンズカバー開閉機構
JP2004185075A (ja) 記録媒体の保護装置及びデジタルカメラ
JP2008053120A (ja) ポーダブル機器
JP2003032533A (ja) デジタル電子スチルカメラ
JPH11232182A (ja) 携帯電子機器
JP5153355B2 (ja) ロック機構
JP2007018971A (ja) 電子機器
JP2008135960A (ja) デジタルカメラ及びデジタルカメラの電源制御方法
JP2007187955A (ja) 電子機器

Legal Events

Date Code Title Description
RD03 Notification of appointment of power of attorney

Free format text: JAPANESE INTERMEDIATE CODE: A7423

Effective date: 20060419

RD05 Notification of revocation of power of attorney

Free format text: JAPANESE INTERMEDIATE CODE: A7425

Effective date: 20070626